Разработка технологии изготовления адсорбера
Министерство образования и науки РФ
Федеральное государственное бюджетное
образовательное учреждение высшего профессионального образования
«Волгоградский государственный
технический университет»
Кафедра «Оборудование и технология
сварочного производства»
ПОЯСНИТЕЛЬНАЯ ЗАПИСКА
К курсовому проекту
по дисциплине: «Производство сварных
конструкций»
Разработка технологии изготовления
адсорбера
Волгоград, 2015
Оглавление
Введение
Общие
сведения
.1
Характеристика изделия и условия его работы
.2
Технические требования
.3
Характеристика материалов
.4
Оценка свариваемости
Заготовительные
операции
.1
Раскрой цилиндрической части корпуса аппарата
.2
Раскрой эллиптических днищ
.3
Раскрой опорной части
.4
Правка листового металла
.5
Резка материала
.6
Вальцевание
.7
Штамповка днищ
.8
Подготовка кромок под сварку
.9
Требования к изготовлению
Проектирование
сборочных операций
.1
Точность сборки
.2
Сборка заготовок эллиптических днищ
.3
Сборка продольных стыков обечаек
.4
Сборка эллиптического днища с корпусом аппарата
.5
Сборка кольцевых стыков обечаек
.6
Разметка корпуса под штуцера и люки
.7
Установка штуцеров в корпус аппарата
.8
Требования к установке штуцеров и люков
.9
Сборка опоры и прихватка её к корпусу аппарата
Проектирование
сварочных операций
.1
Сварочные материалы
.2
Сварка продольного стыка обечаек
.3
Расчёт режимов сварки продольного стыка обечаек
.4
Расчет химического состава металла шва
.5
Расчёт комбинированного шва
.6
Сварка кольцевых стыков корпуса
.7
Сварка заготовок днищ
.8
Приварка штуцеров
.9
Сварка опоры и приварка её к корпусу аппарата
.10
Термическая обработка сварных соединений
.
Методы контроля качества сварных соединений
.1
Внешний осмотр
.2
Металлографические исследования
.3
Ультразвуковой контроль
.4
Механические испытания
.5
Гидрастатические испытания
.6
Стилоскопирование сварных соединений
Заключение
Список
использованной литературы
перегонка импульсный газ адсорбер сварка
Аннотация
Задачей данного проекта являлась разработка технологии изготовления
адсорбера для перегонки импульсного газа до точки росы, с диаметром 1700 мм,
толщиной стенки 8 мм, длиной 3950 мм из стали 08Х22Н6Т.
В проекте описана характеристика изделия и условия его работы,
характеристика материала, заготовительные операции, сборочные и сварочные
операции. Выбраны необходимое оборудование, сварочные материалы, режимы сварки
и контрольные операции.
В графической части показаны сборочный чертеж аппарата, технологические
параметры сварки данного изделия и средства механизации.
Курсовой проект состоит из пояснительной записки объемом листов,
графической части объемом 4 листа.
Введение
Быстрое развитие химической технологии и все возрастающее производство
многочисленного химического оборудования, и в том числе химической аппаратуры,
требуют создания высокоэффективных, экономичных и надежных аппаратов высокого
качества, большинство из которых изготовляются из стали самой распространенной
повсеместно технологией - сваркой. Для конструирования химической аппаратуры в
настоящее время имеется много новых стандартов, ГОСТов, ОСТов и других
разрозненных нормативно-технических материалов.
Химические аппараты предназначаются для осуществления в них химических,
физических или физико-химических процессов (химическая реакция, теплообмен без
изменения агрегатного состояния, испарение, конденсация, кристаллизация,
растворение, выпарка, ректификация, абсорбция, адсорбция, сепарация, фильтрация
и т. д.), а также для хранения или перемещения в них различных химических
веществ.
В зависимости от назначения, чаще всего по протекающему технологическому
процессу, химические аппараты называются: реактор, теплообменник, испаритель,
конденсатор и т. д.
Содержащиеся и перерабатываемые вещества в аппаратах бывают в разном
агрегатном состоянии (чаще всего в жидком и газообразном, реже в твердом),
различной химической активности (по отношению к конструкционным материалам) -
от инертных до весьма агрессивных, для обслуживающего персонала - от безвредных
до токсичных и в эксплуатации - от безопасных до огне- взрывоопасных.
Различные химико-технологические процессы в аппаратах осуществляются при
различных, свойственных каждому процессу, давлениях - от глубокого вакуума до
избыточного в несколько сот тысяч килопаскалей и самых разнообразных
температурах: от - 250 до +900 СС.
Характер работы аппаратов бывает непрерывный и периодический, а установка
их может быть стационарной (в помещении или на открытой площадке) и
нестационарной (предусматривающей или допускающей перемещение аппарата).
Основными особенностями этих конструкций с точки зрения сооружения
являются значительные геометрические размеры - порядка десятков метров,
большая, исчисляемая километрами, протяженность сварных соединений, к прочности
которых предъявляются высокие требования.
Одним из широко распространенных технологических процессов получения
такой аппаратуры является сварка. Хотя сварка является ведущим технологическим
процессом изготовления металлических конструкций, однако, значительная часть
общей трудоемкости производства сварного изделия приходится на заготовительные,
сборочные и отделочные операции. Отсюда следует, что обеспечение реальной
интенсивности производства сварных конструкций возможно только на основе
комплексной механизации и автоматизации всех основных и вспомогательных
операций.
При осуществлении собственно сварочных операций, в том числе при
применении механизированных способов сварки, выполняются вспомогательные приемы
по установке и кантовке изделий под сварку, зачистке кромок и швов, установке
автомата в начале шва, отводу автомата или перемещению изделия и т.д. На
выполнение этих операций затрачивается в среднем 35% трудоемкости собственно
сварочных операций. Таким образом, комплексная механизация сварочного
производства имеет чрезвычайно важное значение.
1 Общие сведения
1.1 Характеристика изделия и условия
его работы
Данный адсорбер предназначен для перегонки импульсного газа до точки росы
по влаге минус 55оС. Техническая характеристика:
1. Рабочее давление корпуса Р, не более: 7,5 МПа;
2. Расчетное давление корпуса Рр: 7,5 МПа;
. Пробное давление корпуса при гидравлическом испытании в
вертикальном положении: 9,38;
. Рабочая температура среды:-20 до 3000 ˚С;
. Расчетная температура стенки: 300 ˚С;
. Минимально допустимая температура стенки корпуса аппарата,
находящегося под давлением, tmin: -55 ˚С;
. Средняя температура самой холодной пятидневки района установки
сосуда, tср: -55 ˚С;
. Среда в корпусе аппарата: (в % об.): СН4 - 83-98; С2Н5
- 0,3-8,0; С3Н6 - 0,1-2,0; С4Н10 -
0-1,5; N2 - 0-5,0; СО2 - 0-2,0; H2S - 2 г на 100 м3(жидкая фаза).
. Прибавка для компенсации коррозии на корпусе: 2 мм;
10. Рабочий объём: 0,36 м3
11. Группа сосуда для контроля сварных соединений по ОСТ 26.291-94:
1;
. Допустимая сейсмичность, не более 9 баллов.
1.2 Технические требования
1. Аппарат подлежит действию «Правил устройства и безопасной эксплуатации
сосудов, работающих под давлением». Технические требования по ГОСТ Р
52630-2003:
1. Материал основных элементов и сварочных материалов аппарата:
Корпус сталь 08Х22Н6Т, толщиной 8 мм, по ГОСТ 5632-72.
Днище сталь 08Х22Н6Т, толщиной 8 мм, по ГОСТ 5632-72.
Опора сталь 08Х22Н6Т, толщиной 8 мм, по ГОСТ 5632-72.
2. Допускается замена марок основных и сварочных материалов, указанных в
п.2, свойства которых не ухудшают качества деталей и изделия в целом. При этом
возможные замены отражаются в форме 6 паспорта.
3. Аппарат термообработать по технологии ОГмет. Приварка деталей к
корпусу аппарата после термообработки не допускается.
1.3 Характеристика материалов
Согласно ГОСТ 5632-72, химический состав исходной стали:
Таблица 1 - Химический состав исходных материалов
|
Марка материала
|
С
|
Mn
|
Si
|
Cr
|
Cu
|
Ni
|
S
|
P
|
|
08Х22Н6Т
|
до 0,08
|
до 0,8
|
до 0,8
|
21 - 23
|
до 0,3
|
5,3 - 6,3
|
до 0,025
|
до 0,035
|
Согласно ГОСТ 7350-77, механические свойства поперечных образцов из
горячекатаных и холоднокатаных листов из стали 08Х22Н6Т, сечением свыше 4 мм.
Таблица 2 - Механические свойства исходных материалов
|
Марка материала
|
Структурный класс стали
|
Предел прочности, МПа
(кг/мм2)
|
Предел текучести, МПа(кг/мм2)
|
Относи-тельное удлинение, %
|
Ударная вязкость дж/см2
(кгс/см2)
|
Стойкость к МКК
|
Примечание
|
|
08Х22Н6Т
|
сталь аустенитно -
ферритного класса
|
588
|
340
|
18
|
59
|
Сталь не склонна к МКК в
закаленном состоянии.После нагрева при температуре 600-650°С может приобрести
склонность к МКК.
|
Тепло-устойчивая
|
1.4 Оценка свариваемости
Свариваемость высоколегированных хромоникелевых сталей, в частности,
стали 08Х22Н6Т можно отнести к удовлетворительной. Основные трудности сварки
связаны со склонностью к образованию горячих трещин в швах и околошовных зонах
(для аустенитных сталей), с выделением карбидов из аустенита в определенных
участках ЗТВ и ухудшении в этих местах стойкости против МКК и других свойств.
Определенные осложнения вносит повышенное, по сравнению с железом, сродство
хрома к кислороду и вследствие этого повышенная его окисляемость и возможная в
связи с этим загрязненность металла шва. В аустените с высоким содержанием
никеля растворимость водорода повышена, и это может стать причиной повышенной
пористости.
Для предотвращения появления кристаллизационных трещин в металле
аустенитных швов можно использовать особо чистые по сере и фосфору свариваемые
стали и присадочные материалы. Некоторое уменьшение содержания серы возможно
при сварке под флюсом или толстопокрытыми электродами за счет взаимодействия с CaO и с такими элементами, как алюминий
и титан.
Высоколегированные хромоникелевые стали достаточно хорошо свариваются
автоматической сваркой под специальными «основными» флюсами ФЦЛ-2, АН-26.
Основными особенностями таких флюсов является отсутствие в их составе закиси
марганца и пониженное содержание кремнезема при высоком содержании окиси
кальция (по 34%) и окиси магния (15-18%). Автоматическая сварка производится на
постоянном токе при обратной полярности.
В основном, аустанитно -ферритные нержавеющие стали имеют хорошую
свариваемость, и их сварку можно выполнять различными способами сварки.
Присадочные материалы также являются аустенитно - ферритными, но, как правило,
их химический состав слегка отличается от состава свариваемой марки стали.
Например, требуется, чтобы сварочные материалы имели более высокое содержание
аустенизаторов, как правило, это Ni, чтобы предотвратить чрезмерное повышение
ферритной фазы в наплавленном металле шва, которая в противном случае может
привести к ухудшению свойств. Поэтому обычно не рекомендуется производить
сварку без присадочного металла.
Как правило, предварительный нагрев не требуется, но погонная энергия
должна иметь определенные ограничения, которые зависят от марки свариваемой
стали. Слишком низкое удельное тепловложение приводит к высокой скорости
охлаждения и повышению уровня содержания ферритной фазы. С другой стороны,
слишком высокий уровень погонной энергии может привести к выпадению вредных
фаз, особенно у высоколегированных аустенитно - ферритных сталей. В обоих
случаях ухудшаются вязкость и коррозионная стойкость.
Глава 2. Заготовительные операции
2.1 Раскрой цилиндрической части
корпуса методом обечаек
Длина
цилиндрической части корпуса составляет 3950 мм. Согласно ГОСТ 19903-74, примем
ширину обечайки 2000 мм. Подставляя длину цилиндрической части корпуса и
максимальную ширину листового металла в формулу: 
,
получаем минимально необходимое количество обечаек, которое необходимо
округлить в большую сторону. В нашем случае это:

= 1,58
округляем до 2.
Так
как высоту обечаек (а это ширина листа по ГОСТ) рационально изготовлять одного
размера, то определяется оптимальная ширина листа 
:
где

=
рациональная ширина листа;

= длина
цилиндрической части корпуса;

=
расчетное количество обечаек (целое число);
Исходя из этого, принимаем ширину обечаек равную 2000 мм.
Величина развёртки обечайки определяется по формуле:

где Lp - длина развёртки
обечайки, мм; Dвн - внутренний диаметр обечайки, мм; а
- 1% от внешнего диаметра. b1
- припуск на зазор
(для ЭШС = 30 мм, для остальных видов сварки =2 мм); b2 - припуск на механическую обработку (1...2 мм).

мм.
Согласно ГОСТ 19903-74, длина листового проката, при толщине 8 мм, и
ширине 2000 мм, находится в диапазоне от 3000 до 12000 мм. Из этого диапазона
можно выбрать любую длину, кратную 100 мм. В данном случае принимаем 5400 мм.
По причине того, что необходимая длина меньше данной, часть металла уйдёт в
отход.
При раскройке листового материала необходимо учесть также, что при
автоматической и полуавтоматической сварке под флюсом, для обеспечения
качественной сварки начальных и конечных участков изделия, используют вводные и
выводные планки, которые также необходимо внести в раскрой. Размер входных и
выходных планок зависит от толщины металла. Для толщины металла S = 8 мм,
размер входных и выходных планок принимаем 100×60 мм.
Процент отхода вычисляется по формуле:

Где Fл - площадь стандартного листа по ГОСТ, мм2; Fзаг
- суммарная площадь заготовок, вырезаемых да листа, с учетом годового выпуска
изделий, мм2; Fтех - суммарная площадь деталей (входных и
выходных планок для сварки, контрольных пластин для механических испытаний
свойств сварного соединения, а также деталей, используемых для изготовления
изделий данного цеха или других цехов завода) мм2.
По причине того, что отход от раскроя цилиндрической части крайне мал,
контрольные пластины и выводные планки в раскрое цилиндрической части
учитываться не будут.
Рис. 1. Раскройка цилиндрической части корпуса.
2.2 Раскройка эллиптических днищ
Рис.2. Эллиптическое днище
Эллиптическое днище состоит из криволинейной части (полуэллипс), и
прямолинейного участка h
высотой от 40 до 80 мм, который принимается в зависимости от толщины металла и
внутреннего диаметра. Если отношение большой полуоси “а” к малой “b” равно 2, что характерно для
большинства эллиптических днищ, то диаметр заготовки днища определяется по следующей
эмпирической зависимости:

где а - средний радиус днища, мм;
h -
высота цилиндрической части днища=40мм;
Δ - припуск на обработку ;
S -
толщина металла =8мм.
Припуск
на обработку берется в размере 1,5...2% от первоначального диаметра 
.
Δ=(1,5...2,0%) 
=43мм.
Определив диаметр заготовки эллиптического днища, необходимо по ГОСТ
19903-74, выбрать размер листа для вырезки заготовки для днищ с обеспечением
минимального отхода металла, который в нефтяном и химическом машиностроении не
должен превышать 8%.
Согласно ГОСТ Р 52630-2012 заготовка днища может состоять из нескольких
частей с последующей их сборкой и сваркой. Существует несколько схем компоновки
заготовки для получения минимальных отходов.
Рис.3. Схемы компоновки заготовки для эллиптических днищ.
Из схем компоновки, представленных на рис.3, выбираем схему «е».
Величина L в данном случае:
L=2190/5=438 мм.
Рис. 4. Схема раскроя заготовки для эллиптического днища.
Принимаем длину листа 5400 мм, при ширине 1700 мм.
Также на раскрой помещаем вводные и выводные планки, необходимые для
сварки. На каждый не кольцевой сварной шов, необходимо 4 планки. Исходя из
рис.4, для каждого сварного днища необходимо 3*4=12 планок. Для двух днищ
необходимо 24 планки. Для сварки каждой обечайки также необходимо 4 пластины.
Для 3 обечаек необходимо 12 пластин. 12 пластин также необходимо для сварки
опорной части. Всего необходимо заготовить 48 вводных - выводных пластин(60х100мм).
Рис.5. Раскрой листового металла эллиптического сварного днища.
По причине того, что ГОСТ 19903-74 предусматривает для ширины листа 1700
мм, длину от 3000 мм, раскройку листового металла будем производить на листе
длиной 5400 мм, сразу для двух днищ.
Вычислим процент отхода:

где Fл - площадь стандартного листа по ГОСТ, мм2; заг
- суммарная площадь заготовок, вырезаемых да листа, с учетом годового выпуска
изделий, мм2; тех - суммарная площадь деталей (входных и
выходных планок для сварки, контрольных пластин для механических испытаний
свойств сварного соединения, а также деталей, используемых для изготовления
изделий данного цеха или других цехов завода) мм2

2.3 Раскрой опорной части
Чертёж опоры для вертикального аппарата представлен на рис.6. Т.к.
толщина стенок аппарата 8мм, то и опору для аппарата целесообразно изготавливать
толщиной 8 мм.
Рис.6. Схема опорной части аппарата.
Опора состоит из: опорной обечайки, опорного кольца, рёбер жёсткости.
Раскрой обечайки осуществляем аналогично раскрою цилиндрической части.
Рис.7. Раскрой опорной обечайки.
Коэффициент отхода для опорной обечайки:

Опорное кольцо, для более удобного размещения, разделяем на 4 равные
части.
Т.к. на раскрое остаётся много свободного места, целесообразно включить в
раскройку контрольные пластины, необходимые для контроля качества металла.
Принимаем один комплект контрольных пластин (две по 450х150мм) на все
продольные стыки обечаек, и по одному комплекту на каждое днище.
Рис.8. Раскрой опорного кольца.
Листовой прокат выбираем согласно ГОСТ 19903-74. Однако, по причине того,
что длина листа не кратна 100 миллиметрам, и учитывая то, что годовая программа
выпуска - 50 изделий, вырезка опорных колец будет осуществляться сразу для двух
опор, на листе длиной 4700 мм. Это позволит снизить коэффициент отхода.
Коэффициент отхода:

Расчет общего коэффициента отхода производим по
формуле:
,
Где
- общий
коэффициент отхода, % ;
- коэффициенты отходов на каждую деталь, % ;
n - количество
деталей в конструкции.

8,8%
2.4 Правка листового материала
После правки листы должны иметь прогиб не более 1мм/пог.м по длине и
ширине листа, если материал не идет в дальнейшем на вальцевание, фланжирование
или штамповку (до 8 мм/пог.м).
Рисунок 9. Схема листоправильной машины.
Для правки листов будем использовать листоправильную машину 9х320х3550.
Таблица 1 -Техническая характеристика листоправильной машины 9х320х3550.
|
Параметр
|
9х320х3550
|
|
Размеры обрабатываемых
листов, мм:
|
|
|
толщина
|
8-20
|
|
ширина
|
1600-3200
|
|
Скорость правки, м/мин
|
2-30
|
|
Рабочие ролики:
|
|
|
число
|
9
|
|
диаметр, мм
|
320
|
|
длина, мм
|
3550
|
|
шаг, мм
|
360
|
|
Мощность электродвигателя
привода рабочих роликов, кВт
|
185
|
|
Габаритные размеры, мм:
|
|
|
длина
|
12420
|
|
ширина
|
3280
|
|
высота
|
5895
|
|
Масса, т
|
174
|
2.5 Резка металла
Высокохромистые стали не подвергаются газокислородной резке, по причине
образования тугоплавких оксидов хрома. В связи с этим, для резки
коррозионностойких сталей применяют плазменную резку.
Плазменная резка основана на использовании воздушно-плазменной дуги. Суть
метода заключается в расплавлении металла и выдувания его с образованием реза в
момент, когда плазменный резак перемещается.
Для возникновения рабочей дуги, зажигается вспомогательная (дежурная)
дуга с помощью осциллятора. В дежурной дуге ток может колебаться от 25 до 60 А,
все зависит от источника дуги. При касании факела дежурной дуги металла,
возникает рабочая режущая дуга, включается повышенный расход воздуха, дежурная
дуга при этом автоматически отключается. Применение способа воздушно -
плазменной резки, при которой в качестве плазмообразующего газа, используется
сжатый воздух, открывает широкие возможности при раскрое высоколегированных
сталей.
Рис. 10 Фазы образования рабочей дуги а - зарождение дежурной дуги; б -
выдувание дежурной дуги из сопла до касания с поверхностью разрезаемого листа;
в - появление рабочей (режущей) дуги и проникновение через рез металла.
Для раскроя листового металла будем применять портальную установку
плазменной резки MetalMaster CUT CNC 2 C (скоростная) с ЧПУ.
Таблица 2. Технические характеристики MetalMaster CUT CNC 2 C
|
Тип конструкции
|
Портальная
|
|
Зона размещения заготовки
|
по целевому значению, на
координатном столе, на вентилируемом координатном столе.
|
|
Материал станка
|
Алюминий, конструктивный
профиль, конструкционная сталь.
|
|
Пределы раскроя по оси X /
по оси Y (мм)
|
2000/7000
|
|
Кол-во суппортов (шт)
|
1
|
|
Максимальное кол-во
суппортов (шт)
|
1
|
|
Предел перемещения резака
по оси Z (мм)
|
10
|
|
Возможные методы резки
|
плазменный.
|
|
Толщина обработки при
плазменной резке (мм)
|
Зависит от источника тока
|
|
Привод по осям X, Y
|
Зубчатый ремень
|
|
Привод поперечной балки,
ось Y
|
двухсторонний
|
|
Точность позиционирования
горелки (мм)
|
+ - 0,3-0,5
|
|
Повторяемость позиции
горелки (мм)
|
+ - 0,3-0,5
|
|
Скорость холостого хода по
осям (мм/мин)
|
0 - 15 000
|
|
Тип направляющих
|
Высокоточные рельсовые
|
|
Тип двигателей
|
Шаговые двигатели
|
|
Система ЧПУ
|
в комплекте
|
|
Тип управления
|
кнопочный
|
|
Ввод данных
|
USB
|
|
Программное обеспечение cnc
CUT с автоматической раскладкой на листе
|
в комплекте
|
|
Компрессор (харак-ки, 7
атм., 650 литр/мин)
|
опция
|
|
Источник плазменной резки
|
опция
|
|
Габаритные размеры (ДхШхВ)
(мм)
|
от 3250х1650х600 до
6250х1850х900
|
|
Масса (кг)
|
от 600 до 1200
|
Поскольку в комплект поставки не входит источник питания для плазменной
дуги, в качестве источника питания принимаем аппарат плазменной резки P-Tronic
100.
Таблица 3. Технические характеристики P-Tronic 100.
|
Номинальное напряжение
питания, B
|
3х380
|
|
Номинальная потребляемая
мощность, кВ-А
|
23
|
|
Напряжение холостого хода,
В
|
310
|
|
Ток пилотной дуги, А
|
22,7
|
|
Ток резки, А
|
20-100
|
|
Номинальная нагрузка (ПВ),%
|
100А 78A
|
|
Давление сжатого воздуха,
МПа
|
4,5-6,0
|
|
Толщины резки:
|
нержавеющая сталь
|
|
качественная резка
|
20мм
|
|
разделительная резка с
пробивкой
|
25мм
|
|
резка с края детали
|
30мм
|
|
Класс защиты
|
P21S
|
|
Масса, кг
|
39,0
|
Вырезка отверстий под установку штуцеров и люков осуществляется на
готовом изделии. Для резки металла используется установка ручной плазменной
резки PLASMAJET-2.
Таблица 4. Рабочие параметры PLASMAJET-2.
|
Параметр
|
PLASMAJET-2
|
|
Напряжение питания
|
220/380В-50Гц
|
|
Потребляемый ток
|
49А/29А
|
|
Ток рабочего цикла: (при 40
град С)
|
30A при 100%
|
|
50A при 80%
|
|
80A при 40%
|
|
Толщина резки: - сталь -
нержавейка - алюминий
|
0,5-25мм 0,5-20мм 0,5-20мм
|
|
Давление-расход
|
5,0bar-180л/мин
|
|
Класс защиты
|
IP 23
|
|
Стандарт
|
EN 60974-1
|
|
Габариты
|
500x855x755мм
|
|
Масса источника питания
|
80,0кг
|
2.6 Вальцевание
Вальцевание - заготовительная операция получения обечайки или корпуса в
специальных валковых листогибочных машинах. Вальцевание является пластической
деформацией металла путём непрерывного перемещения заготовки - это обработка
между деформирующими валками при напряжениях выше предела текучести.
Для определения возможных деформаций используют зависимость:

<2S.
Где R - радиус гиба, S - толщина
металла. Если это соотношение выполняется, то вальцевать следует в горячем
состоянии с последующим отжигом или отпуском.
Для
обечаек цилиндрической части аппарата и обечайки опоры:

=
=106,25.
Вальцуем в холодном состоянии.
Четырёхвалковые
машины позволяют получать обечайку без недовальцованных краёв и изготавливать
обечайки за один проход.
Рис.11. Схема четырёхвалковой машины.
Боковые валки обеспечивают деформацию листа во время гибки. Положением
гибочных валков определяют радиус гиба. Нижний валок может перемещаться в
вертикальной плоскости на величину, обеспечивающую зажим листа наибольшей
толщины.
Выбираем четырёхвалковую гибочную машину akyapak серии AHS 30/08.
Таблица 5. Технические характеристики akyapak AHS 30/08:
|
Рабочая длина , мм
|
3100
|
|
Толщина металла при гибке,
мм
|
10
|
|
Толщина металла при подгибке,
мм
|
8
|
|
Диаметр верхнего вала, мм
|
270
|
|
Диаметр нижнего вала, мм
|
250
|
|
Диаметр боковых валков, мм
|
210
|
|
Мощность, кВт
|
11
|
|
Габариты, мм
|
5522х1438х1520
|
|
Масса,кг
|
7750
|
|
|
|
2.7 Штамповка днищ
В связи с малой толщиной металла - 8 мм, штамповку
выполняем в холодном состоянии.
Для изготовления днищ выбираем пресс гидравлический листоштамповочный
двойного действия колонный П4638, ГОСТ 7600-90. Прессы применяются для
выполнения операций по вытяжке, горячей и холодной формовке при изготовлении
изделий типа днищ, сосудов, резервуаров, котлов и других подобных изделий.
Технические характеристики пресса приведены в таблице 5.
Таблица 6- Технические характеристики гидравлического пресса П4638
|
Характеристика
|
Значение
|
25000
|
|
Ход траверсы, мм
|
2500
|
|
Расстояние между столом и
траверсой, мм
|
3900
|
|
Размеры стола, мм
|
6000x5500
|
|
Масса, кг
|
306000
|
|
Размер, мм
|
18950x9820x12550
|
|
Мощность, кВт
|
240
|
|
макс. скорость шпинделя,
мм/с
|
3550
|
|
мин. скорость шпинделя,
мм/с
|
3550
|
|
Скорость холостого хода
ползуна, мм/с
|
300
|
|
Расстояние между столом и
ползуном, мм
|
2600
|
|
Ход ползуна, мм
|
1700
|
|
Номинальное усилие, кН
|
6300
|

Рисунок 12 - Схема штамповки эллиптического днища
2.8 Подготовка кромок под сварку
Подготовка кромок металла под сварку делается с целью обеспечения полного
провара металла по всей его толщине и получения качественного сварного
соединения.
Для подготовки кромок будем использовать универсальную кромкофрезерную
машину МФ 760 М, в которой обработка кромки производится фрезерованием, рабочий
инструмент - фрезерная головка со сменными твердосплавными пластинами.
Рисунок 13. Схема обработки кромок.
Таблица 7. Технические параметры МФ 760 М.
|
MF 760 М
|
|
Двигатель
|
Одно и трехфазный, 230/400
В, 1,5 кВт, 50/60 Гц
|
|
Мах.ширина фаски
|
21 мм
|
|
Глубина фаски
|
0-15 мм
|
|
Угол снятия фаски
|
15°-60°
|
|
Скорость вращения фрезы
|
2900 об/мин
|
|
Фреза
|
Ø 60 мм
|
|
Применение
|
Сталь, нержавеющая сталь и
легкие сплавы
|
|
Вес
|
13 кг
|
|
Размер
|
250×250×370 мм
|
Подготовка кромок под сварку кольцевых стыков обечаек и днищ производится
на токарно-карусельном станке Qier C5231.
1 - портал; 2 - планшайба, имеющая привод вращения с рабочими скоростями;
3 - центрирующие кулачки; 4 - заготовка; 5 - обойма для зажатия резца; 6 -
суппорт станка, перемещающийся вдоль портала
Рисунок 14 - Схема карусельного станка.
Таблица 8 - Технические характеристики токарно-карусельного станка Qier
C5231
|
Макс. обрабатываемый
диаметр, мм
|
3150
|
|
Диаметр рабочего стола, мм
|
2830
|
|
Макс. высота заготовки, мм
|
2000/2500
|
|
Макс. вес заготовки, т
|
20/32
|
|
Макс. сечение инструмента,
мм
|
50х50
|
|
Макс. усилие реза
инструментальной головки, кН
|
Правая 40 Левая 35
|
|
Макс. крутящий момент
рабочего стола, кНм
|
80
|
|
Диапазон скоростей рабочего
стола, об/мин
|
0.63-63
|
|
Пределы подач, мм/мин
|
1-500
|
|
Ускоренное перемещение,
мм/мин
|
4000
|
|
Макс. горизонтальное
перемещение, мм
|
-20-1840
|
|
Макс. вертикальное
перемещение, мм
|
1250/1400
|
|
Макс. поворот левой
инструментальной головки, град.
|
-15~+30
|
|
Макс. перемещение каретки,
мм
|
1750/2250
|
|
Скорость поднятия каретки,
мм/мин
|
350
|
|
Сечение ползуна, мм
|
240
|
Для подготовки кромок и удаления прихваток также будет использоваться
шлифмашина Bosch GWS 20-230 JH. Её
технические характеристики:
|
Bosch GWS 20-230 JH
|
|
Мощность
|
2000 Вт.
|
|
Макс.диаметр диска
|
230 мм.
|
|
Макс.частота вращения
|
6500 об/мин.
|
|
Вес
|
5,1 кг.
|
|
Сеть
|
220 В.
|
Подготовка кромок отверстий под вварку штуцеров будет производится ручной
кромкофрезерной машиной ВМ-15.
Таблица 9. Технические параметры ВМ-15:
|
Наименование
|
Параметр
|
|
Сеть, В/Гц
|
220/50
|
|
Потребляемая мощность, Вт
|
2000
|
|
Скорость вращения, об/мин
|
2000-5000
|
|
Минимальный диаметр обр.
отверстий, мм
|
40
|
|
Максимальная ширина фаски
при 45°, мм
|
15
|
|
Скорость обработки, м/мин
|
0,5-1,0
|
|
Углы обработки, град.
|
22.5°, 30°, 37.5°, 45°,
55°, 60°
|
|
Толщина листа, мм, мин.
|
3
|
|
Габариты, мм
|
461 х 140 х 256
|
|
Масса, кг
|
8,5
|
2.9 Требования к изготовлению
После сборки и сварки обечаек корпус (без днищ) должен удовлетворять
следующим требованиям:
а) Отклонение по длине не более ± 0,3% от номинальной длины, но не более
±75 мм.
б) отклонение от прямолинейности не более 2 мм на длине 1 м, не более 6
мм на длину корпуса 3,15 м.
При этом местная непрямолинейность не учитывается: в местах сварных швов;
в зоне вварки штуцеров и люков в корпус; в зоне конусности обечайки,
используемой для достижения допустимых смещений кромок в кольцевых швах
сосудов, имеющих эллиптические днища; Отклонение внутреннего (наружного)
диаметра корпуса допускается не более 25 мм.
Относительная овальность корпуса сосудов не должна превышать 1%. Величина
относительной овальности определяется:
в местах, где не установлены штуцера и люки, по формуле:
- в местах установки штуцеров и люков по формуле:
где Dmax, Dmin - соответственно наибольший и
наименьший внутренние диаметры корпуса, измеренные в одном поперечном сечении, d
- внутренний диаметр штуцера или люка.
Рисунок 15 - Отклонения размеров и формы эллиптического днища
Отклонения размеров и формы эллиптических днищ (рисунок 14) не должны
превышать следующих значений:
предельное отклонение высоты цилиндрической части,
h: 5 мм;
предельная высота отдельной вогнутости или выпуклости на эллипсоидной
части, Т: 4 мм;
допуск наклона,
m:
4 мм;
зазор между шаблоном и эллипсоидной поверхностью, Δr: 12 мм
зазор между шаблоном и эллипсоидной поверхностью, ΔR: 31 мм
Для днищ, изготавливаемых штамповкой, допускается утонение в зоне
отбортовки до 15% от исходной толщины заготовки.
На цилиндрической части днища не допускаются гофры высотой более 2 мм.
Глава 3. Выбор способов сборки,
сборочного оборудования и оснастки при проектировании технологии сварных
конструкций.
3.1 Точность сборки
Сборка - операция для обеспечения точного сопряжения деталей, исключающая
возникновение изгибающих моментов и других сил, не учитываемых расчетом.
Технологический процесс не зависимо от способа производства должен
удовлетворять требованиям:
1) соблюдение требуемой последовательности сборки и сварки;
2) Увязка сборочных операций со сварочными операциями;
) Применение сборочного оборудования, обеспечивающего требуемую
точность изготовления конструкции и высокую производительность;
) Проведение пооперационного контроля качества сборки;
) Соблюдение допусков на размеры узлов и конструкции в целом;
) Соблюдение правил техники безопасности.
Иногда допускают смещение осей Δ (рисунок 1), которое не влияет на
работу конструкции при эксплуатации. Наиболее жесткие требования предъявляются
к сварным соединениям ответственным за прочность конструкции, т.е. к швам,
нагружение которых максимально.
Рисунок 1 - Превышение кромок при сборке под сварку
Так, для сосудов работающих под внутренним давлением, имеющих
эллиптические или полусферические днища, ответственными за прочность
конструкции являются продольные стыки обечаек, швы заготовок эллиптических
днищ. Согласно ГОСТ Р 52630-2012 превышение кромок в таких случаях составляет:
для монометаллов Δ ≤ 10% от толщины, но не более 3 мм.
Так как материал обечайки монометалл толщиной 8 мм, то согласно
требованиям ГОСТ Р 52630-2012 максимально допустимое превышение кромок Δ составит 0,8 мм. Для остальных швов
конструкции (кольцевых) превышение кромок допускается: для монометаллов:
если S < 20 мм, то Δ ≤ 10% от толщины + 1 мм;
В данном случае: 1,8мм.
3.2 Сборка заготовок эллиптических
днищ
Согласно схеме компоновки днищ по ГОСТ Р 52630-2012 заготовки днища
разрешается делать сварными. Сборку осуществлять на универсальных
сборочно-сварочных плитах, обеспечивающих достаточную плоскость стола для
точной сборки заготовок днищ.
Сборочная
плита состоит из набора пазов, такие плиты собирают из отдельных литых блоков
размером 1,5
2 м и из них комплектуют плиты необходимых размеров. В
эти пазы с помощью винтовых зажимов закрепляются специальные сборочные
приспособления.
Рисунок 2 - Плита сборочно-сварочная
Необходимо обеспечить зазор и превышение кромок, так как стыки заготовок
днищ являются ответственными за прочность конструкции, то превышение кромок
должно быть таким же как и стыки продольных стыков обечаек.
Зазор в стыке регулируется винтовыми стяжками и контролируют щупом.
Превышение кромок измеряется каждые 400…500 мм, устанавливаются полуструпцины и
прихватки. Сборку заготовок днищ производят аналогично сборке продольных стыков
обечаек.
После сборки заготовок днища, устанавливаются входные и выходные планки и
как правило, контрольные пластины с обратной стороны стыка.
Рисунок 3 - Схема сборки половинки днища.
Рисунок 4 - Схема базирования заготовок днища.
1 - входные планки; 2 - собираемые заготовки эллиптического
днища; 3 - контрольные пластины, 4 - выходные планки
Рисунок 5 - Схема сборки продольного стыка днища.
Производится прихватка стыка при помощи ручной дуговой
сварки, электродами ЦЛ-11, диаметром 3 мм, ток постоянный, полярность обратная,
длина прихваток - (2..5)S,
принимаем 20 мм, расстояние между прихватками - (10..40)S, принимаем 80 мм.
Привариваются входные и выходные планки (на один из
стыков входные планки и контрольную пластину) при помощи ручной дуговой сварки,
электродами ЦЛ-11, диаметром 3 мм, ток постоянный - 90 А, полярность обратная.
В качестве источника питания будем использовать сварочный инвертор Ресанта САИ
250.
Таблица 1 - Техническая характеристика Ресанта САИ 250
|
Параметр
|
Значение
|
|
Режим работы ПВ, %
|
70
|
|
Напряжение дуги, В
|
29
|
|
Максимальный диаметр
электрода, мм
|
6
|
|
Пределы регулирования:
сварочного тока, А:
|
10-250
|
|
Напряжение холостого хода,
В не более
|
80
|
|
Максимальная мощность, кВА
|
7.7
|
|
Напряжение сети, В
|
220,380
|
|
Степень защиты
|
IP21
|
|
Масса, кг не более
|
5
|
3.3 Сборка продольных стыков обечаек
Сборка обечаек по продольному стыку осуществляется с целью обеспечения
требуемого превышения кромок и необходимого зазора в стыке согласно ГОСТ Р
52630-2012.
Сборку продольных стыков обечаек осуществляют с помощью специальных
приспособлений: винтовых стяжек, полуструбцин, а также вспомогательного
оборудования.
- винтовой зажим левого плеча; 2 - механизм сближения плеч; 3 - винтовой
зажим правого плеча; 4 - правое плечо; 5 - левое плечо; 6 - механизм изменения
длины левого плеча
Рисунок 6 - Схема винтовой стяжки
Сборку продольных стыков обечаек производят на роликовом стенде Т-92 в
следующей последовательности:
Обечайку устанавливают на роликовый стенд Т-92 (рисунок 9);
Устанавливают требуемый зазор в стыке при помощи двух винтовых стяжек.
Стяжки размещают по обеим сторонам стыка, фиксируют кромки в винтовых зажимах
левого и правого плеч. Механизмом сближения левого и правого плеч устанавливают
зазор в стыке. Величину зазора в стыке контролируют при помощи специальных
щупов или калиброванной закаленной стальной проволоки;
Рисунок 7 - Схема сборки продольных стыков обечайки
Устанавливают минимальное превышение кромок в стыке, но не более 0,8 мм,
при помощи винтовых стяжек, посредством изменения длины левого плеча.
Рисунок 8. Схема распорного кольца.
По причине небольшой толщины, обечайки имеют незначительную жёсткость.
Чтобы обеспечить требуемую геометрию, будем применять распорные кольца
соответствующего диаметра. Кольцо устанавливается внутрь обечайки, затем, с
помощью механизма, его диаметр увеличивается. Распорное кольцо прижимается к
внутренней стенке обечайки и обеспечивает необходимую геометрию. Будут
использоваться два распорных кольца, которые будут устанавливаться ближе к
середине обечайки.
Производят прихватку стыка ручной дуговой сваркой
электродом ЦЛ-11 диаметром 3 мм, источник питания - сварочный инвертор Ресанта
САИ 250, ток постоянный, полярность обратная. Протяжённость прихваток - (2..5)S, принимаем 20 мм, расстояние между
прихватками - (10..40)S,
принимаем 80 мм. Приваривают входные и выходные планки (на один из стыков
входные планки и контрольную пластину) инвертором Ресанта САИ 250, электродом
ЦЛ-11 диаметром 3 мм, ток постоянный, полярность обратная. Удаляют
полуструбцины, а места их установки зачищают металлической щеткой. Снять
винтовые стяжки, и подать заготовку на сварку продольного стыка.
3.4 Сборка эллиптического днища с
корпусом аппарата
Эллиптические днища поступают на сборку с корпусом уже с люком или
штуцером согласно чертежу.
1 - устройство или ложемент днища; 2 - днище, привариваемое к корпусу; 3
- поворотный механизм; 4 - роликовый стенд; 5 - корпус; 6 - пневмоцилиндры
Рисунок 9 - Установка для сборки корпуса с днищем
При сборке эллиптических днищ с корпусом сварные швы днищ не должны
совпадать с продольными швами корпуса, а отстоять от них на величину не менее
100 мм.
Сборка эллиптических днищ с корпусом осуществляется на специальной
установке (рисунок 9) в следующей последовательности:
1. Установить днище на ложементы и зафиксировать при помощи шести
гидравлических пневмоцилиндров;
2. При помощи подъемника днище на ложементе поднимается и стыкуется
с корпусом;
. Установить зазор в стыке и превышение кромок при помощи шести
установочных пневмоцилиндров с секционным управлением.
. Установить в точке 1 (рисунок 10) ожидаемое превышение кромок и
осуществить прихватку в этой точке. Далее установить прихватку в точке 2, затем
в точках 3 и 4. После этого прихватки устанавливаются в той же
последовательности согласно схеме, представленной на рисунке 11. Длина
прихваток (2..5)S , принимаем 20
мм, количество прихваток - 54. Шаг прихватки (10..40) S, примнимаем 80 мм. Прихватки выполняют ручной дуговой
сваркой электродами ЦЛ-11, диаметром 2 мм. Затем корпус передают на стенд для
сварки всех кольцевых стыков.
Рисунок 10 - Схема постановки прихваток при сборке
Сборка корпуса со вторым днищем производится после установки и приварки
штуцеров, люков и внутреннего оборудования корпуса.
3.5 Сборка кольцевых стыков обечаек
Сборка обечаек опоры по кольцевому стыку осуществляется на специальной
установке (рисунок 11). Предварительно все обечайки подвергают измерению
периметра обечаек с обеих сторон.
- тележка; 2 - скоба сборочная; 3 - винт; 4 - опорный винт с
наконечником; 5 - роликовый стенд; 6, 7 - гидроцилиндры;
- гидротолкатель; 9, 10 - обечайки
Рисунок 11 - Установка для сборки обечаек в корпус
Сборку обечаек в корпус производить на
механизированном стенде в горизонтальном положении в следующей
последовательности:
Установить на роликовый стенд две обечайки (рисунок
11). Продольные стыки обечаек не должны быть продолжением друг друга, смещаться
на расстояние не менее 100 мм. Причем продольные стыки должны располагаться в
одной плоскости. Это связано с тем, что продольные стыки отвечают за прочность
конструкции и поэтому должны находиться в зоне осмотра.
Две обечайки устанавливать так, что бы их стык
находился на линии винта с зазором несколько превышающим требуемый зазор в
стыке. Затем винтом и пневмоцилиндром закрепить правую обечайку, предотвращая
ее перемещение при установке зазора в стыке. Установить в зазор щуп толщиной 1
мм и гидротолкателем одна обечайка передвинется к другой обечайке, таким
образом, устанавливая зазор в стыке. После этого отпустить винт 3 вниз до
предела.
-
Установить минимальное превышение кромок (
0,8 мм),
не превышающее допустимое. Для равномерного распределения ожидаемого превышения
кромок, по всему периметру стыка пользуясь щупами, устанавливается в точке 1
(рисунок 10) щуп той величины, которая ожидается при общей сборке, не допуская
удвоения превышения кромок в противоположной точке 2 (рисунок 10).
Рисунок
12 - Схема постановки прихваток при сборке
- Установить в точке 1 (рисунок 12) ожидаемое
превышение кромок и осуществить прихватку в этой точке. Далее установить
прихватку в точке 2, затем в точке 3 и 4 (рисунок 12). После этого прихватки
устанавливаются в той же последовательности согласно схеме представленной на
рисунке 10. Длина прихваток 20 мм. Количество прихваток 54 шт. Расстояние между
прихватками - 80 мм. Прихватку выполняют при помощи ручной дуговой сварки,
электродами ЦЛ-11, диаметром 2мм, ток постоянный, полярность обратная.
3.6 Разметка корпуса под штуцера и
люки
Задачей разметки является определение координат центра отверстия штуцера
или люка согласно основному виду и плану расположения штуцеров и люков.
Используется способ лазерной разметки. Выбирается базовая плоскость, как
правило, кольцевой стык днища по оси шва или плоскость разъема корпуса и
второго днища. Намечается базовая линия, за которую принимается продольная
линия, на которой располагается максимальное количество штуцеров и люков,
отмеряют от базовой плоскости расстояние, на котором расположена плоскость, в
которой находится отверстие. После чего определяется угол, под которым
располагается в этой плоскости искомый центр отверстия относительно базовой
линии. В месте найденного центра производят насечку керном и сверлят (либо
вырезают) отверстие.
При лазерном способе разметки вне корпуса аппарата на горизонтальную
площадку устанавливается генератор лазерного излучения таким образом, чтобы луч
находился в одной плоскости с главной осью аппарата.
- лазерный генератор; 2 - поворотный отражатель с изгибом;
- размечаемый корпус; 4 - центр отверстия под люк
Рисунок 13 - Схема разметки корпуса под установку штуцеров и люков
Внутрь корпуса аппарата помещается передвижная тележка с отражателем и
устройство для отклонения лазерного луча. Тележка устанавливается на
необходимое расстояние от базовой плоскости, включается лазерный генератор,
отраженный от призмы луч указывает центр отверстия штуцера или люка.
Осуществляют кернение и сверление сквозного отверстия. Если штуцер расположен
вне главной плоскости, тележку перемещают на нужное расстояние и при помощи
устройства для отклонения луча лазерный луч отклоняют на требуемый угол.
3.7 Установка штуцеров в корпус
аппарата
Существует несколько вариантов установки штуцеров и
люков на цилиндрическом корпусе: с укрепляющим кольцом, с утолщением патрубка,
с отбортовкой отверстия в корпусе, с отбортовкой патрубка штуцера или люка. В
данном случае установка производится с отбортовкой отверстия в корпусе.
Рисунок 14 - Схема установки штуцеров в корпус
аппарата
Приварка штуцеров осуществляется ручной дуговой
сваркой. Вырезка отверстий под штуцера производится плазменной резкой.
Установка штуцеров в корпус производится двумя
сборщиками, один из которых при постановке другим прихваток удерживает штуцер в
заданном положении. Зазор между корпусом аппарата и штуцером контролируется при
помощи калиброванной проволоки.
Последовательность
установки следующая:
- штуцер установить согласно принятой для него схеме (рисунок 14).
выверить перпендикулярность оси люка или штуцера относительно корпуса при
помощи угольника. В соответствии с требованиями ГОСТ Р 52630-2012 выверяется
позиционное отклонение осей штуцеров и люков (не должно быть более ±10 мм) и
отклонение по высоте (вылету) штуцеров (не должно быть более ±5 мм).
произвести прихватку штуцера РДС электродом ЦЛ-11, ток постоянный,
полярность обратная. Длина прихватки 20 мм, шаг между прихватками - 80 мм.
После сборки всех штуцеров с корпусом произвести их приварку.
3.8 Требования к установке штуцеров и
люков
При установке штуцеров и люков позиционное отклонение осей штуцеров и
люков не должно быть более ± 10 мм; отклонения диаметров отверстий под штуцера
и люки должны быть в пределах зазора допускаемых для сварных соединений по
конструкторской документации; отклонение по высоте штуцеров допускается не
более ± 5 мм; после приварки штуцеров и люков отклонение от плоскостности
уплотнительной поверхности фланца допускается не более 1 мм на 100 мм наружного
диаметра фланца; при приварке патрубков штуцеров и люков расстояние между краем
шва корпуса и краем шва приварки деталей принимается равной не менее толщины
корпуса, но не менее 20 мм.
3.9 Сборка опоры и прихватка ее к
корпусу аппарата
Последовательность сборки опор следующая:
сборка заготовки обечайки под сварку продольного шва опорной обечайки;
сборка цилиндрической части опоры аппарата с опорным кольцом.
Сборка под сварку продольного шва опорной обечайки производится
аналогично сборке обечаек корпуса.
Для сварки опорных колец применим автоматическую сварку под флюсом
(разделка кромок С47 по ГОСТ 8713-79). Ребра жесткости будем сваривать ручной
дуговой сваркой, разделка кромок Т3 по ГОСТ 5264-80 (рисунок 15).
Рисунок 15 - Разделка кромок Т3 (по ГОСТ 5264-80)
Опорные кольца будем собирать на сборочной плите с использованием
универсальных сборочных приспособлений, аналогично сборке заготовок днищ.
Установим на сборочную плиту заготовки опорного кольца с необходимым зазором
(b=0+1 мм) и превышением кромок (Δ<0,8 мм) и прихватим их РДС электродом
ЦЛ-11 диаметром 2 мм. Ток постоянный 50А, полярность обратная. Длина прихваток
30 мм, количество - по 2 прихватки на каждый шов.
После сварки опорного кольца производим окончательную сборку опоры. Для
этого на сборочную плиту устанавливаем опорное кольцо, производим разметку
положения цилиндрической части опоры и по периметру разметки устанавливаем 6
упоров (рисунок 14). Предварительно осуществляется сборка цилиндрической части
с верхним фиксирующим кольцом и его прихватка.
1 - обечайка опоры; 2 - опорное кольцо; 3 - упоры; 4 - сборочная плита.
Рисунок 16 - Сборка опоры
Краном устанавливаем цилиндрическую часть на опорное кольцо и
осуществляем прихватку РДС электродом ЦЛ-11 диаметром 2 мм. Длина прихваток 20
мм, расстояние между прихватками 80 мм. Удаляем упорные элементы.После
прихватки обечайки с опорным кольцом по разметке устанавливаем ребра жесткости
и осуществляем их сварку РДС электродом ЦЛ-11 диаметром 2 мм. Рёбра жёсткости
не допускается устанавливать на сварные швы опорного кольца. Необходимое
расстояние между рёбрами жесткости и сварными швами днища - 200 мм.
Рисунок 17. Схема расположения сварных швов опорного кольца и рёбер
жесткости.
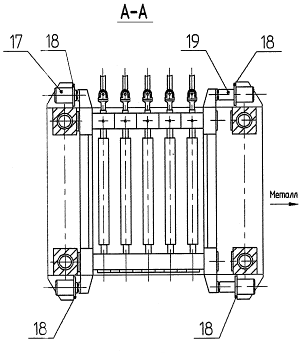
Схема базирования установочных приспособлений для сборки и сварки
опорного кольца представлена на рисунке 18.
Рисунок 18 - Схема базирования установочных приспособлений для сборки и
сварки опорного кольца.
Последовательность сборки опоры с корпусом:
На собранную опору с помощью крана и планок-ловителей установить днище
(рисунок 19) и произвести прихватку РДС, электрод диаметром 2,0 мм, ток
постоянный, полярность обратная, длина прихваток - 20 мм, шаг - 80 мм.
1 - опора; 2 - днище аппарата; 3 - планки-ловители
Рисунок 19 - Схема сборки опоры с днищем.
4 Сварочные операции
4.1 Сварочные материалы
При изготовлении данной конструкции были использованы следующие
материалы:
§ сварочная проволока марки Св-08Х19Н10Б по ГОСТ 2246;
§ флюс марки АН-26С по ГОСТ 9087;
Химический состав сварочных материалов приведен ниже.
Таблица 1 - Химический состав проволоки Св-08Х19Н10Б по ГОСТ
2246-70
|
Проволока
|
Содержание в %
|
|
C
|
Mn
|
Si
|
Cr
|
Ni
|
Nb
|
Ti
|
S
|
P
|
|
Св-08Х19Н10Б
|
0,05-0,10
|
1,20-1,70
|
Не более 0,70
|
18,5-20,5
|
9,0-10,5
|
1,20-1,50
|
-
|
0,018
|
0,025
|
Таблица 2 - Химический состав флюса АН-26С по ГОСТ 9087-81
|
Марка флюса
|
Содержание в %
|
|
SiO2
|
MnO
|
MgO
|
CaF2
|
CaO
|
|
АН-26С
|
SiO2
|
Al2O3
|
MnO
|
CaO
|
MgO
|
|
29-33
|
19-23
|
2,5-4,0
|
4-8
|
15-18
|
|
Fe2O3
|
CaF2
|
S
|
Р
|
С
|
|
<1,5
|
20-24
|
0,1 0,1<0,05
|
|
|
Флюс плавленый марки АН-26С:
Назначение. Для механизированной дуговой сварки коррозионно-стойких и
жаропрочных хромоникелевых сталей с применением соответствующих электродных
проволок.
Сварочно-технологические свойства. Устойчивость дуги удовлетворительная,
разрывная длина дуги до 7 мм; формирование шва хорошее, без особенностей;
склонность металла шва к образованию пор и трещин низкая; отделимость шлаковой
корки хорошая, при сварке корневых швов в разделке удовлетворительная. Данные
для контроля качества. Состав флюса приведен выше. Цвет зерен: серый,
светло-зеленый; размер зерен 0,25-2,5 мм; строение зерен − стекловидное;
объемная масса 1,3-1,8 кг/дм³. Металлургические свойства. Относится
к группе низкокремнистых и низкомарганцовистых солеоксидных флюсов с химической
активностью Аф=0,45-0,5. Флюс многокомпонентный, построен на базе шлаковой
системы MgO−CaF2 −SiO2 −Al2O3 с добавками оксидов марганца и
кальция с целью получения определенных сварочно-технологических характеристик.
При механизированной сварке хромоникелевых высоколегированных сталей под флюсом
за счет соответствующего хрома активно протекает кремневосстановительный
процесс. В результате наплавленный металл в значительной степени обогащен
мелкодисперсными оксидными включениями. В среднем количество кислорода в
металле сварочных швов 0,08-0,10 %. Поэтому флюс не рекомендуется для сварки
металла толщиной более 40 мм. Одновременно снижается содержание δ-феррита в металле швов. В сочетании с
флюсом не рекомендуется использовать сварочные проволоки с содержанием δ-феррита менее 4% во избежание
образования горячих трещин, особенно при сварке жестких конструкций. Основность
флюса:

1.1
Флюс нейтральный. Активность А=0,45. Флюс активный.
4.2 Сварка корпуса аппарата
Продольные и кольцевые стыки обечаек будут свариваться автоматической
дуговой сваркой под флюсом на специальной установке У-177 (рисунок 1),
техническая характеристика которой приведена в таблице 3.
Таблица 3 - Техническая характеристика универсальной установки
У-177 для сварки продольных и кольцевых швов цилиндрических изделий
Величина
|
|
Размеры свариваемых
изделий, мм: диаметры длины толщины стенок
|
1000..3500
1000…10000 5…30
|
|
Установленная мощность
установки, квт
|
160
|
|
Давление воздуха в сети,
атм
|
4…6
|
|
Расход воздуха, м3/ч
|
150
|
Для данного способа сварки выбираем сварочный трактор ТС-17, техническая
характеристика которого приведена в таблице 4.
Таблица 4 - Техническая характеристика сварочного трактора ТС-17
|
Параметр
|
Величина
|
|
Сварочный ток, А
|
200…1200
|
|
Диаметр электродной
проволоки, мм
|
1,6…5
|
|
Скорость подачи электродной
проволоки, м/ч
|
56…435
|
|
Скорость передвижения при
сварке, м/ч
|
15…70
|
|
Габаритные размеры, мм
|
740 300 520
|
|
Масса, кг
|
42
|
Таблица 5 - Техническая характеристика ВД-401 У3
|
Параметр
|
Форма ВВАХ
|
|
Универсальные
|
|
Мощность, кВт
|
16
|
|
ПВ(ПН), %
|
60
|
|
Номинальный ток, А
|
400
|
|
Диапазон регулирования
тока, А
|
80-400
|
|
Номинальное напряжение на
дуге, В
|
36
|
|
КПД, %
|
85
|
|
Масса, кг
|
125
|
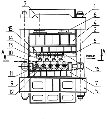
1 - велосипедная тележка; 2 - велобалкон; 3 - роликовый стенд; 4 -
сварочный трактор для сварки внутреннего шва обечайки; 5 - тележка флюсовой
подушки, перемещающаяся вдоль роликового стенда по рельсовому пути; 6 - пневмоцилиндры
флюсовой подушки для предварительного поджатия флюса к стыку с наружи обечайки;
7 - металлический корпус флюсовой подушки; 8 - прорезиненный шланг; 9 -
эластичный латок флюсовой подушки для уплотнения продольного стыка; 10 -
свариваемая обечайка с планками; 11 - сварочная головка или трактор для сварки
наружного продольного стыка; 12 - привод перемещения балкона; 13 - механизм,
предотвращающий наклон велосипедной тележки; 14 - привод перемещения
велотележки; 15 - привод вращения роликового стенда; 16 - противовес
велобалкона; 17 - штуцер ввода сжатого воздуха; 18 и 19 - входные и выходные
планки или контрольная пластина; 20 - кольцевой выключатель
Рисунок 1 - Универсальная установка У-177 для сварки продольных и
кольцевых швов цилиндрических изделий
4.3 Расчёт режимов сварки продольного
стыка обечаек
Для сварки продольных стыков обечаек, а также кольцевых стыков, принимаем
автоматическую сварку под флюсом на флюсовой подушке, тип соединения С9 по ГОСТ
8713-79 (рисунок 2).
Сварочные материалы: проволока Св-08Х19Н10Б по ГОСТ 2246-70, флюс АН-26С
по ГОСТ 9087-81.
Рисунок 2 - Соединение С9 по ГОСТ 8713-79.
Шов выполняем автоматической сваркой под флюсом постоянным током
обратной полярности проволокой Св-08Х19Н10Б под флюсом АН-26С на следующих
режимах:
1. Глубина проплавления:
h1= 
2. Сварочный ток:
=
А
где
Кh -
коэффициент пропорциональности, Кh =1,45
3. Напряжение на дуге:
4. Диаметр электродной проволоки:
j =
100 А/мм2 - допустимая плотность тока.
5. Определяем скорость сварки
34,78
м/ч = 0,96 см/с
гдеА = 12000 А*м/ч - коэффициент, зависящий от диаметра электрода.
. Рассчитываем погонную энергию сварки
2561 Кал/см
гдеηи = 0,9 -
эффективный к.п.д. нагрева.
7. Определяем коэффициент формы провара
2,64,
гдеk’ =
0,89- коэффициент, зависящий от рода и полярности тока.
8. Определяем глубину провара
0,485 см=4,85 мм.
Определяем ширину шва
2,64*4,65 =12,8 мм.
9. Устанавливаем
вылет электрода, равный 50 мм.
10. Определяем коэффициент наплавки αн
Находим коэффициент наплавки. Принимая αн = αрасп, т.к. при сварке под флюсом потери
металла незначительны. Тогда
т.к. ток постоянный обратной полярности;
11. Определяем скорость подачи электродной проволоки
164,1 м/ч=4.55см/с,
гдеγ = 7,8 г/см3 - удельный вес металла.
12. Определяем площадь наплавленного металла
13. Определяем высоту валика (мм).
14. Определяем общую высоту шва
С = H + g = 4,85+1,6=0,645 см=6,45 мм.
. Определяем коэффициент формы усиления
16.
Коэффициент формы усиления попадает в допустимый интервал 7-10.
4.4 Расчёт
химического состава металла шва
Содержание рассматриваемого элемента в металле шва определяется на
основании правила смешения по формуле:
,
где |х|ш, |х|ом, |х|э - концентрация
рассматриваемого элемента в металле шва, основном и электродном металле; γо - доля участия основного металла в
формировании шва, определяется по формуле:
,
где Fн - площадь наплавленного металла,
Fпр - площадь провара.
см
см2
Таблица 6 - Химический состав металла шва
|
Элемент
|
C
|
Si
|
Mn
|
Cr
|
Ni
|
S
|
P
|
|
Содержание,%
|
≤0,05
|
≤0,383
|
≤1,1
|
20,15-22,15
|
6,5-7,7
|
≤0,023
|
≤0,0316
|
Сварка продольных стыков обечаек ведется в следующей последовательности:
1) Сварочным трактором сваривается шов. Если усиление шва выйдет за
допустимые пределы 2..3,5 мм, его необходимо удалить.
2) После сварки удаляется шлаковая корка, и шов зачищается
металлической щеткой.
4.5 Расчёт комбинированного шва
Приварка последнего днища к корпусу аппарата производится комбинированным
односторонним швом. Разделка кромок аналогична - С9 по ГОСТ 8713-79, однако
перед автоматической сваркой под флюсом производится подварка корня шва ручной
дуговой сваркой, электродом ЦЛ-11 диаметром 3мм, при сварочном токе - 90 А.
Рисунок 3. Схема комбинированной заварки кромок.
Корневой шов зачищается щеткой по металлу, после чего заваривается
автоматической сваркой под флюсом, на режиме, описанном выше.
4.6 Сварка кольцевых стыков корпуса
Сборка производится на специальной универсальной установке У-177,
показанной на рисунке 1, принимаем автоматическую сварку под флюсом, тип
соединения С9 по ГОСТ 8713-79. Сварочные материалы и режимы сварки аналогичны
приведенным выше для сварки продольных стыков.
Сварку кольцевых стыков выполнять в следующей последовательности:
Произвести сварку наружного кольцевого шва трактором, который закреплен
на велобалконе и его привод отключен, движется лишь корпус.
Произвести сварку внутреннего шва.
Если усиление шва В выйдет за допустимые пределы 2...3 мм, его необходимо
удалить. Флюс при вращении изделия непрерывно подается на ленту специальным
дозатором. Вращение ленты с флюсом осуществляется за счет трения при вращении
корпуса со сварочной скоростью.
После сварки швов удалить шлаковую корку, и зачистить шов металлической
щёткой.
4.7 Сварка заготовок днищ
Заготовки днища сваривают автоматической дуговой сваркой под флюсом.
Принимаем автоматическую сварку под флюсом, тип соединения С9 по ГОСТ 8713-79.
Сварочные материалы те же, что и в предыдущем пункте, расчет аналогичен. Для
сварки использовать сварочный трактор ТС-17, техническая характеристика
которого приведена в таблице 19.
Сварка производится в следующей последовательности:
Заготовки днища установить с предварительно приваренными входными
планками и контрольными пластинами на сварочный стол.
Сварочный трактор ТС-17 установить на начало стыка входной пластины,
осуществить сварку.
- заготовки свариваемого днища; 2 - контрольные пластины и планки; 3 -
флюсовая подушка; 4 - сварочный стол; 5 - сварочный трактор ТС-17
Рисунок 4 - Схема сварки заготовок днищ
4.8 Приварка штуцеров
Сварка штуцеров из металла 08Х22Н6Т выполняется при помощи ручной дуговой
сварки. Разделка кромок У6 по ГОСТ 5264-80. Электрод ЦЛ-11 типа Э-08Х20Н9Г2Б по
ГОСТ 10052-75, диаметром 2мм, сварочный ток - 50 А. С целью получения
мелкочашуйчатого шва, сварку ручной дуговой сваркой проводить с колебаниями
электрода.
После приварки всех штуцеров к корпусу, произвести
контроль качества сваренных швов внешним осмотром и УЗД, устранить дефекты.
Рисунок
5 - Разделка кромок У6 по ГОСТ 5264-80.
Рисунок 6. Схема сварки кромок разделки У6 по ГОСТ 5264-80.
.
Рисунок 7 - Схема колебаний электрода при ручной дуговой сварке.
4.9 Сварка опоры и приварка ее к
корпусу аппарата
Сварка опорного кольца, а также сварка продольного стыка опорной обечайки
производится аналогично - под флюсом, режимы сварки аналогичны.
Приварка опорной обечайки к опорному кольцу производится при помощи РДС,
разделка кромок Т3 по ГОСТ 5264-80. Электрод ЦЛ-11, диаметром 2мм, сварочный
ток - 50 А.
Рисунок 8. Схема кромок Т3 по ГОСТ 5264-80.
Рисунок 11 - Схема сварки кольцевых швов ручной дуговой сваркой.
4.10
Термическая обработка сварных соединений
После соответствующей термической обработки (закалка - нагрев до 1150оС,
охлаждение в воде + стабилизирующий отпуск -нагрев до 850оС,
охлаждение на воздухе до комнатной температуры) высоколегированные стали и
сплавы обладают высокими прочностными и пластическими свойствами. В отличие от
углеродистых, эти стали при закалке приобретают повышенные пластические
свойства.
5. Методы контроля качества сварных
соединений
В сварных соединениях не допускаются следующие
наружные дефекты:
а) трещины всех видов и направлений;
б) свищи и пористость наружной поверхности шва;
в) подрезы, наплывы, прожоги и незаваренные кратеры;
г) смещение и совместный увод кромок свариваемых
элементов свыше норм, предусмотренных в ГОСТ Р 52630-2012;
д) несоответствие формы и размеров шва требованиям
стандартов, технических условий или чертежей на изделие.
В сварных соединениях не допускаются следующие
внутренние дефекты:
а) трещины всех видов и направлений, расположенные в
металле шва, по линии сплавления и в околошовной зоне основного металла, в том
числе и микротрещины, выявляемые при микроисследовании;
б) непровары (несплавления), расположенные в сечении
сварного соединения (между отдельными валиками или слоями шва и между основным
металлом и металлом шва);
в) свищи;
г) поры в виде сплошной сетки;
д) единичные шлаковые и газовые включения по группе А
ГОСТ 7512-69 глубиной свыше 10% от толщины стенки и более 3 мм длиной, более
0,2 S при толщине стенки S до 40 мм;
е) цепочки пор и шлаковых включений по группе Б ГОСТ
7512-69, имеющих суммарную длину дефектов более толщины стенки на участке шва,
равном десятикратной толщине стенки (360 мм), а также имеющие отдельные дефекты
с размерами превышающими указанные в п. д.
ж) скопление газовых пор и шлаковых включений по
группе В ГОСТ 7512-69 в отдельных участках шва свыше 5 шт. на 1 см2
площади шва; максимальный линейный размер отдельного дефекта по наибольшей
протяженности не должен превосходить 1,5 мм, а сумма их линейных размеров не
должна быть более 3 мм; Назначаем следующие виды контроля качества сварных
швов: - внешний осмотр;
металлографические исследования;
ультразвуковой контроль;
механические испытания;
гидростатические испытания;
стилоскопирование.
5.1
Внешний осмотр
При внешнем осмотре невооруженным глазом или через
лупу проверяют наличие трещин, подрезов, свищей, прожогов, непроваров и др.
Некоторые из этих дефектов, такие как прожоги, непровары, незаваренные кратеры,
свищи являются недопустимыми и подлежат вырубке и повторной заварке. Так же
определяют дефекты формы шва, распределение чешуек, характер распределения
шлака в усилении шва. Неравномерная чешуйчатость, разная ширина и высота шва
указывает на колебания мощности дуги, частые её обрывы и неустойчивость
горения. Геометрические размеры швов определяют с помощью шаблонов и линеек.
Внешнему осмотру подвергаются все сварные швы.
5.2
Металлографические исследования
Металлографические макро- и микроисследования должны
проводиться на образцах, вырезанных из контрольного сварного соединения поперек
сварного шва согласно ГОСТ 3242-69.
Контролируемая поверхность образца должна включать
сечение шва с зонами термического влияния и прилегающими к ним участками
основного металла.
Качество сварного соединения по результатам
металлографических исследований должно соответствовать требованиям ГОСТ Р
52630-2012.
5.3
Ультразвуковой контроль
Ультразвуковая дефектоскопия (УЗД) применяется для
выявления внутренних дефектов и является проникающим, неразрушающим методом
контроля и проводится согласно ГОСТ 14782. Обязательному контролю УЗД подлежат:
стыковые, угловые и тавровые соединения, доступные для
контроля, в объеме от 10% до 100%. Так как данный сосуд относится к первой
группе, то УЗД подлежит 100% сварных швов;
места пересечений и сопряжений сварных соединений;
перекрываемые укрепляющими кольцами участки сварных
швов; УЗД будем осуществлять при помощи дефектоскопа УДГ-14, технические данные
которого представлены таблице 24.
Таблица 1 - Техническая характеристика дефектоскопа УДГ-14
|
Параметр
|
Величина
|
|
Частота ультразвука,
излучаемая наклонным искателем, МГц
|
2,5
|
|
Максимальная условная
чувствительность по эталону №1 при b = 40° и f = 2,5 МГц, мм
|
50
|
|
Мёртвая зона при работе с
искателем мм, b =40°/50°
|
8/3
|
|
Максимальная глубина
прозвучивания при работе прямым искателем, мм
|
700
|
|
Дополнительные индикаторы
|
динамик; лампочка
|
|
Режимы контроля
|
от поверхности; по слоям
|
|
Источник питания
|
сеть напряжением 220В
|
|
Углы призм искателя
|
30°, 40°, 50°
|
5.4
Механические испытания
Механические испытания будем проводить с целью
определения следующих параметров: предела прочности; угла загиба; ударной
вязкости.
Определение предела прочности осуществляем в
соответствии с ГОСТ 6996-66 на прямоугольных образцах, нарезанных из
контрольной пластины. Предел прочности определяется при температуре + 20°С. Для
этого необходимо два образца типа XIII (рисунок 1) со снятием усиления по ГОСТ 6996-66.
Рисунок 1 - Образец для определения предела прочности
Предел прочности определяется по формуле:
,
где Р - усилие разрушения;0- первоначальная площадь
поперечного сечения.
Толщина образца равна толщине основного металла: S =36 мм.
Ширина рабочей части образца b = 25±0,5 мм.
Ширина захватной части образца b1 =35 мм.
Длина рабочей части образца l =100 мм.
Общая длина образца L =l + 2·h.
Длина захватной части h
устанавливается в зависимости от конструкции испытательной машины.
Предел прочности должен быть не менее 500 МПа
На таких плоских образцах не удается получить относительное удлинение, то
есть определить пластические свойства сварного соединения из-за неравномерного
течения образца по сечению. В связи с этим пластические свойства сварного
соединения определяются испытанием на угол загиба плоских образцов (рисунок 2).
Испытания проводят для стыковых соединений. При испытании определяют
способность соединения принимать заданный по размеру и форме изгиб. Эта
способность характеризуется углом изгиба α (рисунок 8), при котором в
растянутой зоне образца образуется первая трещина, развивающаяся в процессе
испытания. Если длина трещин, возникающих в процессе испытания в растянутой
зоне образца, не превышает 20 % его ширины, но не более 5 мм, то они не
являются браковочным признаком. Определяют также место образования трещины или
разрушения (по металлу шва, металлу околошовной зоны или основному металлу).
Угол загиба должен быть не менее 100…120°.
Испытания на угол загиба проводим при температуре +20°С. Для этого
необходимо два образца типа XXVII
по ГОСТ 6996 - 66.
Рисунок 2 - Схема испытания сварного соединения на
изгиб
Рисунок 3 - Образец для определения угла загиба
Рисунок 4 - Схема испытания на изгиб
Толщина образца S - 36
Ширина образца b - 30
Общая длина образца L = D + 2,5·S + 80
Длина рабочей части образца l = 0,33·L
Расстояние между опорами K = D + 2,5·S
Ответственной за прочность конструкции является сталь 08Х22Н6Т, которая
относится к аустенитно-ферритному классу. Согласно ГОСТ Р 52630-2012 угол
загиба в таком случае должен составлять a = 60° - 80°. В этом случае пластические свойства металла шва
считаются приемлемыми.
Если результаты, полученные по какому-либо виду механических испытаний,
неудовлетворительные, то проводятся повторные испытания на удвоенном количестве
образцов, результаты которых считаются окончательными.
Для испытания на ударную вязкость необходимо по три
образца (рисунок 5) на шов по ГОСТ 6996-66 с V-образным надрезом по оси шва.
Испытание проводим на маятниковом копре. Ударная
вязкость в данном случае должна составлять ан = 35 Дж/см2.
Рисунок 5 - Образец для испытания на ударную вязкость
5.5
Гидростатические испытания
При гидроиспытаниях определяем прочность и герметичность сосуда.
Гидроиспытаниям подлежат сосуды после их полного изготовления. Давление равно
3±0,15 МПа. Для гидроиспытаний используют воду. Температура воды не должна
превышать +40°С. При заполнении сосуда водой из внутреннего объема корпуса
должен быть полностью удален воздух. Время выдержки сосуда под испытательным
давлением должно быть не более 10 мин.
После выдержки под испытательным давлением, давление снижается до
расчетного и производится визуальный осмотр наружной поверхности сосуда и
сварных соединений. После испытания вода полностью удаляется.
Результаты гидроиспытаний считаются удовлетворительными, если отсутствуют
падение давления по манометру, пропуски испытательной среды, запотевание,
пропуски пузырьков, признаки разрывов, остаточные деформации.
5.6 Стилоскопирование сварных
соединений
Стилоскопирование свариваемых деталей и сварных швов должно производиться
с целью установления соответствия типа использованной стали и сварочных
материалов требуемым. В процессе стилоскопирования следует определять в металле
шва наличие хрома и молибдена.
Должны контролироваться:
каждый сварной шов в одной точке через каждые 2 м;
места исправления каждого сварного шва;
наплавка не менее чем в одной точке.
При получении неудовлетворительных результатов контроля должно
производиться повторное стилоскопирование того же сварного соединения на
удвоенном количестве точек.
При неудовлетворительных результатах повторного контроля должен
производиться спектральный или химический анализ сварного соединения,
результаты которого считаются окончательными.
Таблица 2 - Контроль качества сварных швов
|
№ шва
|
Внешний осмотр
|
Металлографические
исследования
|
Механические испытания
|
УЗК
|
Гидростатические испытания
|
Стилоскопиование
|
|
|
|
Предел прочности
|
Угол загиба
|
Ударная вязкость
|
|
|
|
|
1
|
+
|
+
|
+
|
+
|
+
|
+
|
+
|
+
|
|
2
|
+
|
-
|
-
|
-
|
-
|
+
|
+
|
-
|
|
3
|
+
|
-
|
-
|
-
|
-
|
+
|
-
|
-
|
|
4
|
+
|
-
|
-
|
-
|
-
|
+
|
+
|
-
|
|
5
|
+
|
-
|
-
|
-
|
-
|
+
|
-
|
-
|
Заключение
В курсовом проекте разработана оптимальная технология изготовления
корпуса адсорбера. Данная технология обеспечивает требуемый уровень
экономичности при изготовлении заготовок. Выбранные схемы раскроя в процессе
заготовительных операций позволяют получить коэффициент отхода листового
металла на изделие менее 8 %. Соблюдены нормативные требования, предъявляемые к
изготовленным изделиям.
Подобраны необходимое оборудование и приспособления. Сборка корпуса
аппарата под сварку осуществляется с помощью специальных установок и
приспособлений (винтовых стяжек, упоров, полуструбцин и т.д.).
Сварка продольных и кольцевых стыков обечаек, стыков днищ осуществляется
автоматической сваркой под флюсом на специальном оборудовании. Приварка
штуцеров осуществляется РДС. Опоры свариваются автоматической сваркой под
флюсом и РДС.
Согласно требований ГОСТ Р 52630-2012 назначены методы контроля качества
сварных соединений. Подобраны необходимые механические и гидравлические
испытания, позволяющие гарантировать требуемую работоспособность и надежность
сварной конструкции.
Список использованной литературы
1.Акулов А.И., Гельчук Г.А.,
Демянцевич В.П. Технология и оборудование сварки плавлением.-М.:
Машиностроение, 1977.
.Виноградов В.С. Технологическая
подготовка производства сварных конструкций в машиностроении.-М.:
Машиностроение, 1981.
.Гитлевич А.Д. и др. Альбом
механического оборудования сварочного производства.-М.: Высшая школа, 1974.
.Куркин С.А. Технология изготовления
сварных конструкций. Атлас чертежей. М.: Машиностроение, 1962.
.Куркин С.А. и др. Технология,
механизация и автоматизация производства сварных конструкций. Атлас,-М.:
Машиностроение, 1989.
.Оборудование сварочного
производства. Каталог в 3-х книгах. Книга 1.-М.: Машиностроение, 1995.
.Рыжков Н.И. Производство сварных
конструкций в тяжелом машиностроении.-М.: Машиностроение, 1983.
.Севбо П.И. Конструирование и расчет
механического сварочного оборудования.-Киев: Наукова думка, 1978.
.Слоним А.З., Сонин А.Л. Правка
листового и сортового металла. Технология и оборудование.-М.: Металлургия,
1981.
.Расчет режимов дуговой сварки:
Методические указания к курсовому и дипломному проектированию / Сост. Е. П.
Покатаев.- Волгоград: ВолгПИ, 1987.-47с.