Процесс термической обработки детали 'Палец'

  • Вид работы:
    Дипломная (ВКР)
  • Предмет:
    Другое
  • Язык:
    Русский
    ,
    Формат файла:
    MS Word
    513,08 Кб
  • Опубликовано:
    2015-02-13
Вы можете узнать стоимость помощи в написании студенческой работы.
Помощь в написании работы, которую точно примут!

Процесс термической обработки детали 'Палец'

Введение

Технологическое проектирование заводов прошло путь от простой систематизации практического опыта в области проектирования до создания научной дисциплины в течение короткого времени.

Основными задачами промышленности является ввод в действие новых предприятий и агрегатов, а также увеличение мощностей действующих предприятий путем их реконструкции, установления нового оборудования, механизация и интенсификация производства и улучшение технологических процессов. Изучение основных вопросов проектирования и создания машиностроительных предприятий является весьма сложной задачей. Необходимо применение комплекса знаний и найти рациональные методы решения этих задач, необходимые для практических целей проектирования.

В данной дипломной работе был разработан проект термического участка мощностью 2350 тонн в год в условиях завода КЛМЗ корпорации «Казахмыс».

Предприятие перестраивается в направлении производства новых образцов техники, запасных частей и узлов с увеличением существующих объёмов выпуска. На заводе уделяется особое внимание качеству выпускаемой продукции. Однако борьба за качество предусматривает не только контроль уже произведённой продукции. Основная задача - повысить качество на стадии изготовления. Этому в значительной мере способствуют модернизация имеющегося оборудования, а также внедрение новой высокопроизводительной техники, использование прогрессивных технологических процессов термообработки.

Основой проекта участка в данной дипломной работе является детально разработанная технологическая часть. Решение вопросов всех остальных частей проекта производится на основе данных и требований технологического процесса, в результате чего определяются задания и условия для разработки этих частей. Также одной из основных задач является повышение качества выпускаемой продукции и снижение затрат на ее изготовление. При проектировании технологического процесса одновременно разрабатываются и решаются экономические, технические и организационные задачи, тесно связанные между собой. В данном проекте применяется сталь 40Х - конструкционная легированная улучшаемая сталь. В работе также отражается влияние производства на окружающую среду и разработаны мероприятия по охране труда.

1. Основная часть

.1 Производственная программа термического участка

Разработка проектирования действующего участка необходима с целью повышения качества и расширения номенклатуры металлопродукции, уменьшения численности обслуживающего персонала и повышения производительности труда, улучшения условий труда путем механизации трудоемких процессов, повышения экономической эффективности производства, снижение себестоимости изделий, увеличения размера прибыли и повышения рентабельности производства. Основанием для проектирования термических цехов, отделений является годовая производственная программа.

Производственная программа- это перечень товарной продукции в тоннах (штуках), которая должна быть изготовлена цехом за установленное время (год). В данной дипломной работе необходимо спроектировать участок для термической обработки деталей производительностью 2350 тонн в год. Производственная программа составлена на основе номенклатуры изделий, подвергаемых термической обработке на участке. В таблице 1.1 показана производственная программа термического участка.

Таблица 1.1. Производственная программа термического участка

Наименование изделия

Материал

Технические требования

Масса, кг

Годовой выпуск





штук

тонн

Палец

40Х

HB 280-320 50-56HRC (ТВЧ)

37.5

10000

375

Диск составной ДСТОRO440Д-010АНСБ

20

Отжиг

220

2000

440

Оси вагонетки

40Х

HB 220-280

100

10000

1000

Палец балансира ПБ-TORO-0011.001

20Х2Н4А

Цементировать h 0,8-1,2 58-62 HRC

25,5

10000

255

Шток ПМЗШ

45

НВ 241-285 4050HRC (ТВЧ) 88

16

10000

160

Подшипник сцепки С3-00.415

ШХ15

HRC 61-65

4

30000

120

Итого:

-

2350


Место расположения проектируемого термического участка - город Караганда. Источником тепловой энергии для проектируемого участка является электроэнергия.

1.2 Описание изделий и условий их работы

Палец является сборочной единицей, входящей в гидростойку шахтного оборудования.

Диск составной - сварная конструкция. Диск составной состоит из свариваемых между собой колец. Кольца свалованы из листа толщиной 30 мм и сварены ручной дуговой сваркой. Цикл сварки, обуславливая появление уравновешенных упругих деформаций в зоне сварного шва, приводит к возникновению остаточных сварочных напряжений в сварном соединении. Необходимость снятия или снижения остаточных сварочных напряжений обусловлено их вредным влиянием на работоспособность изделия. Снятие напряжений производится термической обработкой низкотемпературным отжигом.

Палец балансира ПБ - ТОRО - деталь самосвала TOROPLUS, обладающий грузоподъемностью 50 тонн. Деталь эксплуатируется в тяжелых напряженных условиях. Материал пальца испытывает высокие динамические знакоперименные нагрузки, интенсивные изнашивающие нагрузки.

Оси вагонетки - детали узла тележки вагонетки. Оси являются опорными деталями. Оси должны обладать высокой прочностью и вязкостью, что обеспечивается термообработкой - улучшением. Оси подвергаются в процессе работы истиранию без значительных ударных нагрузок. При выборе материала следует учитывать прокаливаемость.

Шток - это деталь, которая работает в гидроцилиндре для подъема и наклона ковша экскаватора. Эта деталь входит в цилиндро-поршневую группу. Основное требование, предъявляемое к штоку, повышенная прочность в сочетании с мягкой сердцевиной. Это обеспечивается термической обработкой, заключающейся в улучшении сердцевины и поверхностной закалки токами высокой частоты.

Подшипник сцепки расположен между передней подвеской и кузовом самосвала. Подшипники сцепки обеспечивают поворот кузова. Условия работы характеризуются сложным комплексом возникающих в детали напряжений. Подшипник сцепки аналогичен стандартному подшипнику качения, где контакт трущихся поверхностей обеспечивают два кольца - обойма и сфера. При работе подшипника сцепки имеет место трение от проскальзывания деталей при наличии значительных контактных переменных нагрузок.

1.3 Обоснование выбора марки стали

Палец эксплуатируется в сложных напряженных условиях, испытывает высокие динамические нагрузки. Материал должен обладать высокой поверхностной твердостью, в сочетании с мягкой сердцевиной. Такими свойствами обладает сталь 40Х. Сталь 40Х - конструкционная легированная улучшаемая сталь. Данная марка стали обладает повышенной прочностью и ее применяют деталей ответственного назначения [1].

Таблица 1.2. Характеристика стали 40Х

Массовая доля элементов, %

С

Si

Mn

S

P

Cr

Ni

Cu

0,36-0,44

0,17-0,37

0,50-0,80

0,0350,035 0,80-1,10 0,300,30





Технологические характеристики

Прокаливаемость, мм

Склонность к отпускной хрупкости

Обрабатываемость резанием

В масле


HB

Kv

Материал резца

17-45/10-30

Склонна

163

1,2

Твердый сплав


Таблица 1.3. Температура критических точек для стали 40Х

Ac1

Ac3(Acm)

Ar3(Arcm)

Ar1

743

782

730

693


Диск составной изготавливается из стали 20. Сталь 20 - конструкционная, углеродистая, качественная сталь для сварных конструкций. Стали с содержанием углерода 0,2% и менее - низкоуглеродистые. Цикл сварки приводит к возникновению остаточных сварочных напряжений в сварном соединении. Снятие напряжений производится термической обработкой - низкотемпературным отжигом.

Таблица 1.4. Характеристика стали 20

Массовая доля элементов, %

С

Si

Mn

S

P

Cr

Ni

Cu

0,17-0,24 0,17-0,37              0,35-0,65             

,040

,035

,25

,30

0,30





 

Технологические характеристики

Прокаливаемость, мм

Склонность к отпускной хрупкости

Обрабатываемость резанием

в воде


HB

Kv

Материал резца

7-15

Не склонна

126

1,7

Твердый сплав


Палец балансира изготавливаются из стали 20Х2Н4А. Материал пальца испытывает высокие динамические и интенсивные изнашивающие нагрузки. Термическая обработка материалаобеспечивает требуемые свойства. Материал - сталь низколегированная, цементуемая 20Х2Н4А. Сталь содержит 0,2% С, 2% Сr и 4% Ni. Хром (Cr) - делает сталь стойкой против коррозии и окисления, уменьшает склонность к ломкому разрушению.

Таблица 1.5. Характеристика стали 20Х2Н4А

Массовая доля элементов, %

С

Si

Mn

S

P

Cr

Ni

Cu

0,16-0,22

0,17-0,37

0,30-0,60

0,0250,0251,25-1,653,25-3,650,30





Технологические характеристики

Прокаливаемость, мм

Склонность к отпускной хрупкости

Обрабатываемость резанием

В масле


HB

Kv

Материал резца

-

малосклонна

163

1,4

Твердый сплав


Хромистая сталь имеет повышенную стойкость против отпускания. Хром сильно увеличивает прокаливаемость и снижает критическую скорость закалки. Хром повышает дозакаливание стали, способствует получению высокой и равномерной твердости, обеспечивает повышенную износоустойчивость. Никель (Ni) понижает критическую скорость охлаждения стали и повышает дозакаливание стали. Сильно уменьшает склонность к ломкому разрушению закаленной и отпущенной стали при комнатной и пониженных температурах. Никель обеспечивает получение высокой пластичности и вязкости одновременно с повышенной прочностью [4].

При выборе материала оси вагонетки следует учитывать прокаливаемость. Для обеспечения прокаливаемость сечения оси (d = 120 мм) при изготовлении выбирается материал 40Х. Сталь 40Х - легированная улучшаемая сталь. Прокаливаемость легированной стали выше, чем у углеродистой. Это позволяет получить высокие механические свойства в больших сечениях.

Шток эксплуатируется в сложных напряженных условиях, испытывает высокие динамические нагрузки. Материал должен обладать высокой поверхностной твердостью, в сочетании с мягкой сердцевиной. Такими свойствами обладает сталь 45. После улучшения и поверхностного упрочнения с нагревом ТВЧ детали из данной марки стали удовлетворяют требованиям высокой поверхностной твердости и повышенной износостойкости.

Таблица 1.6. Характеристика стали 45

Массовая доля элементов, %

С

Si

Mn

S

P

Cr

Ni

Cu

0,42-0,50

0,17-0,37

0,50-0,80

0,0400,0350,250,300,30





Технологические характеристики

Прокаливаемость, мм

Склонность к отпускной хрупкости

Обрабатываемость резанием

в воде

В масле


Kv

Материал резца

15-35

6-12

Не склонна

1,0

Твердый сплав (HB 170-179)


В соответствии с условиями работы подшипника сцепки, характеризующимися сложным комплексом возникающих в детали напряжений, материал должен обладать высокой твердостью, износостойкостью и контактной выносливостью. А также высокой прочностью, определяющей способность детали противостоять значительным статическим и динамическим нагрузкам. ШХ15 - шарикоподшипниковая сталь с содержанием 1,5% Cr.

Таблица 1.7. Характеристика стали ШХ15

Массовая доля элементов, %

С

Si

Mn

S

P

Cr

Ni

Cu

0,95-1,05

0,17-0,37

0,20-0,40

0,0200,0271,30-1,650,300,25





Технологические характеристики

Свариваемость

Склонность к отпускной хрупкости

Обрабатываемость резанием



Kv

HB

Материал резца

Трудносвариваемая

склонна

0,90

179-217

Твердый сплав


1.4 Выбор материала для детали - палец

Для обеспечения высоких эксплуатационных характеристик составных деталей оборудования большое значение имеет марка стали. Помимо этого, марка стали оказывает существенное влияние на весь технологический процесс изготовления деталей, включая производство поковок, обработку резанием, механическую и термическую обработку деталей. Поэтому марка стали должна одновременно в максимальной степени способствовать достижению высоких и стабильных механических и эксплуатационных свойств деталей, обладать хорошей технологичностью на всех этапах технологического процесса и не должна быть дорогой и дефицитной.

Для изготовления пальцев применяются улучшаемые стали марок: 45, 40Х, 30ХГСА. Углеродистая сталь 45 отличается низкой коррозионной стойкостью, сравнительно высоким температурным коэффициентом модуля упругости и пониженной релаксационной стойкостью даже при небольшом нагреве. Поэтому она непригодна для работы при повышенных температурах[1].

Химический состав их приведен в таблице 1.8. В таблице 1.9 показаны механические свойства этих сталей до термической обработки.

Таблица 1.8. Химический состав сталей 45, 40Х, 30ХГСА

Сталь

Содержание элементов, %


С

Si

Mn

Ni

S и P

Cr

45

0,42-0,5

0,17-0,37

0,5-0,8

0,25

0,035-0,04

0,25

40Х

0,37-0,45

0,17-0,37

0,5-0,8

0,25

0,025

0,8-1,1

30ХГСА

0,28-0,34

0,9-1,2

0,8-1,1

0,3

0,025

0,8-1,1


Таблица 1.9. Механические свойства сталей до термической обработки

Марка стали

σВ, МПа

σт, МПа

δ, %

KCU, кДж / м2

ψ, %

НВ

45

570

315

17

390

38

207

40Х

590

345

18

590

45

217

30ХГСА

615

395

17

590

45

229


Как в стали 45, так и в стали 40Х углерод присутствует почти в одинаковых пропорциях. Этого количество углерода достаточно чтобы обеспечить необходимую износостойкость и контактную выносливость. Однако известно, что с ростом содержания углерода увеличивается твердость и прочность, повышается порог хладноломкости и уменьшается ударная вязкость и пластичность стали (Рисунок 1).

Высокое содержание углерода увеличивает прочностные свойства мартенсита, включая и сопротивление пластическим деформациям. С увеличением содержания углерода сильно возрастают пределы упругости и текучести, например σТ=780 МПа стали после закалки и отпуска, а также снижается внутреннее трение при повышенных напряжениях, или так называемое микропластическое внутреннее трение. Это объясняется тем, что с увеличением содержания углерода изменяется субструктура мартенсита и в результате отпуска выделяется возрастающее количество частиц карбидной фазы, играющих роль препятствий для движения дислокаций [4].

Рисунок 1 - Влияние содержания углерода на механические свойства стали

Но также с увеличением содержания углерода ухудшается способность стали деформироваться в горячем состоянии.

Сталь 40Х легированная улучшаемая отличается более высокой релаксационной стойкостью, чем углеродистая, и, кроме того, позволяет получить высокие прочностные свойства (в том числе и предел упругости) в сочетании с повышенной вязкостью и сопротивлением хрупкому разрушению.

Легированная хромо-марганце-кремнистая сталь 30ХГСА используется для изготовления пальцев особо ответственного назначения, которые могут работать при температурах до 200°С. Рассматриваемый палец работает в обычных условиях (от 4 до 18оС), значит, более рационально будет использовать сталь 40Х, которая, во-первых, дешевле стали 30ХГСА, во-вторых, по свойствам мало различима со сталью 30ХГСА.

При небольшом содержании хром незначительно повышает ударную вязкость феррита, а при содержании 1% он практически не влияет на упрочнение феррита (слабо упрочняет). Хром вводят для обеспечения необходимой прокаливаемости, он растворим в обеих фазах отожженной стали - в феррите и цементите. Легированный хромом цементит медленнее растворяется в аустените, а аустенит замедленно распадается, чем и объясняется меньшая критическая скорость закалки этих сталей по сравнению с углеродистыми.

Хром в стали образует карбиды, которые остаются устойчивыми при повышении температуры. Избыточные карбиды, нерастворенные в аустените, препятствуют росту аустенитного зерна. Поэтому сталь при наличии хотя бы небольшого количества нерастворимых карбидов хрома сохраняет мелкозернистое строение до весьма высоких температур нагрева. Прокаливаемость хромовой стали 40Х из-за невысокой устойчивости переохлажденного аустенита, в общем, невелика [4].

1.5 Термическая обработка пальцев

Режим термической обработки назначают в зависимости от состава стали и условий работы. Палец эксплуатируется в сложных напряженных условиях, испытывает высокие динамические нагрузки. Материал должен обладать высокой поверхностной твердостью, в сочетании с мягкой сердцевиной. Такими свойствами обладает сталь 40Х. После улучшения и поверхностного упрочнения с нагревом ТВЧ детали из данной марки стали удовлетворяют требованиям высокой поверхностной твердости и повышенной износостойкости. Первоначальной термической обработкой пальца из стали 40Х является отжиг. При отжиге одновременно обеспечивается мелкозернистая структура и улучшение структуры стали для облегчения последующей механической обработки. Сталь 40Х доэвтектоидной. Для доэвтектоидной стали проводят полный отжиг детали при 840 0С, выдерживаются при этой температуре и медленно охлаждаются с печью. В этом случае феррито - перлитная структура переходит при нагреве в аустенитную, а затем при медленном охлаждении превращается обратно в феррит и перлит. Происходит полная перекристаллизация. Далее проводят закалку с отпуском. Она основана на перекристаллизации стали при нагреве до температуры выше критической. Температура нагрева стали при закалке та же, что и при полном отжиге: для доэвектоидной стали на 30-50° выше точки Ас3. После выдержки 2 часа при этой температуре для завершения закалки следует быстрое охлаждение. Таким путем предотвращают превращение аустенита в перлит. Закаленная сталь имеет неравновесную структуру мартенсита. Для смягчения действия закалки сталь отпускают, нагревая до температуры ниже точки А1. Отпуск стали смягчает действие закалки, уменьшает или снимает остаточные напряжения, повышает вязкость, уменьшает твердость и хрупкость стали. Отпуск производится путем нагрева деталей, закаленных на мартенсит до температуры ниже критической. При высоком (500-700°) отпуске сталь из состояния мартенсита переходит соответственно в состояние сорбита отпуска. Чем выше отпуск, тем меньше твердость отпущенной стали и тем больше ее пластичность и вязкость. При высоком отпуске сталь получает наилучшее сочетание механических свойств, прочности, пластичности и вязкости, поэтому высокий отпуск применяется для стали после закалки ее на мартенсит - для многих деталей, подверженных действию высоких напряжений. Так как палец работает в условиях высоких изнашивающих нагрузок необходимо проводить поверхностное упрочнение с нагревом ТВЧ.

Закалка ТВЧ - токами высокой частоты (индукционная закалка). Разогрев детали производится за счет наведения в ней токов высокой частоты. Деталь помещается внутрь индуктора, подключенного к истокам токов высокой частоты. Достоинство способа - высокая производительность. Структура после закалки: на поверхности мелкоигольчатый мартенсит, а сердцевина остается вязкой и пластичной (сорбит отпуска). Состояние закаленных деталей отличаются очень сильной неравновесностью структуры. Это обусловлено повышенной концентрацией углерода в твердом растворе, высокой плотностью дефектов кристаллического строения, а также внутренними напряжениями. Поэтому всегда закаливание детали подвергается дополнительной термообработке - отпуску. Отпуск стали смягчает действие закалки, уменьшает или снимает остаточные напряжения. В данном случае применяем низкий отпуск. Низкий отпуск применяется для деталей, которые должны иметь высокую твердость и прочность. При низком отпуске мартенсит закалки превращается в мартенсит отпуска. Мартенсит отпуска отличается от мартенсита закалки отсутствием внутренних напряжений за счет выделения из него избытка углеводорода в виде мельчайших карбидов. Твердость мартенсита отпуска такая же или немного меньше, чем у мартенсита закалки (58 - 62 HRC). Механические свойства стали 40Х после закалки и высокого отпуска приведены в таблице 1.11.

Таблица 1.11. Механические свойства стали 40Х после термической обработки (закалки и высокого отпуска)

Марка стали

σВ, МПа

σт, МПа

δ, %

ψ, %







40Х

1000

800

9

45

280



 

а)                                                  б)

а - у поверхности детали сорбит 258-269 НВ;

б - середина сечения детали - перлит, сорбит и сетка феррита, твердость 248-258 НВ

Рисунок 4 - Микроструктура стали 40Х после закалки и высокого отпуска

Палец, как ответственная деталь, работает на истирание, и одновременно подвергается действию ударных нагрузок. Поэтому шток должен иметь высокую поверхностную твердость, хорошую износостойкость и в то же время не быть хрупкими, т.е. не разрушаться под действием ударов.

Высокая твердость поверхности пальца при сохранении вязкой и прочной сердцевины достигается методом поверхностной закалки, в частности токами высокой частоты (ТВЧ). Такой метод является одним из самых высокопроизводительных методов поверхностного упрочнения металлов. Открытие этого метода иразработка его технологических основ принадлежит талантливому русскому ученому В.П. Вологдину.

Высокочастотный нагрев основан на следующем явлении. При прохождении переменного электрического тока высокой частоты по медному индуктору вокруг последнего образуется магнитное поле, которое проникает в стальную деталь, находящуюся в индукторе, и индуктирует в ней вихревые токи Фуко. Эти токи и вызывают нагрев металла.

Особенностью нагрева ТВЧ является то, что индуктируемые встали вихревые токи распределяются по сечению детали не равномерно, а оттесняются к поверхности. Неравномерное распределение вихревых токов приводит к неравномерному ее нагреву: поверхностные слои очень быстро нагреваются до высоких температур, а сердцевина или совсем не нагревается или нагревается незначительно благодаря теплопроводности стали. Толщина слоя, по которому проходит ток, называется глубиной проникновения тока. Толщина слоя в основном зависит от частоты переменного тока, удельного сопротивления металла и магнитной проницаемости.

Высокая скорость высокочастотного нагрева (сотни градусов в секунду) обусловливает следующую важную особенность фазовых превращений: с повышением скорости нагрева фазовые превращения смещаются в область более высоких температур. К этому следует добавить, что в доэвтектоидных сталях повышение температуры при индукционном нагреве как бы обгоняет диффузию углерода, в результате чего избыточный феррит превращается в малоуглеродистый аустенит.

Следовательно, температура высокочастотной закалки должна быть выше температуры закалки при обычном печном нагреве и тем выше, чем больше скорость нагрева и грубее выделения избыточного феррита. Оптимальный интервал температур закалки ТВЧ для легированной стали 40Х при скорости нагрева 200оС/сек с исходной структурой сорбит составляет 900оС[10].

С увеличением степени перегрева скорость зарождения центров аустенита растет быстрее линейной скорости их роста. Поэтому в условиях высокочастотного нагрева, отличающихся сильным перегревом выше точек Ас1и Ас3и почти отсутствием выдержки при максимальной температуре, образуется очень мелкое аустенитное зерно.

Оптимальная температура закалки обеспечивает характерную для высокочастотного нагрева структуру мелкоигольчатого («бесструктурного») мартенсита.

Твердость поверхностного слоя пальцев, закаленных при нагреве ТВЧ, получается на 3-4 единицы НRС выше, чем твердость при обычной объемной закалке, при этом возможны причины возникновения такого явления, как сверхтвердость. Это тонкое строение мартенсита, повышенная концентрация углерода в мартенсите и наличие на поверхности значительных сжимающих остаточных напряжений. Если эти напряжения сразу не приводят к разрушениям - трещинам или отколам - для снятия напряжений может быть проведен отпуск в печах или масляных ваннах. Однако часто последующий отпуск не дает положительных результатов. Единственным средством, снижающим остаточные напряжения раньше, чем произошел откол или трещина, является самоотпуск. Он осуществляется за счет тепла, которое остается в закаливаемой поверхности, если прекратить подачу охлаждающей жидкости раньше, чем деталь полностью охладится [3].

Рисунок 5 - Микроструктура стали 40Х после закалки ТВЧ-мелкоигольчатый (бесструктурный) мартенсит, твердость 524-580НВ

При температуре самоотпуска 200°С твердость поверхностно-закаленного изделия сравнивается с твердостью, полученной после объемной закалки с нагревом в печи. Таким образом, если после поверхностной закалки применяется отпуск выше 200°С, то явление сверхтвердости исчезает. Поэтому для сохранения повышенной твердости самоотпуск проводят при температуре немного выше 100°С. При самоотпуске поверхностно-закаленных изделий твердость снижается главным образом в пределах слоя, где структура состоит преимущественно из мартенсита.

Применение нагрева ТВЧ для поверхностной закалки пальцев позволяет резко сократить продолжительность технологического процесса термической обработки.

1.6 Маршрутная технология изготовления пальца

При разработке технологического процесса термической обработки изделия является установление маршрутной технологии его изготовления, в которой указываются движение изделия по цехам и совершаемые операции [2]. Таким образом, палец из стали 40Х изготавливается согласно маршрутной технологии представленной ниже. Палец приходит на термообработку в виде отрезной заготовки заданного диаметра и длинны с припуском на механическую обработку. После отжига заготовка поступает на предварительную механическую обработку. Далее подвергнувшись улучшению проводится контроль твердости. После закалки ТВЧ контроль твердости повторяют. Далее проводят окончательную механическую обработку и деталь поступает на сборку.

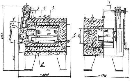
Рисунок 6 - Проектирование режимов термической обработки пальца

1.7 Расчет времени нагрева и выдержки деталей при закалке

Нагрев деталей под закалку осуществляется до 860оС со скоростью нагрева .

Общая продолжительность нагрева, т.е. общее время пребывания изделий в нагревающей среде τобщ, состоит из двух слагаемых - времени нагрева до заданной температуры τн и времени выдержки при этой температуре τВ:

 (1.1)

Время нагрева τн расчитывается по формуле Смольникова Е.А:

, (1.2)

где V - обьём тела, см3;- поверхностность тела, см2;

 - геометрический показатель тела, см.

К - суммарный физический фактор нагрева, мин/см. ()

Способ Смольникова Е.А. является наиболее точным при расчете времени нагрева под закалку, так как в нем учитывается геометрический показатель всего тела.

Расчет времени нагрева и выдержки при закалке для пальца

Цилиндрические поверхности пальца представляют собой сплошные цилиндры, нагреваемые со всех сторон, поэтому геометрический показатель тела можно определить по формуле:

, (1.3)

где  - диаметр, закаливаемого изделия, см;

 - длина закаливаемого изделия, см.

Следовательно, время нагрева пальцев под закалку:

 или

Время выдержки обычно составляет 20-25% от времени нагрева .

Следовательно, выдержка пальцев при температуре 860°С:



 или

Расчет времени нагрева и выдержки при закалке для оси вагонетки

Ось вагонетки представляет собой сплошной циллиндр нагреваемыей со всех сторон, поэтому геометрический показатель детали

Следовательно, время нагрева вала под закалку

 или

Время выдержки вала при температуре 860°С:

Тогда, общее время закалки будет:

 или

Расчет времени нагрева и выдержки при закалке для пальца балансира

Палец балансира также представляет собой сплошной цилиндр, нагреваемый со всех сторон, поэтому геометрический показатель детали

Следовательно, время нагрева под закалку:

 или

Время выдержки при температуре 860°С:

Тогда, общее время закалки будет:

 или

Расчет времени нагрева и выдержки при закалке для штока

Принятые цилиндрические поверхности представляют собой сплошные цилиндры, нагреваемые со всех сторон.

Тогда геометрический показатель первой поверхности:


Геометрический показатель второй поверхности:

Геометрический показатель третьей поверхности:

Общий геометрический показатель всей поверхности:


Следовательно, время нагрева штоков под закалку:

 или

Время выдержки обычно составляет 20-25% от времени нагрева .

Следовательно, выдержка штоков при температуре 860°С:


Тогда, общее время закалки будет:

 или

Расчет времени нагрева и выдержки при закалке подшипника сцепки

Ось представляет собой сплошной цилиндр, нагреваемый со всех сторон. Тогда геометрический показатель детали

Следовательно, время нагрева оси под закалку

 или

Время выдержки оси при температуре 860°С:

Тогда, общее время закалки будет:

 или

1.8 Расчет времени нагрева и выдержки деталей при отпуске

Нагрев деталей под отпуск осуществляетсядо 6400С.

Время нагрева деталей при отпуске берется из расчета 1 минута на 1 мм условной толщины (диаметр) детали.

Тогда время нагрева деталей при отпуске:

Время выдержки при высоком отпуске (выше 4000С) берется из расчета 10 минут + 1 минута на 1 мм условной толщины (диаметр) детали.

Тогда время выдержки деталей при отпуске:

Общее время отпуска определяется по формуле (1.1).

Тогда общее время при отпуске составит


1.9 Расчет времени нагрева, выдержки и охлаждения деталей при закалке ТВЧ

Для выбора наиболее рациональных режимов высокочастотной закалки пользуются так называемыми номограммами преимущественных режимов. Номограмма представляет собой зависимость времени нагрева от диаметра нагреваемого изделия при определенной частоте тока.

Частота тока выбирается в зависимости от необходимой глубины закаленного слоя, которая определяется в соответствии с техническими требованиями детали. В данном дипломном проекте закалке токами высокой частоты подвергаются такие детали, как шток, вал, плунжер, ось. В соответствии с технологическими требованиями для этих деталей оптимальные свойства после закалки ТВЧ получаются при глубине закаленного слоя 1,5-2 мм, что соответствует использованию сравнительно высокой частоты в пределах 25000-440000 Гц. Условно зададимся средним значением частоты тока 66000 Гц.

Тогда время нагрева при закалке ТВЧ составит:

Охлаждение деталей проводится со скоростью , тогда оптимальное время для охлаждения детали с температуры нагрева 900оС до температуры начала самоотпуска равной 200оС составит 3 секунды.

1.10 Контроль качества

Контроль технологических процессов термической обработки

Выполнение операций по контролю металлов и качества термической обработки сочетается с контролем за соблюдением технологических процессов.

Основным объектом контроля технологического процесса термической обработки являются контроль температуры, времени нагрева и выдержки, контроль атмосферы в печи, контроль глубины закаленного слоя, исправности индукторов, приспособлений и инструментов.

Вода для закалки и охлаждения электрооборудования установок должна отвечать требованиям по температуре, механическим и минеральным примесям.

При работе на установках с ламповым генератором контролируется анодное напряжение, напряжение на контуре, токи анода и сетки. А также контролируется скорость перемещения детали относительно индуктора и зазор между индуктором и деталью. Зазор контролируют индикатором, щупом или другим мерительным инструментом. Контроль скорости перемещения детали относительно индуктора выполняют при настройке режима для каждой партии.

Контроль атмосферы в рабочем пространстве печи проводят постоянно в процессе работы. Контроль приспособлений и инструмента осуществляют путем систематического осмотра внешнего вида и узлов крепления [8].

Основные виды брака и дефектов, возникающие при термической обработке

Под дефектом детали понимают каждое отклонение от формы, размеров, массы, внешнего вида, макро- и микроструктуры, физических или механических свойств и норм, установленных соответствующими стандартами или техническими условиями. Причины дефектов при термической обработке штоков следующие: применение сталей несоответствующих марок; внутренние пороки стали, своевременно не обнаруженные; нарушения технологического процесса термической обработки (температурного режима, состава среды, в которой происходит термообработка); применение неправильных приемов работы и контроля; неудачная конструкция детали

В процессе закалки при охлаждении стали в результате структурных превращений и изменения объема металла появляются внутренние напряжения. Эти напряжения приводят к следующим дефектам: образованию трещин, деформации и короблению, изменению объема стали, обезуглероживанию и окислению, появлению мягких пятен, низкой твердости и перегреву.

Закалочные трещины - это неисправимый брак, образующийся в процессе термической обработки. В крупных деталях, закалочные трещины могут появляться даже при закалке в масле. Поэтому такие детали целесообразно охлаждать до 150 - 200°С с быстрым последующим отпуском.

Трещины возникают при неправильном нагреве (перегреве), большой скорости охлаждения и при несоответствии химического состава стали.

Закалочные трещины возникают также при неправильной конструкции деталей, резких переходах, грубых рисках, оставшихся после механической обработки, острых углах, тонких стенках и т.д.

Закалочные трещины образуются чаще всего при слишком резком охлаждении или нагреве в результате возникающих в деталях внутренних напряжений. Это часто наблюдается при закалке легированных сталей. Поэтому детали из этих сталей нагревают медленнее, чем из углеродистых, и более равномерно крепления [8].

Закалочные трещины обычно располагаются в углах деталей и имеют дугообразный или извилистый вид.

В заводской практике часто встречаются поверхностные трещины, которые обычно располагаются в виде сплошной или разорванной сетки. Такие трещины возникают в процессе поверхностной закалки при нагреве токами высокой частоты или газопламенной закалки, когда охлаждение ведется слишком холодной водой, а также при перегреве металла.

Поверхностные трещины могут возникать не только в процессе термообработки, но и при шлифовании закаленных деталей, если они были неправильно отпущены.

Равномерный отпуск после закалки и правильные режимы шлифования полностью устраняют возникновение трещин.

Во избежание брака все участки (части) деталей, на которых обычно появляются трещины, обматывают асбестовым шнуром и замазывают огнеупорной глиной. Строгое выполнение технологических режимов закалки может сократить количество бракованных деталей до минимума.

Деформация и коробление деталей происходят в результате неравномерных структурных и связанных с ними объемных превращений и возникновения внутренних напряжений при охлаждении.

При закалке стали коробление во многих случаях происходит и без значительных объемных изменений, в результате неравномерного нагрева и охлаждения деталей. Если, например, деталь небольшого сечения и большой длины нагревать только с одной стороны, то она изгибается, нагретая сторона при этом удлиняется благодаря тепловому расширению и становится выпуклой, а противоположная - вогнутой. При одностороннем охлаждении в процессе закалки (особенно в воде) быстро охлажденная сторона детали за счет теплового сжатия станет вогнутой, а обратная сторона - выпуклой. Следовательно, нагревать и охлаждать детали при закалке следует равномерно. На деформацию особенно большое влияние оказывает способ охлаждения. Поэтому при погружении деталей и инструмента в закалочную среду надо учитывать их форму и размеры. Например детали, имеющие толстые и тонкие части, погружают в закалочную среду сначала толстой частью, длинные осевые детали (валы, штока, оси, сверла, метчики и другие) - в строго вертикальном положении, а тонкие плоские детали (диски, отрезные фрезы, пластинки и др.) - ребром.

Очень большое значение для уменьшения деформации и коробления деталей имеют правильно выбранные и изготовленные приспособления.

При массовом производстве для каждой детали изготовляются специальные приспособления. Стоимость их изготовления быстро окупается. При серийном производстве, когда обрабатываются большие партии разнообразных деталей, более экономично иметь универсальные приспособления.

Мягкие пятна - это участки на поверхности детали или инструмента с пониженной твердостью. Причинами такого дефекта могут быть наличие на поверхности деталей окалины и загрязнений, вызванных соприкосновением деталей друг с другом в процессе охлаждения в закалочной среде, участки с обезуглероженной поверхностью или недостаточно быстрое движение деталей в закалочной среде (паровая рубашка). Мягкие пятна полностью устраняются при струйчатой закалке и в подсоленной воде.

Низкая твердость чаще всего наблюдается при закалке инструмента. Причинами низкой твердости являются недостаточно быстрое охлаждение в закалочной среде, низкая температура закалки, а также малая выдержка при нагреве под закалку. Чтобы исправить этот дефект, детали или инструмент сначала подвергают высокому отпуску при температуре 600-625°С, а затем - нормальной закалке крепления [10].

Перегрев при закалке вызывает крупнозернистую структуру с блестящим изломом и, следовательно, ухудшает механические свойства стали. Для измельчения зерна и подготовки структуры для повторной закалки перегретую сталь необходимо подвергать отжигу.

Недогрев получается в том случае, если температура закалки была ниже критической точки- для доэвтектоидных сталей и - для заэвтектоидных сталей.

При недогреве структура закаленной стали состоит из мартенсита и зерен феррита, который, как известно, имеет низкую твердость.

Недогрев можно исправить отжигом с последующей нормальной закалкой.

Виды брака при закалке ТВЧ следующие:

Продавливаниезакаленного слоя происходит в результате недостаточной его глубины.

Отколострых, не имеющих фасок кромок, в которых создаются повышенные напряжения.

Трещины возникающие из-за перегрева охлаждающей среды, недостатков в конструкции детали, острых кромок у отверстий и шпонок, шлицевых канавок и др.

Отслаивание закаленногослоя возникающий вследствие возникновения повышенных внутренних напряжений.

Контроль качества деталей

Контроль качества деталей осуществляют контролеры отдела технического контроля (ОТК).

Качество деталей, подвергаемых термической обработке, зависит от соблюдения режимов в соответствии с технологическим процессом производства деталей. Несоблюдение режимов нагрева, времени выдержки и охлаждения может привести к браку целой партии деталей.

Контроль за подготовкой деталей к термической обработке заключается в проверке чистоты деталей.

Сталь должна контролироваться на величину зерна (требуется не крупнее 5 номера) по ГОСТ 5639-82.

Глубина обезуглероженного слоя должна составлять менее 0,24 мм. Поверхностное обезуглероживание ухудшает прочность при статическом и многоцикловомнагружении и релаксационную стойкость, т.е. основные характеристики, определяющие долговечность штока, который работает в условиях больших угловых нагрузках в эксплуатации.

Методы контроля термической обработки должны соответствовать утвержденным инструкциям.

После термической обработки деталей проводят следующие контрольные операции, предусмотренные в инструкционных картах контроля:

) Наружный осмотр деталей перед термической обработкой.

Наружный осмотр деталей проводят для определения внешних дефектов деталей (трещин, коробления). Для определения деформации прямолинейность деталей проверяют с помощью линейки. Внешние дефекты определяют с помощью 5 - 10-кратного увеличения или микроскопа. На поверхности штоков не допускаются трещины, риски, волосовины и другие грубые дефекты. Контроль размеров детали производят по свободной высоте, наружному или внутреннему диаметрам. В соответствии с техническими условиями, контролю подвергают 100% деталей от партии.

) Испытание твёрдости деталей.

Твёрдость является одной из характеристик качества термической обработки. Твёрдость измеряется после закалки, высокого отпуска и ТВЧ. Контроль твёрдости проводится по методу Роквелла (ГОСТ 9013-59) на приборе ТК-2 путём вдавливания в зачищенную поверхность алмазного конуса при нагрузке Р = 1470 Н. Показания прибора снимают по шкале «С» - чёрного цвета [10].

) Контроль деталей перед обработкой ТВЧ.

Детали должны поступать на поверхностную термическую обработку очищенными от масла, стружки и других загрязнений. На поверхностях, подлежащих закалке токами высокой частоты, не допускаются местные дефекты (риски, вмятины), глубина которых превышает припуск на последующую механическую обработку. Шероховатость поверхностей, подвергаемых закалке, должна быть не ниже 5-ого класса, RZ=20.

Все углы на деталях должны быть зачищены от заусенцев. При закалке цилиндрических и плоских поверхностей с отверстиями последние должны иметь фаски и для большой гарантии от образования трещин закрываться медными заглушками, влажным асбестом или медными трубками с деревянными пробками.

) Проверка перпендикулярности опорных плоскостей деталей.

После закалки ТВЧ цилиндрических деталей обязательно проводят контроль перпендикулярности опорных плоскостей. Отклонение от перпендикулярности оси определяют в центрах или призмах с помощью индикатора часового типа (индикаторной головки). Отклонение от перпендикулярности допускается не более 0,3 мм.

) Контроль микроструктуры.

Микроструктуру исследуют на микроскопах, вырезанных из и улучшенных образцов с помощью специальных шкал, разработанных для данной стали. Содержание углерода определяется послойным химическим или спектральным анализом.

Принятые контролером детали и инструмент клеймят кислотой, резиновым клеймом или окрашивают зеленой краской. На годные детали выписывают квитанцию за подписью работника ОТК, принявшего продукцию.

Бракованную продукцию после контроля окрашивают в желтый цвет и убирают в изолятор брака (металлический ящик) [10].

1.11 Обоснование выбора оборудования

Правильно выбранное оборудование обеспечивает высокое качество обрабатываемой продукции, требуемую производительность и экономичность обработки. Выбор типа оборудования определяется характером производства. При серийном производстве используется разнообразное оборудование. На участках с серийным производством применяется характер загрузки садками или партиями, который осуществляется на печах периодического действия (камерные и шахтные печи), способных к быстрой переналадке производства.

Номенклатура деталей годовой производственной программы проектируемого термического участка подобрана таким образом, что основную часть ее составляют длинномерные детали ответственного назначения. Термическая обработка таких деталей осложнена тем, что в результате нагрева и под действием силы тяжести они подвержены короблению и отклонению опорных плоскостей детали от перпендикулярности. Данное явление может привести к искажению профиля детали, нарушит кинематическую схему ее работы, что при эксплуатации приведет к шуму и разогреву, чрезмерной концентрации напряжений, и, в конечном счете, приведет к преждевременному износу детали или поломки всей сборочной единицы.

Поэтому закалку и отпуск таких деталей целесообразно проводить в электрических шахтных печах, в которых изделия нагреваются в вертикальном положении, будучи подвешенными на специальной подвеске или корзине. Шахтные печи предназначены для периодического режима работы. Они просты и компактны по конструкции, обеспечивают равномерный температурный нагрев в рабочем пространстве, а также шахтные печи дают возможность использования для загрузки и выгрузки деталей цеховых подъемных и транспортных механизмов.

Для достижения твердости и повышенной износостойкости поверхности деталей рационально применять высокочастотную термическую обработку, которая является одной из наиболее эффективных средств повышения производительности труда и качества продукции. Вертикальное расположение детали на станке обеспечивает наиболее благоприятные условия для равномерного охлаждения нагретой под закалку поверхности изделия, что способствует улучшению его качества.

Поэтому целесообразно использовать специализированные установки вертикального типа для закалки токами высокой частоты (ТВЧ) с использованием лампового генератора. С помощью лампового генератора можно получить частоту тока до 13,5 МГц, а, следовательно, и малую глубину закаливаемой детали, что способствует повышению твердости и качества поверхности. Такие установки можно использовать для нагрева как мелких, так и крупных изделий.

Для проведения закалки и отпуска мелких деталей, также входящих в состав производственной программы участка, целесообразно применять камерные печи сопротивления. Эти печи являются универсальными, что позволяет применять их для обработки небольших партий деталей.

1.12 Выбор основного оборудования

На основании заводских данных основное оборудование термического участка выбрано согласно всем необходимым нормам техники безопасности, охране окружающей среды, экологическим, экономическим показателям.

Выбор оборудования для проектируемого цеха должен быть произведён на основании характеристики оборудования и в соответствии с разработанной технологией. На основе разработанного технологического процесса термической обработки деталей типы оборудования подбираются таким образом, чтобы полностью обеспечить выполнение этого технологического процесса (или одной из операций тех. процесса), а основные размеры печей выбираются исходя из характера производства и габаритов обрабатываемых деталей. Правильно выбранное оборудование обеспечивает высокое качество обрабатываемой продукции, требуемую производительность и экономичность обработки.

Оборудование состоит из шахтных электропечей, которые снабжены вентиляторами, автоматическим контролем и управлением температур и сконструированы с учетом последних достижений науки и техники. Они потребляют меньше электроэнергии, являются более экономичными по сравнению с ранее выпущенными печами.

Электропечь шахтная Ц - 105А. Шахтные муфельные электропечи серии «Ц» предназначены для газовой цементации и нитроцементации стальных изделий. Они применяются при мелкосерийном производстве или при небольших производительностях обрабатываемых изделий.

Муфельные электропечи не требуют длительного времени на восстановление цементационной атмосферы по сравнению с электропечами безмуфельными серии «СШЦ». Электропечи могут быть использованы с применением жидких и газообразных карбюризаторов.

Процесс цементации в электропечах серии «Ц» осуществляется в жароупорной реторте, которая устанавливается на специальной литой подставке. Сверху реторта закрывается футерованной крышкой. Уплотнение крышки обеспечивается песочным затвором. На крышке предусмотрены патрубки для выхода газа и подачи карбюризатора от специального бачка через капельницу. Также на крышке установлен вентилятор, обеспечивающий перемешивание газовой смеси внутри реторты. Подъём и опускание крышки осуществляется электромеханическим приводом, поворот крышки осуществляется вручную. Обрабатываемые изделия загружаются в печь в литых жароупорных корзинах. Нагреватели, выполненные из нихромовой проволоки в виде спиралей укладываются на керамических колодках по боковой стенке электропечи. В больших типоразмерах электропечей нагреватели выкладываются также и на поду. Огнеупорная и термоизоляционная кладка выполнена из легковесного шамота и перлитовых плит на керамической связке и диатомитовогокирпича. Регулировка температуры в электропечи осуществляется автоматически. Питание электропечи осуществляется от сети переменного тока напряжением 380 и 220 В. Для безокислительного охлаждения садки после цементации каждая электропечь комплектуется (по требованию заказчика) герметичным баком с водоохлаждающимистенками. Для установки и обслуживания электропечи требуется специальный приямок. В случае установки электропечи на уровне пола необходима специальная площадка для её обслуживания [18].

Преимущества данной конструкции:

уменьшение тепловых потерь;

увеличение стойкости нагревателей;

улучшение герметичности электропечей;

улучшение равномерности цементации;

применён электромеханический привод подъёма крышки.

Рисунок 7 - Электропечь шахтная Ц - 105А

Электропечь СШ3-10.10/10 входит в размерный ряд унифицированной серии шахтных электропечей. Электропечь СШ3-10.10/10 с рабочей температурой до 1000С предназначена для высокого и низкого отпуска стальных изделий и термообработки цветных металлов и сплавов в защитных атмосферах типа экзогаза, азотно-водородных смесей (с содержанием горючих компонентов менее 3%). Электропечь выполнена с верхним расположением вентилятора, что увеличивает перепад температур по сравнению с нижним расположением вентилятора на ± 50С, но облегчает обслуживания вентилятора и уменьшает глубину приямка. Основные потребители электропечи: термические цеха предприятий тракторной, автомобильной, подшипниковой промышленности [9].

Шахтная электропечь СШЗ-10.10/10 имеет цилиндрической формы кожух, футерованный легковесным и пенодиатомитовым кирпичом. Нагревательная камера закрывается крышкой, футерованной фильерной ватой «ВФ». Место разъёма крышки с кожухом герметизируется песочным затвором. Изделия загружаются в приспособлениях, устанавливаются на жароупорную подставку или подвешиваются в рабочем пространстве печи. Подвеска 5НТ.127.200 поставляется с электропечью в количестве 1 штуки. Для предохранения нагревательных элементов и футеровки от ударов при загрузке и выгрузке садки электропечь имеет направляющие. Направление циркуляции атмосферы осуществляется при помощи центробежного вентилятора, расположенного на крышке (имеющего водяное охлаждение подшипников), предназначенного для выравнивания температуры и атмосферы в печи. Нагревательные элементы имеют свободный обдув циркулируемым воздухом или газом. Подъём и поворот крышки производится вручную посредством рычажного механизма. Электропечь может поставляться по требованию заказчика с загрузочной корзиной. Регулировка температуры в печи автоматическая, осуществляемая термопарой и приборами теплового контроля щита управления типа ИЗР. Для обслуживания электропечи требуется специальный приямок или площадка.

1 - кожух; 2 - футеровка; 3 - нагреватель; 4 - направляющая; 5 - крышка; 6 - механизм подъема; 7 - монтаж проводов; 8 - монтаж водоохлаждения.

Рисунок 8 - Электропечь СШ3-10.10/10

Электропечи СШЗ-6.12/10. с рабочей температурой до 10000 С предназначены для нагрева под закалку, отжиг и нормализацию стальных изделий с применением защитных атмосфер. Шахтные электропечи имеют цилиндрической формы кожух, футерованный легковесным и пенодиатомитовым кирпичом. Крышка нагревательной камеры футерована огнеупорными блоками и перлитовой засыпкой. Место разъема крышки с кожухом герметизируется песочным затвором. Изделия загружают в приспособление, которые устанавливают на жароупорную подставку или подвешивают в рабочем пространстве печи. Регулировка температуры в печи - автоматическая, осуществляемая термопарами и приборами теплового контроля, установленными на щите управления.

1 - кожух; 2 - футеровка; 3 - нагреватель; 4 - направляющая;

5 - крышка; 6 - механизм подъема; 7 - монтаж проводов

Рисунок 9 - Электропечь СШ3-6.12/10

Вертикальный станок для закалки токами высокой частоты - это комплекс средств механизации предназначен для совместной работы с высокочастотным генератором ВЧГ3-160/0,066 по закалке длинномерных изделий. Он состоит из: станины, подвижной тележки с установленным на ней редуктором. На редукторе установлен электродвигатель, вращение от которого через клиноременную передачу передается редуктору и от него через сменные шестерни на колесо, которое катится по направляющим, тем самым, перемещая тележку и установленный индуктор. Кроме того, с помощью установки осуществляется вращение закаливаемого изделия и перемещение индуктора и спрейера относительно изделия.

Изменение скорости подачи производится переустановкой клинового ремня на трехступенчатых шкивах и переустановкой сменных шестерен. На станке установлены конечные выключатели для отключения нагрева, вращения и подачи детали.

Технические характеристики вертикального станка для закалки токами высокой частоты приведены в таблице 1.12.

Генератор высокочастотный ВЧГ3-160/0,066 предназначен для индукционного нагрева деталей. Основным элементом является ламповый генератор, преобразующий электрический ток высокой частоты в ток высокой частоты при помощи электронной лампы. Генератор конструктивно выполнен в виде двух металлических шкафов - генераторного блока и блока контуров [9].

Таблица 1.12. Технические характеристики вертикального станка для закалки токами высокой частоты

Наименование

Единицы измерения

Числовая величина

Максимальный диаметр детали

мм

200

Максимальная длина детали

мм

1450

Скорость вращения детали

Об/мин

60

Скорость рабочего хода

м/мин

0…1,42

Напряжение подводимого тока

В

380

Напряжение в цепи управления

В

127

Производительность

шт./ч

70

Габаритные размеры:



Длина

мм

2900

Ширина

мм

1230

Высота

мм

4305

Масса станка

кг

1000



Генераторный блок представляет собой стальной шкаф с тремя дверьми для доступа к аппаратуре, расположенной внутри. В левой части шкафа расположен анодный трансформатор, полупроводниковый выпрямитель, контактор и токовые реле. В правой части шкафа находится генераторная лампа с блокировочными элементами схемы, сопротивление гридлика и антипаразитные.

Блок контуров представляет собой алюминиевый шкаф с тремя съемными листами. Внутри шкафа расположены элементы анодного и нагревательного контуров: регулятор мощности, высокочастотный трансформатор и батареи конденсаторов этих контуров. Внутри высокочастотного трансформатора расположена катушка, которая совместно с первичной катушкой высокочастотного трансформатора образует трансформатор обратной связи.

Технические характеристики генератора характеристики ВЧГ3 -160/0,066 приведеныв таблице 1.13.

Таблица 1.13. Технические характеристики ВЧГ3-160/0,066

Наименование

Единицы измерения

Числовая величина

Напряжение питающей сети

В

380

Частота питающей сети

Гц

50

Частота рабочая

МГц

0,066

Число фаз

-

3

Мощность, потребляемая от сети

кВт

230

Мощность колебательная

кВт

160

Габаритные размеры



Длина

мм

3200

Ширина

мм

2150

Высота

мм

2040

Масса

кг

3020


Электропечь СШ3-10.10/7М3 входит в размерный ряд унифицированной серии шахтных электропечей. Предназначена для низкого отпуска стальных изделий. Шахтная электропечь СШЗ-10.10/7М3 имеет цилиндрической формы кожух, футерованный легковесным и пенодиатомитовым кирпичом; зигзагообразные нагревательные элементы металлические, выполненные из сплава Х25Н20; крышка печи, футерованная легковесными огнеупорными блоками и перлитовой засыпкой. Место разъёма крышки с кожухом герметизируется песочным затвором. Изделия загружаются в приспособлениях, устанавливаются на жароупорную подставку или подвешиваются в рабочем пространстве печи. Для предохранения нагревательных элементов и футеровки от ударов при загрузке и выгрузке садки электропечь имеет направляющие.

Рисунок 10 - Электропечь шахтная СШЗ-10.10/7М3

Направление циркуляции атмосферы осуществляется при помощи центробежного вентилятора, расположенного на крышке, предназначенного для выравнивания температуры и атмосферы в печи. Подъём и поворот крышки производится вручную посредством рычажного механизма. Регулировка температуры в печи автоматическая, осуществляемая термопарой и приборами теплового контроля. Для обслуживания электропечи требуется специальный приямок или площадка. Электропечи надежны в работе, обеспечивают высокое качество термообработки изделий, просты в обслуживании и эксплуатации.

Электропечь камерная предназначена для нагрева под закалку, нормализацию, отжиг изделий большой номенклатуры в условиях индивидуального и мелкосерийного производства. Применение защитной атмосферы в электропечах типа СНЗ позволяет получить изделия без окалины, что снижает объем механической работы [15].

Электропечи состоят из следующих частей: сварного кожуха, футеровки, нагревателей, механизма открывания дверцы. Сварной кожух электропечи зафутерован теплоизоляционным и огнеупорным кирпичем, образующим рабочую камеру. Загрузочный проем электропечи закрыт футерованной дверцей, которая подвешена к кожуху электропечи на рычагах. Открывание и закрывание дверцы производится вручную.

- дверца; 2 - футеровка; 3 - нагреватель боковой; 4 - нагреватель оводовый; 5 - кожух; 6 - монтаж проводов; 7 - вал; 8 - нагреватель подовый.

Рисунок 11 - Электропечь СН3-4.8/10

Примером исполнения камерной печи с шаровым подом является электропечь типа НШ-100. В электропечи может осуществляться нагрев под закалку, нормализацию, отжиг. Так же она предназначена для термообработки штампов и других тяжелых изделий. Нагреватели этой электропечи в виде петель из ленты сплава высокого омического сопротивления расположены на своде, поду и боковых стенках камеры, что обеспечивает минимальный температурный перепад в рабочем пространстве. Изделия на поддонах загружают в электропечь и выгружают из печи при помощи толкателя - таскателя. Перемещение поддонов в электропечи и на толкателе - таскателе осуществляется по свободно перекатывающимся шарам, уложенным в направляющие желоба. Шары, поддоны и направляющие выполнены из жаропрочного сплава. Технические данные печи: мощность 100 кВт, напряжение 380/220 В, рабочая температура 8600С, масса садки 2m.

1 - толкатель - таскатель; 2 - механизм подъема дверцы;

- сводовые электронагреватели; 4 - боковые электронагреватели;

- подовые электронагреватели; 6 - шар; 7 - поддон; 8 - подовая плита

Рисунок 12 - Камерная электропечь НШ-100

Таблица 1.14. Параметры основного печного оборудования

Наименование параметров

Ц -105А

СШЗ - 10.10/10

СШЗ - 6.12/10

СН3-4.8/10

НШ-100

СШЗ-10.10/7МЗ

Мощность печи, кВт

105

85

85

100

100

85

Рабочая температура, оС

950

1000

1000

860

860

700

Напряжение сети, В

380

380

380

380/220

380/220

380

Частота питающей сети, Гц

50

50

50

50

50

50

Число фаз

3

-

-

3

3

-

Число тепловых зон

2

1

2

1

1

1

Напряжение на печи, В

380

380

380

380

380

380

Масса печи, т

5,1

4,33

3,45

3,1

9,5

4,33

Масса садки, т

0,78

1,1

1


3

1,1

Среда рабочего пространства

Наугле-роживающая

Защит-ный газ

Защит-ный газ

воздух

воздух

Защитный газ

Расход газа, м3

-

30

30

-

-

30

Расход воды, м3

-

0,25

-

-

-

0,25

Размер рабочего пространства, мм диаметр высота

  600 1200

  1000 1000

  600 1200

  600 1200

  1000 1000


1.13 Режимы работы и годовой фонд времени работы оборудования

Проектируемый участок по обработке деталей будет работать в три смены по 16 часов в сутки с двумя выходными днями в неделю. Выбираем график работы на производстве с непрерывным технологическим процессом при пятидневной и 41 часовой недели.

Эффективный годовой фонд времени работы единицы оборудования () определяется как разность между номинальным фондом () и проектируемыми затратами времени на ремонт, наладку и переналадку оборудования в течение года [13]:

, (1.7)

где - нормативность затрат времени на ремонт, наладку и переналадку оборудования к номинальному фонду в процентах.

Номинальный фонд времени работы оборудования при трехсменном режиме работы принимается .


Расчет потребного количества оборудования

Исходными данными для расчета необходимого количества основного и дополнительного оборудования служат годовое задание по операциям термической обработки, выбранный тип оборудования и установленный режим его работы, а для вспомогательного оборудования также и удельные нормы расхода отдельных вспомогательных материалов.

Необходимое количество единиц оборудования данного типа () рассчитывается по общей формуле:

, (1.5)

где - необходимый фонд эффективного времени работы оборудования данного вида для обработки предусмотренного программой количества продукции i-го вида, пече-часов (агрегато-часов);

 - количество видов продукции, обрабатываемой на данном оборудовании;

- годовой фонд эффективного времени работы единицы оборудования, час.

Величина  определяется из выражения

, (1.6)

где - годовое задание по продукции i-го вида;

 - расчетная норма часовой производительности единицы оборудования данного вида при обработке продукции i-гoвида.

Расчет потребного количества основного оборудования

Расчет необходимого количества шахтных печей Ц-105А для нагрева под закалку (Pi =0,338 тонн/час):

Необходимое количество единиц оборудования для закалки деталей в шахтных печах Ц-105А:

Принимаем необходимое количество шахтных печей под закалку 1.

Коэффициент загрузки оборудования составит:

Расчет необходимого количества камерных печей СН3-4,8/10, НШ-100 для нагрева под закалку (Pi =0,290 тонн/час):

Необходимое количество единиц оборудования для закалки деталей в камерных печах:

Принимаем необходимое количество камерных печей под закалку 2.

Коэффициент загрузки оборудования составит:

Расчет необходимого количества шахтных печей СШЗ-6.12.7/М1 для нагрева под отпуск (Pi =0,275 тонн/час):

Необходимое количество единиц оборудования для отпуска:

Принимаем необходимое количество шахтных печей под отпуск 3.

Коэффициент загрузки оборудования составит:

Расчет необходимого количества установок ТВЧ (Pi =70 шт./час):

Необходимое количество установок ТВЧ:

Коэффициент загрузки составит:

В результате расчета получилось, что для выполнения годовой программы по закалке изделий токами высокой частоты, в термическом участке необходимо установить одну установку. Но в случае поломки установки это приведет к торможению технологического процесса, а, следовательно, и к снижению производительности термического участка. Поэтому принимаем необходимое количество установок ТВЧ на участке 1.

2. Теплотехническая часть

.1 Определение глубины закаленного слоя

Глубина закаленного слоя выбирается в соответствии с технологическими требованиями детали. На основании технического процесса термической обработки, глубина закаленного слоя пальца, диаметром  должна находиться в приделах . Достаточная же прочность стальных деталей малых и средних размеров достигается из соблюдения условия:

 (2.1)

где - радиус закаливаемого изделия, .

Тогда для нашего случая, глубина закаленного слоя составит:


2.2 Выбор частоты

Выбор частоты при закалке производится исходя из необходимости получения высокого к.п.д. процесса нагрева при обеспечении требуемой глубины закаленного слоя . При глубине закаленного слоя  целесообразно использовать средние частоты с применением машинных преобразователей частоты, при используются ламповые преобразователи.

Так как глубина закаленного слоя в нашем случае составляет , следовательно, выбор частоты следует вести среди ламповых преобразователей.

Оптимальная частота при поверхностном нагреве определяется из соотношения:

 (2.2)

где  - глубина закаленного слоя, м.

Следовательно

Согласно данным справочника выпускаемые промышленные ламповые генераторы имеют рабочую частоту 25000 Гц, 66000 Гц, 250000 Гц, 440000 Гц. Так как по технологии необходимо чтобы глубина закаленного слоя лежала в пределах , а чем больше частота, тем меньше глубина закаленного слоя, поэтому для достижения лучших результатов закалки принимаем .

2.3 Тепловой расчет

Глубина проникновения тока в сталь определяется по формуле

 (2.3)

где - частота, Гц.

Тогда глубина проникновения тока

и

Принимаем ориентировочно величину магнитной проницаемости слоя, нагретого до температуры ниже точки Кюри , тогда получим параметр m равный:


По таблице справочника находим значение параметра М, зависящего от и . М =0,902. Отсюда находим:

)        Глубину активного слоя :

2) Относительную глубину активного слоя :

3) Относительную глубину рассматриваемого слоя :

Задаемся значением критерия Фурье . Тогда по таблице справочника определяем  и . Тогда

Следовательно, время нагрева изделия может быть найдено по формуле:

 (2.4)

где - температура поверхности изделия, 0С;

 - конечная температура нагрева изделия, 0С;

 - критерий Фурье. 

Температура поверхности изделия определяется по формуле:


Принимаем температуру поверхности изделия равной:

Тогда время нагрева изделия:

В нашем случае:

Полученное значение достаточно близко к заданному.

Значение коэффициента температуропроводности определяется по формуле:

 (2.5)

где - теплопроводность стали, ;

- средняя теплоемкость материала изделия, ;

 - плотность материала изделия, .

Таблица 2.1. Значение средних физических параметров стали 40Х

, , ,



28,4

0,528

7744



Используя данные таблицы 2.1 определим коэффициент температуропроводности:

Исходя из полученного значения критерия Фурье и коэффициента температуропроводности определим время нагрева изделия до требуемой температуры по формуле:

 (2.6)

где  - критерий Фурье;

 - коэффициент температуропроводности, ;

- радиус закаливаемого изделия, .

Удельная мощность определяется по формуле:

 (2.7)

где - теплопроводность стали, ;

- температура поверхности изделия, 0С;

 - диаметр закаливаемого изделия, .

С учетом утечки тепла в осевом направлении удельная мощность составит:


2.4 Электрический расчет

Диаметр и ширину индуктора принимают по заданным размерам детали:

 (2.8)

 (2.9)

где  - диаметр индуктора, м;

 - диаметр закаливаемой детали, м;

 - ширина индуктора, м;

- длина закаливаемой детали, м;

 - величина зазора между индуктором и деталью, м.

Принимаем величину зазора h между индуктором и деталью равной 3 мм, находим диаметр индуктора

Ширина индуктора (т.е. ширина обрабатываемой поверхности)

Толщину стенки трубки для изготовления индуктора определяем из условия минимума потерь , где  - глубина проникновения тока в медь, которая определяется по формуле:

 (2.10)

где - удельное сопротивление, ;

- частота, Гц.

Так как для меди при 50оС величина , то

Отсюда

Принимаем толщину стенки трубки.

Определим расчетный диаметр детали

 (2.11)

где - глубина активного слоя,.

Следовательно,

Коэффициент самоиндукции определяется из соотношений

 (2.12)

 (2.13)

где  и - коэффициенты самоиндукции бесконечно длинной цилиндрической детали и цилиндрической детали конечной длины, соответственно, Гн;

- длина закаливаемой детали, м;

 - диаметр закаливаемой детали, м;

 - поправочный коэффициент.

Значение поправочного коэффициента  находим из справочной таблицы [11].При отношении  величина .

Тогда коэффициент самоиндукции

Реактивное сопротивление детали определяется из соотношений

 (2.14)

 (2.15)

где  и - реактивное сопротивления бесконечно длинной цилиндрической детали, и цилиндрической детали конечной длины, Ом.

- удельное сопротивление, ;

- частота, Гц.

Тогда реактивное сопротивление детали

Сопротивление нагреваемого слоя детали находим по формулам:

-        Активное

 (2.16)

-        Реактивное

 (2.17)

 (2.18)

где  - расчетный диаметр детали, м.

- длина закаливаемой детали, м;

- частота, Гц.

К - комплекс, учитывающий влияние второго не перегретого слоя;

 - угол, на который напряженность магнитного поля отстает от напряженности электрического поля;

 - поправочный коэффициент.

Значения , , ,  определяем по таблицам справочника, с учетом того, что  и параметр .

Тогда;; ; .

Активное сопротивление нагреваемого слоя детали

Реактивное сопротивление нагреваемого слоя детали

При расчете параметров системы индуктор-деталь необходимо привести параметры детали к параметрам индуктора. Поэтому коэффициент приведения параметров равен

 (2.19)

где  - поправочный коэффициент для определения коэффициента взаимной индукции;

 - активное сопротивление нагреваемого слоя детали, Ом;

 - реактивное сопротивление бесконечно длинной детали, Ом.

Значение поправочного коэффициента для определения коэффициента взаимной индукции определяется по таблицам справочника [11].

При  и при , .

Приведенные параметры нагреваемого слоя детали определяются по формулам:

;

; (2.20)

.

Следовательно,

Сопротивление одновиткового индуктора:

-  Активное

 (2.21)

где  - омическое сопротивление проводника толщиной ;

 - удельное сопротивление, ;

 - диаметр индуктора, м;

 - ширина индуктора, м;

 - толщина стенки трубки индуктора, м;

 - коэффициент, при; ;


-  Реактивное

 (2.22)

где  - поправочный коэффициент для вычисления коэффициента самоиндукции.

Значение поправочного коэффициента для определения коэффициента самоиндукции определяется по таблицам справочника.

При поправочный коэффициент .

 - коэффициент, при;;

Омическое сопротивление проводника толщиной :

Активное сопротивление одновиткового индуктора

Реактивное сопротивление одновиткового индуктора

Эквивалентное сопротивление одновиткового индуктора:

- Активное

 (2.23)

-        Реактивное

 (2.24)

-        Полное

 (2.25)

Коэффициент мощности индуктора

 (2.26)

Мощность, поглощаемая деталью

 (2.27)

где  - удельная мощность, с учетом утечки тепла, .

Тогда

Потери тепла нагреваемой деталью происходят излучением и теплопроводностью (вследствие малого зазора между индуктором и деталью конвекцией можно пренебречь).

Потери тепла излучением

 (2.28)

термический нагрев деталь закаленный

где  - степень черноты изделия ();

 - степень черноты индуктора ();

,  - соответственно площадь поверхности индуктора и детали, .

 - средняя температура поверхности детали, К;

 и  - соответственно начальная и конечная температура детали, К;

 - температура индуктора, К (Обычно , поэтому в расчете примем ).

Площадь поверхности индуктора (закаливаемой поверхности)


Площадь поверхности детали


Средняя температура поверхности детали

Тогда потери тепла излучением составят

Потери тепла теплопроводностью определяем по формуле

 (2.29)

где - коэффициент теплопроводности воздуха, при средней температуре воздуха , ;

 - ширина индуктора, м;

При средней температуре воздуха  коэффициент теплопроводности воздуха согласно справочным данным [11] равен .

Суммарная мощность


Сила тока в одновитковом индукторе определяется по формуле

 (2.30)

Напряжение в одновитковом индукторе

 (2.31)

Принимая ориентировочно к.п.д. установки равным , находим забираемую индуктором мощность


Полученное значение мощности близко к значению мощности выбранного нами преобразователя повышенной частоты ВЧГ3-160/0,066, который при отдаваемой мощности 160 кВт имеет частоту тока 66000 Гц и напряжение 380 В.

Необходимое число витков индуктора в этом случае можно определить по формуле

 (2.32)

При выбранном напряжении на индукторе определим величину зазора между витками

 (2.33)

Минимально допустимая величина зазора между витками . Даже при минимально допустимой величине зазора разместить 24 витка на длине 960 мм невозможно, поэтому необходимо уменьшить величину витков.

Условно зададимся числом витков .

Необходимое напряжение на зажимах индуктора


Так как сопротивление реального многовиткового индуктора отличается от сопротивления одновиткового индуктора, необходимо внести поправку в расчет сопротивления индуктора. С учетом коэффициента заполнения

Активное сопротивление


Реактивное сопротивление

Сопротивление многовиткового индуктора:

Активное


- Реактивное


- Полное


Сила тока многовиткового индуктора


Активная мощность установки с многовитковым индуктором


складывается из активной мощности, выделяемой в детали (с учетом потерь)

и потерь в многовитковом индукторе


Реактивная мощность установки с многовитковым индуктором


К.П.Д установки:

Тепловой

- Электрический

- Полный

Полученное значение к.п.д. не ниже принятого значения при выборе генератора, т.е. мощность выбранного генератора достаточна для питания установки.

Примем длину индуктора таким образом, чтобы она была кратной длине всей обрабатываемой поверхности. Тогда .

Наилучшее соотношение закаливаемой поверхности будет достигнута при использовании индуктирующей трубки прямоугольного сечения, причем ширина трубки по оси индуктора должна быть в 2-3 раза больше высоты этой трубки. Трубка прямоугольного сечения обеспечит более равномерный нагрев по всей поверхности детали, так как она обеспечивает больше точек соприкосновения с обрабатываемой поверхностью [17].

Ширина трубки по оси индуктора определяется по формуле

 (2.34)

где  - ширина обрабатываемой поверхности, м;

- коэффициента заполнения индуктора, учитывающий наличие электрической изоляции между витками, обычно принимается ;

- число витков индуктора.

Тогда ширина трубки

Соответственно высота трубки принимается

Толщина стенки медной трубки используемой для изготовления индуктора была найдена ранее и составляет . Таким образом, сечение трубки для пропускания воды составит .

Так как ширина трубки индуктора , а ширина самого индуктора составляет , то зазор между витками индуктора будет .

2.5 Расчет охлаждения индуктора

Полная мощность, отводимая охлаждающей водой, равна


 - потери тепла излучением, кВт;

 - потери тепла теплопроводностью, кВт;

 - потери в одновитковом индукторе, кВт.


Требуемое количество воды

 (2.35)

где  - температура воды на выходе из индуктора, 0С ();

 - температура воды на входе в индуктор, 0С ();

 - теплоемкость воды; .

Скорость движения воды в индукторе

 (2.36)

где - объем воды, ;

 - площадь поперечного сечения трубки индуктора, предусмотренного для пропускания воды, .

Скорость движения воды при определенном расходе  зависит от числа параллельно соединенных секций. Как показывает практика, при скорости движения воды больше 1,5 м/с потери напора в индукторе превышают допустимые, поэтому ориентировочно принимаем число секций равным


Тогда ориентировочно находим число секций

Скорость воды в каждой секции


Проверяем условие отвода тепла водой.

Учитывая, что при средней температуре воды  кинематический коэффициент вязкости воды [11] равен , а эквивалентный (гидравлический) диаметр , принятый для изготовления индуктирующей трубки

 (2.37)

Тогда поверхность теплоотдачи индуктора

 (2.38)

где - эквивалентный (гидравлический) диаметр трубки, м.

 - диаметр индуктора, м;

Вычислим число Рейнольдса для определения турбулентности движения воды

 (2.39)

Так как , следовательно, движение в воды в индукторе турбулентное.

Для охлаждения индуктора чаще всего воду подводят из магистрали. В этом случае давление на входе и выходе из него не должен превышать .

Перепад давления по длине трубки определяется по формуле

 (2.40)

где - коэффициент трения;

- коэффициент, учитывающий шероховатость внутренней поверхности трубки ();

 - диаметр индуктора, м;

- эквивалентный (гидравлический) диаметр трубки, м.

 - коэффициент местных сопротивления поворота потока в змеевике, определяемый по справочнику [15].

- число витков индуктрора.

Полученное давление , поэтому число секций для охлаждения индуктора выбрано правильно.

2.6 Устройство для установки и закрепления деталей на станке для закалки токами высокой частоты

Установка деталей в индукторе производится при помощи центровых отверстий, расположенных достаточно точно относительно поверхностей, подвергающихся закалке. С помощью центров относительно индуктора устанавливаются цилиндрические детали, имеющие на торцах центровые отверстия.

Нижний центр выполнен вращающимся, верхний - поддерживающим, снабженный пружиной и рукояткой для его поднятия при установке детали. Шпиндели центров выполняются удлиненными, с тем, чтобы индуктор и спрейер не мешали установке изделий.

Нижний, вращающийся центр, на котором устанавливается закаливаемая деталь, имеет возможность регулировки в горизонтальной плоскости, с целью возможности закалки деталей разного диаметра. Так как нижний центр наиболее подвержен воздействию охлаждающей воды, стекающей с детали, поэтому подшипниковые узлы его должны быть защищены особенно тщательно. Для защиты обслуживающего персонала от брызг этой воды предусмотрен телескопический водосборник, составленный из входящих друг в друга стаканов с выступами на наружной и внутренней поверхностях. При движении суппорта и индуктора верх или вниз стаканы образуют сплошную трубу для слива воды в специальный бак для сбора охлаждающей жидкости [Г].

Верхний центр в зависимости от длины детали перестанавливается по направляющим станины с помощью электродвигателя. Наличие в кинематической цепи привода самотормозящей червячной пары предотвращает произвольное опускание корпуса центра под действием собственного веса.

После установки детали на нижний центр корпус верхнего центра опускается вниз. При этом центр, упираясь в деталь, сжимает пружину до тех пор, пока конечный выключатель не отключит электродвигатель и не включит тормозную электромагнитную муфту, после чего корпус центра прижимается вручную к станине стопорными винтами. Для предотвращения поломки верхнего центра при неисправности в схеме управления электропроводом в кинематической цепи перемещения центра предусмотрена предохранительная фрикционная муфта. При необходимости центр можно перемещать вручную с помощью рукоятки [15].

3. Организационная часть

.1 Планировка отделения и компоновка оборудования

Разработка плана термического участка включает выбор наиболее рациональной его компоновки, определение геометрических размеров здания и последующую детализацию с нанесением строительных элементов, оборудования, транспортных средств и коммуникаций. Планировка термического участка представляет собой графическое изображение помещения и располагаемого в нем оборудования [18].

Участок термообработки расположен в здании пролетного типа прямоугольной формы с расположением оборудования по прямой вдоль пролета. С одной стороны пролета располагаются шахтные и камерные печи, предназначенные для закалки, с другой - печи для отпуска. Для обслуживания печей, расстояние между смежными печами и пролетами составляют 1,5-2 м. Участок ТВЧ и участок промывки располагается согласно траектории грузопотока изделий по операциям, отделенные от печного оборудования сетчатой перегородкой, для уменьшения электромагнитного излучения высокочастотных установок и вредных паров, выделяемых при промывки и очистки изделий. В соответствии с основным направлением продукции по операциям размещается оборудование на расстоянии от стены 1,5 м, чтобы к нему был свободный доступ для ремонта. Закалочные баки располагаются вблизи печи, обеспечивая минимальные расстояния при переносе изделия для охлаждения.

Также в здании проектируемого участка ТО расположены: склад продукции, комната мастера, комната ОТК.

3.2 Определение основных параметров здания и разработка плана расположения оборудования

Производственные одноэтажные здания в большинстве случаев состоят из нескольких параллельных однотипных пролетов, образуемых рядами колон - металлических или железобетонных.

Производственную площадь цеха при укрупненном проектировании определяют по годовому выпуску готовой продукции в тоннах с 1м2 площади.

Производственную площадь цеха можно также определить по удельной площади, т.е. по площади, приходящейся на единицу оборудования (печь, агрегат), которая, например, составляет для участка по обработке деталей, прошедших механическую обработку - 55-70 м2.

Вспомогательная площадь принимаются в процентном отношении от производственной - 10-15%.

Общие размеры и площади цехов определяют на основе планировки оборудования и всех помещений цеха.

Ширина отдельных пролетов здания определяется на основании планировки оборудования в зависимости от размеров обрабатываемых деталей, применяемого оборудования и средств транспорта. Шириной пролета здания называется расстояние между осями подкрановых стоек или колонн и обычно принимается кратной 3.

Согласно стандарту ширина пролета находится в установленной размерной зависимости от пролета мостового крана.

Размеры пролетов для отдельных цехов в зависимости от рода машиностроения и характера выполняемых работ принимаются: для термических - 18 и 24 м.

Общая длина участка должна быть кратной величине шага колонн, который для всех цехов и размеров пролетов принимается равным 12 или 6 м.

В зданиях с мостовыми кранами высоту помещений (от отметки чистого пола до низа несущих конструкций) следует принимать независимо от грузоподъемности кранов. Высоту до верха консолей колонн здания принимают в зависимости от грузоподъёмности мостовых кранов. В данном проекте высота пролёта при подвесном подъемно-транспортном оборудовании грузоподъемностью 5 тонн принята равной 8,4 метров.

При планировке оборудования проходы между толкательными и конвейерными печами должны быть равными 2 - 3 метра, а между камерными печами 1,5 - 2 метра. Оборудование должно быть установлено таким образом, чтобы к нему был открыт свободный доступ для ремонта. Оборудование должно устанавливаться на расстоянии от стены не менее 1 - 1,5 метра.

При разработке планировок необходимо располагать печи в одну линию при установке как конвейерных, так и не больших камерных печей. Закалочные баки и ванны для охлаждения должны быть расположены в непосредственной близости от печей, таким образом, чтобы обеспечить минимальное расстояние при переносе изделия из печи в бак.

Рекомендуется при разработке компоновки участка использовать как основу типовые схемы, построенные на основе опыта проектирования и эксплуатации цехов различного назначения, которые можно модифицировать в соответствии со спецификой конкретного здания.

В здании участка должны быть размещены входящие в его состав производственные и вспомогательные отделения, склады деталей, поступающих на термообработку, готовой продукции, вспомогательных материалов, приспособлений, трансформаторных подстанций, а также служебные и бытовые помещения. В каждом конкретном случае состав цеха зависит от его мощности и структуры, характера технологических процессов.

Планировку оборудования разрабатывают в соответствии с компоновочным планом.

Планировка термического участка представляет собой графическое изображение помещения и располагаемого в нем оборудования [А]. Правильность планировки и организации работы участка проверяются по грузопотоку деталей. Часто грузопоток деталей осуществляется по замкнутому контуру, что ускоряет холостой пробег для возврата приспособлений.

На данном участке необходимо расположить 7 печей [А]. Производственную площадь цеха определяем по удельной площади - 48 - 55 м2, т.е. по площади, приходящейся на единицу оборудования. Принимаем удельную площадь приходящуюся на единицу оборудования 55 м2. Производится: следующим образом:

 (3.1)

где Si - площадь приходящаяся на единицу оборудования, м2,

n - количество печей.

Производственная площадь составляет:

К вспомогательной площади относят площадь, занимаемую кладовыми вспомогательных материалов, оснастки и приспособлений, мастерскими механика и энергетика по ремонту оборудования, аппаратуры и оснастка, экспресс - лабораториями и др. Вспомогательная площадь принимаются в процентном отношении от производственной - 10-15%. Она составляет 96 м2.

Общую площадь участка (м2) находим как:

 (3.2)


4. Охрана труда и окружающей среды

Охрана труда - система сохранения жизни и здоровья работников в процессе трудовой деятельности, включающая в себя правовые, социально-экономические, организационно-технические, санитарно-гигиенические, лечебно-профилактические, реабилитационные и иные мероприятия.

Трудовом Кодексе Республики Казахстан от 15 мая 2007 года №251: «Основным приоритетом государственной политики в области охраны труда является обеспечение безопасных и здоровых условий труда».

Охрана труда в нашей стране представляет собой систему законодательных актов и соответствующих им социально-экономических, технических, гигиенических и организационных мероприятий, обеспечивающих безопасность, сохранность здоровья и работоспособность людей в процессе труда. Проведение этих мероприятий осуществляется на основе общих, межотраслевых и отраслевых инструкций, государственных стандартов системы безопасности труда и других нормативных документов, утвержденных в установленном порядке.

Согласно статье 22 и статье 314 Трудового кодекса Республики Казахстан (ТК РК) на предприятиях, в учреждениях и организациях работник, в данном случае работающий в участке термообработки, имеет право на здоровые и безопасные условия труда.

В соответствии со статьей 320 ТК РК проектирование, строительство и реконструкция производственных зданий и сооружений, разработка и использование технологий, конструирование и изготовление машин, механизмов, оборудования, не отвечающих требованиям безопасности и охраны труда, не допускаются [24].

4.1 Анализ опасных и вредных производственных факторов на термическом участке

В данном разделе рассматриваем анализ опасных и вредных факторов, возникающих при выполнении технологических операций на термическом участке КЛМЗ корпорации Казахмыс.

Длина термического участка составляет 24 м, ширина - 18 м, высота - 10 м. На участке имеется 10 окон. Полы на данном участке выполнены из чугунных плит, а стены и потолок окрашены огнестойкой краской. На рисунке 1 приведена схема термического участка. Освещение также является одним из необходимых условий в производстве. При плохом освещении человек быстро устает, работает менее продуктивно, возрастает опасность ошибочных действий и несчастных случаев. Поэтому освещение на участке предлагается выполнить комбинированным: естественное освещение через окна и фонари здания, и общее искусственное освещение лампами накаливания. Также при работе на участке немаловажен микроклимат участка. Производственная деятельность рабочих участка относится к работам средней тяжести. Исходя из этого установим надежный микроклимат:

температура воздуха от 16 до 18 оС;

относительная влажность воздуха от 40 - 60%;

скорость воздуха до 0,3 м/с.

В теплый период:

температура воздуха от 20 до 23 оС;

относительная влажность воздуха от 40 - 60%;

скорость воздуха до 0,3 м/с.

В термическом участке установлено следующее оборудование:

Электропечь шахтная Ц 105 - А - 1 шт.

Электропечь камерная НШ 100, СНЗ - 4,8/10 - 2 шт.;

Электропечь шахтная СШЗ - 10.10/10 - 1 шт.;

Электропечь шахтная СШЗ - 6.12/10 - 1 шт.;

Электропечь шахтная СШЗ - 10.10/7МЗ - 1 шт.;

Индукционная установка ИЗ 100/8,0 - 1 шт.

На участке производится отжиг, закалка, высокий и низкий отпуск, цементация и ТВЧ деталей по производственной программе. Работа производится на шахтных и камерных электропечах, в цементационной печи и установке ТВЧ (с нагревом токами высокой частоты). Перед измерением деталей на приборах контроля твердости их поверхность зачищается от металлического блеска. При выполнении различных операций могут возникнуть ряд опасных и вредных факторов.

При работе на участке могут возникнуть такие физические производственные факторы, как:

движущиеся части электротермических установок, нагретых до высоких температур детали и части электротермических установок;

- опасность поражения электрическим током, соприкосновения человека с токоведущими деталями, которые обычно находятся под напряжением (прямой контакт), детали, которые в неисправном состоянии находятся под напряжением в результате пробоя изоляции (косвенный контакт);

- разлетания осколков деталей при их растрескивании и правке;

разрыв шлифовального круга при зачистке деталей для измерения твердости;

внутрицеховые транспортные средства (мостовые краны, электрокары, погрузчики;

относительное положение движущихся деталей, которые могут создать зоны затягивания, раздавливания, пореза;

А также при работе на участке могут возникнуть такие вредные факторы, как:

недостаточная освещенность рабочей зоны, возникающая при необходимости устранения ошибочных действий и несчастных случаев при работе на участке.

высокая температура воздуха в производственных помещениях вызывает быструю утомляемость работающего, перегрев организма и большое потовыделение;

температура и влажность воздуха, скорость его движения в рабочей зоне не соответствуют зоне комфорта. В связи с этим возникает риск заболевания рабочих различными профессиональными заболеваниями, в особенности органов дыхания.

термическое излучение или процессы, связанные с выбросом расплавленных частиц, химическими процессами при коротких замыканиях, перегрузкам;

повышенные уровни шума, вибрации, ультразвука и различных излучений тепловых, электромагнитных и инфракрасных;

- повышенная запыленность и загазованность воздуха рабочей зоны при погрузке, выгрузке, просеивании и транспортировании сыпучих материалов, при бурении и взрывании земляных масс, при некоторых химических и термических процессах;

наличие электромагнитного излучения при работе установки ТВЧ может вызывать нарушения функционального состояния нервной и сердечно-сосудистой систем;

потенциальная энергия упругих элементов (пружин), жидкостей, пара, газов, находящихся под давлением или в вакууме;

Такого рода вредные факторы могут возникнуть от любого оборудования находящегося на термическом участке, а также при передвижении обработанных деталей, загрузке и выгрузке крупногабаритных деталей, при передвижении деталей по крану на участке и т.п. Также при работе на участке могут возникнуть различные профессиональные заболевания, такие как, травмы спинного и поясничного отдела позвоночника, травмы головы, рук и ног при загрузке и выгрузке крупногабаритных деталей. Могут возникнуть поражения электрическим током, заболевания дыхательных органов, органов зрения и т.д. [23].

4.2 Расчет вентиляции термического участка

В термическом участке установлено следующее оборудование:

Электропечь шахтная Ц 105 - А - 1 шт.

Электропечь камерная НШ 100, СНЗ - 4,8/10 - 2 шт.;

Электропечь шахтная СШЗ - 10.10/10 - 1 шт.;

Электропечь шахтная СШЗ - 6.12/10 - 1 шт.;

Электропечь шахтная СШЗ - 10.10/7МЗ - 1 шт.;

Индукционная установка ИЗ 100/8,0 - 1 шт.

Тепловыделение от каждой печи определим по формуле:

 Вт (4.1)

где F - площадь тепловыделяющей поверхности печи, м2;

К - коэффициент теплопередачи стенок печи, Вт/(м2С);

tВН. П - температура внутри печи, С;

tуч - температура воздуха на участке, С (tуч = 20С).

Коэффициент теплопередачи стенок печи определим по формуле [24],

приняв, что теплоизоляция разных печей одинакова.

 (4.2)

где  Вт/(м2С) - коэффициент теплоотдачи внутренней стенки из шамотного кирпича;

 Вт/(м2С) - коэффициент теплоотдачи внутренней стенки из строительного кирпича;

b1 = 0,25 м - толщина стенки из шамотного кирпича;

b2 = 0,12 м - толщина стенки из строительного кирпича;

b3 = 0,003 м - толщина стального кожуха;

 Вт/(м2С) - коэффициент теплопроводности стенки из

шамотного кирпича;

 Вт/(м2С) - коэффициент теплопроводности стенки из строительного кирпича;

 Вт/(м2С) - коэффициент теплопроводности стального кожуха.

Определим тепловыделение от каждой из печей в течение 1 часа.

Для печи НШ 100 - tВН.П =1000С; F = 6,5 м2 (определено по чертежу печи):

Q1 =

Для печи СШЗ - 10.10/10 - tВН.П =1200С; F = 7,8 м2 (определено по чертежу печи):

Q2 =

Для печи СШЗ - 10.10/7М3 - tВН.П =700С; F = 4,5 м2 (определено по чертежу печи):

Q3 =

Для печи СШЗ - 6.12/10 - tВН.П =1000С; F = 2,8 м2 (определено по чертежу печи):

Q1 =

Для печи ТВЧ - tВН.П =1000С; F = 2,5 м2 (определено по чертежу печи):

Q4 =

Для печи Ц105 - А - tВН.П =950С; F = 2,8 м2 (определено по чертежу печи):

Q5 =

Определим суммарное тепловыделение от всего оборудования участка в течение 1 часа:

Qc=

Определим тепловыделение от остывающего металла (Вт) по формуле:

, (4.3)

где Мм - масса остывающего металла за 1 час;

См = 0,46 кДж/(кгС) - средняя теплоемкость остывающего металла;

tНАЧ - начальная температура деталей при их выемке из печи, С;

tКОН = 40С - температура, при которой детали отправляются из

термического участка.

Для печи НШ -100. Производительность печи 0,16 т/час, значит Мм =160 кг. Из печи детали выгружают при температуре 860С, тогда:

QМ1 =

Для печи СШЗ-10.10/7М3. Производительность печи 0,19 т/час, значит Мм = 190 кг. Из печи детали выгружают при температуре 200С, тогда:

QМ3 =

Для печи ИЗ 100/8,0. Производительность печи 0,25 т/час, значит Мм =250 кг. Из печи детали выгружают при температуре 900С, тогда:

QМ4 =

Для печи СШЗ - 6.12/10. Производительность печи при отжиге 0,145 т/час, значит Мм = 145 кг. Из печи детали выгружают при температуре 860С, тогда:

QМ1 =

Для печи СШЗ-10.10/10. Производительность печи при закалке

,94 т/час, значит Мм = 940 кг. Из печи детали выгружают при температуре 850С, тогда:

QМ =

Для печи Ц 105 - А. Производительность печи при цементации 0,023 т/час, значит Мм =23 кг. Из печи детали выгружают при температуре 900С, тогда:

QМ4 =

Тогда суммарное тепловыделение от остывающего металла за 1 час составит:

Q

Тогда полное избыточное тепловыделение на участке составит:

(4.5)

Вт

Количество воздуха, необходимое для удаления избыточного тепла с участка (м3/час), определим по формуле:

 (4.6)

где tНАР - средняя температура наружного воздуха в летнее время, С;

По [24] принимаем tНАР = 18С;

tУЧ - температура воздуха на участке, С (tуч = 20С);

С = 0,992 Дж/ С - теплоемкость воздуха;

 = 1,222 кг/м3 - плотность приточного воздуха.

Определим кратность обмена воздуха на участке:

 (4.7)

где L - количество воздуха необходимое для удаления избыточного тепла с

участка, м3/час;

VУЧ - объем помещения участка, м3.

Определим объем участка. SУЧ = 540 м2, высота цеха НЦ = 10,5 м, следовательно объем участка:

VУЧ = SУЧ, (4.8)

VУЧ =

Тогда кратность обмена воздуха:

раз/час

Вывод: для нормальной вентиляции помещения термического участка необходимо обеспечить кратность обмена воздуха 27 раз в час.

4.3 Мероприятия по снижению опасных и вредных производственных факторов

Для обеспечения безопасной и удобной работы рабочих на термическом участке необходимо проводить мероприятия по снижению опасных и вредных производственных факторов. К таким мероприятиям относятся:

применение местных отсосов от печей и емкостей с маслом и применение общеобменной вентиляции для удаления избыточного тепла, оксидов углерода и азота, аммиака, паров и аэрозолей масла из рабочей зоны цеха;

применение на участке естественного освещения через окна и фонари здания, и общее искусственное освещение лампами накаливания для предотвращения опасности ошибочных действий и несчастных случаев при работе человека;

заземление оборудования участка для защиты рабочего от поражения электрическим током.

4.4 Пожарная безопасность

Для обеспечения пожарной безопасности на термическом участке необходимо проводить ряд мероприятий направленные на предупреждение пожаров, предотвращения распространения огня в случае возникновения пожаров и создание условий быстрой ликвидации пожара на участке. К таким мероприятиям относятся:

обучение термистов противопожарным правилам, проведение бесед, инструкций;

правильная эксплуатация, профилактические ремонты, осмотры и испытания оборудования и устройств;

соблюдение противопожарных норм и правил при устройстве и установке термического оборудования, систем вентиляции, подвода электропроводки, защитного заземления, зануления и отключения.

Пожары на термическом участке могут возникнуть из-за курения в неустановленных местах, не соблюдения правил безопасности при проведении сварочных и других огневых работ в пожароопасных местах, неисправностей электрических проводов, нарушения режимов технологических процессов, неосторожности и небрежности персонала, дефектов оборудования, а также невыполнения требований пожарной безопасности.

Термический участок оснащен такими средствами пожаротушения и защиты от огня, как - ящиками с песком, огнетушителями, лопатами, ведрами, противогазами, пожарным краном и другими средствами. Все рабочие умеют пользоваться первичными средствами пожаротушения. Первичным средством пожаротушения на участке является огнетушитель. В наличии имеются ручные огнетушители (воздушно-пенные(ОВП), порошковые(ОП) и углекислотные(ОУ)).

По жароопасности участок относится к категории Г. По степени огнестойкости участок относится к 3 ей степени, несущие конструкции перекрытий трудносгораемые, плиты совмещенных покрытий сгораемые, внутренние несущие стены трудносгораемые. Пожарная сигнализация имеется в общем цехе, поэтому на участке отсутствует. На рисунке 2 приведен план эвакуации термического участка [24].

1-огнетушитель, 2-пожарный щит, 3-ящик с песком, 4-пожарный кран, 5-телефон, 6-противогазы. Путь эвакуации: основной (слева), вспомогательный (справа).

Рисунок 2 - План эвакуации термического участка

5. Промышленная экология

Целью раздела является: Экологическое обоснование влияния вредных веществ на окружающую среду в процессе технологической операции.

Завод КЛМЗ находится в юго-восточной части г. Караганды (Фёдоровский участок) и в северо-западной части города (Кировский участок). На Фёдоровском участке располагается основное производство КЛМЗ, а на Кировском участке расположено литейное производство.

Основными источниками загрязнения атмосферы являются следующие:

Котельная предназначена для выработки и снабжения теплоэнергией объектов, расположенных на его площадке в зимний период (212 дней в году).

Котельная оснащена шестью котлами марки ДКВ - 6,5/13 (один котел), КЕ - 6,5/14 (два котла), КТВС (один котел), КЕ - 25/14 (один котел), КВЦК (один котел). В настоящее время котел марки КЕ - 6,5/14 находится на капитальном ремонте. Котельная оборудована двумя металлическими трубами высотой 39 м и 45 м, диаметром каждая 1,5 м.

Режим работы котельной 212 дней в год (в отопительный период). Сжигание угля в топках котлов сопровождается выделением в атмосферу вредных веществ, в состав которых входят: твердые частицы, окись углерода, оксиды серы и азота. Годовой расход угля - 9000 тонн.

Цех №1 - механосборочный цех.

Основными источниками выбросов загрязняющих веществ в атмосферу являются следующие технологические процессы:

Металлообработка - при работе металлорежущего оборудования выделяется металлическая пыль и пары эмульсола, который используется в качестве охлаждающей жидкости. От станков шлифовально-обдирочной группы предусмотрена вытяжная вентиляция в циклон типа ЛИОТ.

Сварочные работы - основные загрязняющие вещества: сварочная аэрозоль, оксиды марганца, оксид углерода, оксиды азота.

Лако-покрасочные работы - выделяют вредности: ксилот, уайт - спирит.

Цех №2 - металлоконструкций.

Металлообработка. При работе металлорежущего оборудования выделяется пыль и пары эмульсола.

Сварочные работы. Выделяемые вредности: сварочная аэрозоль, марганец и его оксиды, фтористый водород, оксиды железа, оксиды углерода, соединения кремния, фториды.

Газовая резка. Основные загрязняющие вещества: сварочный аэрозоль, оксиды марганца, оксид углерода, оксиды азота.

Лако-красочные покрытия. Выделяющие вредности: ксилол, уайт - спирит.

Цех №3 - литейно-механический цех.

Стальное литье. При плавке стального литья выделяются вредности: пыль, оксид углерода, оксиды азота, оксиды серы, фториды.

Чугунное литье. При плавке чугунного литья выделяются вредности: пыль, оксид углерода, оксиды азота, оксиды серы, фториды.

Цветное литье. При плавке цветных металлов и сплавов на их основе в газовых выделениях содержатся: возгоны металла и его оксиды, оксиды серы и азота, фтористый водород, аммиак, ионы хлора, графитовая пыль, фтористый кальций, хлористый барий.

Металлообработка. При металлообработке выделяются вредности: металлическая пыль и пары эмульсола.

При приготовлении формовочных смесей выделяется пыль. Для уменьшения выбросов вредных веществ в цехе установлен антициклон.

При сушке стержней в электросушилке выделяются вредности: оксид углерода, оксиды азота, сернистый антигрид, метан.

Отжиг литья производится в печи. Выделяются вредности: твердые частицы, оксиды серы, оксид углерода, оксиды азота.

На модельном участке при механической обработке древесины выделяется древесная пыль. Для уменьшения выброса пыли в атмосферу на участке циклон типа ЛИОТ.

Цех гидравлики

Основными источниками выбросов загрязняющих веществ в атмосферу являются следующие технологические процессы:

Металлообработка. При металлообработке выделяются пыль и пары эмульсола. Для уменьшения выброса в атмосферу металлической пыли от обдирочно-шлифовальных станков на участке установлен циклон типа ЛИОТ.

Наплавка под слоем флюса. Основные загрязняющие вещества: сварочный аэрозоль, марганец и его оксиды, фтористый водород. Для уменьшения выброса в атмосферу вредных веществ предусмотрен циклон ЦН-15.

Сварочные работы. Основные загрязняющие вещества: Сварочный аэрозоль, оксиды марганца, фтористый водород, окись углерода, двуокись азота.

Лако-красочные работы. Выделяющие вредности: ксилол, уайт-спирит.

Участок гальванопокрытий. При обработке деталей в растворах серной кислоты, соляной кислоты, азотной кислоты, щелочей различных концентраций выделяются: пары щелочи, хромовый антигрид, хлористый водород, серная кислота, азотная кислота, оксиды азота. Улавливание аэрозолей осуществляется фильтром улавливателем ФВГ - Т 6,4 - 01.

Цех №7 - нестандартного оборудования.

при работе металлорежущего оборудования выделяется металлическая пыль и пары эмульсола. На участке обдирочно-шлифовальных станков установлен циклон типа ЛИОТ.

при сварочных работах. Выделяются следующие вредности: сварочный аэрозоль, марганец, оксиды хрома, оксиды железа, оксиды углерода, соединения кремния, фториды.

при газовой резке. Выделяемые вредности: сварочный аэрозоль, оксиды марганца, оксид углерода, оксиды азота.

при лако-покрасочных и сушильных работах. Выделяются следующие вредности: ксилол, уайт-спирит.

Участок РТИ - резинотехнических изделий.

Разогрев резиновой смеси с использованием подогревательных вальцов сопровождается выделением вредных веществ: нитрил акриловой кислоты, оксида серы, оксида углерода.

Изготовление РТИ методом вулканизации. При этом процессе выделяются загрязняющие вещества: изопрен, дивинил, нитрил акриловая кислота, хлоропрен, стирол, изобутилен, оксид пропилена и этилена, оксид серы, оксид углерода, предельные С12 и С19 углеводороды.

Перечень загрязняющих веществ, выбрасываемых в атмосферу приведены в таблице 5.1

Таблица 5.1. Перечень загрязняющих веществ, выбрасываемых в атмосферу

Наименование загрязняющего вещества

Код вещества

Выделение загрязняющего вещества в атмосферу, т/год



по экологическому паспорту завода

нормативы ПДВ

пыль нетоксичная

0002

371,1

235,56

оксид серы

0330

49,87

87,9

оксид углерода

0337

520,7

568,41

оксид азота

0301

23,04

63,83

пары эмульсола и масляные аэрозоли

2735

6,47

-

сварочная аэрозоль и оксид марганца

0143

9,052

-

фториды

0342

0,146

-

соединения хрома

0226

0,119

-

пары ацетона

1401

1,213

-

прочие

-

0,0902

-

Всего:

-

982,612

955,70


Инструментальный участок.

Основными источниками выбросов загрязняющих веществ в атмосферу являются:

металлообработка. При ней выделяются вредности: металлическая пыль и пары эмульсола. Для уменьшения выбросов в атмосферу металлической пыли от обдирочно-шлифовальных и заточных станков на участке установлен циклон типа ЛИОТ, от наждачных станков циклон ЦН-15.

термическая обработка. От электрических печей выбросов вредных веществ нет. Вредные вещества в атмосферу выбрасываются при закалке. Это аэрозоли и пары масла.

Кузнечно - прессовый участок.

Обработка деталей выполняется на участке в нагревательных печах, работающих на жидком топливе, масляных ваннах, на прессах и молотах.

Количество нагревательных печей - 5 шт. Годовой расход топлива - 65 тонн. При сжигании топлива в печи выделяются: твердые частицы, оксиды серы, оксид углерода, оксид азота [25].

Водоснабжение предприятия осуществляется из скважин №=1-РГШО, №=2436 михайловского месторождения подземных вод, расположенных на территории предприятия. Объем водопотребления 253,4 м3\щт.

На предприятии ведется постоянный контроль статистического и динамического уровней воды на скважинах. Согласно разрешению объем потребляемой воды из скважин составил 92500 м3\год. Для учета потребляемой воды из скважин №=1-РГШО и №=2436 установлены водомеры марки МН-50 и УВК-40. Снятие показаний водомеров производят представители ТОО «РКЦ» ежемесячно, показания заносятся в контрольные карты. Также представители ТОО «РКЦ» периодически проводят проверку точек потребления воды с составлением соответствующих актов.

Сточные воды предприятия сбрасываются в городской канализационный коллектор. Прием и обработка сточных вод осуществляется ТОО «РКЦ» согласно условиям договора с ОАО «ВОДОКАНАЛ» №=775 от 28.02.2005 года. По условиям договора объем сточных вод составляет 81600 м3\год. В объем сточных вод входит потребляемая вода из скважин №=1-РГШО и №=2436.

Промышленная площадка «КЛМЗ» занимает территорию площадью 30 га.

Производимая продукция и вид деятельности производства не включает в себя накопление и хранение веществ, которые могли бы повлиять на поражение почв и земельных ресурсов.

Золошлаковые отходы вывозят на рекультивацию полигона «КЛМЗ» г. Караганды согласно соглашению №=360 от 15.11.2006 года [26].

В таблице 5.2 приведены планируемые объемы образовавшихся отходов производственной и бытовой деятельности предприятия.

Таблица 5.2. Объемы отходов производственной и бытовой деятельности предприятия.

Наименование отходов

Место размещения

Класс опасности

Золошлаковые отходы

Полигон КЛМЗ

IV

3699

ТБО

Городская свалка

-

300/600

Литейные шлаки

Полигон КЛМЗ

IV

187


Контроль над соблюдением нормативов ПДВ на предприятии осуществляется санитарно-профилактическими лабораториями специализированных организаций по графику, проведенному в проекте ПДВ. Завод «КЛМЗ» относится к предприятиям третьей категории опасности, поэтому согласно требованиям руководящего документа ОНД-90 контрольные замеры на предприятии должны производится один раз в год, а в периоды НМУ - два раза в сутки.

В соответствии с ГОСТом 172302-78 контроль должен осуществляется прямыми инструментальными замерами или балансовым методом. Инструментальные замеры по контролю над вредными выбросами в атмосферу проводятся специализированной лабораторией в отопительный сезон.

Балансовый контроль над выбросами газообразных и твердых веществ осуществляется лицом, ответственным за охрану окружающей среды на предприятии, по количеству сжигаемого топлива, времени занятости металлообрабатывающего оборудования.

Особому контролю подлежат следующие вещества: взвешенные вещества (зола), окись углерода, двуокись азота, сернистый ангидрид.

Инструментальные замеры в котельной предприятия периодически проводятся центральной заводской лабораторией (ЦЗЛ) завода КЛЗ корпорации «Казахмыс» [26].

Расчёт выделений загрязняющих веществ:

отжиг отливок и поковок в электропечи НШ - 100. Расход эндогаза по паспорту печи составляет 16 м3/час. При нагреве деталей происходит выделение оксида углерода в количестве q = 12,9 г/м3 газа и оксида азота в количестве q = 2,15 г./м3газа. Расчёт выделений (тонн/год) происходит по формуле:

 (5.1)

где Тгод - суммарное время работы на данном оборудовании для обработки

годовой программы деталей, часов;

q - удельная величина выделения загрязняющих веществ, [26] г/м3 газа;

а - расход газа по паспорту печи, м3/час.

Тогда выделение оксида углерода при работе печи НШ - 100 составит:

Выделение оксида азота при работе печи НШ - 100 составит:

- нагрев деталей для отпуска в печи СШЗ - 10.10/7М3. Расход эндогаза по паспорту печи составляет 8 м3/час. При нагреве деталей происходит выделение оксида углерода в количестве q = 12,9 г/м3 газа и оксида азота в количестве q = 2,15 г./м3газа. Выделение оксида углерода при работе печи СШЗ - 10.10/7М3 составит:

Выделение оксида азота при работе печи СШЗ - 10.10/7М3 составит:

Определим количество выделений загрязняющих веществ при нагреве деталей в печи СШЗ - 10.10/10 для закалки. Расход газа по паспорту печи а = 8 м3/час. Удельная величина выделений оксида углерода q = 11,8 г/м3 газа и оксида азота q = 1,97 г./м3 газа.

Выделение оксида углерода составит:

Выделение оксида азота составит:

Определим количество выделений загрязняющих веществ при нагреве деталей в печи Ц105-А для цементации. Расход керосина (см3) на годовую программу цементированных деталей определим по формуле:

 (5.2)

где: Nгод - годовая программа обработки деталей на цементации, кг;

а = 18 - удельный расход керосина при цементации, г/кг, [3];

ρ = 0,82 - удельная плотность керосина, г/см3, [4].

Количество газа (м3) выделяющегося при нагреве керосина определим по формуле:

 (5.3)

где: А - расход керосина на годовую программу цементации, см3;

v - удельная величина выделения углеродосодержащего газа при крекинге керосина, л/см3 газа, [5].

Выделение загрязняющих веществ (тонн/год) при цементации определим по формуле:

 (5.4)

где q - удельная величина выделения загрязняющих веществ, г/м3 газа.

Выделение оксида углерода составит (q = 11,8 г/м3 газа):

Выделение оксида азота составит (q = 1,97 г./м3 газа):

Загрязняющих выделений при нагреве деталей ТВЧ нет.

Охлаждение деталей, нагретых ТВЧ, осуществляется водой через спреер. Загрязняющих веществ при этом не выделяется.

Выделение оксида углерода:

Выделение оксида азота:

В процессе деятельности промышленного предприятия образуются следующие отходы:

- металлическая стружка и лом металлов;

золошлаки;

бытовой мусор;

пищевые отходы;

обрезки древесины и древесные опилки;

использованные автопокрышки;

отработанные горючесмазочные материалы транспортного участка;

отработанное масло из закалочных баков;

отработанная СОЖ;

бытовые сточные воды;

пыль.

Стальную стружку при сборе её в цехе разделяют на сливную и дроблёную. Дроблёную стружку с размером отдельных элементов не более 40 мм подвергают прессованию на брикетировочных прессах. Сливную стружку необходимо предварительно измельчить. Для этого её загружают в шаровую мельницу и размалывают до заданной степени помола. После этого размолотую сливную стружку также подвергают брикетированию. Спрессованная металлическая стружка, а также металлолом продаются металлургическому комбинату для дальнейшего переплава.

Литейный шлак представляет собой отвердевшее камневидное или

стекловидное вещество, образующееся на поверхности расплавленного металла.

Золошлак, представляет собой отвердевшее камневидное или стекловидное вещество, образующееся при сгорании твёрдого топлива. Важными характеристиками золошлаков являются плотность, химический состав, прочность. Золошлаки являются сырьём для изготовления железобетонных конструкций, теплоизоляционных и строительных материалов и для других целей промышленности, гражданском и дорожном строительстве. Их можно использовать в производстве цемента и шлакопортладцемента высших марок, керамзита, шлакоблоков. Их используют самостоятельно как теплоизоляционную защиту и как компонент для производства газобетона, керамзитобетона, зольного гравия, глиняного и силикатного кирпича.

В связи с тем, что шлаки содержат соединения фосфора, кальция, магния, различные микроэлементы, их используют для производства минеральных удобрений, а также для раскисления почв.

Бытовой мусор и пищевые отходы возможно, при наличии заводов по переработке мусора, перерабатывать на компост, используемый для удобрения почв (после переработки в специальных вращающихся барабанах-ферметерах). Или, при наличии мусоросжигательной станции (завода) сжигать в паровых или водогрейных котлах, имеющих специальные топки с наклонно расположенными вращающимися валками колосниковой решётки. Температура в топке должна быть не менее 1000 ˚С. Сжиганию подвергаются как бытовые, так и промышленные отходы (в том числе в илистых и пастообразных консистенциях). При этом сгорает до 90% отходов. Один такой мусоросжигательный завод перерабатывает до 720 тонн / сутки отходов.

Обрезки древесины продаются населению для использования в качестве топлива. Древесные опилки и стружки могут быть использованы в качестве наполнителей при производстве различных видов бетона: арболита, опилкобетона, деревобетона, гипсоопилочного бетона, а также при изготовлении пористого кирпича и черепицы. Кроме того, древесные стружки и опилки могут быть использованы в качестве сырья при производстве спирта, кормовых дрожжей, целлюлозы, древесной муки, а после компостирования в качестве удобрения в сельском хозяйстве.

Старые автопокрышки можно вывозить на специальные регенераторные заводы, перерабатывающие их в резиновую крошку и регенерат - специальный пластичный материал, частично заменяющий каучук в различных резиновых изделиях, в том числе и в новых шинах. Одна тонна регенерата позволяет сэкономить 400 кг синтетического каучука.

Отработанные горючесмазочные материалы транспортного участка, а также отработанное масло из закалочных баков отстаиваются для удаления механических примесей и окалины, а затем передаются в кузнечнопрессовый участок в качестве топлива для нагревательных печей, или в литейный цех в качестве топлива для печей отжига отливок.

Смазочно-охлаждающие жидкости на основе эмульсии предлагается подвергать регенерации. Механические примеси, содержащиеся в СОЖ можно отделить гравитационным методом с магнитной обработкой эмульсии. Загустевшую эмульсию сливают в отстойники и выдерживают в течение суток. Подогрев эмульсии до 40…50оС способствует более интенсивному процессу отстаивания. Всплывшее масло отделяется, а эмульсию смешивают со свежеприготовленной в отношении 1:1 и используют вновь. Для увеличения срока службы СОЖ предлагается в качестве антисептического средства добавлять фурацилин. Срок службы эмульсии в этом случае может быть увеличен в 2…2,5 раза.

Сточные воды, образующиеся на предприятии можно разделить на несколько основных категорий:

бытовые - это воды от туалетных комнат, душевых, кухонь, бань, прачечных и других бытовых помещений промышленного предприятия;

производственные - это воды, использованные в технологическом процессе и не отвечающие более требованиям, предъявляемым к их качеству;

атмосферные - это воды дождевые и талые, вместе с атмосферными водами отводятся воды от полива проезжей части и пешеходных дорожек, а также воды от фонтанов и дренажей.

Сточные воды, которые скапливаются на очистных сооружениях, представляют собой вредные суспензии с объемной концентрацией полидисперсной твердой фазы от 0,5 до 10%. Поэтому прежде чем направить осадки сточных вод на утилизацию или ликвидацию их предлагается подвергать предварительной обработке для получения шлама. Очистка сточных вод начинается с удаления нерастворимых примесей. Грубодисперсные примеси выделяют отстаиванием. Мелкодисперсные примеси выделяют сначала фильтрованием, а для выделения частиц меньшей дисперсности (менее 5 мкм) предлагается использовать метод коагуляции.

Для улавливания пыли и газов из промышленных выбросов на предприятиях применяется механическая и мокрая газоочистка, скруббера, фильтрование газов через пористые материалы, электрофильтрование. Для улавливания пыли применяются циклоны, мультициклоны, электрофильтры. По данным исследований [30] эффект пылеулавливания составляет: циклоны - 84,2%, мультициклоны - 93,8%, электрофильтры - 99%, разные фабричные фильтры - 99,799,9%.

Для очистки промышленных выбросов от органических газов применяются скруббера, а также адсорбция различными веществами. Эффект извлечения скрубберами для разных промышленных выбросов составляет в случае сухих газов 60÷96%, влажных 70÷99,9%. Для извлечения газов из промышленных выбросов применяются следующие адсорбенты: активный уголь, силикагели, синтетические цеолиты, катализаторы.

Пыль, собранную в пылеулавливающих установках около шлифовально-обдирочных и универсально-заточных станков, а также отделённую в насосных станциях шлифовальных станков без переработки вывозят для захоронения на полигоны предприятия.

6. Промышленная экономика

.1 Обоснование типа производства и организации производственного процесса

В экономической части дипломного проекта сравнили экономическую эффективность проектируемого варианта с базовым вариантом, участка термической обработки деталей мощностью 2350 т/год.

На участке термической обработки используется трех сменный режим работы по 8 часов (непрерывный режим работы). Производственный участок площадью 432 м2, основная деталь палец из стали 40Х [20].

Базовый технологический процесс в условиях КЛМЗ корпорации «Казахмыс»:

. Электропечь сопротивления шахтная СШЗ - 6.12/10 (отжиг - 8 ч);

. Электропечь сопротивления шахтная СШЗ-10.10/10 (закалка в масло - 9 ч, закалка в воду - 1 ч, низкотемпературный отжиг - 2 ч);

. Электропечь сопротивления шахтная Ц105 - А (цементация - 30 ч);

. Установка ТВЧ ИЗ 100/8,0 (закалка ТВЧ - 0,1 ч).

. Электропечь сопротивления шахтная СШЗ-10.20/12-И1 (закалка в воде - 9 ч, закалка на воздухе - 9 ч);

. Электропечь камерная СНО - 6.12.4/10И2 (отжиг - 29 ч);

. Электропечь камерная НШ - 100 (отжиг - 29 ч)

Проектный технологический процесс:

. Электропечь сопротивления шахтная СШЗ - 6.12/10 (отжиг - 8 ч);

. Электропечь сопротивления шахтная СШЗ-10.10/10 (закалка в масло - 6 ч, закалка в воду - 4 ч, низкотемпературный отжиг - 2 ч);

. Электропечь сопротивления шахтная Ц105 - А (цементация -20 ч);

. Установка ТВЧ ИЗ 100/8,0 (закалка ТВЧ - 0,3 ч).

. Электропечь сопротивления шахтная CШЗ - 10.10/7М3 (низкий отпуск - 24 ч);

. Электропечь камерная СНЗ - 4,8/10 (отжиг - 29 ч);

. Электропечь камерная НШ - 100 (отжиг - 29 ч)

Степень использования оборудования по времени определяется проектным коэффициентом загрузки - К3.0б, который представляем собой отношение расчетного количества оборудования (Wp) к принятому (Wпр):

Кз.об = (6.1)

Проектный технологический процесс:

) Электропечь шахтная СШЗ-6.12/10

Кз.об=

) Электропечь шахтная СШЗ-10.10/10

Кз.об=

) Электропечь шахтная Ц105 - А

Кз.об =

) Установка ТВЧ

Кз.об=

5) Электропечь шахтная СШЗ 10.10/7М3

Кз.об =

6) Электропечь камерная СНЗ - 4,8/10

Кз.об=

) Электропечь камерная НШ - 100

Кз.об=

Так как большинство операций имеет загрузку, приближающуюся к 85%, то принимается массовый тип производства.

6.2 Расчет стоимости металла

Затраты на металл определяем по формуле:


где gнр - норма расхода металла, кг;

Цм - цена одного килограмма металла, тенге;

Ктз - коэффициент, учитывающий транспортно-заготовительные расходы;отх - вес возвратных отходов, кг;

Цотх - цена одного килограмма отходов (металлолома), тенге;г - годовой выпуск детали, штук.


где gг.д. - вес готовой детали.

Годовая программа запуска деталей рассчитывается по формуле:

,          (6.2)

где NB - годовая программа выпуска деталей данного наименования (NB =2350 тонн);

-неизбежные технологические потери (=1 -1,5%).


6.3 Определение стоимости основных фондов и амортизационных отчислений

Основные фонды

В основные фонды должны быть включены:

Здания и сооружения (тг):

=S·СЗД, (6.3)

где S-производственная площадь, м2;

Сзд - стоимость 1 м² производственной площади, тг (15000).

Базовый технологический процесс:

=864·15000=12960000

Проектный технологический процесс:

=432·15000=6480000

Стоимость оборудования Коб определяется по формуле:

Кобоб·δТФМ, (6.4)

где Цоб оптовая цена единицы оборудования, тг;

δТФМ-коэффициенты, учитывающие транспортно-заготовительные расходы, затраты по устройству фундамента и монтажу оборудования (в наших расчетах принимаем δТФМ =0,27).

Стоимость оборудования, тг:

) Электропечь шахтная СШЗ - 6.12/10 - 300000;

) Электропечь шахтная СШЗ - 10.10/10 - 380000;

) Электропечь шахтная Ц105 - А - 610000;

) Установка ТВЧ ИЗ 100/8,0 - 1800000;

) Электропечь сопротивления шахтная CШЗ - 10.10/7М3 - 310000;

) Электропечь камерная СНЗ - 4,8/10 - 330000;

) Электропечь камерная НШ - 100 - 500000;

) закалочные баки - 45000.

Итоговая стоимость всего оборудования:

базовый технологический процесс -7810000 тг;

проектный технологический процесс -6590000 тг.

) Электропечь шахтная СШЗ - 6.12/10

Коб =300000·(1 + 0,27) = 381000 тг

) Электропечь шахтная СШ3 - 10.10/10

Коб =380000·(1 + 0,27) =482600 тг

) Электропечь шахтная Ц105 - А

Коб =610000·(1 + 0,27) =774700 тг

) Электропечь шахтная СШЗ - 10.10/7М3

Коб =310000·(1 + 0,27)=393700

) Установка ТВЧ

Коб =1800000·(1 + 0,27)=2286000 тг

) Электропечь камерная НШ 100

Коб =500000·(1 + 0,27) = 635000 тг

) Электропечь камерная СНЗ - 4,8/10

Коб =330000·(1 + 0,27) = 330000 тг

) Закалочные баки

Коб =45000·(1+0,27)=57150 тг

Итого суммарная стоимость оборудования Коб:

базовый технологический процесс -11918700 тг;

проектный технологический процесс - 10767000 тг.

Стоимость транспортных средств:

) Мостовой кран Q= 2т

Коб =300000·(1+0,27)=381000 тг

) Тележка

Коб =50000·(1+0,27)=63500 тг

Итого суммарная стоимость транспортных средств Коб =571563,5 тг.

Амортизационные отчисления

Амортизационные отчисления определяются из соотношения (тг):

, (6.5)

где  - норма амортизационных отчислений (для оборудования - 15%, для зданий и сооружений - 7%).

1) Электропечь шахтная СШЗ - 6.12/10

) Электропечь шахтная СШ3 - 10.10/10

) Электропечь шахтная Ц105 - А

) Электропечь шахтная СШЗ -10.10/7М3

) Установка ТВЧ

) Электропечь камерная НШ 100

) Электропечь камерная СНЗ - 4,8/10

8) Закалочные баки

) Здания и сооружения

базовый технологический процесс:

проектный технологический процесс:

Приспособление и инструмент

Затраты на приспособления и инструменты, участвующие в производственном процессе укрупнено приняли 10% от стоимости производственного оборудования, затраты на производственный инвентарь 5% от стоимости производственного оборудования [26].

базовый технологический процесс:

проектный технологический процесс:

10) Производственный инвентарь

- базовый технологический процесс:

- проектный технологический процесс:

11) Мостовой кран Q=2т

) Тележка

Таблица 6.1. Расчет стоимости производственных фондов и амортизационных отчислений

Группа основных фондов

Кол-во, шт.

Стоимость единицы, тыс. тенге

Сумма, тыс. тенге

Амортизационные отчисления





%

тыс. тенге

Базовый технологический процесс

Здания и сооружения



1417

7

992,2

Технологическое оборудование:

-

Электропечь камерная СНО-6.12.4/10И2

1

419

1676

15

49,5

Электропечь шахтная СШЗ-10.20/12-И1

1

635

635

15

75

Электропечь шахтная СШЗ-6.12/10

1

381

381

15

45

Электропечь шахтная СШЗ-10.10/10

1

482

482

15

57

Электропечь шахтная Ц105 - А

1

486

486

15

46

Установка ТВЧ ИЗ 100/8,0

1

2286

2286

15

27

Электропечь камерная НШ 100

1

635

1270

15

49,5

Закалочные баки

4

57,15

228,6

15

27

Мостовой кран Q=5т

1

381

381

7

21

Приспособления и инструмент

-

-

991,8

7

69,43

Производственный инвентарь

-

-

495,9

7

34,71

Итого

12

-

19,1656


1,1908

Проектный технологический процесс

Здания и сооружения



11340

7

793,8

Технологическое оборудование:

-

Электропечь шахтная СШЗ-6.12/10

1

300

381

15

45

Электропечь шахтная СШЗ-10.10/10

1

380

482

15

57

Электропечь шахтная Ц105 - А

1

610

774,7

15

91,5

Электропечь шахтная СШЗ-10.10/7МЗ

1

310

15

46,5

Установка ТВЧ

1

1800

2286

15

270

Электропечь камерная НШ 100

1

500

635

15

75

Электропечь камерная СНО - 4,8/10

1

330

330

15

49,5

Закалочные баки

2

45

571

15

67,5

Подъемно-транспортное оборудование

-

Мостовой кран Q=2т

1

300

210

7

21

Тележка

1

500

635

7

3,5

Приспособления и инструмент

-

-

836,93

7

58,5

Производственный инвентарь

-

-

418,4

7

29,29

Итого

12

-

7,423

-

8,246


6.4 Расчет численности рабочих по категориям

Базовый технологический процесс:

На участке установлено 7 печей. Численность рабочих составляет 37 человек.

Проектный технологический процесс:

На участке установлено 7 печей: 3 шахтные, 1 установка ТВЧ, 1 цементационная и 2 камерные. По норме облуживания, количество человек, обслуживающих шахтные печи определяется по формуле:

Nраб.= 0,5*2 =1

Принимаем 1 человека обслуживающего шахтные печи. На обслуживание установки ТВЧ требуется 1 человек, на обслуживание цементационной и камерных печей требуется 2 человека (на 2 печи).

Принимаем 4 человека термистов в одну смену. Так как на участке трехсменный график работы, то количество рабочих получается 12 человек. Общая численность вспомогательных рабочих укрупнено 35% от числа основных рабочих, т.е. 5 человек.

Количество ИТР, специалистов и служащих также принимается, укрупнено 12% от общей численности рабочих, т.е. 2 человека.

Резервный фонд рабочих составляет 14% от общей численности рабочих и составляет 2 человека.

Численность счетно - конторского персонала составляет 6% от количества основных рабочих, т.е. 1 человек.

Численность младшего обслуживающего персонала составляет 4% от основных рабочих, ИТР, вспомогательных рабочих, счетно - конторского персонала т.е. 1 человек.

Итого: 23 человека.

6.5 Расчет оплаты труда рабочих

Заработная плата основных рабочих определяется по формуле:

Зт=Т*Ч, (6.6)

где Зт - заработная плата по тарифу, тг;

Т - часовая тарифная ставка, тг/ч;

Ч - годовой фонд времени рабочего, ч.

Базовый технологический процесс: заработная плата всего персонала, работающего на участке, т.е. 37 человек составляет 11110516 тенге.

Проектный технологический процесс:

термист на печах 4 разряд - 112,09 тг/час - 3 чел.;

термист на печах 3 разряд - 102,14 тг/час - 11 чел.

Зт (4 разряд) = 112,09·1725 = 193355,25,

Зт (3 разряд) = 102,14·1725 = 176191,5,

Зт.осн.раб.=193355,25·3+176191,5·11=2518172,25 тг + 99% премии = 5011163 тг.

Заработная плата вспомогательных рабочих (слесарь - электрик,

слесарь - ремонтник, контролер ОТК) находится как:

слесарь - электрик - 93,6 тг/ч - 2 чел.;

слесарь - ремонтник - 86,3 тг/ч - 2 чел.;

контролер ОТК - 77,5 тг/ч - 1 чел.

Зт (слесарь - электрик) = 93,6·1725=161460,

Зт (слесарь - ремонтник) = 86,3·1725=148869,

Зт (контролер ОТК)= 77,5·1725=133688,

Зтвсп.раб = 161460·2+148869·2+133688= 754346 тг.

Заработная плата инженерно - технических рабочих (начальник смены, мастер участка, экономист нормировщик) находится как:

начальник смены - оклад 25000 тг - 1 чел.;

мастер участка - оклад 21000 тг - 1 чел.;

Зт(начальник смены) = 25000·12 = 300000,

Зт(мастер участка) = 21000·12 = 252000,

Зт.ИТР = 300000+252000= 552000

Таблица 6.2. Расчет оплаты труда работающих

Рабочие

Профессия

Часовая тариф. ставка

Кол-во рабочих

Оклад

Фонд заработной платы

Базовый технический процесс

Основные рабочие

-


Термист 4 разряда

112,09

8

-

1546842


Термист 3 разряда

102,14

16

-

2819064

Всего: +99% премии

-


24

-

8688153

Вспомогат. рабочие:

-

-

Контролер ОТК

77,5

2

-

267376


Слесарь-электрик

93,6

3

-

484380


Слесарь-ремонтник

86,3

3

-

446607

Всего:

-

-

8

-

1198363

Инженерно-технический персонал:

-

-

Начальник смены

-

1

25000

300000


Мастер участка

-

1

21000

252000

Всего:

-

-

2


552000

Проектный технологический процесс

Основные рабочие

-

-

Термист 4 разряда

112,09

3

-

580065,75


Термист 3 разряда

102,14

11

-

1938106,5

Всего: +99% премии

-

-

14

-

5011163

Вспомогательные рабочие:

-

-

Контролер ОТК

77,5

1

-

133688

-

Слесарь-электрик

93,6

2

-

322920

-

Слесарь-ремонтник

86,3

2

-

297738

Всего:

-

-

5

-

754346

Инженерно-технический персонал:

-

-

Начальник смены

-

1

25000

300000


Мастер участка

-

1

21000

252000

Всего:

-

-

2

-

552000

Итого:

-

-

23

-

5885509


6.6 Расчет потребности в материалах

Базовый технологический процесс:

Затраты на электроэнергию Еэ составляют 5839795 тенге.

Затраты на воду составляют 410472 тенге.

Расходы на содержание и эксплуатацию оборудования (РСЭО) составляют 10428725 тг, а прочие расходы принимаются 3% от РСЭО, т.е. 312862 тг.

Проектный технологический процесс:

Затраты на электроэнергию Еэ (тенге):

 (6.7)

где Wобщ - общая годовая потребность в электроэнергии, кВтч;

Цэ - цена 1 кВт·ч (7 тг).

Общая годовая потребность как в технологической, так и силовой электроэнергии определяется по формуле [21].:

 (6.8)

где Rnэ - средний расход технологической (силовой) электроэнергии на 1 ч работы оборудования n - го типа.

Среднечасовой расход технологической электроэнергии для оборудования каждого типа можно определить по формуле:

(6.9)

где Ny - установленная мощность электропечи, кВт;

КN - коэффициент использования печи по мощности (0,6-0,7);

КW - коэффициент, учитывающий потери электроэнергии сети предприятия (1,05).

Среднечасовой расход силовой энергии определяется по формуле:

 (6.10)

где Ny - суммарная установленная мощность электродвигателей единицы оборудования каждого типа, кВт;

Квр - средний коэффициент загрузки электродвигателей по времени;

Код - средний коэффициент одновременности работы электродвигателей;

- средний к.п.д. электродвигателей (0,8).

Значения коэффициентов КN, Квр, Код, , КN, КW по данным машиностроительных предприятий.

Определим годовую потребность технологической и силовой электроэнергии для каждого типа оборудования:

. Электропечь СШЗ 6.12/10

. Электропечь СШЗ 10.10/10

. Электропечь Ц 105-А

3. Электропечь СШЗ 10.10/7М3

4. Установка ТВЧ ИЗ 100/8,0

Определим годовой расход электроэнергии для мостового крана по формуле:


Определим годовую потребность в электроэнергии освещения данного помещения по формуле:

 (6.11)

где Еэ.о -годовая потребность в электроэнергии на освещение участка, кВтч;

R - средний расход электроэнергии на освещение одного м2 в течение 1 ч (0,015);

Код - коэффициент одновременности горения ламп (0,8);

S - площадь участка;

Тг - продолжительность горения электроламп в году, ч (4300).

Общегодовая потребность в электроэнергии:


Затраты на электроэнергию Еэ (тенге):

Определим затраты на воду по формуле:

 (6.12)

где QB - годовой расход воды, м3;

ЦВ - цена 1 м3 воды (33,03 тг)

 (6.13)

где Т - годовое задание изделий охлаждаемых в воде, т;

V - расход воды на одну тонну изделий, м3/т, (для закалки и ТВЧ 6-8).

Определим затраты на воду (тг) для производственных нужд:

Определим затраты на воду для хозяйственных нужд. Расход воды на хозяйственные нужды 0,1 м3 на одного человека в смену. На данном участке при трёх сменном режиме работы тратится 496,8м3 воды.

Затраты на воду:


Расчет расходов на содержание и эксплуатацию оборудования (РСЭО).

а) затраты на амортизацию оборудования и транспортных средств берем из таблицы 2, не учитывая затраты на амортизацию зданий и сооружений, т.е. 556250 тг;        

б) затраты на эксплуатацию оборудования включают:

) основную заработную плату для вспомогательных рабочих и служащих (в год)

контролер ОТК -133688 тг;

слесарь-электрик -322920 тг;

слесарь - ремонтник -297738 тг;

начальник смены -300000 тг;

мастер участка -252000 тг;

Итого: 1306346 тг.

) дополнительную заработную плату для вспомогательных рабочих и служащих (в год) - 10%, т.е. 130634,6 тг.

) отчисления составляют 16% от суммы основной и дополнительной заработной платы, 6% на подоходный налог и 10% в пенсионный «фонд (в год), т.е. 305949 тг.

Всего в год для вспомогательных рабочих и служащих (1,2 и 3 пункты в год) - 1612295 тг

) затраты на технологическую энергию -6052629 тг

) вода и воздух для производственных нужды -400482 тг

Итого: 8065406 тг.

в) затраты на текущий ремонт оборудования, транспортных средств и дорогостоящих инструментов принимаем укрупнено 3% от стоимости оборудования и транспортных средств - 4540250·0,03=136207,5 тг.

Стоимость оборудования и транспортных средств - 4540250 тг.

г) износ малоценного и быстроизнашивающегося инструмента и приспособлений, а также расходы на их восстановление могут быть приняты, укрупнено в размере 5% от стоимости оборудования-4159250·0,05=207962,5 тг.

Стоимость оборудования -4159250 тг.

Расходы на содержание и эксплуатацию оборудования:

РСЭО=556250+8065406+136207,5+207962,5=8965825,5 тг.

д) прочие расходы принимаются от расчета 3% от РСЭО

,5·0,03=268974765 тг

Таблица 6.4. Расходы на содержание и эксплуатацию оборудования

Наименование затрат

Базовый вариант

Проектный вариант


Сумма, тг

Сумма, тг

Амортизация оборудования и транспортных средств

670200

556250

Эксплуатация оборудования

8671241

Текущий ремонт оборудования и дорогостоящего инструмента

163640

136207,5

Износ малоценного и быстроизнашивающегося инструмента и приспособлений, а также расходы на их восстановление

253683

207962,5

Прочие расходы

312862

287150

Итого:

10741587

9858811


6.7 Расчет заработной платы для производственных рабочих

Проектный вариант:

) основная заработная плата для производственных рабочих в год:

термист на печах 4 разряд (3 чел.) - 580065,75 тг;

термист на печах 3 разряд (11 чел.) - 1938106,5 тг.

Итого: 2518172,25 тг.

) дополнительная заработная плата для производственных рабочих (в год) 10% от основной, т.е. 251817,225 тг.

) отчисления составляют 16% от суммы основной и дополнительной заработной платы (в год):351316,316 тг.

Всего в год для производственных рабочих (1,2 и 3 пункты в год) -

тг.

Таблица 6.5. Калькуляция себестоимости (тенге)

Наименование статей

Величина на программу


Базовый вариант

Проектный вариант

Основные материалы

4342217,5

4390800

Основная заработная плата производственных рабочих

4365906

2518172,25

Дополнительная заработная плата производственных рабочих

436590,6

251817,225

Отчисления от заработной платы

768400

351316,316

Расходы на содержание и эксплуатацию оборудования (РСЭО)

10741587

9862674

Экономия, получаемая при внедрении проекта: - в заработной плате; - в РСЭО; Итого:


 4361007 878913 5239920


Заключение

В данном дипломном проекте разработан проект термического участка мощностью 2350 тонн в год в условиях КЛМЗ корпорации «Казахмыс». В дипломном проекте представлена годовая производственная программа деталей, подобранная таким образом, что основную ее часть составляют детали ответственного назначения. За основную деталь годовой программы принята деталь «Палец», для которой был разработан процесс термической обработки. Разработка процесса термической обработки была основана на правильном подборе марки стали, выборе режима и расчете параметров термообработки. При разработке процесса за основу были взяты конечные свойства детали, которые позволили бы нам получить высококачественную деталь, работающую при больших нагрузках. В результате для детали палец была выбрана сталь марки 40Х и подобран следующий режим термической обработки:

закалка при температуре 860оС в течение 1 часа 26 минут и высокий отпуск при температуре 640оС в течение 150 минут;

закалка токами высокой частоты при температуре 900оС в течение 58 секунд и последующий самоотпуск при температуре 200оС.

Также приведены исходные и полученные в результате термической обработки механические свойства детали, контроль качества, описаны возможные виды дефектов и брака при соответствующей термообработке.

На основании годовой программы было рассчитано необходимое количество оборудования на заданную мощность проектируемого участка и выбран вертикальный станок ТВЧ, который позволяет получать детали высокого качества. И были выбраны следующие виды оборудования:

Камерная печь СНЗ - 4,8/10 - 1 шт.;

Камерная печь НШ-100 - 1 шт.;

Шахтная печь Ц-105А - 1 шт.;

Шахтная печь СШЗ-6.12/10 - 1 шт.;

Шахтная печь СШЗ-10.10/7МЗ - 1 шт.;

Шахтная печь СШЗ-10.10/10 - 1 шт.;

Вертикальный станок для закалки ТВЧ и генератор ВЧГ3 - 160/0,066 - 1 шт.

Для размещения выбранного оборудования был спроектирован термический участок шириной 18 м, длиной 24 м, высотой 8,4 м. А также был проведен расчет необходимых затрат на электроэнергию, освещение и другие вспомогательные материалы необходимые для нормального функционирования термического участка.

В проекте участка также учтены требования безопасности рабочих, обслуживающих оборудование, санитарно-гигиенические нормы для помещения и рабочего персонала.

В процессе выполнения дипломной работы были выявлены основные источники загрязнения при термической обработке и предложены пути утилизации и ликвидации возникающих отходов.

Проектный технологический процесс экономически целесообразен по сравнению с базовым, так как повышается производительность, снижаются цеховые расходы, что в конечном итоге приводит к снижению себестоимости выпускаемых изделий.

Похожие работы на - Процесс термической обработки детали 'Палец'

 

Не нашли материал для своей работы?
Поможем написать уникальную работу
Без плагиата!
Без нейросетей!