|
T, °C
|
E·  , МПаa·
 ,
1/Градl, Вт/(м·град) , кг/ C,
Дж/(кг·град)R·  , Ом·м
|
|
|
|
|
|
|
20
|
2,13
|
|
51,5
|
7850
|
483
|
160
|
|
100
|
2,10
|
11,90
|
50,6
|
|
486
|
221
|
|
200
|
1,98
|
12,70
|
48,1
|
|
497
|
296
|
|
300
|
1,90
|
13,50
|
45,6
|
|
512
|
387
|
|
400
|
1,85
|
14,05
|
41,9
|
|
529
|
493
|
|
500
|
1,79
|
14,50
|
38,1
|
|
550
|
619
|
|
600
|
1,67
|
14,90
|
33,5
|
|
574
|
766
|
|
700
|
1,60
|
15,15
|
30,0
|
|
628
|
932
|
|
800
|
|
12,50
|
24,8
|
1110
|
|
900
|
|
13,50
|
25,7
|
|
657
|
1150
|
|
1000
|
|
14,50
|
26,9
|
|
653
|
1180
|
|
1100
|
|
15,20
|
28,0
|
|
649
|
1207
|
|
1200
|
|
15,80
|
29,5
|
|
649
|
1230
|
Обозначения механических свойств:

- предел
кратковременной прочности, МПа;

, , -
предел пропорциональности (предел текучести для остаточной деформации), МПа;

-
относительное удлинение при разрыве, %;
ѱ -
относительное сужение, %; - ударная вязкость, кДж /м;- твердость по Бринеллю,
МПа;
Обозначения
физических свойств:- температура, при которой получены данные свойства, °C; -
модуль упругости первого рода, МПа;- коэффициент температурного (линейного)
расширения (диапазон 20 °C - T ), 1/°C;- коэффициент теплопроводности
(теплоемкость материала), Вт/(м·град);

-
плотность материала, кг/
м;- удельная теплоемкость материала (диапазон 20 °C -
T), Дж/(кг·°C);- удельное электросопротивление, Ом·м.
2.3 Анализ основных технологических условий
Шток должен изготавливаться в соответствии с требованиями настоящего
стандарта по технологическому регламенту, утвержденному в установленном порядке
или по нормативно-технической документации.
На поверхности штока не должно быть каких либо дефектов.
При необходимости контроля наружного диаметра штока контрольной гильзой, предельные
размеры гильзы устанавливают с учетом предельных отклонений наружного диаметров
штока.
Допуск контролируемой длины детали устанавливают в зависимости от
конструкции и предлагаемых требований к точности штока.
Обязательное прослеживание допусков на все размеры детали.
Технологический анализ конструкции обеспечивает улучшение
технико-экономических показателей разрабатываемого технологического процесса.
Основные задачи, решаемые при анализе технологичности конструкции детали,
сводятся к возможному уменьшению трудоемкости и металлоемкости, возможности
обработки детали высокопроизводительными методами.
Таким образом, улучшение технологичности конструкции позволяет
себестоимость ее изготовления без ущерба для служебного назначения.
3. Анализ и выбор механической обработки детали
Рассмотрим несколько процессов механической обработки для штока, и
изначально дадим определение, что же такое механическая обработка.
Механическая обработка - обработка заготовки из различных материалов при
помощи механического воздействия различной природы с целью создания по заданным
формам и размерам, а также требуемым показателям качества изделия или заготовки
для последующих технологических операций.
Обработка методом пластической деформации осуществляется под силовым воздействием
внешней силы, при этом меняется форма, конфигурация, размеры,
физикомеханические свойства детали. Это процессы: ковка, штамповка,
прессование, накатывание резьбы.
Для производства детали нашей конфигурации подходят прокатка и
прессование.
3.1 Анализ процесса прессования
Прессование - процесс обработки материалов давлением, производимый с
целью увеличения плотности, изменения формы, разделения фаз материала, для
изменения механических или иных его свойств.
Как правило, для прессования применяют прессы высокого давления.
Прессование используют в различных отраслях промышленности, а также в сельском
хозяйстве.
У прессов высокая производительность деталей и высокая точность
произведённых деталей, даже сложной конфигурации.
Пресс для холодного выдавливания предназначен для изготовления точных по
размеру деталей с минимальным объемом механической обработки в крупносерийном и
массовом производстве.
Рисунок 2 - Пресс для холодного выдавливания
Модифицированный коленно-рычажный привод.
Жесткая сварная конструкция станины.
Высокое качество получаемых поковок.
Наличие многопозиционных нижних и верхних выталкивателей больших усилий и
хода.
Механическая регулировка закрытой высоты.
Централизованная жидкая смазка с контролем подачи смазки в каждую точку.
Минимальная скорость деформирования, резко повышающая срок службы
инструмента.
Пресс работает в автоматическом режиме.
Модель К0034 усилием 250 тс.
Техническая характеристика:
Номинальное усилие, 250 тс.
Недоход ползуна, 15 мм.
Ход ползуна, 250 мм.
Число
непрерывных ходов, 25 - 40 
.
Штамповая
высота, 600 мм.
Регулировка,
15 мм.
Размеры
ползуна:
слева
направо 600 мм;
спереди
назад 600 мм;
Размеры
стола:
слева
направо 600 мм;
спереди
назад 600 мм;
Мощность
электродвигателя главного привода, кВт 60.
Технологическая
работа при максимальном числе автоматических ходов ползуна, 4000 кгм.
Возможность
изменений в технической характеристике предусмотрена
3.2 Анализ процесса штамповки
Горячая объемная штамповка штоков осуществляется как на молотах, так и на
тяжелых кривошипных горячештамповочных прессах (КГШП). Штамповка на КГШП обеспечивает
снижение расхода металла на 10 - 15 %, сокращение на 25 - 35 % объема
последующей механической обработки при более высокой производительности,
повышение точности формообразования на 30 - 50 %. Современный уровень
технологии горячей объемной штамповки на КГШП характеризуется, в основном,
уменьшением припусков на механическую обработку и исключением этой обработки
для отдельных элементов поковки. При этом изготовление штока по существующим
технологиям приводит к тому, что после обрезки облоя волокна по периметру
поковки выходят на поверхности шеек вала под углом 900, что резко снижает
долговечность работы такой детали.
Горячая штамповка с формообразованием так называемых «карманов» на
противовесах позволяет исключить последующую механическую обработку
поверхностей противовесов и при этом дополнительно снизить примерно на 5 %
массу исходной заготовки. Эта технология может быть реализована только при
условии расположения всех шатунных шеек вала в одной плоскости. Объемная
штамповка обычными методами сопряжена со значительным усложнением конструкции
штампового инструмента, который в этом случае имеет ступенчатую поверхность
разъема и увеличенную глубину гравюр. Это, с одной стороны, влечет за собой
повышенный износ инструмента и увеличение отхода металла в облой, а с другой
стороны, вызывает необходимость механической обработки всех противовесов.
Решение этой проблемы возможно при условии, что окончательное формообразование
поковки осуществляется на КГШП с расположением всех шеек штока в одной плоскости,
затем после удаления облоя шейки вместе с противовесами, сохраняющими приданную
им форму, разворачиваются относительно оси коренных шеек штока на заданные углы
на специальной машине, называемой выкрутным прессом.
На КГШП штампуются поковки сложной конфигурации массой до 100 кг. Условие
деформирования отличается от условия деформирования на молотах. Это объясняется
различной скоростью деформирования, которая на молотах составляет 5 - 8 м/с, а
на прессах 0,5 - 0,6 м/с, поэтому и процесс заполнения полости штампа металлом
на прессах происходит менее интенсивно, чем на молотах. На молотах полость
ручья заполняется металлом за несколько ударов, а на прессе - за один ход
ползуна. Это требует более тщательного фасонирования заготовки при штамповке
сложных поковок.
Точность штамповки на КГШП выше, чем на молоте, что объясняется
отсутствием ударной нагрузки, точным направление половин штампа за счет наличия
направляющих элементов, а также фиксированным положением верхней части штампа в
нижней мертвой точке и жесткой конструкцией станины. Наличие у прессов
выталкивателей позволяет:
уменьшить штамповочные уклоны;
применять закрытую штамповку;
применять штамповку выдавливанием.
При штамповке на КГШП в открытых штампах в нижней мертвой точке они не
соприкасаются между собой и между ними существует зазор. В связи с этим нет
зеркала штампа, а зазор выполняют за счет толщины облойной канавки.
На рисунке 3 показан автоматический комплекс для штамповки заготовок
штока и других подобных поковок на базе кривошипного горяче-штамповочного
пресса 5 усилием 40 МН. Масса штампуемых заготовок до 40 кг. Штучные заготовки
из бункера 10 по одной (в ритме работы комплекса) передаются в индукционное
нагревательное устройство 1. Заготовка, нагретая до ковочной температуры,
подается на загрузочный конвейер 2 и ориентатор, откуда после контроля
температуры нагрева оптическим пирометром захватывается манипулятором 9,
подается и устанавливается в первый осадочный ручей штампа пресса 5. Этот же
манипулятор - промышленный робот РПГ - 40 перекладывает предварительно
отштампованную заготовку во второй формовочный ручей штампа.
Удаление поковки из второго ручья штампа и передача ее на разгрузочный
конвейер 7 осуществляются вторым манипулятором 6. Отбракованные заготовки
удаляются по конвейеру 4 в тару 3. Системы программного управления размещены в
шкафах 8. Универсальный смазчик после каждого цикла штамповки производит сдув
окалины, охлаждение и смазку штампа
Рисунок 3 - Автоматический комплекс для штамповки
- индукционное нагревательное устройство;
- загрузочный конвейер;
- тара;
- конвейер;
- горячештамповочный пресс;
- манипулятор;
- разгрузочный конвейер;
- шкафы с программным управлением;
- манипулятор;
- бункер.
Цены на оснащение цеха для прессования и горячей штамповки колеблются в
одной ценовой категории, а цех для штамповки на 20 процентов в среднем
обойдётся дешевле. Но с точки зрения точности выпускаемых деталей и
производительности и в дальнейшем готовых изделий, выбираем механическую
обработку - прессование.
4. Анализ и выбор процесса термической обработки детали
Термическая обработка металлов и сплавов - процесс тепловой
обработки металлических изделий, целью которого является изменение структуры и
свойств в заданном направлении.
.1 Поверхностная газопламенная закалка
Сущность поверхностной газопламенной закалки заключается в том, что
поверхность детали нагревается пламенем газовой горелки, после чего с помощью
душирующих устройств проводится охлаждение. Поскольку пламя газовой горелки
имеет очень высокую температуру (до 3000 °С), нагрев поверхности длится
короткое время, за которое теплота не успевает распространиться в глубь детали,
поэтому нагрев, а значит и закалка получаются поверхностными. Этот метод
поверхностной закалки является наиболее простым и доступным. Его можно
применить даже в полевых условиях при ремонтных работах. В некоторых случаях
при закалке крупногабаритных деталей он оказывается наиболее эффективным и
экономически выгодным.
В качестве горючего газа применяют ацетилен, который получают
непосредственно на месте в ацетиленовых генераторах, а также природный газ,
пропан или метан, поставляемые в баллонах. Для сжигания газа используется
кислород, который подается в горелки из баллонов.
Нормальное пламя газовой горелки имеет три зоны: ядро, восстановительную
и окислительную зоны, смотри рисунок 4.
Рисунок 4 - Многофакельная горелка
А - ядро пламени;
Б - восстановительная зона;
В - окислительная зона.
Наибольшая температура получается на расстоянии нескольких миллиметров от
ядра.
Если скорость выхода горючей смеси из горелки больше скорости
распространения пламени, то факел горит нормально. В противном случае, например
при засорении горелки, факел проникает внутрь ее, при этом обычно раздается
хлопок, и пламя гаснет.
При газопламенной закалке для нагрева используются обычные сварочные
горелки, в которые вместо мундштука вставляют специальные наконечники.
Получаемая глубина закаленного слоя 1 - 10 мм, но чаще - 2 - 5 мм, твердость по
Роквеллу HRC 58 - 60.
Продолжительность нагрева обычно не превышает 10 - 15 с. За такое
короткое время окалинообразования и обезуглероживания практически не
происходит, и поэтому закаленная поверхность получается чистой, без следов
окисления.
Результаты закалки зависят от правильного выбора и соблюдения
технологического процесса. Сюда относятся: температура пламени; скорость
перемещения горелки относительно закаливаемой поверхности; расстояние между
наконечником горелки и поверхностью детали; расстояние между горелкой и охлаждающим
устройством, продолжительность нагрева; интенсивность охлаждения.
Некоторые общие рекомендации по выбору режима приведены ниже. Расстояние
между наконечником горелки и нагреваемой поверхностью устанавливается с таким
расчетом, чтобы ядро пламени отстояло от поверхности примерно на 2 - 3 мм.
Расстояние от оси факела до охлаждающей струи должно быть в пределах 12 - 25
мм. Скорость перемещения горелки относительно нагреваемой детали выбирается в
пределах 50 - 250 мм/мин. Охлаждающей средой в большинстве случаев при
газопламенной закалке служит вода, подаваемая через спрейер. Применяются также
эмульсии, сжатый воздух и водовоздушные смеси.
4.2 Поверхностная закалка ТВЧ
Метод разработан советским ученым Вологдиным В.П.
Основан на том, что если в переменное магнитное поле, создаваемое
проводником-индуктором, поместить металлическую деталь, то в ней будут
индуцироваться вихревые токи, вызывающие нагрев металла. Чем больше частота
тока, тем тоньше получается закаленный слой.
Обычно используются машинные генераторы с частотой 50... 15000 Гц и
ламповые генераторы с частотой больше 106 Гц. Глубина закаленного слоя - до 2
мм.
Индукторы изготавливаются из медных трубок, внутри которых циркулирует
вода, благодаря чему они не нагреваются. Форма индуктора соответствует внешней
форме изделия, при этом необходимо постоянство зазора между индуктором и
поверхностью изделия.
пропускают ток высокой частоты от машинного или лампового генератора. При
этом вокруг индуктора возникает переменное магнитное поле, возбуждающее по
закону электромагнитной индукции вихревые токи в детали, за счет которых и
происходит нагревание ее поверхностного слоя до температуры закалки.
Изменяя частоту тока в индукторе, можно менять глубину нагрева и
соответственно толщину закаленного слоя. По окончании нагрева деталь охлаждают
водой в охлаждающем устройстве 3. Весь процесс закалки занимает несколько
секунд и потому является очень производительным. Кроме того, следует отметить
отсутствие такого нежелательного явления, как образование окалины на поверхности
деталей, и отсутствие их деформации. При этом твердость и ударная вязкость
закаленных слоев выше, чем при печном нагреве. Ввиду высокой стоимости
оборудования этот способ применяется только в условиях массового производства.
Рисунок 5 - Схема проведения поверхностной закалки
а, б, в - этапы процесса закалки;
- деталь;
- индуктор;
- охлаждающее устройство
После нагрева в течение 3...5 с индуктора 2 деталь 1 быстро перемещается
в специальное охлаждающее устройство - спрейер 3, через отверстия которого на
нагретую поверхность разбрызгивается закалочная жидкость.
Высокая скорость нагрева смещает фазовые превращения в область более
высоких температур. Температура закалки при нагреве токами высокой частоты должна
быть выше, чем при обычном нагреве.
При правильных режимах нагрева после охлаждения получается структура
мелкоигольчатого мартенсита. Твердость повышается на 2...4 HRC по сравнению с
обычной закалкой, возрастает износостойкость и предел выносливости.
Наиболее целесообразно использовать этот метод для изделий из сталей с
содержанием углерода более 0,4 %.
Преимущества метода:
большая экономичность, нет необходимости нагревать все изделие;
более высокие механические свойства;
отсутствие обезуглероживания и окисления поверхности детали;
снижение брака по короблению и образованию закалочных трещин;
возможность автоматизации процесса;
использование закалки ТВЧ позволяет заменить легированные стали на более
дешевые углеродистые;
позволяет проводить закалку отдельных участков детали.
Основной недостаток метода - высокая стоимость индукционных установок и
индукторов.
Целесообразно использовать в серийном и массовом производстве.
Для изготовления штоков выберем поверхностную закалку ТВЧ, так как полный
цикл данного вид закалки проходит быстрее, оборудование менее габаритно, после
термообработки поверхность имеет минимальное количество дефектов,
характеристики материала после термообработки полностью соответствуют
поставленными перед нами задачами обработки.
Среднечастотные индукционные нагреватели имеют широкую область
применения, в том числе индукционная плавка металлов. Благодаря глубине
действия этих индукционных нагревателей до 10 мм именно приборы с рабочим
диапазоном частот от 1 до 20 кГц входят в состав индукционных транзисторных
плавильных печей ИПП и индукционных кузнечных нагревателей ИКН. Кроме
индукционной плавки и сквозного индукционного нагрева перед штамповкой эти
нагреватели применяют для индукционной ТВЧ закалки деталей, а также для ТВЧ
пайки.
В отличие от тиристорных, среднечастотные транзисторные индукционные
нагреватели обладают меньшими габаритами и на 30 % меньше потребляют энергии.
Благодаря применению MOSFET транзисторов и IGBT модулей, помимо своей
экономичности индукционные нагреватели обладают превосходной надежностью и
могут работать до 24 часов в сутки.
Рисунок 6 - Среднечастотный индукционный нагреватель
4.3 Расчет времени для проведения термической обработки
Сталь
40 является доэвтектоидной сталью, следовательно, температура закалки будет
определяться как А
+ (30 -
50) °С = 790 + 40 = 830 °С. Твёрдость стали после закалки бкдет составлять
54-56 HRC.
График
проведения термообработки отображён на рисунке 7.
Рисунок
7 - График проведения термической обработки
Исходная
структура среднеуглеродистой конструкционной стали 40 до нагрева под закалку -
перлит + феррит. Структура стали 40 при температуре нагрева под закалку -
аустенит, после охлаждения со скоростью выше критической - мартенсит.
Микроструктуры отображены на рисунке 8.
а)
б)
в)
Рисунок 8 - Микроструктура стали 40 х 500
а) микроструктура стали 40 до закалки (перлит + феррит)
б) микроструктура стали 40 вовремя закалки (аустенит)
в) микроструктура стали 40 после закалки (мартенсит)
5. Характеристика термического участка
5.1 Схема термического отделения
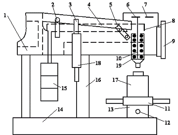
Обозначения на рисунке 9: 1 - аппарат для поверхностной закалке ТВЧ; 2 -
кран-балка; 3 - прибор Роквелл; 4 - измерительный стол.
Рисунок 9 - Схема термического отделения
5.2 Межоперационный транспорт
Кран-балка - разновидность подъёмного механизма краномостового типа, у
которого тельфер передвигается по несущей балке.
Балка опирается ходовыми колёсами на рельсы, которые обычно уложены на
верхних полках подкрановых балок, расположенных под потолком обслуживаемого
помещения, крытой площадки или участка.
В некоторых конструкциях ходовые колёса опираются на нижние полки
подкрановых двутавровых балок (подвесная или катучая кран-балка).
Кран-балка может быть однопролётной (ширина пролёта 6 - 15 м) и
многопролётной (до 100 м).
Как правило, кран-балка приводится в действие электродвигателем,
питающимся от сети (через контактный провод или кабель). Кран-балка имеет
механизм, управление которым осуществляет машинист из кабины, подвешенной к
ездовой балке, или с пола помещения при помощи кнопочного пульта, соединённого
с механизмами кабелем. Кран-балка обычно имеет грузоподъемность в диапазоне 1 -
5 т.
Кроме предлагаемых к продаже нашей компанией электрических кран-балок, вы
можете при необходимости купить у нас ручную кран-балку. Это однобалочная
подвесная ручная кран-балка грузоподъемностью от 1т до 8т.
Эта кран-балка предназначена для подъема, опускания и перемещения груза
при строительно-монтажных, ремонтных и погрузочно-разгрузочных работах в
помещениях, а также под навесом на открытом воздухе при температуре окружающей
среды от -40 °С до +40 °С. Кран-балка имеет высоту подъема как производную от
высоты установки подкрановых путей и высоты подъема используемой тали.
Кран-балка может быть взрывобезопасного исполнения, для холодного, умеренного и
тропического климата.
Рисунок 10 - Кран-балка
6. Методы контроля и испытания изделий по основным параметрам
Необходимо контролировать твёрдость поверхности после закалки. Данная
операция будет проводится на твёрдомере Роквелла.
Устройство прибора Роквелла.
На рисунке 11 приведена принципиальная схема твердомера Роквелла.
Основными его частями являются: поперечина 1, подвеска 2, шток амортизатора 3,
рычаг 4, рукоятка 5, винт 6, крышка 7, рычажок 8, призма 9, шпиндель 10 с
закрепленным на его конце индентором, маховик 11 для перемещения образца,
шпонка 12, направляющая втулка 13, станина 14, грузы 15, стойка 16, подъемный
винт 17, масляный амортизатор 18, пружина 19, индикатор с двумя шкалами -
черной (С) и красной (В). При этом с большой стрелкой индикатора всегда
совмещается нуль черной шкалы, и ни в коем случае - красной. Барабан для точной
установки шкалы индикатора на нуль, электромотор, обеспечивающий работу
прибора.
Рисунок 11 - Прибор для измерения твердости по Роквеллу
7. Технологическая схема движения детали
Рисунок 12 - Технологическая схема движения детали
Заключение
В данном проекте разработан технологический процесс термической обработки
штока. Исходными данными был пакет документов по проведению термической
операции данной детали. Было установлено, что наилучшей термической обработкой
будет поверхностное закаливание ТВЧ.
При выполнении данной работы, я научилась назначать режим термической
обработки, проводить анализ технологичности детали. А также составлять схему
термического отделения цеха.
Список использованных источников
1 Александров А.В., Потапов В.Д., Державин Б.П.
Сопротивление материалов: Учеб. Для вузов. - 2-е изд. Испр. - М.: Высш. Шк.,
2001. - 560с;
Анурьев В.И. Справочник
конструктора-машиностроителя, Том №1. М.: Недра, 1982. 576 с;
Детали машин / Ю.Н. Березовский, Д.В. Чернилевский,
М.С. Петров / под ред. Н.А. Бородина. - М. : Машиностроение, 1933. - 384с;
Зуев. В.М. Термическая обработка металлов : Учебник
для сред. ПТУ., 1986. - 288с;
Лахтин Ю.М., Леонтьева В.П. Материаловедение.
Учебник для вузов - М;
Марочник сталей и сплавов. / В.Г. Сорокин, А.В.
Волосникова, С.А.Вяткин и др. / под ред. В.Г. Сорокина. - М. : Машиностроение,
1989. - 640с;
Фиргер И.В. Термическая обработка сплавов;
Справочник. - М. Машиностроение, 1982. - 304с., ип (серия справочников для
рабочих).