Производство вспученного перлита

  • Вид работы:
    Контрольная работа
  • Предмет:
    Другое
  • Язык:
    Русский
    ,
    Формат файла:
    MS Word
    233,14 Кб
  • Опубликовано:
    2014-10-01
Вы можете узнать стоимость помощи в написании студенческой работы.
Помощь в написании работы, которую точно примут!

Производство вспученного перлита

Введение

технологический оборудование вспученный перлит

Рост и обновление основных фондов промышленности, развитие общественного производства, ускорение фондоотдачи, научно-технический прогресс и рост благосостояния населения в большой степени связаны с эффективностью капитального строительства. Повышение эффективности строительного производства обеспечивается его индустриализацией, поэтому в решении перечисленных важнейших народнохозяйственных задач велика роль ускоренно развивающейся промышленности строительных изделий и конструкций.

Основным материалом для возведения разнообразных строительных конструкций, в том числе из изделий заводского изготовления, в настоящее время и в обозримом будущем является бетон. Это связано с расширением понятия «бетон». Бетонов стало много: тяжёлый и лёгкий, конструкционный и теплоизоляционный, дорожный и гидротехнический, ячеистый и крупнопористый, жаростойкий и декоративный, защищающий от радиоактивных воздействий и от химической коррозии, керамзитобетон, шлакопемзобетон, аглопоритобетон, золобетон и т.д., причём название бетона часто зависит от названия используемого заполнителя, а свойства его в значительной мере определяются свойствами заполнителя.

Применение лёгких пористых заполнителей позволяет получать эффективные лёгкие бетоны для теплоизоляции, стеновых панелей, монолитных стен и разнообразных несущих конструкций. Замена обычных тяжёлых заполнителей пористыми позволяет существенно изменить свойства бетонов в желаемом направлении: уменьшить плотность, улучшить теплоизоляционные свойства и т.д. В то же время достаточная прочность ряда пористых заполнителей обеспечивает возможность получения на их основе конструкционных лёгких бетонов высокой прочности.

Запасы природных пористых заполнителей в нашей стране ограничены. Применение пористых заполнителей - отходов промышленности также носит локальный характер: вблизи предприятий выдающих такие отходы. Поэтому основным источником обеспечения потребности строительства и строительной индустрии пористыми заполнителями является промышленность искусственных пористых заполнителей.

Одним из эффективных, но малораспространённых, искусственных пористых заполнителей является вспученный перлит, технология производства которого рассмотрена в данной работе.

1.     
Общие положения. Характеристика сырья

Вспученный перлит - материал, получаемый вспучиванием при обжиге подготовленных зёрен из вулканических водосодержащих пород (перлит, обсидиан, витрофир и др.).

Перлитами называют природный материал, породу, представляющую из себя вулканическое стекло, в составе которого 70-75% SiO2; 12-14% AI2O3; 3-5% NaO, примерно столько же К2О, до 1% Fe2O3, CaO, МgО.

С геологической точки зрения возникновение перлита связано с тем, что на кромке потока лавы, в местах первичного соприкосновения магматических расплавов и земной поверхности, в результате быстрого охлаждения (закалки) лавы формируется вулканическое стекло - обсидиан. В дальнейшем подземные воды проникают сквозь обсидиан, происходит его гидратация и образование гидроксида обсидиана - перлита.

Для перлита характерна мелкая концентрически-скорлуповатая отдельность (перлитовая структура), по которой он распадается на округлые ядра (перлы), напоминающие жемчужины с характерным блеском. Среди других вулканических пород перлит отличается наличием конституционной воды (более 1%). Пористость может составлять 8-40%. Перлит может иметь черную, зеленую, красно-бурую, коричневую, белую окраску различных тонов. Разновидности перлита: обсидиановый (с примесями обсидиана), сферолитовый (с примесями полевого шпата), смолянокаменный (однородный по составу), стекловатый и другие. По текстурным признакам выделяют массивный, полосчатый, брекчиевидный и пемзовидный перлиты.

В перлите содержится около 1…2% (иногда больше) связанной воды. При обжиге (1000… 1250°С) перлит размягчается и под давлением паров высвобождаемой воды сильно вспучивается. Коэффициент вспучивания - до 10… 12. Чем он больше, тем меньше расход сырья на единицу объема продукции. Поэтому многие предприятия, производящие легкий вспученный перлит, работают на привозном сырье с умеренной себестоимостью продукции. Однако если коэффициент вспучивания меньше, удельные затраты на перевозку сырья увеличиваются и себестоимость продукции возрастает.

В соответствии с ГОСТ 10832-91 «Песок и щебень перлитовые вспученные» предусматриваются марки но насыпной плотности для песка 75… 500, для щебня - 200… 500. Прочность щебня при сдавливании в цилиндре для указанных марок должна быть не менее 0,1… 0,6 МП а. Вспученный перлит отличается от других пористых заполнителей высоким водопоглощением, которое тем больше, чем больше степень вспучивания. В стандарте водопоглощение щебня ограничивается: для марки 500 - не более 30%, для марки 400-50%, для марки 300-75%, для марки 250-100%, для марки 200-125% по массе.

В отличие от других пористых заполнителей мелкие фракции вспученного перлита легче крупных. Это объясняется особенностями вспучивания стекловидных пород по сравнению, например, с глинистыми. Так, при производстве керамзита мелкие глиняные гранулы (до 5 мм) часто совсем не вспучиваются, так как еще до размягчения теряют все образующиеся при обжиге газы. Перлитовая же стекловидная порода удерживает газы, и чем лучше она прогревается в мелких гранулах, тем интенсивнее вспучивается.

Особенности вспученного перлита:

·    Имея малую насыпную плотность в пределах 100 кг/м3, он применяется для изготовления теплоизоляционных материалов, обладающих хорошими акустическими свойствами.

· Штукатурные растворы с применением вспученного перлитового песка используется как эффективный утеплитель, при этом 3 см такого раствора могут заменить 15 см кирпича.

·    Используя перлитовый песок М-75-200 и различные вяжущие материалы (цемент, гипс, известь) можно получить объемную массу в сухом состоянии от 400 до 1000 кг/м3, коэффициент теплопроводности от 0,12 до 0,32 ккал/м*час*оС при прочности от 5 до 75 кг/см2.

·              Применяется перлитовый песок в качестве наполнителя и добавок при производстве огнестойких и антикоррозийных обмазок, гипсовых перегородок, в качестве заполнителя легких бетонов, в качестве теплоизоляционных засыпок при температуре изолируемых поверхностей от -200 до +875 оС.

·              Обладая высокой открытой пористостью (до 75%), он интенсивно поглощает жидкие вещества, в том числе и органические. Так 10 кг вспученного перлита в течении 3-5 минут впитывают около 100 кг жидкости (воды, нефти, мазута и других жидких углеводородов). Практически один объем вспученного перлита поглощает один объем жидкости. При этом воду он с легкостью отдает обратно. Это свойство позволяет применять перлитовый песок: В сельском хозяйстве при редких поливах, повышенной засушливости. При разливе нефти, мазута и других жидких углеводородов адсорбционным методом локализации разлива. При этом нефтепродукты из смеси легко выгорают. Оставшаяся сыпучая масса, состоящая из перлитового песка и коксового остатка, может использоваться повторно или запахивается на месте.

2. Номенклатура и характеристика продукции

Используется для тепловой изоляции при температуре изолируемой поверхности от -200 до 875°С, а также в качестве теплоизоляционного материала для кислородных и компрессорных комплексов, для производства перлито-битумных и перлитоцементных теплоизоляционных изделий; при гидропонном выращивании сельскохозяйственных культур; при удалении разливов нефтепродуктов с любых поверхностей.

Получается высокотемпературным обжигом водосодержащего вулканического стекла - перлита.

Коэффициент теплопроводности при 25+5 o С Вт/(м o С) не более 0,043

Температура вспучивания - 1000°С

Температура применения - от -200 до +875°С

Влажность не более 2% по массе

Зерновой состав

Фракция от 0,16 до 5,0 мм (группа рядовой)

Марка по насыпной плотности

(насыпная плотность от 50 до 75 кг/м3)

(насыпная плотность от 75 до 100 кг/м3)

Крупнейшими потребителями вспученного перлита в России являются металлургические предприятия. Более 20% этого материала потребляется металлургами.

Наибольшее применение вспученный перлит нашел в изоляции блоков разделения воздуха на кислород и азот. С 1975 года по 1986 все существующие в СССР блоки разделения были переведены на вспученный перлит.

В 80-е - 90-е вспученный перлит нашел широкое применение при разливке чугуна и стали. Так вспученный перлит насыпной плотностью до 100 кг/м 3 многими металлургическими заводами используется при изоляции зеркала расплава в ковшах, изложницах, литейных формах.

Вспученный перлитовый песок с размерами частиц до 5 мм упакованный в бумажные мешки забрасывается на зеркало расплава. Мешок при соприкосновении с расплавленным металлом сгорает, а вспученный перлитовый песок рассыпается по зеркалу расплава. Образованный теплоизоляционный слой препятствует быстрому охлаждению расплава. При этом примеси, шлаки, присутствующие в металле переходят в прибыльную часть, улучшая, тем самым, качество основного металла. Концентрация шлаков, примесей, газовой фазы в прибыльной части увеличивает выход годного металла на кг расплава.

Еще одним направлением использования вспученного перлита в металлургии является его применение в литьевых формующих смесях. Добавка вспученного перлита в литейные пески делает стенки форм менее теплопроводными. Это способствует медленному остыванию отливок, а, следовательно, более полному выходу примесей и шлаков в прибыльную удаляемую часть.

Часто для лучшего распределения вспученного перлита по литьевой форме используют заранее подготовленные перлито-графитовые смеси.

Применение теплоизоляционных покрытий на основе вспученного перлита при производстве отливок из стали в объеме до 45%, цветных сплавов до 30, чугуна до 10 обеспечивает значительную экономию металлов: стали - 2250 тыс. т. в год; чугуна - 150; цветных сплавов - 1,5 тыс. т. в год.

Традиционной областью применения вспученного перлита в металлургии являются футеровочные работы. В России выпускается целый ряд огнеупоров на основе вспученного перлита. Наиболее распространенным материалом этого класса является перлитошамот. Температура применения до +900°С. Среди огнеупоров этого класса перлиталь, перлитодиатомит, эпсоперлит.

3. Характеристика используемого сырья

В качестве сырья для производства вспученного перлита применяются различные вулканические водосодержащие горные породы: перлиты, обсидианы, витрофиры, липариты, туфоперлиты, а в отдельных случаях плотные пемзы и др.

Месторождения этих горных пород встречаются в Сибири, на Дальнем Востоке, в Армении, Азербайджане, в Казахстане, Украине и др. Большие запасы сосредоточены на территории Армении, которые ориентировочно оцениваются в следующих размерах: перлиты 400 млн. м3, обсидианы около 200 млн. м3.

Перспективными районами признаны Закарпатье, Северный Кавказ, Закавказье, Приморский край, Бурятия, Таджикистан, Иркутская и Читинская области. Природный перлит представляет собой кремнеземистое кислое вулканическое стекло с включением полевых шпатов, кварца, биотита и других минералов. Его объемный вес 1700-2290 кг/м3. Общее содержание кремнезема в перлите доходит до 76%. Химический состав перлитов, встречающихся в России, может быть охарактеризован следующими данными: SiO2 - 68,98-76,42%; Аl2O3 - 11,27-14,62; CaO+MgO - 0,62-5,12; Na2O+К2O - 3,1-10,56; Fe2O3+FeO - 0,45-3,8%; ППП - 0,26-5,12. Связанной воды содержится в пределах от 3 до 8%.

4. Выбор и обоснование технологической схемы

Технология производства вспученного перлита включает дробление исходной породы (до 1… 2 мм при производстве песка и до 5… 10 мм при производстве щебня) и сортировку. Перед обжигом сырье в ряде случаев рекомендуется подвергать предварительной термической обработке в сушильном барабане или малой вращающейся печи при температуре 250… 450°С в течение нескольких минут. При этом удаляется свободная и слабосвязанная вода, в дальнейшем зерна породы могут при обжиге выдержать более высокую температуру, не растрескиваясь. Остаточной, трудноудаляемой воды в зернах вполне достаточно для бурного вспучивания при температуре до 1250°С.

Для получения вспученного перлита используют вертикальные (шахтные) и вращающиеся печи, а также печи кипящего слоя. Выбор конструкции печи определяется размером обжигаемых зерен, требуемыми свойствами заполнителя и запланированной производительностью.

Технология производства вспученного перлитового щебня и песка предусматривает термическую обработку сырья во вращающихся печах. Легкие мелкие фракции песка вспучиваются в основном во взвешенном состоянии и уносятся из печи потоком отходящих газов (с последующим осаждением в циклонах). Более крупные фракции, не увлекаемые газовым потоком, вспучиваются на футеровке печи и выгружаются. Для ускорения нагрева материала используют принцип прямотока, т.е. факел горящего топлива и поток газов направляют не навстречу потоку обжигаемого материала, а в том же направлении - по наклону печи.

Для производства вспученного перлитового щебня и песка выбираем технологическую схему представленную на рисунке 1. Данная схема способствует разделению вспученного песка и щебня непосредственно на стадии обжига, за счёт того что мелкие частицы вспучиваются в потоке газов и вместе с ними уносятся в бункер готовой продукции. Крупные частицы, в свою очередь, вспучиваются за счёт прижатия к футеровке, и доходя до конца печи удаляются с помощью пневмотранспорта. Вспучивание мелких частиц в потоке газов становиться возможным за счёт предварительного подогрева сырья до 250-400°С. Следовательно, данная схема является оптимальной для производства вспученного перлитового песка и щебня, так как позволяет исключить процесс сортировки готовой продукции, обеспечивая заданную марку по плотности.


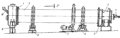
Технологическая схема производства перлитовых щебня и песка обжигом во вращающейся печи

- загрузочное устройство для сырья; 2 - элеватор ленточный; 3 - силос сырья; 4 - питатель тарельчатый; 5 - конвейер ленточный передвижной; 6 - элеватор ленточный; 7 - затвор реечный шиберный; 8 - питатель дисковый; 9 - печь термоподготовки СМТ-178; 10 - печь вспучивания вращающаяся СМТ - 179; 11 - дутьевой вентилятор; 12 - циклон; 13 - осадитель; 14 - сито-бурат; 15 - затвор-питатель; 16 - силосы готовой продукции; 17 - затвор челюстной; 18 - питатель дисковый (производство щебня); 19 - питатель ячейковый (производство песка).

Как показано на схеме, сырьё, поступая в загрузочное отверстие 1, подаётся по ленточному элеватору 2 в силос сырья 3. Затем, с помощью тарельчатого питателя 4, сырьё поступает последоательно на ленточный конвейер 5 и ленточный элеватор 6, проходя через шиберный затвор 7 и дисковый питатель 8 оно поступает в печь термоподготовки 9. С разгрузочной стороны печи в неё подаётся топливо (газ) и воздух. Такая подача топлива способствует постепенному нагреву сырья, исключая возможность преждевременного теплового удара.

Из печи термоподготовки сырьё поступает в печь спучивания 10. Воздух и топливо в печь подаётся со стороны загрузки, что способствует термическому удару, в следствии которого происходит вспучивание при температуре 1250°С.

Мелкие частицы выносятся из печи вместе с дымовыми газами и после очистки через затвор-питатель 15 попадают в приёмочный бункер 16. Крупные частицы по пневмотранспорту направляются в осадитель 13, а затем просеиваются в сито-бурате 14. Отсортированный продукт поступает в бункер готовой продукции 16.

Основным технологическим оборудованием при использовании данной схемы являются: печь термоподготовки СМТ - 178 и печь вспучивания вращающаяся СМТ - 179.

Печь термоподготовки СМТ - 178

- камера загрузки; 2 - футерованный барабан; 3 - топка; 4 - горелка; 5 - пересыпная течка; 6 - опорно-упорное устройство; 7 - привод; 8 - опорное устройство; 9 - шибер; 10 - загрузочная течка.

Печь термоподготовки СМТ - 178 показана на рисунке 3. Она состоит из футерованного барабана 2, камеры загрузки 1, привода 7, опорного 8 и опорно - упорного 6 устройств, топки 3, форсунки либо горелки 4.

Камера загрузки 1 одним торцом соединена с барабаном 2, а другой её торец имеет окно с загрузочной течкой 10. В верхней части камера загрузки соединена с трубопроводами системы очистки, а в нижней имеет шибер 9 для периодического удаления пылевидных фракций сырья.

Топка 3 имеет топочное пространство ти камеру разбавления. Топочное пространство с помощью фланца соединено с горелкой или форсункой 4, а камера разбавления - с пересыпной течкой 5.

Технические характеристики печи СМТ - 178: производительность (по сухому материалу) - 1600 кг/ч. Размер фракций перлитового сырья (обрабатывается раздельно) - 0,15…1,2; 1,2…2,5; 2,5…5; 5…10. Диаметр барабана: внутренний - 942 мм, наружный - 1200. Длина барабана - 8000 мм. Угол наклона печи - 2°.Мощность электродвигателя - 3,8; 4,8; 6 кВт. Теплоноситель - смесь дымовых газов с воздухом. Температура теплоносителя (на входе в печь) - 500…600°С. Топливо - природный газ или мазут. Расход топлива: газа - 50 м3/ч; мазута - 45 кг/ч.

Печь вспучивания вращающаяся СМТ - 179.

- камера выгрузки; 2 - уплотняющее устройство; 3 - футерованный барабан; 4 - топка; 5 - наклонный лоток; 6 - подающий трубопровод; 7 - горелка; 8 - механизм очитки пересыпной течки; 9 - опорное устройство; 10 - привод; 11 - опорно-упорное устройство.

На рисунке представлена пращающаяся печь СМТ - 179, редназначенная для вспучивания перлитового сырья с размером частиц 1,2…10 мми получения перлитового песка с насыпной плотностью 200 - 350 кг/м3, а также перлитового щебня с насыпной плотностью 300 - 600 кг/м3. Печь состоит из футерованного барабана 3, камеры выгрузки 1, привода 10, опорного 9 и опорно-упорного 11 устройств, топки 4, форсунки либо горелки 7 уплотняющего устройства 2 механизма очистки пересыпной течки 8.

Печь вспучивания - прямоточная.

Подготовленное в печи термоподготовки сырьё по наклонному лотку 5 поступает в барабан печи вспучивания. Режим печи вспучивания обеспечивает быстрый прогрев материала при кратковременном его пребывании в зоне максимальной температуры. Часть поступающего в печь перлита вспучивается в факеле. Основная масса довспучивается на футеровке и при вращении барабана печи транспортируется к камере выгрузки 1. Время пребывания материала в печи 40… 70 с.

Для создания нормальных санитарно-гигиенических условии труда необходима тщательная герметизация транспортирующих механизмов и бункеров, которые должны работать под небольшим разрежением. Обжиг перлитового сырья фракции 5-10 мм на щебень производится во вращающихся течах. Печь длиной 4 м и внутренним диаметром 0,8 м может выдавать в час 900-1200 кг вспученного перлита. Внутри она футеруется шамотным кирпичом слоем 120 мм, на котором и происходит вспучивание щебеночных и крупных песчаных зерен.

По опытным данным треста Иркутскалюминстрой хорошую стойкость показывает монолитная тальковая футеровка на жидком стекле. Во вращающейся печи можно получить и перлитовый песок, для чего обжиг мелких фракций сырья ведут во взвешенном состоянии. При этом увеличивается скорость вращения обжигового барабана и создается направленный газовый факел с установкой двух или более форсунок.

5. Технологические расчёты при проектировании производства

Фонды времени и режима работы оборудования.

Потребителю готовый продукт поставляется в бумажных многослойных мешках или другой таре, также защищающей перлит от загрязнения, распыления и увлажнения. В отдельных случаях допускается поставка щебня без упаковки. Транспортирование перлита производится в крытых транспортных средствах. В настоящее время имеется ряд разработанных типовых проектов предприятий по производству вспученного перлита.

При работе предприятия по производству вспученного перлитового песка и щебня выбирается трёхсменная круглосутчная работа в соответствии с нормами технологического проектирования - 3 смены по 8 часов. Годовой фонд рабочего времени Т = 8769 ч.

Рабочий годовой фонд времени работы технологического оборудования Ти (ч), на основании которого рассчитывают производственную мощность предприяия, определяют исходя из годового фонда рабочего времени Т с учётом использования оборудования во времени:


где  - коэффициент использования печей рабочей конструкции, используемых в производстве вспученного перлитового песка и щебня.

Режим работы складов по тгрузке готовой продукции - круглодовой, без выходных дней, трёхсменный.

Мощность предприятия и обжиговых агрегатов.

Технологические расчёты при проектировании предприятий и цехов исскуственных пористых заполнителей производят поэтапно. Сначала выбирают и обосновывают расчётом мощность обжиговых агрегатов, а затем на основе расчёта расхода сырья и материального баланса определяют производительность технологической линии, обслуживающих обжиговые агрегаты.

Мощность предприятия  определяют мощностями обжиговых агрегатов :

,

где  - количество обжиговых агрегатов.

Производственную мощность обжигового агрегата (м3/год) рассчитывают в зависимости от средней насыпной плотности готовой продукции:

,

Где  - часовая паспортная производительность агрегата при производстве вспученного перлитового щебня М300 (стр. 471 [2]);

 - расчётный годовой фонд времени работы оборудования, ч, принимают в соответствии с режимом работы предприятия;

 - объёмный коэффициент выхода продукции, для всученного перлитового песка и щебня М300 (табл 5.3 [3]).

Тогда, необходимое количество обжиговых агрегатов составит:

;

Округляя получаем .

Материальный баланс работы трёх обжиговых агрегатов:

Производительность по переделам производства.

Расчёты исходного сырья, полуфабриката и отовой продукции производят в порядке, обратном технологическому процессу, с опрделением производительности соответствующего передела на выходе и входе. За исходную величину принимают выход готовой продукции, поступающей на склад согласно заданной годовой производительности.

Удельный расход сырья (т/м3) рассчитывают с учётом предусматриваемых потерь:

,

где  - средняя насыпная плотность заполнителя;

 - потери при прокаливании;

 - влажность сырья, поступающего в производство;

 - технологические потери сырья.

При производстве вспученого перлитового песка и щебня потери сырья согласно нармам принимаются: при транспортировании - 1%, при измельчении - 2%, при сушке - 2%, при обжиге - 2%, при складировании - 1%. Тогда:

Производительность технологической линии (т/ч или м3/ч) по переработке сырья и подготовке гранул к обжигу равна:


где  - паспортная производительность производительного печи термоподготовки СМТ-178 (стр. 470 [2]);

;

 - коэффициент готовности, учитывающий устранение случайных отказов оборудования для вращающейся печи (табл 5.4 [3]).

Количество печей термоподготовки, обеспечивающих бесперебойную работу обжиговых агрегатов находим по формуле:


где  - потребность в сырье, принимаем равной суммарной производительности обжиговых агрегатов

Производительность по переделам производства

Материал по переделам

Ед. изм.

Количество в



Год

Сутки

Смену

Час

Поступает перлита марки 300 на склад готовой продукции: В том числе по фракциям: 5-10 10-20 Поступает на обжиг после термоподготовки: С влажностью 2%; м3/т95566,6 /27331312/93,6104/31,213/3,9







м3

47783/14335

156/46,8

52/15,6

6,5/1,95


м3

47783/14335

156/46,8

52/15,6

6,5/1,95


м3

112128/33638

384/115,2

128/38,4


Удельные материало- и энергозатраты.

Удельный расход сырья, электроэнергии и топлива предусматривается на основе технологических норм предприятия ОНТП 11 - 86.

Расход удельного топлива для одного агрегата СМТ - 178: газа - 50 м3/ч, мазута - 45 кг/ч. Для одного агрегата СМТ - 179: газа - 160 м3/ч, мазута - 145 кг/ч (на основании стр. 470-473 [2]).

Расход энергоресурсов

Тип оборудования

Расход энергоресурсов


Газа, м3

Мазута, кг/ч

Электроэнергии, кВт*ч/м3


На один агрегат

Полный

На один агрегат

Полный

На один агрегат

Полный

Печь термоподготовки СМТ-178

50

150

45

135

6

18

Печи вспучивания вращающаяся СМТ-179

160

480

145

435

7,2

21,6


6. Контроль производства и качества продукции

Выпускаемая продукция требуемого качества должна контролироваться согласно технологической карте при постоянном контроле основных параметров продукции. В технологической карте описывается три вида контроля.

Входной контроль - производиться проверка сырьевых материалов поступающих на предприятие.

Операционный контроль - это контроль технологического процесса, его параметров в ходе производства.

Приёмочный контроль устанавливает качество готовой продукции и её соответствие требованиям нормативных документов.

Контроль производства и качества вспученного перлитового песка и щебня

Профессия рабочего

Разряд

Кол-во рабочих, чел.

Всего чел.

Годовой фонд раб. времени

Годовое кол-во чел.-час

А. Производственные рабочие:

1

Дежурный слесарь

4

1

1

2

5372,8

10745,6

2

Дежурный электрик

5

1

1

2

5372,8

10745,6

3

Оператор элеватора

5

2

2

2

5372,8

21491,2

4

Оператор тарельчатого питателя

4

1

2

5372,8

10745,6

5

Оператор ленточного конвейера

4

1

1

2

5372,8

10745,6

6

Оператор шахтной печи

4

1

1

2

5372,8

21491,2

7

Оператор сушильного барабана

5

2

2

4

5372,8

21491,2

8

Оператор вращающейся печи

6

2

2

4

5372,8

21491,2


7. Охрана труда и окружающей среды

Охрана труда на стадии проектирования состоит в разработке мероприятий, обеспечивающих создание надлежащих санитарно-гигиенических и безопасных условий труда производственного персонала. В круг этих мероприятий входят решения касающиеся аспирации и обеспыливания, шумопонижения, нормализация температурно-влажностного режима, предотвращения опасных и вредных воздействий производственных факторов.

В производственных и вспомогательных помещения нужно предусматривать оборудование вентиляционных и отопительных систем, защиту от лучистого тепла в виде теплоизоляции технологического оборудования, переносных защитных экранов, установку на отдельных рабочих местах стационарных или передвижных теплоизолированных кабин с вентиляцией, устройство воздушных и водораспылительных завес, применение индивидуальных защитных приспособлений - щитков, экранов, касок, очков, светофильтров, масок и др.

Шум, создаваемый оборудованием или распространяющийся по рабочим помещениям, не должен превышать допустимых значений установленных «Санитарными нормами допустимых уровней шума на рабочих местах». Нормы устанавливают уровень звукового давления на среднегеометрических частотах от 31,5 до 8000 Гц соответственно от 107 до 69 дБ и уровень звука не выше 80 дБА.

Измерение шума и разработку мероприятий по защите от него выполняют в соответствии с ГОСТ 12.1.003 «Шум. Общие требования безопасности».

В проектах необходимо учитывать требования безопасности к производственным процессам, производственному оборудованию и организации рабочих мест, которые предусматривают «Правила техники безопасности и производственной санитарии промышленности строительных материалов»

Охрана окружающей среды предусматривает мероприятия, направленные на недопущение ухудшения окружающей среды от работы проектируемого предприятия. Сюда входит очистка отходящих газов печей и других агрегатов от пыли и иных вредных веществ, утилизация пыли, уловленной системами газоочистки печей и сушильных барабанов, рекультивация земель по завершении разработки карьеров и другие решения, вытекающие из специфики производства.

Первостепенное экологическое значение имеют проектные решения по аспирации и обеспылеванию. Они должны отвечать:

·        «Санитарным нормам проектирования промышленных предприятий» (СН 245)

·        ГОСТ 12.1.005 «Воздух рабочей зоны». Общие санитарно-гигиенические требования;

·        ГОСТ 17.2.02 «охрана природы. Атмосфера»;

·        Строительным нормам и правилам.

Вывод

Рост и обновление основных фондов промышленности, развитие общественного производства, ускорение фондоотдачи, научно-технический прогресс и рост благосостояния населения в большой степени связаны с эффективностью капитального строительства. Повышение эффективности строительного производства обеспечивается его индустриализацией, поэтому в решении перечисленных важнейших народнохозяйственных задач велика роль ускоренно развивающейся промышленности строительных изделий и конструкций.

Для получения вспученного перлита с зернами размером до 10 мм, в основном крупного песка, обжиг целесообразно производить в двухзонных печах кипящего слоя.

Применяют вспученный перлит в качестве теплоизоляционного материала и заполнителя для особо легких теплоизоляционных и конструкционно-теплоизоляционных, а также жаростойких бетонов.

В ряде случаев перлитовый песок используют как мелкий заполнитель в других видах легкого бетона: керамзитоперлитобетсне, шлакопемзоперлитобетоне и других, в которых крупный заполнитель - керамзит, шлаковая пемза, а мелкий - вспученный перлит. Опыт показал, что при этом насыпная плотность перлитового песка должна соответствовать М 200 или более, а содержание в нем фракции мельче 0,16 мм не должно превышать 10% по объему.

В связи с большим водопоглощением вспученного перлита и замедленной влагоотдачей представляет интерес его гидрофобизация растворами ГК.Ж-10 и ГКЖ-П, при которой, по данным КПИ и НИИСМИ (Киев), значительно уменьшается водопоглощение и создаются условия для более эффективного использования вспученного перлита.

Представляет интерес также баротермальный способ получения вспученного перлита, предложенный Г.И. Еворенко. При этом перлит сначала нагревается до температуры размягчения под давлением в паровой среде, а затем при сбросе давления вспучивается. Этим способом можно получить очень легкий материал со сравнительно высокой прочностью и малым водопоглощением.

Литература

технологический оборудование вспученный перлит

1)  С.М. Ицкович, Л.Д. Чумаков, Ю.М. Баженов. Технология заполнителей бетона. М. Высшая школа. 1991

2)      Под ред. Горбовцова. Строительные машины. Том 2. М. «Машиностроение».1991

)        Л.Д. Чумаков. Технология заполнителей бетона. Практикум. М. 2006

)        ГОСТ 10832-91 Песок и щебень перлитовые вспученные. Технические условия

)        ГОСТ 30566-98 Порошок перлитовый фильтровальный. Технические условия

Похожие работы на - Производство вспученного перлита

 

Не нашли материал для своей работы?
Поможем написать уникальную работу
Без плагиата!
Без нейросетей!