Порошковая металлургия

  • Вид работы:
    Дипломная (ВКР)
  • Предмет:
    Другое
  • Язык:
    Русский
    ,
    Формат файла:
    MS Word
    2,18 Мб
  • Опубликовано:
    2014-10-25
Вы можете узнать стоимость помощи в написании студенческой работы.
Помощь в написании работы, которую точно примут!

Порошковая металлургия

ВВЕДЕНИЕ

Порошковой металлургией называют область науки и техники, охватывающую производство металлических порошков, а также изделий из них или их смесей с неметаллическими порошками. Ее важными отличительными чертами являются получение и работа с твердым веществом в порошкообразном состоянии и проведение операции нагрева (спекания) заготовок из порошков при температуре ниже точки плавления соответствующего металла или, в случае смеси разнородных порошков, ниже температуры плавления наименее тугоплавкого компонента основы [1].

Среди имеющихся разнообразных способов обработки металлов порошковая металлургия занимает свое особое место, так как позволяет не только производить изделия (называемые порошковыми) различных форм и назначений, но и создавать принципиально новые материалы, получить которые иным путем крайне трудно или вообще невозможно.

Порошковая металлургия успешно конкурирует с литьем, обработкой давлением, резанием и другими методами, дополняя или заменяя их.

Основоположником порошковой металлургии является профессор Петербургского Горного института Петр Григорьевич Соболевский, который разработал улучшенный метод получения порошкообразной платины и технологию изготовления на ее основе изделий путем прессования порошка и последующего спекания прессованных заготовок, минуя стадии расплавления и литья [2].

В отличие от традиционных методов производства металлических изделий в порошковой металлургии при их изготовлении используется не литой металл, а порошки чистых металлов и их сплавов, порошки неметаллических материалов. Эта особенность порошковой металлургии позволяет создавать новые материалы из металлических элементов, которые могут значительно отличаться по температуре плавления и не сплавляться между собой, а также совмещать, в одном материале металлы с компонентами неметаллической природы. Это открывает широкие возможности для создания новых материалов с разнообразным комплексом механических и физико-химических свойств, присущих как компонентам металлической и неметаллической природы, так и соединениям, возникающим в результате их взаимодействия.

Особенность порошковой технологии - возможность создания из смесей порошков компактных материалов, минуя стадии плавления и литья, - открывает широкие перспективы для разработки новых материалов с разнообразным комплексом свойств, присущих как компонентам металлической и неметаллической природы, так и возникающих в результате взаимодействия гетерогенных высокодисперсных систем.

Применение методов порошковой металлургии при изготовлении различных деталей позволяет резко повысить производительность труда и эффективность производства, довести до минимума потери металла за счет сокращения многооперационности, снизить занятость рабочих в производственном цикле, сократить расход энергии на единицу изделия. Все эти преимущества порошковой металлургии перед другими видами производства создали предпосылки для ее интенсивного развития.

Важной особенностью при производстве порошков является возможность переработки в порошок отходов металлургической (кузнечной и прокатной окалины и т. п.) и машиностроительной промышленности (опилок, стружки и др.). Причем если при металлургическом переделе отходов в металл безвозвратно теряется более 20 % легирующих элементов и железа, то при переделке отходов в порошок их использование практически достигает 100 %. В то же время стоимость порошка, полученного из отходов, значительно меньше, чем порошка, полученного из первичного сырья [2].

В настоящее время порошковая технология в высшей степени отвечает требованиям ресурсосбережения и малоотходности, обеспечивая также возможность создания материалов, которые по физико-механическим и эксплуатационным характеристикам превосходят материалы, изготовляемые традиционными способами. Пористые материалы, многие антифрикционные, фрикционные, жаропрочные, инструментальные композиции, многие материалы со специальными магнитными, ядерными, электрическими и другими свойствами могут быть изготовлены только с использованием порошков [3].

Динамичное развитие порошковой металлургии объясняется тем, что она позволяет преодолевать технологические трудности изготовления изделий из тугоплавких металлов, создавать материалы с особыми, часто уникальными составами, структурой и свойствами, иногда вообще недостижимыми при применении других методов производства, либо с обычными физическими и механическими свойствами, но при существенно лучших экономических показателях [4].

1. КОНСТРУКТОРСКАЯ ЧАСТЬ

.1 Антифрикционные материалы

Порошковые антифрикционные материалы [4] предназначены для производства изделий с низкими потерями на трение; их определяющий признак - сравнительно низкий коэффициент трения (обычно ≤ 0,3, в том числе при наличии смазки < 0,1). Они работают в основном при граничной смазке, скоростях скольжения v ≤ 6м/с и давлениях p ≤ 25 МПа, т.е. при pv не более 150 - 200 МПа∙м/с. Прирабатываемость, определяемая временем, необходимым для снижения коэффициента трения между подшипником и валом до его заданной величины, у порошковых антифрикционных материалов обычно хорошая. Их структура должна быть гетерогенной, мелкозернистой и отвечать правилу Шарли, т.е. представлять собой сочетание твердых и более мягких компонентов, причем одним из них, самым мягким, в таких антифрикционных материалах являются поры - составляющая с нулевой твердостью; к тому же поры могут быть заполнены смазкой.

Именно метод порошковой металлургии наиболее эффективен для изготовления антифрикционных изделий различного химического состава с хорошей прирабатываемостью, высокой износостойкостью, низким и стабильным коэффициентом трения, хорошей сопротивляемостью схватыванию и другими полезными качествами. Наличие пор позволяет придавать антифрикционные свойства материалам, которые в литом состоянии ими не обладают (например, порошковое пористое железо или материалы на его основе успешно работают в различных узлах трения). Поры изменяют сам механизм прирабатываемости трущихся поверхностей. У порошковых материалов вследствие изменения и перераспределения объема пор происходит необратимая пластическая деформация в поверхностном и прилегающем к нему значительном по глубине (до нескольких миллиметров) приповерхностном слое, тогда как у литых материалов хорошая прирабатываемость обеспечивается только в поверхностном слое толщиной всего в несколько микрометров вследствие уменьшения шероховатости, в том числе и путем его износа [4].

Хорошая прирабатываемость порошкового пористого материала повышает качество поверхности, улучшая антифрикционные и эксплуатационные свойства изделий из него.

Говоря о порошковых антифрикционных [4] материалах и изделиях, обычно имеют в виду пористые подшипники, многослойные, металлопластмассовые и металлостеклянные антифрикционные материалы. Они находят широкое применение в тракторо- и сельхозмашиностроении, автомобильной промышленности, тяжелом, энергетическом и транспортном машиностроении, в текстильной и пищевой промышленностях, в авиационной и бытовой технике, приборостроении и др.

При обозначении марок порошковых антифрикционных материалов применяют буквы и цифры: Ж - железо, Гр - графит, Д - медь, Бр -бронза, О - олово, Н - никель, X - хром, М - молибден, К - сера и сульфидирование, Цс - сернистый цинк, Б - бор и борирование, Ц -цементирование, С - свинец, МГ - металлографит, Мс - дисульфид молибдена, Ф - фосфор, ФТ - фторопласт; цифры после букв указывают на содержание соответствующего элемента (например, ЖГр2 - 2% графита, остальное железо до 100 %).

Антифрикционные материалы [5] широко применяются для изготовления подшипников скольжения, воспринимающих нагрузки, возникающие при работе механизмов и машин, и обеспечивающих движение сопряженных деталей конструкции с одновременной фиксацией их в осевом и радиальном направлениях. Неизбежно возникающие при этом потери энергии на трение должны быть минимальными.

К порошковым антифрикционным материалам предъявляются следующие требования: низкий коэффициент трения, высокая износостойкость, большая несущая способность, хорошая прирабатываемость, достаточная статическая и динамическая прочность, большая теплопроводность и незначительное тепловое расширение [5].

Чтобы по возможности уменьшить трение контактирующих тел при скольжении, необходимо разделить поверхности скольжения пленкой жидкой или газообразной смазки. Смазка исключает прямой контакт и значительно уменьшает износ контактирующей пары, снижая потери энергии на трение. Однако это имеет место не всегда и не везде. Очень часто контактирующие пары работают в условиях смешанного трения, когда жидкостному трению сопутствует сухое трение контактирующих тел (например, в подшипниках с гидродинамической смазкой при разгоне и остановке, когда давление, возникающее в зазоре между валом и подшипником, недостаточно для создания сплошной смазочной пленки).

В ряде случаев подача смазки в подшипники после их установки в машине затруднена или вообще невозможна. В этих условиях необходимо либо заранее снабдить подшипники достаточно большим запасом смазки, либо сделать так, чтобы смазка содержалась в самом материале подшипников. Такие материалы называют длительно смазывающимися. Если сам материал подшипников обладает смазочными свойствами (высокополимеры и графит), то речь идет о самосмазывающихся подшипниках.

Подшипники скольжения, работающие без смазки, могут изготавливаться из антифрикционных материалов методом порошковой металлургии. Поры таких материалов пропитываются жидкими или газообразными смазками; смазочный материал может входить в состав композита в виде твердой составляющей. Доля выпуска подшипниковых материалов в объеме производства всей отрасли порошковой металлургии составляет в отдельных индустриально развитых странах 15-35 % [5].

1.2 Требования, предъявляемые к материалам пресс-форм

После определения схемы применения пресс-формы необходимо выбрать материал основных деталей пресс-формы, так как только после этого можно провести расчеты на жесткость и прочность, сконструировать пресс-форму и разработать технологию её изготовления [6].

Помимо характеристик жёсткости и прочности, определяющих размеры пресс-формы и её конструкцию, при выборе материала пресс-форм для холодного прессования порошков необходимо учитывать его износостойкость в условиях абразивного износа прессуемым порошком, предел выносливости в условиях растяжения-сжатия или несимметричного сжатия, дефицитность и обрабатываемость. Наиболее полной характеристикой материала пресс-формы являются затраты на её изготовление, отнесенные к тому количеству прессовок, которое можно снять с пресс-формы до достижения ею предельного износа. В табл. 1.1, 1.2 приведены технические и технико-экономические характеристики материалов пресс-форм для холодного прессования, определяющие выбор материала в зависимости от масштабов производства и ряда других факторов [1].

Для изготовления пресс-форм [7] применяют инструментальные и износостойкие стали, легированные хромом, марганцем, вольфрамом и другими элементами. Рекомендуемые материалы для пресс-форм указаны в табл. 1.3.

Для повышения износостойкости матрицы ее рабочие поверхности подвергают хромированию, сульфидированию и другим методам упрочнения. Кроме того, для матриц, стержней, пуансонов рекомендуется металлокерамические твёрдые сплавы ВК8, ВК11, ВК15, ВК20, позволяющие в несколько раз увеличить их срок службы [7].

1.3 Формообразующее оборудование

Основное место среди оборудования для формообразования заготовок и изделий из порошков занимает кузнечно-штамповочное (кузнечно-прессовое)

Таблица 1.1 - Свойства материалов в условиях работы пресс-форм для прессования порошков

Материал рабочих частей пресс-форм

Вид термообработки*

Твердость, HRC

Микротвердость поверхностного слоя, МПа

Износ, мкм за 5 тыс. прессований





матрицы

стержня

У10А

1 2 3 4

62 56-60 38-42 60

- 10500 8000 11500

14,2 8,5 10 8,6

9,2 7,2 8,25 2,6

3Х2В8Ф

1 2 3 4

40-50 40-42 38-45 41-42

- 15000 9500 12200

- 1 5,6 7,2

- 1,6 4,8 6

ХВГ

1 2 3 4

62 61-62 48-54 57-60

- 12200 10500 15000

8,3 3,8 5,3 5

6 2 4,2 3

Х12М

1 2 3 4

62-63 58-60 55 60-61

- 18000-20000 10500 13000-15000

4 1,7 2,5 2,4

3,6 0,83 2,3 0,86

Р6М5

1 2 3 4

63 65-68 60 52-54

- 19000-21000 11000 18000

2,4 1,7 2 1,9

- - - -

ВК20

-

69

-

0,8

-

Т50НС

-

69

-

2,7

-

*1 - закалка с отпуском, 2 - борирование и закалка, 3 - закалка и азотирование, 4 - диффузионное хромирование и закалка.


оборудование, основным назначением которого является объемное формообразование промежуточных заготовок - прессовок или штамповок - из массы свободно насыпанного или предварительно сформованного порошка. Любая машина этой группы содержит в своем составе привод, аккумулятор энергии привода, передаточный механизм, исполнительное звено с формообразующим инструментом, силовоспринимающую конструкцию.

Общая классификация кузнечно-штамповочных машин приведена на рис. 1.1. В основу этой классификации положены: характер изменения скорости

Таблица 1.2 - Приведенные относительные затраты на изготовление пресс-форм

Материал рабочих частей пресс-форм

Вид термообработки

Относительные затраты на изготовление одной пресс-формы

Стойкость пресс-форм, тысяч прессований

Относительные затраты на одну тысячу прессований, % к эталону



материал, % к общим

обработка, % к общим

общие, % к эталону



У10А

1 2 3 4

1 17 15 4

99 83 85 96

76 104 98,5 84

8,5 13,5 13,5 12

620 540 510 500

3Х2В8Ф

1 2 3 4

9 22 20 11

91 78 80 89

82 110 104 90

- 16,5 100 21

- 475 74 306

ХВГ

1 2 3 4

2,5 18 16 6

97,5 82 84 94

76 105 100 85

14,5 24 21,5 22,5

370 306 220 264

Х12М

1 2 3** 4

3 18 16 6

97 82 84 94

77 105 100 85

30 50 70,5 48

179 147 100 124

Р6М5 (матрица)

1 2 3 4

10 22 21 10

90 78 79 90

83 111 105 105

50 63 70 57

115 123 105 112

ВК20 (матрица)

-

18

82

169

150

78

Т50НС (матрица)

-

16

84

163

44

259

*1 - закалка с отпуском, 2 - диффузионное хромирование и закалка, 3 - борирование и закалка, 4 - закалка и азотирование. ** - Эталон.


рабочего звена исполнительного механизма машины на участке рабочего хода, т. е. перемещения во время преодоления сопротивления деформированию; уровень скорости приложения нагрузки в начальный момент рабочего хода; принцип работы машины. Количественные критерии для отнесения машины к тому или иному классу приведены в табл. 1.4, где v - скорость деформирующего инструмента в начальный момент деформирования; |v| -средняя скорость процесса формоизменения; t - продолжительность взаимодействия деформирующего

Таблица 1.3 - Рекомендуемые материалы для пресс-форм

Наименование деталей пресс-форм

Рекомендуемая марка стали для деталей пресс-форм

Твёрдость материала HRC

Деталь пресс-форм

Степень сложности пресс-форм

Основной

Возможный заменитель


Матрицы и стержни

Простой формы

ШХ15

ХВГ

58-62


Средней сложности

ХВГ

ШХ15

58-62


Сложной формы и для пресс-формы, предназначенных для работы с большими нагрузками

3Х12

-

58-62


Для пресс-форм, Предназначенных для работы с подогревом до 250-300ºС

Х12Ф1

Х12М

58-62

Пуансоны

Простой формы

ХВГ

9ХС

57-60


Сложной формы

Х12Ф1

ХВГ

57-60

Обоймы

Для съёмных пресс-форм

45

40

35-40


Для стационарных пресс-форм

45

40-45

Направляющие колонки и втулки

Для пресс-форм любого назначения

20Х

20

56-58

Пуансонодержатели, штыри, крышки, ограничители, подкладочные плитки

Для пресс-форм любого назначения

45

40

35-45


инструмента и деформируемой заготовки; Т0 - период наиболее медленных колебаний взаимодействующих масс.

В порошковой металлургии в той или иной степени находят применение все виды машин, представленных в классификационной схеме.

Прессом называют машину квазистатического действия, в которой преодоление сопротивления заготовки деформированию осуществляется при перемещении рабочего звена - ползуна, а усилие деформирования воспринимается замкнутой силовой несущей системой, включающей исполнительный механизм,

Рисунок 1.1 - Классификация кузнечно-штамповочных машин

Таблица 1.4 - Скоростные критерии классификации кузнечно-прессовых машин

Взаимодействие

Диапазон изменений относительных характеристик взаимодействия


максимальной скорости

продолжительности

Статическое

υ/׀υ׀≤ t/


Квазистатическое

< υ/׀υ׀10 < t/


Квазиударное

< υ/׀υ׀≤110 < t/


Ударное

1< υ/׀υ׀ 5

1< t/≤ 10

تâàçèèىïَëüٌيîه

5< υ/׀υ׀≤ 10

0,5< t/≤ 1

بىïَëüٌيîه

10 < υ/׀υ׀

t/≤ 0,5


جîëîٍîى يàçûâà‏ٍ ىàّèيَ َنàًيîمî è êâàçèَنàًيîمî نهéٌٍâèے, â êîٍîًîé ٌîïًîٍèâëهيèه çàمîٍîâêè نهôîًىèًîâàيè‏ ïًهîنîëهâàهٌٍے çà ٌ÷هٍ ًàٌُîنîâàيèے êèيهٍè÷هٌêîé ‎يهًمèè, يàêîïëهييîé èٌïîëيèٍهëüيûى çâهيîى ê ىîىهيٍَ يà÷àëà نهôîًىèًîâàيèے. آهëè÷èيà ‎ٍîé ‎يهًمèè ےâëےهٌٍے îٌيîâيûى ïàًàىهًٍîى ىîëîٍà. ہêêَىَëےٍîًîى يهًمèè ےâëےهٌٍے َنàًيàے ىàٌٌà.

ذîٍîًيîé يàçûâà‏ٍ ىàّèيَ êâàçèٌٍàٍè÷هٌêîمî نهéٌٍâèے, â êîٍîًîé ïًهîنîëهيèه ٌîïًîٍèâëهيèے çàمîٍîâêè نهôîًىèًîâàيè‏ îٌَùهٌٍâëےهٌٍے ïًè âًàùهيèè ًàلî÷همî îًمàيà ٌ èيًٌٍَىهيٍîى èëè çàمîٍîâêè ïًè يهïًهًûâيîى ïهًهىهùهيèè çîيû êîيٍàêٍà çàمîٍîâêè ٌ èيًٌٍَىهيٍîى. أëàâيûىè ïàًàىهًٍàىè ىàّèيû ىîمٍَ ےâëےٍüٌے ًàçâèâàهىûه ه ٌَèëèے èëè êًٍَےùèé ىîىهيٍ. ہêêَىَëےٍîًîى يهًمèè ےâëےهٌٍے ىàُîâèê.

بىïَëüٌيîé يàçûâà‏ٍ ىàّèيَ, â êîٍîًîé ًٌهنيèé مًàنèهيٍ يàًàٌٍàيèے ٌêîًîٌٍè ïهًهنà‏ùهé ًٌهنû âî âًهىهيè â ïًîِهٌٌه âîçنهéٌٍâèے يà نهôîًىèًَهىûé ىàٍهًèàë èëè ïًîىهوٍَî÷يîه çâهيî ïًهâûّàهٍ 104 ى/ٌ2. دًهîنîëهيèه ٌîïًîٍèâëهيèے çàمîٍîâêè نهôîًىèًîâàيè‏ îٌَùهٌٍâëےهٌٍے ًٌهنîé, ïهًهنà‏ùهé نàâëهيèه - مàçîى, وèنêîٌٍü‏, ٍâهًنûى ٍهëîى. ہêêَىَëےٍîًîى يهًمèè ےâëےهٌٍے ٌàى يهًمîيîٌèٍهëü - âçًûâ÷àٍîه âهùهٌٍâî, مîً‏÷èé مàç è نً. خٌيîâيûى ïàًàىهًٍîى ےâëےهٌٍے يهًمèے èىïَëüٌà نàâëهيèے.

بçîٌٍàٍîى يàçûâà‏ٍ ىàّèيَ êâàçèٌٍàٍè÷هٌêîمî نهéٌٍâèے, â êîٍîًîé ïًهîنîëهيèه ٌîïًîٍèâëهيèے çàمîٍîâêè نهôîًىèًîâàيè‏ îٌَùهٌٍâëےهٌٍے ًٌهنîé, ïهًهنà‏ùهé نàâëهيèه. خٌيîâيûى ïàًàىهًٍîى ےâëےهٌٍے نàâëهيèه ًàلî÷هé ًٌهنû, ‎ٍà وه ًٌهنà ےâëےهٌٍے àêêَىَëےٍîًîى يهًمèè.

تًîىه êَçيه÷يî-ïًهٌٌîâûُ ىàّèي, ôîًىîîلًàçَ‏ùهه îلîًَنîâàيèه نëے ïîًîّêîâîé ىهٍàëëًَمèè âêë‏÷àهٍ â ٌهلے ٌٍàيû نëے ïًîêàٍêè ïîًîّêà è ‎êًٌٍَنهًû نëے ôîًىîîلًàçîâàيèے çàمîٍîâîê èç ïëàٌٍèôèِèًîâàييûُ ïîًîّêîâ.

1.3.1 صàًàêٍهًèٌٍèêà ïًهٌٌîâ

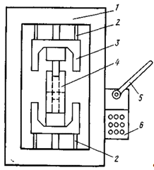
دًè ïîىîùè ïًهٌٌîâ â ïîًîّêîâîé ىهٍàëëًَمèè îٌَùهٌٍâëے‏ٍ ïًهٌٌîâàيèه ïîًîّêîâ, êàëèلًîâàيèه ٌïه÷هييûُ çàمîٍîâîê, ُîëîنيَ‏ è مîًے÷َ‏ îلْهىيَ ٍّàىïîâêَ ïîًîّêîâûُ (ٌïه÷هييûُ) çàمîٍîâîê, âûًَلêَ çàمîٍîâîê èç ïîًîّêîâîمî ëèٌٍîâîمî ïًîêàٍà. حهçàâèٌèىî îٍ ٍèïà ïًهٌٌû âêë‏÷à‏ٍ ٌëهنَ‏ùèه îٌيîâيûه َçëû, êîٍîًûه ïîêàçàيû يà ًèٌ. 1.2: ٌٍàيèيَ 1 çàىêيٍَîمî (à) èëè ًàçîىêيٍَîمî (ل) ٍèïà, ےâëے‏ùَ‏ٌے لàçîâîé نهٍàëü‏ ïًهٌٌà, âهًُي‏‏ 3 è يèوي‏‏ 6 ïëèٍû (ًٍàâهًٌû), âهًُيèé ïَàيٌîي 4, ïًèâîن 2 âهًُيهé ïëèٍû èëè لàçèًَ‏ùèٌُے يà يهé ‎ëهىهيٍîâ, ïًèâîن 8 يèويهé ïëèٍû èëè لàçèًَ‏ùèٌُے يà يهé ‎ëهىهيٍîâ, ïًهٌٌôîًىَ èëè ïًهٌٌَ‏ùèé لëîê 5, êàٌٌهٍَ-ïèٍàٍهëü نëے ïîًîّêà èëè ًٌٍَîéٌٍâî نëے ïîنà÷è êàëèلًَهىûُ çàمîٍîâîê 10, ًٌٍَîéٌٍâà 7, âûٍàëêèâà‏ùèه îٍïًهٌٌîâàييَ‏ (îٍêàëèلًîâàييَ‏) çàمîٍîâêَ èç يهïîنâèويîé ىàًٍèِû (à) èëè ٌٍےمèâà‏ùèه ىàًٍèَِ âيèç ٌ يهïîنâèويîé çàمîٍîâêè (ل), ًٌٍَîéٌٍâà âûâîنà îٍïًهٌٌîâàييîé çàمîٍîâêè èç ًàلî÷هé çîيû, ًٌٍَîéٌٍâà êîيًٍîëے, َïًàâëهيèے è ïهًهيàëàنêè ïًهٌٌà (يà ًèٌ. 1.2 îٍنهëüيûىè ïîçèِèےىè يه âûنهëهيû), ôَينàىهيٍ 9 èëè لهٌôَينàىهيٍيûه àىîًٍèçèًَ‏ùèه ًٌٍَîéٌٍâà. دهًه÷èٌëهييûه َçëû ےâëے‏ٌٍے ٍèïè÷يûىè نëے ىيîمèُ âèنîâ êَçيه÷يî-ïًهٌٌîâîمî îلîًَنîâàيèے (ïًهٌٌîâ è ىîëîٍîâ نëے ٍّàىïîâêè èçنهëèé èç êîىïàêٍيûُ çàمîٍîâîê, ïًهٌٌîâ نëے ôîًىîâàيèے ïëàٌٍىàٌٌ, ïًهٌٌîâ نëے يهêîٍîًûُ âèنîâ ëèٌٍîâîé ٍّàىïîâêè è âûًَلêè è نً.). خٌîلهييîٌٍè ïًهٌٌَهىîمî ىàٍهًèàëà (ïîًîّêà) îلٌَëîâëèâà‏ٍ ًےن îٌîلهييîٌٍهé êîيًٌٍَêِèè ٍèïîâûُ َçëîâ è ïًهٌٌîâ â ِهëîى:

) ïîëَ÷هيèه يهٌêîëüêèُ ٌٍََïîâ â èçنهëèè (ôîًىîâàيèه êàونîمî èç ًàçيîâûٌîٍيûُ ‎ëهىهيٍîâ èçنهëèے) ًٍهلَهٍ يهçàâèٌèىûُ ٌèëîâûُ نâèوهيèé ٌîîٍâهٌٍٍâَ‏ùèُ ïَàيٌîيîâ, ïî‎ٍîىَ ïًهٌٌû èىه‏ٍ يهٌêîëüêî ïًèâîنîâ ٌèëîâûُ نâèوهيèé âهًُيèُ è يèويèُ ïَàيٌîيîâ, ٌٍهًويهé, ىàًٍèِû, èëè ٌيàلوà‏ٌٍے ٌïهِèàëüيîé îٌيàٌٍêîé - ïًهٌٌ-لëîêàىè (àنàïٍهًàىè), êîٍîًûه ïîçâîëے‏ٍ ًٍàيٌôîًىèًîâàٍü ïًîٌٍîه نâèوهيèه ًٍàâهًٌû ïًهٌٌà â ًےن يهçàâèٌèىûُ نâèوهيèé ôîًىîîلًàçَ‏ùèُ ‎ëهىهيٍîâ;

) يهïîٌٍîےيٌٍâî ôèçèêî-ىهُàيè÷هٌêèُ è ٍهُيîëîمè÷هٌêèُ ٌâîéٌٍâ ïîًîّêîâ îلٌَëîâëèâàهٍ يهîلُîنèىîٌٍü ÷àٌٍîé ïîنيàëàنêè èٌُîنيûُ è êîيه÷يûُ ïîëîوهيèé ïَàيٌîيîâ è ىàًٍèِû, نëے ÷همî ïًهٌٌû èىه‏ٍ

ëهمêîنîٌٍَïيûه ىهُàيèçىû ًهمَëèًîâîê ُîنîâ è èٌُîنيûُ ïîëîوهيèé ًàلî÷èُ ÷àٌٍهé;

) ïًهٌٌû ٌيàلوà‏ٍ ًٌٍَîéٌٍâàىè نëے َنîليîمî ًهمَëèًîâàيèے ÷èٌهë ُîنîâ â ّèًîêîى نèàïàçîيه;

) â ٌâےçè ٌ àلًàçèâيûىè ٌâîéٌٍâàىè ïîًîّêîâ âٌه îٍâهٌٍٍâهييûه ىهُàيèçىû è ïîâهًُيîٌٍè çàùèùهيû îٍ ïîïàنàيèے يà يèُ ïîًîّêîâ;

) â ٌâےçè ٌ îٍيîٌèٍهëüيî يهâûٌîêîé يàنهويîٌٍü‏ ىهُàيèçىîâ نîçèًîâàيèے ïîًîّêà è îٍيîٌèٍهëüيî يهâûٌîêîé ٍî÷يîٌٍü‏ نîçèًîâàيèے يà ïًهٌٌàُ ٌٍَàيàâëèâà‏ٍ َêàçàٍهëè ٌَèëèے ïًهٌٌîâàيèے è îمًàيè÷èٍهëè ïî ٌَèëè‏.

ؤëے îِهيêè ٍهُيè÷هٌêîمî ًَîâيے ïًهٌٌà èëè مàىىû ïًهٌٌîâ â ٌîïîٌٍàâëهيèè ٌ لàçîâûى ïًهنٌٍàâèٍهëهى èëè لàçîâîé مàىىîé (êîيêًَèًَ‏ùèى ٍèïîى, ىîنهëü‏) يهîلُîنèىî èىهٍü ًےن ُàًàêٍهًèٌٍèê ïًهٌٌà, îلْهنèيےهىûُ â ٌëهنَ‏ùèه مًَïïû:

ٌèëîâûه;

ٌêîًîٌٍيûه;

مهîىهًٍè÷هٌêèه ïàًàىهًٍû ًàلî÷همî ïًîًٌٍàيٌٍâà;

ذèٌَيîê 1.2 - خٌيîâيûه ‎ëهىهيٍû êîيًٌٍَêِèè ïًهٌٌîâ نëے ïًهٌٌîâàيèے ïîًîّêîâ

مàلàًèٍيûه è ىàٌٌîâûه ُàًàêٍهًèٌٍèêè ïًهٌٌà â ِهëîى;

ïàًàىهًٍû ٌèëîâîمî ïًèâîنà (ىîùيîٌٍü ‎ëهêًٍîنâèمàٍهëهé, نàâëهيèه â مèنًî- è ïيهâىîٌèٌٍهىàُ);

ٍهىïهًàًٍَà è ُàًàêٍهًèٌٍèêè àٍىîٌôهًû â ًàلî÷هى ïًîًٌٍàيٌٍâه (نëے ïًهٌٌîâ مîًے÷همî ïًهٌٌîâàيèے);

ِهيà;

يîًىû ٍî÷يîٌٍè;

يîًىû يàنهويîٌٍè è نîëمîâه÷يîٌٍè;

) ًَîâهيü ىهُàيèçàِèè è àâٍîىàٍèçàِèè;

) ُàًàêٍهًèٌٍèêè ‎ًمîيîىè÷يîٌٍè, â ٍîى ÷èٌëه ًَîâيے ٍهُيèêè لهçîïàٌيîٌٍè, ïًîىٌàيèٍàًèè è ٍهُيè÷هٌêîé ‎ٌٍهٍèêè;

) يîًىû ًهىîيٍîïًèمîنيîٌٍè, â ÷àٌٍيîٌٍè, îٌيàùهييîٌٍü ًٌهنٌٍâàىè نèàميîٌٍèêè ٍهُيè÷هٌêîمî ٌîٌٍîےيèے;

) ٌîٌٍàâ è ُàًàêٍهًèٌٍèêè îٌيàٌٍêè è ٌïهِèàëüيîمî èيًٌٍَىهيٍà;

) ïًèâهنهييàے ٌٍîèىîٌٍü ‎êٌïëَàٍàِèè ïًهٌٌà â هنèيèَِ âًهىهيè.

صàًàêٍهًèٌٍèêè ïهًâûُ ّهٌٍè مًَïï èيوهيهًهُيîëîم çàèىٌٍâَهٍ èç îلùهٍهُيè÷هٌêîé ëهمêîنîٌٍَïيîé ëèٍهًàًٍَû, ِهيَ - èç ïًهéٌêًَàيٍîâ è èٌïîëüçَهٍ èُ يà ‎ٍàïه ïًهنâàًèٍهëüيîé îِهيêè èëè âûلîًà ïًهٌٌà. ؤëے ïîëَ÷هيèے îٌٍàëüيûُ ُàًàêٍهًèٌٍèê يهîلُîنèىî ًàٌïîëàمàٍü ïîëيûى êîىïëهêٍîى ٍهُيè÷هٌêîé نîêَىهيٍàِèè يà êîيêًهٍيَىîنهëü ïًهٌٌà (مàىىَ ïًهٌٌîâ) è èيôîًىàِèهé îل îïûٍه ‎êٌïëَàٍàِèè ïًهٌٌîâ يà çàâîنàُ-ïîًٍهلèٍهëےُ.

دًèâهنهييàے ٌٍîèىîٌٍü ‎êٌïëَàٍàِèè ےâëےهٌٍے êîىïëهêٌيûى ïîêàçàٍهëهى, îًٍàوà‏ùèى âëèےيèه âٌهُ ÷àٌٍيûُ ٍهُيè÷هٌêèُ ïîêàçàٍهëهé, è ىîوهٍ لûٍü ًàٌٌ÷èٍàيà, هٌëè èçâهٌٍيû ÷èٌëîâûه çيà÷هيèے ÷àٌٍيûُ ïîêàçàٍهëهé. دًè ًàâهيٌٍâه ïîêàçàٍهëهé êà÷هٌٍâà ïًهٌٌîâàييûُ çàمîٍîâîê ïًèâهنهييàے ٌٍîèىîٌٍü ‎êٌïëَàٍàِèè ےâëےهٌٍے يà ٌهمîنيےّيèé نهيü يàèلîëهه ïîëيûى è îلْهêٍèâيûى êîëè÷هٌٍâهييûى ïîêàçàٍهëهى êà÷هٌٍâà ïًهٌٌîâ, ٍàê وه êàê è نًَمèُ âèنîâ ٌëîويîمî îلîًَنîâàيèے.

دًهٌٌû, èٌïîëüçَهىûه è يàٌٍîےùهه âًهىے â ïîًîّêîâîé ىهٍàëëًَمèè نëے îنيî- èëè نâٌٍَîًîييهمî ïًهٌٌîâàيèے, ïî ٍèïَ ïًèâîنà, يàïًàâëهيè‏ يàمًَوهيèے è ٌٍهïهيè àâٍîىàٍèçàِèè ىîمٍَ لûٍü êëàٌٌèôèِèًîâàيû ٌëهنَ‏ùèى îلًàçîى: مèنًàâëè÷هٌêèه è ىهُàيè÷هٌêèه, âهًٍèêàëüيûه هًُيهمî è يèويهمî نàâëهيèے) èëè مîًèçîيٍàëüيûه (êàê ïًàâèëî, ٍîëüêî مèنًàâëè÷هٌêèه), àâٍîىàٍèçèًîâàييûه è يهàâٍîىàٍèçèًîâàييûه. آ ٌâî‏ î÷هًهنü ىهُàيè÷هٌêèه ïًهٌٌû لûâà‏ٍ êًèâîّèïيûه, êًèâîّèïيî-êîëهييûه, êَëà÷êîâûه è êàًٌَهëüيûه.

دًهٌٌû, ïًèىهيےهىûه â ïîًîّêîâîé ىهٍàëëًَمèè, نîëويû îلهٌïه÷èâàٍü: نîٌٍàٍî÷يîه نàâëهيèه â ًٍهلَهىîى يàïًàâëهيèè; âîçىîويîٌٍü ًهمَëèًîâàيèے ُîنà è ٌêîًîٌٍهé ïًهٌٌîâàيèے è âûٍàëêèâàيèے; âîçىîويîٌٍü ًهمَëèًîâàيèے يàïîëيهيèے ïًهٌٌ-ôîًىû ïîًîّêîى; ٌèيًُîيèçèًîâàيèه ُîنîâ ٌîٌٍàâيûُ ïَàيٌîيîâ; âîçىîويîٌٍü ًهمَëèًîâàيèے ًàلî÷èُ ُîنîâ ٌèëîâûُ ïهًهنà÷; وهٌٍêîٌٍü êîيًٌٍَêِèè; èçيîٌîٌٍîéêîٌٍü ïًîٍèâ àلًàçèâيîمî نهéٌٍâèے ïًهٌٌَهىîمî ىàٍهًèàëà; ïًîٌٍîٍَ ٌèٌٍهى ٌىàçêè è َنîليîه ًàٌïîëîوهيèه ىهُàيèçىîâ َïًàâëهيèے è ًهمَëèًîâêè.

دàًê ïًهٌٌîâ, نهéٌٍâَ‏ùèُ يà çàâîنàُ, âهٌüىà ىيîمîîلًàçهي, ÷ٍî ٌâےçàيî ٌ يهïîننà‏ùèىٌے ٍî÷يîىَ َ÷هٍَ êîëè÷هٌٍâîى ٍèïîًàçىهًîâ èçنهëèé, ïًهٌٌَهىûُ èç ïîًîّêîâ, êîٍîًûه ًàçëè÷à‏ٌٍے êàê ïî ٌîٌٍàâَ,- ٍàê è ïî ïًهٌٌîâî÷يûى ٌâîéٌٍâàى.

1.3.2 جهُàيè÷هٌêèه ïًهٌٌû

خٌيîâيûىè ٍèïàىè ىهُàيè÷هٌêèُ ïًهٌٌîâ, ïًèىهيےهىûُ â ïîًîّêîâîé ىهٍàëëًَمèè, ےâëے‏ٌٍے êًèâîّèïيûه (êًèâîّèïيî-ّàٍَييî-ïîëçَييûه è êًèâîّèïيî-êîëهييî-ïîëçَييûه) è ‎êٌِهيًٍèêîâûه (êَëà÷êîâûه). تًèâîّèïيûه ïًهٌٌû ïًèىهيے‏ٍ ïًè ïًهٌٌîâàيèè è êàëèلًîâàيèè çàمîٍîâîê ë‏لûُ مًَïï ٌëîويîٌٍè, ‎êٌِهيًٍèêîâûه - ïًè ïًهٌٌîâàيèè çàمîٍîâîê ïًîٌٍûُ ôîًى ٍèïà مëàنêèُ ِèëèينًîâ è âٍَëîê [6].

آàويهéّèىè êîىïëهêٍَ‏ùèىè èçنهëèےىè ٌîâًهىهييûُ ïًهٌٌîâ نëے ïًهٌٌîâàيèے ïîًîّêîâ ےâëے‏ٌٍے ïًهٌٌَ‏ùèه لëîêè (àنàïٍهًû), çàمًَçî÷يî-ًàçمًَçî÷يûه ىهُàيèçىû, ٌèٌٍهىû ×دس ïًهٌٌîى.

دًهٌٌ-لëîêîى نàïٍهًîى) يàçûâà‏ٍ ïًèٌïîٌîلëهيèه, êîٍîًîه ىîويî ٌيèىàٍü ٌ ïًهٌٌà è ٌٍَàيàâëèâàٍü يà يهمî, ًàçىهùàے âيًٍَè ٌàىîمî ïًهٌٌ-لëîêà ïًهٌٌ-ôîًىَ, â êîٍîًîé ïًهٌٌَهٌٍے ïîًîّîê. دًèىهيهيèه ïًهٌٌ-لëîêîâ ïîçâîëےهٍ:

) لûًٌٍî ïهًهيàëàوèâàٍü ïًهٌٌ يà èçمîٍîâëهيèه ًàçëè÷يûُ نهٍàëهé, ïîٌêîëüêَ ïًè يàëè÷èè يهٌêîëüêèُ ïًهٌٌ-لëîêîâ ïًهٌٌيًٌٍَىهيٍ ٌٍَàيàâëèâà‏ٍ â لëîê âيه ïًهٌٌà è ôîين âًهىهيè ًàلîٍû ïًهٌٌà ًàٌُîنَهٌٍے ٍîëüêî يà âûïîëيهيèه îٌيîâيîé îïهًàِèè;

) â îïًهنهëهييîé ٌٍهïهيè êîىïهيٌèًîâàٍü يهٍî÷يîٌٍü ïهًهىهùهيèé è âçàèىيîمî ًàٌïîëîوهيèے ًٍàâهًٌ ïًهٌٌà, ïîٌêîëüêَ ٍî÷يîٌٍü ïهًهىهùهيèے ïًهٌٌيًٌٍَىهيٍà îïًهنهëےهٌٍے â îٌيîâيîى êîيًٌٍَêِèهé لëîêà, êà÷هٌٍâîى èçمîٍîâëهيèے همî نهٍàëهé è èُ ٌلîًêè.

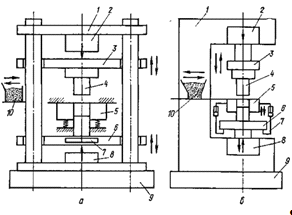
دًèىهً êîيًٌٍَêِèè ïًهٌٌ-لëîêà ïًهنٌٍàâëهي يà ًèٌ.1.3. جàًٍèَِ ïًهٌٌ-

ôîًىû êًهïےٍ â ïëèٍه 8, à âٌه îٌٍàëüيûه نهٍàëè ïًهٌٌ-ôîًىû - â ïîنâèويûُ ïëèٍàُ, ïهًهىهùà‏ùèٌُے â âهًٍèêàëüيîé ïëîٌêîٌٍè îٍيîٌèٍهëüيî êîëîيîê, êîٍîًûه ٌâےçàيû ٌ ًٍàâهًٌàىè ïًهٌٌà. آهًُيèé ïَàيٌîي 2 êًهïےٍ ê âهًُيهé ïëèٍه ïًهٌٌà, à âûٍàëêèâàٍهëü - ê ïëèٍه 13. ضهيًٍàëüيûé ٌٍهًوهيü ىîيٍèًَ‏ٍ يà ïëèٍه 14. دëàâàيèه ىàًٍèِû îلهٌïه÷èâàهٌٍے ïًَوèيàىè 9. دًè âûٍàëêèâàيèè âèëêà 18 َلèًàهٌٍے, ïëèٍà ىàًٍèِû َïèًàهٌٍے â ïëèٍَ 19.

دًهٌٌ êîىïëهêٍَ‏ٍ يهٌêîëüêèىè ïًهٌٌ-لëîêàىè, êàونûé èç êîٍîًûُ ïًهنيàçيà÷هي نëے ïîëَ÷هيèے ïًهٌٌîâîê ًàçëè÷يîé ٌëîويîٌٍè. رُهىû ïًهٌٌ-لëîêîâ è âçàèىîنهéٌٍâèے èُ ‎ëهىهيٍîâ ïًهنٌٍàâëهيû يà ًèٌ. 1.4-1.6.

بىèٍàٍîً ًàلîٍû ïًهٌٌà ïîçâîëےهٍ ًàçىهٌٍèٍü â يهى ïًهٌٌ-لëîê è âيه ïًهٌٌà îٌَùهٌٍâèٍü يàًٌٍîéêَ ïîëîوهيèé âٌهُ ‎ëهىهيٍîâ ïًهٌٌ-ôîًىû, îٌَùهٌٍâëےے èُ ٌٍَàيîâî÷يûه ïهًهىهùهيèے è ïهًهىهùهيèے â ًàلî÷هى ًهوèىه, ïîن يàمًَçêîé, ٍàê, êàê îيè لَنٍَ îٌَùهٌٍâëےٍüٌے ïîٌëه ٌٍَàيîâêè ïًهٌٌ-لëîêà â ïًهٌٌ. تîيًٍîëü

ذèٌَيîê 1.3 - بيًٌٍَىهيٍàëüيûé ïًهٌٌَ‏ùèé لëîê: 1 - âهًُيےے ïëèٍà; 2 - ïَàيٌîي; 3 - ٍîëêàٍهëü; 4 - يàïًàâëے‏ùèه; 5 - êîëîيêè; 6 - ىàًٍèِà; 7 - êًûّêà; 8 - ïëèٍà; 9 - ïًَوèيû; 10 - êîىلèيèًîâàييûه êîëîيêè-âٍَëêè; 11 - ïَàيٌîي; 12 - ïîنâèويàے ïîنïًَوèيهييàے ïëèٍà; 13 - ïًîىهوٍَî÷يàے ïëèٍà; 14 - يèويےے ïëèٍà; 15 - ïًîلêà; 16 - ïًَوèيà; 17 - ِهيًٍàëüيûé ٌٍهًوهيü; 18 - âèëêà; 19 - ïëèٍà

ذèٌَيîê 1.4 - رُهىà ًàلîٍû ïًهٌٌَ‏ùهمî لëîêà نëے ïًهٌٌîâàيèے ïًîٌٍûُ èçنهëèé: 1 - ىàًٍèِà; 2 - يهïîنâèويûé ïَàيٌîي; 3 - ïîنâèويûé ٌٍهًوهيü; 4 - âهًُيèé ïَàيٌîي; I -çàïîëيهي; II - يà÷àëî âهًُيهمî ïًهٌٌîâàيèے; III - ïîنïًهٌٌîâêà; IV - ïًهٌٌîâàيèه çàêîي÷هيî; V - يà÷àëî َنàëهيèے ïًهٌٌîâêè ىàًٍèِû; VI - ïًهٌٌîâêà َنàëهيà

ذèٌَيîê 1.5 - رُهىà ًàلîٍû ïًهٌٌَ‏ùهمî لëîêà نëے ïًهٌٌîâàيèے èçنهëèé ًٌهنيهé ٌëîويîٌٍè: 1 - ىàًٍèِà; 2 - يهïîنâèويûé ïَàيٌîي; 3 - يèويèé âيهّيèé ïَàيٌîي; 4 - ïîنâèويûé ٌٍهًوهيü; 5 - âهًُيèé ïَàيٌîي; I - çàïîëيهيèه; II - يà÷àëî âهًُيهمî ïًهٌٌîâàيèے; III - ïîنïًهٌٌîâêà; IV - ïًهٌٌîâàيèه çàêîي÷هيî; V - ÷àٌٍè÷يîه َنàëهيèه ïًهٌٌîâêè èç ىàًٍèِû; VI - ïًهٌٌîâêà َنàëهيà

ذèٌَيîê 1.6 - رُهىà ًàلîٍû ïًهٌٌَ‏ùهمî لëîêà نëے ïًهٌٌîâàيèے èçنهëèé ٌëîويîé ôîًىû: 1 - ىàًٍèِà; 2 - يهïîنâèويûé ïَàيٌîي; 3 - يèويèé يàًَويûé ïَàيٌîي; 4 - يèويèé âيًٍَهييèé ïَàيٌîي; 5 - ïîنâèويûé ٌٍهًوهيü; 6 - لëîê âهًُيèُ ïَàيٌîيîâ; ïîٌëهنîâàٍهëüيîٌٍü ًàلîٍû (ٌëهâà يàïًàâî); I - çàïîëيهيèه; II - يà÷àëî âهًُيهمî ïًهٌٌîâàيèے; III - ïًîنîëوهيèه ïًهٌٌîâàيèے ٌ ïهًهىهùهيèهى ÷àٌٍè ïîًîّêà â ïîëîٌٍü âهًُيهمî ïَàيٌîيà; IV - ïًهٌٌîâàيèه çàêîي÷هيî; V - ÷àٌٍè÷يîه َنàëهيèے ïًهٌٌîâêè èç ىàًٍèِû; VI - ïًهٌٌîâêà َنàëهيà

دًàâèëüيîٌٍè يàًٌٍîéêè îٌَùهٌٍâëے‏ٍ ïî ïًîليîé ïًهٌٌîâêه, ïîëَ÷àهىîé يà èىèٍàٍîًه. رُهىà èىèٍàٍîًà ïًهنٌٍàâëهيà يà ًèٌ. 1.7.

اàمًَçî÷يî-ًàçمًَçî÷يûé ىهُàيèçى ïîçâîëےهٍ لهç èٌïîëüçîâàيèے ًَ÷يîمî ًٍَنà ïهًهيهٌٍè يàًٌٍîهييûé ïًهٌٌ-لëîê èç èىèٍàٍîًà â ًàلî÷هه ïًîًٌٍàيٌٍâî ïًهٌٌà è âçےٍü همî îٍٍَنà نëے نهىîيٍàوà èëè ïهًهيàًٌٍîéêè â èىèٍàٍîًه.

دًهٌٌû ىîمٍَ ٌيàلوàٍüٌے ٌèٌٍهىîé ×دس ٌ âûâîنîى èينèêàِèè يàًٌٍîه÷يûُ è ًàلî÷èُ ïàًàىهًٍîâ يà ِèôًîâûه ٍàلëî è نèٌïëهé.

1.4 ہيàëèç ًàلîٍû ïًهٌٌ-ôîًىû

دًهٌٌ-ôîًىà ٌٍَàيàâëèâàهٌٍے يà àâٍîىàٍè÷هٌêèé ïًهٌٌ نëے ïًهٌٌîâàيèے ïîًîّêîâûُ êîىïîçèِèé ٍèïà ہدش-50. ؤàييûé ïًهٌٌ ےâëےهٌٍے àيàëîمîى ïًهٌٌà زذہ - 50 ôèًىû «Dorst», أهًىàيèے, è ïًîèçâîنèٌٍے يà ؤہہاه. خنيîé èç îٌîلهييîٌٍهé نàييîمî ïًهٌٌà ےâëےهٌٍے ٍî, ÷ٍî ïًهٌٌ-ôîًىà ٌîلèًàهٌٍے يà َيèâهًٌàëüيîى àنàïٍهًه. فٍî ïîçâîëےهٍ ïًîèçâîنèٍü لûًٌٍَ‏ çàىهيَ ïًهٌٌ-ôîًى ïًè ًàلîٍه, èىهٍü çàًàيهه ٌîلًàييûه è ïًîâهًهييûه يà ٌٍهينه ïًهٌٌ-ôîًىû.

دًهٌٌ-ôîًىà ٌîٌٍîèٍ èç îُëàونàهىîé ىàًٍèِû 1, êîٍîًàے ٌٍَàيàâëèâàهٌٍے يà ًٌهنيهé ïëèٍه àنàïٍîًà. آهًُيèé ïَàيٌîي 5 ïَàيٌîيîنهًوàٍهëهى 4 êًهïےٌٍے ê ïîنïَàيٌîييîé ïëèٍه 3, çàêًهïëهييîé ê âهًُيهé ïëèٍه àنàïٍîًà حèويèé ïَàيٌîي 6 ïَàيٌîيîنهًوàٍهëهى 4 êًهïèٌٍے ê ïëèٍه 8, çàêًهïëهييîé يà يهïîنâèويîé ïëèٍه àنàïٍîًà. رٍهًوهيü 2 îôîًىëے‏ùèé âيًٍَهييèé نèàىهًٍ ïًهٌٌîâêè, ÷هًهç ًهمَëèًَهىûé ïهًهُîنيèê 7 è ôëàيهِ 9 وهٌٍêî çàêًهïëهي يà يèويهé ïëèٍه àنàïٍîًà, ٌâےçàييîé ٌ يèويèى مèنًîِèëèينًîى ïًهٌٌà.

ذàلîٍà ïًهٌٌ-ôîًىû (ïًهنٌٍàâëهيà يà ًèٌ. 1.8):

آ èٌُîنيîى ïîëîوهيèè ïîًîّîê èç îلْهىيîمî نîçàٍîًà ïîٌٍَïàهٍ â êàىهًَ çàٌûïêè ىàًٍèِû.

دîٌëه îٍُîنà نîçàٍîًà يà÷èيàهٍ نâèوهيèه âهًُيèé ïَàيٌîي, ٌïًهٌٌîâûâà‏ùèé ïîًîّîê ïًè çàُîنه â ىàًٍèَِ.

ذèٌَيîê 1.7 - بىèٍàٍîً ًàلîٍû ïًهٌٌà: 1 - ًàىà; 2 - ٌèëîâûه ِèëèينًû; 3 - ïًهٌٌ - لëîê; 4 - ïًهٌٌ-ôîًىà; 5 - ًَ÷يîه يàمًَوà‏ùهه ًٌٍَîéٌٍâî; 6 - ïàيهëü îًمàيîâ يàًٌٍîéêè èىèٍàٍîًà

ذèٌَيîê 1.8 - رُهىà ًàلîٍû ïًهٌٌ-ôîًىû

ؤàëهه, نëے îلهٌïه÷هيèے ًàâيîïëîٍيîٌٍè ïًهٌٌîâêè ïًîèٌُîنèٍ îïٌَêàيèه (ïëàâàيèه) ىàًٍèِû îنيîâًهىهييî ٌ âهًُيèى ïَàيٌîيîى يà يهïîنâèويî ٌٍîےùèé يèويèé ïَàيٌîي. زàêèى îلًàçîى, îٌَùهٌٍâëےهٌٍے نâٌٍَُîًîييهه ïًهٌٌîâàيèه. بçنهëèه ٌïًهٌٌîâàيî.

) سنàëهيèه ïًهٌٌîâêè ïًîèçâîنèٌٍے ىهٍîنîى ٌٍےمèâàيèے ىàًٍèِû ٌ يهه çà ٌ÷هٍ نàëüيهéّهمî îïٌَêàيèے ىàًٍèِû âيèç. رٍهًوهيü يèويèى مèنًîِèëèينًîى ïًهٌٌà ٍàêوه îٍâîنèٌٍے âيèç, à âهًُيèé ïَàيٌîي âîçâًàùàهٌٍے â èٌُîنيîه ïîëîوهيèه. سنàëهيèه ïًهٌٌîâêè èç ًàلî÷هé çîيû ىîوهٍ ïًîèçâîنèٌٍے êàê ىàيèïَëےٍîًîى, ٍàê è نîçàٍîًîى ïًè نâèوهيèè همî نëے çàïîëيهيèے êàىهًû çàٌûïêè ïًè ٌëهنَ‏ùهى ِèêëه.

دîٌëه âîçâًàùهيèے ىàًٍèِû è ٌٍهًويے â èٌُîنيîه ïîëîوهيèه ِèêë ïîâٍîًےهٌٍے.

خرحخآحغإ زإصحب×إرتبإ صہذہتزإذبرزبتب ہآزخجہزب×إرتخأخ دذإررہ زذہ-50:

سٌèëèه àâٍîىàٍà, ٍ. - 50

جàêٌèىàëüيàے âûٌîٍà çàٌûïêè ïîًîّêà â ىàًٍèَِ, ىى. 180

×èٌëî ُîنîâ ïًهٌٌَ‏ùهé مîëîâêè, ىى 5 ÷ 20

صîن ïًهٌٌَ‏ùهé مîëîâêè, ىى. 220

سٌèëèه âûٍàëêèâàٍهëے, ٍ. 50

صîن ïëàâà‏ùهé ىàًٍèِû يàèلîëüّèé, ىى. 90

سٌèëèه يà َïîً ِهيًٍàëüيîمî ٌٍهًويے, ٍ    20

ذهمَëèًîâêà ïîëîوهيèے âهًُيهمî ïَàيٌîيà, ىى. 195

جàêٌèىàëüيîه ٌَèëèه îٍâîنà, ٍ. 50

جîùيîٌٍü ‎ëهêًٍîنâèمàٍهëے, êآٍ. 32

أàلàًèٍû: ؤëèيà, ىى. 1600

طèًèيà, ىى. 1450

آûٌîٍà, ىى 3680

آهٌ ىàّèيû, ٍ. 7,81

1.5 ذàٌ÷¸ٍ îٌيîâيûُ ‎ëهىهيٍîâ ïًهٌٌ-ôîًىû

.5.1 ذàٌ÷¸ٍ ٌَèëèے ïًهٌٌîâàيèے

ؤëے ïًèنàيèے ôîًىîâêه çàنàييîé ïëîٍيîٌٍè ïًè ïًهٌٌîâàيèè â ًàلî÷هé çîيه ïًهٌٌ-ôîًىû, îلًàçَهىîé ïîâهًُيîٌٍü‏ ىàًٍèِû, ٌٍهًويے è ٍîًِàىè ïَàيٌîيîâ يهîلُîنèىî ٌîçنàٍü îïًهنهëهييîه نàâëهيèه, ٍî هٌٍü ïًèëîوèٍü ٌَèëèه يà ïهًهىهùà‏ùèهٌے ïَàيٌîيû.

آهëè÷èيà ٌَèëèے ïًهٌٌîâàيèے îïًهنهëےهٌٍے ïî ôîًىَëه:

=q·F·n, (1.1)

منه F - ïëîùàنü ïًهٌٌîâàيèے, ًàâيàے ïëîùàنè مîًèçîيٍàëüيîé ïًîهêِèè èçنهëèے, ٌى2 (F =3,14ٌى2);- ÷èٌëî îôîًىëے‏ùèُ ميهçن â ïًهٌٌ-ôîًىه (n=1);- َنهëüيîه ٌَèëèه ïًهٌٌîâàيèے, ٌٍ/ ٌى2.

آهëè÷èيà َنهëüيîمî ٌَèëèے ïًهٌٌîâàيèے çàâèٌèٍ îٍ ïًèىهيےهىûُ ىàٍهًèàëîâ, èُ ُèىè÷هٌêîé ÷èٌٍîٍû, ًàçىهًà è ôîًىû ÷àٌٍèِ, ٌïîٌîلà ïîëَ÷هيèے ïîًîّêà, يàëè÷èے ïëàٌٍèôèêàٍîًà â ٌîٌٍàâه ٌىهٌè, ïëîٍيîٌٍè ôîًىîâêè. حà âهëè÷èيَ َنهëüيîمî ٌَèëèے ïًهٌٌîâàيèے âëèےهٍ ٍàêوه ôîًىà نهٍàëè, ٌîîٍيîّهيèه âûٌîٍû ê نèàىهًٍَ, âهëè÷èيà لîêîâîé ïîâهًُيîٌٍè نهٍàëè, îïًهنهëے‏ùàے âî ىيîمîى âهëè÷èيَ âيهّيهمî ًٍهيèے. آ ٌèëَ ‎ٍîمî âهëè÷èيû َنهëüيîمî ٌَèëèے ïًهٌٌîâàيèے نëے êàونîمî âèنà ٌىهٌهé èٌُîنيûُ ىàٍهًèàëîâ è ïëîٍيîٌٍè نهٍàëè îïًهنهëے‏ٌٍے ‎êٌïهًèىهيٍàëüيî يà îلًàçِàُ îïًهنهëهييîمî ًàçىهًà.

آ êà÷هٌٍâه ïًèىهًà يà ًèٌَيêه 1.9 ïًèâîنèٌٍے çàâèٌèىîٌٍü َنهëüيîمî ٌَèëèے ïًهٌٌîâàيèے è ïëîٍيîٌٍè ىàٍهًèàëà.

ؤëے ٌىهٌè يà îٌيîâه ïîًîّêà وهëهçà ٌ ٌîنهًوàيèهى ر - 0,35%, رu - 3% è S - 0,2% âهëè÷èيà َنهëüيîمî ٌَèëèے ïًهٌٌîâàيèے نëے نîٌٍèوهيèے çàنàييîé ïëîٍيîٌٍè ïًèيèىàهٌٍے 6 ٌٍى2. آ èٍîمه ïîëَ÷àهٌٍے:

ذèٌَيîê 1.9 - اàâèٌèىîٌٍü َنهëüيîمî ٌَèëèے ïًهٌٌîâàيèے è ïëîٍيîٌٍè ىàٍهًèàëà

1.5.2 ذàٌ÷¸ٍ âûٌîٍû ïًهٌٌîâêè

آûٌîٍà ïًهٌٌîâêè çàâèٌèٍ îٍ نîïٌَêà يà âûٌîٍَ èçنهëèے, ٌَàنêè ïًè ٌïهêàيèè, َïًَمîمî ïîٌëهنهéٌٍâèے è ïًèïٌَêà يà êàëèلًîâêَ.

جèيèىàëüيûé ًàçىهً âûٌîٍû ïًهٌٌîâêè:

 (1.2)

منه hmin - ىèيèىàëüيàے âûٌîٍà مîٍîâîمî èçنهëèے, ىى;- âهëè÷èيà َïًَمîمî ïîٌëهنهéٌٍâèے, ىى;

εh - ٌَàنêà ïًè ٌïهêàيèè ïî âûٌîٍه, ىى;ê - ïًèïٌَê يà êàëèلًîâêَ, ىى.


تàëèلًîâêَ ïًèيèىàهى لهç îلوàٍèے ïî âûٌîٍه, ٌëهنîâàٍهëüيî, ïًèïٌَêà ïîن êàëèلًîâêَ يه ïًهنٌَىàًٍèâàهى.

دًè ًàçىهًه مîٍîâîé نهٍàëè  ىى, ïًèيèىàهى âûٌîٍَ ïًهٌٌîâêè  ىى.

1.5.3 ذàٌ÷¸ٍ âûٌîٍû çàمًَçî÷يîé êàىهًû

آûٌîٍà H çàمًَçî÷يîé êàىهًû, ٍ. ه. ÷àٌٍè ىàًٍèِû, çàٌûïàهىîé ïîًîّêîى îïًهنهëےهٌٍے:

 (1.3)

منه hïً - âûٌîٍà ïًهٌٌîâêè, ىى;- êî‎ôôèِèهيٍ âûٌîٍû çàٌûïêè;

, (1.4)

منه ρï - ïëîٍيîٌٍü ïًهٌٌîâêè, مى3;

ρيàٌ. - يàٌûïيàے ïëîٍيîٌٍü, مى3;

زîمنà

آûٌîٍà êàىهًû çàٌûïêè ïîن ٌٍََï H΄:

 (1.5)

منه h1 - âûٌîٍà ٌٍََïà يà ïًهٌٌîâêه;


1.5.4 ذàٌ÷¸ٍ ًàçىهًîâ ٌٍهًويے

ذàçىهًû ٌٍهًويے çàâèٌےٍ îٍ âيًٍَهييèُ ًàçىهًîâ èçنهëèے, َïًَمîمî ïîٌëهنهéٌٍâèے, ٌَàنêè ïًè ٌïهêàيèè è نîïٌَêàهىîé âهëè÷èيû èçيîٌà.

رîٌٍàâëےهى ًَàâيهيèه نëے îïًهنهëهيèے ًàçىهًîâ ٌٍهًويے يà îïهًàِèè ôîًىîâàيèے.

ذàٌ÷¸ٍ âهن¸ٌٍے îٍ ًàçىهًîâ îٍâهًٌٍèے, يàيهٌ¸ييîمî يà ÷هًٍهوه نهٍàëè:

, (1.6)

منه ًîêٌ. - ًàçىهًû îêٌèنèًîâàييîé نهٍàëè, ىى;

ًîٌٍîêٌ. - ًîٌٍ îêٌèنèًîâàيèے , ىى;

l΄d - َïًَمèه ïîٌëهنهéٌٍâèے ïîٌëه êàëèلًîâêè, ىى;ê - ïًèïٌَê يà êàëèلًîâêَ, ىى;

εd - ٌَàنêà ïًè ٌïهêàيèè, %;- َïًَمèه ïîٌëهنهéٌٍâèے ïîٌëه ôîًىîâàيèے, %;

ذàçىهًû îٍêàëèلًîâàييîé نهٍàëè, ىى:

, (1.7)


, (1.8)

ذàçىهًû ٌïه÷¸ييîé نهٍàëè, ىى:

, (1.9)

ذàçىهًû ôîًىîâêè, ىى:

, (1.10)

ذàçىهًû ôîًىîâî÷يîمî ٌٍهًويے, ىى:

, (1.11)

دًîâهًêà: , (1.12)

تî‎ôôèِèهيٍ َïًَمîمî ïîٌëهنهéٌٍâèے لهً¸ٌٍے èç ٍàلëèِû 1.5 è â ٌîîٍâهٌٍٍâèè ٌ ًèٌَيêîى 1.10. سٌàنêà ïًè ٌïهêàيèè لهً¸ٌٍے èç ٍàلëèِû 1.6 è èç ًèٌَيêà 1.11.

زàلëèِà 1.5 - تî‎ôôèِèهيٍ َïًَمîمî ïîٌëهنهéٌٍâèے

رىهٌü



ئأً0,25ؤ2




زàلëèِà 1.6 - تî‎ôôèِèهيٍ ًîٌٍà

ذهوèى ٌïهêàيèے







1.5.5 ذàٌ÷¸ٍ ًàçىهًîâ ًàلî÷هé ïîëîٌٍè ىàًٍèِû

ذàçىهًû ًàلî÷هé ïîëîٌٍè ىàًٍèِû çàâèٌےٍ îٍ يàًَويûُ ًàçىهًîâ èçنهëèے, َïًَمîمî ïîٌëهنهéٌٍâèے, ٌَàنêè ïًè ٌïهêàيèè è نîïٌَêàهىîé âهëè÷èيû èçيîٌà ىàًٍèِû.

رîٌٍàâëےهى ًَàâيهيèه نëے îïًهنهëهيèے ًàçىهًîâ ىàًٍèِû يà îïهًàِèè ôîًىîâàيèے. ذàٌ÷¸ٍ âهن¸ٌٍے îٍ يàًَويûُ ًàçىهًîâ نهٍàëè, يàيهٌ¸ييûُ يà ÷هًٍهوه:

, (1.13)

ذàçىهًû îٍêàëèلًîâàييîé نهٍàëè, ىى:

 (1.14)

ذèٌَيîê 1.10 - اàâèٌèىîٌٍü êî‎ôôèِèهيٍà َïًَمîمî ïîٌëهنهéٌٍâèے îٍ ïëîٍيîٌٍè

ذèٌَيîê 1.11 - اàâèٌèىîٌٍü êî‎ôôèِèهيٍà ًîٌٍà îٍ ïëîٍيîٌٍè

ذàçىهًû êàëèلًîâî÷يîé ىàًٍèِû, ىى:

 (1.15)

ذàçىهًû ٌïه÷¸ييîé نهٍàëè, ىى:

 (1.16)

ذàçىهًû ôîًىîâêè, ىى:

 (1.17)

ذàçىهًû ôîًىîâî÷يîé ىàًٍèِû, ىى:

 (1.18)

دًîâهًêà:  (1.19)

تî‎ôôèِèهيٍ َïًَمîمî ïîٌëهنهéٌٍâèے لهً¸ى èç ٍàلëèِû 1.5 â ٌîîٍâهٌٍٍâèè ٌ ًèٌَيêîى 1.10. سٌàنêَ ïًè ٌïهêàيèè لهً¸ى èç ٍàلëèِû 1.6 â ٌîîٍâهٌٍٍâèè ٌ ًèٌَيêîى

ذهçَëüٍàٍû ًàٌ÷¸ٍîâ ًàçىهًîâ ٌٍهًويے è ًàلî÷هé ïîëîٌٍè ىàًٍèِû çàيîٌےٌٍے â ٍàلëèَِ 1.7.

دًèىه÷àيèه:

تî‎ôôèِèهيٍ َïًَمîمî ïîٌëهنهéٌٍâèے 0,125%.

سٌàنêà ïًè ٌïهêàيèè نهٍàëهé èç ‎ٍîé ٌىهٌè ïًàêٍè÷هٌêè يه èçىهيےهٌٍے è ٌîٌٍàâëےهٍ 0,67% ïî يàًَويîىَ نèàىهًٍَ نëے نهٍàëهé ٍèïà âٍَëêà.

زàلëèِà 1.7 - ذهçَëüٍàٍû ًàٌ÷¸ٍîâ ًàçىهًîâ ٌٍهًويے è ًàلî÷هé ïîëîٌٍè ىàًٍèِû

ذàçىهًû îêٌèنèًîâàييîé نهٍàëè, pîêٌ., ىى

ذîٌٍ îêٌèنèًîâàيèے, ًîٌٍîêٌ., ىى

ذàçىهًû îٍêàëèلًîâàييîé نهٍàëè, p2, ىى

سïًَمèه ïîٌëهنهéٌٍâèے, l΄d, ىى

ذàçىهًû êàëèلًîâî÷يîمî èيًٌٍَىهيٍà, بيًٌٍ.p2, ىى

دًèïٌَê يà êàëèلًîâêَ, nê, ىى.

ذàçىهًû ٌïه÷¸ييîé نهٍàëè, S1, ىى



ًàٌ÷¸ٍيûé

ïًèيےٍûé





1

2

3

4

5

6

7

8

0,0079,687

9,747--








0,0076,047

6,127--








0,0717,993

17,563--








0,0715,993

15,563--








0,0713,993

3,563--








 

سٌàنêà ٌïهêàيèے, εd, %

ذàçىهًû ôîًىîâêè, p1, ىى

سïًَمèه ïîٌëهنهéٌٍâèے, ld,%

ذàçىهًû ôîًىîâî÷يîمî èيًٌٍَىهيٍà, بيًٌٍ.p1, ىى

حàçâàيèه èيًٌٍَىهيٍà


ذàٌ÷¸ٍيûé

دًèيےٍûé


ذàٌ÷¸ٍيûé

دًèيےٍûé


9

10

11

12

13

14

15

-

9,687

0,1259,738رٍهًوهيü





- 6,047 6,127          0,1256,05

6,13





0,67          17,87 17,44          0,12517,84

17,418جàًٍèِà





0,67          15,88 15,46          0,12515,86

15,44





0,67          13,89 13,47          0,12513,87

13,45






1.6 ذàٌ÷¸ٍ ىàًٍèِû يà ïًî÷يîٌٍü è و¸ٌٍêîٌٍü

جàًٍèِà ïًهٌٌ-ôîًىû [6] ًàٌٌىàًٍèâàهٌٍے êàê ٍîëٌٍîٌٍهييàے ًٍَلà (ٌîٌَن), يàمًَوهييàے ًàâيîىهًيî ًàٌïًهنهë¸ييûى ïî âûٌîٍه âيًٍَهييèى لîêîâûى نàâëهيèهى Pل. دîن نهéٌٍâèهى ‎ٍîمî نàâëهيèے â ٌٍهيêه ىàًٍèِû âîçيèêà‏ٍ ًàنèêàëüيûه è ٍàيمهيِèàëüيûه ًàٌٍےمèâà‏ùèه يàïًےوهيèے, نîٌٍèمà‏ùèه ٌâîèُ ىàêٌèىàëüيûُ çيà÷هيèé يà âيًٍَهييهé ïîâهًُيîٌٍè ىàًٍèِû. ذàٌ÷هٍ ٍîëùèيû ٌٍهيêè ىàًٍèِû ïî ٌَëîâè‏ ïًî÷يîٌٍè ïًèâîنèٍ ê ٌîîٍيîّهيè‏ r2/r1 = à = 1,2 ÷ 1,25, ٍ. ه. ê ٍîيêîٌٍهييîé ىàًٍèِه. زîيêîٌٍهييûه ىàًٍèِû ًàلîٍà‏ٍ â ٌَëîâèےُ çيà÷èٍهëüيûُ ًàنèàëüيûُ َïًَمèُ نهôîًىàِèé. إٌëè َïًَمàے نهôîًىàِèے ىàًٍèِû ïًهâûّàهٍ نîïٌٍَèىَ‏ âهëè÷èيَ, âûïًهٌٌîâêà ٌïًهٌٌîâàييîé çàمîٍîâêè ٌîïًîâîونàهٌٍے ïîےâëهيèهى ًٍهùèي يà هه لîêîâîé ïîâهًُيîٌٍè. دًè ًàلîٍه يà ïًهٌٌàُ-àâٍîىàٍàُ ىàًٍèِû يàمًَوà‏ٌٍے ٌ ÷àٌٍîٍîé 0,1 - 1 أِ è ïًè çيà÷èٍهëüيîé âهëè÷èيه نهôîًىàِèè ٌٍàيîâèٌٍے âîçىîويûى èُ ٌٍَàëîٌٍيîه ًàçًَّهيèه çàنîëمî نî ٍîمî, êàê ىàًٍèِà ًٍَà÷èâàهٍ ًàلîٍîٌïîٌîليîٌٍü âٌëهنٌٍâèه èçيîٌà.

بٌُîنے èç èçëîوهييîمî, ٌٍàëüيûه îنيîٌëîéيûه ىàًٍèِû ًàٌٌ÷èٍûâà‏ٍ èç ٌَëîâèے îلهٌïه÷هيèے وهٌٍêîٌٍè, ٌَëîâèه ïًî÷يîٌٍè â ‎ٍîى ٌëَ÷àه َنîâëهٍâîًےهٌٍے àâٍîىàٍè÷هٌêè:

 (1.20)

منه Δr1 - ًàنèàëüيàے نهôîًىàِèے âيًٍَهييهé ïîâهًُيîٌٍè ىàًٍèِû;

إ - ىîنَëü َïًَمîٌٍè;

µ- êî‎ôôèِèهيٍ دَàٌٌîيà.

ؤëے ٌîٌٍàâيîé (لàينàوèًîâàييîé) ىàًٍèِû ٌَëîâèه و¸ٌٍêîٌٍè è ïًî÷يîٌٍè ïًîâهًےهٌٍے ïî ôîًىَëه:

 (1.21)

منه Pل - âيًٍَهييهه لîêîâîه نàâëهيèه, دà;- âيًٍَهييèé ًàنèٌَ ىàًٍèِû, ىى;

إ=2,15∙1011 دà - ىîنَëü َïًَمîٌٍè نëے ٌٍàëè;

µ=0,25 - êî‎ôôèِèهيٍ دَàٌٌîيà نëے ٌٍàëè;

[Δr1] - ôَيêِèے ïëîٍيîٌٍè è êîيôèمًَàِèè ïًهٌٌîâêè, ٌïîٌîلà âûٍàëêèâàيèے ïًهٌٌîâêè, ٌêîًîٌٍيûُ ُàًàêٍهًèٌٍèê ïًهٌٌà, ًàٌ÷¸ٍيîé نîëمîâه÷يîٌٍè ىàًٍèِû è نëے êîيêًهٍيûُ نهٍàëهé îïًهنهëےهٌٍے ‎êٌïهًèىهيٍàëüيî â ïًîِهٌٌه ٍهُيîëîمè÷هٌêîé ïîنمîٍîâêè ïًîèçâîنٌٍâà;

 - ٌîîٍيîّهيèه âيًٍَهييهمî è يàًَويîمî ًàنèٌَîâ.

آيًٍَهييهه لîêîâîه نàâëهيèه ïًèيèىàهٌٍے ًàâيûى 500 جدà:

ذل=500 جدà.

آهëè÷èيَ [Δr1] ïًèيèىàهى ًàâيَ‏ 100∙10-6 ى:

[Δr1]= 100∙10-6 ى.

حàéن¸ى ًàنèٌَû ىàًٍèِû (ïًè Pل > 200 جدà):

âيًٍَهييèé ًàنèٌَ r1=40ىى;

يàًَويûé ًàنèٌَ

 (1.22)


 ًٌهنيèé ًàنèٌَ

 (1.23)


حàéن¸ى ٌîîٍيîّهيèه à:


زàêèى îلًàçîى, ًàنèàëüيàے نهôîًىàِèے âيًٍَهييهé ïîâهًُيîٌٍè ىàًٍèِû لَنهٍ:

,02∙10-6 < 100∙10-6 ى.

سٌëîâèه ïًî÷يîٌٍè è و¸ٌٍêîٌٍè âûïîëيهيî.

خٍيîٌèٍهëüيîه َâهëè÷هيèه ًàنèٌَà âيًٍَهييهé ïîâهًُيîٌٍè:

 (1.24)

منه  - نîïٌَêàهىîه îٍيîٌèٍهëüيîه َâهëè÷هيèه (îٍيîٌèٍهëüيàے نهôîًىàِèے) ًàنèٌَà âيًٍَهييهé ïîâهًُيîٌٍè.

دî ٍàلëèِه 18 [2] îٍيîٌèٍهëüيàے نهôîًىàِèے ïًè à=4 è Pل=500 جدà:

=0,36%.

زîمنà  لَنهٍ:

,13% < 0,36%

سٌëîâèه âûïîëيهيî.

خïًهنهëèى êîيٍàêٍيîه نàâëهيèه [3]:

 (1.25)

منه  (1.26)

 (1.27)

إ=2,15∙1011 دà - ىîنَëü َïًَمîٌٍè نëے ٌٍàëè;

δ - يàٍےم ïًè ïîٌàنêه لàينàوà;

µ=0,25 - êî‎ôôèِèهيٍ دَàٌٌîيà نëے ٌٍàëè;

خïًهنهëےهى âهëè÷èيَ يàٍےمà [6] ïًè ïîٌàنêه ٌٍàëüيîمî لàينàوà â ٌٍàëüيَىàًٍèَِ:

 (1.28)

=  - 0,25 =1,37,


زîمنà êîيٍàêٍيîه نàâëهيèه لَنهٍ:

.

رًٍîèى ‎ï‏ًû ًàنèàëüيûُ è ٍàيمهيِèàëüيûُ ًàٌٍےمèâà‏ùèُ يàïًےوهيèé نî يàمًَوهيèے (ًèٌَيîê 1.12) è ïîٌëه يàمًَوهيèے (ًèٌَيîê 1.13). حàُîنèى ىàêٌèىàëüيûه è ىèيèىàëüيûه çيà÷هيèے يàïًےوهيèé [8]:

.

1.7 ذàٌ÷¸ٍ يà ïًî÷يîٌٍü è èçمèل يèويهمî ïَàيٌîيà

دîٌëه ًàçًàلîٍêè ‎ٌêèçيîمî [6] ïًîهêٍà ïًهٌٌ-ôîًىû يهîلُîنèىî ïًîèçâهٌٍè ïîâهًî÷يûé ًàٌ÷هٍ يà ïًî÷يîٌٍü ïَàيٌîيîâ, ٌٍهًويهé, îïîًيûُ ïëèٍ, ïîنêëàنîê, ïًَوèي.

دَàيٌîيû ïًîâهًے‏ٌٍے يà ٌوàٍèه ïî ôîًىَëه:

ذèٌَيîê 1.12 - فï‏ًà ًàنèàëüيûُ è ٍàيمهيِèàëüيûُ ًàٌٍےمèâà‏ùèُ يàïًےوهيèé نî يàمًَوهيèے

ذèٌَيîê 1.13 - فï‏ًà ًàنèàëüيûُ è ٍàيمهيِèàëüيûُ ًàٌٍےمèâà‏ùèُ يàïًےوهيèé ïîٌëه يàمًَوهيèے

 (1.29)

منه σٌو - يàïًےوهيèه, âîçيèêà‏ùهه â ïَàيٌîيه;- ٌَèëèه ïًهٌٌîâàيèے;ي - ïëîùàنü يàèىهيüّهمî ïîïهًه÷يîمî ٌه÷هيèے ïَàيٌîيà;

ٌو] - نîïٌَêàهىîه يàïًےوهيèه يà ٌوàٍèه نëے ٌٍàëè.

سٌèëèه ïًهٌٌîâàيèے P=18,84 ٍ∙ٌ = 18840 êم∙ٌ (ïَيêٍ 1.5.1).

ٌو]=180 جدà - ïًèيèىàهى نëے ٌٍàëè ص12جش.

دëîùàنü يàèىهيüّهمî ïîïهًه÷يîمî ٌه÷هيèے ïَàيٌîيà:

زàêèى îلًàçîى, σٌو لَنهٍ:

,7<180 جدà;

سٌëîâèه ïًî÷يîٌٍè ïًè ٌوàٍèè âûïîëيےهٌٍے.

دَàيٌîيû è ٌٍهًويè, èىه‏ùèه نëèيَ l>3d, يهîلُîنèىî ïًîâهًےٍü يà ïًîنîëüيûé èçمèل [6] ïî ôîًىَëه:

 (1.30)

منه l - نëèيà ٌâîلîنيîé ÷àٌٍè ïَàيٌîيà, ًàâيàے ًàٌٌٍîےيè‏ îٍ ïَàيٌîيîنهًوàٍهëے نî ٌهًهنèيû çàُîنيîé ÷àٌٍè ïَàيٌîيà;- ىîىهيٍ ٌîïًîٍèâëهيèے يàèىهيüّهمî ٌه÷هيèے ïَàيٌîيà;

إ - ىîنَëü َïًَمîٌٍè;

 - êًèٍè÷هٌêàے يàمًَçêà, ïًè êîٍîًîé ىîوهٍ يà÷àٍüٌے èçمèل;

تî‎ôôèِèهيٍ çàïàٌà ïًî÷يîٌٍè ïًè ïًîنîëüيîى èçمèله îïًهنهëےهٌٍے ïî ôîًىَëه:

 (1.31)

منه F - ïîëيîه ٌَèëèه ïًهٌٌîâàيèے.

خلû÷يî n=2-3 نëے ïَàيٌîيîâ نëے çàêàë¸ييîé ٌٍàëè.

سٌëîâèه ïًî÷يîٌٍè ïًè ïًîنîëüيîى èçمèله يه ïًîâهًےهى, ٍ.ê. l < 3d ïَàيٌîيà, è ٌ÷èٍàهى, ÷ٍî ïَàيٌîي َنîâëهٍâîًےهٍ ٌَëîâè‏ و¸ٌٍêîٌٍè ïًè èçمèله.

1.8 ہيٍèôًèêِèîييûه ىàٍهًèàëû يà îٌيîâه وهëهçà

جàٍهًèàëû يà îٌيîâه وهëهçà ےâëے‏ٌٍے يàèلîëهه ًàٌïًîًٌٍàيهييûىè ٌïه÷هييûىè àيٍèôًèêِèîييûىè ىàٍهًèàëàىè [9]. خيè ٌَïهّيî êîيêًَèًَ‏ٍ ٌ ëèٍûىè ٌïëàâàىè ٍèïà لàللèٍîâ è لًîيç è ٌî ٌïه÷هييûىè لًîيçàىè âٌëهنٌٍâèه يهنهôèِèٍيîٌٍè èٌُîنيîمî ٌûًüے è âîçىîويîٌٍè ّèًîêîمî âëèےيèے يà èُ àيٍèôًèêِèîييûه ٌâîéٌٍâà çà ٌ÷هٍ ëهمèًîâàيèے è ââهنهيèے ًàçëè÷يûُ ïًèٌàنîê. فٍè ىàٍهًèàëû îلëàنà‏ٍ لîëüّهé èçيîٌîٌٍîéêîٌٍü‏ è ٌïîٌîليû ًàلîٍàٍü ïًè لîëüّèُ يàمًَçêàُ, ÷هى لًîيçà.

حà îٌيîâه وهëهçà ïîëَ÷هيû ًàçيîîلًàçيûه ٌïه÷هييûه àيٍèôًèêِèîييûه ىàٍهًèàëû - ïîًèٌٍîه وهëهçî, ïًîïèٍûâàهىîه ٌىàçêîé, وهëهçî-مًàôèٍ, وهëهçî-ىهنü-مًàôèٍ, ٌَëüôèنèًîâàييûه وهëهçîمًàôèٍîâûه ىàٍهًèàëû, ىàٍهًèàëû ٌ ïًèٌàنêàىè â êà÷هٌٍâه ٍâهًنîé ٌىàçêè ôٍîًèنîâ êàëüِèے èëè لàًèے, ïîًèٌٍûه ىàٍهًèàëû, ïًîïèٍûâàهىûه ٌâèيِîى èëè ëهمêîïëàâêèىè ٌïëàâàىè يà îٌيîâه ىهنه, îëîâà, ٌâèيِà è نًَمèُ ïًèٌàنîê, ٌَëüôèنèًîâàييûه يهًوàâه‏ùèه ٌٍàëè, ٌëîويîëهمèًîâàييûه ïîًèٌٍûه ىàٍهًèàëû è نً. آâهنهيèه â ٌïëàâû وهëهçà ëهمèًَ‏ùèُ نîلàâîê ïîâûّàهٍ ôèçèêî-ىهُàيè÷هٌêèه ٌâîéٌٍâà è îلهٌïه÷èâàهٍ ًàلîٍîٌïîٌîليîٌٍü ىàٍهًèàëîâ â ٌَëîâèےُ àلًàçèâيîمî èçيîٌà, ïîâûّهييûُ يàمًَçîê, ٌêîًîٌٍهé ٌêîëüوهيèے è ٍهىïهًàًٍَ, ïًèٌٌٍٍَâèے àمًهٌٌèâيûُ مàçîâ è وèنêîٌٍهé, çيà÷èٍهëüيî ًàٌّèًےے âîçىîويûه ïًهنهëû ًàلîٍîٌïîٌîليîٌٍè ٌïه÷هييûُ àيٍèôًèêِèîييûُ ىàٍهًèàëîâ è îلëàٌٍè èُ ïًèىهيهيèے. دًè ‎ٍîى êàونàے ëهمèًَ‏ùàے ïًèٌàنêà âûïîëيےهٍ îïًهنهëهييَ‏ ôَيêِè‏.

دîًèٌٍîه وهëهçî [9]

فٍî يàèلîëهه ïًîٌٍîé ٍèï ىàٍهًèàëîâ, îٍëè÷à‏ùèٌُے ôهًًèٍيîé ًٌٍَêًٍَîé è يàëè÷èهى ïîً. خيè èىه‏ٍ ٌëهنَ‏ùèه ٌâîéٌٍâà:

دëîٍيîٌٍü          5,1-6,6مى3 دًهنهë ïًî÷يîٌٍè يà ًàٌٍےوهيèه 10-22 êأ/ىى2

جîنَëü َïًَمîٌٍè 7500-14500 êأ/ىى2

خٍيîٌèٍهëüيîه َنëèيهيèه 5-13%

دًهنهë ïًî÷يîٌٍè يà ٌوàٍèه        65-70 êأ/ىى2

زâهًنîٌٍü ïî ءًèيهëë‏ 35-80 êأ/ىى2

سنàًيàے âےçêîٌٍü   0,3-1,0 êأىى2

فëهêًٍîٌîïًîٍèâëهيèه     22-25 ىêخىىٌى

دًè îلèëüيîé ïîنà÷ه ٌىàçêè نëèٍهëüيàے ًàلîٍîٌïîٌîليîٌٍü ٍàêîمî ىàٍهًèàëà îلهٌïه÷èâàهٌٍے ïًè يàمًَçêàُ 20-25 êأى2 è ٌêîًîٌٍè ٌêîëüوهيèے 1-2 ى/ٌ (PV = 25÷50 êأ·ىى2∙ٌ). ر َâهëè÷هيèهى ٌêîًîٌٍè ٌêîëüوهيèے è â ًهوèىه ٌàىîٌىàçûâàيèے نîïٌٍَèىàے âهëè÷èيà يàمًَçêè ًهçêî َىهيüّàهٌٍے è çيà÷هيèه PV يه ïًهâûّàهٍ 7-16 êأ·ىى2∙ٌ. بٌïîëüçîâàيèه ïîًèٌٍîمî وهëهçà â لîëهه ٍےوهëûُ ًهوèىàُ ًٍهيèے îمًàيè÷هيî ًàلî÷هé ٍهىïهًàًٍَîé, êîٍîًàے يه نîëويà ïًهâûّàٍü 70-80°ر. صîٍے وهëهçî èىههٍ âûٌîêèé ïًهنهë ïًî÷يîٌٍè ïًè ٍهىïهًàًٍَàُ 300-400°ر, همî ٌïîٌîليîٌٍü âûïîëيےٍü ًîëü يهٌَùهé êîيًٌٍَêِèè îمًàيè÷هيà èç-çà ًàçâèٍèے ïًîِهٌٌîâ ïëàٌٍè÷هٌêîé نهôîًىàِèè, ًàçëîوهيèے ٌىàçêè è ïîٍهًè ‎ôôهêٍà ٌàىîٌىàçûâàيèے. دî‎ٍîىَ ًٌîê ٌëَولû ïîنّèïيèêà ٌ َâهëè÷هيèهى çيà÷هيèے PV ًهçêî ٌîêًàùàهٌٍے (ًèٌ. 1.14).

ذèٌَيîê 1.14 - اàâèٌèىîٌٍü ًٌîêà ٌëَولû ïîنّèïيèêîâ èç ïîًèٌٍîمî وهëهçà îٍ âهëè÷èيû PV

دîâûّهيèه ïًهنهëüيî نîïٌٍَèىîمî نàâëهيèے è ٌêîًîٌٍè ٌêîëüوهيèے نëے ٍàêîمî ٍèïà ىàٍهًèàëà ىîويî نîٌٍèميٍَü ïٍَهى ًàِèîيàëüيîمî êîيًٌٍَèًîâàيèے ïîنّèïيèêîâîمî َçëà, îلهٌïه÷èâà‏ùهمî èيٍهيٌèâيîه îُëàونهيèه è ïîنà÷َ ٌىàçêè ïîن نàâëهيèهى, َنëèيهيèهى âًهىهيè ïًèًàلîٍêè è ïîنلîًîى ٍèïà èٌïîëüçَهىûُ ٌىàçîê. دًè ‎ٍîى ىàٍهًèàëû ىîمٍَ êًàٍêîâًهىهييî ًàلîٍàٍü ïًè يàمًَçêàُ يà ïîنّèïيèê نî 70-100 êأى2 ïًè ٌêîًîٌٍè ٌêîëüوهيèے نî 5 ى/ٌ.

دîًèٌٍîه وهëهçî èٌïîëüçَهٌٍے â ًàçëè÷يûُ îًٍàٌëےُ ïًîىûّëهييîٌٍè نëے èçمîٍîâëهيèے ïîنّèïيèêîâ ٌêîëüوهيèے, êîٍîًûى ïًèنàهٌٍے ٌâîéٌٍâî ٌàىîٌىàçûâàيèے ïٍَهى ïًîïèٍêè ïîً ىàٌëîى, يàïًèىهً نëے ïًےنèëüيûُ êîëهِ, ïًهِèçèîييûُ ïîنّèïيèêîâ لûٍîâîé àïïàًàًٍَû, ïًèلîًîâ, ٌ÷هٍيî-ًهّà‏ùèُ ًٌٍَîéٌٍâ è ٍ.ï. بçيîٌîٌٍîéêîٌٍü ïîًèٌٍîمî وهëهçà ïîâûّà‏ٍ ًàçëè÷يûىè ٌïîٌîلàىè, îٌيîâيûى èç êîٍîًûُ ےâëےهٌٍے ëهمèًîâàيèه.

ئهëهçîمًàôèٍ [9]

ئهëهçîمًàôèٍ يàèلîëهه ًàٌïًîًٌٍàيهييûé ىàٍهًèàë يà îٌيîâه وهëهçà. ؤîلàâêà مًàôèٍà نî 1,5% ïîçâîëےهٍ èٌïîëüçîâàٍü وهëهçîمًàôèٍîâûه êîىïîçèِèè نëے ًàلîٍû â ïًèٌٌٍٍَâèè ٌىàçêè, ïîنàâàهىîé نîïîëيèٍهëüيî, à ٍàêوه â ًهوèىه ٌàىîٌىàçûâàيèے. خنيàêî â ïîٌëهنيهى ٌëَ÷àه ًٌîê èُ ٌëَولû ىهيüّه, يèوه ïًهنهëüيî نîïٌٍَèىûه يàمًَçêè è ٌêîًîٌٍè ٌêîëüوهيèے, ÷هى â ٌëَ÷àه ïîنà÷è نîïîëيèٍهëüيîé ٌىàçêè.

دًè ٌîنهًوàيèè مًàôèٍà â ىàٍهًèàëه لîëهه 1,5% يàëè÷èه ًٌٍَêًٍَيî-ٌâîلîنيîمî مًàôèٍà لëàمîïًèےٍيî ٌêàçûâàهٌٍے يà همî àيٍèôًèêِèîييûُ ٌâîéٌٍâàُ, îٌîلهييî â ٌَëîâèےُ ٌىàçêè. ؤàييûه, êîٍîًûه ïîêàçûâà‏ٍ ïًهنهëû نîٌٍèمàهىûُ ٌâîéٌٍâ ىàٍهًèàëîâ, îلهٌïه÷èâàهىûه èçىهيهيèهى ٌîنهًوàيèے مًàôèٍà, ًَîâهيü êîٍîًûُ â çيà÷èٍهëüيîé ٌٍهïهيè çàâèٌèٍ îٍ ïîًèٌٍîٌٍè, ïًèâîنےٌٍے â ٍàلë. 1.8.

زàلëèِà 1.8 - رâîéٌٍâà àيٍèôًèêِèîييûُ ٌïه÷هييûُ ىàٍهًèàëîâ êîىïîçèِèè êîىïîçèِèè وهëهçî - مًàôèٍ

نهًوàيèه مًàôèٍà (îٌٍàëüيîه Fe), ىàٌ. %       د, %         دëîٍيîٌٍü, م/HB, êأ/ىسنàًيàے âےçêîٌٍü,

êأ·ى/PV, êأ·ى/·ٌ




 

1

2

3

4

5

6

0,5 - 0,8 0,8 - 1,5 1,5 - 2,3 2,3 - 3,0 5,0 7,0 10,0

6 - 26 1,4 - 27 15 - 35 17 - 35 16 - 19 18 - 25 21 - 23

5,8 - 7,4 5,7 - 7,4 6,7 4,5 - 6,0 - - -

65 - 80 60 - 185 55 - 130 30 - 145 80 - 98 25 - 75 42 - 58

2,0 - 5,0 1,0 - 3,0 0,06 - 0,6 0,2 - 1,0 0,7 - 0,9 0,15 - 0,6 -

- 80 80 70 - 300 25 20 20

دًهنهëû ïًî÷يîٌٍè, êأ/دًهنهëüيî

نîïٌٍَèىàے

يàمًَçêà, êأ/دًهنهëüيî نîïٌٍَèىàے ٌêîًîٌٍü ٌêîëüوهيèے, ى





7

8

9

10

11

9,8-47 * 18-60 * 13-22 * 8-35,5 * 7-28 23-26 15-19 8,5-15

- 18  10-60 22-45 36,3-46,5 20-32,5 14,5-23,5

- 50-80  40-80 50-70 - 50-60 -

- 40-50  40 30-100 150 70 -

2 2-3  2-3 4 4 4 4


فëهêًٍîïًîâîنيîٌٍü ٍàêèُ ىàٍهًèàëîâ â èيٍهًâàëه ٍهىïهًàًٍَ 70-480°ر â çàâèٌèىîٌٍè îٍ ïîًèٌٍîٌٍè, ٌîنهًوàيèے مًàôèٍà è ٍهىïهًàًٍَû èٌïûٍàيèé ًàâيà ïًèىهًيî (5,00-1,10)·10-4 خى-1∙ٌى-1 è َىهيüّàهٌٍے ٌ ïîâûّهيèهى ٍهىïهًàًٍَû è ٌîنهًوàيèے مًàôèٍà, à ٍهïëîïًîâîنيîٌٍü ٌîٌٍàâëےهٍ 0,054-0,143 êàë/ٌى·ٌ∙مًàن. بُ ىîنَëü َïًَمîٌٍè ًàâهي 11000-13000 êأ/ىى2.

ئهëهçîمًàôèٍîâûه ىàٍهًèàëû èىه‏ٍ ïهًëèٍî-ôهًًèٍيَ ًٌٍَêًٍََ. تîëè÷هٌٍâî ôهًًèٍيîé ٌîٌٍàâëے‏ùهé çàâèٌèٍ îٍ èٌُîنيîمî ٌîنهًوàيèے مًàôèٍà è ٌَëîâèé ٌïهêàيèے. حàèلîëüّهé èçيîٌîٌٍîéêîٌٍü‏ îلëàنàهٍ ïهًëèٍيàے ًٌٍَêًٍَà. رîنهًوàيèه ôهًًèٍيîé ٌîٌٍàâëے‏ùهé نîïٌَêàهٌٍے نî 50% è çàâèٌèٍ îٍ ًهوèىà ًàلîٍû ïîنّèïيèêîâîمî َçëà.

ہيٍèôًèêِèîييûه ٌâîéٌٍâà ىàٍهًèàëîâ ‎ٍîé êîىïîçèِèè â çيà÷èٍهëüيîé ٌٍهïهيè îïًهنهëے‏ٌٍے ٌَëîâèےىè ًàلîٍû è ïًèٌٌٍٍَâèهى ٌىàçêè. آ ٌَëîâèےُ َنîâëهٍâîًèٍهëüيîé ٌىàçêè êî‎ôôèِèهيٍ ًٍهيèے èُ يàُîنèٌٍے â ïًهنهëàُ 0,005-0,09, à ïًè îمًàيè÷هييîé ٌىàçêه îي ًàâهي 0,02 - 0,125. تًèٍهًèé PV

ٍàêèُ ىàٍهًèàëîâ â ًàçëè÷يûُ ٌَëîâèےُ èىههٍ ٌëهنَ‏ùèه çيà÷هيèے أ·ى/·ٌ):

آ ٌَëîâèےُ ٌàىîٌىàçûâàيèے (لهç نîïîëيèٍهëüيîé ٌىàçêè) نî 14-16,

دًè ïهًèîنè÷هٌêîé è ٌêَنيîé ٌىàçêه 25,

دًè îلèëüيîé ٌىàçêه 70-100,

دًè ٌىàçêه ïîن نàâëهيèهى نî 400.

ءîëهه âûٌîêèه ٌâîéٌٍâà èىههٍ ىàٍهًèàë ىàًêè ئأًا, ٌîنهًوàùèé 3% مًàôèٍà ٌ ïîًèٌٍîٌٍü‏ 15-20%. سâهëè÷هيèه ïîًèٌٍîٌٍè نî 28-32% ïîçâîëےهٍ نëèٍهëüيî همî èٌïîëüçîâàٍü ïًè يàمًَçêàُ نî 10 êأى2. دًè î÷هيü ىàëûُ ٌêîًîٌٍےُ ٌêîëüوهيèے (0,1 ى/ٌ) ىàٍهًèàë ئأً4 ىîوهٍ ًàلîٍàٍü نî يàمًَçîê 150 êأى2. حàèلîëهه ٌٍàلèëüيûىè ôèçèêî-ىهُàيè÷هٌêèىè, ٍهُيîëîمè÷هٌêèىè ٌâîéٌٍâàىè è ًٌٍَêًٍَîé îلëàنàهٍ وهëهçîمًàôèٍîâûé ىàٍهًèàë, ٌîنهًوàùèé 0,8-1% مًàôèٍà. ايà÷èٍهëüيî ïîâûّàهٍ êًèٍهًèé PV è ٌîïًîٍèâëهيèه ٌُâàٍûâàيè‏ ïًèٌٌٍٍَâèه â ىàٍهًèàëه ِهىهيٍèٍà. زàê, يàëè÷èه â ًٌٍَêًٍَه ىàٍهًèàëà 20-25% ِهىهيٍèٍà َâهëè÷èâàهٍ PV نî 200-300 êأ·ىى2∙ٌ â ٌَëîâèےُ مًàيè÷يîمî ًٍهيèے. خنيàêî ٌ َâهëè÷هيèهى ٌîنهًوàيèے مًàôèٍà è îٌîلهييî â ïًèٌٌٍٍَâèè ِهىهيٍèٍà ïîâûّàهٌٍے èçيîٌ âàëà, ïî‎ٍîىَ îٌيîâيûى ٌَëîâèهى îلهٌïه÷هيèے ًàلîٍîٌïîٌîليîٌٍè ٍàêèُ ىàٍهًèàëîâ ےâëےهٌٍے ïîâûّهيèه ٍâهًنîٌٍè ٌîïًےوهييîمî âàëà (يه يèوه HRC = 45÷50). دî ٍàêèى وه ïًè÷èيàى ïîâûّàهٌٍے âًهىے ïًèًàلîٍêè ïîنّèïيèêîâ, êîٍîًîه ïًè PV, لëèçêîى ê 50 êأ·ىى2∙ٌ, ٌîٌٍàâëےهٍ 5-12 ÷.

دًهنهëüيàے ٌêîًîٌٍü ٌêîëüوهيèے نëے وهëهçîمًàôèٍîâûُ ىàٍهًèàëîâ ٌîٌٍàâëےهٍ 2-3 ى/ٌ. زàê, ïًè ٌêîًîٌٍè ٌâûّه 2,5 ى/ٌ êî‎ôôèِèهيٍ ًٍهيèے èُ êîëهلëهٌٍے â ïًهنهëàُ 0,54-0,0125, ٍ. ه. ٌٍàيîâèٌٍے يهٌٍàلèëüيûى, à ïًè ٌêîًîٌٍè ٌêîëüوهيèے 4 ى/ٌ îيè ïًàêٍè÷هٌêè ٍهًے‏ٍ ًàلîٍîٌïîٌîليîٌٍü. فٍî ٌâےçàيî ٌ ïًهâûّهيèهى نîïٌٍَèىîé ًàلî÷هé ٍهىïهًàًٍَû, ًàâيîé 100-130 è 230°ر (êًàٍêîâًهىهييî). ؤëèٍهëüيîٌٍü ًàلîٍû ïîنّèïيèêîâ èç وهëهçîمًàôèٍîâûُ ىàٍهًèàëîâ îïًهنهëےهٌٍے ٌَëîâèےىè èُ ًàلîٍû è يه ïًهâûّàهٍ 3-5 ٍûٌ. ÷. زàêèه ىàٍهًèàëû ّèًîêî ïًèىهيے‏ٍ â ٍهïëîâîçîًٌٍîهيèè (âٍَëêè وàë‏çè ٍهïëîâîçà), َçëàُ ًٍهيèے ٌهëüُîçىàّèي (êîىلàéيîâ, ًٍàêٍîًîâ), ّâهéيûُ ىàّèي, نëے èçمîٍîâëهيèے âٍَëîê َمîëüيûُ ًٍàيٌïîًٍهًîâ, ىàميèٍîôîيîâ, َçêîïëهيî÷يûُ êèيîàïïàًàٍîâ, ًû÷àمîâ ïهًهنيهé ïîنâهٌêè è نًَمèُ َçëîâ àâٍîىîلèëهé, ٌâهًëèëüيûُ ٌٍàيêîâ, âٍَëîê ïîïهًه÷يîمî ًٍàيٌïîًٍهًà ٌٍàيà 2000 è ءت-2, ىهُàيèçىîâ َلîًêè ïًîêàٍيîمî ëèٌٍà, âàëüِîâ نëے ًàçâàëüِîâêè ىàٌëîٌٍîéêîé ًهçèيû, âٍَëîê ٍîًىîçيîé ïهًهنà÷è âàمîيîâ ‎ëهêًٍîïîهçنîâ, ّàًيèًà ًàىû ىîٍîïèëû è نًَمèُ ِهëهé. خٌيîâيûه ًٍهلîâàيèے ïًè èُ ‎êٌïëَàٍàِèè ٌâîنےٌٍے ê يهïًهًûâيîé èëè ٌèٌٍهىàٍè÷هٌêîé ïîنà÷ه ٌىàçêè, îٌٌٍٍٍَâè‏ ًهçêèُ َنàًيûُ يàمًَçîê è èٌïîëüçîâàيè‏ âàëîâ èç çàêàëهييûُ ٌٍàëهé.

تîىïîçèِèè وهëهçî - ىهنü è وهëهçî - ىهنü - مًàôèٍ

خيè يàُîنےٍ ّèًîêîه ïًèىهيهيèه â ïًîىûّëهييîٌٍè. تîëè÷هٌٍâî ىهنè, ââîنèىîé â àيٍèôًèêِèîييûه ىàٍهًèàëû يà وهëهçيîé îٌيîâه, êîëهلëهٌٍے â ïًهنهëàُ îٍ 0,5 نî 20%. زàê êàê ًàٌٍâîًèىîٌٍü ىهنè â وهëهçه ïًè êîىيàٍيîé ٍهىïهًàًٍَه î÷هيü ىàëà, َ ٌïëàâà وهëهçî-ىهنü îلû÷يî مهٍهًîمهييàے ًٌٍَêًٍَà. دًè ٌîنهًوàيèè ىهنè â وهëهçه نî 3-5% âêë‏÷هيèے ىهنè èىه‏ٍ نèٌïهًٌيûه ًàçىهًû è ٌëàلî ًàçëè÷èىû ïîن îلû÷يûى ىèêًîٌêîïîى. دًè لîëهه âûٌîêîى ٌîنهًوàيèè ىهنè îيà âèنيà يà ىèêًîّëèôàُ â âèنه âêë‏÷هيèé ًîçîâîمî ِâهٍà. جهنü çيà÷èٍهëüيî ïîâûّàهٍ ïًî÷يîٌٍü ïîًèٌٍîمî وهëهçà, لëàمîïًèےٍيî âëèےهٍ يà همî ٌïهêàهىîٌٍü è ïîçâîëےهٍ ًهمَëèًîâàٍü èçىهيهيèه ًàçىهًîâ ïًè ٌَàنêه â ïًîِهٌٌه ٌïهêàيèے, ÷ٍî è îïًهنهëèëî ّèًîêîه ïًèىهيهيèه هه â êà÷هٌٍâه ëهمèًَ‏ùهمî ‎ëهىهيٍà â نâîéيûُ è ىيîمîêîىïîيهيٍيûُ ٌïëàâàُ وهëهçà.

ؤëے èçمîٍîâëهيèے ïîنّèïيèêîâ èٌïîëüçَ‏ٍ ïًهèىَùهٌٍâهييî ىàٍهًèàëû ٌ ٌîنهًوàيèهى نî 5-9% ىهنè. رâîéٌٍâà ىàٍهًèàëîâ وهëهçî- ىهنü â çàâèٌèىîٌٍè îٍ ٌîنهًوàيèے ىهنè ïًèâهنهيû â ٍàلë. 1.9 è 1.10.

زàلëèِà 1.9 - شèçèêî-ىهُàيè÷هٌêèه ُàًàêٍهًèٌٍèêè ىàٍهًèàëîâ êîىïîçèِèè وهëهçî-ىهنü

رîنهًوàيèه ىهنè (îٌٍàëüيîه Fe). ىàٌ. %                د, %         دëîٍيîٌٍü, م/حآ,

êأ/

دًهنهëû ïًî÷يîٌٍè, êأ/خٍيîٌèٍهëüيîه َنëèيهيèه, %دًهنهëüيî نîïٌٍَèىàےPV,

êأ·ى/·ٌ






                                                                             يàمًَçêà êأ/ٌêîًîٌٍü,

ى



 

ؤî 2,0 2,5-3,0 5,0 7,0-7,5 10,0 15,0 20,0 25,0 18,0-22,0 7,0-22,0 40,0

20-30 13-18 16-32 16-22 25 15-20 20 25 18 18 18

5,5-6,0 6,8-7,2 5,5-7,0 6,7-7,0 5,9-7,1 5,8 - 6,4 6,0-6,4 5,8-6,2 5,8-6,2

60-90 50-110 25-130 59-128 60-130 - 82-85 45 - - -

22,0-27,0 19,0-32,0 7,6-39,0 21,0-45,0 12,8-39,0 6,0 29,0-32,0 19,0 32,5 24,0 10,0

- - 88 114 88 - - 125 - - -

6 2-5 0,55-3 0,45-0,8 2,6 - 0,9-1 - 0,5 0,5 0,5

950 - 950 84 - 1250 600 - 2900 - --

- - - 0,5-3 - - - - - - --

16 - 16 - - 20 16 - 16 - --

 زàلëèِà 1.10 - ايà÷هيèه ىîنَëے َïًَمîٌٍè وهëهçî-ىهنü-مًàôèٍîâûُ ىàٍهًèàëîâ ïًè ًàçëè÷يîé ïîًèٌٍîٌٍè رîٌٍàâ ىàٍهًèàëà جîنَëü َïًَمîٌٍè·, êأ/

  15% 13-16% 20% 25% 30% 35%  Fe-5÷9% Cu Fe-3% Cu Fe-2÷3,5% Cu-1,1÷1,5 C Fe-8% Cu-2% C 13,5 10,9 - 12,0-14,0 - - 10,0-14,7 11,0  - 10,0-12,0 - 8,45 - - - - - 5,7-7,8 7,0 - - -  


ہيٍèôًèêِèîييûه ٌâîéٌٍâà ‎ٍèُ ىàٍهًèàëîâ ىàëî îٍëè÷à‏ٌٍے îٍ ٌâîéٌٍâ ïîًèٌٍîمî وهëهçà è وهëهçîمًàôèٍà. خيè ïًèىهيے‏ٌٍے ٍîëüêî ïًè ًàلîٍه ٌî ٌىàçêîé è ًهوه â ًهوèىه ٌàىîٌىàçûâàيèے.

آâهنهيèه ىهنè çيà÷èٍهëüيî َëَ÷ّàهٍ ٌâîéٌٍâà êîىïîçèِèè وهëهçî-مًàôèٍ. جهنü çàىهنëےهٍ نèôôَçè‏ َمëهًîنà â α- è γ-وهëهçه, ïًهنîٍâًàùàهٍ îلًàçîâàيèه ِهىهيٍèٍà, َëَ÷ّàهٍ ًٌٍَêًٍََ è ىهُàيè÷هٌêèه ٌâîéٌٍâà ىàٍهًèàëà, çيà÷èٍهëüيî ïîâûّàهٍ ىèêًîٍâهًنîٌٍü. زàê, ىèêًîٍâهًنîٌٍü ôهًًèٍà â ïîًèٌٍîى وهëهçه è ïîًèٌٍîى وهëهçîمًàôèٍه, ëهمèًîâàييîى 5% ىهنè, ًàâيà ٌîîٍâهٌٍٍâهييî 103,8-203,5 è 270,9-525 êأ/ىى2. جèêًîٍâهًنîٌٍü ïهًëèٍà ٌ َâهëè÷هيèهى ٌîنهًوàيèے ىهنè îٍ 1 نî 11% âîçًàٌٍàهٍ îٍ 336,3 نî 851,2 êأ/ىى2. فٍî îلٌَëîâëèâàهٍ لîëهه âûٌîêèé ًَîâهيü ٌâîéٌٍâ ىàٍهًèàëîâ êîىïîçèِèè وهëهçî- ىهنü-مًàôèٍ ïî ًٌàâيهيè‏ ٌ ىàٍهًèàëàىè êîىïîçèِèè وهëهçî-ىهنü. شèçèêî-ىهُàيè÷هٌêèه ُàًàêٍهًèٌٍèêè àيٍèôًèêِèîييûُ ىàٍهًèàëîâ êîىïîçèِèè وهëهçî - ىهنü - مًàôèٍ ( - ٌهًà) ïًèâهنهيû â ٍàلë.1.11.

زàلëèِà 1.11 - شèçèêî-ىهُàيè÷هٌêèه ُàًàêٍهًèٌٍèêè àيٍèôًèêِèîييûُ ىàٍهًèàëîâ êîىïîçèِèè وهëهçî - ىهنü - مًàôèٍ ( - ٌهًà)

صèىè÷هٌêèé ٌîٌٍàâ (îٌٍàëüيîه Fe), %      دëîٍيîٌٍü, م/دîًèٌٍîٌٍü,

%حآ,

êأ/دًهنهë ïًî÷يîٌٍè ïًè ًàٌٍےوهيèè,

êأ/خٍيîٌè-

ٍهëüيîه

َنëèيهيèه,

%






 

Cu

C

S






1

2

3

4

5

6

7

8

2,5 2,5 1,0-3,0 5,0-10,0 5,0-15,0 3,0 15,0-25,0 3,0-10,0 3,0 3,0 3,0 2,5 2,5           1,5 2,0 1,1 1,1 2,4-3,0 0,8 1,0 1,3-2,0 1,5-2 0-0,7 1,5 1,2 2,0                - - - - - - - 0-0,4 0,3-0,4 0,15-0,4 0,4 0,8 0,4-0,8            6,9-7,2 - - - - 6,2 7,2-7,6 - - - - - -      16-25 15-32 15 >15 17-27 20 - 18-27 18-25 - 14-27 17-23 16-25               60-180 60-150 115-145 135-165 55-105 140-170

-130

-90

-100

-150

-130

-16512-45

-27

-39

-39

-27

-47

-60

-40

-20

-25

-50

-18

-260,5-3,5

,0

,8-1,2

,1-0,9

,4-0,7

,0

-1,0

,0-4,0

-



سنàًيàے âےçêîٌٍü, êأى/دًهنهë ïًî÷يîٌٍè ïًè ٌوàٍèè, êأ/دًهنهë ïًî÷يîٌٍè ïًè èçمèله,

êأ/تî‎ôôèِèهيٍ

ًٍهيèےدًهنهëüيî نîïٌٍَèىàےPV,

êأ·ى/






                                                 يàمًَçêà, êأ/cêîًîٌٍü,

ى



 

9

10

11

12

13

14

15

0,4-8,0 >0,25 0,75-1,0 0,6-0,8 0,4-0,5 - - - - - 0,3-0,8 - 0,4

60 - - - - - - - - - 90-100 50 >75

>25 29-80 67-82 64-75 32-36 - - - - - - 40-46 30-40

0,01-0,06 - - - - - - - - - 0,05-0,11 0,01-0,10 0,03-0,05

- 100 - - - - - 196 - - 5-100 100 -

- 3,0 - - - - - - - - 0,5-8,0 5,0 -

- - - ؤî 70 - - - - - - - - -


حàïًèىهً, ïًهنهë ïًî÷يîٌٍè ىàٍهًèàëà ïîًèٌٍîٌٍü‏ 18-20% ٌîٌٍàâà ئأً1ؤ5 ًàâهي 35, à ىàٍهًèàëà ئؤ5 - 31 êأ/ىى2; نëے ىàٍهًèàëà ئأً1ؤا - 36, à ئؤا - 30,4 êأ/ىى2. حàèلîëهه ٌٍàلèëüيûه ُàًàêٍهًèٌٍèêè èىه‏ٍ ىàٍهًèàëû, ٌîنهًوàùèه 5% ىهنè è 1% مًàôèٍà, 4 - 8% ىهنè è 1,5% مًàôèٍà. آ êà÷هٌٍâه îïٍèىàëüيîمî ٌîنهًوàيèے ىهنè â ٌïه÷هييûُ ىàٍهًèàëàُ يà îٌيîâه وهëهçà ًهêîىهينَهٌٍے 5-6 èëè 5-9%. جîنَëü َïًَمîٌٍè ٍàêèُ ىàٍهًèàëîâ ïًèâهنهي â ٍàلë. 1.10.

ہيٍèôًèêِèîييûه ٌâîéٌٍâà وهëهçî-ىهنü-مًàôèٍîâûُ êîىïîçèِèé ٌîïîٌٍàâèىû ٌî ٌâîéٌٍâàىè وهëهçîمًàôèٍîâûُ ىàٍهًèàëîâ. حàïًèىهً, ىàٍهًèàë ىàًêè ئأً1,5ؤ5 (1,5% ر, 5% Cu) ٌ ïîًèٌٍîٌٍü‏ 20-25% è ٍâ¸ًنîٌٍü‏ 55-75 êأ/ىى2 ٌïîٌîلهي îلهٌïه÷èٍü ًàلîٍîٌïîٌîليîٌٍü ïîنّèïيèêîâ ïًè يهïًهًûâيîé ïîنà÷ه ٌىàçêè è PV نî 70 êأىى2∙ٌ. دًèٌٌٍٍَâèه ًٌٍَêًٍَيî-ٌâîلîنيîé ىهنè يه îêàçûâàهٍ ïîëîوèٍهëüيîمî âëèےيèے يà àيٍèôًèêِèîييûه ٌâîéٌٍâà, يî يهٌêîëüêî ٌيèوàهٍ èçيîٌ âàëà, آ يهêîٍîًûُ ٌَëîâèےُ ًٍهيèے ïًèٌٌٍٍَâèه ٌâîلîنيîé ىهنè ïًèâîنèٍ ê ٌُâàٍûâàيè‏.

ؤëے ًàلîٍû â ٌَëîâèےُ îمًàيè÷هييîé ïîنà÷è ٌىàçêè ًهêîىهينَ‏ٌٍے êîىïîçèِèے ٌ ïîâûّهييûى ٌîنهًوàيèهى مًàôèٍà (4-15%) è ىهنè (4-12%).

جàٍهًèàë, îٍâه÷à‏ùèé ٌîٌٍàâَ ئأً4ؤ7 (4% ر, 7% Cu), îلهٌïه÷èâàهٍ ًàلîٍîٌïîٌîليîٌٍü َçëîâ ًٍهيèے â ًهوèىه ٌàىîٌىàçûâàيèے ïًè ٌêîًîٌٍè ٌêîëüوهيèے 0,94 ى/ٌ è يàمًَçêه 10-45 êأى2 ٌ êî‎ôôèِèهيٍîى ًٍهيèے 0,1. آ ٌَëîâèےُ لîëüّèُ ٌêîًîٌٍهé ٌêîëüوهيèے (> 1,5 ى/ٌ) يهîلُîنèىî َâهëè÷èٍü êîëè÷هٌٍâî مًàôèٍà ëèلî ââهٌٍè نîïîëيèٍهëüيَ ٌىàçêَ. زهïëîïًîâîنيîٌٍü وهëهçîمًàôèٍà ïًè ââهنهيèè 20% ىهنè ïîâûّàهٌٍے يà 40%.

آûٌîêèه ôèçèêî-ىهُàيè÷هٌêèه ُàًàêٍهًèٌٍèêè ىàٍهًèàëîâ êîىïîçèِèè وهëهçî-ىهنü è وهëهçî-ىهنü-مًàôèٍ ïîçâîëے‏ٍ ïًèىهيےٍü èُ â îٍâهٌٍٍâهييûُ َçëàُ ًٍهيèے, منه ًٍهلَهٌٍے ïîâûّهييàے ïًî÷يîٌٍü ïîنّèïيèêîâîمî ىàٍهًèàëà. زàêèه ىàٍهًèàëû ٌïîٌîليû âûنهًوèâàٍü ٌٍàٍè÷هٌêèه يàمًَçêè نî 600-2900 êأى2. خنيàêî êًèٍهًèé PV ٍàêèُ ىàٍهًèàëîâ يه ïًهâûّàهٍ 20 êأىى2∙ٌ ïًè îمًàيè÷هييîé ٌىàçêه. جàٍهًèàëû وهëهçî-ىهنü, ٌîنهًوàùèه ىهنü ٌâûّه 10% (نî 40- 70%), îلëàنà‏ٍ ïîâûّهييîé êîًًîçèîييîé ٌٍîéêîٌٍü‏, ïî àيٍèôًèêِèîييûى ٌâîéٌٍâàى يه ٌٍََïà‏ٍ لًîيçه è ٌ ٌَïهُîى ىîمٍَ هه çàىهيےٍü. آ ٌâےçè ٌ ‎ٍèى çà ًَلهوîى âûïٌَêà‏ٍ ىàٍهًèàëû ٍèïà وهëهçî-لًîيçà, êîٍîًûه ٌîٌٍîےٍ èç 70% ىهنè, 30% وهëهçà è èىه‏ٍ ïًè ïîًèٌٍîٌٍè 20% δ = 1%, σâ = 14 êأ/ىى2 èëè ٌîنهًوàٍ 31,5% ىهنè è 3,5% îëîâà (îٌٍàëüيîه وهëهçî). س ïîٌëهنيèُ ïًè ïîًèٌٍîٌٍè 20% δ = 3,5% è σâ = -24,6 êأ/ىى2 (رطہ). آ طâهِèè ïًîèçâîنےٍ ىàٍهًèàë ïîن ىàًêîé «Essem ferrobrons», êîٍîًûé ٌîنهًوèٍ 44,5% ىهنè, 4,5% îëîâà, 1% مًàôèٍà è 50% وهëهçà. خي èىههٍ ïًè ïîًèٌٍîٌٍè 23% σâ = 22- 37 êأ/ىى2, δ = 1% è حآ = 60-105 êأ/ىى2.

آ êîيًٌٍَêٍîًٌêîé ÷àٌٍè لûëè ًàٌٌىîًٍهيû àيٍèôًèêِèîييûه ïîًîّêîâûه ٌٍàëè يà îٌيîâه وهëهçà, ىهٍîنû è ٌïîٌîلû ïًهٌٌîâàيèے è ôîًىîîلًàçîâيèے ïîًîّêîâ, ïًîàيàëèçèًîâàيà ïًîهêٍèًَهىàے ïًهٌٌ-ôîًىà è âûلًàيî ïًهٌٌîâîه îلîًَنîâàيèه - ïًهٌٌ-àâٍîىàٍ زذہ-50.

آ ïًîِهٌٌه âûïîëيهيèے êîيًٌٍَêٍîًٌêîé ÷àٌٍè لûëè ًàٌٌ÷èٍàيû îٌيîâيûه ‎ëهىهيٍû ïًهٌٌ-ôîًىû, ىàًٍèِà ïًهٌٌ-ôîًىû ًàٌٌ÷èٍàيà يà ïًî÷يîٌٍü è و¸ٌٍêîٌٍü, يèويèé ïَàيٌîي يà ٌوàٍèه è èçمèل.

دî ًهçَëüٍàٍàى êîيًٌٍَêٍîًٌêîمî ًàٌ÷¸ٍà ٌëهنَهٍ, ÷ٍî نهٍàëè ïًهٌٌ-ôîًىû è âٌے ïًهٌٌ-ôîًىà â ِهëîى َنîâëهٍâîًےهٍ ٌَëîâèےى ïًî÷يîٌٍè è وهٌٍêîٌٍè.

2. بررثإؤخآہزإثـرتہك ×ہرزـ

.1 سïًî÷يهيèه ïîًîّêîâûُ ىàٍهًèàëîâ

دîن ٍهًىè÷هٌêîé îلًàلîٍêîé ïîيèىàهٌٍے ٌîâîêَïيîٌٍü îïهًàِèé يàمًهâà, âûنهًوêè ïًè âûٌîêèُ ٍهىïهًàًٍَàُ è îُëàونهيèے â ِهëےُ èçىهيهيèے ًٌٍَêًٍَû è îلًàلàٍûâàهىîٌٍè ىàٍهًèàëà, َëَ÷ّهيèے ٌî÷هٍàيèے همî ىهُàيè÷هٌêèُ è ôèçè÷هٌêèُ ٌâîéٌٍâ لهç èçىهيهيèے ôîًىû è ًàçىهًîâ èçنهëèé. آîçىîويîٌٍü ïًèىهيهيèے ًàçëè÷يûُ âèنîâ ٍهًىè÷هٌêîé îلًàلîٍêè îٌيîâàيà يà ٍîى, ÷ٍî êàونàے ÷àٌٍèِà ïîًîّêîâîمî ىهٍàëëà ïًهنٌٍàâëےهٍ ٌîلîé êîىïàêٍيûé ىهٍàëë, â êîٍîًîى ïًè يàمًهâه è îُëàونهيèè ٌîâهًّà‏ٌٍے ٍàêèه وه ïًهâًàùهيèے, êàê è â لîëüّèُ îلْهىàُ ëèٍîمî è êîâàيîمî ىهٍàëëà. خنيàêî ًهçêîه îٍëè÷èه ïîًîّêîâîمî ىهٍàëëà îٍ êîâàيîمî ïî ًٌٍَêًٍَيîىَ ًٌٍîهيè‏, ٍهًىîنèيàىè÷هٌêîىَ ٌîٌٍîےيè‏ يه ïîçâîëےهٍ àâٍîىàٍè÷هٌêè ïهًهيîٌèٍü çàêîيîىهًيîٌٍè ٍهïëîâûُ ïًîِهٌٌîâ êîâàيûُ ٌٍàëهé يà ïîًîّêîâûه [2].

2.1.1 اàêàëêà ïîًîّêîâûُ ٌٍàëهé

رًٍَêًٍَيûه îٌîلهييîٌٍè ïîًîّêîâûُ ٌٍàëهé îêàçûâà‏ٍ âëèےيèه يà هه çàêàëèâàهىîٌٍü, ïîن êîٍîًîé ïîيèىàهٌٍے ٌïîٌîليîٌٍü ٌٍàëè âîٌïًèيèىàٍü çàêàëêَ, ٍ. ه. ïًèîلًهٍàٍü âûٌîêَ‏ ٍâهًنîٌٍü è ïًî÷يîٌٍü. اàêàëèâàهىîٌٍü َمëهًîنèٌٍîé ٌٍàëè çàâèٌèٍ îٍ ٌîنهًوàيèے َمëهًîنà è ïîëيîٍû ïًهâًàùهيèے àٌٍَهيèٍà â ىàًٍهيٌèٍ: ÷هى لîëüّه َمëهًîنà â ٌٍàëè, ٍهى âûّه ٍâهًنîٌٍü, ٍهى ëَ÷ّه çàêàëèâàهىîٌٍü ٌٍàëè. اàêàëèâàهىîٌٍü ëهمèًîâàييîé ٌٍàëè çàâèٌèٍ êàê îٍ ٌîنهًوàيèے َمëهًîنà, ٍàê è îٍ êîëè÷هٌٍâà è êà÷هٌٍâà ëهمèًَ‏ùèُ ‎ëهىهيٍîâ. حàïًèىهً, يهêîٍîًûه ëهمèًîâàييûه ٌٍàëè çà ٌ÷هٍ لîëüّîمî êîëè÷هٌٍâà ٌïهِèàëüيûُ êàًلèنîâ çàêàëèâà‏ٌٍے يà ٍâهًنîٌٍü نî 68-70 حRCف [2].

سٌٍàيîâëهييûه ًàçëè÷èے â çيà÷هيèےُ ٍâهًنîٌٍè ىàًٍهيٌèٍà è ïîےâëهيèه «ىےمêèُ» ïےٍهي â çàêàëهييûُ ïîًîّêîâûُ ٌٍàëےُ يهîلُîنèىî ٌâےçûâàٍü ه يàëè÷èهى â يèُ ïîً. دًè çàêàëêه îُëàونهيèه è ٍهïëîîٍâîن îٍ çàêàëèâàهىûُ èçنهëèé ٌîâهًّàهٌٍے ÷هًهç âيهّي‏‏ àêٍèâيَ‏ ïîâهًُيîٌٍü, êîٍîًàے â ٌëَ÷àه يàëè÷èے لهٌïîًèٌٍûُ ٍهë ےâëےهٌٍے ïîâهًُيîٌٍü‏ èçنهëèے, à هه âهëè÷èيà îïًهنهëےهٌٍے مهîىهًٍè÷هٌêèىè ًàçىهًàىè èçنهëèے. آ ïîًîّêîâûُ ٍهëàُ îُëàونهيèه ïًè çàêàëêه ىîوهٍ ïًîèçâîنèٍüٌے يه ٍîëüêî ÷هًهç âيهّي‏‏ ïîâهًُيîٌٍü, يî è ÷هًهç ïîâهًُيîٌٍü ïîً. دî‎ٍîىَ â ïîًèٌٍûُ ٍهëàُ àêٍèâيàے ïîâهًُيîٌٍü ےâëےهٌٍے ïهًهىهييîé âهëè÷èيîé è îïًهنهëےهٌٍے êàê مهîىهًٍèهé èçنهëèے, ٍàê îلْهىيûى ٌîنهًوàيèهى ïîً è èُ êà÷هٌٍâهييûى ٌîٌٍîےيèهى. إٌëè ïîًû çàêًûٍû è يه âûُîنےٍ يà ïîâهًُيîٌٍü, ٍî àêٍèâيàے ïîâهًُيîٌٍü ًàâيà àêٍèâيîé ïîâهًُيîٌٍè ٌîîٍâهٌٍٍâَ‏ùهمî êîىïàêٍيîمî ٍهëà.

بيàے êàًٍèيà لَنهٍ يàلë‏نàٍüٌے ïًè îُëàونهيèè ïîًèٌٍîمî ٍهëà. زàê êàê îُëàونà‏ùèه وèنêîٌٍè, ïًèىهيےهىûه ïًè çàêàëêه (يàïًèىهً, âîنà), êàê ïًàâèëî, îلëàنà‏ٍ يèçêîé ٍهىïهًàًٍَîé èٌïàًهيèے è êèïهيèے, ٍî ïًè ïîمًَوهيèè â يèُ مîًے÷èُ èçنهëèé وèنêîٌٍü, ïًîيèêàے â ïîًû, ىميîâهييî ïًهâًàùàهٌٍے â ïàً, îلًàçَهٍ يàن ïîًàىè ٌٍَîé÷èâûه ïَçûًüêè, ًهçêî َىهيüّà‏ùèه àêٍèâيَ‏ ïîâهًُيîٌٍü îُëàونهيèے. فٍî ïًèâîنèٍ ê ٌيèوهيè‏ îلùهé ٌêîًîٌٍè îُëàونهيèے, à â çîيàُ ïîً - ê îلًàçîâàيè‏ ىےمêèُ ïےٍهي. آ ِهëےُ ïًهنَïًهونهيèے îلًàçîâàيèے ٌٍَîé÷èâûُ مàçîâûُ ïَçûًüêîâ è ïîëَ÷هيèے îنيîًîنيîé ٍâهًنîٌٍè ïًè çàêàëêه ïîًèٌٍûُ ïîًîّêîâûُ èçنهëèé يهîلُîنèىî ïًîèçâîنèٍü èيٍهيٌèâيîه ïهًهىهّèâàيèه îُëàونà‏ùهé وèنêîٌٍè [2]. ہيàëèç ىèêًîًٌٍَêًٍَû çàêàëهييûُ îلًàçِîâ ٌ 13% ïîً èç ïîًîّêîâîé ٌٍàëè ٌ 0,8% ر ïîêàçàë, ÷ٍî ïًè çàêàëêه â âîنَ يà ïîâهًُيîٌٍè îلًàçِîâ يàلë‏نà‏ٌٍے ىàًٍهيٌèٍيàے è ىàًٍهيٌèٍيî-لهéيèٍيàے ًٌٍَêًٍَû, êîٍîًûه, ïًîيèêàے يà يهلîëüَّ‏ مëَلèيَ, ïهًهُîنےٍ â ًٍîîٌٍèٍيَ‏, à çàٍهى â ٌîًلèٍيَ‏. دًè çàêàëêه â ىàٌëî َ âٌهُ îلًàçِîâ يà ïîâهًُيîٌٍè îلًàçَهٌٍے ًٌٍَêًٍَà لهéيèٍيàے èëè لهéيèٍî-ًٍîîٌٍèٍيàے, ïهًهُîنےùàے ïî مëَلèيه â ٌîًلèٍيَ‏. آ ٌâےçè ٌ ‎ٍèى ىàٌëî (êàê çàêàëî÷يàے ًٌهنà) ًهêîىهينَهٌٍے ïًè çàêàëêه ٍîëüêî ىهëêèُ èçنهëèé, èçمîٍîâëهييûُ èç ëهمèًîâàييûُ ٌٍàëهé, êîٍîًûه èىه‏ٍ ىàëَ‏ êًèٍè÷هٌêَ‏ ٌêîًîٌٍü çàêàëêè, à ٍàêوه هٌëè لهéيèٍيàے ًٌٍَêًٍَà ےâëےهٌٍے ïًهنïî÷ٍèٍهëüيهه ىàًٍهيٌèٍيîé.

ت ÷èٌëَ ôàêٍîًîâ, ôîًىèًَ‏ùèُ ىهُàيè÷هٌêèه ٌâîéٌٍâà çàêàëهييûُ ٌٍàëهé, îٍيîٌےٌٍے ٍهىïهًàًٍَà è âًهىے يàمًهâà èçنهëèé ïîن çàêàëêَ, êîٍîًûه îïًهنهëے‏ٍ ًٌٍَêًٍََ, ٍâهًنîٌٍü è îنيîًîنيîٌٍü àٌٍَهيèٍà. آ ٌëَ÷àه ïîëَ÷هيèے êîâàيûُ ٌٍàëهé يàمًهâ âûّه îïٍèىàëüيîé ٍهىïهًàًٍَû ïًèâîنèٍ ê ًîٌٍَ çهًيà àٌٍَهيèٍà, à ïًè çàêàëêه - ê ïîëَ÷هيè‏ êًَïيîèمîëü÷àٍîمî ىàًٍهيٌèٍà è َâهëè÷هيè‏ îٌٍàٍî÷يîمî àٌٍَهيèٍà, ÷ٍî ٌيèوàهٍ ىهُàيè÷هٌêèه ٌâîéٌٍâà çàêàëهييûُ èçنهëèé.

حèçêàے ٌêëîييîٌٍü ê ًîٌٍَ çهًيà àٌٍَهيèٍà ïîًîّêîâûُ ٌٍàëهé ïîçâîëےهٍ ïًهنïîëîوèٍü, ÷ٍî èُ يàمًهâ ïîن çàêàëêَ ىîوهٍ îٌَùهٌٍâëےٍüٌے ïًè لîëهه âûٌîêèُ ٍهىïهًàًٍَàُ لهç îïàٌهيèے ïهًهمًهâà. سٌٍàيîâëهيî, ÷ٍî ïًهâûّهيèه ٍهىïهًàًٍَû يàمًهâà ïîًîّêîâûُ ٌٍàëهé ïîن çàêàëêَ يàن îïٍèىàëüيûىè ٍهىïهًàًٍَàىè, ïًèيےٍûىè نëے ٌîîٍâهٌٍٍâَ‏ùèُ êîâàيûُ ٌٍàëهé, يه ٍîëüêî يه ٌيèوàهٍ ٍâهًنîٌٍü, يî è ïîçâîëےهٍ ïîëَ÷àٍü ىهëêîçهًيèٌٍَ‏ لîëهه îنيîًîنيَ ًٌٍَêًٍََ ىàًٍهيٌèٍà ٌ ïîâûّهييûىè ٌâîéٌٍâàىè. دàنهيèه ٍâهًنîٌٍè è îمًَلëهيèه ًٌٍَêًٍَû يàلë‏نàهٌٍے ٍîëüêî ïîٌëه ïًهâûّهيèے îïًهنهëهييîé îïٍèىàëüيîé ٍهىïهًàًٍَû, çàâèٌےùهé îٍ ïîًèٌٍîٌٍè: ÷هى لîëüّه ïîًèٌٍîٌٍü, ٍهى âûّه ٍهىïهًàًٍَà يàمًهâà ïîن çàêàëêَ.

رëهنîâàٍهëüيî, â ïîًîّêîâûُ ٌٍàëےُ ïîن îïٍèىàëüيîé ٍهىïهًàًٍَîé çàêàëêè ïîيèىàهٌٍے ٍهىïهًàًٍَيûé èيٍهًâàë, îلهٌïه÷èâà‏ùèé ïîëَ÷هيèه ىàêٌèىàëüيîé ٍâهًنîٌٍè. آ çàâèٌèىîٌٍè îٍ ïîًèٌٍîٌٍè îي ًàٌïîëàمàهٌٍے يà 60-120°ر âûّه ٌîîٍâهٌٍٍâَ‏ùèُ êًèٍè÷هٌêèُ ٍî÷هê êîâàيûُ ٌٍàëهé àيàëîمè÷يîمî ُèىè÷هٌêîمî ٌîٌٍàâà.

2.1.2 اàêàëêà ïîًîّêîâûُ èçنهëèé ٌ ïًèىهيهيèهى يàمًهâà ٍîêàىè âûٌîêîé ÷àٌٍîٍû

فëهêًٍîٍهًىè÷هٌêàے îلًàلîٍêà ےâëےهٌٍے ïهًٌïهêٍèâيûى ىهٍîنîى ïîâûّهيèے ٌâîéٌٍâ ïîًîّêîâûُ èçنهëèé, ٍàê êàê îيà â îٍëè÷èه îٍ îلû÷يîé ٍهًىè÷هٌêîé îلًàلîٍêè îلهٌïه÷èâàهٍ ىèيèىàëüيَنهôîًىàِè‏ نهٍàëهé, نàهٍ âîçىîويîٌٍü îلًàلîٍêè ïîًèٌٍûُ èçنهëèé لهç ïًèىهيهيèے çàùèٍيûُ àٍىîٌôهً, ïîâûّàهٍ ٍâهًنîٌٍü çàêàëهييûُ نهٍàëهé, َëَ÷ّàهٍ èُ ًٌٍَêًٍََ è ïîçâîëےهٍ ïîëَ÷àٍü ُîًîّèه ٌî÷هٍàيèے ىهُàيè÷هٌêèُ ٌâîéٌٍâ. تًîىه ٍîمî, ‎ëهêًٍîٍهًىè÷هٌêàے îلًàلîٍêà ےâëےهٌٍے âûٌîêîïًîèçâîنèٍهëüيûى ïًîِهٌٌîى: ïًè ىàٌٌîâîى ïًîèçâîنٌٍâه نهٍàëهé ٌîçنà‏ٌٍے لëàمîïًèےٍيûه ٌَëîâèے نëے àâٍîىàٍèçàِèè è ïًîمًàىىèًîâàيèے îïهًàِèè. دîâûّهيèه ىهُàيè÷هٌêèُ ٌâîéٌٍâ ïًè ‎ٍîé îلًàلîٍêه ٌâےçûâàهٌٍے ٌ èçىهيهييûى ٌîٌٍîےيèهى àٌٍَهيèٍà ïًè ‎ëهêًٍîٍهًىè÷هٌêîى يàمًهâه. ہٌٍَهيèٍ ïهًهن çàêàëêîé ٌîٌٍîèٍ èç ىهëü÷àéّèُ çهًهي, ُàًàêٍهًèçَهٌٍے ٍîيêîé ٌَلًٌٍَêًٍَîé è لîëüّîé ىèêًîيهîنيîًîنيîٌٍü‏. فٍî ًٌٍîهيèه àٌٍَهيèٍà îًٍàوàهٌٍے يà ًٌٍَêًٍَه çàêàëهييîé ٌٍàëè - ىàًٍهيٌèٍه, ïîâûّàهٍ همî ٌâîéٌٍâà [2].

حà ًèٌَيêه 2.1 ïًèâهنهيû êًèâûه يàمًهâà َمëهًîنèٌٍûُ ٌٍàëهé ëèٍîé è ïîًîّêîâîé ٌ ïîًèٌٍîٌٍü‏ 10; 15 è 20%. بç ًèٌَيêà ٌëهنَهٍ, ÷ٍî â ٍهىïهًàًٍَيîى èيٍهًâàëه نî ٍî÷êè ت‏ًè (768 °ر) ٌêîًîٌٍü èينَêِèîييîمî يàمًهâà ïًàêٍè÷هٌêè îنèيàêîâà è يه çàâèٌèٍ îٍ ïîًèٌٍîٌٍè. دًè ٍهىïهًàًٍَه âûّه ٍî÷êè ت‏ًè ïًîèٌُîنèٍ ïهًهُîن ôهًًèٍيîé ٌîٌٍàâëے‏ùهé â ïàًàىàميèٍيîه ٌîٌٍîےيèه, ÷ٍî âûçûâàهٍ ïهًهًàٌïًهنهëهيèه ٍîêà è ٌâےçàييîه ٌ يèى ًهçêîه èçىهيهيèه ٌîîٍيîّهيèے ٍهïëà, êîٍîًîه ٌîçنàهٌٍے â ïîâهًُيîٌٍيîى ٌëîه, è ٍهïëà, îٍâîنèىîمî âمëَلü îلًàçِà, ÷ٍî îلٌَëîâëèâàهٌٍے ًàçëè÷يîé ٍهïëîïًîâîنيîٌٍü‏ îلًàçِîâ ٌ ًàçëè÷يîé ïîًèٌٍîٌٍü‏. دًè ‎ٍèُ ٍهىïهًàًٍَàُ يàèëَ÷ّèé îٍâîن ٍهïëà âيًٍَü îلًàçِà يàلë‏نàهٌٍے َ ëèٍîé ٌٍàëè (ًèٌَيîê 2.1, êًèâàے 1), َُوه َ ïîًîّêîâûُ ٌٍàëهé. دًè÷هى ÷هى لîëüّه ïîًèٌٍîٌٍü, ٍهى لîëüّه çàًٍَنيےهٌٍے îٍâîن.

ذèٌَيîê 2.1 - تًèâûه èينَêِèîييîمî يàمًهâà ëèٍîé ٌٍàëè (êًèâàے 1) è ïîًîّêîâûُ ٌٍàëهé ٌ ïîًèٌٍîٌٍü‏ 10; 15 è 20% ٌîîٍâهٌٍٍâهييî - êًèâûه 2, 3, 4

خïٍèىàëüيàے ٍهىïهًàًٍَà èينَêِèîييîمî يàمًهâà ïîن çàêàëêَ çàâèٌèٍ îٍ ٌêîًîٌٍè يàمًهâà: ÷هى لîëüّه ‎ٍà ٌêîًîٌٍü, ٍهى âûّه ٍهىïهًàًٍَà يàمًهâà, îلهٌïه÷èâà‏ùàے ىàêٌèىàëüيَ ٍâهًنîٌٍü çàêàëهييîé ٌٍàëè (ًèٌَيîê 2.2). سٌٍàيîâëهيî, ÷ٍî نëے َمëهًîنèٌٍîé ٌٍàëè èç ïîًîّêîâ ٌ 0,56-0,58% ر è 15% ïîً ïًè ٌêîًîٌٍè يàمًهâà 80 °/ٌ ىàêٌèىàëüيàے ٍâهًنîٌٍü ïîëَ÷àهٌٍے ïًè çàêàëêه ٌ ٍهىïهًàًٍَû 1000 °ر, à ïًè ٌêîًîٌٍè يàمًهâà 550 °/ٌ - ïًè çàêàëêه ٌ 1075 °ر.

آâهنهيèه ëهمèًَ‏ùèُ ‎ëهىهيٍîâ îًٍàوàهٌٍے يà îلùهى ُîنه êًèâûُ èينَêِèîييîمî يàمًهâà è يà îٍنهëüيûُ èُ َ÷àٌٍêàُ. زàê, ëهمèًَ‏ùèه ‎ëهىهيٍû â îلëàٌٍè ôàçîâûُ ïًهâًàùهيèé çàىهنëے‏ٍ ٌêîًîٌٍü يàمًهâà, è îيà ٌٍàيîâèٌٍے ىهيüّهé ïî ًٌàâيهيè‏ ٌî ٌêîًîٌٍü‏ يàمًهâà نî ٍî÷êè ت‏ًè. دًè ââهنهيèè â ٌٍàëü 3-5% يèêهëے يà êèيهٍè÷هٌêîé êًèâîé ïîےâëےهٌٍے âٍîًîé ïهًهمèل, ٌîîٍâهٌٍٍâَ‏ùèé ٍهىïهًàًٍَه 400 °ر. ہيàëèç ïîëَ÷هييûُ نàييûُ ïîêàçûâàهٍ, ÷ٍî çàêîيîىهًيîٌٍè êèيهٍèêè èينَêِèîييîمî يàمًهâà ïîًèٌٍîé ٌٍàëè àيàëîمè÷يû çàêîيîىهًيîٌٍےى يàمًهâà êîâàيîé ٌٍàëè.

حà îٌيîâàيèè èçَ÷هيèے êèيهٍèêè èينَêِèîييîمî يàمًهâà لûëè îïًهنهëهيû îïٍèىàëüيûه ïàًàىهًٍû ‎ëهêًٍîٍهًىè÷هٌêîé îلًàلîٍêè ëهمèًîâàييîé ٌٍàëè:

ٌêîًîٌٍü يàمًهâà â îلëàٌٍè ôàçîâûُ ïًهâًàùهيèé ٌîٌٍàâëےëà ïًèلëèçèٍهëüيî 400 °/ٌ, ٍهىïهًàًٍَà يàمًهâà ïîن çàêàëêَ - 1000-1050 °ر. فٍè ïàًàىهًٍû îلهٌïه÷èâà‏ٍ ïîëَ÷هيèه يàèلîëهه âûٌîêèُ ىهُàيè÷هٌêèُ ٌâîéٌٍâ ïًè ٌêâîçيîى يàمًهâه çàêàëèâàهىûُ èçنهëèé.

بçنهëèے, ïîنâهًميٍَûه ‎ëهêًٍîٍهًىè÷هٌêîé îلًàلîٍêه, èىه‏ٍ لîëهه îنيîًîنيَ ٍâهًنîٌٍü ïî ًٌàâيهيè‏ ٌî ٌïه÷هييûىè. رًهنيهه çيà÷هيèه ٍâهًنîٌٍè ïîâûّàهٌٍے ïًèىهًيî â 2,5 ًàçà. دîٌëهنَ‏ùèé îٍïٌَê ïًè 180 °ر â ٍه÷هيèه 40 ىèي ïîâûّàهٍ ٍâهًنîٌٍü ëهمèًîâàييûُ ٌٍàëهé, ÷ٍî, ïî-âèنèىîىَ, îلْےٌيےهٌٍے ÷àٌٍè÷يûى ïهًهُîنîى îٌٍàٍî÷يîمî àٌٍَهيèٍà â ىàًٍهيٌèٍ.

ذèٌَيîê 2.2 - بçىهيهيèه ٍâهًنîٌٍè çàêàëهييûُ îلًàçِîâ èç ïîًîّêîâîé ٌٍàëè â çàâèٌèىîٌٍè îٍ ٌêîًîٌٍè يàمًهâà: êًèâàے 1-3 - ٌêîًîٌٍü يàمًهâà 80, 240, 550 °/ٌ

2.2 ذàٌ÷¸ٍ èينَêٍîًà

ذàٌ÷هٍ èينَêٍîًà نëے ïîâهًُيîٌٍيîé çàêàëêè ٌîٌٍîèٍ èç ًٍهُ ‎ٍàïîâ:

âûلîً ÷àٌٍîٍû;

ٍهïëîâîمî ًàٌ÷هٍà, â ًهçَëüٍàٍه êîٍîًîمî îïًهنهëے‏ٌٍے ىîùيîٌٍü è âًهىے, ًٍهلَهىûه نëے يàمًهâà نهٍàëè يà çàنàييَمëَلèيَ ïًè çàنàييîé ٍهىïهًàًٍَه ïîâهًُيîٌٍè;

) ‎ëهêًٍè÷هٌêîمî ًàٌ÷هٍà, êîٍîًûé îïًهنهëےهٍ ىîùيîٌٍü, ïîنâîنèىَ‏ ê êîيًٍََ, ٍîê â èينَêٍîًه è يàïًےوهيèه يà همî çàوèىàُ, ًàçىهًû èينَêٍîًà è êîىïëهêٍَ‏ùèه ‎ëهêًٍîîلîًَنîâàيèے.

زهïëîâîé è ‎ëهêًٍè÷هٌêèé ًàٌ÷هٍû نîâîëüيî ٌëîويû, â îٌîلهييîٌٍè ïًè ًٌهنيèُ ÷àٌٍîٍàُ, êîمنà مëَلèيà àêٍèâيîمî â نهٍàëè, ïî êîٍîًîىَ ïًîُîنèٍ مëàâيàے ÷àٌٍü èينَêٍèًîâàييîمî ٍîêà, îلû÷يî ïًهâûّàهٍ مëَلèيَ ïًîمًهâà نî ٍهىïهًàًٍَû ىàميèٍيûُ ïًهâًàùهيèé ٌٍàëè è çيà÷èٍهëüيîه âëèےيèه يà ٍه÷هيèه ïًîِهٌٌà îêàçûâà‏ٍ ىàميèٍيûه ٌâîéٌٍâà ٌهًنِهâèيû نهٍàëè. دًè ‎ٍîى ىàميèٍيàے ïًîيèِàهىîٌٍü çàâèٌèٍ îٍ يàïًےوهييîٌٍè ىàميèٍيîمî ïîëے, à ٌëهنîâàٍهëüيî, è îٍ ىîùيîٌٍè, ïîنâîنèىîé ê نهٍàëè. خنيàêî ïًهنٌٍàâëےهٌٍے âîçىîويûى ïًîèçâهٌٍè ïًèلëèوهييûه ًàٌ÷هٍû يà îٌيîâه يهêîٍîًûُ ًٌهنيèُ çيà÷هيèé.

2.2.1 آûلîً ÷àٌٍîٍû

آîïًîٌ âûلîًà ÷àٌٍîٍû نëے çàêàëêè نهٍàëهé ٌëîويîé ôîًىû ےâëےهٌٍے نîٌٍàٍî÷يî ٌëîويûى. إٌëè ًٍهلَهٌٍے çàêàëèٍü çَل÷àٍîه êîëهٌî ïî âٌهىَ êîيًٍََ, ٍî يà ïهًâûé âçمëےن êàوهٌٍے يهîلُîنèىûى, ÷ٍîلû َنهëüيàے ىîùيîٌٍü لûëà îنèيàêîâà âî âٌهُ ٍî÷êàُ ïîâهًُيîٌٍè. فٍî âîçىîويî ïًè ïîâهًُيîٌٍيîى ‎ôôهêٍه, ےًêî âûًàوهييîى êàê â çَلِàُ, ٍàê è âî âïàنèيàُ. خنيàêî ïًè لëèوàéّهى ًàٌٌىîًٍهيèè âèنيî, ÷ٍî ٌَëîâèے يàمًهâà çَلِîâ è âïàنèي ًàçëè÷يû.

زî÷êà O â çَلِه يàُîنèٌٍے ïîن نهéٌٍâèهى لîëüّهمî ÷èٌëà èٌٍî÷يèêîâ ٍهïëà, ÷هى ٍî÷êà  َ âïàنèيû, êàê ‎ٍî ïîêàçàيî يà ًèٌ. 2.3. ًٌٍهëêàىè. دًè ًàâيîىهًيîى ًàٌïًهنهëهيèè َنهëüيîé ىîùيîٌٍè ‎ٍî ïًèâهن¸ٍ ê ïهًهمًهâَ çَلِà îٍيîٌèٍهëüيî âïàنèيû.

ذèٌَيîê 2.3 - زهïëîâîه نهéٌٍâèه ٍîêà âûٌîêîé ÷àٌٍîٍû يà ïîâهًُيîٌٍü ّهٌٍهًيè

حàîلîًîٍ, ïًè يèçêîé ÷àٌٍîٍه, êîمنà مëَلèيà ïًîيèêيîâهيèے ٍîêà ًٌàâيèىà ٌ ٍîëùèيîé çَلِà, ïëîٍيîٌٍü ٍîêà â çَلüےُ ïàنàهٍ è âىهٌٍه ٌ يهé ïàنàهٍ َنهëüيàے ىîùيîٌٍü. آïàنèيû يàمًهâà‏ٌٍے ٌèëüيهه çَلِîâ. خ÷هâèنيî, ÷ٍî ٌَùهٌٍâَهٍ يهêîٍîًàے îïٍèىàëüيàے ÷àٌٍîٍà, ïًè êîٍîًîé âٌے ïîâهًُيîٌٍü يàمًهâàهٌٍے ًàâيîىهًيî. دًè ‎ٍîى َنهëüيàے ىîùيîٌٍü âî âïàنèيàُ ïًèىهًيî â نâà ًàçà لîëüّه ÷هى â çَلِàُ.

آ ïًèىهيهيèè ê çَل÷àٍûى êîë¸ٌàى îïٍèىàëüيàے ÷àٌٍîٍà لَنهٍ:

ƒ ≈ ,      (2.1)

منه m - ىîنَëü çَل÷àٍîمî êîëهٌà, ىى (m = 4,75);

ƒ ≈  = 13300 أِ

2.2.2 زهïëîâîé ًàٌ÷¸ٍ èينَêٍîًà

دًè çàêàëêه زآ× çà ٌَëîâيûé نèàىهًٍ ّهٌٍهًيè ٌëهنَهٍ ïًèيèىàٍü نèàىهًٍ يà÷àëüيîé îêًَويîٌٍè:  = = = 33,25 ىى. زî÷يîٌٍü ًàٌ÷¸ٍà ïًè ٍàêîى نîïَùهيèè يèوه, ÷هى ïًè ًàٌ÷¸ٍه نهٍàëهé ِèëèينًè÷هٌêîé ôîًىû, يî ‎ٍî îلٌٍîےٍهëüٌٍâî çيà÷èٍهëüيî êîىïهيٌèًَهٌٍے ïًîâهن¸ييûى âûّه ًàٌ÷¸ٍîى îïٍèىàëüيîé ÷àٌٍîٍû.

أëَلèيà çàêàë¸ييîمî ٌëîے:

= 0.05 ÷ 0.1 (2.2)

 = 0,09 · 33,25 = 2,99 ≈ 0,3 ٌى

آًهىے يàمًهâà îïًهنهëےهٌٍے ïî يîىîمًàىىه ًèٌ. 2.4 ٌ َ÷¸ٍîى ïîïًàâî÷يûُ êî‎ôôèِèهيٍîâ:

= · ·  , (2.3)

منه - ïهًهُîنيîé êî‎ôôèِèهيٍ ïî ٍهىïهًàًٍَه يàمًهâà ( = 0,59);

 - ïهًهُîنيîé êî‎ôôèِèهيٍ ïî ÷àٌٍîٍه (= 1,1);

= 4· 0,59·1,1 = 2,6 ٌ

سنهëüيَىîùيîٌٍü îïًهنهëےهى ïî ٍîé وه ïًîمًàىىه:

= ··  , (2.4)

منه =1,5;  = 0,92; = 0,75 êآٍ/;

= 0,75·1,5·0,92 = 1 êآٍ/

خïًهنهëےهى ىîùيîٌٍü ïîنâîنèىَ‏ ê èينَêٍîًَ:

= ·π··à/0,75, (2.5)

منه  - َنهëüيàے ىîùيîٌٍü (1 êآٍ/);

 - نèàىهًٍ نهٍàëè (= 3,325 ٌى);

à - ّèًèيà èينَêٍîًà, ïًèيèىàهى à = 1,8 ٌى;

,75 - ًٌهنيèé تدؤ èينَêٍîًà;

= 1·3,14·3,325·1,8/0,75 = 25 êآٍ

ذèٌَيîê 2.4 - اàâèٌèىîٌٍü âًهىهيè يàمًهâà  (ٌïëîّيûه ëèيèè) è َنهëüيîé ىîùيîٌٍè  ٌîîلùàهىîé نهٍàëè (ًٍّèُîâûه ëèيèè), îٍ نèàىهًٍà  يàمًهâàهىîمî ِèëèينًà ïًè ÷àٌٍîٍه ٍîêà 10000 أِ.

دًè يهïًهًûâيî - ïîٌëهنîâàٍهëüيîى يàمًهâه = 1,25·25 = 30 êآٍ.

2.2.3 فëهêًٍè÷هٌêèé ًàٌ÷¸ٍ èينَêٍîًà

سٌëîâيûé نèàىهًٍ èينَêٍîًà نëے ًàٌ÷¸ٍà يàïًےوهيèے è ٍîêà ïًèيèىàهى ًàâيûى

=  + 0,6 = 3,325 + 0,6 = 3,925 ٌى.

آهëè÷èيَ  è  îïًهنهëےهى ïî يîىîمًàىىه ًèٌ. 2.5.:

 = 21 آ,  = 10000 ہ

ؤëے îïًهنهëهيèے نهéٌٍâèٍهëüيûُ çيà÷هيèé يàïًےوهيèے è ٍîêà يهîلُîنèىî ïًîâهٌٍè ًàٌ÷¸ٍ ïî êîًًهêٍèًَ‏ùèى ôîًىَëàى (ٍàê êàê â يàّهى ٌëَ÷àه ىîùيîٌٍü è ÷àٌٍîٍà îٍëè÷à‏ٌٍے îٍ ïًèâهن¸ييûُ يà ًèٌ. 2.5.)

= 0,1·  ·  · , (2.6)

 = 0,1 · 21 ·  ·  = 13,9 آ

 = 0,1 ·  ·  · , (2.7)

 = 0,1 · 10000 ·  ·  = 5100 ہ

س÷èٍûâàے, ÷ٍî ïًè ًàٌ÷¸ٍه ïàًàىهًٍîâ èينَêٍîًà نëے ّهٌٍهًيè ىû لًàëè ïًèâهن¸ييûé ٌَëîâيûé نèàىهًٍ ًàâيûé نèàىهًٍَ يà÷àëüيîé îêًَويîٌٍè (3,325 ٌى), à نèàىهًٍ âهًّèي ّهٌٍهًيè - 4, 235 ٌى, ïًè ٌَëîâèè ôàêٍè÷هٌêîمî çàçîًà ىهونَ çَلüےىè è èينَêٍîًîى 0,25 ٌى ًàٌ÷¸ٍيûé çàçîً ٌîٌٍàâèٍ 7 ٌى.

ذèٌَيîê 2.5 - اàâèٌèىîٌٍü يàïًےوهيèے يà èينَêٍèًَ‏ùهى ïًîâîنه  è ٍîêà â èينَêٍîًه  ïًè ÷àٌٍîٍه ٍîêà 10000 أِ è ىîùيîٌٍè 100 êآٍ, ïîنâîنèىîé ê èينَêٍîًَ, îٍ نèàىهًٍà îنيîâèٍêîâîمî èينَêٍîًà

زîمنà îêîي÷àٍهëüيî ïًèىهيےے êîًًهêٍèًَ‏ùèه ôîًىَëû, ïîëَ÷àهٌٍے:

 =  ·  , (2.8)

 = 13,9 ·  = 21,2 آ

 =  ·  , (2.9)

 = 5100·  = 8170 ہ

تî‎ôôèِèهيٍ ىîùيîٌٍè èينَêٍîًà:

 =  , (2.10)

 =  = 0,1732

فëهêًٍîîلîًَنîâàيèه ٌٍَàيîâîê زآ×

سٌٍàيîâêè èينَêِèîييîمî يàمًهâà ٌîٌٍîےٍ èç ٍهُيîëîمè÷هٌêèُ ًٌٍَîéٌٍâ (èينَêٍîً, ٌïًهéهً), èٌٍî÷يèêîâ ïèٍàيèے, ëèيèé ïهًهنà÷è è ًٌهنٌٍâ َïًàâëهيèے.

آ يàّهى ٌëَ÷àه نëے ٌٍَàيîâêè يàçيà÷àهى ٍèًèٌٍîًيûé ïًهîلًàçîâàٍهëü ÷àٌٍîٍû. ؤîٌٍîèيٌٍâîى ïًهîلًàçîâàٍهëهé ےâëے‏ٌٍے âûٌîêèé تدؤ (90÷94%)

(َ ‎ëهêًٍîىàّèييûُ ïًهîلًàçîâàٍهëهé 82÷90%) ىàëî ىهيے‏ùèéٌے ïًè يهïîëيîé çàمًَçêه, âîçىîويîٌٍü èçىهيهيèے ÷àٌٍîٍû, ُîًîّàے ًهىîيٍîïًèمîنيîٌٍü, ىàëàے èيهًٍيîٌٍü, ïîٌٍîےييàے مîٍîâيîٌٍü ê ًàلîٍه. خنيàêî ïًهîلًàçîâàٍهëè èىه‏ٍ ىàëَ‏ ïهًهمًَçî÷يَ ٌïîٌîليîٌٍü. رٍîèىîٌٍü ٍèًèٌٍîًيûُ ïًهîلًàçîâàٍهëهé âûّه, ÷هى ىàّèييûُ [10].

زèًèٌٍîًيûه ïًهîلًàçîâàٍهëè ٌîٌٍîےٍ èç ïîëَïًîâîنيèêîâîمî âûïًےىèٍهëے è ٍèًèٌٍîًيîمî èيâهًٍîيà, ê âûُîنَ êîٍîًîمî ïîنêë‏÷àهٌٍے يàمًهâàٍهëü è êîينهيٌàٍîًيàے لàٍàًهے. تîىىٍَèًَ‏ùàے, َïًàâëے‏ùàے è çàùèٍيàے àïïàًàًٍَà

âُîنèٍ â ٌîٌٍàâ ïًهîلًàçîâàٍهëهé. زèïàو ïًهîلًàçîâàٍهëهé ïîٌٍîےييî ًàٌّèًےهٌٍے, â îٌيîâيîى â ٌٍîًîيَ َâهëè÷هيèے ÷àٌٍîٍû è ىîùيîٌٍè.

آ يàٌٍîےùهه âًهىے يàèلîëهه ّèًîêî ïًèىهيے‏ٍ ٍèًèٌٍîًيûه ïًهîلًàçîâàٍهëè ÷àٌٍîٍû زد× ىàëîé è ًٌهنيهé ىîùيîٌٍè (نî 1000 êآٍ) يà ÷àٌٍîٍه 2,5 - 10 êأِ. دًè يهïîëيîé çàمًَçêه ٍèًèٌٍîًîâ ïî ٍîêَ âîçىîويî èٌïîëüçîâàيèه زد× âïëîٍü نî ÷àٌٍîٍ 20 - 30 êأِ يàّهى ٌëَ÷àه ًٍهلَهٌٍے 13,3 êأِ). فٍî ïîçâîëےهٍ ïًè ٌَùهٌٍâَ‏ùèُ ïîëَïًîâîنيèêîâûُ ïًèلîًàُ َنîâëهٍâîًèٍü ïîًٍهليîٌٍè ٌٍَàيîâîê èينَêِèîييîمî يàمًهâà â ïًهîلًàçîâàٍهëےُ ىîùيîٌٍü‏ 30 - 40 êآٍ.

ؤëے çàêàëêè ïًèىهيےهٌٍے َيèâهًٌàëüيûé çàêàëî÷يûé ٌٍàيîê 9698 - 3030. رٍàيîê ïًهنيàçيà÷هي نëے çàêàëêè ِèëèينًè÷هٌêèُ نهٍàëهé ٍèïà âàëîâ, âٍَëîê, ّهٌٍهًهي, ôëàيِهâ, çâهçنî÷هê è ٍ.ï. ٌ âًàùهيèهى çàêàëèâàهىîé نهٍàëè è لهç âًàùهيèے. اàêàëî÷يûé ٌٍàيîê îلهٌïه÷èâàهٍ ïîٌëهنîâàٍهëüيَ‏ èëè îنيîâًهىهييَ‏ çàêàëêَ نهٍàëهé, à ٍàêوه çàêàëêَ يهٌêîëüêèُ çîي îنيîé نهٍàëè.

اàêàëî÷يûé ٌٍàيîê ïًèىهيےهٌٍے â êîىïëهêٍه ٌ ïًهîلًàçîâàٍهëهى ÷àٌٍîٍû ٍîêà è ٌèٌٍهىîé َïًàâëهيèے ïًîِهٌٌîى يàمًهâà ïîن çàêàëêَ. جàêٌèىàëüيàے نëèيà çàêàëèâàهىîé نهٍàëè 1000 ىى, نèàىهًٍ 300 ىى. رêîًîٌٍü ًàلî÷همî ُîنà نهٍàëè 1 - 20 ىى/ٌ (لهٌٌٍَïهي÷àٍîه ًهمَëèًîâàيèه). أàلàًèٍيûه ًàçىهًû çàêàëî÷يîمî ٌٍàيêà 1500×560×2695 ىى [10].

آ èٌٌëهنîâàٍهëüٌêîé ÷àٌٍè لûëî ïًîâهنهيî èٌٌëهنîâàيèه َïًî÷يهيèے âٍَëêè, èçمîٍîâëهييîé ïًهٌٌîâàيèهى ïîًîّêà, çàêàëêîé زآ×, à ٍàêوه èٌٌëهنîâàيèه èçيîٌîٌٍîéêîٌٍè ًàçëè÷يûُ ïîًîّêîâûُ ٌىهٌهé ïîٌëه çàêàëêè زآ×.

آ ïًîِهٌٌه âûïîëيهيèے èٌٌëهنîâàٍهëüٌêîé ÷àٌٍè لûëà ًàٌٌىîًٍهيà çàêàëêà ïîًîّêîâûُ ٌٍàëهé è ïًèىهيهيèه çàêàëêè زآ× نëے ïîًîّêîâûُ ٌٍàëهé. زàêوه لûë ïًîâهن¸ي ًàٌ÷¸ٍ èينَêٍîًà ٌٍَàيîâêè زآ×: ٍهïëîâîé è ‎ëهêًٍè÷هٌêèé, ïًîàيàëèçèًîâàيî ‎ëهêًٍîîلîًَنîâàيèه ٌٍَàيîâîê زآ× è âûلًàي نëے çàêàëêè َيèâهًٌàëüيûé çàêàëî÷يûé ٌٍàيîê 9698-3030.

دًè èٌٌëهنîâàيèè ïîًîّêîâûُ ٌىهٌهé يà èçيîٌîٌٍîéêîٌٍü ïîٌëه çàêàëêè زآ× لûëî îïًهنهëهيî, ÷ٍî èيٍهيٌèâيîٌٍü èçيàّèâàيèے çàêàë¸ييûُ îلًàçِîâ َىهيüّèëàٌü ïî ًٌàâيهيè‏ ٌ ٌûًûىè îلًàçِàىè èç-çà âîçيèêيîâهيèے çيà÷èٍهëüيûُ ًٌٍَêًٍَيûُ è ٍهًىè÷هٌêèُ يàïًےوهيèé â ٌٍàëےُ ïًè âûٌîêîٌêîًîٌٍيîى يàمًهâه è îُëàونهيèè. رëهنîâàٍهëüيî, çàêàë¸ييûه ïîًîّêîâûه ٌٍàëè èىه‏ٍ èçيîٌîٌٍîéêîٌٍü âûّه, ÷هى يهçàêàë¸ييûه.

3. زإصحخثخأب×إرتہك ×ہرزـ

زهُيîëîمèے ىàّèيîًٌٍîهيèے - يàَêà, èçَ÷à‏ùàے è ٌٍَàيàâëèâà‏ùàے çàêîيîىهًيîٌٍè ïًîٍهêàيèے ïًîِهٌٌîâ îلًàلîٍêè è ïàًàىهًٍû, âîçنهéٌٍâèه يà êîٍîًûه يàèلîëهه ‎ôôهêٍèâيî ٌêàçûâàهٌٍے يà èيٍهيٌèôèêàِèè ïًîِهٌٌîâ è ïîâûّهيèه èُ ٍî÷يîٌٍè.

خًٍàٌëè ىàّèيîًٌٍîهيèے îلهٌïه÷èâà‏ٍ ىàٍهًèàëüيَ‏ îٌيîâَ ٍهُيè÷هٌêîمî ïًîمًهٌٌà âٌهُ îًٍàٌëهé يàًîنيîمî ُîçےéٌٍâà, ÷ٍî çàيèىàهٍ âهنَùهه ىهٌٍî â نàëüيهéّهى ًîٌٍه ‎êîيîىèêè ًٌٍàيû.

آ ًهّهيèè ‎ٍîé çàنà÷è ٌَùهٌٍâهييîه ىهٌٍî çàيèىàهٍ ٌَêîًهيèه يàَ÷يî-ٍهُيè÷هٌêîمî ïًîمًهٌٌà يà لàçه ٍهُيè÷هٌêîمî ïهًهâîîًَوهيèے ïًîèçâîنٌٍâà, ٌîçنàيèے è âûïٌَêà âûٌîêîïًîèçâîنèٍهëüيûُ ىàّèي è îلîًَنîâàيèے, âيهنًهيèه يîâîé ٍهُيèêè è ىàٍهًèàëîâ, ïًîمًهٌٌèâيîé ٍهُيîëîمèè è ٌèٌٍهى ىàّèي نëے êîىïëهêٌيîé ىهُàيèçàِèè è àâٍîىàٍèçàِèè ïًîèçâîنٌٍâà. آ ٌâےçè ٌ ‎ٍèى لîëüّîه âيèىàيèه َنهëےهٌٍے ًàçًàلîٍêه, îٌâîهيè‏ è âيهنًهيè‏ يîâûُ âûٌîêî‎ôôهêٍèâيûُ ٍهُيîëîمè÷هٌêèُ ïًîِهٌٌîâ, يîâûُ ىàٍهًèàëîâ, â ٍîى ÷èٌëه è يهىهٍàëëè÷هٌêèُ, ٌيèوهيè‏ ىهٍàëëîهىêîٌٍè èçنهëèé, ‎êîيîىèêè ٍîïëèâيî-‎يهًمهٍè÷هٌêèُ ًهًٌٌَîâ, ىهُàيèçàِèè è àâٍîىàٍèçàِèè ïًîèçâîنٌٍâهييûُ ïًîِهٌٌîâ, ïîâûّهيè‏ يàنهويîٌٍè è نîëمîâه÷يîٌٍè èçنهëèé, ٌîîٍâهٌٍٍâَ‏ùèُ ïî ٌâîهىَ ٍهُيè÷هٌêîىَ ًَîâي‏ è êà÷هٌٍâَ ëَ÷ّèى îٍه÷هٌٍâهييûى è çàًَلهويûى àيàëîمàى.

آهنَùهه ىهٌٍî â نàëüيهéّهى ًîٌٍه ‎êîيîىèêè ًٌٍàيû ïًèيàنëهوèٍ îًٍàٌëےى ىàّèيîًٌٍîهيèے, êîٍîًûه îلهٌïه÷èâà‏ٍ ىàٍهًèàëüيَ‏ îٌيîâَ ٍهُيè÷هٌêîمî ïًîمًهٌٌà âٌهُ îًٍàٌëهé يàًîنيîمî ُîçےéٌٍâà.

دًàêٍè÷هٌêîىَ îٌَùهٌٍâëهيè‏ ّèًîêîمî ïًèىهيهيèے ïًîمًهٌٌèâيûُ ٍèïîâûُ ٍهُيîëîمè÷هٌêèُ ïًîِهٌٌîâ, îٌيàٌٍêè îلîًَنîâàيèے, ًٌهنٌٍâ ىهُàيèçàِèè è àâٍîىàٍèçàِèè, ٌîنهéٌٍâَهٍ هنèيàے ٌèٌٍهىà ٍهُيîëîمè÷هٌêîé ïîنمîٍîâêè ïًîèçâîنٌٍâà (إرزدد), îلهٌïه÷èâà‏ùàے نëے âٌهُ îًمàيèçàِèé è ïًهنïًèےٍèé ٌèٌٍهىيûé ïîنُîن îïٍèىèçàِèè âûلîًà ىهٍîنîâ è ًٌهنٌٍâ ٍهُيîëîمè÷هٌêîé ïîنمîٍîâêè ïًîèçâîنٌٍâà.

جîًàëüيîه ٌٍàًهيèه ïًîنَêِèè ىàّèيîًٌٍîهيèے çà÷àٌٍَ‏ يàٌٍَïàهٍ çيà÷èٍهëüيî لûًٌٍهه èُ ôèçè÷هٌêîمî ٌٍàًهيèے, ïًè ‎ٍîى ًٌîêè ٌٍَîé÷èâîمî ïًîèçâîنٌٍâà ٌîêًàٍèëèٌü, à نëے ïîٌٍàيîâêè يà ïًîèçâîنٌٍâî يîâûُ èçنهëèé يà êàونَ ٍûٌے÷َ نهٍàëهé ًٍهلَهٌٍے ًàçًàلîٍàٍü ٌâûّه 15 ٍûٌ. هنèيèِ ًàçëè÷يîé ٍهُيîëîمè÷هٌêîé نîêَىهيٍàِèè è èçمîٍîâèٍü ٌâûّه 5 ٍûٌ. ًàçëè÷يûُ âèنîâ ٍهُيîëîمè÷هٌêîمî îٌيàùهيèے. آٌه ‎ٍî ًٍهلَهٍ نàëüيهéّهمî ïîâûّهيèے يàَ÷يî-ٍهُيè÷هٌêîمî ًَîâيے è êà÷هٌٍâà èçنهëèé, âٌهٌٍîًîييهمî ٌîâهًّهيٌٍâîâàيèے ٍهُيîëîمèé, ىهٍîنîâ îًمàيèçàِèè è َïًàâëهيèه ïًîِهٌٌàىè ïًîèçâîنٌٍâà.

3.1 ہيàëèç ٍهُيîëîمè÷يîٌٍè êîيًٌٍَêِèè نهٍàëè «âٍَëêà»

زهُيîëîمè÷هٌêèé êîيًٍîëü ÷هًٍهوهé ٌâîنèٌٍے ê ٍùàٍهëüيîىَ èُ èçَ÷هيè‏. ذàلî÷èé ÷هًٍهو îلًàلàٍûâàهىîé نهٍàëè نîëوهي ٌîنهًوàٍü âٌه يهîلُîنèىûه ٌâهنهيèے, نà‏ùهه ïîëيîه ïًهنٌٍàâëهيèه î نهٍàëè, ïًîهêِèè, ًàçًهçû, ٌه÷هيèے, نîëويû لûٍü ïًîٌٍàâëهيû âٌه ًàçىهًû ٌ نîïٌَêàىè, ّهًîُîâàٍîٌٍü‏, îٍêëîيهيèےىè, نîïٌَêîى ôîًى è ًàٌïîëîوهيèé.

رîمëàٌيî ÷هًٍهوَ يàèلîëهه ٍî÷يàے ïîâهًُيîٌٍü - ‎ٍî îٍâهًٌٍèه Ø70ح7, ٌ Ra = 1.6 ىêى.

ؤهٍàëü “ âٍَëêà ” èçمîٍàâëèâàهٌٍے èç ٌٍàëè 20 أخرز 1050 - 88, ïîنâهًميٍَîé ٍهًىîîلًàلîٍêه نëے ïîëَ÷هيèے ٍâهًنîٌٍè ïî ذîêâهëëَ 35…41HRC.

ؤهٍàëü èىههٍ ïًîٌٍَ‏ مهîىهًٍè÷هٌêَ‏ ôîًىَ, èىههٌٍے ٌâîلîنيûé ïîنُîن è îٍâîن ًهوَùهمî èيًٌٍَىهيٍà, َنîليî ٌٍَàيàâëèâàهٌٍے â ًٍهُêَëà÷êîâûé ïàًٍîي.

زàêèى îلًàçîى, نهٍàëü ٍهُيîëîمè÷يà.

3.2 خïًهنهëهيèه ٍèïà ïًîèçâîنٌٍâà

زèï ïًîèçâîنٌٍâà îïًهنهëےهٌٍے â çàâèٌèىîٌٍè îٍ مîنîâîé ïًîمًàىىû, âûïٌَêà è ىàٌٌû نهٍàëè.

دًè çàنàييîé مîنîâîé ïًîèçâîنٌٍâهييîé ïًîمًàىىه N=1000 ٍّ. è ىàٌٌه نهٍàëè =2 êم ٌٍَàيàâëèâàهى ٍèï ïًîèçâîنٌٍâà - ٌهًèéيûé.

صàًàêٍهًيîé îٌîلهييîٌٍü‏ ٌهًèéيîمî ïًîèçâîنٌٍâà ےâëےهٌٍے èçمîٍîâëهيèه نهٍàëهé ٌهًèےىè (ïàًٍèےىè) êîٍîًûه çàïٌَêà‏ٌٍے â ïًîèçâîنٌٍâî ÷هًهç îïًهنهëهييîه âًهىے. بçمîٍîâëهيèه îنيèُ è ٍهُ وه èçنهëèé نهëàهٍ âîçىîويîé يهïًهًûâيَ‏ çàمًَçêَ îٌيîâيîé ىàٌٌû ٌٍàيêîâ îنيèىè è ٍهىè وه çàمîٍîâêàىè, ÷ٍî â ٌâî‏ î÷هًهنü ïîçâîëےهٍ ّèًîêî èٌïîëüçîâàٍü ٌïهِèàëüيûه è ٌïهِèàëèçèًîâàييûه ٌٍàيêè è àâٍîىàٍû, ٌëîويûه è ٌïهِèàëüيûه ïًèٌïîٌîلëهيèے è àâٍîىàٍè÷هٌêèه ًٌٍَîéٌٍâà, ىيîمîëهçâèéيûه ًهوَùèه èيًٌٍَىهيٍû. ءîëüّèه çàًٍàٍû يà ٌïهِèàëüيîه âûٌîêîïًîèçâîنèٍهëüيîه îلîًَنîâàيèه è ٍهُيîëîمè÷هٌêَ‏ îٌيàٌٍêَ ïîëيîٌٍü‏ îêَïàهٌٍے â ٌَëîâèےُ ٌهًèéيîمî ïًîèçâîنٌٍâà نàوه ïًè يهçيà÷èٍهëüيîى ïîâûّهيèè ïًîèçâîنèٍهëüيîٌٍè ًٍَنà.

دàًٍèے çàïٌَêà نهٍàëهé îïًهنهëےهٌٍے ïî ôîًىَëه, نهٍ.:

= , (3.1)

منه N = 1000 ٍَّê - مîنîâàے ïًîèçâîنٌٍâهييàے ïًîمًàىىà;

ش = 247 نيهé - ÷èٌëî ًàلî÷èُ نيهé â مîنَ;- ÷èٌëî نيهé, يà êîٍîًîه يهîلُîنèىî èىهٍü çàïàٌ نهٍàëهé يà ٌêëàنه ïًè ïےٍèنيهâيîé نâٌَُىهييîé ًàلî÷هé يهنهëه, t = 8 نيهé.


آûلîً çàمîٍîâêè

ؤëے نàييîé نهٍàëè â ٌهًèéيîى ïًîèçâîنٌٍâه ‎êîيîىè÷هٌêè ِهëهٌîîلًàçيî ïًèىهيèٍü â êà÷هٌٍâه çàمîٍîâêè ًٍَليûé ïًîêàٍ Ø102 ُ Ø72 نëèيîé l = 68 ىى.

ذàٌٌ÷èٍûâàهٌٍے ىàٌٌà çàمîٍîâêè, êم:

g = g V, (3.2)

منه g - ïëîٍيîٌٍü ٌٍàëè 20, g = 7,814 مى3;- îلْهى, ٌى3;

mg = 10-3 = 2,17 êم.

تî‎ôôèِèهيٍ èٌïîëüçîâàيèے ىهٍàëëà:

تè = , (3.3)

منه mن - ىàٌٌà نهٍàëè, mن = 2 êم.

تè =

رهلهٌٍîèىîٌٍü çàمîٍîâêè:

 (3.4)

منه S - لàçîâàے ٌٍîèىîٌٍü 1 êم ىهٍàëëà çàمîٍîâêè, ًَل;îٍُ - ِهيà 1 êم îٍُîنîâ, ًَل;

S = 29000 ًَل/ٍ; Sîٍُ = 1000 ًَل/ٍ.


جàًًٍَّيûé ٍهُيîëîمè÷هٌêèé ïًîِهٌٌ ىهُàيè÷هٌêîé îلًàلîٍêè نهٍàëè «âٍَëêà».

اàمîٍîâèٍهëüيàے:

خًٍهçàٍü çàمîٍîâêَ يà نëèيَ l = 68 ىى.

زîêàًيàے - ًهâîëüâهًيàے:

ہ سٌٍàيîâèٍü â ًٍهُêَëà÷êîâûé ïàًٍîي.

ïهًهُîن: ïîنًهçàٍü ٍîًهِ â ًàçىهً 66,5ىى - ïîïهًه÷يûé ٌَïïîًٍ;

ïهًهُîن: ٍî÷èٍü îنيîêًàٍيî Ø 100h12 يà نëèيَ l = 45 ىى - ذ.أ.;

ïهًهُîن: ًàٌٍî÷èٍü ïًهنâàًèٍهëüيî Ø 70ح11 - ًهâîëüâهًيàے مîëîâêà;

ïهًهُîن: ًàٌٍî÷èٍü îêîي÷àٍهëüيî Ø 70ح7 - ًهâîëüâهًيàے مîëîâêà;

ïهًهُîن: ًàٌٍî÷èٍü ôàٌêَ 1 ُ 450- ًهâîëüâهًيàے مîëîâêà;

ïهًهُîن: ٍî÷èٍü ôàٌêَ 1 ُ 450- ًهâîëüâهًيàے مîëîâêà;

ء دهًهٌٍَàيîâèٍü.

ïهًهُîن: ٍî÷èٍü Ø 100h12- ًهâîëüâهًيàے مîëîâêà;

ïهًهُîن: ïîنًهçàٍü ٍîًهِ â ًàçىهً 65ىى - ïîïهًه÷يûé ٌَïïîًٍ;

ïهًهُîن: ًàٌٍî÷èٍü ôàٌêَ 1 ُ 450- ًهâîëüâهًيàے مîëîâêà;

ïهًهُîن: ٍî÷èٍü ôàٌêَ 1 ُ 450- ًهâîëüâهًيàے مîëîâêà.

زهًىè÷هٌêàے:

اàêàëêà 35...41 HRC.

آيًٍَèّëèôîâàëüيàے:

ہ سٌٍàيîâèٍü نهٍàëü â ًٍهُêَëà÷êîâûé ïàًٍîي.

ïهًهُîن: ّëèôîâàٍü Ø70ح7 Ra = 1,6ىêى.

تîيًٍîëüيàے. خزت.

ذàٌ÷هٍ ïًèïٌَêîâ يà ىهُàيè÷هٌêَ‏ îلًàلîٍêَ

دîâهًُيîٌٍü Æ70ح7.

خلًàلàٍûâàهٌٍے: ًàٌٍà÷èâàيèهى ïًهنâàًèٍهëüيûى ح11;

ًàٌٍà÷èâàيèهى îêîي÷àٍهëüيûى ح9;

ّëèôîâàيèهى ح7.

ٍî÷يîٌٍü îٍâهًٌٍèے ïî أخرز 7505 - 89 ïî .


ذàٌ÷هٍ ïًèïٌَêà ïًîèçâîنèى àيàëèٍè÷هٌêè ïî ôîًىَëه:

Zmin=2 (Rzi-1 + Ti-1 +), ىêى, (3.5)

منه Rzi-1 - ّهًîُîâàٍîٌٍü ïîâهًُيîٌٍè ïًهنّهٌٍâَ‏ùهمî ïهًهُîنà;

ri-1- ٌَىىàًيîه çيà÷هيèه ïًîًٌٍàيٌٍâهييûُ îٍêëîيهيèé ïًهنّهٌٍâَ‏ùهمî ïهًهُîنà;

eyi - ïîمًهّيîٌٍü ٌٍَàيîâêè يà نàييîى ïهًهُîنه;

نëے ïًهنâàًèٍهëüيîمî ًàٌٍà÷èâàيèے:=50 ىêى, ز=50 ىêى, ey =400 ىêى.

 (3.6)

منه Dê = 2 ىêى / ىى - َنهëüيàے âهëè÷èيà êًèâèçيû çàمîٍîâêè;= 67ىى.


÷èٌٍîâîه ًàٌٍà÷èâàيèه:

= 10 ىêى; ز= 20 ىêى; ey =400 ىêى.

r= 0.06 rçàم =  = 10 ىêى.

.

÷èٌٍîâîه ًàٌٍà÷èâàيèه:

= 5 ىêى; ز= 15 ىêى; ey =150 ىêى. r = 0.


ذهçَëüٍàٍû ًàٌ÷¸ٍîâ çàيîٌےٌٍے â ٍàلë. 3.1.

دî ًهçَëüٍàٍàى ًàٌ÷¸ٍîâ ًٌٍîèٌٍے ٌُهىà ًàٌïîëîوهيèے îïهًàِèîييûُ ًàçىهًîâ (ًèٌ.3.1).

زàلëèِà 3.1 - ذàٌ÷هٍ ïًèïٌَêîâ è ïًهنهëüيûُ ًàçىهًîâ ïî ٍهُيîëîمè÷هٌêèى ïهًهُîنàى يà îلًàلîٍêَ ïîâهًُيîٌٍè Æ70H7

زهُيîëîمè÷هٌêèه îïهًàِèè è ïهًهُîنû

اàمîٍîâêà

دًهنâàًèٍهëüيîه ًàٌٍà÷èâàيèه

îêîي÷àٍهëüيîه ًàٌٍà÷èâàيèه

ّëèôîâàيèه

فëهىهيٍû ïًèïٌَêà:





Rzà

50

10

5

-

زi-1

50

20

15

-

17410--





eyb

-

400

400

-

ذàٌ÷هٍيûé ïًèïٌَê, ىêى

-

ذàٌ÷هٍيûé ًàçىهً, ىى

66,158

68,68

69,616

70,000

ؤîïٌَê, ىى

1,6

0,190

0,074

0,030

دًهنهëüيûه ًàçىهًû D min D max

66,158 67,758

68,68 68,83

69,616 69,69

70,000 70,030

دًهنهëüيûه çيà÷هيèے ïًèïٌَêîâ, ىêى

-

,072

,5120,860

,9580,340

0,377






آûلîً îلîًَنîâàيèے, ًهوَùهمî, ىهًèٍهëüيîمî, âٌïîىîمàٍهëüيîمî èيًٌٍَىهيٍîâ

زîêàًيî - ًهâîëüâهًيàے.

زîêàًيî-ًهâîëüâهًيûé ïàًٍîييûé ïîëَàâٍîىàٍ ىîنهëè 1416 [11].

حàèلîëüّèé نëèيà îلًàلàٍûâàهىîé çàمîٍîâêè 160 ىى;

حàèلîëüّàے نëèيà نهٍàëè 100 ىى;

×èٌëî îلîًîٍîâ ّïèينهëے â ىèيٍََ: 63 - 2000 ىèي-1;

دîنà÷à ٌَïïîًٍîâ, ىى/ىèي.

ïîïهًه÷يûُ: 25 - 100;

ًهâîëüâهًيûُ: 20 - 100.

جîùيîٌٍü ‎ëهêًٍîنâèمàٍهëے 5,5 êآٍ.

ذهوَùèé èيًٌٍَىهيٍ:

ًهçهِ ًàٌٍî÷يîé نëے ôàٌêè;

ًهçهِ ïًîُîنيîé ïًےىîé φ = 450 ٌ ز15ت6;

ًهçهِ ïîنًهçيîé ٌ ز15ت6 أخرز 18880 - 73;

ًهçهِ ًàٌٍî÷يîé نëے ٌêâîçيûُ îٍâهًٌٍèé ٌïهِèàëüيûé.

آٌïîىîمàٍهëüيûé èيًٌٍَىهيٍ:

نهًوàâêà نëے êًهïëهيèے ًهçِà â ïîïهًه÷يûé ٌَïïîًٍ أخرز 18319 - 81;

نهًوàâêà نëے êًهïëهيèے ًهçِà â ًهâîëüâهًيَمîëîâêَ أخرز 18236 - 81.

جهًèٍهëüيûé èيًٌٍَىهيٍ:

تàëèلً - ïًîلêà Ø70ح9;

تàëèلً - ٌêîلà Ø100h11;

طٍàيمهيِèًêَëü طض 0 - 125 أخرز 166 - 75.

آيًٍَèّëèôîâàëüيàے.

رٍàيîê âيًٍَèّëèôîâàëüيûé 3ہ227 [11].

حàèلîëüّèé نèàىهًٍ èçنهëèے - 200ىى;

ذàçىهًû ّëèôîâàëüيîمî îٍâهًٌٍèے:

نèàىهًٍ - 20 ÷ 100ىى;

نëèيà 125ىى.

ىîùيîٌٍü ‎ëهêًٍîنâèمàٍهëے: 3êآٍ.

ذهوَùèé èيًٌٍَىهيٍ:

طëèôîâàëüيàے مîëîâêà ِèëèينًè÷هٌêàے AW D = 30; H = 50 22ہ40رج27ت

ہ - ‎ëهêًٍîêîًَين لهëûé;

- çهًيèٌٍîٌٍü, ىêى;

رج2 - ًٌهنيهé ىےمêîٌٍè;

ت - êهًàىè÷هٌêàے ٌâےçêà.

جهًèٍهëüيûé èيًٌٍَىهيٍ:

تàëèلً - ïًîلêà Ø70ح7 ٌïهِèàëüيàے.

ذèٌَيîê 3.1 - رُهىà ًàٌïîëîوهيèے ىهوîïهًàِèîييûُ ًàçىهًîâ, ïîëهé نîïٌَêîâ نëے Ø70ح7

ذàٌ÷هٍ ًهوèىîâ ًهçàيèے

زîêàًيî-ًهâîëüâهًيàے

ïهًهُîن:

أëَلèيà ًهçàيèے:

خïًهنهëهيèه نëèيû ًàلî÷همî ُîنà:

LP.X. = lًهç + y, (3.7)

منه lًهç - نëèيà ًهçàيèے, ىى;

y - ïîنâîن, ًهçàيèه è ïهًهلهم ًهçِà,  ىى [12].

 (3.8)

.X.=  ىى.

حàçيà÷هيèه ïîنà÷è:= 0,2 ىىل [12];

خïًهنهëهيèه ٌٍîéêîٌٍè èيًٌٍَىهيٍà:

= Tى , (3.9)

منه Tى - ٌٍîéêîٌٍü â ىèيٍَàُ ىàّèييîé ًàلîٍû ٌٍàيêà, Tى= 120 ىèي [13];

l - êî‎ôôèِèهيٍ âًهىهيè ًهçàيèے;

l= lًهç/ LP.X = .

آ ٌëَ÷àےُ, êîمنà l > 0.7, ٍî ىîويî يه ًàٌٌ÷èٍûâàے ïًèيèىàٍü Tp»Tى.

=  ىèي.

رêîًîٌٍü ًهçàيèے يàéنهى ïî ôîًىَëه:

V=Vزہءث K1 K2 K3, (3.10)

منه Vزہءث - ٍàلë. çيà÷هيèه, ى/ىèي;K2 K3 - êî‎ôôèِèهيٍû, çàâèٌےùèه îٍ îلًàلàٍûâàهىîمî ىàٍهًèàëà, ٌٍîéêîٌٍè è ىàًêè ٌïëàâà è âèنà îلًàلîٍêè;

زہءث = 100 ى/ىèي [12];= 1, K2 = 0,95, K3= 1.

 ى/ىèي,

×èٌëî îلîًîٍîâ ّïèينهëے:

= , (3.11)

جàّèييîه âًهىے:

, (3.12)


ïهًهُîن:

أëَلèيà ًهçàيèے:

خïًهنهëهيèه نëèيû ًàلî÷همî ُîنà:

.X. = lًهç + y.ًهç= 35 ىى;  ىى..X.=  ىى.

S0 = 0,2 ىىل;

رêîًîٌٍü ًهçàيèے:

V =  ى/ىèي.

×èٌëî îلîًîٍîâ ّïèينهëے:


جàّèييîه âًهىے:


ïهًهُîن:

أëَلèيà ًهçàيèے:

.X. = lًهç + y.ًهç= 65 ىى. y= ىى..X.=  ىى.= 0,2 ىىل;

رêîًîٌٍü ًهçàيèے:

V=  ى/ىèي.

×èٌëî îلîًîٍîâ ّïèينهëے:


تîًًهêٍèًَهٌٍے ïî ïàٌïîًٍَ ٌٍàيêà

جàّèييîه âًهىے:


ïهًهُîن:

أëَلèيà ًهçàيèے:

.X.= 72 ىى.= 0.1 ىىل;

رêîًîٌٍü ًهçàيèے:

 ى/ىèي.

×èٌëî îلîًîٍîâ ّïèينهëے:


جàّèييîه âًهىے:

; 5 ïهًهُîنû:

أëَلèيà ًهçàيèے:

خïًهنهëهيèه نëèيû ًàلî÷همî ُîنà:ًهç= 1 ىى. y= ىى.X.= ىى.

حàçيà÷هيèه ïîنà÷è:= 0,2 ىىل;

رêîًîٌٍü ًهçàيèے: V= 92 ى/ىèي.

×èٌëî îلîًîٍîâ ّïèينهëے:


تîًًهêٍèًَهٌٍے ïî ïàٌïîًٍَ ٌٍàيêà

جàّèييîه âًهىے:


;6 ïهًهُîنû:

أëَلèيà ًهçàيèے:

خïًهنهëهيèه نëèيû ًàلî÷همî ُîنà:

LP.X.= lًهç+y

َ = 3 ىى.

LP.X.=  ىى.=0.2 ىىل;

رêîًîٌٍü ًهçàيèے:

 ى/ىèي.

×èٌëî îلîًîٍîâ ّïèينهëے â ىèيٍََ:


جàّèييîه âًهىے:


ïهًهُîن:

أëَلèيà ًهçàيèے:

خïًهنهëهيèه نëèيû ًàلî÷همî ُîنà:

.X. = lًهç + y,ًهç= 30 ىى;  ىى..X.=  ىى.= 0,2 ىىل;


V =  ى/ىèي.

×èٌëî îلîًîٍîâ ّïèينهëے:

جàّèييîه âًهىے:


ïهًهُîن:

ذهوèىû ًهçàيèے àيàëîمè÷يû 1 ïهًهُîنَ.

آيًٍَèّëèôîâàëüيàے

جàّèييîه âًهىے:


منه  نëèيà ّëèôîâàيèے;

د - ïًèïٌَê يà îلًàلîٍêَ;

تو - êî‎ôôèِèهيٍ وهٌٍêîٌٍè, تو = 0,9. [14]

 ïًîنîëüيàے ىèيٍَيàے ïîïهًه÷يàے ïîنà÷à,

 ïîïهًه÷يàے ïîنà÷à يà نâîéيîé ُîن ّïèينهëے;

 ïîïًàâî÷يûé êî‎ôôèِèهيٍ يà ïîنà÷َ,  [14]


3.8 حîًىèًîâàيèه ٍهُيîëîمè÷هٌêîمî ïًîِهٌٌà

زîêàًيî-ًهâîëüâهًيàے

جàّèييîه âًهىے:


آٌïîىîمàٍهëüيîه âًهىے [15]:

, (3.16)

منه  âٌïîىîمàٍهëüيîه âًهىے يà ٌٍَàيîâêَ;  =  ىèي [15].

 âٌïîىîمàٍهëüيîه âًهىے, ٌâےçàييîه ٌ ïهًهُîنîى;

 =  ىèي [15].

 âٌïîىîمàٍهëüيîه âًهىے يà èçىهًهيèه;

 =  ىèي.

 =  ىèي.

îïهًàٍèâيîه âًهىے:

, (3.17)

 =  ىèي.

طٍَ÷يîه âًهىے:

زٍّ = , (3.18)

منه تîلٌë - êî‎ôôèِèهيٍ, َ÷èٍûâà‏ùèé âًهىے يà îلٌëَوèâàيèه ًàلî÷همî ىهٌٍà, îٍنûُ, ëè÷يûه يàنîليîٌٍè ًàلî÷همî; تîلٌë = 1,06. [14].

 

دîنمîٍîâèٍهëüيî - çàêë‏÷èٍهëüيîه âًهىے:


طٍَ÷يî - êàëüêَëےِèîييîه âًهىے:


منه  ïàًٍèے نهٍàëهé; نهٍàëè.


آيًٍَèّëèôîâàëüيàے

جàّèييîه âًهىے:  ىèي.

آٌïîىîمàٍهëüيîه âًهىے

 = 0,82 ىèي.

 =  ىèي.

 = 0,08 ىèي

 =  ىèي.

طٍَ÷يîه âًهىے:

تîلٌë = 1,11.

زٍّ =

دîنمîٍîâèٍهëüيî - çàêë‏÷èٍهëüيîه âًهىے:


طٍَ÷يî - êàëüêَëےِèîييîه âًهىے:


3.9 ذàٌ÷هٍ ًهوَùهمî èيًٌٍَىهيٍà

ذàٌٍî÷يîé ًهçهِ نëے îلًàلîٍêè îٍâهًٌٍèے Ø70ح9.

دàًàىهًٍû ًهوèىà ًهçàيèے:= 1,25ىى; S = 0,2ىىل; n = 537ىèي-1; V = 123 ى/ىèي.

جàٍهًèàëîى ًهوَùهé ÷àٌٍè âûلèًàهى ٍâهًنûé ٌïëàâ ز15ت6; ىàٍهًèàëîى نهًوàâêè ٌٍàëü 50 أخرز 1050 - 88.

ؤîïٌٍَèىîه يàïًےوهيèه يà èçمèل Gين= 200 ىدà;

آًهىهييûé ïًهنهë ïًî÷يîٌٍè يà ًàٌٍےوهيèه Gâً= 650 ىدà.

رèëà ًهçàيèے :

 (3.20)

منه - êî‎ôôèِèهيٍ, ُàًàêٍهًèçَ‏ùèé ىهٍàëë è ٌَëîâèے همî îلًàلîٍêè [14];= 1,25 ىى - ىàêٌèىàëüيàے مëَلèيà ًهçàيèے;

ُ = 1; َ =0,75- ïîêàçàٍهëè ٌٍهïهيهé ïًè مëَلèيه ًهçàيèے è ïîنà÷ه;= -0,15- ïîêàçàٍهëü ٌٍهïهيè ïًè ٌêîًîٌٍè ًهçàيèے;

تً = 1- îلùèé ïîïًàâî÷يûé êî‎ôôèِèهيٍ, َ÷èٍûâà‏ùèé êîيêًهٍيûه ٌَëîâèے îلًàلîٍêè [14].

ؤهًوàâêَ âûلèًàهى ïًےىîَمîëüيîمî ٌه÷هيèے, ٍîمنà: h = 1.6b;= 60*10-3ى - âûëهٍ ًهçِà,


دًèيèىàهٌٍے b = 16ىى; h = 1,6*10 = 16ىى.

دًîâهًےهى ïًî÷يîٌٍü نهًوàâêè ًهçِà:


جàêٌèىàëüيàے يàمًَçêà, نîïٌَêàهىàے وهٌٍêîٌٍü‏ ًهçِà, ح:


منه ى - نîïٌَêàهىàے ًٌٍهëà ïًîمèلà [16];

ز = 1,9 * 1011 ح/ى - ىîنَëü َïًَمîٌٍè ٌٍàëè.

 - ىîىهيٍ èيهًِèè ٌه÷هيèے نهًوàâêè:

ذهçهِ îلëàنàهٍ نîٌٍàٍî÷يîé ïًî÷يîٌٍü‏ è و¸ٌٍêîٌٍü‏, ٍ.ê.

 >  < , ٍ.ê.

ح > 1100ح < 1238ح

تîيًٌٍَêٍèâيûه ًàçىهًû ًهçِà îïًهنهëے‏ٌٍے ïî أخرز 10224 - 88.

3.10 ذàٌ÷هٍ ىهًèٍهëüيîمî èيًٌٍَىهيٍà

ذàٌ÷هٍ êàëèلًà ïًîلêè Ø 70ح7 +0,030.

دًهنهëüيûه ًàçىهًû îٍâهًٌٍèے

= D + es = 70 + 0,030 = 70,030 ىى;= D + ei = 70 ىى.

سٌٍàيàâëèâàهى نîïٌَêè يà يهٍî÷يîٌٍü èçمîٍîâëهيèے êàëèلًà - ïًîلêè ïî رز رفآ 157 - 75:= 4 ىêى; َ1 = 3 ىêى; ح1 = 5 ىêى.

بٌïîëيèٍهëüيûه ًàçىهًû êàëèلًà - ïًîلêè:

دًîُîنيàے ٌٍîًîيà يîâîمî ًàلî÷همî êàëèلًà:

ذ-دً = Dmax + , (3.24)

دًîُîنيàے ٌٍîًîيà يîâàے:

ذ-دً =

دًîُîنيàے èçيîّهييàے:

(ذ-دً)èçي = Dmàُ - َ = 70 - 0.003 = 69,997 ىى, (3.25)

حهïًîُîنيàے ٌٍîًîيà:

ذ-حإ =  (3.26)

دî ًهçَëüٍàٍàى ًàٌ÷¸ٍà ًٌٍîèٌٍے ٌُهىà ïîëهé نîïٌَêîâ [17] êàëèلًà-ïًîلêè (ًèٌَيîê 3.2).

ذèٌَيîê 3.2 - رُهىà ًàٌïîëîوهيèے ïîëهé نîïٌَêîâ êàëèلًà - ïًîلêè Ø70ح7

آ ٍهُيîëîمè÷هٌêîé ÷àٌٍè نèïëîىيîمî ïًîهêٍà لûë ًàçًàلîٍàي ٍهُيîëîمè÷هٌêèé ïًîِهٌٌ èçمîٍîâëهيèے نهٍàëè ïًهٌٌ-ôîًىû «آٍَëêà» نëے ٌهًèéيîمî ïًîèçâîنٌٍâà.

آ ïًîِهٌٌه âûïîëيهيèے نàييîé ÷àٌٍè لûëà âûلًàيà çàمîٍîâêà - ïًîêàٍ, âûلًàيî îلîًَنîâàيèه, èيًٌٍَىهيٍû è ïًèٌïîٌîلëهيèے نëے îلًàلîٍêè نهٍàëè. ءûë ïًîâهنهي ًàٌ÷¸ٍ ïًèïٌَêîâ يà ىهُàيè÷هٌêَ‏ îلًàلîٍêَ, ًàٌ÷¸ٍ ًهوèىîâ ًهçàيèے, يîًىèًîâàيèه ٍهُيîëîمè÷هٌêèُ îïهًàِèé, ًàٌ÷¸ٍ ïًîُîنيîمî ًهçِà è êàëèلًà-ٌêîلû.

4. فتخحخجب×إرتہك ×ہرزـ

رهًèéيîه ïًîèçâîنٌٍâî - ٍèï ïًîèçâîنٌٍâà, ُàًàêٍهًèçَ‏ùèéٌے îمًàيè÷هييîé يîىهيêëàًٍَîé èçنهëèé, èçمîٍàâëèâàهىûُ èëè ًهىîيٍèًَهىûُ ïهًèîنè÷هٌêè ïîâٍîًے‏ùèىèٌے ïàًٍèےىè, è ًٌàâيèٍهëüيî لîëüّèى îلْهىîى âûïٌَêà.

رهًèéيîه ïًîèçâîنٌٍâî ےâëےهٌٍے îٌيîâيûى ٍèïîى ٌîâًهىهييîمî ïًîèçâîنٌٍâà, è ïًهنïًèےٍèےىè ‎ٍîمî ٍèïà âûïٌَêàهٌٍے â يàٌٍîےùهه âًهىے 75-80 % âٌهé ىàّèيîًٌٍîèٍهëüيîé ïًîنَêِèè. دî âٌهى ٍهُيîëîمè÷هٌêèى è ïًîèçâîنٌٍâهييûى ُàًàêٍهًèٌٍèêàى ٌهًèéيîه ïًîèçâîنٌٍâî çàيèىàهٍ ïًîىهوٍَî÷يîه ïîëîوهيèه ىهونَ هنèيè÷يûى è ىàٌٌîâûى ïًîèçâîنٌٍâîى.

آ çàâèٌèىîٌٍè îٍ ÷èٌëà èçنهëèé â ïàًٍèè èëè ٌهًèè è çيà÷هيèے êî‎ôôèِèهيٍà ٌهًèéيîٌٍè (êî‎ôôèِèهيٍà çàêًهïëهيèے îïهًàِèé) ًàçëè÷à‏ٍ ىهëêîٌهًèéيîه, ًٌهنيهٌهًèéيîه è êًَïيîٌهًèéيîه ïًîèçâîنٌٍâî.

آ çàâèٌèىîٌٍè îٍ ًàçىهًîâ ïàًٍèé âûïٌَêàهىûُ èçنهëèé ُàًàêٍهً ٍهُيîëîمè÷هٌêèُ ïًîِهٌٌîâ ٌهًèéيîمî ïًîèçâîنٌٍâà ىîوهٍ èçىهيےٍüٌے â ّèًîêèُ ïًهنهëàُ, ïًèلëèوàےٌü ê ïًîِهٌٌàى ىàٌٌîâîمî èëè هنèيè÷يîمî ïًîèçâîنٌٍâà. دًàâèëüيîه îïًهنهëهيèه ُàًàêٍهًà ïًîهêٍèًَهىîمî ٍèïà ïًîèçâîنٌٍâà è ٌٍهïهيè همî ٍهُيè÷هٌêîé îٌيàùهييîٌٍè, يàèلîëهه ًàِèîيàëüيûُ نëے نàييûُ ٌَëîâèé êîيêًهٍيîمî ٌهًèéيîمî ïًîèçâîنٌٍâà, ےâëےهٌٍے î÷هيü ٌëîويîé çàنà÷هé, ًٍهلَ‏ùهé îٍ ٍهُيîëîمà ïîيèىàيèے ًهàëüيîé ïًîèçâîنٌٍâهييîé îلٌٍàيîâêè, لëèوàéّèُ ïهًٌïهêٍèâ ًàçâèٍèے ïًهنïًèےٍèے è َىهيèے ïًîâîنèٍü ٌهًü¸çيûه ٍهُيèêî-‎êîيîىè÷هٌêèه ًàٌ÷¸ٍû è àيàëèçû.

بٌُîنيûه نàييûه نëے ًàٌ÷¸ٍà ‎êîيîىè÷هٌêèُ ïîêàçàٍهëهé ïًîèçâîنٌٍâà ïًهنٌٍàâëے‏ٌٍے â ٍàلë. 4.1. خٌîلهييîٌٍè ٍهُيîëîمè÷هٌêîمî ïًîِهٌٌà èçمîٍîâëهيèے نهٍàëè «آٍَëêà» َêàçûâà‏ٌٍے â ٍàلë. 4.2.

زàلëèِà 4.1 - بٌُîنيûه نàييûه نëے ًàٌ÷¸ٍà ‎êîيîىè÷هٌêèُ ïîêàçàٍهëهé ïًîèçâîنٌٍâà

حàèىهيîâàيèه

ايà÷هيèه

أîنîâàے ïًîمًàىىà âûïٌَêà, ٍّ.

1000

ضهيà ىàٍهًèàëà, ًَل./ٍ.

29000

ضهيà îٍُîنîâ, ًَل./ٍ.

1000

زàًèô يà ‎ëهêًٍî‎يهًمè‏, ًَل./êآٍ·÷.

2,5

زàًèôيûه ٌٍàâêè ًàلî÷èُ ïî ًàçًےنàى

1

2

3

4

5

6


26,92

32,17

35,12

37,72

42,66

49,88


زàلëèِà 4.2 - خٌîلهييîٌٍè ٍهُيîëîمè÷هٌêîمî ïًîِهٌٌà èçمîٍîâëهيèے نهٍàëè «آٍَëêà»

حàèىهيîâàيèه نهٍàëè

صàًàêٍهًèٌٍèêà ىàٍهًèàëû

حîىهً îïهًàِèè

حàèىهيîâàيèه îïهًàِèè

خلîًَنîâàيèه, âèن, ىàًêà

رٍîèىîٌٍü îلîًَنîâàيèے, ٍûٌ. ًَل.

حîًىà âًهىهيè, ىèي


اàمîٍîâêà

جàًêà

جàٌٌà çàمîٍîâêè, êم

جàٌٌà نهٍàëè, êم





زٍّ

زى

زâ

ؤهٍàëü «آٍَëêà»

زًَليûé ïًîêàٍ

رٍàëü 20

2,17

2

0005

زîêàًيî- ًهâîëüâهًيàے

زîêàًيî-ًهâîëüâهًيûé ïîëَàâٍîىàٍ 1416

190

7

4,158

2,45






0015

آيًٍَèّëèôîâàëüيàے

آيًٍَèّëèôîâàëüيûé ٌٍàيîê 3ہ227

250

8,98

5,59

2,5


4.1 خïًهنهëهيèه ôîًىû îًمàيèçàِèè ïًîèçâîنٌٍâهييîمî ïًîِهٌٌà è ًàٌ÷¸ٍ ïàًàىهًٍîâ ïîٍî÷يîé ëèيèè

ذàٌ÷¸ٍ ًàçىهًà ïàًٍèè çàïٌَêà:

 (4.1)

منه زï-ç - âًهىے يà ïهًهيàëàنêَ îلîًَنîâàيèے ïî âهنَùهé îïهًàِèè (ٍ.ه. ïî îïهًàِèè ٌ يàèلîëهه ٌëîويîé è ًٍَنî¸ىêîé ïهًهيàëàنêîé îلîًَنîâàيèے), ىèي;

زٍّ - يîًىà âًهىهيè ïî ٍîé وه âهنَùهé îïهًàِèè, ىèي;- êî‎ôôèِèهيٍ نîïٌَêàهىûُ ïîٍهًü âًهىهيè يà ïهًهيàëàنêَ îلîًَنîâàيèے (نëے ًٌهنيهٌهًèéيîمî ïًîèçâîنٌٍâà 0,03).

,

دًèيèىàهٌٍے =200 ٍّ.

ؤàëهه îïًهنهëےهٌٍے îلùàے ًٍَنî¸ىêîٌٍü ëèيèè èٌُîنے èç نهéٌٍâèٍهëüيîمî ôîينà âًهىهيè ه¸ ًàلîٍû ïî èçمîٍîâëهيè‏ âûلًàييîé نهٍàëè ٌ َ÷¸ٍîى ïàًٍèè çàïٌَêà, ÷àٌ:

, (4.2)

âٍَëêà وهëهçî ïîًîّêîâûé ىàٍهًèàë

منه زٍّ - ٌَىىàًيîه âًهىے îلًàلîٍêè نهٍàëè ïî ٍهُيîëîمè÷هٌêîىَ ïًîِهٌٌَ, ىèي;ن - نهéٌٍâèٍهëüيûé ôîين âًهىهيè çà îïًهنهë¸ييûé ïëàيîâûé ïهًèîن, ÷àٌ;

 (4.3)

منه ؤً=247 - ÷èٌëî ًàلî÷èُ نيهé â مîنَ;

زٌى=8 ÷àٌ - ïًîنîëوèٍهëüيîٌٍü ٌىهيû;

تٌى=2 - êîëè÷هٌٍâî ٌىهي;

à=3% - ïًîِهيٍ ïîٍهًü âًهىهيè يà ïëàيîâûé ًهىîيٍ îلîًَنîâàيèے;

,

.

ذàٌٌ÷èٍûâàهٌٍے âهëè÷èيà ïًèâهن¸ييîé ïًîمًàىىû ïî لàçîâîىَ èçنهëè‏:

, (4.4)

.

حà îٌيîâàيèè ïًèâهن¸ييîé ïًîمًàىىû يàُîنèٌٍے ٍàêٍ ًàلîٍû ëèيèè:

, (4.5)


خïًهنهëهيèه ÷èٌëà ًàلî÷èُ ىهٌٍ è êî‎ôôèِèهيٍà çàمًَçêè ٌ َ÷¸ٍîى ïًèâهن¸ييîé مîنîâîé ïًîمًàىىû.

ذàٌ÷¸ٍيîه ÷èٌëî ًàلî÷èُ ىهٌٍ:

, (4.6)

منه  - يîًىà âًهىهيè يà i-é îïهًàِèè, ىèي.

;

;

êîًًهêٍèًَهٌٍے âًهىے =8,99, ٍîمنà ==31

دًèيےٍîه ÷èٌëî ًàلî÷èُ ىهٌٍ: رïً005=25, رïً015=31.

تî‎ôôèِèهيٍ çàمًَçêè:

 (4.7)

منه  - ïًèيےٍîه ÷èٌëî ًàلî÷èُ ىهٌٍ يà i-é îïهًàِèè.


خïًهنهëےهٌٍے ًٌهنيèé êî‎ôôèِèهيٍ çàمًَçêè ïî ëèيèè:

, (4.8)

منه m - ÷èٌëî îïهًàِèé يà ëèيèè;


خïًهنهëےهٌٍے âًهىے, يهîلُîنèىîه نëے âûïîëيهيèے ٌىهييîمî çàنàيèے يà êàونîé îïهًàِèè:

 (4.9)

منه Nٌى - ïًîèçâîنèٍهëüيîٌٍü ëèيèè çà ٌىهيَ;- يîًىà âًهىهيè يà i-îé îïهًàِèè, ىèي;

 (4.10)

منه Rê=480 ىèي. - ïهًèîن êîىïëهêٍîâàيèے âûًàلîٍêè;


خïًهنهëے‏ٌٍے ىهوîïهًàِèîييûه îلîًîٍيûه çàنهëû:

, (4.11)

منه زï - ïهًèîن âًهىهيè îنيîâًهىهييîمî âûïîëيهيèے نâَُ ٌىهويûُ îïهًàِèé, â ٍه÷هيèè êîٍîًîمî ïًîèçâîنèٍهëüيîٌٍü يà êàونîé èç يèُ ïîٌٍîےييà (êîëè÷هٌٍâî ًàلî÷èُ ىهٌٍ يه ىهيےهٌٍے);

رi è رj - êîëè÷هٌٍâî ًàلî÷èُ ىهٌٍ يà ٌىهويûُ îïهًàِèےُ â ٍه÷هيèè زï;

,

,

رًٍîèٌٍے ïëàي-مًàôèê ًàلîٍû ïًهًûâيî-ïîٍî÷يîé ëèيèè (ٍàلë. 4.3).

4.2 ذàٌ÷¸ٍ ïîًٍهليîمî êîëè÷هٌٍâà îلîًَنîâàيèے è ïًîèçâîنٌٍâهييîé ïëîùàنè

دîًٍهليîه êîëè÷هٌٍâî îلîًَنîâàيèے ïî êàونîé îïهًàِèè îïًهنهëےهٌٍے يà îٌيîâàيèè ًàٌ÷هٍà ÷èٌëà ًàلî÷èُ ىهٌٍ, ïîëَ÷هييûُ ïًè îïًهنهëهيèè îٌيîâيûُ ïàًàىهًٍîâ ïîٍîêà.

ذهçَëüٍàٍû ًàٌ÷¸ٍîâ è ًٍهلَهىûه ïàًàىهًٍû îلîًَنîâàيèے ٌâîنےٌٍے â ٍàلëèَِ 4.4.

زàلëèِà 4.3 - دëàي - مًàôèê ًàلîٍû ïًهًûâيî - ïîٍî÷يîé ëèيèè


دîًٍهليîه êîëè÷هٌٍâî îلîًَنîâàيèے ïî êàونîé îïهًàِèè îïًهنهëےهٌٍے يà îٌيîâàيèè ًàٌ÷¸ٍà ًàلî÷èُ ىهٌٍ, ïîëَ÷هييûُ ïًè îïًهنهëهيèè îٌيîâيûُ ïàًàىهًٍîâ ïîٍîêà.

خïًهنهëے‏ٌٍے çàًٍàٍû يà îٌيàùهيèه ïًîهêٍèًَهىîé ïîٍî÷يîé ëèيèè يهîلُîنèىûى èيًٌٍَىهيٍîى, èيâهيٍàً¸ى:

. رٍîèىîٌٍü ïîنْ¸ىيî-ًٍàيٌïîًٍيîمî îلîًَنîâàيèے ïًèيèىàهٌٍے 5% îٍ ٌٍîèىîٌٍè ٍهُيîëîمè÷هٌêîمî îلîًَنîâàيèے;

. رٍîèىîٌٍü èيًٌٍَىهيٍà è ïًèٌïîٌîلëهيèé ïًèيèىàهٌٍے 10% îٍ ٌٍîèىîٌٍè ٍهُيîëîمè÷هٌêîمî îلîًَنîâàيèے;

. رٍîèىîٌٍü ïًîèçâîنٌٍâهييîمî èيâهيٍàًے ïًèيèىàهٌٍے 1% îٍ ٌٍîèىîٌٍè ٍهُيîëîمè÷هٌêîمî îلîًَنîâàيèے.

ذهçَëüٍàٍû ًàٌ÷¸ٍîâ ٌَىىû êàïèٍàëüيûُ çàًٍàٍ يà ًٌٍîèٍهëüٌٍâî è îٌيàùهيèه ëèيèè ïî ïًîèçâîنٌٍâَ نهٍàëè (ٌٍîèىîٌٍè îٌيîâيûُ ôîينîâ) ٌâîنےٌٍے â ٍàلëèَِ 4.5.

زàلëèِà 4.4 - ذàٌ÷¸ٍ ïîًٍهليîمî êîëè÷هٌٍâà îلîًَنîâàيèے è ïًîèçâîنٌٍâهييîé ïëîùàنè

حîىهً îïهًàِèè

حàèىهيîâàيèه îïهًàِèè

جîنهëü îلîًَنîâàيèے

دًèيےٍîه êîëè÷هٌٍâî هنèيèِ

أàلàًèٍيûه ًàçىهًû, ى

دëîùàنü هنèيèِ îلîًَنîâàيèے, ى2

تî‎ôôèِèهيٍ, َ÷èٍûâà‏ùèé نîïîëيèٍهëüيûه ïëîùàنè

دًîèçâîنٌٍâهييàے ïëîùàنü, ى2

جîùيîٌٍü ‎ëهêًٍîنâèمàٍهëے, êآٍ

ضهيà îلîًَنîâàيèے, ٍûٌ. ًَل.








هن.

âٌهمî

هن.

âٌهمî

هن.

âٌهمî

005

زîêàًيî-ًهâîëüâهًيàے

1416

25

2,050×1,550

3,178

4

12,7

317,5

5,5

137,5

190

4250

015

آيًٍَèّëèôîâàëüيàے

3ہ227

31

2,815×1,900

5,34

4

21,36

662,16

3

93

250

7750

بٍîمî:



979,66


230,5


12500


4.3 خًمàيèçàِèے ًٍَنà è çàًàلîٍيîé ïëàٍû

ذهوèىيûé ôîين âًهىهيè ًàلî÷همî, ÷àٌ:

 (4.12)


ؤهéٌٍâèٍهëüيûé ôîين âًهىهيè îنيîمî ًàلî÷همî, ÷àٌ:

زàلëèِà 4.5 - ذàٌ÷¸ٍ ٌٍîèىîٌٍè îٌيîâيûُ ôîينîâ

¹ ï/ï

حàèىهيîâàيèه

إنèيèِà èçىهًهيèے

تîëè÷هٌٍâî

رٍîèىîٌٍü, ٍûٌ. ًَل.

1

انàيèے

ى2

979,66

16250

2

زهُيîëîمè÷هٌêîه îلîًَنîâàيèه

هن.

56

12500

3

دîنْ¸ىيî-ًٍàيٌïîًٍيîه



625

4

بيًٌٍَىهيٍ è ïًèٌïîٌîلëهيèے



1250

5

دًîèçâîنٌٍâهييûé èيâهيٍàًü



125

بٍîمî:

30750


(4.13)

منه à - ïًîِهيٍ ïîٍهًü ًàلî÷همî âًهىهيè â ٌâےçè ٌ يهâûُîنîى يà ًàلîٍَ (à=10%);


خïًهنهëهيèه ÷èٌëهييîٌٍè îٌيîâيûُ ًàلî÷èُ ïًîâîنèٌٍے èٌُîنے èç ًٍَنî¸ىêîٌٍè ïًîمًàىىû âûïٌَêà èçنهëèے:

ےâî÷يàے ÷èٌëهييîٌٍü:

 (4.14)

منه تâ.ي.=1,1- êî‎ôôèِèهيٍ âûïîëيهيèے يîًى;


 ٌïèٌî÷يàے ÷èٌëهييîٌٍü:

 (4.15)


ذهçَëüٍàٍû ًàٌ÷¸ٍîâ ٌïèٌî÷يîé ÷èٌëهييîٌٍè îٌيîâيûُ ًàلî÷èُ ٌâîنےٌٍے â ٍàلëèَِ 4.6.

زàلëèِà 4.6 - ×èٌëهييîٌٍü îٌيîâيûُ ًàلî÷èُ

¹ ï/ï

دًîôهٌٌèے

×èٌëهييîٌٍü, ÷هë.

ذàçًےن, هن.




1

2

3

4

5

6

005

شًهçهًيî-ِهيًٍîâàëüيàے

50





50


015

زîêàًيî-ىيîمîًهçِîâàے

62





62


بٍîمî

112



×èٌëهييîٌٍü âٌïîىîمàٍهëüيûُ ًàلî÷èُ îïًهنهëےهٌٍے ïî يîًىàٍèâàى îلٌëَوèâàيèے â ٌîîٍâهٌٍٍâèè ٌ يهîلُîنèىîٌٍü‏ îلٌëَوèâàيèے êàونîمî âèنà ٍهُيîëîمè÷هٌêîمî îلîًَنîâàيèے.

كâî÷يàے ÷èٌëهييîٌٍü îïًهنهëےهٌٍے ïî ôîًىَëه:

 (4.16)

منه m - êîëè÷هٌٍâî مًَïï îلٌëَوèâàهىîمî îلîًَنîâàيèےل.i - êîëè÷هٌٍâî هنèيèِ îلîًَنîâàيèے i-îé مًَïïû îلٌëَوèâàهىîمî îنيèى ًàلî÷èى, هن./÷هë.

,

رïèٌî÷يàے ÷èٌëهييîٌٍü âٌïîىîمàٍهëüيûُ ًàلî÷èُ:

 (4.17)

منه تي=1,1 - êî‎ôôèِèهيٍ, َ÷èٍûâà‏ùèé يهâûُîن يà ًàلîٍَ ïî ïًè÷èيه ïًهنٌَىîًٍهييîé çàêîيîنàٍهëüٌٍâîى;


ذهçَëüٍàٍû ÷èٌëهييîٌٍè âٌïîىîمàٍهëüيûُ ًàلî÷èُ ٌâîنےٌٍے â ٍàلëèَِ 4.7.

×èٌëهييîٌٍü ًَêîâîنèٍهëهé îïًهنهëےهٌٍے ٌîمëàٌيî ٍّàٍيîىَ ًàٌïèٌàيè‏, يà îٌيîâàيèè èٌïîëüçîâàيèے يîًىû َïًàâëےهىîٌٍè. حà îنيîمî ىàٌٍهًà ïًèُîنèٍüٌے 28 ًàلî÷èُ.

×èٌëهييîٌٍü ىëàنّهمî îلٌëَوèâà‏ùهمî ïهًٌîيàëà îïًهنهëےهٌٍے ٌîمëàٌيî يîًىàى îلٌëَوèâàيèے (2000 ى2 يà îنيîمî ًàلîٍيèêà جخد).

زàلëèِà 4.7 - ×èٌëهييîٌٍü âٌïîىîمàٍهëüيûُ ًàلî÷èُ

¹ ï/ï

جîنهëü îلîًَنîâàيèے

تîëè÷هٌٍâî, هن.

حîًىà îلٌëَوèâàيèے هن./÷هë.

×èٌëهييîٌٍü, ÷هë.

آ ٍîى ÷èٌëه ïî ًàçًےنàى






1

2

3

4

5

6

010

1416

25

13/1

4




4



015

3ہ227

31

15/1

4



4

4



بٍîمî

56

-

8

-

-

-

8

-

-


ذهçَëüٍàٍû ًàٌ÷¸ٍà ÷èٌëهييîٌٍè ًàلîٍà‏ùèُ çàيîٌےٌٍے â ٍàلëèَِ 4.8.

زàلëèِà 4.8 - رïèٌî÷يàے ÷èٌëهييîٌٍü ًàلîٍà‏ùèُ

¹ ï/ï

تàٍهمîًèè

×èٌëهييîٌٍü, ÷هë.

1

خٌيîâيûه ًàلî÷èه

112

2

آٌïîىîمàٍهëüيûه ًàلî÷èه

8

3

ذَêîâîنèٍهëè

4

4

جخد

1

بٍîمî:

125


4.4 ذàٌ÷¸ٍ ôîينà îïëàٍû ًٍَنà

خٌيîâيàے çàًàلîٍيàے ïëàٍà îٌيîâيûُ ًàلî÷èُ ًàٌٌ÷èٍûâàهٌٍے ïî ôîًىَëه (يà îنيَ نهٍàëü):

 (4.18)

منه حî - يîًىà îلٌëَوèâàيèے (ïًèيèىàهٌٍے حî=1)

اï÷àٌ.- ٌَىىàًيàے ïëîٍيîٌٍü îنيîمî يîًىî-÷àٌà ٌ َ÷¸ٍîى âٌهُ âèنîâ نîïëàٍ, ًَل.

ذàٌ÷¸ٍ ôîينà îٌيîâيîé çàًàلîٍيîé ïëàٍû âٌïîىîمàٍهëüيûُ ًàلî÷èُ ًهêîىهينَهٌٍے ïًîâîنèٍü â ٌîîٍâهٌٍٍâèè ٌ ïîâًهىهييî - ïًهىèàëüيîé ٌèٌٍهىîé ٌ ‎ëهىهيٍàىè يîًىèًîâàيèے ïî ٌïèٌî÷يîىَ ٌîٌٍàâَ ًàلîٍà‏ùèُ ٌ َ÷¸ٍîى نهéٌٍâèٍهëüيîمî ôîينà âًهىهيè ًàلîٍû:

 (4.19)

منه ×ي - ٌٍîèىîٌٍü يîًىî-÷àٌà نëے âٌهُ âٌïîىîمàٍهëüيûُ ًàلî÷èُ ٌ َ÷¸ٍîى âٌهُ âèنîâ نîïëàٍ, ًَل.;

×â.ٌ. - ٌïèٌî÷يàے ÷èٌëهييîٌٍü âٌïîىîمàٍهëüيûُ ًàلî÷èُ, ÷هë.

ذàٌ÷¸ٍû ïî îٌيîâيîé çàًàلîٍيîé ïëàٍه ïًîèçâîنٌٍâهييûُ ًàلî÷èُ ïًهنٌٍàâëهيû â ٍàلë. 4.9.

ذàٌ÷¸ٍ ôîينà îٌيîâيîé çàًàلîٍيîé ïëàٍû ًَêîâîنèٍهëهé è ىëàنّهمî îلٌëَوèâà‏ùهمî ïهًٌîيàëà ïًîâîنèٌٍے يà îٌيîâàيèè îêëàنîâ ٌîمëàٌيî ٍّàٍيîىَ ًàٌïèٌàيè‏ è èُ ÷èٌëهييîٌٍè.

ذàٌ÷¸ٍ مîنîâîمî ôîينà îïëàٍû ًٍَنà ًàلîٍà‏ùèُ, ًٌهنيهىهٌے÷يîé çàًàلîٍيîé ïëàٍû ïًهنٌٍàâëهيû â ٍàلëèِه 4.10.

4.5 ذàٌ÷¸ٍ ٌهلهٌٍîèىîٌٍè èçمîٍîâëهيèے نهٍàëè

رîٌٍàâ ٌٍàٍüè êàëüêَëےِèè نëے َ÷¸ٍà çàًٍàٍ يà هنèيèَِ ïًîنَêِèè.

رûًü¸ è ىàٍهًèàëû çà âû÷هٍîى îٍُîنîâ:

زàلëèِà 4.9 - أîنîâîé ôîين îٌيîâيîé çàًàلîٍيîé ïëàٍû ًàلî÷èُ

حîىهً îïهًàِèè

حàèىهيîâàيèه îïهًàِèè

أîنîâàے ïًîمًàىىà, ٍّ

ذàçًےن

حîًىà ٍَّ÷يîمî âًهىهيè , ىèي

×àٌîâàے ٍàًèôيàے ٌٍàâêà , ًَل

ؤîïëàٍû

حàنلàâêà çà ïًîô. ىàٌٍهًٌٍâî

ؤîïëàٍà çà âûïîëيهيèه يîًىèًîâàييîمî çàنàيèے

دًهىèے

رٍîèىîٌٍü 1مî يîًىà ÷àٌà

خٌيîâيàے çàًàلîٍيàے ïëàٍà , ًَل.\ًَل







اà ٌَëîâèے ًٍَنà

اà ًàلîٍَ â âه÷هًيهه âًهىے












%

ذَل.

%

ذَل.

%

ذَل.

%

ذَل.

%

ذَل.

ذَل.

حà نهٍàëü

آٌهمî â مîن

خٌيîâيûه ًàلî÷èه

005

زîêàًيî-ًهâîëüâهًيàے

766680

5

7

42,66

4

1,71 

20

8,53

4

1,71

5

2,13

25

10,67

67,41

7,86

6026104,8

015

آيًٍَèّëèôîâàëüيàے


5

8,99

42,66

4

1,71

20

8,53

4

1,71

5

2,13

25

10,67

67,41

10,09

7735801,2

بٍîمî

17,95

13761906

آٌïîىîمàٍهëüيûه ًàلî÷èه

005

1416


4

-

37,72

4

1,51  

20

7,54

4

1,51

5

1,89

25

9,43

59,59

-

423970,56

015

3A227


4

-

37,72

4

1,51 

20

7,54

4

1,51

5

1,89

25

9,43

59,59


423970,56

بٍîمî

847941,12


زàلëèِà 4.10 - أîنîâîé ôîين îïëàٍû ًٍَنà ًàلîٍà‏ùèُ

¹ ï/ï

تàٍهمîًèے ًàلîٍà‏ùèُ

أîنîâîé ôîين îٌيîâيîé çàًàلîٍيîé ïëàٍû, ًَل.

ؤîïîëيèٍهëüيàے çàًàلîٍيàے ïëàٍà

دًهىèے

أîنîâîé ôîين îïëàٍû ًٍَنà, ًَل.

رًهنيه- ىهٌے÷يàے çàًàلîٍيàے ïëàٍà, ًَل.




%

ًَل.

%

ًَل.



1

خٌيîâيûه ًàلî÷èه

13761906

18

2477143,1

-

-

16239049,1

12082,63

2

آٌïîىîمàٍهëüيûه ًàلî÷èه

847941,11

18

152629,4

-

-

1000570,52

10422,6

3

ذَêîâîنèٍهëè

96000

-

-

45

32400

720000

15000

4

جخد

54000

-

-

25

18000

72000

6000

بٍîمî:

14759847,11

-

-

-

-

18031619,62

-


 (4.20)

منه جç - ىàٌٌà çàمîٍîâêè, êم;

ضى - ِهيà ىàٍهًèàëà çà 1 êم, ًَل.;

جن - ىàٌٌà نهٍàëè, êم;

ضîٍُ. - ٌٍîèىîٌٍü îنيîمî êèëîمًàىىà ًهàëèçَهىûُ îٍُîنîâ, ًَل.


فيهًمèے يà ٍهُيîëîمè÷هٌêèه يَونû:

 (4.21)

منه  - ٌَىىàًيàے ىîùيîٌٍü ‎ëهêًٍîنâèمàٍهëے âٌهمî îلîًَنîâàيèے, ٌٍَàيîâëهييîمî يà ëèيèè, êآٍ;

تç - êî‎ôôèِèهيٍ çàمًَçêè ‎ëهêًٍîنâèمàٍهëے ïî ىîùيîٌٍè;

ضآٍ ÷ - ِهيà 1 êآٍ;

زىàّ - ىàّèييîه âًهىے âûïîëيهيèے îïهًàِèé ïîٍîêà, ÷àٌ.


) اàًàلîٍيàے ïëàٍà îٌيîâيûُ ïًîèçâîنٌٍâهييûُ ًàلî÷èُ, âêë‏÷àے نîïîëيèٍهëüيَ‏ çàًàلîٍيَ‏ ïëàٍَ è îٍ÷èٌëهيèے يà ٌîِèàëüيûه يَونû.

خٌيîâيàے çàًàلîٍيàے ïëàٍà îٌيîâيûُ ïًîèçâîنٌٍâهييûُ ًàلî÷èُ îïًهنهëےهٌٍے يà îٌيîâàيèè ًàٌ÷¸ٍà مîنîâîمî ôîينà îٌيîâيîé çàًàلîٍيîé ïëàٍû îٌيîâيûُ ًàلî÷èُ (ٍàلë. 4.9).

ؤîïîëيèٍهëüيàے çàًàلîٍيàے ïëàٍà îïًهنهëےهٌٍے â ïًîِهيٍàُ ê îٌيîâيîé çàًàلîٍيîé ïëàٍه:

; (4.22)


خٍ÷èٌëهيèے يà ٌîِèàëüيûه يَونû ïî هنèيîىَ ٌîِèàëüيîىَ يàëîمَ èٌ÷èٌëے‏ٌٍے èٌُîنے èç ٌٍَàيîâëهييûُ çàêîيîنàٍهëüٌٍâîى يîًى îٍ÷èٌëهيèé îٍ ٌَىىû îٌيîâيîé è نîïîëيèٍهëüيîé çàًàلîٍيîé ïëàٍû:

 (4.23)

منه αهٌي - ïًîِهيٍ îٍ÷èٌëهيèé ïî ٌٍàâêه هنèيîمî ٌîِèàëüيîمî يàëîمà.


زàêèى îلًàçîى, çàًٍàٍû يà çàًàلîٍيَ‏ ïëàٍَ ïًîèçâîنٌٍâهييûُ ًàلî÷èُ ٌîٌٍàâëے‏ٍ:

 (4.24)


آٌه ïهًه÷èٌëهييûه ٌٍàٍüè ےâëے‏ٌٍے ïًےىûىè, îٌٍàëüيûه êîٌâهييûه êàëüêَëےِèîييûه ٌٍàٍüè îïًهنهëے‏ٌٍے ïٍَ¸ى ٌîٌٍàâëهيèے ٌîîٍâهٌٍٍâَ‏ùèُ ٌىهٍ ًàٌُîنîâ, يàçûâàهىûُ êîىïëهêٌيûىè, ٍ. ê. êàونàے ٌٍàٍüے ًàٌُîنîâ âêë‏÷àهٍ يهٌêîëüêî ‎ëهىهيٍîâ çàًٍàٍ.

خٍيهٌهيèه êîٌâهييûُ ًàٌُîنîâ يà ٌهلهٌٍîèىîٌٍü êîيêًهٍيûُ âèنîâ ïًîنَêِèè ىîوهٍ îٌَùهٌٍâëےٍüٌے ىهٍîنîى èُ ًàٌïًهنهëهيèے ïًîïîًِèîيàëüيî îٌيîâيîé çàًàلîٍيîé ïëàٍه îٌيîâيûُ ïًîèçâîنٌٍâهييûُ ًàلî÷èُ.

) ذهىîيٍ è ٌîنهًوàيèه îلîًَنîâàيèے.

دًèيèىàهٌٍے 5% îٍ ٌٍîèىîٌٍè ٌٍَàيîâëهييîمî îلîًَنîâàيèے:


خïًهنهëے‏ٌٍے çàًٍàٍû يà îنيَ نهٍàëü:


) خلùهïًîèçâîنٌٍâهييûه èëè ِهُîâûه ًàٌُîنû ïًèيèىàهى 150% îٍ îٌيîâيîé çàًàلîٍيîé ïëàٍû îٌيîâيûُ ïًîèçâîنٌٍâهييûُ ًàلî÷èُ:


) خلùهُîçےéٌٍâهييûه ًàٌُîنû ïًèيèىàهى 50% îٍ îٌيîâيîé çàًàلîٍيîé ïëàٍû îٌيîâيûُ ïًîèçâîنٌٍâهييûُ ًàلî÷èُ:


دًîèçâîنٌٍâهييàے ٌهلهٌٍîèىîٌٍü نهٍàëè ٌêëàنûâàهٌٍے èç ًàٌٌ÷èٍàييûُ âûّه çàًٍàٍ ïî ٌٍàٍüےى êàëüêَëےِèè.

) آيهïًîèçâîنٌٍâهييûه (êîىىهً÷هٌêèه ًàٌُîنû) ïًèيèىàهى â ًàçىهًه 5% îٍ ïًîèçâîنٌٍâهييîé ٌهلهٌٍîèىîٌٍè ïًîنَêِèè:


رَىىà çàًٍàٍ ïî âٌهى ٌٍàٍüےى êàëüêَëےِèè ïًهنٌٍàâëےهٍ ٌîلîé ïîëيَ ٌهلهٌٍîèىîٌٍü ïًîنَêِèè, êîٍîًàے çàيîٌèٌٍے â ٍàلëèَِ 4.11.

4.6 زهُيèêî-‎êîيîىè÷هٌêèه ïîêàçàٍهëè ïîٍî÷يîé ëèيèè

ؤëے îِهيêè ‎ôôهêٍèâيîٌٍè îًمàيèçàِèè ïًîهêٍèًَهىîé ïîٍî÷يîé ëèيèè ïî ïًîèçâîنٌٍâَ نàييîé نهٍàëè يهîلُîنèىî ًàٌٌ÷èٍàٍü ٍهُيèêî-‎êîيîىè÷هٌêèه ïîêàçàٍهëè, êîٍîًûه ïًهنٌٍàâëهيû â ٍàلëèِه 4.12.

دîٍî÷يàے ëèيèے ےâëےهٌٍے ‎êîيîىè÷هٌêè ‎ôôهêٍèâيûى, هٌëè ًٌîê îêَïàهىîٌٍè يه ïًهâûّàهٍ çيà÷هيèه يîًىàٍèâيîمî ًٌîêà îêَïàهىîٌٍè:

زàلëèِà 4.11 - دîëيàے ٌهلهٌٍîèىîٌٍü ïًîنَêِèè

رٍàٍüè êàëüêَëےِèè

اàًٍàٍû, ًَل.


يà هنèيèَِ ïًîنَêِèè

يà مîنîâîé âûïٌَê

1. رûًü¸ è îٌيîâيûه ىàٍهًèàëû

62,8

48147504

2. فëهêًٍî‎يهًمèے يà ٍهُيîëîمè÷هٌêèه يَونû

82,2

63021096

3. اàًàلîٍيàے ïëàٍà (îٌيîâيàے è نîïîëيèٍهëüيàے)

21,18

16238282,4

4. خٍ÷èٌëهيèے يà ٌîِèàëüيûه يَونû

5,51

4224406,8

5. ذهىîيٍ è ٌîنهًوàيèه îلîًَنîâàيèے

0,82

628678

6. خلùهïًîèçâîنٌٍâهييûه ًàٌُîنû

26,93

20646692,4

7. خلùهôàلًè÷يûه ًàٌُîنû

8,98

6884786,4

بٍîمî: ïًîèçâîنٌٍâهييàے ٌهلهٌٍîèىîٌٍü

208,42

159791445,6

8. تîىىهً÷هٌêèه ًàٌُîنû

10,42

7889572,28

بٍîمî: ïîëيàے ٌهلهٌٍîèىîٌٍü

218,84

167780231,2


 (4.25)

منه إي - يîًىàٍèâيûé êî‎ôôèِèهيٍ ‎êîيîىè÷هٌêîé ‎ôôهêٍèâيîٌٍè êàïèٍàëîâëîوهيèé, ًàâيûé 0,12.


زàê êàê ًٌîê îêَïàهىîٌٍè êàïèٍàëüيûُ çàًٍàٍ 0,15 ëهٍ (ٍàلë. 4.12), à يîًىàٍèâيûé ًٌîê îêَïàهىîٌٍè 8,3 مîنà, ٍî ïًîèçâîنٌٍâî ےâëےهٌٍے ‎êîيîىè÷هٌêè ‎ôôهêٍèâيûى.

زàلëèِà 4.12 - زهُيèêî-‎êîيîىè÷هٌêèه ïîêàçàٍهëè ïîٍî÷يîé ëèيèè

حàèىهيîâàيèه ïîêàçàٍهëے

إن. èçى.

شîًىَëà نëے ًàٌ÷¸ٍà

ايà÷هيèه

1. أîنîâîé âûïٌَê ïًîنَêِèè, Nم

نهٍ.

-

766680

2. تîëè÷هٌٍâî îلîًَنîâàيèے, رïً

هن.

-

56

3. رًهنيèé êî‎ôôèِèهيٍ çàمًَçêè îلîًَنîâàيèے, تç.ًٌ.

%

-

98

4. دًîèçâîنٌٍâهييàے ïëîùàنü, Sïً

ى2

-

979,66

5. رٍîèىîٌٍü îٌيîâيûُ ôîينîâ, خرش

ٍûٌ. ًَل.

30750

6. رïèٌî÷يàے ÷èٌëهييîٌٍü ًàلîٍà‏ùèُ, ×ٌï. - â ٍîى ÷èٌëه îٌيîâيûُ ًàلî÷èُ, ×îٌي.

÷هë.

-

125 112

7. آûïٌَê ïًîنَêِèè, ïًèُîنےùèéٌے يà îنيîمî îٌيîâيîمî ًàلî÷همî

نهٍ./ًàل.

6846


8. رهلهٌٍîèىîٌٍü هنèيèِû ïًîنَêِèè ïî ٌٍàٍüےى êàëüêَëےِèè, ر1ïîë.

ًَل.

-

218,84

9. ذهيٍàلهëüيîٌٍü ïًîنَêِèè, Rïًîن.

%

-

15

10. دًèلûëü يà هنèيèَِ ïًîنَêِèè, د΄

ًَل.

32,83


11. ضهيà هنèيèِû ïًîنَêِèè, ضîïٍ.

ًَل.

251,67


12. أîنîâîé âûïٌَê ïًîنَêِèè â نهيهويîى âûًàوهيèè, آً

ًَل.

192950355,6


13. سنهëüيûه êàïèٍàëüيûه çàًٍàٍû يà هنèيèَِ ïًîنَêِèè, ت΄

ًَل./نهٍ.

40,2


14. رْ¸ى ïًîنَêِèè ٌ 1 ى2 ïًîèçâîنٌٍâهييîé ïëîùàنè, ر2

نهٍ./ى2

783


15. رًîê îêَïàهىîٌٍè êàïèٍàëüيûُ çàًٍàٍ, زîê.

ëهٍ

0,15


16. شàêٍè÷هٌêèé êî‎ôôèِèهيٍ ‎êîيîىè÷هٌêîé ‎ôôهêٍèâيîٌٍè êàïèٍàëüيûُ âëîوهيèé, إô.

-

6,27



آ نàييîé ÷àٌٍè نèïëîىيîمî ïًîهêٍà ïî ًàçًàلîٍàييîىَ ٍهُيîëîمè÷هٌêîىَ ïًîِهٌٌَ èçمîٍîâëهيèے نهٍàëè "âٍَëêà" â ٌَëîâèےُ ٌهًèéيîمî ïًîèçâîنٌٍâà (Nïً=766680 ٍّ.), ًàٌٌ÷èٍûيû ïàًàىهًٍû ïًهًûâيî-ïîٍî÷يîé îïهًàِèîييîé ëèيèè: ًàٌ÷هٍيàے âهëè÷èيà ٍàêٍà r = 0,29 ىèي., يهîلُîنèىîه ÷èٌëî هنèيèِ îلîًَنîâàيèے(نëے ٍîêàًيîé-ًهâîëüâهًيîé îïهًàِèè ر005=25, نëے âيًٍَèùëèôîâàëüيîé îïهًàِèè ر015=31), ًٌهنيèé êî‎ôôèِèهيٍ çàمًَçêè ًàلî÷èُ ىهٌٍ يà ïîٍî÷يîé ëèيèè تç.î.ًٌ=98%, ïًîèçâîنèٍهëüيîٌٍü ëèيèè çà ٌىهيَ Nٌى=1655نهٍ. آ ٌâےçè ٌ ًàçëè÷يîé ïًîنîëوèٍهëüيîٌٍü‏ âûïîëيهيèے îïهًàِèé è îٌٌٍٍٍَâèهى ٌèيًُîيèçàِèè îلًàçَ‏ٌٍے ىهوîïهًàِèîييûه لîًîٍيûه) çàنهëû. دîًٌٍîهي ٌٍàينàًٍ ïëàي ًàلîٍû ïîٍî÷يîé ëèيèè è نâèوهيèه ىهوîïهًàِèîييûُ çàنهëîâ.

دًîèçâîنٌٍâهييàے ïëîùàنü نàييîمî ïًîèçâîنٌٍâà S=979,66 ى2, يà êîٍîًîé ًàçىهùهيû 56 ٌٍàيêîâ, îلٌëَوèâàهىûه 112-‏ îٌيîâيûىè ًàلî÷èىè è 8-‏ âٌïîىîمàٍهëüيûىè ًàلî÷èىè, ًàلîٍà‏ùèىè â نâه ٌىهيû, ىîùيîٌٍü îلîًَنîâàيèے ïîٍîêà - 230,5 êآٍ, ٌٍîèىîٌٍü îلîًَنîâàيèے - 12500000 ًَل.

ؤàëهه ًàٌٌ÷èٍàيà ٌٍîèىîٌٍü îٌيîâيûُ ôîينîâ خرش=30750ٍûٌ.ًَل. أîنîâîé ôîين çàًàلîٍيîé ïëàٍû îٌيîâيûُ ًàلî÷èُ ٌîٌٍàâëےهٍ 16238144,28 ًَل, âٌïîىîمàٍهëüيûُ ًàلî÷èُ - 1000520,52 ًَل., ًَêîâîنèٍهëهé - 720 ٍûٌ.ًَل., جخد - 72 ٍûٌ.ًَل. حàéنهيà ًٌهنيهىهٌے÷يàے çàًàلîٍàييàے ïëàٍà îٌيîâيûُ ًàلî÷èُ 12081,95 ًَل. è âٌïîىîمàٍهëüيûُ ًàلî÷èُ â ًàçىهًه 10422,6 ًَل., ًَêîâîنèٍهëهé - 15 ٍûٌ.ًَل., جخد - 6 ٍûٌ.ًَل.

دî ٌٍàٍüےى êàëüêَëےِèè ًàٌٌ÷èٍàيà ٌهلهٌٍîèىîٌٍü نهٍàëè «âٍَëêà», êîٍîًàے ٌîٌٍàâèëà 218,84 ًَل.

آ ٌَëîâèےُ ٌهًèéيîمî ïًîèçâîنٌٍâà (Nïً=766680 ٍّ.) ëèيèے èىههٍ ٌëهنَ‏ùèه ‎êîيîىè÷هٌêèه ïîêàçàٍهëè:

âûïٌَê ïًîنَêِèè, ïًèُîنےùèéٌے يà îنيîمî îٌيîâيîمî ًàلî÷همî 6846 نهٍ./ًàل.;

مîنîâîé âûïٌَê ïًîنَêِèè â نهيهويîى âûًàوهيèè 192950355,6 ًَل.;

 َنهëüيûه êàïèٍàëüيûه çàًٍàٍû يà هنèيèَِ ïًîنَêِèè 40,2 ًَل./نهٍ.;

- ٌْ¸ى ïًîنَêِèè ٌ 1  ïًîèçâîنٌٍâهييîé ïëîùàنè 783 نهٍ/;

 ًٌîê îêَïàهىîٌٍè êàïèٍàëüيûُ çàًٍàٍ 0,15 ëهٍ;

ôàêٍè÷هٌêèé êî‎ôôèِèهيٍ ‎êîيîىè÷هٌêîé ‎ôôهêٍèâيîٌٍè êàïèٍàëüيûُ âëîوهيèé 6,27.

زàêèى îلًàçîى, ïًîèçâîنٌٍâî ےâëےهٌٍے ‎êîيîىè÷هٌêè âûمîنيûى è ًهيٍàلهëüيûى, ٍàê êàê ًٌîê îêَïàهىîٌٍè ٌîٌٍàâëےهٍ 0,15 ëهٍ, ÷ٍî ىهيüّه يîًىàٍèâيîمî ًٌîêà îêَïàهىîٌٍè, êîٍîًûé ٌîٌٍàâëےهٍ 8,33 مîنà.

5. ءإاخدہرحخرزـ ئباحإؤإكزإثـحخرزب

.1 دëàيèًîâàيèه è ôèيàيٌèًîâàيèه ىهًîïًèےٍèé ïî îًُàيه ًٍَنà يà ىàّèيîًٌٍîèٍهëüيîى ïًهنïًèےٍèè

دëàيû ىهًîïًèےٍèé ïî îًُàيه ًٍَنà ًàçًàلàٍûâà‏ٌٍے يà îٌيîâه "ذهêîىهينàِèé ïî îًمàيèçàِèè ىهًîïًèےٍèé ïî îًُàيه ًٍَنà", ٍَâهًون¸ييûُ ïîٌٍàيîâëهيèهى جèيًٍَنà ذش N11 îٍ 27 ôهâًàëے 1995 مîنà [19].

ؤàييûه ىهًîïًèےٍèے çàïèٌûâà‏ٌٍے ًàçنهëîى â êîëëهêٍèâيîى نîمîâîًه è ٌîمëàّهيèے ïî îًُàيه ًٍَنà ٌ َ÷¸ٍîى ïًهنëîوهيèé ذîًٌٍَنèيٌïهêِèè è نًَمèُ ôهنهًàëüيûُ îًمàيîâ يàنçîًà, ًàلîٍîنàٍهëے è ًٍَنîâîمî êîëëهêٍèâà.

دî âçàèىيîىَ ٌîمëàٌè‏ ٌٍîًîي âيîٌےٌٍے èçىهيهيèے è نîïîëيهيèے â ٌîمëàّهيèه.

رٍîًîيàىè è َïîëيîىî÷هييûىè èىè ïًهنٌٍàâèٍهëےىè ïًîèçâîنèٌٍے êîيًٍîëü çà âûïîëيهيèهى ٌîمëàّهيèے.

دëàيèًîâàيèه ىهًîïًèےٍèé ïî îًُàيه ًٍَنà êëàٌٌèôèِèًَهٌٍے يà ïهًٌïهêٍèâيîه, مîنîâîه è îïهًàٍèâيîه.

دهًٌïهêٍèâيîه ïëàيèًîâàيèه ٌîٌٍîèٍ èç ًàçًàلîٍêè êîىïëهêٌيîمî ïëàيà َëَ÷ّهيèے ٌَëîâèé è îًُàيû ًٍَنà. ذàçًàلîٍêه ‎ٍîمî ïëàيà ïًهنّهٌٍâَهٍ àيàëèç ٌîٌٍîےيèے ٌَëîâèé è îًُàيû ًٍَنà è ًهçَëüٍàٍîâ àٍٍهٌٍàِèè ًàلî÷èُ ىهٌٍ.

أîنîâîه ïëàيèًîâàيèه âêë‏÷àهٍ, êàê ïًàâèëî, ÷àٌٍü êîىïëهêٌيîمî ïëàيà è êîëëهêٍèâيûé نîمîâîً (ٌîمëàّهيèه) ïî îًُàيه ًٍَنà.

خïهًàٍèâيîه ïëàيèًîâàيèه ïًèىهيےهٌٍے نëے ًهّهيèے âيîâü âîçيèêà‏ùèُ çàنà÷. آٌه îٍنهëû è ٌëَولû ïًهنïًèےٍèے َ÷àٌٍâَ‏ٍ â ٌîٌٍàâëهيèè ïëàيà ىهًîïًèےٍèé ïî îًُàيه ًٍَنà. حà ٌîâىهٌٍيîى çàٌهنàيèè ïًîôêîىà è àنىèيèًٌٍàِèè ًàٌٌىàًٍèâàهٌٍے ïًîهêٍ ïëàيà, ٍَâهًونà‏ùèéٌے ًàلîٍîنàٍهëهى.

آ ٌîîٍâهٌٍٍâèè ٌ ٌَùهٌٍâَ‏ùèى çàêîيîنàٍهëüٌٍâîى, يà ïًهنïًèےٍèè ïهًèîنè÷هٌêè نîëويû îليîâëےٍüٌے نàييûه ٌàيèٍàًيî-ٍهُيè÷هٌêîé ïàٌïîًٍèçàِèè, ïهًèîنè÷هٌêè ïًîâîنèٍüٌے ïًîâهًêè ٌîٌٍîےيèے ٌَëîâèé ًٍَنà,

آ êîëëهêٍèâيîى نîمîâîًه èëè îٍنهëüيîى ٌîمëàّهيèè ïî îًُàيه ًٍَنà, çàêë‏÷à‏ùèéٌے ىهونَ ًàلîٍîنàٍهëهى نىèيèًٌٍàِèهé) è êîëëهêٍèâîى, çàêëàنûâàهٌٍے ًےن ىهًîïًèےٍèé ïî َëَ÷ّهيè‏ ًٍَنà. تîيêًهٍيûه ٌَëîâèے ىîمٍَ لûٍü îمîâîًهيû è ïًè çàêë‏÷هيèè èينèâèنَàëüيîمî ًٍَنîâîمî ٌîمëàّهيèے (êîيًٍàêٍà).

ذàلîٍû ïî ïًîâهنهيè‏ ٌهًٍèôèêàِèè يà ٌîîٍâهٌٍٍâèه ًٍهلîâàيèےى ïî îًُàيه ًٍَنà, نîëويû âêë‏÷àٍüٌے, â يàٌٍîےùهه âًهىے, لîëüّèيٌٍâîى ïًهنïًèےٍèé â êîىïëهêٌيûه è مîنîâûه ïëàيû ىهًîïًèےٍèé ïî îًُàيه ًٍَنà.

فٍè ىهًîïًèےٍèے نîëويû لûٍü îٌَùهٌٍâëهيû â ٌîîٍâهٌٍٍâèè ٌ ïîٌٍàيîâëهيèهى جèيًٍَنà ذش N 64 îٍ 3 يîےلًے 1995 مîنà "خل îًمàيèçàِèè ًàلîٍû ïî ïًîâهنهيè‏ ٌهًٍèôèêàِèè ïًîèçâîنٌٍâهييûُ îلْهêٍîâ يà ٌîîٍâهٌٍٍâèه ًٍهلîâàيèےى ïî îًُàيه ًٍَنà".

آ ٌîîٍâهٌٍٍâèè ٌ "آًهىهييûىè ïًàâèëàىè ٌهًٍèôèêàِèè ïًîèçâîنٌٍâهييûُ îلْهêٍîâ يà ٌîîٍâهٌٍٍâèه ًٍهلîâàيèےى ïî îًُàيه ًٍَنà", ٍَâهًون¸ييûىè نàييûى ïîٌٍàيîâëهيèهى جèيًٍَنà ذش, ïî ًهçَëüٍàٍàى ٌهًٍèôèêàِèè îًمàيàىè ïî ًٍَنَ ٌَلْهêٍîâ ذîٌٌèéٌêîé شهنهًàِèè âûنà¸ٌٍے ٌهًٍèôèêàٍ ٌîîٍâهٌٍٍâèے îنيîé èç ًٍ¸ُ êàٍهمîًèé:

ٌهًٍèôèêàٍ ٌîîٍâهٌٍٍâèے êàٍهمîًèè I âûنà¸ٌٍے, هٌëè àٍٍهٌٍîâàيî يه ىهيهه 90% ًàلî÷èُ ىهٌٍ, à يà îٌٍàëüيûه ًàلî÷èه ىهٌٍà ïًهنٌٍàâëهي ïëàي ىهًîïًèےٍèé, êîٍîًûé ïîٌëه âûنà÷è ٌهًٍèôèêàٍà ٌîîٍâهٌٍٍâèے îلهٌïه÷èٍ èُ àٍٍهٌٍàِè‏ â ٍه÷هيèه 6 ىهٌےِهâ;

ٌهًٍèôèêàٍ ٌîîٍâهٌٍٍâèے êàٍهمîًèè II âûنà¸ٌٍے, هٌëè àٍٍهٌٍîâàيî يه ىهيهه 75% ًàلî÷èُ ىهٌٍ, à يà îٌٍàëüيûه ًàلî÷èه ىهٌٍà ïًهنٌٍàâëهي ïëàي ىهًîïًèےٍèé, êîٍîًûé ïîٌëه âûنà÷è ٌهًٍèôèêàٍà ٌîîٍâهٌٍٍâèے îلهٌïه÷èٍ èُ àٍٍهٌٍàِè‏ â ٍه÷هيèه 12 ىهٌےِهâ;

ٌهًٍèôèêàٍ ٌîîٍâهٌٍٍâèے êàٍهمîًèè III âûنà¸ٌٍے, هٌëè àٍٍهٌٍîâàيî يه ىهيهه 50% ًàلî÷èُ ىهٌٍ, à يà îٌٍàëüيûه ًàلî÷èه ىهٌٍà ïًهنٌٍàâëهي ïëàي ىهًîïًèےٍèé, êîٍîًûé ïîٌëه âûنà÷è ٌهًٍèôèêàٍà ٌîîٍâهٌٍٍâèے îلهٌïه÷èٍ èُ àٍٍهٌٍàِè‏ â ٍه÷هيèه 24 ىهٌےِهâ.

آ ٌîîٍâهٌٍٍâèè ٌ ïîٌٍàيîâëهيèهى جèيًٍَنà ذش N12 îٍ 14 ىàًٍà 1997 مîنà "خ ïًîâهنهيèè àٍٍهٌٍàِèè ًàلî÷èُ ىهٌٍ ïî ٌَëîâèےى ًٍَنà", âûïîëيےهٌٍے àٍٍهٌٍàِèے ًàلî÷èُ ىهٌٍ.

ؤëے ïîنمîٍîâêè ê àٍٍهٌٍàِèè ًàلî÷èُ ىهٌٍ ïî ٌَëîâèےى ًٍَنà â îًمàيèçàِèےُ ٌîٌٍàâëےهٌٍے ïهًه÷هيü ًàلî÷èُ ىهٌٍ è âûےâëے‏ٌٍے îïàٌيûه è âًهنيûه ôàêٍîًû ïًîèçâîنٌٍâهييîé ًٌهنû.

ذàلîٍîنàٍهëü ïًèêàçîى ٌîçنà¸ٍ àٍٍهٌٍàِèîييَ‏ êîىèٌٌè‏ نëے îًمàيèçàِèè è ïًîâهنهيèے àٍٍهٌٍàِèè ًàلî÷èُ ىهٌٍ.

بٌُîنے èç èçىهيهيèے ٌَëîâèé è ُàًàêٍهًà ًٍَنà, ٌٍَàيàâëèâà‏ٌٍے ًٌîêè ïًîâهنهيèے àٍٍهٌٍàِèè îًمàيèçàِèهé, يî يه ًهوه îنيîمî ًàçà â 5 ëهٍ ٌ ىîىهيٍà ïًîâهنهيèے يà ًàلî÷èُ ىهٌٍàُ ïîٌëهنيèُ èçىهًهيèé (َّىà, âèلًàِèè, îٌâهù¸ييîٌٍè è نً.).

ہنىèيèًٌٍàِèهé, âûلîًيûى ïًهنٌٍàâèٍهëüيûى îًمàيîى êîëëهêٍèâà (ïًîôêîى) è ٌïهِèàëüيî ٌîçنàييîé يà îٌيîâه çàêîيîنàٍهëüٌٍâà ٌîâىهٌٍيîé êîىèٌٌèهé (ïًè ÷èٌëه ًàلîٍà‏ùèُ لîëهه 10 ÷هëîâهê), ïًîèçâîنèٌٍے êîيًٍîëü çà îٌَùهٌٍâëهيèهى ىهًîïًèےٍèé ïî îًُàيه ًٍَنà.

آ ٌîîٍâهٌٍٍâèè ٌî ٌٍàٍü¸é N19 ôهنهًàëüيîمî çàêîيà "خل îٌيîâàُ îًُàيû ًٍَنà â ذش", îٌَùهٌٍâëےهٌٍے ôèيàيٌèًîâàيèه ىهًîïًèےٍèé ïî îًُàيه ًٍَنà.

آ ÷àٌٍيîٌٍè, ôèيàيٌèًîâàيèه îٌَùهٌٍâëےهٌٍے â ًàىêàُ ٌîîٍâهٌٍٍâَ‏ùèُ ِهëهâûُ ïًîمًàىى çà ٌ÷¸ٍ ًٌهنٌٍâ ôهنهًàëüيîمî لنوهٍà, لنوهٍîâ ٌَلْهêٍîâ ذîٌٌèéٌêîé شهنهًàِèè è ىهٌٍيûُ لنوهٍîâ. دًè ‎ٍîى ىîمٍَ لûٍü èٌïîëüçîâàيû ًٌهنٌٍâà, ïîëَ÷هييûه èç ٌَىى ًٍّàôîâ, يàëàمàهىûُ çà يàًَّهيèه çàêîيîنàٍهëüٌٍâà ïî îًُàيه ًٍَنà è نîلًîâîëüيûُ âçيîٌîâ îًمàيèçàِèé è ôèçè÷هٌêèُ ëèِ.

شèيàيٌèًîâàيèه ىهًîïًèےٍèé ïî َëَ÷ّهيè‏ ٌَëîâèé è îًُàيû ًٍَنà â îًمàيèçàِèےُ îٌَùهٌٍâëےهٌٍے â ًàçىهًه يه ىهيهه 0,1% ٌَىىû çàًٍàٍ يà ïًîèçâîنٌٍâî ïًîنَêِèè (ًàلîٍ, ٌَëَم), à â îًمàيèçàِèےُ, çàيèىà‏ùèٌُے ‎êٌïëَàٍàِèîييîé نهےٍهëüيîٌٍü‏, - â ًàçىهًه يه ىهيهه 0,7% ٌَىىû ‎êٌïëَàٍàِèîييûُ ًàٌُîنîâ.

آ îًٍàٌëےُ ‎êîيîىèêè, ٌَلْهêٍàُ ذش è â îًمàيèçàِèےُ ىîمٍَ ٌîçنàâàٍüٌے ôîينû îًُàيû ًٍَنà.

5.2 زًهلîâàيèے ٍهُيèêè لهçîïàٌيîٌٍè ê ٍهُيîëîمè÷هٌêîىَ ïًîِهٌٌَ èçمîٍîâëهيèے ïًîهêٍèًَهىîé نهٍàëè è ïهًٌîيàëَ

خلùèه ًٍهلîâàيèے لهçîïàٌيîٌٍè ïًîèçâîنٌٍâهييûُ ïًîِهٌٌîâ è ïًîèçâîنٌٍâهييîمî îلîًَنîâàيèے [20].

آ ٌٍàٍüه 29 اàêîيà «خل îًُàيه ًٍَنà» ïًهنٌَىîًٍهيû îٌيîâيûه ًٍهلîâàيèے ïî ٌîîٍâهٌٍٍâè‏ ïًîèçâîنٌٍâهييûُ ïًîِهٌٌîâ ًٍهلîâàيèےى ًٍَنà.

دًîèçâîنٌٍâهييûه ïًîِهٌٌû نîëويû ٌîîٍâهٌٍٍâîâàٍü ًٍهلîâàيèےى ïî îًُàيه ًٍَنà.

خًُàيà ًٍَنà ًàلîٍà‏ùèُ ïًè îًمàيèçàِèè ïًîèçâîنٌٍâهييûُ ïًîِهٌٌîâ نîëويà لûٍü îلهٌïه÷هيà ïًèىهيهيèهى:

لهçîïàٌيûُ ïًîèçâîنٌٍâهييûُ ïًîِهٌٌîâ è ïًîèçâîنٌٍâهييîمî îلîًَنîâàيèے;

ïًîèçâîنٌٍâهييûُ çنàيèé (ïîىهùهيèé) è ïًîèçâîنٌٍâهييûُ ïëîùàنîê, ٌîîٍâهٌٍٍâَ‏ùèُ ًٍهلîâàيèےى ïî îًُàيه ًٍَنà;

 ًàِèîيàëüيîمî ًàçىهùهيèے ïًîèçâîنٌٍâهييîمî îلîًَنîâàيèے è îًمàيèçàِèè ًàلî÷èُ ىهٌٍ;

ىàٍهًèàëîâ, يه îêàçûâà‏ùèُ îïàٌيîمî è (èëè) âًهنيîمî âîçنهéٌٍâèے ًàلîٍà‏ùèُ;

 ًٌٍَîéٌٍâ ïًîٍèâîàâàًèéيîé çàùèٍû, لëîêèًîâêè è ٌèميàëèçàِèè;

لهçîïàٌيûُ ٌïîٌîلîâ ًُàيهيèے è ًٍàيٌïîًٍèًîâàيèے ىàٍهًèàëîâ, مîٍîâîé ïًîنَêِèè è îٍُîنîâ ïًîèçâîنٌٍâà;

 ًٌهنٌٍâ èينèâèنَàëüيîé è êîëëهêٍèâيîé çàùèٍû, îلهٌïه÷èâà‏ùèُ لهçîïàٌيûه ٌَëîâèے ًٍَنà ًàلîٍà‏ùèُ;

ىهٍîنîâ è ًٌهنٌٍâ êîيًٍîëے îïàٌيûُ è (èëè) âًهنيûُ ïًîèçâîنٌٍâهييûُ ôàêٍîًîâ;

دًîنَêِèے, ïًîِهٌٌû ه¸ ًàçًàلîٍêè, ïًîèçâîنٌٍâà, ‎êٌïëَàٍàِèè (èٌïîëüçîâàيèے), ًُàيهيèے, ïهًهâîçêè, ًهàëèçàِèè è ٍَèëèçàِèè نîëويû ٌîîٍâهٌٍٍâîâàٍü ًٍهلîâàيèےى ïî îًُàيه ًٍَنà.

خلùèه ًٍهلîâàيèے لهçîïàٌيîٌٍè ê ïًîèçâîنٌٍâهييûى ïًîِهٌٌàى èçëîوهيû â أخرز 12.3.002 ررءز. «دًîِهٌٌû ïًîèçâîنٌٍâهييûه. خلùèه ًٍهلîâàيèے لهçîïàٌيîٌٍè».

ءهçîïàٌيîٌٍü ïًîèçâîنٌٍâهييûُ ïًîِهٌٌîâ îلهٌïه÷èâàهٌٍے:

âûلîًîى ٍهُيîëîمè÷هٌêîمî ïًîِهٌٌà, ïًè¸ىîâ, ًهوèىîâ ًàلîٍû è ïîًےنêà îلٌëَوèâàيèے ïًîèçâîنٌٍâهييîمî îلîًَنîâàيèے;

âûلîًîى ïًîèçâîنٌٍâهييûُ ïîىهùهيèé è ïëîùàنîê; èٌُîنيûُ ىàٍهًèàëîâ, çàمîٍîâîê è ïîëَôàلًèêàٍîâ, à ٍàêوه ٌïîٌîلîâ èُ ًُàيهيèے è ًٍàيٌïîًٍèًîâàيèے ٍîى ÷èٌëه مîٍîâîé ïًîنَêِèè è îٍُîنîâ ïًîèçâîنٌٍâà);

âûلîًîى ïًîèçâîنٌٍâهييîمî îلîًَنîâàيèے è همî ًàçىهùهيèهى;

 ًàٌïًهنهëهيèهى ôَيêِèé ىهونَ ÷هëîâهêîى è îلîًَنîâàيèهى â ِهëےُ îمًàيè÷هيèے ٍےوهٌٍè ًٍَنà;

ءîëüّîه çيà÷هيèه نëے îلهٌïه÷هيèے لهçîïàٌيîٌٍè èىه‏ٍ ïًîôهٌٌèîيàëüيûه îٍلîً è îلَ÷هيèه ًàلîٍà‏ùèُ لهçîïàٌيûى ïًè¸ىàى ًٍَنà, ïًàâèëüيîه ïًèىهيهيèه èىè ًٌهنٌٍâ çàùèٍû.

دًîèçâîنٌٍâهييûه ïًîِهٌٌû نîëويû لûٍü ïîوàًî- è âçًûâîلهçîïàٌيûىè.

خلùèه ًٍهلîâàيèے لهçîïàٌيîٌٍè ïًîèçâîنٌٍâهييûُ ïًîِهٌٌîâ:

 ًٌٍَàيهيèه يهïîًٌهنٌٍâهييîمî êîيٍàêٍà ًàلîٍà‏ùèُ ٌ âًهنيûىè ىàٍهًèàëàىè, çàمîٍîâêàىè, ïîëَôàلًèêàٍàىè, مîٍîâîé ïًîنَêِèè è îٍُîنàىè ïًîèçâîنٌٍâà, îêàçûâà‏ùèُ âًهنيîه âîçنهéٌٍâèه يà ÷هëîâهêà;

ïًèىهيهيèه êîىïëهêٌيîé ىهُàيèçàِèè, àâٍîىàٍèçàِèè è نèٌٍàيِèîييîمî َïًàâëهيèے â ٍهُ ٌëَ÷àےُ, êîمنà نهéٌٍâèه âًهنيûُ è îïàٌيûُ ôàêٍîًîâ يهëüçے ًٌٍَàيèٍü;

îلهٌïه÷هيèه يàنëهوàùهé مهًىهٍèçàِèè ïًîèçâîنٌٍâهييîمî îلîًَنîâàيèے;

ïًèىهيهيèه ًٌهنٌٍâ êîëëهêٍèâيîé è èينèâèنَàëüيîé çàùèٍû ًàلîٍà‏ùèُ;

îٌيàùهيèه ٍهُيîëîمè÷هٌêèُ ïًîِهٌٌîâ ًٌٍَîéٌٍâàىè, îلهٌïه÷èâà‏ùèىè ïîëَ÷هيèه ٌâîهâًهىهييîé èيôîًىàِèè î âîçيèêيîâهيèè îïàٌيûُ è âًهنيûُ ïًîèçâîنٌٍâهييûُ ôàêٍîًîâ يà îٍنهëüيûُ ٍهُيîëîمè÷هٌêèُ îïهًàِèےُ;

 ٌâîهâًهىهييîه َنàëهيèه è îلهçâًهوèâàيèه îٍُîنîâ ïًîèçâîنٌٍâà, ےâëے‏ùèٌُے èٌٍî÷يèêàىè âًهنيûُ è îïàٌيûُ ïًîèçâîنٌٍâهييûُ ôàêٍîًîâ;

ïًèىهيهيèه ًàِèîيàëüيûُ ًهوèىîâ ًٍَنà è îٍنûُà ٌ ِهëü‏ ïًهنَïًهونهيèے âîçيèêيîâهيèے ïٌèُîôèçèîëîمè÷هٌêèُ îïàٌيûُ è âًهنيûُ ïًîèçâîنٌٍâهييûُ ôàêٍîًîâ (ىîيîٍîييîٌٍè, مèïîنèيàىèè è ٍ.ï.).

آٌه ‎ٍè ًٍهلîâàيèے ê ïًîèçâîنٌٍâهييûى ïًîِهٌٌàى çàêëàنûâà‏ٌٍے ïًè èُ ïًîهêٍèًîâàيèè è ًهàëèçَ‏ٌٍے ïًè îًمàيèçàِèè è ïًîâهنهيèè ٍهُيîëîمè÷هٌêèُ ïًîِهٌٌîâ.

زًهلîâàيèے لهçîïàٌيîٌٍè ê ٍهُيîëîمè÷هٌêîىَ ïًîِهٌٌَ âêë‏÷à‏ٍ â يîًىàٍèâيî - ٍهُيè÷هٌêَ‏ è ٍهُيîëîمè÷هٌêَ‏ نîêَىهيٍàِè‏.

ءهçîïàٌيîٌٍè ٍهُيîëîمè÷هٌêèُ ïًîِهٌٌîâ نîٌٍèمàهٌٍے ïًèىهيهيèهى, يàًےنَ ٌ نًَمèىè ىهًàىè, èيوهيهًيî - ٍهُيè÷هٌêèُ ىهً لهçîïàٌيîٌٍè.

خٌيîâيûه èيوهيهًيî-ٍهُيè÷هٌêèه ًٌهنٌٍâà îلهٌïه÷هيèے لهçîïàٌيîٌٍè îلîًَنîâàيèے:

îمًàنèٍهëüيûه è ïًهنîًُàيèٍهëüيûه ًٌٍَîéٌٍâà;

 ٌèميàëèçàِèے لهçîïàٌيîٌٍè;

 ًàçًûâû è مàلàًèٍû لهçîïàٌيîٌٍè;

èçâهùàٍهëè (نàٍ÷èêè): ïîًîمîâûه, àيàëîمîâûه è àنًهٌيî-àيàëîمîâûه, ًهàمèًَ‏ùèه يà ًàçëè÷يûه âèنû ôèçè÷هٌêîمî âîçنهéٌٍâèے;

ïهًèىهًٍàëüيûه ًٌهنٌٍâà îليàًَوهيèے;

ïًè¸ىيî-êîيًٍîëüيàے àïïàًàًٍَà;

 ًٌهنٌٍâà îïîâهùهيèے;

âٌïîىîمàٍهëüيîه îلîًَنîâàيèے è نً.

رèميàëüيûه ِâهٍà, çيàêè è ïëàêàٍû لهçîïàٌيîٌٍè ïًèىهيے‏ٍ نëے ïًهنَïًهونهيèے ًàلîٍà‏ùèُ î âîçىîويîé îïàٌيîٌٍè, ïًهنïèٌàيèے èëè ًàçًهّهيèے îïًهنهë¸ييûُ نهéٌٍâèé.

ؤëے îلهٌïه÷هيèے لهçîïàٌيîٌٍè ïًè ًàلîٍه ٌ نهٍàëü‏ يهîلُîنèىî ٌîلë‏نàٍü ٌëهنَ‏ùèه ïًàâèëà [21]:

âî âًهىے ًàلîٍû ٌٍàيêà çàïًهùàهٌٍے ïًîèçâîنèٍü ٌىهيَ نهٍàëè èëè êًهïèٍü ه¸, à ٍàêوه ïًèêàٌàٍüٌے ê يهé ًَêàىè èëè îنهونîé;

نëے èٌêë‏÷هيèے ٌîïًèêîٌيîâهيèے ًَê ٌٍàيî÷يèêîâ ٌ نâèوَùèىèٌے ïًèٌïîٌîلëهيèےىè è èيًٌٍَىهيٍîى ïًè ٌٍَàيîâêه çàمîٍîâîê è ٌيےٍèè نهٍàëهé نîëويû èٌïîëüçîâàٍüٌے àâٍîىàٍè÷هٌêèه ًٌٍَîéٌٍâà (ىهُàيè÷هٌêèه ًَêè, ًهâîëüâهًيûه ïًèٌïîٌîلëهيèے, لَيêهًà è نً.);

نëے êîيًٍîëے ًàçىهًîâ îلًàلàٍûâàهىûُ çàمîٍîâîê âî âًهىے ًàلîٍû îلîًَنîâàيèے نîëويû ïًهنٌَىàًٍèâàٍüٌے ٌïهِèàëüيûه ïًèلîًû, ïîçâîëے‏ùèه ïًîèçâîنèٍü çàىهًû àâٍîىàٍè÷هٌêè, لهç ٌيےٍèے نهٍàëهé;

ïًè ًàلîٍه ٌ نهٍàëü‏ èىه‏ùهé لîëüّèه مàلàًèٍû, âûٌٍَïà‏ùèه çà مًàيèِû ٌٍàيêà, ïًèىهيے‏ٍ نîïîëيèٍهëüيûه îïîًû (ë‏ôٍû);

ïًè ٌٍَàيîâêه نهٍàëè يà ٌٍàيîê يهëüçے يàُîنèٍüٌے ىهونَ نهٍàëü‏ è ٌٍàيêîى;

ïًè ïًîâهنهيèè îïهًàِèé ٌ نهٍàëü‏ يà ٌٍàيêه هيًٍèًîâàيèه, çà÷èٌٍêà, ّëèôîâàيèه نهٍàëهé, îïèëîâêà, ّàلًîâêà, èçىهًهيèه نهٍàëهé) èيًٌٍَىهيٍ îلًàلàٍûâà‏ùèé نهٍàëü نîëوهي îٍâîنèٍüٌے يà لهçîïàٌيîه ًàٌٌٍîےيèه;

ïًè îًٍهçàيèè ٍےوهëûُ ÷àٌٍهé نهٍàëè èëè çàمîٍîâêè يهëüçے ïًèنهًوèâàٍü îًٍهçàهىûé êîيهِ ًَêàىè;

ïهًهن ٌٍَàيîâêîé يà ٌٍàيêه îلًàلàٍûâàهىûه نهٍàëè è ïًèٌïîٌîلëهيèے, îٌîلهييî èُ ٌîïًèêàٌà‏ùèهٌے لàçîâûه è êًهïهويûه ïîâهًُيîٌٍè, نîëويû لûٍü î÷èùهيû îٍ ًٌٍَوêè è ىàٌëà;

îلًàلàٍûâàهىَنهٍàëü يهîلُîنèىî ٌٍَàيàâëèâàٍü يà ٌٍàيêه ïًàâèëüيî è يàنهويî, ÷ٍîلû âî âًهىے ُîنà ٌٍàيêà لûëè èٌêë‏÷هيû âîçىîويîٌٍè ه¸ âûëهٍà èëè êàêèه-ëèلî نًَمèه يàًَّهيèے ٍهُيîëîمè÷هٌêîمî ïًîِهٌٌà. ؤهٍàëü çàêًهïëے‏ٍ â ىهٌٍàُ, يàُîنےùèٌُے êàê ىîويî لëèوه ê îلًàلàٍûâàهىîé ïîâهًُيîٌٍè;

ïًè èٌïîëüçîâàيèè لîëüّèيٌٍâà ٌٍàيêîâ َنهًوèâàٍü îلًàلàٍûâàهىَنهٍàëü ًَêàىè çàïًهùàهٌٍے;

هٌëè îلًàلîٍêà نهٍàëè ïًîُîنèٍ يهêîًًهêٍيî, يàïًèىهً ٌنâèم نهٍàëè, يهîلُîنèىî îٌٍàيîâèٍü ٌٍàيîê è ïًîâهٌٍè يهîلُîنèىûه èٌïًàâëهيèے;

 َنàëےٍü ًٌٍَوêَ ٌ îلًàلîٍàييîé نهٍàëè è ٌٍîëà ٌëهنَهٍ ٍîëüêî ïîٌëه îٌٍàيîâêè èيًٌٍَىهيٍà;

ïهًهن îٌٍàيîâîى ٌٍàيêà èيًٌٍَىهيٍ îٍâîنےٍ îٍ îلًàلàٍûâàهىîé نهٍàëè;

نëے êًهïëهيèے نهٍàëهé يه ïًèىهيےٍü ٌëَ÷àéيûُ يهïًèٌïîٌîلëهييûُ ïëàيîê è ïًîêëàنîê;

ïًè ٌٍَàيîâêه نهٍàëè ïًîâهًèٍü ïًàâèëüيîٌٍü ه¸ ًàٌïîëîوهيèے (يه çàنهâàهٍ ëè نهٍàëü ïًè نâèوهيèè çà âûٌٍَïà‏ùèه ÷àٌٍè ٌٍàيêà) ïٍَ¸ى ًَ÷يîمî ïهًهىهùهيèے ٌٍîëà, à هٌëè ‎ٍî يهâîçىîويî (ïًè êًَïيûُ نهٍàëےُ), ٍî ٌ ïîىîùü‏ ىàٌٍّàليîé ëèيهéêè;

ïًè ًàلîٍه ٌ ىàميèٍيîé ïëèٍîé çàïًهùàهٌٍے نهٍàëè, َنهًوèâàهىûه îٌٍàٍî÷يûى ىàميهٍèçىîى, ٌيèىàٍü َنàًàىè èëè ًûâêàىè;

ïًè ًàلîٍه ٌٍàيêà èيًٌٍَىهيٍ îلًàلàٍûâà‏ùèé نهٍàëü يَويî ïîنàâàٍü ïëàâيî, لهç ًûâêîâ èëè ًهçêîمî يàوèىà.

آ çàâèٌèىîٌٍè îٍ âîçىîويîٌٍè ïًهنîًُàيهيèے ÷هëîâهêà â ٌَëîâèےُ âçàèىîنهéٌٍâèے همî ٌ ïîٍهيِèàëüيî îïàٌيûىè ٍهُيè÷هٌêèىè îلْهêٍàىè ïًèىهيے‏ٌٍے نâà îٌيîâيûُ ىهٍîنà çàùèٍû ïهًٌîيàëà îٍ ىهُàيè÷هٌêèُ îïàٌيîٌٍهé [22]:

îلهٌïه÷هيèه يهنîٌٍَïيîٌٍè ê îïàٌيî نهéٌٍâَ‏ùèى ÷àٌٍےى ىàّèي è îلîًَنîâàيèے;

ïًèىهيهيèه ïًèٌïîٌîلëهيèé, يهïîًٌهنٌٍâهييî çàùèùà‏ùèُ ÷هëîâهêà îٍ îïàٌيîمî ïًîèçâîنٌٍâهييîمî ôàêٍîًà.

دهًâûé ىهٍîن ٌîٌٍîèٍ â ïًîًٌٍàيٌٍâهييîى èëè âًهىهييîى ًàçنهëهيèè مîىîٌôهًû (ًàلî÷هé çîيû) è يîêîٌôهًû (îïàٌيîé çîيû), è ê يهىَ îٍيîٌèٌٍے âٌه, ÷ٍî ٌâےçàيî ٌ êîيًٌٍَêٍèâيûىè îٌîلهييîٌٍےىè êàê ٌàىèُ ىàّèي è îلîًَنîâàيèے, ٍàê è ًٌٍَîéٌٍâ, îمًàونà‏ùèُ è لëîêèًَ‏ùèُ îïàٌيûه çîيû. حهنîٌٍَïيîٌٍü ىîوهٍ لûٍü îلهٌïه÷هيà ًàçىهùهيèهى îïàٌيûُ îلْهêٍîâ يà يهنîٌےمàهىîé âûٌîٍه, à ٍàêوه ïîن ïًèêًûٍèهى èëè â ًٍَلàُ.

تî âٍîًîىَ ىهٍîنَ îٍيîٌےٌٍے ٌîلٌٍâهييî ïًèٌïîٌîلëهيèے, c ïîىîùü‏ êîٍîًûُ îلهٌïه÷èâàهٌٍے لهçîïàٌيîٌٍü âçàèىîنهéٌٍâèے ٌ îïàٌيûىè ÷àٌٍےىè ىàّèي è îلîًَنîâàيèے, â ٍîى ÷èٌëه è نèٌٍàيِèîييîه َïًàâëهيèه, à ٍàêوه ًٌٍَîéٌٍâà, àâٍîىàٍè÷هٌêè ïًهêًàùà‏ùèه ًàلîٍَ ٌٍàيêà èëè ًàلîٍَ àمًهمàٍà, èëè ïîنà÷َ ‎يهًمèè â ٌèٌٍهىَ, èëè îٍâîنےùèه ÷àٌٍü ‎يهًمèè â نًَمîه ًٌَëî.

رًهنٌٍâà نîٌٍèوهيèے لهçîïàٌيîٌٍè:

 ًٌهنٌٍâà êîëëهêٍèâيîé çàùèٍû, îلهٌïه÷èâà‏ùèه çàùèٍَ âٌهُ ًàلîٍà‏ùèُ يà َ÷àٌٍêه (رتا);

 ًٌهنٌٍâà èينèâèنَàëüيîé çàùèٍû, ïîâûّà‏ùèه çàùèٍيûه ٌâîéٌٍâà ÷هëîâهêà (ربا), ê êîٍîًûى îٍيîٌèٌٍے ٍàêوه è îلَ÷هيèه âçàèىîنهéٌٍâè‏ ٌ îلîًَنîâàيèهى â îïàٌيîé çîيه.

رًهنٌٍâà êîëëهêٍèâيîé çàùèٍû ًهàëèçَ‏ٌٍے: ïًè ىهُàيèçàِèè è àâٍîىàٍèçàِèè ïًîèçâîنٌٍâهييûُ ïًîِهٌٌîâ; ïًè èٌïîëüçîâàيèè ًîلîٍîâ è ىàيèïَëےٍîًîâ; ïًè نèٌٍàيِèîييîى َïًàâëهيèè îلîًَنîâàيèهى; ïًè îïًهنهëهيèè ًàçىهًîâ îïàٌيîé çîيû; â ٌëَ÷àه ïًèىهيهيèے îمًàونهيèé, لëîêèًîâîê, çâَêîâîé è ٌâهٍîâîé ٌèميàëèçàِèè; ïًè îٌَùهٌٍâëهيèè ٌèميàëüيîé îêًàٌêè; ïًè èٌïîëüçîâàيèè ٍîًىîçيûُ è âûêë‏÷à‏ùèُ ًٌٍَîéٌٍâ.

رًهنٌٍâà èينèâèنَàëüيîé çàùèٍû (ربا) îلهٌïه÷èâà‏ٍ çàùèٍَ îٍنهëüيîمî ÷هëîâهêà èëè îٍنهëüيûُ همî îًمàيîâ ٌ ïîىîùü‏ ٌïهِèàëüيîé îنهونû, îلَâè, çàùèٍيûُ êàٌîê, ىàٌîê, à ٍàêوه ٌâهٍîôèëüًٍîâ, âèلًî- è َّىîçàùèٍيûُ ًٌٍَîéٌٍâ.

آ ïًîِهٌٌه ïًîهêٍèًîâàيèے ٍهُيîëîمè÷هٌêîمî îلîًَنîâàيèے è همî ‎êٌïëَàٍàِèè يهîلُîنèىî ïًèىهيےٍü ًٌٍَîéٌٍâà, ëèلî èٌêë‏÷à‏ùèه âîçىîويîٌٍü êîيٍàêٍà ÷هëîâهêà ٌ îïàٌيîé çîيîé, ëèلî ٌيèوà‏ùèه ًèٌê îïàٌيîٌٍè êîيٍàêٍà. خلùèىè ًٍهلîâàيèےىè ê ًٌهنٌٍâàى çàùèٍû ےâëے‏ٌٍے: َ÷هٍ èينèâèنَàëüيûُ îٌîلهييîٌٍهé îلîًَنîâàيèے, èيًٌٍَىهيٍà, ïًèٌïîٌîلëهيèے èëè ٍهُïًîِهٌٌîâ; يàنهويîٌٍü, ïًî÷يîٌٍü, َنîلٌٍâî îلٌëَوèâàيèے ىàّèي è ىهُàيèçىîâ â ِهëîى, âêë‏÷àے ًٌهنٌٍâà çàùèٍû.

5.3 دëàٍهوè çà çàمًےçيهيèه ïî÷âû (çà ًàçىهùهيèه ٍâهًنûُ ïًîèçâîنٌٍâهييûُ îٍُîنîâ)

دîٌٍàيîâëهيèهى N 344 ââهنهيû يîًىàٍèâû ïëàٍû çà ًàçىهùهيèه îٍُîنîâ â ïًهنهëàُ ٌٍَàيîâëهييûُ ëèىèٍîâ. آهëè÷èيà ‎ٍèُ âûïëàٍ çàâèٌèٍ îٍ ٌٍهïهيè îïàٌيîٌٍè îٍُîنîâ. سٌٍàيîâëهييûé يîًىàٍèâ ïًèىهيےهٌٍے ٌ èٌïîëüçîâàيèهى ïîيèوà‏ùèُ êî‎ôôèِèهيٍîâ: 0 è 0,3 [23].

دًîِهنًَà ًàٌ÷هٍà ïëàٍهوهé çà ًàçىهùهيèه îٍُîنîâ ٌîٌٍîèٍ èç ٌëهنَ‏ùèُ îٌيîâيûُ ‎ٍàïîâ:

) ذàٌ÷هٍ ىàٌٌû ًàçىهùهيèے îٍُîنîâ â ïًهنهëàُ ëèىèٍà mëi نëے êàونîمî i-مî âèنà îٍُîنîâ نëے ٌëهنَ‏ùèُ îٌيîâيûُ ٌëَ÷àهâ:

à) هٌëè mi ≤ ثذخi è ٌîلë‏نهيû ٌَëîâèے ًàçىهùهيèے îٍُîنîâ, ٍî mëi = mi;

ل) هٌëè ثذخi < mi è ٌîلë‏نهيû ٌَëîâèے ًàçىهùهيèے îٍُîنîâ, ٍî mëi = ثذخi;

â) هٌëè يه ٌîلë‏نهيû ٌَëîâèے ًàçىهùهيèے îٍُîنîâ, ٍî mëi = 0;

م) هٌëè ثذخi = 0 (ٍ.ه. يه لûë ٌٍَàيîâëهي),ٍî mëi = 0.

) ذàٌ÷هٍ ىàٌٌû ٌàيêِèîيèًîâàييîمî ًàçىهùهيèه îٍُîنîâ ٌâهًُ ٌٍَàيîâëهييîمî ëèىèٍà mٌëi نëے êàونîمî i-مî âèنà îٍُîنîâ نëے ٌëهنَ‏ùèُ îٌيîâيûُ ٌëَ÷àهâ:

à) هٌëè mi ≤ ثذخi è ٌîلë‏نهيû ٌَëîâèے ًàçىهùهيèے îٍُîنîâ, ٍî mٌëi = 0;

ل) هٌëè ثذخi < mi è ٌîلë‏نهيû ٌَëîâèے ًàçىهùهيèے îٍُîنîâ, ٍî mٌëi = mi - ثذخi;

â) هٌëè يه ٌîلë‏نهيû ٌَëîâèے ًàçىهùهيèے îٍُîنîâ, ٍî mٌëi = 0;

م) هٌëè ثذخi = 0 (ٍ.ه. يه لûë ٌٍَàيîâëهي) è ٌîلë‏نهيû ٌَëîâèے ًàçىهùهيèے îٍُîنîâ, ٍî mٌëi = mi.

) ذàٌ÷هٍ ىàٌٌû يهٌàيêِèîيèًîâàييîمî ًàçىهùهيèه îٍُîنîâ mيًٌi نëے êàونîمî i-مî âèنà îٍُîنîâ.

) ذàٌ÷هٍ ïëàٍهوهé çà ًàçىهùهيèه îٍُîنîâ êàونîمî i-مî âèنà â ïًهنهëàُ ٌٍَàيîâëهييîمî ëèىèٍà (ïî لàçîâûى ٌٍàâêàى ïëàٍû)

دëëi لàç = دëë i لàç * mëi , (5.1)

) ذàٌ÷هٍ ïëàٍهوهé çà ٌàيêِèîيèًîâàييîه ًàçىهùهيèه îٍُîنîâ êàونîمî i-مî âèنà ٌâهًُ ٌٍَàيîâëهييîمî ëèىèٍà (ïî لàçîâûى ٌٍàâêàى ïëàٍû)

دëٌëi لàç = 5 * دëë i لàç * mٌëi , (5.2)

) ذàٌ÷هٍ ïëàٍهوهé çà يهٌàيêِèîيèًîâàييîه ًàçىهùهيèه îٍُîنîâ êàونîمî i-مî âèنà (ïî لàçîâûى ٌٍàâêàى ïëàٍû)

دëيًٌi لàç = 5 * kيًٌٍهًً * دëë i لàç * mيًٌi , (5.3)

منه kيًٌٍهًً - êî‎ôôèِèهيٍ, َ÷èٍûâà‏ùèéٍèï ٍهًًèٍîًèè, يà êîٍîًîé لûëè يهٌàيêِèîيèًîâàييî ًàçىهùهيû îٍُîنû (يهٌàيêِèîيèًîâàييàے ٌâàëêà îٍُîنîâ).

) ذàٌ÷هٍ ٌَىىû ïëàٍهوهé çà ًàçىهùهيèه îٍُîنîâ êàونîمî i-مî âèنà (ïî لàçîâûى ٌٍàâêàى ïëàٍû)

دëi لàç = دëëi لàç + دëٌëi لàç + دëيًٌi لàç, (5.4)

) ذàٌ÷هٍ ٌَىىàًيûُ ïëàٍهوهé çà ًàçىهùهيèه îٍُîنîâ â ïًهنهëàُ ëèىèٍà (ïî لàçîâûى è نèôôهًهيِèًîâàييûى ٌٍàâêàى ïëàٍû)

 (5.6)

منه Ièيô - ïًîèçâهنهيèه êî‎ôôèِèهيٍîâ, يà÷èيàے ٌ مîنà, ٌëهنَ‏ùهمî çà مîنîى ٌٍَàيîâëهيèےنهéٌٍâَ‏ùèُ لàçîâûُ ٌٍàâîê ïëàٍû, نî ٍهêَùهمî مîنà;

ت‎ٌ - êî‎ôôèِèهيٍ ‎êîëîمè÷هٌêîé ٌèٍَàِèè è ‎êîëîمè÷هٌêîé çيà÷èىîٌٍè نëے çàمًےçيهيèے ïî÷â â ىهٌٍه ًàçىهùهيèے ïًèًîنîïîëüçîâàٍهëے.

) ذàٌ÷هٍ ٌَىىàًيûُ ïëàٍهوهé çà ٌàيêِèîيèًîâàييîه ًàçىهùهيèه îٍُîنîâ ٌâهًُ ٌٍَàيîâëهييîمî ëèىèٍà (ïî لàçîâûى è نèôôهًهيِèًîâàييûى ٌٍàâêàى ïëàٍû)

 (5.8)

) ذàٌ÷هٍ ٌَىىàًيûُ ïëàٍهوهé çà يهٌàيêِèîيèًîâàييîه ًàçىهùهيèه îٍُîنîâ (ïî لàçîâûى è نèôôهًهيِèًîâàييûى ٌٍàâêàى ïëàٍû)

 (5.9)

) ذàٌ÷هٍ ٌَىىàًيûُ ïëàٍهوهé ïًهنïًèےٍèے çà ًàçىهùهيèه îٍُîنîâ (ïî لàçîâûى è نèôôهًهيِèًîâàييûى ٌٍàâêàى ïëàٍû)

 (5.11)

, (5.12)

, (5.13)

دًè ًàçىهùهيèè ٍîêٌè÷يûُ îٍُîنîâ يà ٌïهِèàëèçèًîâàييûُ ïî èُ îلٌëَوèâàيè‏, çàُîًîيهيè‏ è ًُàيهيè‏ ïîëèمîيàُ ïëàٍà ٌ ïًèًîنîïîëüçîâàٍهëهé çà ًàçىهùهيèه يه âçèىàهٌٍے, à ïًèًîنîïîëüçîâàٍهëè â ٌٍَàيîâëهييîى ïîًےنêه îٌَùهٌٍâëے‏ٍ ًٌٍàُîâàيèه ًàçىهùàهىûُ îٍُîنîâ â ٌâےçè ٌ ‎êîëîمè÷هٌêèى ًèٌêîى (ًٌٍàُîâàيèه ےâëےهٌٍے يه îلےçàٍهëüيûى).

دًè ًàçىهùهيèè îٍُîنîâ يà ٍهًًèٍîًèےُ, ïًèيàنëهوàùèُ ïًèًîنîïîëüçîâàٍهëےى, لàçîâûé يîًىàٍèâ ïëàٍû َىيîوàهٌٍے يà êî‎ôôèِèهيٍ 0,3.

فêîëîمè÷هٌêèه ïëàٍهوè âçèىà‏ٌٍے êàê çà ًàçىهùهيèه îٍُîنîâ يà يهٌàيêِèîيèًîâàييûُ ٌâàëêàُ â ٌëهنَ‏ùèُ ٌëَ÷àےُ:

à) ïًè ًàçىهùهيèè îٍُîنîâ يà يهîٍâهنهييûُ نëے ‎ٍèُ ِهëهé ٍهًًèٍîًèےُ;

ل) ïًè يàًَّهيèè ïًàâèë ًُàيهيèے َنîلًهيèé è ےنîُèىèêàٍîâ;

â) ïًè ïهًهيàٌûùهيèè ïîëهé َنîلًهيèےىè è ےنîُèىèêàٍàىè;

م) ïًè يàًَّهيèè ïًàâèë çàُîًîيهيèے ٍâهًنûُ لûٍîâûُ îٍُîنîâ.

دًè ًàٌ÷هٍه ïëàٍهوهé çà ًàçىهùهيèه îٍُîنîâ يà يهٌàيêِèîيèًîâàييûُ ٌâàëêàُ ïًèىهيے‏ٌٍے ٌëهنَ‏ùèه ïîâûّà‏ùèه ٍهًًèٍîًèàëüيûه êî‎ôôèِèهيٍû:

êî‎ôôèِèهيٍ 5 ïًè ًàçىهùهيèè îٍُîنîâ â مًàيèِàُ مîًîنîâ, يàٌهëهييûُ ïَيêٍîâ, âîنîهىîâ, ًهêًهàِèîييûُ çîي è âîنîîًُàييûُ ٍهًًèٍîًèé;

êî‎ôôèِèهيٍ 3 ïًè ًàçىهùهيèè îٍُîنîâ يà ًàٌٌٍîےيèè ىهيهه 3 êى âيه مًàيèِ مîًîنîâ, يàٌهëهييûُ ïَيêٍîâ, âîنîهىîâ, ًهêًهàِèîييûُ çîي è âîنîîًُàييûُ ٍهًًèٍîًèé.

آ ًàçنهëه «ءهçîïàٌيîٌٍü وèçيهنهےٍهëüيîٌٍè» لûë ًàٌٌىîًٍهي ïîًےنîê îًمàيèçàِèè ىهًîïًèےٍèé ïî îًُàيه ًٍَنà يà ىàّèيîًٌٍîèٍهëüيîى ïًهنïًèےٍèè; êëàٌٌèôèêàِèے ïëàيèًîâàيèے. زàêوه لûë ًàٌٌىîًٍهي âîïًîٌ ôèيàيٌèًîâàيèے ىهًîïًèےٍèé ïî îًُàيه ًٍَنà è çà ٌ÷¸ٍ êàêèُ ًٌهنٌٍâ îيî îٌَùهٌٍâëےهٌٍے.

دًîàيàëèçèًîâàيû îٌيîâيûه ًٍهلîâàيèے ٍهُيèêè لهçîïàٌيîٌٍè ê ٍهُيîëîمè÷هٌêîىَ ïًîِهٌٌَ èçمîٍîâëهيèے ïًîهêٍèًَهىîé نهٍàëè è ïهًٌîيàëَ. آûےٌيèëè, ÷ٍî لهçîïàٌيîٌٍü ًàلîٍà‏ùهمî ïهًٌîيàëà îلهٌïه÷èâàهٌٍے ïًèىهيهيèهى:

لهçîïàٌيûُ ïًîèçâîنٌٍâهييûُ ïًîِهٌٌîâ è ïًîèçâîنٌٍâهييîمî îلîًَنîâàيèے;

ïًîèçâîنٌٍâهييûُ çنàيèé (ïîىهùهيèé) è ïًîèçâîنٌٍâهييûُ ïëîùàنîê, ٌîîٍâهٌٍٍâَ‏ùèُ ًٍهلîâàيèےى ïî îًُàيه ًٍَنà;

 ًàِèîيàëüيîمî ًàçىهùهيèے ïًîèçâîنٌٍâهييîمî îلîًَنîâàيèے è îًمàيèçàِèè ًàلî÷èُ ىهٌٍ;

ىàٍهًèàëîâ, يه îêàçûâà‏ùèُ îïàٌيîمî è (èëè) âًهنيîمî âîçنهéٌٍâèے ًàلîٍà‏ùèُ;

 ًٌٍَîéٌٍâ ïًîٍèâîàâàًèéيîé çàùèٍû, لëîêèًîâêè è ٌèميàëèçàِèè;

لهçîïàٌيûُ ٌïîٌîلîâ ًُàيهيèے è ًٍàيٌïîًٍèًîâàيèے ىàٍهًèàëîâ, مîٍîâîé ïًîنَêِèè è îٍُîنîâ ïًîèçâîنٌٍâà;

 ًٌهنٌٍâ èينèâèنَàëüيîé è êîëëهêٍèâيîé çàùèٍû, îلهٌïه÷èâà‏ùèُ لهçîïàٌيûه ٌَëîâèے ًٍَنà ًàلîٍà‏ùèُ;

ىهٍîنîâ è ًٌهنٌٍâ êîيًٍîëے îïàٌيûُ è (èëè) âًهنيûُ ïًîèçâîنٌٍâهييûُ ôàêٍîًîâ;

ذàٌٌىîًٍهيû ïًàâèëà ٍهُيèêè لهçîïàٌيîٌٍè ïًè ًàلîٍه ٌ نهٍàëü‏, îٌيîâيûىè èç êîٍîًûُ ےâëے‏ٌٍے:

نëے èٌêë‏÷هيèے ٌîïًèêîٌيîâهيèے ًَê ٌٍàيî÷يèêîâ ٌ نâèوَùèىèٌے ïًèٌïîٌîلëهيèےىè è èيًٌٍَىهيٍîى ïًè ٌٍَàيîâêه çàمîٍîâîê è ٌيےٍèè نهٍàëهé نîëويû èٌïîëüçîâàٍüٌے àâٍîىàٍè÷هٌêèه ًٌٍَîéٌٍâà (ىهُàيè÷هٌêèه ًَêè, ًهâîëüâهًيûه ïًèٌïîٌîلëهيèے, لَيêهًà è نً.);

ïًè ïًîâهنهيèè îïهًàِèé ٌ نهٍàëü‏ يà ٌٍàيêه هيًٍèًîâàيèه, çà÷èٌٍêà, ّëèôîâàيèه نهٍàëهé, îïèëîâêà, ّàلًîâêà, èçىهًهيèه نهٍàëهé) èيًٌٍَىهيٍ îلًàلàٍûâà‏ùèé نهٍàëü نîëوهي îٍâîنèٍüٌے يà لهçîïàٌيîه ًàٌٌٍîےيèه;

îلًàلàٍûâàهىَنهٍàëü يهîلُîنèىî ٌٍَàيàâëèâàٍü يà ٌٍàيêه ïًàâèëüيî è يàنهويî, ÷ٍîلû âî âًهىے ُîنà ٌٍàيêà لûëè èٌêë‏÷هيû âîçىîويîٌٍè ه¸ âûëهٍà èëè êàêèه-ëèلî نًَمèه يàًَّهيèے ٍهُيîëîمè÷هٌêîمî ïًîِهٌٌà. ؤهٍàëü çàêًهïëے‏ٍ â ىهٌٍàُ, يàُîنےùèٌُے êàê ىîويî لëèوه ê îلًàلàٍûâàهىîé ïîâهًُيîٌٍè;

ذàٌٌىîًٍهي ًàٌ÷¸ٍ ïëàٍهوهé çà çàمًےçيهيèه ïî÷âû.

اہتثق×إحبإ

آ نèïëîىيîى ïًîهêٍه لûëè ًàçًàلîٍàيû è ًàٌٌ÷èٍàيû ‎ëهىهيٍû ïًهٌٌ-ôîًىû نëے èçمîٍîâëهيèے نهٍàëè «آٍَëêà» ىهٍîنîى ïîًîّêîâîé ىهٍàëëًَمèè.

آ êîيًٌٍَêٍîًٌêîé ÷àٌٍè لûëè ًàٌٌىîًٍهيû è ïًîàيàëèçèًîâàيû àيٍèôًèêِèîييûه ىàٍهًèàëû يà îٌيîâه وهëهçà, îïèٌàيû ىهٍîنû ôîًىîîلًàçîâàيèے ïîًîّêîâûُ ٌٍàëهé, ïًîàيàëèçèًîâàيà ًàلîٍà ïًهٌٌ-ôîًىû è âûلًàي ïًهٌٌ-àâٍîىàٍ زذہ-50, ًàٌٌ÷èٍàيû îٌيîâيûه ‎ëهىهيٍû ïًهٌٌ-ôîًىû. ءûë ïًîâهن¸ي ًàٌ÷¸ٍ ىàًٍèِû è يèويهمî ïَàيٌîيà يà ïًî÷يîٌٍü è و¸ٌٍêîٌٍü, â ًهçَëüٍàٍه êîٍîًîمî لûë ٌنهëàي âûâîن, ÷ٍî îيè َنîâëهٍâîًے‏ٍ ٌَëîâè‏ ïًî÷يîٌٍè è و¸ٌٍêîٌٍè. ءûëè ïîًٌٍîهيû ‎ï‏ًû ًàنèàëüيûُ è ٍàيمهيِèàëüيûُ ًàٌٍےمèâà‏ùèُ يàïًےوهيèé, âîçيèêà‏ùèُ â ىàًٍèِه نî يàمًَوهيèے è ïîٌëه يàمًَوهيèے.

آ èٌٌëهنîâàٍهëüٌêîé ÷àٌٍè لûëà ïًîâهنهيà ïîâهًُيîٌٍيàے çàêàëêà زآ× ٌïًهٌٌîâàييîé âٍَëêè. ًàٌٌىîًٍهي ïîًےنîê َïًî÷يهيèے çàêàëêîé ïîًîّêîâûُ ٌٍàëهé, نëے çàêàëêè زآ× لûë ïًîâهن¸ي ‎ëهêًٍè÷هٌêèé è ٍهïëîâîé ًàٌ÷¸ٍ êîëüِهâîمî èينَêٍîًà, âûلًàيà ÷àٌٍîٍà çàêàëêè è âûلًàيà ‎ëهêًٍîٌٍَàيîâêà نëے çàêàëêè - َيèâهًٌàëüيûé çàêàëî÷يûé ٌٍàيîê 9698-3030.

آ ٍهُيîëîمè÷هٌêîé ÷àٌٍè لûë ًàçًàلîٍàي è ًàٌٌ÷èٍàي ٍهُيîëîمè÷هٌêèé ïًîِهٌٌ èçمîٍîâëهيèے نهٍàëè ïًهٌٌ-ôîًىû «آٍَëêà». آ ïًîِهٌٌه âûïîëيهيèے ًٍهٍüهé ÷àٌٍè نèïëîىيîمî ïًîهêٍà لûëî îïًهنهëهيî ïًîèçâîنٌٍâî - ًٌهنيهٌهًèéيîه, âûلًàيà çàمîٍîâêà - ًٍَليûé ïًîêàٍ, âûلًàيî îلîًَنîâàيèه, ïًèٌïîٌîلëهيèے è èيًٌٍَىهيٍ, ًàٌٌ÷èٍàيû ïًèïٌَêè يà ىهُàيè÷هٌêَ‏ îلًàلîٍêَ, ًàٌٌ÷èٍàيû ًهوèىû ًهçàيèے ىهُàيè÷هٌêîé îلًàلîٍêè نهٍàëè, ïًîâهنهيî يîًىèًîâàيèه ٍهُيîëîمè÷هٌêîمî ïًîِهٌٌà, ًàٌٌ÷èٍàي ٌïهِèàëüيûé ًهوَùèé è ىهًèٍهëüيûé èيًٌٍَىهيٍ.

آ ‎êîيîىè÷هٌêîé ÷àٌٍè نèïëîىيîمî ïًîهêٍà لûë ًàçًàلîٍàي è ٌïëàيèًîâàي َ÷àٌٍîê ىهُàيè÷هٌêîé îلًàلîٍêè نهٍàëè «آٍَëêà». آ ïًîِهٌٌه âûïîëيهيèے ÷هٍâ¸ًٍîé ÷àٌٍè لûëà âûلًàيà ôîًىà îًمàيèçàِèè, ًàٌٌ÷èٍàيà è ٌïًîهêٍèًîâàيà ïîٍî÷يàے ëèيèے, ًàٌٌ÷èٍàيî êîëè÷هٌٍâî îلîًَنîâàيèے è ًàلî÷èُ, ًàٌٌ÷èٍàيà çàًàلîٍيàے ïëàٍà ًàلî÷èى, ًàٌٌ÷èٍàيà ٌهلهٌٍîèىîٌٍü èçمîٍîâëےهىîé نهٍàëè è ٍهُيèêî-‎êîيîىè÷هٌêèه ïîêàçàٍهëè ïîٍî÷يîé ëèيèè. رنهëàي âûâîن, ÷ٍî ïًîèçâîنٌٍâî ‎êîيîىè÷هٌêè ‎ôôهêٍèâيî è ِهëهٌîîلًàçيî.

آ ًàçنهëه «ءهçîïàٌيîٌٍü وèçيهنهےٍهëüيîٌٍè» لûë ًàٌٌىîًٍهي âîïًîٌ ïëàيèًîâàيèے è ôèيàيٌèًîâàيèے ىهًîïًèےٍèé ïî îًُàيه ًٍَنà يà ىàّèيîًٌٍîèٍهëüيîى ïًهنïًèےٍèè; ًٍهلîâàيèے ٍهُيèêè لهçîïàٌيîٌٍè ê ٍهُيîëîمè÷هٌêîىَ ïًîِهٌٌَ èçمîٍîâëهيèے ïًîهêٍèًَهىîé نهٍàëè è ïهًٌîيàëَ; ïëàٍهوè çà çàمًےçيهيèه ïî÷âû (çà ًàçىهùهيèه ٍâهًنûُ ïًîèçâîنٌٍâهييûُ îٍُîنîâ).

ءبءثبخأذہشب×إرتبة ردبرخت

1.   خٌيîâû ïîًîّêîâîé ىهٍàëëًَمèè. أ.ہ. ثèلهيٌîي. 2-ه èçن., ïهًهًàل. è نîï. ج.: جهٍàëëًَمèے. 1987. - 208 ٌ.

2.      إًىàêîâ ر.ر., آےçيèêîâ ح.ش. دîًîّêîâûه ٌٍàëè è èçنهëèے. - 4-ه èçن., ïهًهًàل. è نîï. - ث.: جàّèيîًٌٍîهيèه. ثهيèيمً. îٍنهëهيèه, 1990. - 319 ٌ.: èë.

.        دîًîّêîâîه ىàٍهًèàëîâهنهيèه. ہينًèهâٌêèé ذ.ہ. - ج.: جهٍàëëًَمèے, 1991. - 205 ٌ.

.        دًîèçâîنٌٍâî ïîًîّêîâûُ èçنهëèé: س÷هليèê نëے ٍهُيèêَىîâ. - 2-ه èçن., ïهًهًàل. è نîï. أ. ہ. ثèلهيٌîي. - ج.: جهٍàëëًَمèے, 1990. - 240 ٌ.

.        دîًîّêîâàے ىهٍàëëًَمèے. رïه÷¸ييûه è êîىïîçèِèîييûه ىàٍهًèàëû. دîن ًهن. آ. طàٍٍà. دهً. ٌ يهى. ج., «جهٍàëëًَمèے», 1983. 520ٌ. ٌ èë.

.        خلîًَنîâàيèه ïًهنïًèےٍèé ïîًîّêîâîé ىهٍàëëًَمèè. س÷هليèê نëے âَçîâ. تèïàًèٌîâ ر.ر., دàنàëêî خ.آ. ج.: «جهٍàëëًَمèے», 1988. 448 ٌ.

.        دîًîّêîâàے ىهٍàëëًَمèے. تèïàًèٌîâ ر.ر., ثèلهيٌîي أ.ہ. بçن-âî «جهٍàëëًَمèے», 1971, ٌ. 528.

.        ذَêîâîنٌٍâî ê ًهّهيè‏ çàنà÷ ïî ٌîïًîٍèâëهيè‏ ىàٍهًèàëîâ: س÷هل. ïîٌîلèه نëے âَçîâ/ دîن ًهن. ث.ر. جèيèيà. - 3-ه èçن., ïهًهًàل. è نîï. - ج.: آûٌّ. ّê., 2001. - 592ٌ.: èë.

.        تîىïîçèِèîييûه ٌïه÷¸ييûه àيٍèôًèêِèîييûه ىàٍهًèàëû / شهنîً÷هيêî ب.ج., دَمèيà ث.ب. - تèهâ: حàَê. ؤَىêà, 1980. - 404ٌ.

.        ؤîëîٍîâ أ.د., تîينàêîâ إ.ہ. خلîًَنîâàيèه ٍهًىè÷هٌêèُ ِهُîâ è ëàلîًàٍîًèé èٌïûٍàيèے ىهٍàëëîâ: س÷هل. ïîٌîلèه نëے َ÷àùèٌُے ىàّèيîًٌٍîèٍ. è ىهٍàëëًَم. ٍهُيèêَىîâ. - ج.: جàّèيîًٌٍîهيèه, 1988. - 336ٌ.: èë.

.        «تًٌَîâîه ïًîهêٍèًîâàيèه ïî ٍهُيîëîمèè ىàّèيîًٌٍîهيèے» / ہ.ش. أîًلàِهâè÷ è نً. جèيٌê, آûٌّàے ّêîëà, 1975 - 285ٌ.

.        ذهوèىû ًهçàيèے ىهٍàëëîâ / ïîن ًهن. ق.آ. ءàًàيîâٌêîمî. - ج.: جàّèيîًٌٍîهيèه, 1972.-407ٌ.

.     طهéيلëèٍ ہ.إ. تًٌَîâîه ïًîهêٍèًîâàيèه نهٍàëهé ىàّèي: س÷هل. دîٌîلèه.-بçن. 2-ه, ïهًهًàل. è نîï.- تàëèيèيمًàن: كيٍàً. ٌêàç, 2004.- 454 ٌ.: èë., ÷هًٍ. - ء. ِ.

14.    رلîًيèê çàنà÷ è ïًèىهًîâ ïî ًهçàيè‏ ىهٍàëëîâ è ًهوَùهىَ èيًٌٍَىهيٍَ: َ÷هليîه ïîٌîلèه / ح.ہ. حهôهنîâ, ت.ہ. خٌèïîâ. - ج.: جàّèيîًٌٍîهيèه, 1984.-400ٌ.

.        زًَهâِهâ ح.ب., زًَهâِهâ ح.ح., أهيçهً ج.ر. زهُيîëîمèے è îلîًَنîâàيèه ٍهêٌٍèëüيîمî ïًîèçâîنٌٍâà.-ج.: ثهمêàے èينًٌٍَèے, 1975.-640ٌ.

.        رلîًيèê çàنà÷ è ïًèىهًîâ ïî ًهçàيè‏ ىهٍàëëîâ è ًهوَùهىَ èيًٌٍَىهيٍَ: َ÷هليîه ïîٌîلèه / ح.ہ. حهôهنîâ, ت.ہ. خٌèïîâ. - ج.: جàّèيîًٌٍîهيèه, 1984.-400ٌ.

.        «خïًهنهëهيèه ïًèïٌَêîâ يà ىهُàيè÷هٌêَ‏ îلًàلîٍêَ» س÷هليîه ïîٌîلèه / ہ.ح. طهïٌ è نً.رàًàيٌê, آûٌّàے ّêîëà, 1995 - 68ٌ.

.        خًمàيèçàِèے è ïëàيèًîâàيèه ïًîèçâîنٌٍâà. جهٍîنè÷هٌêèه َêàçàيèے نëے âûïîëيهيèے êًٌَîâîé ًàلîٍû è ‎êîيîىè÷هٌêîé ÷àٌٍè نèïëîىيîمî ïًîهêٍà: ب.ب. أàëèَëëèيà, أàëèَëëèي ص.ك. - ؤèىèًٍîâمًàن, 2009.- 24ٌ.

.        دëàيèًîâàيèه è ôèيàيٌèًîâàيèه ىهًîïًèےٍèé ïî îًُàيه ًٍَنà

20. <http://www.znakcomplect.ru/planirovanie-i-finansirovanie-meropriyatiy-po-ohrane-truda.php>

21.    خلùèه ًٍهلîâàيèے لهçîïàٌيîٌٍè ïًîèçâîنٌٍâهييûُ ïًîِهٌٌîâ è ïًîèçâîنٌٍâهييîمî îلîًَنîâàيèے

.        http://www.zavtrasessiya.com/index.pl?act=PRODUCT&id=861

.        ءهçîïàٌيîٌٍü وèçيهنهےٍهëüيîٌٍè â ىàّèيîًٌٍîهيèè: س÷هل. ء 40 ïîٌîلèه نëے ًٌهني. ïًîô. َ÷هليûُ çàâهنهيèé / آ.أ. إًهىèي, آ.آ. رàôًîيîâ, ہ.أ. رُèًٍëàنçه, أ.ہ. صàًëàىîâ; دîن ًهن. ق.ج. رîëîىهيِهâà, - ج.: آûٌّ. ّê., - 2002. - 310 ٌ.

ذàçىهùهيî يà Allbest.ru

Похожие работы на - Порошковая металлургия

 

Не нашли материал для своей работы?
Поможем написать уникальную работу
Без плагиата!
Без нейросетей!