Полимерное оборудование

  • Вид работы:
    Контрольная работа
  • Предмет:
    Другое
  • Язык:
    Русский
    ,
    Формат файла:
    MS Word
    634,91 Кб
  • Опубликовано:
    2015-03-24
Вы можете узнать стоимость помощи в написании студенческой работы.
Помощь в написании работы, которую точно примут!

Полимерное оборудование

Оглавление

1.      Литературный обзор по теме «Полимерные материалы для деталей сельскохозяйственного оборудования» 2

2.      Обзор патентных исследований по теме: «Составы и технология полимерных деталей, применяемых в автотракторной и сельскохозяйственной технике»        15

3.      Экспериментально-технологическая часть: «Разработка технологической оснастки и технологии изготовления полимерных деталей для комплектования сельскохозяйственного оборудования» 21

Литература                  29

.        Литературный обзор по теме «Полимерные материалы для деталей сельскохозяйственного оборудования»

Естественные полимеры, в основном, растительного происхождения (древесина, каучук, льняные, джутовые волокна, смолы и т.д.) используются человеком с древних времен. Однако только в 20 веке, благодаря развитию, прежде всего химии, физики, технологии переработки материалов созданы новые искусственные (синтетические) полимерные материалы, решены принципиальные вопросы глубинного преобразования структуры естественных полимеров и в результате создано огромное количество уникальных материалов. Создана новая обширная область материаловедения - наука о структуре, свойствах и технологии полимеров и пластмасс.

Термин «полимерные материалы» является обобщающим. Он объединяет три обширных группы синтетических материалов, а именно: полимеры, пластмассы и их морфологическую разновидность - полимерные композиционные материалы (ПКМ) или, как их еще называют, армированные пластики. Общее для перечисленных групп то, что их обязательной частью является полимерная составляющая, которая и определяет основные термодеформационные и технологические свойства материала. Полимерная составляющая представляет собой органическое высокомолекулярное вещество, полученное в результате химической реакции между молекулами исходных низкомолекулярных веществ - мономеров.

Полимерами принято называть высокомолекулярные вещества (гомополимеры) с введенными в них добавками, а именно стабилизаторами, ингибиторами, пластификаторами, смазками, антирадами и т. д. Физически полимеры являются гомофазными материалами. Они сохраняют все присущие гомополимерам физико-химические особенности.

Пластмассами называются композиционные материалы на основе полимеров, содержащие дисперсные или коротковолокнистые наполнители, пигменты и иные сыпучие компоненты. Наполнители не образуют непрерывной фазы. Они (дисперсная среда) располагаются в полимерной матрице (дисперсионная среда). Физически пластмассы представляют собой гетерофазные изотропные материалы с одинаковыми во всех направлениях физическими макросвойствами.

Полимерные армированные материалы являются разновидностью пластмасс. Они отличаются тем, что в них используются не дисперсные, а армирующие, то есть усиливающие наполнители (волокна, ткани, ленты, войлок, монокристаллы), образующие в ПКМ самостоятельную непрерывную фазу. Отдельные разновидности таких ПКМ называют слоистыми пластиками. Такая морфология позволяет получить пластики с весьма высокими деформационно-прочностными, усталостными, электрофизическими, акустическими и иными целевыми характеристиками, соответствующими самым высоким современным требованиям.

В качестве связующих при получении полимерных материалов используют синтетические или природные высокомолекулярные соединения, в том числе синтетические смолы, высокомолекулярные соединения или продукты их переработки, например, эфиры целлюлозы, битумы и др.

Смолы, используемые для изготовления пластмасс, могут быть термореактивными или термопластичными, что и определяет их основные технологические и эксплуатационные свойства.

Многие пластмассы (преимущественно, термопластичные) состоят из одного связующего вещества. К таким материалам относится полиэтилен, полистирол, полиамиды, органические стекла, капрон и др. Особенностью термопластичных материалов является их способность размягчаться при нагревании и вновь затвердевать при охлаждении. Причем эти процессы протекают обратимо и происходят одинаково при каждом цикле нагрева и охлаждения. Строение материала при этом не изменяется, в нем не происходит никаких химических реакций.

Термопластичные материалы характеризуются малой плотностью, хорошей формуемостью, устойчивостью к горючесмазочным материалам. Полиэтилен имеет теплостойкость до 50 ℃, морозостойкость до -70 ℃, химически стоек, однако подвержен старению. Применяется для изготовления пленок, труб, контейнеров, предметов домашнего обихода. Полипропилен имеет более высокие прочностные свойства, но имеет более низкую морозостойкость (до минус 20 ℃). Области применения близкие к полиэтилену. Полистирол - твердый прозрачный компактный материал. Используется для изготовления деталей приборов и машин (ручки, корпуса, трубы и др.). Полиуретаны и полиамиды: капрон, нейлон используются для изготовления высокопрочных нитей и пленок. Органические стекла - прозрачные твердые вещества, используются в самолетостроении, автомобилестроении, приборостроении.

К термопластам также относятся фторопласты - уникальные материалы с очень низким коэффициентом трения. Их используют для вентилей, кранов, насосов, втулок, прокладок и др.).

Термореактивные материалы при нагревании размягчаются лишь в начальный период времени, а затем твердеют при температуре нагревания за счет протекания необратимых химических реакций в их структуре, в результате чего такой материал остается твердым и не размягчается при повторных нагревах до достаточно высоких температур. Представителями термореактивных материалов являются фенолформальдегидная, глифталевая, эпоксидная смолы, непредельные полиэфиры и др. Природа протекания химических реакций, приводящих к необратимому затвердеванию, может иметь различный характер. Оно может стимулироваться добавлением в смолы специальных веществ - отвердителей, либо происходить только за счет термической активации - при нагреве. Однако в обоих случаях особенностью термореактивных пластмасс является необратимый характер изменения основных свойств материала.

Основой реактопластов являются термореактивные полимеры. В качестве наполнителей используют различные неорганические материалы. В зависимости от типа наполнителя такие материалы подразделяются на порошковые, волокнистые и слоистые. Порошковые материалы используют в качестве наполнителей древесную или целлюлозную муку, молотый кварц, тальк, цемент, графит и др. Такие пластмассы имеют однородные свойства по всем направлениям, хорошо прессуются. Недостаток - низкая устойчивость к ударным нагрузкам. Применяются для изготовления корпусных деталей приборов, технологической оснастки в литейном производстве (моделей) или слабонагруженных деталей штампов. Волокнистые пластмассы (волокниты) имеют высокие прочностные свойства, особенно, стекловолокниты, поскольку, по существу, они являются композиционными материалами и используют преимущества в свойствах как основы, так и волокон, применяемых для создания этих материалов. Слоистые пластики, как и волокниты, являются композиционными материалами. Они характеризуются наиболее высокими прочностными и, одновременно, пластическими свойствами. Существуют текстолиты (наполнитель - хлопчатобумажная ткань), гетинакс (наполнитель - бумага), древеснослоистые пластики (древесный шпон), стеклотекстолиты (ткань из стекловолокна). Текстолит имеет повышенное сопротивление износу. Может применяться для изготовления зубчатых колес, кулачков, подшипников и других тяжело нагруженных деталей.

В этих материалах есть многое из того, чтобы сделать жизнь человека, окружающий его мир более красивыми, комфортными, благополучными. Полимерные материалами легки (в 5-7 раз легче металлов и сплавов). Расчетами установлено, что замена ряда металлических деталей легкового автомобиля на углепластики из эпоксидной смолы, армированной углеродными волокнами, позволит уменьшить массу машины на 40%; она станет более прочной; уменьшится расход топлива, резко возрастет стойкость против коррозии. Они легко окрашиваются в самые разные цвета, могут быть блестящими и матовыми, прозрачными и полупрозрачными, флуоресцирующими. Эти материалы не разрушаются в условиях действия агрессивных сред, в которых металлоизделия подвержены интенсивной коррозии. Органические полимеры тканьэквивалентны, т.е. по своему химическому строению они близки коже, волосам, тканям мышц человека, что позволяет использовать их в восстановительной хирургии и позволяет создать интерьеры, в которых человек чувствует себя максимально комфортно.

Полимерные материалы легко перерабатываются и поэтому из них без особых затрат можно создавать изделия самой причудливой формы. Благодаря развитию полимерного материаловедения получили развитие новые технологии: склеивание, герметизация изделий и др. Наконец, только полимеры обладают высокоэластичностью - способностью к большим обратимым деформациям, наиболее ярко проявляемой в каучуках и резинах.

Полимерные материалы весьма ярко внедряются в жизнь, позволяя решать не только технические вопросы, но и эстетические проблемы. Сегодня можно говорить о существовании неких принципов, апробированных положениях, которые надо учитывать при художественном конструировании и создании изделий из пластмасс.

При использовании полимеров удается прямо, просто и эффективно решить и эстетические проблемы и функциональные. Примером может быть эволюция флаконов в парфюмерии или емкостей в медицине, где они одновременно становятся или пульверизаторами или капельницами и т.д.

К основным достоинствам полимерных материалов можно также добавить:

а)      высокая технологичность, благодаря которой из производственного цикла можно исключить трудоемкие и дорогостоящие операции механической обработки изделий;

б)      минимальная энергоемкость, обусловленная тем, что температуры переработки этих материалов составляют, как правило, 150-250 °С, что существенно ниже, чем у металлов и керамики;

в)      возможность получения за один цикл формования сразу нескольких изделий, в том числе сложной конфигурации, а при производстве погонажных продуктов вести процесс на высоких скоростях;

г)       практически все процессы переработки полимерных материалов автоматизированы, что позволяет существенно сократить затраты на заработную плату и повысить качество изделий.

Однако, полимерные материалы имеют и некоторые недостатки, которые необходимо учитывать при производстве полимерных изделий.

Полимеры - диэлектрики, они накапливают статическое электричество. В случае, если пластмассовое изделие имеет большие габариты, оно может активно притягивать пыль, грязь, разряжаться на человека при касании. Приходится решать проблемы снятия статического электричества.

При изготовлении пластмассовых изделий не допустим глубокий рельеф фактурной обработки, так как в этих местах накапливается грязь и отмыть ее бывает невозможно.

Полимерное изделие не должно иметь острых углов, граней, узких щелей, выбор материала должен быть сделан с обязательным учетом условий технологии переработки и эксплуатации. Таким образом, полимеры и пластмассы - материалы со специфическими свойствами и возможностями прежде всего потому, что обладают необычными химическим составом и структурой.

Оборудование для переработки пластических масс служит для преобразования исходного полимерного материала в изделия с заранее заданными эксплуатационными характеристиками. Конструирование и изготовление машин и агрегатов для переработки пластмасс осуществляется на предприятиях различных отраслей машиностроения.

Большинство методов переработки пластических масс предусматривает использование процессов формования изделий из полимеров, находящихся в вязкотекучем состоянии, - литье под давлением, прессование, экструзия и др. Некоторые процессы основаны на достижении материалом в момент формования высокоэластического состояния - пневмовакуумное формование. В промышленности используются методы формования из растворов и дисперсий полимеров.

Переработка полимерных материалов включает в себя три основные группы процессов: подготовительные, формующие и завершающие.

Процессы подготовительного цикла необходимы для улучшения технологических свойств перерабатываемого сырья, а также для получения полуфабрикатов и заготовок, используемых в основных методах переработки. К таким процессам относятся измельчение, гранулирование, сушка, таблетирование, предварительный подогрев.

Формующие процессы - это процессы переработки, с помощью которых осуществляется изготовление пластмассовых изделий. Можно выделить две группы этих процессов: непрерывные (экструзия, каландрование) и периодические (литье под давлением, пневмоформование вакуумное, раздувное формование, напыление, прессование и ряд других). Изготовление изделий из стеклопластиков осуществляется методами, разнообразными по аппаратурно-технологическому оформлению. Технологический процесс изготовления изделий из стеклопластиков состоит из следующих операций: подготовка связующего и наполнителя, совмещение связующего и наполнителя, формование изделия.

Завершающие процессы предназначены для придания готовым изделиям определенного внешнего вида, создания неразъемного соединения отдельных элементов пластмассового изделия. К ним относятся процессы механической обработки изготовляемых изделий, окрашивание и металлизация их поверхности, сварка и склеивание отдельных частей.

В последнее время полимерные материалы активно применяются как для изготовления, так и для восстановления деталей для сельскохозяйственного оборудования. Пластмассы в ремонтной практике наносят на поверхности деталей для восстановления их размеров, повышения износостойкости и улучшения герметизации. Одновременно покрытие из пластмассы снижает шум от трения и повышает коррозионную стойкость изделия. Тонкий слой пластмассы практически не ухудшает прочностных показателей металла и придает детали податливость, т.е. способность принимать форму сопряженной детали, что приводит к резкому увеличению площади контакта. Пластмассы наносят литьем под давлением, горячим прессованием, вихревым, газопламенным и центробежным способами.

Ремонт сельхозтехники полимерными материалами по сравнению с другими способами, дает возможность восстановить детали с высоким качеством и снизить:

трудоемкость - на 20-30%;

затраты материалов - на 40-50%;

себестоимость работ - на 15-20%.

При восстановлении деталей наибольшее распространение получили акриловые и полиамидные пластмассы, текстолит, древеснослоистые пластики. Текстолит и древеснослоистые пластики применяются для восстановления изношенных поверхностей направляющих станков, изготовления зубчатых колес, подшипников скольжения, втулок и других деталей с трущимися рабочими поверхностями.

При ремонте широко применяют акриловые пластмассы, содержащие в качестве связующих материалов акриловые смолы - продукты полимеризации метилметакрилата и сополимеризации метилметакрилата со стиролом. К ним относятся: актилат АТС-1, бутакрил, эпоксидно-акриловые пластмассы СХЭ-2 и СХЭ-3.

Эти термопластические быстротвердеющие пластмассы холодного отверждения получают смешиванием порошка и жидкости. Изготовленная масса, имеющая консистенцию сметаны, затвердевает без подогрева и давления.

Такие пластмассы используют при восстановлении изношенных изделий в качестве компенсатора износа для восстановления нарушенных размерных цепей станков и машин. С помощью пластмасс восстанавливают: круговые направляющие станин карусельных станков, регулировочные клинья и прижимаемые планки механизмов всех видов оборудования, в том числе механических прессов. Их также используют для ремонта подшипников шпинделей револьверных головок токарно-револьверных станков; отверстий, втулок, посадочных мест зубчатых колес и шкивов; деталей гидронасосов; кулисных механизмов и других деталей металлорежущего оборудования. Раствор пластмассы применяют и при склеивании материалов.

Затвердевшая пластмасса износостойка, хорошо работает в паре с чугуном, сталью, бронзой, коэффициент трения при отсутствии смазочного материала 0,20-0,18, а при введении в композицию требуемого количества антифрикционных добавок уменьшается до 0,143. Пластмассы с такими добавками могут работать без смазки.

Затвердевшая пластмасса стойка к щелочам любой концентрации, бензину, скипидару, пресной и морской воде, минеральным и растительным маслам. Слой пластмассы можно удалить нагреванием до 150-200°С и дальнейшим выжиганием или обработкой резанием.

Вязкость пластмасс изменяют в зависимости от их назначения. Для этого в раствор пластмассы вводят порошкообразные, волокнистые и слоистые наполнители из металлических и неметаллических материалов.

Для повышения эксплуатационных свойств (уменьшения коэффициента трения и увеличения износостойкости) в пластмассу вводят (до 10%, массовая доля) порошок графита.

В ремонтной практике распространение получил капрон марок А и В. Это твердый материал белого цвета с желтым оттенком, имеющий высокую прочность, износостойкость, масло- и бензостойкость, а также хорошие антифрикционные свойства. Основными недостатками капрона являются низкая теплопроводность, теплостойкость и усталостная прочность. Максимально допустимая рабочая температура капроновых покрытий не должна превышать плюс 70-80°С и минус 20-30°С.

Покрытием из капрона ремонтируют поверхности втулок, валов, вкладышей и других деталей.

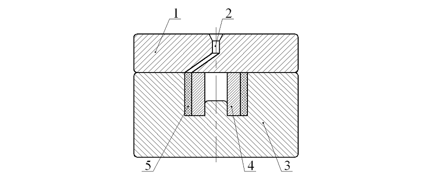
Рисунок 1. Схема нанесения капрона на изношенную поверхность детали литьем под давлением: 1 - верхняя часть пресс-формы; 2 - литниковый канал; 3 - нижняя часть пресс-формы; 4 - ремонтируемая деталь; 5 - слой капрона

Ремонт изношенных поверхностей деталей с применением капрона в большинстве случаев производят литьем под давлением на специальных литьевых машинах. Сущность процесса состоит в том, что на специально подготовленную изношенную поверхность детали наносят под давлением слой капрона. Изношенную деталь устанавливают в пресс-форму (рис. 1) и в образовавшийся зазор между деталью и стенкой пресс-формы нагнетают под давлением расплавленный капрон. Затем пресс-форму раскрывают, снимают деталь, удаляют с неё литники и облой. При необходимости капроновое покрытие механически обрабатывают до получения требуемых размеров. Для улучшения качества готовую деталь термически обрабатывают в ванне с маслом при температуре 185-190°С и выдерживают при этой температуре в течение 10-15 мин.

При нанесении капрона его нагревают до 240-250°С и подают под давлением 4-5 МПа (40-50 кгс/см). Пресс-форму совместно с деталью предварительно подогревают до температуры 80-100°С. Толщина покрытия рекомендуется от 0,5 до 5 мм. Литьё под давлением проводится на термопласт-автоматах, литьевых машинах и др. Этот способ технологически прост, не требует достаточно сложного оборудования и оснастки.

Капрон (в виде порошка размером 0,2-0,3 мм) можно наносить на поверхность детали напылением. Сущность этого способа состоит в том, что на подготовленную и подогретую поверхность детали наносится порошкообразный капрон. Ударяясь о разогретую деталь, частицы порошкообразного капрона плавятся, образуя пластмассовое покрытие.

Во время ремонта неподвижных соединений подшипников качения часто применяют эластомер ГЭН-150В и герметик 6Ф. Первый состоит из нитрильного каучука СКП-40С и смолы ВГУ. Второй - это продукт сочетания бутадиеновый каучук СКП-40 с смолой ФКУ на основе замещено фенолавинилацетатной смолы. Поверхности деталей перед нанесением покрытия зачищают механическим способом и обезжиривают.

Покрытие наносят по-разному: обливанием, кистью, центробежным способом - в зависимости от конструкции деталей и средств нанесения. Термообработку покрытия из раствора ГЭН-150В осуществляют при температуре 115 ℃ в течение 40 мин, из раствора герметика 6Ф - при температуре 150 ... 160 ℃ в течение трех часов. Долговечность неподвижных соединений зависит от скорости срабатывания. Основная причина срабатывания посадочных мест без полимерного покрытия - фреттинг-коррозия. Характер износа существенно изменяется по посадке подшипников с покрытием раствором герметика 6Ф. Полимерное покрытие полностью предотвращает металлический контакт и развитие фреттинг-коррозии, а это существенно снижает интенсивность потери дееспособности посадочных мест, особенно в корпусных деталях.

Важное значение для восстановления дееспособности чугунных корпусных деталей с трещинами имеют клеевые композиции на основе эпоксидной смолы. Главный связующий компонент этих составов - эпоксидная смола марки ЭД-6 или ЭД-5. Чаще применяют смолу ЭД-6. Это прозрачная вязкая масса светло-коричневого цвета. Для приготовления состава на основе смолы ЭД-6 на 100 частей (по массе) смолы вводят 10-15 частей дибутилфталата (пластификатор), до 160 частей наполнителя и 7-8 частей полиэтиленполиамина (отвердитель). В качестве наполнителя используют: железный порошок (160 частей), алюминиевый порошок (25 частей), цемент марки 500 (120 частей). Эпоксидную смолу разогревают в таре до температуры 60-80°С, добавляют пластификатор, затем наполнитель. Отвердитель вводят непосредственно перед употреблением, так как после этого состав необходимо использовать в течение 20-30 мин. Составы на основе эпоксидных смол применяются для ремонта деталей, работающих при температурах от -70 до +120°С. Их применяют для заделки трещин и пробоин в корпусных деталях, для восстановления неподвижных посадок и резьбовых соединений.

При заделке трещин определяют их границы и подготавливают поверхности. Границы трещины обычно засверливают сверлом диаметром 2-3 мм и снимают фаски под углом 60-70° на глубину 2-3 мм вдоль трещины на всей её длине (рис. 2, а). Поверхность зачищают на расстоянии 40-50 мм по обе стороны трещины до металлического блеска и делают насечки. Затем обезжиривают ацетоном.

Заплату вырезают из стеклоткани такого размера, чтобы она перекрывала трещину на 20-25 мм. Состав на основе эпоксидных смол готовят непосредственно перед его применением и наносят кистью или шпателем на поверхности толщиной около 0,1-0,2 мм (рис. 2, б). После этого накладывают заплату и прокатывают роликом (рис. 2, в).

Рисунок 2. Схема заделки трещин: а - разделка поверхности; б - заполнение составом эпоксидной смолы; в - прокатывание накладки роликом; 1 - слой состава; 2 - накладка; 3 - ролик

На поверхность этой накладки снова наносят слой клея, а затем кладут еще одну, которая перекрывает предыдущую на 10-15 мм, прокатывая роликом и наносят еще один слой клеевого покрытия. Для отверждения клеевые покрытия выдерживают 72 ч при температуре 20 °С, или 3 часа при температуре 100 °С. В процессе эксплуатации на корпусные детали действуют значительные знакопеременные механические и температурные нагрузки, которые приводят к отслоению покрытия и потери деталями требуемой герметичности. Чтобы избежать нежелательного расслоение, применяют металлические накладки и прикрепляют их болтами.

Клеевые материалы не только обеспечивают возможность прочного соединения деталей из различных материалов, но также уплотняют зазоры и трещины; герметизируют фонари, окна, шланги и патрубки; изолируют электрические контакты; устраняют вибрацию и шум; применяются для изготовления уплотнений и прокладок любой формы.

Хорошие показатели качества показывает клеесварка крупногабаритных тонкостенных конструкций. Область эта - абсолютно новая для России и всех стран СНГ. Дело в том, что тонкостенные конструкции, панели кузовов сельхозмашин после выполнения контактной точечной сварки до сих пор герметизируют с помощью различных мастик, грунтовок и пластизолей. Это достаточно трудоемкая операция, причем в случае зазоров более 0,5 мм достичь высококачественной герметизации, как правило, не удается. Клеесварная же технология не только обеспечивает хорошую герметизацию сварного шва, но и увеличивает в 1,5 раза прочность соединения.

Соединение выполняется таким образом: на соединяемые поверхности наносится слой клея, затем они накладываются одна на другую и провариваются точечной сваркой. Клеевая прослойка воспринимает большую часть нагрузки, и благодаря этому сварная точка разгружается, улучшается ее работоспособность, что существенно повышает усталостную прочность и жесткость соединения. Вследствие этого число сварных точек можно уменьшить на 30-50 шт. и соответственно снизить трудо- и энергозатраты на сварочные работы.

Клеевые материалы, используемые при данной технологии, представляют собой пастообразные одно- или двухкомпонентные составы. Причем однокомпонентные отверждаются при 410-430К (140-160℃), что в ряде случаев делает возможным совместить сушку клея с сушкой нанесенного на готовое изделие лакокрасочного покрытия. Важно и то, что клеесварка не требует предварительной очистки соединяемых поверхностей. Наконец, клеесварная технология сборки решает и вопросы коррозионной защиты сварного шва.

2. Обзор патентных исследований по теме: «Составы и технология полимерных деталей, применяемых в автотракторной и сельскохозяйственной технике»

В патенте на изобретение № 94903 (дата начала действия патента 22.04.2009) описана полезная модель литьевой        пресс-формы, которая относится к литейному производству по получению изделий, в основном, из термопластичного полимера литьем под давлением, преимущественно толстостенных изделий. Техническое решение изобретения может также распространяться и на получение изделий из других материалов.

Задача полезной модели в повышении эффективности применения пресс-формы для литья под давлением. Поставленная задача решается тем, что пресс-форма для литья под давлением, содержащая разъемные части 1 и 2, в одной из которых выполнена формообразующая полость 4 и расположен выталкиватель 5, а в другой выполнено сопло 9. Имеет отличительные признаки: формообразующая полость 4 выполнена с изменяемым объемом при помощи подвижного знака в виде поршня 6, одновременно являющимся выталкивателем. Через поршень 6 может быть пропущен, как минимум, один формообразующий знак 7.

Также возможно выполнение формы поверхности поршня 6 и сопрягаемой с ней поверхности формообразующей полости 4 отличными от цилиндрической.

В патенте на изобретение № 2312766 (дата начала действия патента 30.01.2006) описан способ изготовления вкладыша пресс-формы, в частности к изготовлению вкладышей пресс-форм для получения изделий типа угольник, и может быть использовано в производстве их, как методом прессования, так и методом литья под давлением. Техническим результатом заявленного изобретения является создание способа изготовления вкладыша пресс-форм, позволяющего повысить производительность, качество и точность изготовления, а также позволяющего варьировать форму и размеры рабочей части вкладыша. Технический результат достигается способом изготовления вкладыша пресс-формы, при котором тело вкладыша выполняют продольно-разрезным. Бочкообразную рабочую поверхность его частей - полувкладышей выполняют токарной обработкой из одной заготовки на специально предназначенной для этого оправке. Параметры бочкообразной поверхности выбирают исходя из следующих условий: высота бочки равна диаметру вкладыша, радиус образующей бочки равен половине диаметра вкладыша, радиус экватора бочки больше или равен радиусу образующей бочки, но меньше или равен диаметру вкладыша.

В патенте на изобретение № 2446187 (дата начала действия патента 17.06.2010) описан способ получения полимерного нанокомпозита, включает смешение термопласта с наполнителем - наноалмазом детонационного синтеза (ДНА) в расплаве термопласта в режиме упругой неустойчивости. Для этого выбирают температуру и напряжение сдвига, обеспечивающие значение числа Вайссенберга не менее 10. Соотношение компонентов следующее, мас.%: термопласт - 95-99,5, ДНА - 0,5-5. Изобретение позволяет получить полимерный нанокомпозит с повышенным модулем упругости, твердостью, ударной вязкостью, прочностью на разрыв. Такие материалы могут быть использованы для изготовления корпусов, полимерных пар трения (шестерни, подшипники и т.п.), а также в аэрокосмической отрасли, как обладающие повышенными механическими свойствами и стойкостью к агрессивным средам.

В патенте на изобретение № 2469860 (дата начала действия патента 17.07.2009) описано устройство для изготовления трехмерных объектов посредством затвердевания порошкового или жидкого материала. Сменная рама устройства для изготовления трехмерного объекта (3) содержит раму (1) и платформу (2), расположенную в раме (1) с возможностью вертикального перемещения, при этом рама (1) и платформа (2) образуют рабочее пространство упомянутого устройства. Сменная рама выполнена с возможностью введения в упомянутое устройство и извлечения из него, причем упомянутое устройство предназначено для изготовления трехмерного объекта (3) посредством затвердевания порошкового или жидкого материала (3а), предназначенного для изготовления упомянутого объекта (3) слой за слоем в местах в каждом слое, соответствующих поперечному сечению подлежащего изготовлению объекта (3). На обращенной к рабочему пространству внутренней стороне рама (1) содержит стеклокерамические пластины (13). Технический результат заключается в обеспечении нагрева рабочего пространства до высоких температур за счет небольшого коэффициента теплового расширения стеклокерамических пластин.

В патенте на изобретение № 2470963 (дата начала действия патента 12.06.2009) описаны реакторные термопластичные полиолефины, обладающие высокой текучестью и превосходным качеством поверхности, в состав которых входит (А) матрица из гомо- или сополимера пропилена, массовая доля которого составляет от 40 до 90% с индексом MFR по стандарту ISO 1133 (230°С, при номинальной нагрузке 2,16 кг)≥ 200 г/10 мин, и (В) эластомерный сополимер этилена и пропилена, массовая доля которого составляет от 2 до 30%, с характеристической вязкостью IV (по ISO 1628 в декалине в качестве растворителя)≤ 2,8 дл/г с массовой долей этилена более 50 и до 80% и (С) эластомерный сополимер этилена и пропилена, массовая доля которого составляет от 8 до 30%, с характеристической вязкостью IV (по ISO 1628 в декалине в качестве растворителя) от 3,0 до 6,5 дл/г и с массовым содержанием пропилена от 50 до 80%. Реакторные термопластичные полиолефины получают в технологическом процессе многоступенчатой полимеризации, включающем, по крайней мере, 3 последовательных этапа, в присутствии системы катализатора, включающей (i) прокатализатор Циглера-Натта, в состав которого входит продукт трансэстерификации низшего спирта и фталевый эфир сложных кислот, (ii) металлоорганический совместно действующий катализатор, и (iii) внешний донор, представленный формулой (I), Si(OCH2CH3)3(NR lR2), где значения R1 и R2 указаны в формуле изобретения. Также раскрыт многоступенчатый технологический процесс для производства указанных полиолефинов, включающий либо сочетание одного петлевого и двух или трех газофазных реакторов, либо сочетание двух петлевых и двух газофазных реакторов, соединенных последовательно. Полиолефины по изобретению используют для получения изделий литьем под давлением для автомобильной промышленности. Изобретение также относится к формованным изделиям, полученным из реакторных термопластичных полиолефинов. Полиолефины могут использоваться для литья под давлением больших профилей, у которых не появляется «рябь» и который одновременно демонстрирует хороший баланс «ударная вязкость/жесткость» и хорошую текучесть.

В патенте на изобретение № 2471811 (дата начала действия патента 02.10.2008) описан способ получения полимеров пропилена. Полученный полимер пропилена имеет скорость течения расплава (230°С, 2,16 кг) выше 30 г/10 мин. Способ осуществляется в присутствии каталитической системы, включающей (А) твердый каталитический компонент, содержащий Mg, Ti, галоген и электронодонорное соединение, выбранное из сукцинатов; (В) алкилалюминиевый сокатализатор; и (С) соединение кремния формулы R1Si(OR)3 , в которой R1 представляет собой разветвленный алкил и R представляет собой независимо C1-C10 алкил. Описан также способ получения композиции полимера пропилена и гетерофазные композиции. Технический результат - получение полимеров пропилена, обладающих одновременно широким молекулярно-массовым распределением и высокой скоростью течения расплава.

В патенте на изобретение № 2471817 (дата начала действия патента 10.01.2012) описан способ получения полиамида-6 эмульсионной полимеризацией капролактама. Способ включает приготовление реакционной массы из капролактама, воды в качестве инициатора и полиэтилсилоксановой жидкости, ее нагрев, предварительную выдержку, основную выдержку при 210-215°С, охлаждение и отделение образовавшихся гранул, причем реакционную массу готовят сначала из капролактама и воды, нагревают ее до 210-215°С, предварительную выдержку осуществляют при 210-215°С в течение 6-7 часов, а полиэтилсилоксановую жидкость, предварительно нагретую до 210-215°С, вводят в реакционную массу перед основной выдержкой, которую осуществляют в течение 5-15 часов. Технический результат заключается в повышении качества целевого продукта и снижении энергозатрат.

В патенте на изобретение № 2471832 (дата начала действия патента 05.11.2007) описан способ изготовления полиамидной огнестойкой композиции, в частности, пригодной для производства формованных изделий. Композиция на основе полиамида содержит цианурат меламина и новолак. Композиция пригодна для производства формованных изделий, обладающих высокой стабильностью размера и применяемых в технике электрических или электронных соединений, таких как прерыватели, выключатели, соединительные устройства.

Заявителем было обнаружено, что полиамидная композиция с низким содержанием новолака и относительно низким содержанием цианурата меламина, производного меламина, обеспечивает получение оптимальных результатов в области огнестойкости и обратного поглощения воды. В противоположность тому, что было известно до настоящего времени, новолак не изменяет свойства огнестойкости полиамидной композиции, содержащей производное меламина.

Кроме того в полиамидной композиции новолак и цианурат меламина действуют в синергизме, хотя эти два соединения, используемые в качестве агента огнестойкости, обычно действуют по-разному. На самом деле, новолак известен как агент, участвующий в формировании слоя углерода, изолирующего полиамидную матрицу от пламени. Цианурат меламина, напротив, известен своим воздействием на контролируемый разрыв связей полиамида, вызывающий образование капель расплавленного полиамида, препятствуя, таким образом, распространению горения.

3. Экспериментально-технологическая часть: «Разработка технологической оснастки и технологии изготовления полимерных деталей для комплектования сельскохозяйственного оборудования».

Разработка технологической оснастки начинается с изучения исходных данных на конкретное полимерное изделие. Исходные данные включают следующее:

чертеж изделия с указанием места расположения впускного литникового канала, следов разъема формообразующих деталей, выталкивателей и др.;

тип производства (массовое, серийное и пр.);

годовая программа выпуска изделия в шт.;

срок службы изделия;

механические нагрузки;

оборудование, которое можно использовать для изготовления изделия (прессы, термо- или реактопластавтоматы, высокочастотные генераторы, термостаты и т. д,);

данные технической характеристики оборудования, не содержащиеся в каталогах (применение нестандартного сопла, переходные плиты, постаменты и т. д.);

вспомогательное оборудование и приспособления (съемники кассет, изделий, загрузочные приспособления, приспособления для свинчивания изделий или знаков и др.) и их паспортные данные.

Рисунок 3. Ролик натяжной К 02.001

Деталь ролик натяжной К 02.001 (рис. 3) является элементом натяжника КМ 15.010 цепных передач в картофелекопателях КТН-2ВМ, КСТ-1,4, КСТ-1,4М и в копателях лука КЛ-1,4 и ПЛ-1 выпускаемых на ЗАО «Агропромсельмаш». Тип производства - мелкосерийное, годовая программа выпуска изделия - 4600 - 5000 шт. в год. Срок службы изделия - 5 лет. Режим работы полимерного участка предприятия односменный. Механическая нагрузка - сухое трение, так как смазывающие материалы желательно не использовать, в связи с тем, что работа уборочных машин происходит в условиях песочной пыли, которая оседая на смазке будет ускорять износ. Деталь имеет сравнительно небольшие размеры: наибольший диаметр 65 мм, высота 48 мм, вес - 0,112 кг.

Рисунок 4. Звёздочка натяжная КМ 15.040

В настоящее время вместо ролика натяжного К 02.001 используется звёздочка натяжная КМ 15.040 (рис. 4), которая представляет собой сборочную единицу состоящую из двух частей:

венец звёздочки К 07.604, материал заготовки - круг ∅ 120 мм сталь 45, вес 0,5 кг;

ступица КМ 15.010.611, материал заготовки - круг ∅ 56 мм ст 3, вес 0,28 кг.

Изготовление звёздочки натяжной КМ 15.040 достаточно трудоёмкий технологический процесс. И ступица и венец проходят сначала заготовительную операцию, которая заключается в резке заготовок на пилах. Далее следует первичная токарная обработка. После этого на венце нарезаются зубья и он подвергается термообработке. Далее венец звездочки сваривается вместе со ступицей в единое целое и наступает очередь чистовой токарной операции, где растачивается посадочное место под подшипник.

Для изготовления ролика натяжного К 02.001 потребуется литьевая пресс-форма с разъёмом в двух плоскостях, но учитывая мелкосерийность производства, изготовление такой формы будет нецелесообразным. Поэтому проанализировав техническую документацию ЗАО «Агропромсельмаш» я пришёл к выводу, что целесообразней будет изготавливать ролик гладким, так после токарной обработки мы сможем получить как ролик натяжной К 02.001, так и ролик КБ 08.050.001. Ролик КБ 08.050.001 был покупным, так как в 2012 г. у нас на производстве был разработан и внедрён в производство картофелеуборочный комбайн «Лидчанин-1», где на стол переборки он идёт в количестве 156 штук. Но учитывая небольшой выпуск комбайнов, порядка 20 шт. в год, было принято решение разработать литьевую пресс-форму для изготовления ролика гладкого К 00.001 и технологию изготовления ролика натяжного К 02.001 и ролика КБ 08.050.001.

В выборе материала главным приоритетом являются антифрикционные свойства, ударная стойкость, поэтому свой выбор останавливаю на Гроднамид антифрикционный ПА6-ЛТА-СВ30.

Для моделирования деталей, готовых изделий, технологической оснастки на их изготовление существует большое количество компьютерных программ: AutoCAD, Solid Works, Компас 3-d и другие. Поскольку данная деталь имеет небольшие размеры, не требует особой точности изготовления, то выбираем недорогой продукт. Это компьютерная программа трёхмерного моделирования российской компании «Аскон»: КОМПАС-3D V12. В качестве основного методологического источника используется «Справочник по проектированию оснастки для переработки пластмасс» под редакцией Пантелеева А. П., Шевцова Ю. М. и Горячёва И. А.

Согласно чертежа изделия вычерчиваем 3-d модель и узнаём массово-центровые характеристики детали:

Масса M = 137,46 г;

Площадь S = 195,8 см2;

Объем V = 134,774 см3.

Согласно справочника Пантелеева для изготовления данного изделия подходит термопластавтомат Д 3134 - 500П с объёмом впрыска 500 см3, KuASY (табл. 6, стр. 22 [4]), который и выбираем, так как он есть на предприятии.

Производим расчёт количества отливок и требуемые усилия смыкания исходя из технических параметров термопластавтомата пользуясь данными справочной литературы (табл. 6, стр. 22 [4]).

Количество отливок (формула 7, стр. 66 [4]):

no = β1Qн /Qиk1 = 0,7 ∙ 500/134,774 ∙ 1,02 = 2,546,

где β1 = 0,7 - коэффициент использования машины; Qн = 500 см3 - номинальный объём автомата; Qи = 134,774 см3 - объём одного изделия; k1 = 1,02 - коэффициент учитывающий объём литниковой системы из расчёта на одно изделие.

Требуемое усилие смыкания (формула 5, стр. 65 [4]):

Ро = 0,1 ∙ q ∙ Fпр ∙ no ∙ k2 ∙ k3 = 0,1 ∙ 32 ∙ 97,9 ∙ 2 ∙ 1,1 ∙ 1,25 = 861,52 кН ≤2500 кН,

где q = 32 МПа - давление пластмассы в оформляющем гнезде; Fпр = 97,9 см2 - площадь проекции изделия на плоскость разъёма формы; no = 2 - количество изделий в форме; k2 = 1,1 - коэффициент, учитывающий площадь литниковой системы в плане; k3 = 1,25 - коэффициент, учитывающий использование максимального усилия смыкания плит на 80 - 90 %.

На основании полученных расчётов видно, что на термопластавтомате Д 3134 - 500П с объёмом впрыска 500 см3 можно произвести отливку одновременно 2 изделий. Это возможно исходя из объёма впрыска и требуемого усилия смыкания.

Приступая к проработке формы, прежде всего необходимо правильно расположить в ней изделие, выбирая при этом оптимальное количество отливаемых изделий. Для этого следует учитывать конкретные условия производства (в том числе инструментального), план выпуска изделий, требуемую степень механизации и автоматизации формы,

Основные требования к положению изделия:

проекция в плане изделия или группы изделий должна располагаться симметрично относительно оси разъема пресса (термопластавтомата);

ориентировать изделие необходимо таким образом, чтобы при литье после разъема формы оно оставалось в ее в подвижной части;

окончательный выбор расположения изделия должен быть увязан с местом подвода впуска литниковой системы, системой охлаждения и товарным видом изделия.

Рисунок 5. Схема расположения деталей в форме.

На основании полученных расчётов прорисовываем схему расположения изделий в форме (рис. 5) После выбора схемы расположения изделия в литьевой форме приступаем к проектированию элементов литьевой формы в программном обеспечении Компас 3-d. Из справочной литературы (табл. 7, стр. 24 [4]) мы выбираем присоединительные размеры установочных элементов термопластавтомата, длину хода подвижной плиты, а также предельные размеры литьевой формы. В качестве материала для полуматриц, плиты знаков выбираем сталь 45, назначаем термообработку - закалка, с последующим отпуском. Для остальных плит (верхняя и нижняя, подкладочная плита, плиты толкателей) выбираем материал Ст 3. Колонки, литниковую и направляющие втулки, выталкиватели из стали У8 с последующей термообработкой.

Сначала вычерчиваем верхнюю и нижнюю полуматрицы располагая в них изделия согласно выбранной схемы. Толщину полуматриц принимаем предварительно 50 мм, исходя из того что минимальный размер формы в сборе должен составить 250 мм. Также предварительно принимаем что верхняя и нижняя плиты будут по 30 мм.

Ориентировочно ход подвижной части формы Lx можно определить по формуле для детали, требующей применения стержневых выталкивателей (стр 325 [3])

Lx = I + с = 48 + 60 = 108 мм < LM = 500 мм,

где I - высота детали; с - величина, учитывающая высоту центрального литника, просвет, необходимый для удаления детали, и т. д.; в формах со стержневой и точечно-стержневой литниковой системой величина с принимается равной 60 мм; LM = 500 мм - ход подвижкой плиты машины (приводится в паспорте машины).

Одним из основных элементов формы является литниковая система, при помощи которой осуществляются соединение цилиндра с формой и ее заполнение.

Диаметр d1 канала рекомендуется выполнять на 0,4-0,6 мм больше диаметра сопла dc (dc = 4 мм), при этом пробка формовочной массы в сопле вытягивается во время извлечения изделия из формы:

= dc +(0,4 - 0,6) = 4 +0,5 = 4,5 мм.

Оптимальная длина L центрального литникового канала зависят от его диаметра d1 и составляет 20 - 40 мм. Центральный литниковый канал обязательно выполняют коническим. Угол конуса определяется усадкой полимера и его адгезионными свойствами. Рекомендуемый угол конуса α = 3°. Следует отметить, что радиус сферы втулки r надо делать на 1 мм больше, чем радиус сферы сопла машины r1 для нормального прилегания втулки к соплу при смыкании. Непосредственно за втулкой для улавливания первой охлажденной порции массы и удержания литниковой системы в подвижной части формы обычно предусматривается специальное гнездо с обратным конусом.

Разводящие каналы располагаются в обеих полуформах. Площадь поперечного сечения разводящего канала определяется по эмпирической формуле (стр. 326 [4]):

Fрк ≤  =  = 16,235 мм2,

где Fnp = 3,14 ∙ 3,122 = 32,47 мм2 - наибольшая площадь поперечного сечения той части канала, которая предшествует рассчитываемой; nрк = 2 - количество разветвляющихся разводящих каналов.

Наиболее благоприятная форма поперечного сечения таких каналов - круглая, потому что в них наименьшая поверхность контакта массы со стенками канала, чем обеспечиваются наименьшие потери давления и тепла.

Поперечное сечение впускного канала в зависимости от принятой литниковой системы может быть трапециевидным, круглым (точечные литники), кольцевым. Площадь этого сечения определяется по формуле (стр. 328 [4]):

вк ≤  =  = 8,49 мм2,

где F0 = 3,14 ∙ 2,33 = 16,98 мм2 - площадь сечения входного отверстия основного канала; nвк = 2 - количество впускных каналов.

, = 0,05 ∙ V = 0,05 ∙134,774 = 6,739 мм2,

где V = 134,774 см3 - обьем детали без полостей, арматуры; 0,05 - коэффициент, имеющий размерность см-1.

Вентиляционные каналы выполняются прямоугольными с шириной меньшей, чем ширина впускного канала и глубиной от 0,03 до 0,06 мм. Каналы выполняются в форме после ее испытания только тогда, когда поперечное сечение зазоров в подвижных соединениях оказывается меньше рассчитанной величины Fв.

Смоделировав отдельные элементы формы посредством компьютерной программы собираем их в единое целое, визуально оценивая несовпадения и зазоры. По мере сборки смоделированной литьевой формы корректируем толщину плит. Длину хода выталкивателей определяем методом подбора, проверяя при этом согласованность движения отдельных элементов. На основе полученных 3-d моделей создается конструкторская и технологическая документация, необходимая для изготовления технологической оснастки.

Литература

полимерный материал деталь автотракторный

Дой М., Эдвардс С. - Динамическая теория полимеров. Пер. с англ. - М.: «Мир», 1998.

Крыжановский В. К., Бурлов В. В., Паниматченко А. Д., Крыжановская Ю. В., - Технические свойства полимерных материалов. - СПб. «Профессия», 2005.

Мирзоев Р. Г., Кугушев И. Д., Брагинский В. А. и др. - Основы конструирования и расчёта деталей из пласмасс и технологической оснастки для их изготовления. - Л. «Машиностроение» 1972.

А.П. Пантелеев, Ю.М. Шевцов, И.А. Горячев - Справочник по проектированию оснастки для переработки пластмасс. - М.: «Машиностроение». 1986г.

Тагер А. А., - Физико-химия полимеров. - М. «Химия», 1968.

“Технические свойство полимерных материалов” Уч.- справ.пос. В.К. Крыжановский, В.В. Бурлов, А.Д. Паниматченко, Ю.В. Крыжановская.-Спб., Издательство “Профессия”, 2003г.

“Конструирование литьевых форм в 130 примерах”. Под редакцией дипл.-инж. Э. Линднер, канд. тех. наук П. Унгер. Санкт-Петербург 2006г.

Похожие работы на - Полимерное оборудование

 

Не нашли материал для своей работы?
Поможем написать уникальную работу
Без плагиата!
Без нейросетей!