Объемные гидроприводы. Расчет гидролиний
ОРЛОВСКИЙ
ГОСУДАРСТВЕННЫЙ АГРАРНЫЙ УНИВЕРСИТЕТ
Факультет
агротехники и энергообеспечения
Кафедра
ЭМТП и тракторы
КОНТРОЛЬНАЯ
РАБОТА
по
дисциплине "Гидравлические машины"
Выполнил: Аниканов С.В.
Проверил ст. преподаватель
Рыжов Ю.Н.
Орел
2007
Содержание
1.
Основные понятия и определения
.
Классификация и принцип работы гидроприводов
.
Расчет гидролиний
.
Радиально-поршневые насосы и гидромоторы
Литература
1. Основные понятия и определения
Гидравлическими машинами называются машины, которые
сообщают протекающей через них жидкости механическую энергию (насос), либо
получают от жидкости часть энергии и передают ее рабочему органу для полезного
использования (гидродвигатель, гидромотори т.д.).
Насосы и гидромоторы применяют также в гидропередачах,
назначением которых является передача механической энергии от двигателя к
исполнительному органу, а также преобразование вида и скорости движения
последнего посредством жидкости.
Гидропередачи по сравнению с механическими
передачами (муфты, коробки скоростей, редукторы и т.д.) имеют следующие
преимущества:
. Плавность работы;
. Возможность бесступенчатого регулирования
скорости.
. Меньшая зависимость момента на выходном валу
от нагрузки, приложенной к исполнительному органу.
. Малые габаритные размеры.
. Высокая надежность.
Эти преимущества привели к большому
распространению гидропередач, несмотря на их несколько меньший, чем у
механических передач КПД. Объемный гидропривод - это устройство, в состав
которого входят насос объемного типа и один или несколько объемных
гидродвигателей, предназначенных для приведения в движение механизмов и машин
посредством рабочей жидкости (рабочая среда) под давлением.
Объемный гидропривод трактора, служащий для
преобразования энергии потока рабочей жидкости и передачи ее на расстояние с
преобразованием в энергию движения выходного звена (гидродвигатель), получил в
нашей стране (в общем машиностроении) название гидросистема. Объемный
гидропривод нераздельного исполнения, состоящий из объемных машин, конструктивно
оформленных в одном общем блоке, называют - объемной гидропередачей. Любой
объемный гидропривод состоит из источника расхода жидкости (насос),
гидродвигателя возвратно-поступательного (силовой цилиндр) или вращательного
(гидромотор) движения, агрегатов управления гидролинией и прочих гидроаппаратов
(золотники, клапаны, краны).
Рабочей средой, переносящей энергию в тракторном
гидроприводе от насоса к гидродвигателю, служат различные масла и их смеси,
именуемые рабочими жидкостями.
Гидрообъемной машиной - называют такую машину,
рабочий процесс которой основан на попеременном заполнении рабочей камеры
рабочей жидкостью и вытеснении ее из рабочей камеры.
Рабочая камера - представляет собой пространство
объемной гидромашины, ограниченное рабочими поверхностями деталей, периодически
изменяющее свой объем и попеременно сообщающееся с местами входа и выхода
рабочей жидкости.
Объемным насосом - называют объемную
гидромашину, преобразующую энергию движения входного звена (вал) в энергию
потока жидкости, а гидродвигателем - гидромашину, преобразующую энергию потока
жидкости в энергию движения выходного звена.
Поворотный гидродвигатель - это объемный
гидродвигатель с ограниченным утлом поворота выходного звена.
Гидромотором - называют объемный гидродвигатель
с неограниченным вращательным движением выходного звена, а гидроцилиндром -
объемный гидродвигатель с прямолинейным возвратно-поступательным движением
выходного звена.
Гидроприводом поступательного движения -
называют объемный гидропривод с поступательным движением выходного звена
объемного гидродвигателя;
Гидропривод вращательного движения - объемный
гидропривод с вращательным движением выходного звена объемного гидродвигателя.
Гидропривод поворотного движения - объемный гидропривод с поворотным движением
выходного звена объемного гидродвигателя.
Под параметрами потока понимают давление,
объемную подачу и направление движения рабочей жидкости.
Гидроаппаратурой - называют устройства, в
которых открытие рабочего проходного сечения не изменяется от воздействия
потока рабочей жидкости, проходящей через гидроаппарат.
Предназначена гидроаппаратура для изменения
параметров потока рабочей жидкости или для удержания их на определенном
постоянном уровне. К гидроаппаратуре относят распределители, краны и другие
устройства, запорными или запорно-регулирующими элементами которых служат
золотники, краны, клапаны.
Гидролинией или гидросетью - называют
устройство, предназначенное для прохождения рабочей жидкости в процессе работы
объемного гидропривода. К гидролиниям относят трубы, рукава, каналы и
соединения.
Различают следующие гидролинии:
) всасывающая - по которой рабочая жидкость
движется к насосу из гидробака, от распределителя или непосредственно от
объемного гидродвигателя;
) напорная - по которой рабочая жидкость под
давлением движется от насоса, гидроаккумулятора или гидромагистрали к объемному
гидродвигателю и другим устройствам;
) сливная - по которой рабочая жидкость движется
в гидробак от распределителя или непосредственно от гиродвигателя;
) управления - по которой рабочая жидкость
движется к устройствам объемного гидропривода для управления, например от
распределителя к гидродвигателю и обратно;
) дренажная - по которой отводятся утечки
рабочей жидкости. Гидроемкость - это устройство, предназначенное для содержания
в нем рабочей жидкости с целью использования ее в процессе работы объемного
гидропривода. Гидроприводом с открытой циркуляцией - называют привод, в котором
рабочая жидкость поступает от объемного гидропривода в бак, а если рабочая
жидкость от объемного гидродвигателя идет во всасывающую линию насоса, называют
гидроприводом с закрытой циркуляцией.
. Классификация и принцип работы гидроприводов
В зависимости от конструкции и типа входящих в
состав гидропередачи элементов объемные гидроприводы можно классифицировать по
нескольким признакам.
. По характеру движения выходного звена
гидродвигателя:
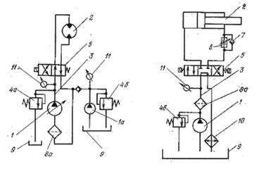
гидропривод вращательного движения (рисунок 2.2,
а), когда в качестве гидродвигателя применяется гидромотор, у которого ведомое
звено (вал или корпус) совершает неограниченное вращательное движение;
гидропривод поступательного движения
(рисунок2.2, б, в), у которого в качестве гидродвигателя применяется
гидроцилиндр - двигатель с возвратно-поступательным движением ведомого звена
(штока поршня, плунжера или корпуса);
гидропривод поворотного движения (рисунок 2.2,
г), когда в качестве гидродвигателя применен поворотный гидроцилиндр, у
которого ведомое звено (вал или корпус) совершает возвратно-поворотное движение
на угол, меньший 360 .
. По возможности регулирования:
регулируемый гидропривод - в котором в процессе
его эксплуатации скорость выходного звена гидродвигателя можно изменять по
требуемому закону. В свою очередь регулирование может быть дроссельным
(рисунок2.2, б, г), объемным (рисунок 2.2, а), объемно-дроссельным или изменением
скорости двигателя, приводящего в работу насос. Регулирование может быть ручным
или автоматическим. В зависимости от задач регулирования гидропривод может быть
стабилизированным, программным или следящим.;
нерегулируемый гидропривод - у которого нельзя
изменять скорость движения выходного звена гидропередачи в процессе
эксплуатации.
. По схеме циркуляции рабочей жидкости:
гидропривод с замкнутой схемой циркуляции -
(рисунок 2.2, а), в котором рабочая жидкость от гидродвигателя возвращается во
всасывающую гидролинию насоса. Гидропривод с замкнутой циркуляцией рабочей
жидкости компактен, имеет небольшую массу и допускает большую частоту вращения
ротора насоса без опасности возникновения кавитации, поскольку в такой системе
во всасывающей линии давление всегда превышает атмосферное. К недостаткам
следует отнести плохие условия для охлаждения рабочей жидкости, а также
необходимость спускать из гидросистемы рабочую жидкость при замене или ремонте
гидроаппаратуры;
гидропривод с разомкнутой системой циркуляции -
(рисунок 2.2, б, в, г), в котором рабочая жидкость постоянно сообщается с
гидробаком или атмосферой. Достоинства такой схемы - хорошие условия для
охлаждения и очистки рабочей жидкости. Однако такие гидроприводы громоздки и
имеют большую массу, а частота вращения ротора насоса ограничивается
допускаемыми (из условий бескавитационной работы насоса) скоростями движения
рабочей жидкости во всасывающем трубопроводе.
. По источнику подачи рабочей жидкости:
насосные гидроприводы - в которых рабочая жидкость
подается в гидродвигатели насосами, входящих в состав этих гидроприводов;
аккумуляторные гидроприводы - в которых рабочая
жидкость подается в гидродвигатели из гидроаккумуляторов, предварительно
заряженных от внешних источников, не входящих в состав данных гидроприводов;
магистральные гидроприводы - в которых рабочая
жидкость подается к гидродвигателям от специальной магистрали, не входящей в
состав этих приводов.
. По типу приводящего двигателя:
гидроприводы могут быть с электроприводом;
приводом от ДВС;
турбин и т.д.
Принцип работы объемного гидропривода:
Принцип работы объемного гидропривода основан на
законе Паскаля, по которому всякое изменение давления в какой-либо точке
покоящейся жидкости, не нарушающее ее равновесия, передается в остальные ее точки
без изменения (рисунок.2.2).
Насосом 1 рабочая жидкость подается в напорную
гидролинию 3 и далее через распределитель 5 к гидродвигателю 2. При одном
положении гидрораспределителя совершается рабочий ход гидродвигателя, а при
другом положении - холостой. Из гидродвигателя жидкость через распределитель
поступает в сливную гидролинию и далее или в гидробак 9, или во всасывающую
гидролинию насоса (в гидроприводах с замкнутой схемой циркуляции рабочей
жидкости, см. рисунок 2.2, а). В резервуаре жидкость охлаждается и снова
поступает в гидросистему. Надежная работа гидропривода возможна только при
соответствующей очистке рабочей жидкости фильтрами 8.
Регулирование скорости движения выходного звена
гидродвигателя может быть дроссельным или объемным. При дроссельном
регулировании в гидросистеме устанавливаются нерегулируемые насосы, а изменение
скорости движения выходного звена достигается изменением расхода рабочей
жидкости через дроссель 6. При объемном регулировании скорость движения
выходного звена гидродвигателя изменяется подачей регулируемого насоса либо за
счет применения регулируемого гидромотора.
Защита гидросистемы от чрезмерного повышения
давления обеспечивается предохранительным 4а или переливным 4б клапанами,
которые настраиваются на максимально допустимое давление. Если нагрузка на
гидродвигатель возрастает сверх установленной, то весь поток рабочей жидкости
будет идти через предохранительный или переливной клапаны, минуя
гидродвигатель. Контроль за давлением на отдельных участках гидросистемы осуществляется
по манометрам 11.
Работа гидроагрегатов сопровождается утечками
рабочей жидкости. В гидросистемах с замкнутой циркуляцией утечки компенсируются
специальным подпитывающим насосом 1а (рисунок 2.2, а).

в
г
Рисунок 2 2 - Варианты
принципиальных схем гидроприводов: а - с объемным регулированием; б - с
дроссельным регулированием; в - нерегулируемый; г - с дроссельным
регулированием рабочего и холостого ходов.
3. Расчет гидролиний
Целью расчета гидролиний является
определение внутреннего диаметра трубопроводов, потерь давления на преодоление
гидравлических сопротивлений и толщины стенок труб.
Внутренний диаметр (условный проход)
трубопровода d определяют по формуле
(3.1)
(3.2)
где Q - расход жидкости, м3/с
для (2.1) и л/мин для (2.2);
υ- скорость движения жидкости,
м/с;
d - внутренний диаметр трубопровода,
м для (2.1) и мм для (2.2).
Скорость течения жидкости в
трубопроводах зависит в основном от давления в гидросистеме (таблица 3.2).
Таблица 3.2 - Рекомендуемые значения
скорости рабочей жидкости
Потеря давления на преодоление
гидравлических сопротивлений по длине каждого участка трубопровода определяется
по формуле
(3.3)
где ρ- плотность
рабочей жидкости, кг/м3;
λ- коэффициент гидравлического
трения;
l - длина трубопровода, м.
Если на пути движения рабочей
жидкости встречаются местные сопротивления, то потеря давления в местных
сопротивлениях определяется по формуле Вейсбаха
(3.4)
гидропередача трубопровод сопротивление насос
где ζ- коэффициент
местных сопротивлений.
Значения коэффициентов ζ
для
наиболее распространенных видов местных сопротивлений принимают следующими: для
штуцеров и переходников для труб ζ = 0,1…0,15; для
угольников с поворотом под углом 90° ζ = 1,5…2,0; для
прямоугольных тройников для разделения и объединения потоков ζ
= 0,9…2,5; для плавных изгибов труб на угол 90° с радиусом
изгиба, равным (3÷5)d ζ = 0,12…0,15; для
входа в трубу ζ = 0,5; для выхода из трубы
в бак или в цилиндр ζ = 1.
При ламинарном режиме Т.М. Башта [3, с.29] для
определения коэффициента гидравлического трения λ рекомендует
при Re<2300 применять формулу
(3.5)
а при турбулентном режиме течения
жидкости в диапазоне Re = 2 300…100 000 коэффициент λ определяется
по полуэмпирической формуле Блазиуса
(3.6)
(3.7)
где ΔЭ -
эквивалентная шероховатость труб (для новых бесшовных стальных труб ΔЭ = 0,05 мм,
для латунных -
ΔЭ = 0,02 мм,
для медных - 0,01, для труб из сплавов из алюминия - 0,06, для резиновых
шлангов - 0,03), то коэффициент гидравлического трения определяется по формуле
А.Д. Альтшуля
(3.8)
Потери давления в гидроаппаратуре ΔPга
принимают по ее технической характеристике после выбора гидроаппаратуры. После
этого суммируют потери давления
ΔP=ΔPдл+ΔPм+ΔP. (3.9)
При выполнении гидравлического
расчета производят проверку бескавитационной работы насоса. Вакуум у входа в
насос определяют по формуле
(3.10)
где hs - расстояние от
оси насоса до уровня рабочей жидкости в баке;
hтр - потери напора на
преодоление всех гидравлических сопротивлений во всасывающей гидролинии;
υ - скорость движения жидкости
во всасывающей гидролинии;
α - коэффициент Кориолиса.
Рекомендуемый (с запасом на
бескавитационную работу насоса) вакуум Pв у входа в насос должен
быть не более 0,04 Мпа. Если Pв > 0,04 Мпа, то нужно увеличить
диаметр всасывающего трубопровода или расположить бак выше оси насоса. При этом
считается, что рабочая жидкость находится в баке с атмосферным давлением Pатм
= 0,1 Мпа. Таким образом, разность давлений в баке Pб (с атмосферным
или избыточным давлением) и на входе в насос Pв не должна быть
меньше 0,06 Мпа.
Определение толщины стенок является
проверочным расчетом на прочность жестких труб, подобранных по ГОСТу. Толщину
стенки трубы определяют по формуле
(3.11)
где P - максимальное статическое
давление;
σв -
допускаемое напряжение на разрыв материала труб, принимаемое равным 30…35% от
временного сопротивления;
n - коэффициент запаса, n = 3…6, для
гнутых труб принимается равным на 25 % ниже.
С учетом возможных механических
повреждений толщина стенок стальных труб должна быть не менее 0,5 мм, а для
медных - не менее 0,8…1,0 мм.
. Радиально-поршневые насосы и
гидромоторы
Радиально-поршневые гидромашины
применяют при сравнительно высоких давлениях (10 МПа и выше). По принципу
действия радиально-поршневые гидромашины делятся на одно-, двух- и
многократного действия. В машинах однократного действия за один оборот ротора
поршни совершают одно возвратно-поступательное движение. Схема
радиально-поршневого насоса однократного действия приведена на рисунке 4.4.
Рабочими камерами в насосе являются радиально расположенные цилиндры, а
вытеснителями - поршни. Ротор (блок цилиндров) 1 на скользящей посадке
установлен на ось 2, которая имеет два канала 3 и 4 (один соединен с гидролинией
всасывания, другой - с напорной гидролинией). Каналы имеют окна 5, которыми они
могут соединяться с цилиндрами 6. Статор 7 по отношению к ротору располагается
с эксцентриситетом.
Рисунок 4.4 - Схема радиально-поршневого
насоса однократного действия.
Ротор вращается от приводного вала
через муфту 8. При вращении ротора в направлении, указанном на рисунке 4.4.
стрелкой, поршни 9 вначале выдвигаются из цилиндров (происходит всасывание), а
затем вдвигаются (нагнетание). Соответственно рабочая жидкость вначале
заполняет цилиндры, а затем поршнями вытесняется оттуда в канал 4 и далее в
напорную линию гидросистемы. Поршни выдвигаются и прижимаются к статору
центробежной силой или принудительно (пружиной, давлением рабочей жидкости или
иным путем).
Подача радиально-поршневого насоса:
(4.8)
где d - диаметр цилиндра; е -
эксцентриситет; z - число поршней.
В серийных конструкциях
радиально-поршневых насосов число поршней принимается нечетным (чаще всего z =
7 или z = 9). Число рядов цилиндров для увеличения подачи может быть увеличено
от 2 до 6. Подача радиально-поршневого насоса с кратностью действия i и числом
рядов m подсчитывается по формуле:
(4.9)
где h - ход поршней.
В станкостроении применяют
регулируемые радиально-поршневые насосы однократного действия типа НП, которые
выпускают с максимальной подачей до 400 л/мин и давлением до 200 МПа.
Для радиально-поршневых машин
работающих в режиме гидромотора крутящий момент можно определить по формуле
(4.10)
где m - число рядов цилиндров;
i - кратность хода поршней;
h - величина хода поршней.
Литература
1
Андреев А.Ф., Барташевич Л.В., Боглан Н.В. и др. Гидропневмоавтоматика и
гидропривод мобильных машин. Объемные гидро- и пневмомашины и передачи. -
Минск: Высшая школа, 1987. 310 с.
Анурьев
В.И. Справочник конструктора-машиностроителя. В 3-х Т. - 5-е изд., перераб. и
доп. Том 3 - М.: Машиностроение, 1980 г. - 559 с.
Башта
Т.М. Гидропривод и гидропневмоавтоматика. - М.: Машиностроение, 1972. - 320 с.
Башта
Т.М., Руднев С.С., Некрасов Б.Б. и др. Гидравлика, гидромашины и гидроприводы:
Учебник. 2-е изд., перераб. - М.: Машиностроение, 1982. - 423 с.
Богданович
Л.Б. Гидравлические механизмы поступательного движения: Схемы и конструкции. -
М., Киев: МАШГИЗ, 1958. - 181 с.