Оборудование технологической линии хранения и выдачи топлива
КУРСОВАЯ РАБОТА
Оборудование
технологической линии хранения и выдачи топлива
Введение
топливо резервуар насос
Исходя из своих данных (вид топлива
- автобензин, способ доставки - автотранспорт, среднесуточный расход - 15 м3),
я выбрала в качестве своего предприятия Автозаправочную станцию, расположенную
в центре населенного пункта - города Житомир (рис. 1.1). График работы АЗС -
круглосуточно.
АЗС - являются конечным звеном
системы нефтепродуктообеспечения. От их правильной эксплуатации зависит
деятельность многих предприятий, организаций и учреждений различных форм
собственности. Совершенствование эксплуатации АЗС позволит повысить
эффективность работы автомобильного транспорта, их пожарную и экологическую
безопасность.
Посредством АЗС (рис. 1.2) система
снабжения нефтепродуктами автомобильного транспорта становится широко
разветвленной и оперативной, пункты снабжения максимально приближаются к
потребителям и создают для них большие удобства, что позволяет более
производительно использовать автотранспорт и технику, занятую в
производственных процессах, а также существенно улучшить качество обслуживания
владельцев частного транспорта.
АЗС представляют собой комплекс
зданий с оборудованием, предназначенный для приема, хранения и выдачи нефтепродуктов
транспортным средствам, продажи масел, консистентных смазок, запасных частей,
принадлежностей к транспортным средствам и оказания услуг владельцам
индивидуальных транспортных средств.
В связи со своим основным
назначением АЗС обычно располагаются как можно удобнее для потребителей и как
можно ближе к ним. Это либо автодороги с большими автомобильными потоками, либо
места какого-либо другого скопления автомобилей, чтобы уменьшить, по
возможности, расстояние, которое необходимо преодолевать автотранспорту до
автозаправочной станции.
Специфической особенностью АЗС
является размещение технологического оборудования на открытых площадках. При
этом выделяющиеся горючие и токсичные пары рассеиваются естественными
воздушными потоками, при этом концентрация этих веществ снижается до
безопасного уровня. При открытом размещении технологических установок
сокращаются сроки строительства АЗС, и достигается значительная экономия
капитальных вложений (в среднем на 15-20%).
Место расположения АЗС - г. Житомир,
Житомирская область
Общий вид АЗС
1. Подбор
оборудования для приема топлива в зависимости от способа его доставки на
предприятие
Доставка топлива на предприятия
топливообеспечения может быть осуществлена следующими вилами транспорта:
Железно-дорожным;
Трубопроводом;
Водным транспортом;
Автомобильным транспортом.
На мое предприятие топливо
доставляется автотранспортом. В таком случае, АЗС должна быть оборудована
сливными колодцами.
Сливной колодец (приемный колодец для нефтепродуктов) предназначен для приема
нефтепродуктов из автоцистерны, бензовоза или топливо-заправщика и для слива
его в резервуары. Колодцы для слива топлива могут комплектоваться алюминиевой
или стальной крышками. Сливной колодец с крышкой состоит из стального колодца
(Сталь Ст3пс) и алюминиевой (или стальной) крышки и используется для защиты от
атмосферных осадков линий приема и слива топлива, а так же узлов возврата паров
бензина (узлов рециркуляции паров). Различают несколько видов сливных колодцев:
для трех, четырех, пяти и шести видов топлива плюс один узел возврата паров на
каждый вид колодцев. Возможна разработка нестандартного колодца по желанию
заказчика.
В состав каждой линии слива входит
следующее оборудование:
муфта сливная;
фильтр сливной;
огнепреградитель;
задвижка или кран шаровый;
ответные фланцы и патрубки.
Общий вид слива топлива с
автоцистерны на АЗС
2. Определение
вместимости резервуаров для хранения топлива, выбор типов резервуаров,
оборудования
При доставке топлива
автотранспортом, вместимость резервуарного парка определяется по формуле:
где
- вместимость резервуарного парка, м3;
-
среднесуточный расход топлива, кг/сутки;
-
нормативный запас емкости, Ка = 1;
-
коэффициент использования емкости,
=0,9…0,95;- плотность топлива, кг/м3.
= 15 м3/сутки
= 15 т/сутки = 15000 кг/сутки
Принимаем
= 0,95, бензин марки Премиум-95 с плотностью 780 кг/м3.
Тогда,
Для приема и хранения нефтепродуктов
на АЗС я выбираю 2 подземных стальных горизонтальных резервуара (рис. 3.1.)
объемом 10
, т.к.
они выдерживают более высокие внутренние избыточные давления и разрежения.
Конструктивно резервуары выполнены
двустенными. Для исключения возможности воспламенения паров топлива в
межстенном пространстве резервуара последнее заполняется инертным газом путем
вытеснения воздуха. При этом концентрация кислорода в межстенном пространстве
резервуара не должна превышать 10% (об.).
Я считаю, что применение резервуаров
для хранения топлива с двойными стенками позволит удовлетворить строгим
экологическим нормам. Внутренняя оболочка служит для хранения топлива, а наружная
выполняет роль аварийной емкости, исключающей выход жидкой и паровой фазы в
окружающее пространство при разгерметизации внутреннего резервуара.
Подземные горизонтальные резервуары
установленные на подготовленную площадку на АЗС
Избыточное давление в межстенном
пространстве не должно превышать 0,02МПа. Для предотвращения превышения
избыточного давления в межстенном пространстве на резервуаре установлен
предохранительный клапан с порогом срабатывания при повышении давления до 0,03
МПа.
Резервуар типа РГС (подземный):
-корпус резервуара; 2-люк-лаз
(горловина); 3-патрубок наполнения; 4-патрубок раздачи; 5 - патрубок зачистки;
6-патрубок вентиляционный; 7-патрубок люка замерного; 8 - лестница для спуска
внутрь резервуара; 9 - хомут.
На АЗС будет предусмотрена система
объединенного контроля герметичности межстенного пространства двустенных
резервуаров для хранения топлива. Также резервуары оборудуются дополнительным
оборудованием для заполнения межстенного пространства газом.
2.1
Основное оборудование горизонтальных резервуаров
Подземные резервуары оснащаются
специальным оборудованием, предназначенным для их безопасной эксплуатации -
трубной обвязкой. Как правило, это:
· сливные и заливные
патрубки;
· горловины с люками;
· технологические
колодцы;
· внутренние
лестницы;
· трубопроводная
арматура
· тепловая изоляция;
· датчики и
сигнализаторы уровня;
· подогреватели;
· площадки для
обслуживания и т.д.
Каждый резервуар оборудуется сливным
устройством для слива топлива из автоцистерн, устройством для замера уровня в
резервуаре (трубой для введения метроштока), приемной трубой топливораздаточной
колонки с приемным клапаном внутри резервуара. Каждый резервуар имеет
горловину, размер которой позволяет производить ревизию внутри резервуара и его
периодическую чистку. Горловины резервуаров закрываются крышками.
Каждому виду нефтепродукта
соответствует свое герметичное сливное устройство.
В состав сливного устройства входят:
муфта сливная МСН-80 А (рис. 2.1.1.)
металлическая, для герметичного соединения сливного рукава автоцистерны с
приемным устройством при сливе топлива;
Муфта сливная МСН-80 А
фильтр сливной ФСН-80 (рис. 2.1.2)
для слива топлива в резервуар закрытым способом, обеспечивающий фильтрацию
сливаемого топлива от механических примесей и защиту от попадания пламени и
искр внутрь резервуара;

шаровой фланцевый кран типа КП ЛВ.
492826.008-01;
огнепреградитель типа ОПФ-80 (рис.
2.1.3);
Огнепреградитель типа ОПФ-80
Резервуары также оснащены системой
деаэрации с дыхательными клапанами типа НДКМ (рис. 2.1.4). При больших суточных
перепадах наружной температуры давление в резервуарах может подняться или
опуститься ниже атмосферного. Тоже самое может произойти, если температура
привезенного топлива отличается от температуры топлива в резервуаре. Чтобы не
допустить больших колебаний давления, которые могут привести к деформациям
резервуаров или отказу работы ТРК, применяются дыхательные клапана с огневыми
предохранителями, которые подсоединяются к резервуарам трубопроводами
деаэрации.
Дыхательный клапан типа НДКМ:
-патрубок; 2 огнепреградительная
кассета; 3-седло; 4-тарельчатый затвор; 5-нижний корпус; 6-нижняя мембрана;
7,8,14,15 - фланцы; 9-верхний корпус; 10-цепочка; 11-боковой люк; 12-верхний
люк; 13-крышка; 14-сменный диск; 17-верхняя мемранна; 18-диски; 19-импульсная трубка.
Назначение дыхательных клапанов
заключается в максимальном сокращении потерь нефтепродуктов при «большом» и
«малом» дыхании резервуаров с одновременным предотвращением превышения в нем
разрешенных величин давления или вакуума.
Огневой предохранитель исключает
возможность попадания искр или пламени в резервуар. Для слежения за давлением в
резервуаре применяется мановакуумметр, который может выдавать сигналы на
«давление» или на «разрежение» в случае закупорки системы деаэрации.
Атмосферный воздух, поступающий в
резервуары через дыхательный клапан, всегда содержит какой-то процент влаги.
Она конденсируется и скапливается на дне резервуара, так как вода тяжелее
топлива, в виде подтоварной воды. Для удаления воды на резервуаре предусмотрена
труба, заглушенная фланцем. Периодически, по мере накопления, подтоварную воду
насосом скачивают в тару для утилизации.
Резервуар наполняется топливом через
напорный трубопровод, проложенный под землей. Напорный трубопровод на выходе в
технологический отсек имеет пламегаситель, обратный клапан, муфту сливную.
Напорный трубопровод должен иметь уклон в сторону технологического отсека
резервуарного парка.
Электромагнитный клапан напорной
линии устанавливается в технологическом отсеке резервуара на линии наполнения и
служит для автоматического перекрытия линии в случае наполнения резервуара до
95% объема.
В процессе эксплуатации резервуары
будут подвергаться коррозии, как с наружной, так и с внутренней стороны.
Поэтому я предлагаю для наружной стороны защиту - нанести на предварительно
подготовленную поверхность изоляционного покрытия в виде битумно-полимерных
мастик. От почвенной коррозии днища резервуаров - защиту гидроизоляционным
слоем. Внутреннюю поверхность резервуара будем покрывать лакокрасочными
материалами в 2-4 слоя с последующей сушкой каждого нанесенного слоя в
отдельности.
3. Расчет
фундамента под резервуар
Резервуары горизонтальные стальные
подземные подвергаются значительно большему воздействию различных внешних
факторов, воздействию давления грунта на стальную конструкцию, давлению
грунтовых подземных вод, ко всему прочему, просто невозможно регулярно
производить осмотр и ремонт резервуара подземного расположения. Поэтому
производство резервуарных конструкций требует особой тщательности контроля и
соблюдения всех технологий.
В качестве материала для подземных
резервуаров и емкостей используется черный металл, нержавеющая сталь. В
качестве защитного покрытия подземных резервуаров применяют
эпоксидвинилхлоридные смолы, битумные мастики, оберточную изоляцию. Современные
технологии производства и наличие защитной стенки резервуара обеспечивают срок
службы резервуарных конструкций в среднем около 50 лет. Подземный резервуар
устанавливается в горизонтальном положении на подготовленный грунт или прочную
железобетонную плиту. С помощью расчетов определяют площадь подземного
фундамента.
Давление заполненного резервуара на
грунт:
где P - давление заполненного
резервуара на грунт, кг/м2;- масса резервуара, кг;- площадь днища
резервуара, м2;- плотность топлива, кг/м3;- высота
наполнения резервуара топливом, м.
Тогда,
Так, выбранные мною два
горизонтальные подземные резервуары монтируются на бетонной подушке с помощью
анкерных креплений. Подземный резервуар для предотвращения всплытия (в случае
обильных осадков) будет дополнительно крепиться хомутами к основанию. Сверху он
будет защищен навесом для равномерного распределения давления на корпус
резервуара. Засыпается подземный резервуар смесью песка и цемента, которая
через каждые 20 см утрамбовывается.
Фундамент под резервуар типа РГС.
Фундамент состоит из следующих
фрагментов:
· асфальтовая стяжка;
· гибкая мембранна;
· дренажная канавка;
· ж/д кольцо
фундамента;
· песочное основание.
4. Выбор насосов
для резервуаров
Технические характеристики
резервуара горизонтального стального подземного РГСП-10 м³
Таблица 1
|
Наименование параметра
|
Значение
|
|
Рабочее давление, МПа
|
налив
|
|
Допустимое избыточное давление, МПа
|
0,04
|
|
Рабочее давление в теплообменном устройстве, МПа
|
0,8
|
|
Рабочая температура,°С
|
От 0 до 90*
|
|
Допустимая минимальная стенки резервуара,°С
|
Ст3пс4
|
Минус 40
|
|
09Г2С-8
|
Минус 60
|
|
Внутренний диаметр резервуара, Dв, мм
|
2200
|
|
Длина резервуара, L, мм
|
4065
|
|
Длина резервуара, L1, мм
|
3430
|
|
Длина цилиндрической части резервуара, L2, мм
|
3210
|
|
Толщина корпуса резервуара, мм
|
4,4
|
|
Ширина резервуара, В, мм
|
2360
|
|
Высота резервуара, Н, мм
|
5630
|
|
Высота резервуара при транспортировке, Н1, мм
|
2580
|
|
Уровень засыпки, Н2, мм
|
1272
|
|
Площадь поверхности теплообмена, м2
|
3,2
|
|
Установленный срок службы, лет
|
Рассматриваемая АЗС работает
круглосуточно (24 часа), а расход топлива составляет 15
, следовательно, за час расход топлива равен 625 л/час = 10,42
л/мин.
Насосы выбирают в зависимости от
вязкости и давления насыщенных паров перекачиваемой жидкости необходимого
напора и производительности. Количество устанавливаемых насосов зависит от
необходимости одновременной перекачки нефтепродуктов нескольких сортов, общей
производительности и напора.
Я выбрала электронасос типа КМ для
перекачки бензина, керосина и дизтоплива.
Электронасосы КМ предназначены для
перекачивания светлых нефтепродуктов (бензин, керосин, дизтопливо) при
температуре до 50 С и вязкость продукта до 100
/с.
Насосные агрегаты выпускаются со
взрывозащищенными электродвигателями. Уплотнения вала - торцовое. В комплект
поставки входят ответные фланцы.
Достоинства моноблочной
конструкции:
• снижение массы за счет применения
электродвигателя специального исполнения;
• снижение шума и вибрации за счет
уменьшения числа вращающихся деталей (конструкция имеет один общий вал,
отсутствует муфта);
• упрощенный монтаж - крепление
осуществляется за лапы электронасоса.
Основные параметры и размеры
электронасоса КМ-80/50/215Е
|
Модель
|
Примечание
|
подача, /ч
|
напор, м
|
мощность, кВт
|
длина, мм
|
ширина, мм
|
высота, мм
|
масса, кг
|
|
КМ 80|50|215Е
|
Баз. э/двиг. АИМ 132 М2
|
45 (12,5)
|
50
|
11
|
725
|
310
|
480
|
150
|
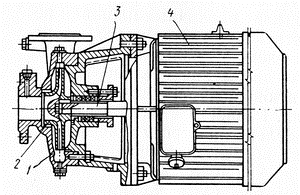
Насос типа КМ:
- корпус; 2 - рабочее колесо; 3 -
вал электродвигателя; 4 - электродвигатель
В моноблочном консольном насосе типа
КМ (рис. 5.1) корпус крепится к фланцу электродвигателя, а рабочее колесо
насаживается на его удлиненный вал.
Колеса изготовляют путем литья,
материалы для них выбирают с учетом агрессивности перекачиваемой среды.
Большинство насосов имеют чугунные колеса. Передний диск колеса имеет
обточенную цилиндрическую поверхность, которой он входит в крышку корпуса
насоса. В крышке, в свою очередь, запрессовано уплотнительное кольцо.
Зазор между колесом и крышкой должен
быть минимальным но обеспечивающим свободное (без трения) вращение колеса
Обычно его выбирают в пределах 0,4-0,6 мм. С увеличением зазора возрастает
количество жидкости, перетекающей из напорной полости во всасывающую под
влиянием разности давлений.
5. Выбор средств
очистки топлива
Используемые для очистки топлива
фильтры состоят из корпуса и размещенного в нем фильтрующего элемента. Их
классифицируют по назначению, конструкции, месту установки, принципу работы,
тонкости отсева, способу регенерации.
Фильтры предназначены для
раздельного удаления механических примесей, воды и одновременного удаления
механических примесей и воды.
По месту установки различают штатные
фильтры, устанавливаемые на двигателе и поставляемые вместе с ним, и путевые,
устанавливаемые в системе топливоподготовки двигателя, а также фильтры
бункеровочных баз, устанавливаемые для очистки топлива на этих базах.
По типу фильтрующего элемента
изготовляют фильтры щелевые (пластинчатые, ленточные, проволочные), сетчатые,
тканевые, из волокнистых материалов (фетровые, войлочные, из хлопчатобумажной
пряжи и др.), бумажные, картонные, металлокерамичеекие, пластмассовые.
По способу задержания загрязнения
различают поверхностные и объемные фильтры.
Поверхностные фильтры задерживают
загрязнения на поверхности тонкослойного фильтрующего материала. В этих
фильтрах используют бумагу, картон, ткани, сетки, а также материалы, с помощью
которых образуются щели, через которые фильтруется топливо. В объемных фильтрах
загрязнения задерживаются как на поверхности фильтрующего материала, так и во
всем его объеме. У них небольшие площадь и поверхности входа и достаточно
большая толщина фильтрующего материала (более 20 мм).
По кратности использования
фильтрующего элемента выпускают фильтры однократного и многократного
использования.
По тонкости очистки выпускают
топливные фильтры тонкой и грубой очистки. Фильтры грубой очистки предназначены
для удаления крупных частиц загрязнений до 80 - 100 мкм и обеспечения
нормальной работы фильтрам тонкой очистки.
Исходя из расчетного объема
резервуарного парка, вида топлива и пропускной способности насоса, для очистки
топлива на моем предприятии, я выбрала следующие фильтры:
Фильтр сливной ФСН-80
Фильтры сливные ФСН-80 предназначены
для слива нефтепродуктов в резервуары закрытым способом, обеспечивающим
фильтрацию сливаемого нефтепродукта от механических примесей и защиту от
попадания пламени и искр внутрь резервуаров, хранящих нефть и нефтепродукты.
Устройство и принцип работы фильтра
сливного ФСН-80:
Через мелкую латунную сетку
фильтруются нефтепродукты, поступающие в резервуар.
Теплоемкость этой сетки обеспечивает
гашение пламени в случае его возникновения в трубопроводе.
Внутри корпуса устанавливается
сменная кассета, которая фиксируется пружиной. Кассета представляет собой
алюминиевый каркас, обтянутый латунной сеткой.
При необходимости сетка может быть
заменена на новую. Сетка полутомпаковая 0,5Н ГОСТ 6613-86.
Техническое обслуживание фильтра
сливного ФСН-80:
Периодически один раз в год, или по
мере засорения, фильтр открывается для очистки кассеты и отстойника от грязи.
При профилактических осмотрах
кассета промывается бензином и ли растворителем и продувается сжатым воздухом.
Фильтры должны периодически один-два
раза в месяц осматриваться при температуре -10 С и ниже, крепежные гайки должны
смачиваться жидкостью СОЖ (тосол).
Я выбрала фильтры FG-2G и
многоразовый фильтр-сепаратор Gespasa, так как они соответствуют пропускной
способности выбранного ранее насоса и обеспечивают достаточную тонкость
фильтрации.
Фильтр тонкой очистки
бензина / керосина FG-2G
Многоразового использования. Степень
фильтрации - 5 микрон. Производительность - 500000 литров. Скорость протока -
105 л/мин. Годен для авиационного топлива: AVGAS, JETA.
легко разбирается для
промывки и замены картриджа
объем колбы- 2 л.
степень фильтрации - 5
микрон
степень фильтрования воды -
93%
скорость протока - 105
л/мин
кран удаления отстоя под
колбой фильтра
рабочее давление - 0.3-0.5
Бар
производительность - 500000
литров

Многоразовый фильтр-сепаратор
Gespasa предназначен для тонкой очистки дизельного топлива, бензина, керосина и
других углеродных жидкостей от воды и механических примесей.
Для повышения качества работы
фильтра требуется периодически разбирать его для промывки и выполнять замену
картриджей. Фильтр устанавливается перед всасывающим насосом в его заборной
части при помощи соединительной резьбы в 1,5 дюйма. Степень фильтрации
составляет 5 микрон, а количество отфильтрованной воды достигает 93%. Фильтр в
состоянии удержать до 10 литров воды. Под колбой фильтра имеется специальный
краник для удаления отстоя. Производительность модели Gespasa составляет 1 000
000 литров. Фильтр работает с насосами со скоростью потока до 160 л/мин.
Технические
характеристики:
- производитель - Gespasa, Испания;
тип промышленного фильтра по среде
использования - жидкость;
тип промышленного фильтра для
жидкостей - физико-химический (угольный);
максимальная пропускная способность,
куб. м/час - 9.6;
минимальный размер улавливаемых
частиц, мкм - 5.0;
материал корпуса промышленного
фильтра - алюминий;
степень фильтрации, мкм - 5;
степень фильтрования воды, % - 93;
скорость протока, л/мин - 160;
манометр на верхней части фильтра -
да;
производительность, л - 1 000 000;
расположение - перед заправочной
колонкой / насосом или после.
Количество требуемых
фильтров определим по формуле:
где
- расход топлива за час «пик»,
;
-
пропускная способность фильтра,
;
запасной фильтр.
Где n - количество рабочих часов
«пик». В моем случае n = 24 часа.
Тогда,
Переводим пропускную способность
фильтров FG-2G и Gespasa из л/мин в
и получаем следующие значения: 6,3
для фильтра FG-2G и
для фильтра-сепаратора Gespasa.
1.
+1 = 1 (для фильтра FG-2G).
2.
+1 = 1 (для фильтра-сепаратора Gespasa).
6. Описание
оборудования для выдачи топлива, характеристики оборудования и самого процесса
выдачи
При выдаче автомобильного топлива в
сравнительно небольшом количестве непосредственно в топливные баки автомобилей
применяют стандартное оборудование автозаправочных станций, оснащенных
топливо-раздаточными колонками.
Топливораздаточные
колонки
Для проектируемой АЗС я предлагаю
топливораздаточные колонки «С-Бенч» серии ВМР 2000, предназначенные для выдачи
нефтепродуктов на средних и больших АЗС. Серия имеет модульное исполнение.
Основные технические характеристики:
Производительность
- стандартная 40-50 л/мин
повышенная 80-90
л/мин
Предел допускаемой
основной погрешности,
не более
0,25%
Минимальная доза выдачи
топлива 2 л
Максимальное
эксплуатационное давление 0,18 МПа/2,2 МПа
Степень фильтрации
топлива
фильтр грубой очистки 80
мкм
фильтр тонкой очистки 20
мкм
Датчик импульсов
двухканальный,
100 импульсов на литр
Электродвигатель насосов
3
380
0,75 кВт, 1380 об/мин
Электромагнитные клапаны
230 В, АС 50 Гц, 0,124 А
Эксплуатационная
температура воздуха - 450 С,+500 С
Эксплуатационная
влажность воздуха 5-95%
Средний срок службы не
менее 12 лет
Установленный срок
службы 6 лет
ТРК серии ВМР 1000 в
стандартном исполнении состоит из модуля счетчика и нескольких модулей
гидравлики.
Модуль счетчика состоит
из корпуса и отдельного элемента (воздушный зазор), выполненного согласно
требований взрывобезопасности. В корпусе смонтировано электронное оснащение
ТРК, включая дисплеи, которые прикреплены к маскам дисплеев. Внутреннее
пространство корпуса счетчика закрыто застекленными крышками, которые
закрываются замками. Корпус счетчика прикреплен к вертикальному столбу.
Конструкция модуля
гидравлики выполнена как самонесущая. Внутреннее пространство его разделено на
две части: гидравлическое пространство и пространство лебедки раздаточных
шлангов. Главную несущую часть ТРК создает основание, к которому прикреплены
торцевой столб, средний столб и столб лебедки раздаточных шлангов. Пространство
модуля гидравлики закрывается левыми и правыми дверками и далее воротниками, в
которых помещены волоки раздаточных шлангов, смотровые индикаторы и смотровые
отверстия суммарных счетчиков. Дверки закрываются замками.
Насосный моноблок
крепится на консоли моноблока в нижний части модуля гидравлики и состоит из:
насоса фильтров грубой и тонкой очистки, сепаратора газов и паров, поплавковой
камеры, паро-воздушного и обратного клапанов. Собственно насос характеризуется
хорошей всасывающей способностью. Моноблок оснащен в нижней части всасывающим
промежуточным патрубком с обратным клапаном. Выход моноблока соединен
трубопроводом с ротационным четырехпоршневым дозатором. На трубопроводе
монтируются электромагнитные клапана, которые распределяют поток топлива к
отдельным дозаторам (в двухстороннем исполнении ТРК) выполняя предохранительную
и регулирующую функции.
Ротационный
четырехпоршневой дозатор горизонтального типа с вертикальным кривошипным валом
крепится на консоли измерителя в верхней части модули гидравлики. Жидкость
поступает в верхнюю часть дозатора и разделяется к каждому поршню ротационной
задвижкой, укрепленной на кривошипном валу. Поршни под влиянием напора
двигаются в дозирующих цилиндрах, и это движение преобразуется кривошипным
валом но вращательное движение (один оборот вала дозатора 0,5 дм3).
Ошибка измерений может быть устранена изменением хода поршня. Поворот кольца по
часовой стрелке уменьшает, а поворот в противоположном направлении увеличивает
прокачиваемый объем.
Электродвигатель -
трехфазный, напряжением 380 В, мощностью 0,75 кВт, 1380 об/мин, вмонтирован в
средний столб на консоли двигателя. Конструкция консоли позволяет регулировать
натяжение клиновидного ремня. Напряжение питания электродвигателя подается с
распределительной коробки ТРК. Включение и выключение электродвигателя
осуществляется посредством электромагнитного пускателя, управляющее напряжение
которого регулируется электроникой ТРК.
Гидравлическая система завершается
раздаточным шлангом с раздаточным пистолетом. Раздаточный пистолет в нерабочее
время вставляется в гнездо пистолета, в которое встроен датчик, состоящий из
геркона и магнита, установленного на подвижном рычаге. Жидкость, дозируемая
измерительным устройством, проходит через смотровой индикатор в раздаточный
шланг, на конце которого установлен раздаточный пистолет.
Электронный счетчик принимает
импульсы, которые поступают от оптоэлектронного импульсного преобразователя,
подсчитывает их и выдает на дисплей данные о количестве и стоимости выданного
топлива, а также, информацию о цене топлива. При отключении напряжения питания
информация о количестве и стоимости горючего, выданного после последнего снятия
пистолета, сохраняется.
.1 Подборка технологической линии хранения, подготовки и выдачи
топлива
Технологическая
схема - это графическое изображение системы трубопроводов для перекачивания
топлива и необходимого оборудования для осуществления операций хранения и
выдачи топлива. Эта схема должна обеспечивать одновременное выполнение таких
операций, как приём и выдача топлива с необходимой пропускной возможностью,
внутресклаское перекачивание топлива из одного резервуара в другой, сохранение
качества топлива во время хранения и других операций, согласно назначению
топлива. Поэтому при построении схемы необходимо точно определить место
расположения того или другого оборудования.
Правильно
спроектированная схема является залогом для эффективной эксплуатации
оборудования предприятия топливо обеспечения.
Описание
технологической схемы
Основным
оборудованием для хранения и выдачи топлива на АЗС и в заправочном пункте
являются: подземный резервуар 1 с трубопроводами и топливораздаточная колонка
10. Топливо в резервуар заливают через фильтр ФСН-80 и сливной трубопровод 7,
конец которого опускается в резервуар ниже всасывающего (обратного) клапана,
расположенного на конце всасывающего трубопровода. Расстояние от нижней части
клапана до дна резервуара, равное 120 - 150 мм, обеспечивает забор только
чистого топлива.
Уровень топлива в
резервуаре замеряют при помощи уровнемера, который обеспечивает вертикальное
размещение замерной рейки внутри трубки.
Для обеспечения
процессов «малого и большого дыхания» резервуара установлен воздушный
(дыхательный) трубопровод, короткий конец которого расположен над уровнем
топлива в резервуаре, что обеспечивает атмосферное давление в резервуаре и
выход паров бензина в атмосферу при сливе топлива в резервуар. Воздух в
резервуар поступает, а пары бензина выходят через дыхательный клапан типа НДКМ.
Подача топлива осуществляется
с помощью встроенного в топливораздаточную колонку насоса 9 из резервуара 1
через всасывающий клапан 2, фильтр FG-2G 5, многоразовый фильтр-сепаратор Gespasa 6 по всасывающему
трубопроводу в топливораздаточную колонку и далее по шлангу с раздаточным
пистолетом непосредственно на выдачу.
В случае
прекращения выдачи топлива через раздаточный пистолет со шлангом 12 постоянный
уровень столба топлива в трубопроводе и топливо-раздаточной колонке 10
поддерживается всасывающим (обратным) клапаном 7, который закрывается под
собственным весом тарелок и давлением столба жидкости, превышающим уровень ее в
резервуаре.
Для отвода
статического электричества резервуар заземляют, соединяя его стальными или
медными проводами диаметром 6 - 8 мм со стальными оцинкованными листами или с
куском оцинкованной трубы диаметром 50 мм, которая забивается в котловане в
грунт на глубину 1 - 1,5 м.
Выводы
В данной работе мною было подобрано
и рассчитано основное технологическое оборудование автозаправочных станций.
Проанализирован процесс приема топлива, его размещение и хранение, а также
выдача. Для этого было использовано следующее оборудование:
2 горизонтальных стальных
резервуара;
фильтр-сепаратор Gespasa;
топливораздаточные колонки
«С-Бенч» серии ВМР 2000.
Кроме того, мною были предусмотрены
сливные колодцы для приема и слива топлива в подземные ГСР, подобран фундамент
и необходимое технологическое оборудование для выдачи топлива заданной марки.
Литература
1. ЕДИГАРОВ С.Г., МИХАЙЛОВ В.М., ПРОХОРОВ А.Д., ЮФИН В.А.
Проектирование и эксплуатация нефтебаз.-М.:Недра, 1982.-280 с.
2. НИКОНОВ К.В. Конструкция технологического оборудования
складов горюче-смазочных материалов. Учеб.пособие.-К.:КМУГА, 1996.-392 с.
. ПУЗІК С.О., БАКАНОВ Є.О. та ін. Технологічні процеси з пально-мастильними
матеріалами. Посібник, - К.:НАУ, 2002. -265 с.
4. ШИШКИН Г.В. Справочник по проектированию
нефтебаз.-Л.:Недра, 1078.-215 с.
. http://www.cityprogect.ru/stalnye-emkosti-rgs-rvs.html