Проект станции водоочистки
Содержание
Введение
Анализ исходных данных
Характеристика источника водоснабжения
Выбор технологической схемы обработки воды
Определение производительности водоочистной станции
Определение доз реагентов для обработки воды
Сооружения для приготовления растворов реагентов
Расчет скорого фильтра
Построение высотной схемы
Подбор устройств для подачи промывной воды
Расчет складских и вспомогательных сооружений
Расчет резервуаров чистой воды
Расчет насосной станции второго подъема
Обработка промывных и сбросных вод
Заключение
Литература
Введение
Обеспечение населения качественной питьевой водой является
приоритетной социальной проблемой любой страны, решение которой направленно на
достижение главной цели - улучшение и сохранение здоровья населения и в целом -
безопасности нации.
Среди многих отраслей современной техники, направленных на
повышение уровня жизни людей, благоустройства населенных пунктов и развития
промышленности, водоснабжение занимает почетное место.
Для нужд современных городов, промышленных предприятий и
энергохозяйств необходимо огромное количество воды, строго соответствующей по
своим качествам требованиям ГОСТ 28.74-82 "Вода питьевая".
Проблема улучшения качества питьевой воды является наиболее
острой, особенно в отношении очистки подземных вод от соединений железа,
содержание которого превышает нормативные в 5-10 и более раз. В питьевой воде
не должно содержаться возбудителей болезней, она не должна обладать вредными
для здоровья свойствами и должна соответствовать требованиям, предъявляемым органами
здравоохранения к питьевой воде. Качество питьевой воды должно соответствовать
гигиеническим нормативам перед поступлением ее в распределительную
водопроводную сеть, а также в точках водоразбора наружной и внутренней
водопроводной сети.
Для проектирования сооружений водоподготовки обязательным
является проведение предварительных микробиологических, биологических и
физических исследований сырой воды с учетом местных условий.
Химическое и физическое исследование воды следует проводить с
целью определения веществ, присутствующих в воде (качественный и количественный
анализы).
Микробиологические и биологические исследования надлежит
проводить для установления наличия видов и количества вирусов, бактерий,
микроорганизмов, фито - и зоопланктона.
В Республике Беларусь централизованное водоснабжение городов
и поселков, обслуживаемых коммунальным водным хозяйством, осуществляется, как
правило, водозаборными скважинами. Основной проблемой при подготовке подземных
вод для хозяйственно-питьевого водоснабжения является удаление повышенного
содержания растворенного двухвалентного железа.
В данном курсовом проекте запроектирована станция
обезжелезивания, производительностью (без учета на собственные нужды) 8500 м3/сут.
Обезжелезивание воды заключается в окислении при помощи аэрации кислородом
растворенного двухвалентного железа и удаления из воды посредством фильтрования
образовавшегося в результате каталитическо-химических процессов нерастворимый
гидрат окиси трехвалентного железа. Описанный выше процесс фильтрования
происходит на скорых фильтрах, обработка осадка производится на горизонтальных
отстойниках.
В решении общих проблем питьевого водоснабжения важную роль
играют задачи оптимального проектирования, строительства и эксплуатации этих
систем в целом и их отдельных элементов.
Анализ
исходных данных
Проектируемая станция водоочистки находится в Гомельской
области. Следовательно, климат умеренно континентальный с среднезимней
температурой - 25ºС, среднелетней
температурой - 45°С, направление ветров - северо-восточно. Производительность
очистной станции (без учета на собственные нужды) 8 500 м3/сут,
расход воды на пожаротушение 90м3/ч. В ходе геологических
исследований был определен состав грунтов площадки:
от 0,0 до 0,6 м - супесь;
от 0,6 до 3,0 м - супесь;
от 3,0 и ниже - суглинок.
Характеристика
источника водоснабжения
Водоснабжение населенного пункта осуществляется из подземного
источника. Воды подземных источников, особенно глубоко залегающие артезианские
воды, характеризуются большой прозрачностью, отсутствием цветности,
значительным содержанием различных минеральных солей, наличием железа.
Санитарное состояние подземных вод, если они защищены водонепроницаемым слоем
от проникания стоков с поверхности земли, бывает иногда настолько хорошим, что
эти воды можно без какой-либо очистки подавать в сеть питьевых водопроводов.
Изучение качества воды природного источника позволяет
установить характер необходимых операций по ее обработке. Физико-химические
показатели воды в источнике:
· Мутность согласно САНПИН не должна превышать 15
мг/л, а по заданию:
максимальная 0-1
минимальная (в зимнее время) 0-1
Данный показатель соответствует требованиям САНПИН.
Цветность по САНПИН не должна превышать 20°, по заданию
Ц<20°. Данный показатель соответствует требованиям САНПИН.
· Жесткость: норма общей по САНПИН 7
мг-экв/л, по заданию:
общая 5,4 мг-экв/л
карбонатная 4,8 мг-экв/л
Данный показатель соответствует требованиям САНПИН.
· Водородный показатель воды согласно требованиям
ГОСТ должен находится в пределах 6…9, по заданию pH=7, что соответствует
требованиям САНПИН.
· Вкус железистый, 3 балла, что не соответствует
требованиям САНПИН, т.к. он не должен превышать 2 баллов.
· Запах 3 балла, что не соответствует требованиям
САНПИН, т.к. он не должен превышать 2 баллов.
· Окисляемость согласно САНПИН не
лимитируется, по заданию-4 мг/л.
· Фтор. Содержание фтора в воде должно быть в
пределах 0,7…1,5мг/л, по заданию 0,1 мг/л, что не соответствует норме.
· Содержание планктонов, млн. шт/мл. - нет
· Содержание Fe2+=2,1мг/л, Fe0 = 2,5 мг/л. По САНПИН
этот показатель не должен превышать 0,3 мг/л.
Так как содержание железа превышает нормативную величину, то
требуется обезжелезивание воды. Содержание фтора в питьевой воде должно быть
0,5…1,5 мг/л, следовательно, необходимо фторирование исходной воды.
Обязательным этапом при обработке воды является ее обеззараживание. Также в
процессе очистки необходимо удаление привкуса и запаха.
реагент обработка вода станция
Выбор
технологической схемы обработки воды
Выбор технологической схемы производится на основании
производительности ОС, а также исходного состава обрабатываемой воды.
Окончательный выбор состава ОС производится на основании литературных
данных/4/.
Для удаления железа из источника водоснабжения согласно СНиП
2.04.02-84 п.6.177 обработку подземных вод следует предусматривать
фильтрованием в сочетании с одним из способов предварительной обработки воды:
упрощенной аэрацией, аэрацией на специальных устройствах, введением
реагентов-окислителей.
Принимаем для обработки воды метод упрощенной аэрации в
сочетании с фильтрованием. Упрощенную аэрацию допускается применять при
следующих показателях качества воды:
содержание железа (общего) до 10 мг/л (по заданию
2,5мг/л) в том числе двухвалентного
не менее 70% (по заданию
2,1мг/л, что составляет 84%);
- рН не менее 6,8 (по заданию 7,0);
щелочности более
мг-экв/л (по заданию 4,8
> (1+2,1/2,8) = 4,8 > 1,075);
содержание сероводорода не более 2 мг/л (по заданию
отсутствие).
Согласно п.6.179 /1/ упрощенную аэрацию следует
предусматривать изливом воды в карман или центральный канал открытых фильтров
(высота излива над уровнем воды 0,5-0,6 м).
Окисление железа при методе упрощенной аэрации происходит по
следующей формуле:
4Fe2+ + O2 + 8HCO3 - +
2H2O=4Fe (OH) 3↓ + 8CO3↑
Гидроксид Fe (III), выпавший в осадок, задерживается на
фильтрующей загрузке. Для фильтрования будем использовать скорые безнапорные
фильтры с однослойной загрузкой.
В качестве загрузки принимаем кварцевый песок с диаметром
зерен 0,8 мм /табл.23, 1/.
Метод упрощенной аэрации основан на способности
воды, содержащей двухвалентное железо и растворенный кислород, при фильтровании
через зернистый слой выделять железо на поверхности зерен, образуя
каталитическую пленку из ионов и оксидов двух - и трехвалентного железа. Эта
пленка активно интенсифицирует процесс окисления и выделения железа из воды.
Обезжелезивание воды в загрузке, покрытой пленкой, является гетерогенным
автокаталитическим процессом, в результате чего обеспечивается непрерывное
обновление пленки как катализатора непосредственно при работе фильтра.
При этом методе не требуется окисление двухвалентного железа
в трехвалентное и перевод его в гидроксид в связи с чем отпадает необходимость
в устройстве дорогостоящих аэрационных сооружений. Упрощенная аэрация
осуществляется с помощью несложных приспособлений путем излива воды с небольшой
высоты в карман или центральный канал фильтра, либо путем вдувания воздуха в
обрабатываемую воду.
Отсутствие специальных аэрационных устройств и контактных
емкостей упрощает эксплуатацию и снижает стоимость очистки.
Хлорирование и фторирование будем производить непосредственно
перед резервуарами чистой воды (причем хлор и фтор можно вводить одновременно).

. Скорые фильтры.
. Резервуары чистой воды.
. Насосная станция II подъема.
Рисунок 1 - Схема обезжелезивания воды из подземных источников.
Определение
производительности водоочистной станции
По заданию полезный расход очистной станции 8500м3/сут.
Полный расход воды, который должна быть обеспечиваться
водоочистной станцией составляет:
, м3/сут
α - коэффициент расхода воды на собственные нужды станции, принимается
по п.6.6 /1/, в долях единицы;
Qдоп. - дополнительный расход воды на пожаротушение, м3/сут.
м3/сут.
Qпож. - общий часовой пожарный расход по населенному пункту и
предприятиям в целом, (м3/ч);
Тпож
- продолжительность
восстановления пожарного заноса воды, час. Принимается для городских населенных
пунктов - 24, сельских - 72 часа.
t - время тушения пожара, равно 3 часам.
;
;
Определение
доз реагентов для обработки воды
Обеззараживание воды хлором.
Фильтрование воды значительно уменьшает количество
содержащийся в ней микроорганизмов, но не дают гарантию их окончательного
удаления. Для окончательного удаления микроорганизмов применяют обеззараживание
воды.
Дозу хлорсодержащих реагентов для подземных источников при
одинарном хлорировании (основная цель - обеззараживание воды) принимаем равной
0,7-1 мг/л.
Жидкий хлор, применяемый для обеззараживания воды на ОС, поступает
на станцию в стальных контейнерах.
Фторирование воды.
Доза фторсодержащих реагентов определяется по приложению 6
/1/.
, мг/л,
mф - коэффициент, зависящий от места ввода
реагента в воду, равный 1…1,1; аф - необходимая
концентрация фтора в обработанной воде, можно принять 1 мг/л; Кф
- содержание фтора в чистом реагенте, равное 61 %; Сф
- содержание чистого реагента в техническом продукте, ровное 80%. Ф
- концентрация фтора в исходной воде, равное 0,1 мг/л.
Сооружения
для приготовления растворов реагентов
Расчет хлораторной.
Необходимое количество активного хлора для
обеззараживания воды определим по формуле (расчетный расход воды, Qcym = 8500 м3/сут;
доза активного хлора, Дхл = 1 мг/л):
В пересчете на 15% раствор технического
продукта ГХН марки А:
/190 = 44,7 л/сут
Принимаем поставку реагента в
полиэтиленовых емкостях (баках) объемом 1 м3 товарного 15% раствора
ГХН (Волгоградский химзавод) в количестве 1 шт. в рабочем состоянии и 2 шт.
резервных на продолжительность работы около 180 сут. Тогда продолжительность
использования раствора емкости в рабочем состоянии составит:
/44,7 = 23 сут.
Процесс дозирования гипохлорита натрия в
воду полностью автоматизирован и основан на принципе пропорционального
дозирования в зависимости от расхода обрабатываемой воды и необходимой дозы
гипохлорита натрия.
Принята установка дозирования растворов
реагентов заводского исполнения типа Д-ГХН производительностью по активному
хлору до 10 кг/ч (1 раб. и 1 рез.).
Раствор гипохлорита из расходной емкости
подается дозирующими насосами в смеситель, из него в трубопровод дозирования и
далее в трубопровод фильтрованной воды. Все технологические операции находятся
под контролем микропроцессора управления, который регулирует дозирование
реагента в зависимости от показаний расходомера, контролирует работу дозирующих
насосов, наличие реагента в расходной емкости, расход воды по данным ротаметра.
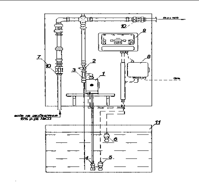
. насос-дозатор NaOCl
2. датчик потока
. продувочный клапан
. всасывающий клапан
. датчик минимального уровня
. датчик максимального уровня
. опорная панель
. распределительная коробка
. блок управления
. отсекающий вентиль
. бак 15% раствора NaOCl
Рисунок 2 -
Технологическая схема установки для обеззараживания с использованием
высококонцентрированного (привозного) гипохлорита натрия.
Расчет фтораторной.
Принимаем схему приготовления реагента в сатураторах
одинарного насыщения. Часовой расход фтора составит:
Суточный расход фтора составит:
- бак для первичного замачивания реагента; 2 - сатуратор
одинарного насыщения; 3 - дозирующее устройство.
Рисунок 3 - Технологическая схема фторирования воды следующая:
Емкость бака для замачивания определяется:
м3.
qF - количество воды (20 л), применяемое для замачивания 10 кг
реагента; Gф - cуточное количество реагента, кг/сут.
При рабочей высоте 1,5 м определяем площадь бака и назначаем
конструктивно его размеры.

Производим расчет сатуратора одинарного насыщения. Производительность
находим по формуле:

л/ч.
Высота цилиндрической части сатуратора:
м.
t - время пребывания воды в сатураторе, 5ч;
Vc - скорость цилиндрической части сатуратора, 0,1 м/с.
Площадь цилиндрической части будет равна:
Диаметр цилиндрической части составит:
Определим объем цилиндрической части:
Высота нижней конической части определяется по формуле:
α - угол наклона стенок сатуратора в нижней
части α =
20…300.
Объем нижней части будет равен:
где f=πdн2/4, м2.
Полный объем сатуратора составит:
.
Определим полную высоту сатуратора:
Сатуратор размещается в блоке реагентного хозяйства, при этом
реагент хранится на складе с запасом на 15-30 суток:
Количество мешков или бочек при вместимости 50 кг составит:
По производительности подбираем насос-дозатор типа НД (1 рабочий и
1 резервный).
· Производительность - 122,15 л/с;
· Тип - НД - 120/6
· Мощность - 0,6 кВт
· Длина х ширина х высота = 680х 292х 540 мм
Расчет
скорого фильтра
Фильтрованием называется процесс прохождения осветляемой воды
через слой фильтрующего материала.
Фильтр представляет собой резервуар, в нижней части которого
расположено дренажное устройство той или иной конструкции для отвода
профильтрованной воды. На дренаж укладывают слой поддерживающего материала, и
затем слой собственно фильтрующего материала. При песчаных фильтрах
поддерживающим материалом является гравий, уложенный слоями с возрастающей
книзу крупностью зерен. В процессе фильтрования фильтр постоянно заполнен водой
до уровня, расположенного не менее чем на 2 м выше поверхности фильтрующего
материала. В обычных фильтрах вода подается сверху и отводится снизу - через
дренажное устройство.
1 - трубопровод подачи исходной воды
- трубопровод подачи промывной воды
- трубопровод отвода фильтрата
- трубопровод отвода промывной воды
- поддерживающий слой
- фильтрующая загрузка
- воздушный стояк
- желоб
- регулятор расхода
Рисунок 4 - Схема скорого фильтра.
Общая площадь фильтров определяется по следующей формуле:
Fобщ = Qпол / Tст · Vн - 3,6· n·q1пр - n·tобщ·Vн, м2
Qпол - полезная
производительность водоочистной станции, м3/сут;
Тст - продолжительность работы
станции, принимаем 24 часа;
n - количество промывок
фильтров в сутки, принимаем 1 раз в сутки;
Vн - расчетная скорость
фильтрования в нормальном режиме, м/час;
tобщ - общее время простоя
фильтра в связи с промывкой, принимаем в зависимости от типа промывки 0,33
часа;
q1пр - удельный расход воды на
промывку фильтров, м3/м2;
Wпр - интенсивность промывки, л/с∙м2,tпр - время промывки одного фильтра, мин.,
Величины Vн, Wпр, tпр принимаем
по /1/.
,
Общее количество фильтров составит:
По /1,6.99/принимаем NФ=4. Определим площадь одного фильтра:
f =Fобщ / Nф = 49,7/4=12,4 м2.
Принимаем площадь одного фильтра f=16 м2.
Назначаем размеры фильтра в плане, если квадратные, тогда сторона
фильтра:

Проверяем скорость воды при форсированном режиме (эта величина не
должна превышать допустимую, принимаемую по /1, табл.21/):

N1 - число фильтров, находящихся на ремонте,
шт.
Принимаем однослойные скорые фильтры с кварцевой загрузкой /1,
табл.29/:
· dmin
зерен =0,7
мм;
· коэффициент неоднородности 1;
· dmax
зерен =1 мм;
· высота слоя фильтрующей загрузки 1000 мм;
· эквивалентный диаметр 0,8-1,0 мм.
Состав поддерживающего слоя назначается по /1, табл.22/:
|
Крупность
зерен, мм
|
Высота слоя, мм
|
|
40-20
|
100
|
|
20-10
|
100
|
|
10-5
|
100
|
|
5-2
|
100
|
|
2-1,2
|
100
|
Принимаем высоту слоя над трубой 500 мм.
Расчет дренажной системы.
Дренажная система фильтра является одной из важнейших его
частей. Дренаж должен обеспечить равномерный по всей площади фильтра и, что
самое главное, обеспечить равномерное распределение по всей площади фильтра
промывной воды, поэтому эти системы называют также распределительными. Неравномерное
поступление промывной воды, подаваемой с большими скоростями, может привести к
неравномерной и неудовлетворительной промывке фильтра, вызвать сдвиг
поддерживающих слоев и нарушить правильную работу фильтра. Для обеспечения
равномерной подачи промывной воды, т.е. одинаковой интенсивности промывки по
всей площади фильтра, были предложены различные методы и различные конструкции
дренажей. Достаточная степень равномерности промывки может быть достигнута при
устройстве дренажей большого сопротивления.
Рассмотрим дырчатый трубчатый дренаж с боковыми ответвлениями
в одну или две стороны. Расчет дренажа производим на расход промывной воды:
Принимая скорость в коллекторе не более 1,5 м/с, определим
внутренний и наружный диаметр коллектора в мм.
Диаметр коллектора:
=600 мм,
Тогда
Определим площадь дна фильтра приходящуюся на каждое ответвление
при их расположении по одну сторону главного коллектора дренажной системы:
а - сторона фильтра, м; m - расстояние между осями отверстий
0,25-0,35м.
Расход воды, приходящийся на одно ответвление:
Диаметр ответвлений будет равен
.
Определим общую площадь отверстий:
Р -
отношение площади всех отверстий к площади фильтров, определяем по п.6.105/1/, Fф - площадь одного фильтра.
.
Принимая диаметр отверстий d0 = 12 мм,
определим площадь одного отверстия:
Тогда число отверстий составит:
Количество отверстий, приходящихся на одно ответвление, будет
равно:
На два ответвления nотв
=13·2=26 отверстий.
Число ответвлений на одну сторону составит
.
Длина ответвлений равна:
Шаг отверстий составит
.
Для удаления воздуха из верхней части главного коллектора
дренажной системы предусматриваем воздушные стояки, количеством 1 и диаметром
75 мм /1/.

1 - фильтрующий слой
- поддерживающий слой
- коллектор
- ответвления дренажа
Рисунок 5 - Схема дренажно-распределительной системы фильтров.
Расчет параметров желобов.
Сбор и отвод загрязненной воды при промывке скорых фильтров
осуществляется при помощи желобов, размещаемых над поверхностью фильтрующей
загрузки. Конструкция желобов должна:
а) предотвращать помехи нормальному расширению загрузки фильтра,
вызванному поступлением. промывной воды;
б) препятствовать возможности выноса зерен загрузки вместе с
промывной водой.
Принимаем ж/б желоба с треугольным основанием и определим
количество из условий их размещения в фильтре таким образом, чтобы расстояние
между осями соседних желобов не превышало 2,2 м, а от оси крайних желобов до
стенок - не более 1,1 м.
Тогда ширина одного желоба составит:
К - 2,1 для
пятиугольных желобов.
а - отношение
высоты прямоугольной части желоба к половине ее ширины (а=1…5),
qж - расход воды по желобу, м3/с,
nж - количество желобов.
Общая высота желоба составит:
hж=0,6В+0,5В+δ=0,6·0,266+0,5·0,266+0,02·0,266=0,3 м.
Определяем расстояние от поверхности фильтрующей загрузки до
кромок желобов:
, м,
Нз - высота
фильтрующего слоя, м,
аз - относительное
расширение фильтрующей загрузки в % (по /1/, табл.23).
Рисунок 6 - Схема расположения желобов
Расчет сборного канала.
Рисунок 7 - Схема расположения сборного канала
Согласно п.6.112/1/ в фильтрах со сборным каналом, расстояние
от дна желоба до дна канала определяется по формуле:
qкан - расход воды по каналу м3/с;
Вкан - ширина канала, не менее 0,7 м.
,
Определяем скорость движения воды в канале:
Построение
высотной схемы
Рисунок 8 - Высотная схема
Определим отметки для построения высотной схемы. При расчете
высотной схемы будем отталкиваться от отметки воды в РЧВ, по заданию Z1=107,0 м. Отметка земли
на территории ОС принимается равной на 0,5 м ниже Z1:
Z2= Z1-0,5=107,0-0,5=106,5м.
Отметки воды в скорых фильтрах (СФ):
=Z1+hком +hф,
hком - потери напора в коммуникациях от РЧВ до СФ,
принимаем равными 1 м; hф - потери при фильтровании, принимаем равными 3 м.
Z3 =107,0+1,0 +3,0=111,0 м.
Отметки кромки желоба СФ:
Z4=Z5+hж,
Z5=Z3-2,0=111,0-2,0=109,0 м,
Z5 - отметка верхней границы фильтрующего слоя.
Z4=109,0+0,6=109,6 м.
Отметка дна фильтра:
Z6=Z5-hфз-hпс=109,0-1,0-1,1=106,9 м.
Z7=Z3+0,5=111,0+0,5=111,5м
Минимальный уровень воды в резервуаре:
Zmin=Z1-hрчв+1,0=107,0-4,8+1,0=103,2
м.
Подбор
устройств для подачи промывной воды
Подача промывной воды может осуществляться при помощи
центробежного насоса типа Д (1 рабочий и 1 резервный), которые
устанавливаются в машинном зале насосной станции второго подъема.
Подача насоса принимается равной расходу промывной воды:
Напор насоса определится по формуле:
Нн= Нг + ∑hф +
hизл, м
Геометрическая высота подъема воды Нг равна разности
отметок минимального уровня воды в резервуарах чистой воды и отметки кромки
желоба скорого фильтра, т.е. Z4-Zmin=109,41-103,2=6,21 м.
Общие потери напора при промывке самого удаленного скорого фильтра
составят:
∑hф=hдр+hф. з. +hпс + hl, м.
Величина hдр
представляет собой потери в дренажной системе, равные:
Для прямолинейной распределительной трубы или коллектора с
круглыми отверстиями коэффициент местного сопротивления будет равен:
.
Кп - коэффициент
перфорации 0,15 ≤ Кп ≤0,2.
,
Потери напора в фильтрующей загрузке составят:
, м
а и в
- зависят от типа загрузки и для кварцевого песка с размером зерен 0,5…1,0
мм будут равны 0,76 и 0,017.
Потери напора в поддерживающих гравийных слоях hп. с определяются по формуле:
hп. с. =0,22Нп. с=0,22·1,1=0,2 м.
Потери напора по длине h1 от промывного насоса до самого удаленного
фильтра составят:
h1=1,1·i· l, м.
l - длина
трубопровода промывной воды, принимаем равной 100 м с дальнейшим уточнением при
построении генплана очистных сооружений.
h1=1,1·0,00358· 100=0,4 м.
Напор на излив воды hизл принимают равным 1,5 м.
Нн= 6,21 + 3,62+1+0,2+0,4 + 1,5=12,93 м
По величинам Нн=12,93 м и qн =350 л/с подбираем
промывной насос (1рабочий, 1 резервный) с основными характеристиками:
· Марка Д1250-14;
· Подача 375 л/с;
· Напор 16 м;
· Частота вращения рабочего колеса 750 об/
мин;
· Мощность насоса 45 кВт;
· КПД =82%
· Диаметр рабочего колеса 460 мм.
Рисунок 9 - Схема подачи промывной воды
Расчет
складских и вспомогательных сооружений
На территории очистных сооружений предусматривают складские
сооружения навесного и ангарного типа без обогрева для хранения поступающих
реагентов.
Для хранения запаса хлора предусматривается склад площадью 15
м2.
Для хранения бочек с фтором предусматривается склад площадью
20 м2.
Для догрузки песка в фильтры предусматриваем открытую
площадку размером 3х5 м, высота песка до 1,5 м. Если на территории ОС
существует автономная котельная, то предусматриваем площадку для угля и золы.
В качестве вспомогательных сооружений согласно пункту 6.201
/1/ предусматриваем гардероб, душ, санузел, комната для дежурного персонала,
кабинет начальника станции и приводим их площади в соответствии с табл.31/1/.
· Комната для дежурного персонала - 10 м2;
· Кабинет начальника станции - 6 м2;
· Душевая - 1,6 м2;
· Гардероб - 9 м2;
· Санузел - 1 м2.
Расчет
резервуаров чистой воды
Общий объем резервуаров чистой воды:
Wp - регулируемый объем, м3,Wсн - объем на собственные нужды, м3,Wпож - объем на пожаротушение, м3.
Кн - коэффициент
часовой неравномерности насосной станции первого подъема, равен 1,0;
Кч
- коэффициент часовой неравномерности расхода воды в населенном пункте,
определяется по графику водопотребления населенного пункта, принимаем равным
1,45.
Принимаем 2 резервуара объемом 2000 м3.
Расчет
насосной станции второго подъема
По результатам гидравлических расчетов водопроводной сети
населенного пункта насосная станция второго подъема должна обеспечивает подачу
воды в максимальный час водопотребления с расчетным напором, который в данном
случае можно принять 30…45 м. Принимаем напор 40 м, тогда Нн=40 м,
а расход воды:
Принимаем ц/б насосы (один рабочий и один резервный),
По Qн
и Нн принимаем насос Д500-63 и приводим его
техническую характеристику:
· подача 520 м3/ч;
· напор 50 м;
· частота вращения рабочего колеса 1450
об/мин;
· мощность насоса 59 кВт;
· КПД насоса 78 %;
· Диаметр рабочего колеса 375 мм.
Обработка
промывных и сбросных вод
Процессы подготовки воды природных источников для питьевых и
технических нужд обычно связаны с образованием больших количеств промывных и
сбросных вод и сопутствующих им осадков. В связи с этим возникает проблема
обработки таких сточных вод и осадков водопроводных станций при условии
соблюдения правил охраны поверхностных и подземных вод от загрязнения и
ограниченности земельных площадей для размещения осадка.
Принимаем схему обработки промывных и
сбросных вод при осветление промывной воды в отстойниках периодического
действия и последующая перекачка в трубопровод перед смесителем.
Объем отстойников принимают равным:
Wотс - объем отстойника
промывных вод, м3;
Wосв - объем зоны осветления, м3;
Wос - объем зоны накопления
осадка, м3.
Средний расход промывной воды определяем по формуле:
, м3/ч;
где Tпр - общее время промывки фильтров в сутки, равно 0,6 ч.
Wпр - объем воды, идущий на промывку всех фильтров.
где Тотс - время отстаивания, равное 4 часам.
Wотс = 2150,4 + 1075,4 =3225,6 м3.
Принимаем два отделения горизонтального отстойника с длиной 20,5
м, высотой 8 м, шириной 20 м, тогда Wотс =3280м3.
На установках обезжелезивания воды промывные воды после фильтров
подвергают отстаиванию не менее 3 часов, а затем осветленную воду применяют
повторно. Осадок можно использовать для получения охры. Образующийся при
обработке воды осадок подвергается обезвоживанию на иловых площадках.
Принимаем три иловые площадки размером каждая 20х40 м.
Подбор насоса для перекачки промывных вод осуществляется на
расход, определяемый по формуле:
, м3/ч;
м3/ч.
Из /30/ принимаем насосы типа 8К18 (1 резервный и 1 рабочий) со
следующими характеристиками:
· Подача: 330 м3/ч
· Напор: 16 м
· Частота вращения рабочего колеса: n=1500 об/мин
· Мощность насоса: 22 кВт
· КПД=69%
· Диаметр рабочего колеса: 128 мм.
Для перекачки осадка из горизонтального отстойника на
сооружения по обезвоживанию подбираем насос в зависимости от расхода осадка:
, м3/ч (9);
м3/ч
Схема обработки промывных и сбросных вод
Принимаем насос типа К90/20 по следующим показателям:
· Подача: 110 м3/ч
· Напор: 16 м
· Частота вращения рабочего колеса: n=3000 об/мин
· Мощность насоса: 7,5 кВт
· КПД=55,5%
· Диаметр рабочего колеса: 126 мм.
Рисунок 10 - Насос типа К
Заключение
В данном курсовом проекте запроектирована водоочистная станция,
которая обеспечивает потребителя качественной водой. В процессе обработки
происходит обезжелезивание воды, ее хлорирование и фторирование, улучшаются
органолептические показатели воды.
Однако при проектировании сооружений водоподготовки подземных
вод необходимо учитывать возможность изменения качества воды в ходе
эксплуатации установок, особенно вследствие возможного перетекания подземных
вод с повышенным содержанием коррозионно-активных химических элементов с
участков, расположенных в зоне влияния скважины.
Литература
1.
СНиП 2.04.02-84 "Водоснабжение. Наружные сети и сооружения".
.
Абрамов Н.Н. "Водоснабжение: Учебник для вузов" - М.: Стройиздат,
1982г.
.
Карасев Б.В. "Насосы и насосные станции" - Мн.: Высшая школа, 1979г.
.
Николадзе Г.П., Минц Д.М., Кастальский А. А." Подготовка воды для
питьевого и промышленного водоснабжения" - М.: Высшая школа, 1984г.
.
Басс Г.М. и др. Строительство водопроводных очистных станций: Учебник для вузов
по спец. "Водоснабжение и канализация" /Басс Г.М., Белецкий Б.Ф.,
Владыченко Г.П. - М.: Высш. шк., 1979. - 172с.: ил.
.
Оборудование водопроводно-канализационных сооружений / Москвитин А.С.,
Москвитин Б.А., Мирончик Г.М., Шапиро Р. Г.; Под ред. Москвитина А.С. - М.:
Стройиздат, 1979. - 430с.: ил. - (Справочник монтажника).
.
Старинский В.П., Михайлик Л.Г. Водозаборные и очистные сооружения коммунальных
водопроводов: Учеб. пособие по спец.29.08 и 29.05. - Мн,: Выш. Шк., 1989. -
204с.: ил.
.
Шевелев Ф.А. Таблицы для гидравлического расчета отдельных чугунных, асбестоцементных
и пластмассовых водопроводных труб. - М.: Стройиздат, 1984.
.
Шевелев Ф.А. Таблицы для гидравлического расчета отдельных чугунных,
асбестоцементных и пластмассовых водопроводных труб. - М.: Стройиздат, 1984.