Непрерывная разливка металлов
ОГЛАВЛЕНИЕ
1.
Состояние и перспективы развития непрерывной разливки в России
1.1
Исторический обзор развития процессов непрерывной разливки в
1.2
Непрерывная разливка стали на слябы
2.
Совершенствование конструкции промежуточного ковша
2.1
Условия загрязнения стали неметаллическими включениями при разливке на мнлз
2.2
Промежуточный ковш. Конструкция. Эксплуатация
2.3
Конструкция современных промежуточных ковшей
2.4
Формы порогов, перегородок и турбогасителей, применяемых в промежуточных
ковшах. Их достоинства и недостатки
2.5
Холодное моделирование гидродинамики в промежуточном ковше 52
2.6
Гидродинамика промежуточного ковша без установки рафинирующих устройств
2.7
Гидродинамика промежуточного ковша с овальным турбогасителем
2.8
Гидродинамика промежуточного ковша с перегородками
2.9
Гидродинамика промежуточного ковша с перегородками и круглым турбогасителем
2.10
Гидродинамика промежуточного ковша с перегородками и круглым турбогасителем,
имеющим разгрузочные окна
2.11
Результаты отработки технологии рафинирования стали в 50-и тонных промежуточных
ковшах КЦ-1 ОАО “НЛМК“
2.12
Результаты отработки технологии рафинирования стали в 23-х тонных промежуточных
ковшах КЦ-2 ОАО “НЛМК“
3.
Совершенствование защиты металла от вторичного окисления
3.1
Промышленные технологические схемы разливки и защиты металла
3.2
Защита струи металла на участке сталеразливочный ковш - промежуточный ковш,
промежуточный ковш - кристаллизатор
3.3
Функции и свойства шлакообразующих смесей для кристаллизатора
3.3.1
Составы шлакообразуюших смесей
3.3.2
Рекомендации по подбору и разработке шос
4.Экономическая
часть
4.1
Технико - экономическое обоснование темы дипломной работы
4.2
Сетевой график выполнения дипломной работы
4.2.1
Составление перечня работ
4.2.2
Составление сетевого графика
4.2.3
Расчет основных параметров сетевого графика
4.2.4
Оптимизация сетевого графика
4.3
Расчет затрат на выполнение дипломной работы
4.3.1
Затраты на заработную плату
4.3.2
Прочие расходы
5.
Безопасность труда
5.1.1
Расположение и планировка цеха
5.1.2
Анализ условий труда разливщика в конвертерном цехе
5.2.
Мероприятия по обеспечению безопасности труда
5.2.1
Опасность механических повреждений
5.2.2
Опасность поражения электрическим током
5.2.3
Взрыво- и пожаробезопасность
5.2.3
Опасность ожогов
5.2.4
Шум
5.2.5
Запыленность, загазованность
5.2.6
Освещение
5.2.7
Микроклимат
Список
литературы
1. СОСТОЯНИЕ И ПЕРСПЕКТИВЫ РАЗВИТИЯ НЕПРЕРЫВНОЙ
РАЗЛИВКИ В РОССИИ
сталь разливка ковш кристаллизатор
1.1 ИСТОРИЧЕСКИЙ ОБЗОР РАЗВИТИЯ ПРОЦЕССОВ
НЕПРЕРЫВНОЙ РАЗЛИВКИ В МИРЕ
Идея замены технологии разливки металлов в
изложницы на непрерывную известна достаточно давно - еще с середины XIX века.
Существо процесса заключается в том, что жидкий металл, расположенный в ковше,
заливают сверху в медный водоохлаждаемый кристаллизатор, из нижней части
которого вытягивают затвердевшую по периметру заготовку с жидкой сердцевиной,
постепенно охлаждаемую путем орошения его поверхности водой или водовоздушной
смесью. После полного затвердевания заготовку разрезают на мерные длины, которые
определяются требованиями прокатного производства. Таким образом, можно
разливать от одной до нескольких десятков плавок без остановки машины. При этом
поперечное сечение заготовки определяется сечением кристаллизатора, что
позволяет ликвидировать два традиционно энергоемких этапа металлургического
производства - нагрев слитков перед прокаткой в нагревательных колодцах и
прокатку непосредственно на обжимных станах (блюмингах и слябингах).
С некоторыми допущениями технического характера
можно говорить, что идеи непрерывной разливки в общем виде сформулированы в
патентах Дж. Селлерса (1840 г.), Ж. Лэинга (1843 г.) и Г. Бессемера (1856 г.).
Однако в этих патентах (как и во многих последующих) отсутствовал принцип
сообщения кристаллизатору возвратно-поступательных движений в ходе разливки
стали.
Впервые идею и систему сообщения кристаллизатору
определенных колебаний запатентовал немецкий ученый З.Юнганс в 1933 г. По
существу, это стало отправным моментом к массовому развитию непрерывной
разливки в промышленных масштабах. Первые полупромышленные (пилотные) установки
появились сразу после окончания второй мировой войны в нескольких ведущих
индустриальных странах. Так, опытные машины вертикального типа были сооружены в
1946 г. на заводе в городе Лоу Мур (Великобритания), в 1948 г. - на фирме
«Бабкок и Уилкокс» (Бивер Фоле, США), в 1950 г. - на фирме Маннесманн АГ (город
Дуйсбург, Германия) [1].
В СССР первая опытная машина непрерывной
разливки стали (МНЛЗ) вертикального типа ПН-1-2 ЦНИИчермета была сооружена в 1945
г. и предназначалась для отливки заготовок круглого и квадратного сечений
(размер стороны квадрата и диаметра до 200 мм). Опыт работы на этой установке
позволил определить некоторые основные особенности технологического процесса
разливки и связанные с ними требования к конструкции отдельных узлов машины. В
1947 г. была пущена экспериментальная МНЛЗ ПН-3 ЦНИИчермета, предназначенная
для исследований и разработки технологического процесса полунепрерывной
разливки стали и специальных сплавов в заготовки мелких сечений. В 1948 г.
построена установка ПН-4 для разливки стали различных марок на слябы толщиной
200 мм и шириной 500 мм, а в 1949 г. - установка ПН-5 ЦНИИчермета, позволявшая
разливать слиток с максимальной толщиной
мм и шириной 900 мм.
Первая горизонтальная МНЛЗ была построена на
заводе «Серп и молот» в конце 1949 г. (машина М.Ф.Голдобина) [1], на которой в
течение пяти лет было отлито 9500 т стали. Двумя годами позже в мартеновском
цехе Бежецкого машиностроительного завода была сооружена опытно-промышленная
машина непрерывной разливки наклонного типа (квадратная заготовка). Однако
установки горизонтального и наклонного типов получили гораздо меньшее
распространение, чем вертикальные из-за ряда существенных недостатков. С 1951
г. на заводе «Красный Октябрь» работает первая в СССР опытно-промышленная
установка непрерывной разливки стали вертикального типа.
Между тем, в течение первого десятилетия после
начала экспериментальных работ промышленное использование процесса непрерывной
разливки развивалось относительно медленно, что, вероятно объясняется некоторой
инерционностью в развитии новых технологий.
Бурное его распространение и широкое внедрение
машин непрерывной разливки стали происходило с начала 60-х г.г. в странах
Западной Европы, СССР, Японии и США (рис. 1). Этому способствовал экономический
рост, наблюдаемый в большинстве промышленно развитых стран мира, что
обусловило, по сути, быстрое внедрение многих высокоэффективных технологических
процессов и стимулировало развитие новых технологических построений в черной
металлургии.
Рис. 1. Динамика возрастания объемов
производства стали (Пс), разливаемых на МНЛЗ.
Хорошо известно, что именно в этот период
произошла трансформация конструкций МНЛЗ из вертикальных в радиальные, а затем
криволинейные с прогрессирующим разгибом (рис. 2), что позволило существенно
снизить затраты на строительство МНЛЗ и уменьшить, срок их окупаемости.
Рис. 2. Схемы основных типов машин для
непрерывной разливки стали: a - вертикальная; b - вертикально-радиальная; с -
радиальная; d - криволинейная; e - радиально-криволинейная; f- горизонтальная.
На практике было реализовано много
высокоэффективных решений относительно конструкции кристаллизатора, использования
новых расходуемых материалов (шлакообразующая смесь, огнеупоры для дозирования
истечения стали), оптимизации зоны вторичного охлаждения и пр. В целом к концу
80-х г.г. процесс непрерывной разливки стали получил всемирное признание и стал
определяющим в сталелитейном производстве.
Основные преимущества непрерывной разливки стали
по сравнению с традиционной разливкой в изложницы заключаются в следующем:
существенное повышение выхода годной продукции
по отношению к объему жидкой стали за счет исключения отходов с обрезью,
возникающих при разливке в слитки;
значительное снижение энергозатрат в связи с
уменьшением количества технологических циклов нагрева и прокатки от заготовки
до конечной продукции;
радикальное повышение качества продукции за счет
получения непрерывнолитой заготовки высокого качества и стабильного химического
состава;
уменьшение затрат ручного труда и улучшение
условий труда рабочих;
возможность комплексной автоматизации процесса
разливки стали;
снижение экологической нагрузки на окружающую среду.
В настоящее время непрерывная разливка стали
освоена более чем в 90 странах мира. Успешно действует примерно 1750 МНЛЗ, что
позволяет отливать на них более 85% всей производимой стали [1]. Ожидается, что
практически полное оснащение предприятий черной металлургии машинами непрерывной
разливки стали произойдет примерно к 2020 г. Промышленно производятся
непрерывнолитые заготовки следующих максимальных сечений: блюм 600x670 мм сляб
250x3200 мм и круг диаметром 600 мм.
Доля метода непрерывной разливки в общем объеме
производства стальной заготовки ведущих мировых производителей составляет:
Япония - 96.97%,
США - 93...94%.
Китай - 54...55%,
страны ЕС - 95...96%,
страны СНГ - 35.37%,
Россия - 45...50%.
Украина - 18.20%,
Бразилия - 72...74%,
Индия - 42...43%.
Непрерывная разливка стали в течение последних
40-45 лет прошла несколько поворотных этапов [1].
На первом этапе (50-е - середина 60-х г.г.)
осуществлялась теоретическая проработка и промышленное оформление способа
непрерывной разливки стали, что позволило создать объективные предпосылки для
уверенного выхода на рынок новых технологий. Уже тогда непрерывная разливка
стали обеспечила прямое (без обжимного передела) получение промышленной
заготовки различных сечений (сляб, блюм, сортовая заготовка и т.п.).
Второй этап (60-е - начало 70-х г.г.)
характеризуется быстрым внедрением МНЛЗ на многих металлургических заводах
промышленно развитых стран мира. В этот период производителям МНЛЗ пришлось
конкурировать с консервативным, но сравнительно дешевым процессом разливки
стали в слитки. Это потребовало создания новой системы технологий в
сталеплавильном переделе. В конечном счете, основные показатели, достигаемые
при непрерывной разливке стали, заметно превзошли лучшие показатели слиткового
передела. В максимальной степени проявились преимущества непрерывной разливки -
высокая экономическая эффективность, энерго- и ресурсосбережение, а также
полная адаптация к конкретным сталеплавильным цехам. К концу этого периода
стало совершенно очевидным, что непрерывнолитая заготовка не уступает по
качеству заготовке, полученной прокаткой на обжимном стане. Выход годной
заготовки составлял уже 94...97% (против 78...82% при разливке в слитки), что в
совокупности с исключением из системы технологических процессов обжимных станов
рассматривалось как одно из наиболее эффективных энерго- и ресурсосберегающих
мероприятий в черной металлургии в целом.
Третий этап (70-е - 80-е г.г.) характеризуется
двумя основными тенденциями. Во-первых, окончательно оформилась тенденция реконструкции
сталеплавильных цехов с целью их оснащения МНЛЗ. Стратегия неуклонного
повышения качества заготовки позволила существенно превысить традиционные
показатели качества, достигаемые при разливке металла в слитки. Кроме того,
произошла адаптация процесса МНЛЗ к различным типам заготовки, используемой в
прокатном производстве (сортовая заготовка, блюм, сляб, фасонная заготовка,
круг и т.п.). Но стратегически более важное значение приобрела тенденция
строительства новых сталеплавильных цехов и металлургических заводов со 100%
непрерывной разливкой стали, в первую очередь на слябы и блюмы. Эту тенденцию
во многом стимулировало совершенствование технологии доводки металла в ковше с
целью его рафинирования, модифицирования и легирования. Наиболее значимыми явлениями
в данный период стали, успешное совмещение слябовых и блюмовых машин
непрерывной разливки стали с кислородными конвертерами большой единичной
мощности: широкое внедрение в производство различных конструкций МНЛЗ.
технологий разливки, средств защиты стали от вторичного окисления, комплексных
систем автоматизации и пр.
С середины 80-х г.г. в практику
металлургического производства прочно вошло понятие «мини металлургические
заводы», которые стали успешно конкурировать с заводами полного цикла. В настоящее
время примерно 30% всей стали производится именно на таких заводах. Современное
содержание понятия «мини-завод» включает в себя: минимальные затраты на
производство, минимальные выбросы технологических отходов в окружающую среду,
минимальные простои оборудования и агрегатов, минимальный производственный цикл
при максимальной производительности, продажах, рентабельности и т.п. Обычно к
этой категории относят заводы с объемом производства 0.1. .1,6 (2) млн. т стали
в год. По разным оценкам, в мире в настоящее время насчитывается около 500-600
мини заводов.
Мини металлургический завод - это комплекс,
состоящий из следующих агрегатов: электродуговая печь, установка доводки стали
в ковше «печь-ковш», высокопроизводительная машина непрерывной разливки стали и
группа прокатных станов. Основу успешного функционирования мини
металлургических заводов составляет высокая экономическая эффективность работы
основных технологических агрегатов, входящих в их состав, а также высокая
степень их функциональной совместимости в едином производственном цикле. По
существу, связующим элементом между электродуговой печью и МНЛЗ является
агрегат «печь-ковш», в котором осуществляется комплекс мероприятий по доводке
стали по температуре и химическому составу, ее рафинированию, а также выдержке
по времени в соответствии с режимом разливки на МНЛЗ. Следует особо обратить
внимание на тот факт, что именно агрегаты, позволяющие выполнять
регламентируемый подогрев стали в ковше, обеспечили на практике как расширение
функциональных возможностей внепечной обработки и стабилизацию работы МНЛЗ при
разливке длинными сериями с выходом годного выше 96...97%, так и значительный
энерго- и ресурсосберегающий эффект. Однако обработка металла в агрегате
«печь-ковш» сопровождается значительными дополнительными затратами, что может
несколько повысить себестоимость металлопродукции непосредственно в
сталеплавильном цехе.
Исключительно важной особенностью новых мини
заводов является стремление конструкторов и технологов обеспечить максимально
высокую удельную производительность плавильных агрегатов и МНЛЗ, производящих
сортовую заготовку. Это достигается увеличением числа ручьев сортовых МНЛЗ (6-8
ручьев) и серийности разливки (без остановки машины).
Четвертый этап, начало которого относится к
концу 80-х или началу 90-х г.г., характеризуется заметным снижением темпов
роста объемов производства стали в мире и практически полным отсутствием
прироста в ведущих металлургических странах. Приведенные в табл. 1 данные
объемов производства стали в десяти ведущих странах мира свидетельствуют о том,
что в последнее десятилетие основной прирост был достигнут, в основном, за счет
КНР и Южной Кореи.
Ужесточение конкуренции на рынке
металлопродукции стимулировало создание новых эффективных технологических
процессов при внепечной обработке и непрерывной разливке стали. Весьма
характерным представляется тот факт, что примерно 50% всех МНЛЗ были сооружены,
или реконструированы именно в последние 10-12 лет. При этом на долю десяти
ведущих производителей стали в мире приходится примерно 30% (табл. 2).
Таблица 1. Динамика изменения объемов
производства стали в десяти ведущих странах мира
|
Страна
|
1992г.
|
1998г.
|
2001г.
|
Откл.
2001г. от 2000г., млн. т
|
|
млн
т
|
ранг
|
млн
т
|
ранг
|
млн
т
|
ранг
|
|
|
КНР
|
81
|
3
|
115
|
1
|
141
|
1
|
16
|
|
Япония
|
98
|
1
|
94
|
3
|
103
|
2
|
-4
|
|
США
|
84
|
2
|
98
|
2
|
90
|
3
|
-11
|
|
Россия
|
67
|
4
|
44
|
5
|
58
|
4
|
0
|
|
Германия
|
40
|
6
|
44
|
4
|
45
|
5
|
-2
|
|
Южная
Корея
|
28
|
7
|
40
|
6
|
44
|
6
|
1
|
|
Украина
|
42
|
5
|
24
|
9
|
33
|
7
|
2
|
|
Индия
|
18
|
10
|
24
|
0
|
27
|
8
|
0
|
|
Бразилия
|
24
|
9
|
26
|
7
|
27
|
9
|
-1
|
|
Италия
|
25
|
8
|
26
|
8
|
27
|
10
|
0
|
|
Итого
|
507
|
|
535
|
|
595
|
|
-3
|
|
Всего
в мире
|
720
|
|
776
|
|
824
|
|
-5
|
Отметим, что в странах с развитым автомобиле- и
судостроением (Япония, США, Корея, Германия) опережающий прирост наблюдается
для слябовых МНЛЗ.
В КНР первоочередное внимание уделяется
производству длинномерной заготовки, используемой в строительстве и
машиностроении. Видимо, следует ожидать, что потребность КНР в импорте
длинномерной заготовки и проката будет в будущем снижаться.
Таблица 2. Сравнительное количество вновь
построенных (Н) или реконструированных (Р) МНЛЗ с 1991 по 2000 г.г.
|
Страна
|
Слябо-вые
|
Блюмо-вые
|
Сортовые
|
Круг
|
Фасон
(балка)
|
Итого
|
|
Н
|
Р
|
Н
|
Р
|
Н
|
Р
|
Р
|
Р
|
Н
|
Р
|
Н
|
Р
|
|
КНР
|
7/8
|
2/3
|
12/
45
|
|
37/
514
|
6/35
|
7/17
|
|
1/3
|
|
170/
625
|
8/41
|
|
Япония
|
9/13
|
12/
17
|
3/6
|
3/13
|
13/
62
|
7/33
|
3/12
|
1/1
|
3/12
|
1/3
|
31/
105
|
24/
67
|
|
США
|
23/
27
|
8/10
|
8/30
|
3/15
|
9/38
|
11/
44
|
1/3
|
4/22
|
6/18
|
|
47/
117
|
26/
91
|
|
Корея
|
12/
15
|
5/9
|
3/13
|
2/11
|
6/37
|
6/31
|
1/3
|
4/22
|
6/18
|
|
28/
86
|
17/
91
|
|
Италия
|
3/3
|
3/5
|
2/7
|
2/8
|
10/
44
|
8/39
|
1/4
|
4/21
|
1/6
|
-
|
17/
60
|
17/
73
|
|
Индия
|
18/
20
|
|
10/
34
|
1/3
|
29/
83
|
2/5
|
3/6
|
-
|
-
|
-
|
60/
143
|
3/8
|
|
Германня
|
2/4
|
7/12
|
1/2
|
3/18
|
3/14
|
4/19
|
2/7
|
|
1/4
|
|
9/31
|
14/
49
|
|
Россия
|
8/17
|
3/8
|
1/4
|
-
|
-
|
.
|
3/16
|
|
1/2
|
-
|
13/
39
|
3/8
|
|
Бразилия
|
5/8
|
-
|
|
|
5/15
|
3/14
|
-
|
1/3
|
-
|
|
10/
23
|
4/17
|
|
Велико-британия
|
2/2
|
3/6
|
1/6
|
2/12
|
3/16
|
1/4
|
-
|
-
|
|
|
6/24
|
5/18
|
|
Украина
|
2/1
|
|
2/12
|
1/2
|
1/6
|
|
|
|
|
_
|
5/20
|
1/2
|
|
Итого
|
91/
115
|
43/
60
|
44/
159
|
17/
82
|
216/
829
|
48/
224
|
21/
68
|
14/
69
|
19/
63
|
1/3
|
396/
1273
|
|
Примечание.
В числителе указано число МНЛЗ. а в знаменателе общее число ручьев
|
Характеризуя особенности развития МНЛЗ в
последнее десятилетие следует отметить, что прогрессивные изменения коснулись
практически всех основных технологических и конструктивных аспектов и носили
взаимосвязанный характер.
.2 НЕПРЕРЫВНАЯ РАЗЛИВКА СТАЛИ НА СЛЯБЫ
Начало 70-х г.г. характеризуется широким
промышленным внедрением машин непрерывной разливки слябовой заготовки. На смену
низкоскоростным вертикальным МНЛЗ пришли радиальные и криволинейные машины,
имеющие значительно большую скорость разливки. Основные направления развития
слябовых МНЛЗ заключались в создании высокопроизводительных машин, позволяющих
синхронизировать работу крупных кислородно-конвертерных цехов. По сути, этот
этап завершился в середине 80-х г.г. практическим оформлением концепции
высокопроизводительных конвертерных цехов (вместимость конвертера свыше 300 т)
со 100% непрерывной разливкой стали. В настоящее время такие цеха успешно
функционируют во всех промышленно развитых странах мира. Одновременно была
фактически реализована технология разливки стали на сверхширокие слябы
(2500...2600 мм). Переход от разливки в слитки к непрерывной разливке также
полностью оформил тенденцию ужесточения требований к качеству продукции.
С середины 80-х г.г. технология непрерывной
разливки стали на слябы вошла в фазу совершенствования отдельных
технологических элементов и оптимизации функционирования МНЛЗ со всей
производственной цепочкой металлургического завода. При этом развитие процессов
непрерывного литья слябов происходит в условиях ужесточающейся конкурентной
борьбы на мировом рынке, основными требованиями которого являются повышение
качества продукции при одновременном снижении ее себестоимости. В настоящее
время около 60% отливаемых непрерывным литьем заготовок разливается на слябовых
МНЛЗ. Основными производителями непрерывнолитых слябов в мире являются Япония,
США, КНР, Германия, Корея и Россия. На их долю приходится более двух третей
мирового объема производства слябов. Сейчас в мире насчитывается чуть более 500
слябовых МНЛЗ с общим числом ручьев свыше 700 шт.
Нельзя не отметить, что МНЛЗ для получения
«классического» сляба претерпевают в последнее время серьезные конструкционные
изменения. Заключаются они в следующем:
безоговорочное предпочтение отдается МНЛЗ с
вертикальным кристаллизатором, что обеспечивает повышение качества заготовки
при одновременном росте производительности в 1,4... 1,5 раза;
применяется криволинейная схема технологической
линии МНЛЗ с многоточечным загибом и разгибом;
предусматривается возможность изменения ширины
заготовки в процессе разливки;
увеличивается вместимость промежуточного ковша
40...50 т и используется система перегородок для управления течением металла;
обязателен непрерывный замер температуры металла
в промежуточном ковше и в отдельных зонах движения заготовки.
расширяется применение технологии подогрева
металла непосредственно в промежуточном ковше;
часть операций по доводке стали переносится в
промежуточный ковш (продувка аргоном, обработка порошковой проволокой, подогрев
металла и т.п.);
ужесточаются требования к защите стали от
вторичного окисления на всем этапе движения стали от ковша до кристаллизатора;
все большее распространение получает технология
«мягкого» обжатия металла в ЗВО (зоне вторичного охлаждения);
применяется электромагнитное перемешивание
металла ниже кристаллизатора;
уменьшается диаметр поддерживающих роликов в
ЗВО;
обязательно используется система автоматического
контроля уровня металла в кристаллизаторе, а также система автоматической
подачи ШОС (шлаковых смесей) в кристаллизатор.
В результате вышеперечисленных изменений
существенно повышается производительность МНЛЗ, улучшаются качества поверхности
и внутренней структуры сляба, снижаются затраты на строительство машины, ее
обслуживание и т.п.
Резкое изменение представлений о современной
слябовой МНЛЗ привело к тому, что большинство машин в странах Европы, Японии и
США подвергаются серьезной реконструкции и модернизации. На рис. 3 в качестве
примера приведена схема общего вида слябовой МНЛЗ завода «Лейк Эрай Стал»
(Нантикоук, Канада) до и после реконструкции.
Рис. 3. Схема технологической линии слябовой
МНЛЗ до реконструкции а (число сегментов 7, диаметр роликов 146мм .. 480 мм,
две точки разгиба) и после реконструкции б (число сегментов 15, диаметр роликов
146 мм..310 мм, четыре точки разгиба)
Необходимость повышения производительности уже
существующих слябовых МНЛЗ во многом определяется теми показателями, которые
достигнуты в практике кислородно-конвертерного процесса. В первую очередь это
касается среднесуточной и среднемесячной производительности современных
конвертеров (рост в среднем на 25...30%). При этом простое увеличение скорости
вытяжки заготовки на уже существующих МНЛЗ представляется, как правило,
достаточно сложной процедурой в силу необходимости увеличения протяженности
зоны порезки заготовки. С другой стороны, тенденции развития мирового рынка
металлопродукции свидетельствуют о том, что все большее предпочтение отдается
слябовой заготовке толщиной 150...200 мм при ее ширине 1000... 1200 мм. Для
большего количества МНЛЗ выполнение этих требований приводит к снижению средней
производительности машины по сравнению с проектной.
В таких условиях существенным фактором,
увеличивающим среднемесячную производительность МНЛЗ, является повышение
серийности разливки между остановками. Как показывает практика ведущих
металлургических предприятий США и Японии, при определенных условиях
(синхронизации работы цеха и обеспечении промежуточных горячих обслуживании
МНЛЗ) длительность работы МНЛЗ может составлять месяц и более. Безусловно,
такие показатели следует считать рекордными. Однако нормальная практика
непрерывного литья слябов уже сегодня базируется на сериях в несколько суток.
Не останавливаясь на подробном анализе условий обеспечения непрерывной разливки
сверхдлинными сериями, отметим, тем не менее, что такая технология требует
принципиально новых подходов к автоматизации процесса разливки, подготовке
стали к разливке при ковшевой обработке, рациональной конструкции
промежуточного ковша и огнеупоров для разливки стали и т.п.
Производительность МНЛЗ, сооруженных по
вышеперечисленным принципам, в 1,5... 1,8 раза выше, чем у МНЛЗ, построенных 15
лет назад. Это позволяет предположить, что существенного роста количества МНЛЗ
в мире наблюдаться не будет, поскольку возрастет их удельная
производительность. Некоторое увеличение будет происходить за счет стран
Восточной Европы, Украины, России и Дальнего Востока (в первую очередь Китая).
Наиболее серьезным научным прорывом
представляется создание рядом западных фирм МНЛЗ для разливки сляба средней
толщины, обеспечивающей качество листа на уровне традиционного сляба.
Преимуществами такой технологии являются: высокое качество продукции,
возможность получения слябов шириной более 2500 мм, уменьшение потерь энергии и
металла в ходе последующего прокатного передела и пр. В данном случае в основу
технологии получения листа положена концепция литейно-прокатных модулей. Это
создало необходимые условия для строительства мини металлургических заводов,
конкурентоспособных по ряду параметров с интегрированными заводами, работающими
по традиционной технологии. Литейно-прокатные модули, созданные на базе
непрерывной разливки стали на сляб средней толщины, в настоящее время получают
все большее распространение в развивающихся странах (в странах, где наращивается
потребность в листовом прокате). Благодаря использованию наиболее современных
достижений в области непрерывной разливки стали (электромагнитное
перемешивание, «мягкое» обжатие, погружной стакан типа «бобровый хвост» и пр.)
эти модули продолжат развиваться и в будущем.
Одним из направлений улучшения слябовых МНЛЗ
является удовлетворение возрастающих требований к качеству продукции. Для этих
целей на практике все чаще применяют усовершенствованные прямолинейные
кристаллизаторы, которые могут быть использованы и на уже работающих машинах
после соответствующей реконструкции.
В целом же современные разработки в области
конструкции кристаллизаторов сфокусированы на увеличении скорости разливки
путем интенсификации режимов охлаждения и частоты качаний, оптимизации закона
колебаний кристаллизатора; воздействии на потоки металла в кристаллизаторе
электромагнитным торможением для снижения односторонней ассимиляции
неметаллических включений при использовании криволинейного кристаллизатора, а
также для смягчения флуктуации уровня ванны при очень больших скоростях
разливки; дальнейшем увеличении долговечности плит кристаллизатора с помощью
новой техники нанесения покрытий и пр. [1].
К приоритетным направлениям совершенствования
конструкции МНЛЗ относится применение гидравлического привода для обеспечения
качания кристаллизатора при использовании несинусоидального закона колебаний.
Гидравлическая система привода кристаллизатора обеспечивает следующие
технологические и операционные преимущества:
• оперативное варьирование амплитуды колебаний
кристаллизатора;
• то же, частоты колебаний кристаллизатора;
• изменение формы кривой колебаний (задание
скоростей движения кристаллизатора на различных этапах);
• предотвращение дрожаний (вибраций)
кристаллизатора, обычно сопровождающих работу электромеханического привода;
• более безопасную и быструю замену
кристаллизатора;
• удобство в обслуживании привода
кристаллизатора в ходе разливки вследствие выноса гидроцилиндров из
труднодоступной зоны;
• значительное уменьшение общей массы движущихся
в процессе качаний частей.
Дополнительным, но достаточно перспективным
фактором, способствующим повышению качества поверхности сляба, может стать
применение метода наложения на кристаллизатор горизонтальных колебаний, которые
синхронизированы с качаниями в вертикальной плоскости. По мнению различных
исследователей, этот метод значительно уменьшает следы качания на поверхности
сляба и соответственно число прорывов металла [1].
Большое значение, с точки зрения повышения
качества сляба, имеет оптимизация движения потоков стали в жидкой ванне
кристаллизатора. Особое внимание уделяется оптимизации геометрической формы
погружных стаканов. Многочисленными исследованиями подтверждено, что в
зависимости от скоростей разливки, сечения заготовки и марки стали, сечения
внутренней полости погружного стакана и его выходных отверстий, а также угол
наклона выходных отверстий могут изменяться в широких пределах [1]. Безусловно,
конструкция погружных стаканов будет развиваться и в дальнейшем.
Применение новых материалов и способов обработки
огнеупорных изделий позволяет повышать стойкость погружных стаканов против
термических ударов, уменьшать скорость износа в зоне шлакового пояса и
интенсивного движения потоков жидкой стали, а также предотвращать зарастание внутренней
полости при разливке сталей, раскисленных алюминием. При этом особое внимание
должно уделяться обеспечению симметричности течения потоков и условий
эффективной инжекции аргона в жидкую ванну кристаллизатора [1].
В настоящее время все большее распространение
получает метод электромагнитного торможения потока стали, попадающей в
кристаллизатор. Это дает возможность существенно снизить скорость движения
потоков, ограничить их проникновение вглубь жидкой фазы заготовки, а также
обеспечить их рациональное движение. Вероятно, в ближайшее время этот метод
получит развитие в совокупности с использованием погружных стаканов оптимальной
геометрической формы, которая будет создаваться для каждого конкретного случая
[1].
При повышении качества внутренних зон непрерывнолитых
слябов особое внимание уделяется условиям движения заготовки в зоне вторичного
охлаждения. Помимо объективных процессов развития ликвации в ходе
затвердевания, на качество заготовки существенно влияют интенсивность
охлаждения, ферростатическое давление, соблюдение геометрических размеров в
зависимости от установки направляющих роликов и пр. Вполне понятно, что
устранить эти факторы без дополнительных мероприятий на практике крайне сложно.
По свидетельству ряда исследователей, эта задача достаточно успешно решается
при использовании метода «мягкого» обжатия заготовки в конце жидкой зоны [2].
Основные положительные эффекты указанного метода: значительное подавление
осевой пористости, снижение коэффициента осевой ликвации и улучшение условий формирования
кристаллической структуры в зоне равноосных кристаллов, уменьшение V-
-образной ликвации [1].
В конце 80-х и начале 90-х г.г. в мире
сформировалось новое направление непрерывной разливки на слябы - литье тонких
слябов и сооружение МНЛЗ, совмещенных с прокатным станом [3]. Такая
производственная линия предназначается для конкретного диапазона размеров
заготовки и марок стали; т.е. имеет целевое назначение. В развитии МНЛЗ для
литья тонких слябов в большей степени заинтересованы
мини-заводы, пытающиеся попасть на рынок листовой продукции, и металлургические
заводы с полным циклом, которые нуждаются в реорганизации производства и в
замене существующих агрегатов. В настоящее время таких МНЛЗ насчитывается чуть
более сорока, около двух третей из них находится в США и развитых странах.
Как всякий новый процесс, литье тонких слябов
имеет ряд многообещающих особенностей, но также характеризуется некоторыми
«узкими» местами.
Последние данные промышленного использования
метода литья тонких слябов показывают, что конструктивная реализация таких МНЛЗ
требует принципиально новых решений в следующих вопросах: конструкции
кристаллизатора; оптимизации подвода жидкой стали из промежуточного ковша в
кристаллизатор; использования метода «мягкого» обжатия; использования
специальной системы по предотвращению прорывов; разработки специальной системы
удаления окалины; оптимизации отрицательного времени раздевания слитка и пр.
Между тем, уже сегодня можно говорить, что
технология непрерывного литья тонких слябов с обжатием при наличии жидкой фазы
с последующей прокаткой позволяет снизить капитальные затраты и затраты по
переделу, улучшить свойства материала готовой продукции при равномерном
качестве поверхности.
Таким образом, можно сформулировать общие
тенденции развития процессов непрерывной разливки стали на слябовых МНЛЗ:
• в предстоящие годы существенного
количественного увеличения объема непрерывнолитых слябов происходить не будет;
основное внимание будет уделяться проблемам качества заготовки, снижения
издержек на разливку и т.п.;
• повышение качества поверхности непрерывнолитых
слябов будет достигаться модернизацией конструкции кристаллизаторов
(прямолинейный кристаллизатор) с использованием гидропривода для механизма
качания;
• улучшение параметров течения металла в кристаллизаторе
за счет использования погружных стаканов оптимальной геометрической формы и
метода электромагнитного перемешивания;
• развитие функциональных возможностей
промежуточного ковша: повышение его эксплуатационных показателей (стойкость) и
доводка стали (рафинирование и регулирование температуры);
• использование систем прогрессивного
многоточечного загиба и разгиба заготовки для уменьшения пораженности заготовки
внутренними трещинами;
• применение метода «мягкого» обжатия заготовки
с жидкой сердцевиной с целью подавления осевой пористости и ликвации.
• развитие концепции непрерывного литья тонких
слябов с их обжатием и последующей прокаткой в горячем состоянии и
соответствующим повышением конкурентоспособности мини-заводов на мировом рынке
листовой продукции;
• повышение степени автоматизации работы МНЛЗ с
включением в единую систему всех параметров жидкой стали, условий охлаждения
стали в кристаллизаторе и зоне вторичного охлаждения при наличии обратной
связи.
2. СОВЕРШЕНСТВОВАНИЕ КОНСТРУКЦИИ ПРОМЕЖУТОЧНОГО
КОВША
.1 УСЛОВИЯ ЗАГРЯЗНЕНИЯ СТАЛИ НЕМЕТАЛЛИЧЕСКИМИ
ВКЛЮЧЕНИЯМИ ПРИ РАЗЛИВКЕ НА МНЛЗ
Основными источниками дополнительного
загрязнения металла неметаллическими включениями может служить вторичное
окисление стали при ее движении от сталеразливочного ковша до кристаллизатора,
а также огнеупорные и вспомогательные материалы, с которыми сталь вступает в
контакт в процессе движения [4]. Общий анализ возможных источников загрязнения
стали неметаллическими включениями (рис. 5) позволяет с достаточной степенью
уверенности разделить их в зависимости от механизма проявления на следующие
группы:
. Не всплывшие в шлак неметаллические включения,
являющиеся продуктами реакций раскисления стали;
. Мелкие частицы шлака, которые вовлекаются в
металл в результате турбулентного перемешивания струи с жидкой ванной металла и
покрывающего ее шлака;
. Продукты разрушения огнеупоров при контакте с
металлом и шлаком;
. Продукты прожигания канала шиберного затвора
кислородом;
. Вторичное окисление стали в ходе технологических
переливов. Безусловно, для обеспечения высокой чистоты стали в непрерывнолитой
заготовке необходимо предусматривать специальные мероприятия, препятствующие
развитию вышеперечисленных явлений. Наибольшее значение имеют следующие
процессы:
• вторичное окисление стали в начале процесса
непрерывной разливки стали;
• реакции с футеровкой промежуточного ковша и
покровным шлаком;
• потоки в промежуточном ковше и всплытие
включений;
• перетекание эмульгированного шлака из ковша в
промежуточный ковш с последними порциями металла;
• способы раннего обнаружения попадания шлака в
ковш;
• зарастание погружных стаканов;
• распределение неметаллических включений в
заготовках в радиальных и криволинейных МНЛЗ.
В начале разливки заполнение промежуточного
ковша происходит при открытом зеркале металла вплоть до засыпки
теплоизолирующей смеси.
Весь этот период металл активно контактирует с
окружающей атмосферой. По некоторым данным, в первые 5...6 мин. разливки
содержание кислорода в стали в 3...4 раза выше, чем при установившемся процессе
разливки (например, через 10 мин. содержание кислорода в стали падает в два
раза, а через 30 мин. уменьшается в 3...3,5 раза) [5].
Степень чистоты стали на заднем конце заготовки
вновь ухудшается, так как при полном опорожнении ковша в промежуточный ковш
попадает некоторое количество шлака. Дополнительно шлаковые включения могут
попасть в сталь при разливке последних порций каждого сталеразливочного ковша
из-за эффекта «воронки». В начале подачи металла из нового промежуточного ковша
также возможно загрязнение стали следствие попадания в промежуточный ковш
продуктов «прожигания» канала шиберного затвора кислородом.
Для переднего конца заготовки установлено, что
загрязненность неметаллическими включениями значительно уменьшается при
использовании торкрет покрытия на основе магнезита и теплоизолирующего покрытия
на основе золы рисовой шелухи.
Особое значение для ритмичной работы МНЛЗ
специальные по химическому и гранулометрическому составу засыпки, которые
размещаются в канале шиберного затвора перед заполнением металлом (рис. 6).
Рис. 5. Общая схема источников загрязнения стали
неметаллическими включениями при разливке на МНЛЗ
Рис. 6. Общая схема заполнения отверстия шиберного
затвора засыпкой:
- засыпка без термофизических превращений;2 -
спеченный при контакте со сталью слой засыпки;3 - гнездовой блок; 4- верхний
стакан; 5- шиберный затвор; 6- коллектор.
Функциональное назначение засыпки заключается в
предотвращении проникновения жидкой стали в канал шиберного затвора до его
открывания, а также быстром и беспрепятственном высыпанием из канала при
открытии затвора. Следует отметить, что с внедрением в технологический процесс
методов внепечной обработки время пребывания металла в ковше существенно
увеличилось, что соответственно повысило требования к качеству и
эксплуатационным свойствам засыпки.
Известно, что в случае неоткрытия шиберного
затвора (засыпка самопроизвольно не высыпалась) его канал прожигают кислородом.
Этот процесс сопровождается образованием большого количества оксидов железа,
которые попадают в промежуточный ковш. На практике отмечено повышение в 1,5...2
раза содержания кислорода в головной части заготовки при прожигании канала
шиберного затвора.
На многих металлургических заводах Украины и
России используют смесь природного кварцевого песка с определенным количеством
аморфного графита [6]. Однако такие засыпки характеризуются низким уровнем
открывания канала шиберного затвора (30...60%) при высокой степени колебаний
результатов от одной партии материала к другой. На японских заводах, если
используют в качестве засыпки кварцевый песок, уделяют особое внимание его
химическому составу (SiO; > 98%), чтобы повысить показатель открываемости
затвора без прожиганий.
Ряд металлургических заводов применяет
ставролитовый концентрат (Al2O3 = 49,6%; SiO2 = 27,5%; Fe2O3, = 12,2%; TiO2 =
3,5%) определенного гранулометрического состава (0,4...0,7 мм). Однако этот
материал требует предварительного прокаливания перед применением при
температуре 250...350°С, что значительно усложняет процесс его эксплуатации.
В последнее время для засыпок создают специально
приготовленные смеси. Например, в США запатентована засыпка состоящая из
кварцевого песка с размером зерен 0.5...3,5 мм, которые плакированы мелкими
частицами минерала из группы полевых шпатов, имеющих температуру плавления
1000-1700°С. Содержание полевого шпата в засыпке колеблется от 5 до 30%, а
размер его частиц - менее 0,15 мм. Особенность данного материала заключается в том,
что он, спекаясь в момент контакта с жидкой сталью, образует корочку, которая
препятствует проникновению металла в поры между частицами. При открытии
шиберного затвора она разрушается под давлением жидкой стали [1].
По данным ККЦ-1 Новолипецкого металлургического
комбината, специальная смесь Боровичского огнеупорного завода обеспечила
открывание шиберного затвора около 80% [7]. Однако такой показатель вряд ли
следует считать удовлетворительным, поскольку в соответствии с теорией
статистики существует высокая степень вероятности неоткрывания двух ковшей
подряд, что значительно повысит загрязненность стали неметаллическими
включениями в течение длительного периода разливки.
На наш взгляд, концепция разработки смеси для
засыпки в канал шиберного затвора должна предполагать его открывание во всех
случаях, кроме экстремальных, которые, как показывает статистический анализ, не
могут превышать 1...1,5%.
В результате исследований установлены основные
технологические причины, по которым засыпка не высыпается из канала шиберного
затвора:
•наличие в засыпке компонентов, склонных
спекаться при высоких температурах и образовывать жесткий каркас, который не
разрушается при открытии затвора;
•присутствие компонентов, склонных к газотворным
проявлениям. Если в момент возникновения в канале затвора избыточного газового
давления на верхней части столба засыпки не успела образоваться достаточно
прочная корка, то газы устремляются в жидкий металл, разрушая корку и образуя в
столбе засыпке полости, которые могут заполняться металлом;
•высокая пластичность засыпки. Под воздействием
ферростатического давления она уменьшает свой объем, что приводит к
растрескиванию спекшейся корочки в верхней части столба засыпки и протеканию
металла в засыпку;
•низкая текучесть засыпки, не позволяющая ей
быстро высыпаться из канала при открывании затвора. При этом часть смеси
смешивается с металлом и прилипает к стенкам коллектора, препятствуя
нормальному процессу разливки;
•низкая термомеханическая устойчивость, т.е.
склонность смеси оплавляться при соприкосновении с жидким металлом;
•разрушение верхней части столба засыпки струей
падающего металла, что приводит к образованию «пробок» в канале шиберного
затвора.
На первый взгляд, достаточно перспективным
представляется использование в засыпке кварцевого песка. Кварц, являющийся
одной из форм существования кремнезема (SiOi), обладает высокой огнеупорностью
(1713°С), твердостью (7 баллов по шкале Мооса) и низкой химической активностью.
К серьезным недостаткам кварца как основы засыпки относятся его аллотропические
изменения при нагреве и охлаждении. Известно, что при температуре 575°С β-кварц
переходит в α-кварц, что
сопровождается увеличением его объема на 2,4%. Кроме того, природные кварцевые
пески содержат примеси оксидов железа, полевого шпата, слюды и других
материалов. Полевой шпат и слюда содержат оксиды щелочных и щелочноземельных
металлов. Все эти примеси являются вредными, так как снижают огнеупорность
кварца, образуя с ним и оксидами металла сложные легкоплавкие силикаты. С
учетом изложенного следует признать, что создание засыпки только на основе
кварцевого песка представляется весьма проблематичным.
Таблица 3. Химический состав и физические
свойства засыпок, используемых для открывания шиберных затворов
|
Химический
состав, %
|
А
|
Б
|
В
|
Г
|
|
SiO2
|
36
|
26
|
66
|
24
|
|
Cr2O3
|
28
|
34...35
|
-
|
9...10
|
|
ZrO2
|
-
|
-
|
32,5
|
49...50
|
|
Fe2O3
|
19
|
14...16
|
-
|
6
|
|
CaO
|
0,1
|
-
|
0,1
|
-
|
|
TiO2
|
10,5
|
-
|
0,15
|
-
|
|
Al2O3
|
<0,1
|
11
|
0,2
|
3...4
|
|
MgO
|
6
|
7,5
|
0,2
|
|
|
Na2O
|
<0,1
|
<0,1
|
-
|
-
|
|
K2O
|
<0,1
|
<0,1
|
-
|
-
|
|
С
|
0,5
|
0,6
|
-
|
5
|
|
Влажность,
%
|
<0,15
|
<0,1
|
<0,15
|
0,1
|
|
Гранулометрический
состав, мм
|
0...1
|
0,1...1,2
|
0...1
|
0,1...1
|
|
Насыпная
плотность, кг/дм
|
2
|
2,2
|
1,9
|
2,5
|
|
Максимальная
температура применения, °С
|
1750
|
1800
|
1800
|
1870
|
Поскольку кварцевый песок не обеспечивает
достаточных эксплуатационных свойств, в состав засыпок вводят более огнеупорные
и химически стойкие наполнители: хромит или циркон [1]. Химический состав и
физические свойства таких засыпок, рекомендуемых различными производителями,
приведены в табл. 3.
Исследования, выполненные авторами на ряде
металлургических заводов Украины и России, показали, что засыпка типа Б,
имеющая фирменную маркировку Feurolan SM70A20, имеет индекс открывания
шиберного затвора без прожигания кислородом 99,1...99,2%. При этом уровень
открываний без внешнего вмешательства (подталкивания смеси трубкой в начальный
момент) для большинства металлургических заводов составляет 92,3...95%. Еще
более высокими показателями отличается засыпка Г, которая содержит большое
количество циркона, однако она примерно в 1,5... 2 раза дороже, чем засыпка Б.
Необходимо отметить, что такой уровень
показателя открывания затворов достигается при соблюдении определенной
совокупности мероприятий. К их числу относятся строгое соблюдение
гранулометрического состава и формы зерен засыпки при обязательном исключении пылевидной
фракции (<0,1 мм); исключение попадания в канал шиберного затвора кусков
шлака или металла при подаче засыпки, регламентирование количества засыпки с
целью создания так называемой «горки»; предотвращение попадания струи металла в
зону расположения засыпки.
Таким образом, в настоящее время на практике
могут быть использованы засыпки в канал шиберного затвора, обеспечивающие почти
100%-ное его открывание без прожиганий кислородом, что снижает содержание
оксидов в стали в начальные момент разливки и при перековшовках.
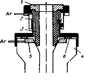
2.2 ПРОМЕЖУТОЧНЫЙ КОВШ. КОНСТРУКЦИЯ.
ЭКСПЛУАТАЦИЯ
В обычном понятии промежуточный ковш -
технологический узел, служащий для приема жидкой стали из сталеразливочного
ковша и подвода к кристаллизатору или к различным кристаллизаторам с помощью
многоручьевой установки. Состоит из промежуточной емкости простейшей
геометрической формы, крышки, перегородок, дозирующего узла, пробки
продувочной, а при подаче металла под уровень - питателя. Толщина стального
кожуха- 15 мм [8].
Рис. 7. Схема устройства промежуточного ковша: 1
- огнеупорный слой футеровки; 2 - теплоизоляционный слой футеровки; 3 - головка
стопора; 4 - стопор; 5 - стакан-дозатор; 6 - сменный блок; 7 - теплоизолирующая
крышка.
Промежуточный ковш должен давать возможность
точно регулировать количество металла, поступающего в кристаллизатор в единицу
времени. Он в ходе замены сталеразливочного ковша при серийной разливке плавок
позволяет продолжать разливку без снижения ее скорости, выполняя роль запасной
емкости. Емкость таких устройств составляет 6-70 т. В производстве нашли
наибольшее распространение промежуточные ковши емкостью 10, 23 и 50 т. Их
главная функция - распределение жидкого металла по сталевыпускным дозирующим
отверстиям (ручьям) с минимальными потерями тепла. Дополнительно выполняются
функции усреднения металла по химическому составу, температуре и повышению
качества слитка. Температура стали, поступающей в сталевыпускной канал не
должна снижаться более чем на 10-15°С.
Для того чтобы снижение температуры было
незначительным, в частности в начале разливки, путь стали в промежуточном ковше
должен быть как можно короче. Днище и стенки промежуточного ковша должны иметь
ровные поверхности, чтобы не препятствовать потоку стали. Выступающие углы
футеровки, кроме того, подвергаются большому износу, сокращают срок службы и
затрудняют удаление настылей из промежуточного ковша. Этим требованиям больше
всего удовлетворяет промежуточный ковш, форма которого представляет собой удлиненный
прямоугольник. Сечение промежуточного ковша представляет собой сужающуюся к
днищу трапецию, что облегчает удаление настылей и позволяет свести повреждения
футеровки к минимуму. Высота промежуточного ковша определяется требованием,
согласно которому глубина ванны должна быть такой, чтобы шлак, необходимый для
защиты от тепловых потерь и ассимиляции неметаллических включений, не
затягивался в стакан потоками жидкой стали. Уровень металла 200-400 мм не
только не позволяет получить хорошо организованную струю, истекающую в
кристаллизатор, но и не может обеспечить требуемые условия отделения шлака и
неметаллических включений. В результате исследований влияния высоты металла в
промежуточном ковше в пределах 350-600 мм установлено, что увеличение уровня
металла в указанных пределах оказывает благотворное влияние на уменьшение
количества крупных неметаллических включений. В практических условиях наиболее
приемлемым является уровень металла в пределах 600-700 мм. С повышением уровня
металла в ковше интенсивность циркуляционных потоков у стенок и дна ковша
уменьшается. В районе стакана исчезают ярко выраженные вихревые потоки
(воронки), через которые возможно затягивание неметаллических включений в струю
жидкой стали, вытекающую из промежуточного ковша. Кроме того, улучшаются
условия всплывания крупных неметаллических включений, на которые благоприятным
образом сказывается увеличение продолжительности пребывания металла в ковше. В
ККЦ-1 высота металла устанавливается равной 900мм.
Промежуточные ковши накрывают крышками, для
уменьшения тепловых потерь в окружающую среду, футерованные кирпичом или
огнеупорной наливной массой.
В зависимости от числа кристаллизаторов и
способа подвода металла в кристаллизатор промежуточный ковш снабжен одним или
несколькими стопор-моноблоками.
.3 КОНСТРУКЦИЯ СОВРЕМЕННЫХ ПРОМЕЖУТОЧНЫХ КОВШЕЙ
В начале внедрения процессов непрерывной
разливки стали промежуточный ковш играл роль распределительного устройства,
обеспечивающего постоянство напора металла, поступающего в кристаллизаторы
МНЛЗ. Опыт показал, что использование промежуточных ковшей простейшей
конструкции без учета характера потоков жидкого металла, его повторного
окисления в результате взаимодействия с атмосферой, огнеупорами, шлаком может
привести к ухудшению качества стали. Рациональное устройство и дополнительное
оснащение ковша превращают его в металлургический агрегат непрерывного
действия, предназначенный для дополнительного внепечного рафинирования стали и
повышения ее качества.
Современный промежуточный ковш (см. рис. 8) снабжен
приспособлениями, позволяющими: устранить влияние таких источников загрязнения,
как эрозия огнеупоров, повторное окисление, взаимодействие с ковшевым шлаком;
обеспечить всплывание и отделение неметаллических включений путем правильной
организации движения металла, исключающей появление застойных зон и укороченных
путей; обеспечить использование дополнительных технологических приемов -
продувки нейтральными газами, применения специальных крышек и покровных флюсов,
размещения порогов и фильтров.
Рис. 8. Общий вид промежуточного ковша с
наливной футеровкой арматурного слоя и торкрет-массой в рабочем слое,
оснащенный турбогасителем, фильтрационными перегородками и порогами для
управления гидродинамикой ванны
Флотация и фильтрация включений при обработке
металла в промежуточном ковше определяются целым рядом одновременно действующих
факторов: 1) размерами включений, их составом, температурой плавления и
плотностью; 2) способностью включений к укрупнению; 3) величинами межфазного
натяжения на границах «металл-включение» и «шлак-включение»; 4) интенсивностью
перемешивания ванны и характером движения металла; 5)_физическими
характеристиками металла и шлака (состав, температура, вязкость); 6)
физическими характеристиками и составом контактирующей с перемешиваемым
металлом твердой поверхности футеровки ковша, перегородок и т.д.
Управление потоком металла в промежуточном ковше
достигается применением таких устройств, как бойные плиты с рифленой
поверхностью, устройства для гашения турбулентности, перегородки с различной
конфигурацией отверстий и донные фурмы для подачи инертного газа.
Бойные плиты с рифленой поверхностью снижают
начальное расплескивание металла в начале серии разливки плавок, устраняя
негативное влияние на качество головного сляба капель железа, окисленных на
поверхности огнеупорной футеровки промежуточного ковша, но они не решают
проблему загрязнения непрерывнолитого слитка неметаллическими включениями.
Бойные плиты с отражателем - турбогасители -
имеющие боковые стенки с выступом позволяют гасить энергию входящего потока.
Основной принцип данного метода заключается в сочетании боковой поверхности
стенки и нависающего выступа, при этом происходит рассеивание входящего потока
стали из сталеразливочного ковша и тем самым снижается воздействие отраженного
потока на объём стали в ковше.
Применение турбогасителей обеспечивает следующие
преимущества:
снижение расплескивания металла в начале
разливки;
повышение первоначальной чистоты стали;
уменьшение износа футеровки промежуточного ковша
в зоне падения струи металла.
Фильтрационные перегородки широко применяются
для эффективной очистки стали от крупных неметаллических включений размером
более 20 мкм. Принцип очистки основан на организации движения потоков металла
в ковше, инициирующего флотацию (всплытие) неметаллических включений, при этом
качество очистки в немалой степени зависит от места расположения перегородок по
отношению к приемной части промежуточного ковша, а также размера отверстий и
угла их наклона к горизонтальной плоскости . Авторами работы [9] отмечается,
что эффективность флотации частиц одинакова при круглых и щелевых отверстиях в
перегородке. Для обеспечения обычных скоростей непрерывной разливки стали
суммарная площадь сечения всех переточных каналов должна быть не менее 300_см2.
Существенное сокращение суммарной площади их сечения приводит к уменьшению
скорости непрерывной разливки, вместе с тем значительное увеличение суммарной
площади сечения переточных каналов нежелательно, так как заметно уменьшается
скорость затопленных струй. Поэтому желательно обеспечить большое число
каналов, равномерно расположенных в области перегородки.
При прохождении металла из приемной камеры через
отверстия в раздаточной камере возникает ряд затопленных турбулентных струй, содержащих
дисперсные включения огнеупоров и продуктов раскисления стали. Истечение струй
происходит вследствие разности уровней металла в приемной и раздаточной
камерах. Скорость движения металла по мере удаления от отверстия в перегородке
уменьшается вследствие присоединения соседних объёмов металла. Если осевая
скорость в начальном и основном участках струй больше, чем скорость
металлического расплава в прилегающих областях, то по оси струи создаются
области пониженного давления (разрежение), в которые затягиваются включения.
Этим и объясняется рафинирующая роль затопленных струй.
Для достижения максимального эффекта желательно
обеспечить большее число каналов, равномерно расположенных по высоте
перегородки. Равнодействующая сил, воздействующих на истекающую из канала
струю, всегда направлена вверх, т.е. к поверхности шлакового покрова, которым и
адсорбируются всплывающие включения. Цилиндрические каналы формируют прямые
потоки, которые защищают металл от затягивания покровного шлака.
Удаление из стали мелких (менее 20 мкм)
неметаллических включений достигается созданием за вертикальной перегородкой
промежуточного ковша сплошной завесы из газа, подаваемого вертикально через
пористый блок, установленный в днище промежуточного ковша за перегородкой.
При возникновении вихревого движения в области
стопора возможно затягивание шлака в кристаллизатор. Для подавления
преждевременного возникновения вихревого движения в промежуточном ковше по
торцам на его дне предложено устанавливать огнеупорные гасители.
Для активизации и максимально полного удаления
включений в промежуточном ковше на поверхности металла должен находиться
покровный шлак, ассимилирующий включения и предотвращающий окисление металла.
Были проведены обширные эксперименты по изучению
влияния состава покровного шлака на его взаимодействие с металлом. Состав
шлаков изменяли от СаО-А12Оз (по 50% каждого компонента) до 100% MgO.
Установлено, что шлак должен иметь температуру плавления, позволяющую ему быть
жидким при температуре жидкой стали, т.е. ровным слоем покрывать поверхность
стали в ковше и, кроме того, в шлаке должно быть минимальное содержание
компонентов, имеющих меньшее сродство к кислороду, чем алюминий (например,
SiO2), для предотвращения окисления алюминия. При использовании флюса, содержащего
48% СаО, 37% А12О3 и 15% MgO (температура плавления 1530 °С), общее содержание
кислорода в стали оказалось в 10 раз меньшим, чем при использовании флюса из
чистого MgO.
Немаловажное значение имеет контакт с атмосферой
струи металла, вытекающей из сталеразливочного ковша в промежуточный. Для
предотвращения окисления этой струи и поглощения ею газов повсеместное
распространение получили защитные трубы между ковшами, изолирующие металл от
атмосферы, в которые в последние годы для большей эффективности стали вдувать
инертный газ - аргон.
2.4 ФОРМЫ ПОРОГОВ, ПЕРЕГОРОДОК И ТУРБОГАСИТЕЛЕЙ,
ПРИМЕНЯЕМЫХ В ПРОМЕЖУТОЧНЫХ КОВШАХ. ИХ ДОСТОИНСТВА И НЕДОСТАТКИ
В промежуточных ковшах обычной конструкции
период пребывания единичной порции металла весьма ограничен и недостаточен для
эффективного удаления основной массы включений. Наиболее существенное влияние
на процесс всплывания частиц или их затягивания в канал погружаемого стакана и,
следовательно, в тело слитка оказывают скорость и направление конвективного
движения металла в промежуточном ковше. Организуя вынужденное затопление струи
металла в направлении, совпадающем с направлением всплывания частиц, можно
создать благоприятные условия для рафинирования стали. Эта задача была решена
путем разделения объема промежуточного ковша специальными огнеупорными
перегородками на приемную часть и раздаточные камеры. Такие технологии находят
все большее применение в мировой практике [9].
Хорошие результаты дает использование различного
рода турбо-гасителей в сочетании с порогами и перегородками, поскольку они
уменьшают всплески и поверхностное волнение. В 90-х годах ряд модернизаций
ударной плиты привел к появлению турбогасителей с футеровкой с бесконечными
кольцевыми внутренними каналами (рис. 9) [10].
Рис. 9. Принцип турбогасителя.
В стабильные периоды разливки функция
турбогасителя заключается в приеме потока металла из стакана, и перенаправление
этого потока навстречу самому себе и сокращения области с активными
завихрениями и турбулентности. Благодаря этому уменьшаются поверхностные волны
и рассеивается энергия на участке входа струи в промежуточный ковш, в
результате чего условия отделения включений в оставшейся части промежуточного
ковша улучшаются. В нестабильные периоды разливки, например, при замене
разливочного ковша, турбулентность и всплески, вызываемые входящей струей
металла, уменьшаются [10].
Турбогаситель идеальной конструкции выполняет
следующие функции:
Рассеивается и гасится струя из стакана ковша.
Благодаря этому сокращаются большие области высокоскоростных потоков, обширное
образование завихрений и формируются однородные потоки.
Струя из стакана разливочного ковша направляется
назад, вверх, навстречу самой себе и, таким образом, разделяется на свободной
поверхности. Шлаковое покрытие перемещается в радиальном направлении от
входящей струи. Следовательно, непосредственное затягивание шлака может быть
снижено.
Восходящий вверх поток улучшает поглощение
шлаком неметаллических включений, поскольку для частиц включений сокращается
эффективное расстояние до шлакового покрытия.
Улучшается эрозионная защита футеровки
промежуточного ковша и повышается её стойкость.
Уменьшаются всплески и снижается эффект
нестабильности потоков во время замены разливочного ковша.
Однако поиск огнеупорных перегородок с
различными конфигурациями отверстий (прямых, расположенных под углом), а так же
турбогасителей различной конструкции, направляющих поток стали для более
тщательного перемешивания и более длительного пребывания в ковше ведется
постоянно.
Одним из таких устройств, был промежуточный
ковш, разделенный на приемную и рафинирующие емкости расположенными на днище
ковша перегородками с отверстиями. Установленные в приемной емкости
промежуточного ковша перед перегородками огнеупорные поперечные пороги,
отличающееся тем, что высота огнеупорных поперечных порогов равна или превышает
расстояние от днища ковша до осей отверстий в перегородке (рис. 10) [11].
Рис. 10. Промежуточный ковш в разрезе: 1 -
стенка, 2 - перегородка. 3 - порог. Этот проект был испытан в производственных
условиях (табл. 4) [11].
Таблица 4. Условия проведения испытания
предложенного устройства.
|
Пример
1
|
Пример
2
|
|
Марка
стали
|
Автолистовая
типа 08Ю
|
Трубная
типа 10ГФБЮ
|
|
Тип
МНЛЗ
|
Двухручьевая
криволинейная
|
Двухручьевая
вертикальная
|
|
Сечение
сляба, мм
|
250х1250
|
200х1250
|
|
Скорость
вытягивания сляба, м/мин
|
1,1
|
0,55
|
|
Способ
подачи металла
|
Из
сталеразливочного ковша через погружную трубу
|
|
Промежуточный
ковш
|
50-ти
тонный
|
15-ти
тонный
|
|
Футеровка:
бетон
|
Высокоглиноземистый
|
Высокоглиноземистый
|
|
Перегородки
|
Имеются
5 направленных вверх под углом 20 градусов отверстий диаметром 100мм каждое
|
Имеются
5 направленных вверх под углом 15 градусов отверстий диаметром 80мм каждое
|
|
Пороги.
Высота, мм
|
150
|
150
|
Пороги были установлены в приемной емкости
промежуточного ковша для организации S-образного потока металла и
дополнительного торможения потока, уменьшения горизонтальной составляющей
скорости потока металла, снижения скорости истечения металла из отверстий в
перегородке и увеличения времени пребывания металла в промежуточном ковше с
целью удаления включений. Результаты испытаний приведены в табл. 5. [11].
Таблица 5. Результаты проведения испытаний
предложенного устройства
|
Пример
1
|
Пример
2
|
|
За
счет снижения горизонтальной составляющей скорости, время пребывания металла
увеличилось в 3-4 раза, что привело к улучшению всплывания неметаллических
включений, снижению захвата шлака с поверхности и уменьшению износа торцевой
огнеупорной стенки промежуточного ковша. Отсортировка холоднокатаного
автолиста по раскатанным загрязнениям и плене снизилась с 8,3 до 1.1%, а
перевод листа в пониженную категорию снизился с 11 до 2.7%.
|
За
счет снижения горизонтальной составляющей скорости, время пребывания металла
увеличилось в 2,5-3,5 раза, что привело к улучшению всплывания
неметаллических включений, снижению захвата шлака с поверхности и уменьшению
износа торцевой огнеупорной стенки промежуточного ковша. Средний балл по
точечной неоднородности металла снизился с 0,5-1.0 до 0-0.5. а выход листа
высшей категории качества вырос с 77 до 92%
|
Промежуточный ковш, разделенный на приемную и
рафинирующую емкости огнеупорными перегородками с отверстиями различной формы,
приведенный на рис. 11. Он отличается тем, что в приемной емкости осуществляется
гашение вихревых потоков на поверхности металла путем уменьшения радиальной
составляющей скорости течения металла и перераспределение скоростей потоков
металла с увеличением их скорости вблизи днища приемной емкости промежуточного
ковша и уменьшением их скорости вблизи поверхности металла в приемной емкости.
Для этих целей в донной части приемной емкости промежуточного ковша вдоль его
большой оси устанавливаются одна или более примыкающих к боковой стенке
промежуточного ковша вставок, образующих суженный канал в донной части приемной
емкости, при этом центр пересечения осей симметрии канала соответствует
центральной оси погружной трубы [12].
Рис. 11. Промежуточный ковш в разрезе: 1 -
перегородки; 2 - огнеупорная вставка
Приведенная конструкция была испытана в
производственных условиях.
Таблица 6. Условия проведения испытаний
предложенного устройства
|
Пример
1
|
Пример
2
|
|
Марка
стали
|
автолистовая
типа IF
|
трубная
типа 09ГСФ
|
|
Тип
МНЛЗ
|
двухручьевая
криволинейная
|
двухручьевая
вертикальная
|
|
Сечение
сляба, мм
|
250x1520
|
200x1270
|
|
Скорость
вытягивания сляба, м/мин
|
1,0
|
5.5
|
|
Способ
подачи металла
|
из
сталеразливочного ковша через погружную трубу
|
|
Промежуточный
ковш
|
50-и
тонный
|
15-ти
тонный
|
|
Футеровка:
бетон
|
высокоглиноземистый
|
высокоглиноземистыи
|
|
Перегородки
|
имеются
5 направленных вверх под углом 20 градусов отверстий диаметром 100 мм каждое
|
имеются
5 направленных вверх под углом 15 градусов отверстий диаметром 80 мм каждое
|
В результате проведенных мероприятий после
установки вставок на поверхности металла в промежуточном ковше не наблюдалось
образования вихрей, что привело к уменьшению захвата шлаковых включений с
поверхности приемной емкости промежуточного ковша и попаданию их в готовый
металл. Результаты приведены в табл. 7
Таблица 7. Результаты проведения испытаний
предложенного устройства
|
Пример
1
|
Пример
2
|
|
Отсортировка
холоднокатаного автолиста по раскатанным загрязнениям и плене сократилась с
9,2 до 1.5%. а перевод листа в пониженную категорию снизился с 12 до 3.5%.
|
Средний
балл по точечной неоднородности металла снизился с 0.5-1,0 до 0-0.5, а выход
листа высшей категории качества вырос с 73 до 91%.
|
Известен промежуточный ковш [13], содержащий
четыре разделяющие перегородки, днище, в котором выполнены отверстия для подачи
стали в кристаллизатор. Приемная и разливочная части ковша сообщаются между
собой при помощи отверстий, выполненных в нижних частях перегородок. Однако
такое устройство не обеспечивает удовлетворительного качества непрерывно-литых
слитков, а стойкость ковша определяется как низкая.
Известен также промежуточный ковш [14],
оснащенный двумя перегородками, в центре которых в шахматном порядке выполнены
девять отверстий для подачи металла из приемной части в разливочные. Днище
приемной части расположено выше днища разливочных частей. Недостатками такого
устройства являются неудовлетворительное качество непрерывно-литых слитков и
низкая стойкость ковша.
Неудовлетворительное качество слитков
объясняется отсутствием защиты металла от интенсивного окисления в начале
разливки и попаданием шлака через отверстия из приемной в разливочные части,
при снижении уровня металла в ковше. Низкая стойкость ковша обусловлена тем,
что при снижении уровня металла отверстия в перегородках затягиваются шлаком,
что существенно затрудняет подачу металла в разливочные части, а попадание
шлака из приемной части в разливочные приводит к тому, что образующийся после
смешивания шлак быстро кристаллизуется и затрудняет ход стопора. Все это ведет
к необходимости замены ковша и уменьшению числа плавок, разливаемых через
промежуточный ковш.
В промежуточном ковше, приведенном на рис. 12
[15], установлены две перегородки с отверстиями. Перед отверстиями для подачи
металла в кристаллизатор устанавливаются пороги, а отверстия для прохода
металла из приемной в разливочные части выполнены по краям в нижней части
перегородок, причем высота отверстий не должна превышать высоту уровня
минимального количества металла в промежуточном ковше, необходимого для
обеспечения непрерывности процесса разливки. Такая высота отверстий
предотвратит затягивание их шлаком и попадание шлака из приемной части в
разливочные, в результате чего увеличивается количество плавок, разливаемых
через один промежуточный ковш.
Рис. 12. Конструкция промежуточного ковша в
разрезе и поперечное сечение перегородки промежуточного ковша: 1 - рабочая
полость: 2 - перегородки; 3 - приемная часть; 4 - разливочная часть; 5 -
отверстия в перегородках; 6 - отверстия для подачи металл в кристаллизатор; 7 -
днище ковша; 8 - пороги.
Отверстия в перегородках позволяют распределять
металл по днищу ковша без образования падения струи на первой плавке, что
приводит к менее интенсивному окислению поступающего металла. За счет того, что
отверстия располагаются не по центру, а по краям в нижней части перегородок,
значительно снижается степень воздействия потока металла на стопор, что
увеличивает его стойкость. Пороги создают преграду для первой порции
«холодного» металла, в результате чего он остается за ними и далее поступает
«горячий» металл, стабилизируя тем самым начало разливки. С помощью порогов
создается восходящий поток металла, что приводит к более интенсивной
ассимиляции шлаком неметаллических включений в разливочных частях
промежуточного ковша. Высоту порогов выбирают не более высоты уровня
минимального количества металла в ковше, необходимого для обеспечения
непрерывности процесса разливки. В этом случае, при окончании разливки и
снижении уровня металла в ковше, остатки металла не будут превышать нормальный
показатель.
Наиболее совершенной конструкцией является
конструкция, приведенная на рис. 13 [16]. В этом случае в разделительных
перегородках выполнены верхний, средний и нижний ряды переливных каналов,
струйный приемник-гаситель струи заливаемого из защитной трубы металла,
установленный на днище ковша. Усовершенствование состоит в том, что переливные
каналы в перегородках выполнены конусными, причем каналы нижнего и среднего
рядов направлены сужением в сторону разливочной камеры, а переливные каналы
верхнего ряда - сужением в сторону приемной камеры. В теле перегородки выполнен
газоподводящий канал, сообщенный с горизонтальным щелевидным соплом, выходящим
в разливочную емкость.
Рис. 13. Конструкция промежуточного ковша, продольный
разрез, перегородка: 1 -металлический корпус; 2 - огнеупорная футеровка; 3 -
перегородки; 4 - конусные переливные каналы; 5 - газоподводящий канал; 7 -
приемная камера; 8 - разливочная камера; 9 - сталевыпускные каналы; 10 -
стопора; 11 - струйный приемник-гаситель; 12 -защитная труба; 13 -
сталеразливочный ковш; 14 -днище.
Наиболее предпочтителен вариант выполнения длины
щелевидного сопла 0.7-0.8 ширины перегородки. Выходные участки переливных
каналов со стороны разливочной камеры выполнены в виде выступов, высота которых
относительно плоскости перегородки составляет 0.5-1.0 толщины перегородки.
Струйный, приемник-гаситель выполнен в виде стакана с заплечиками. Высота
гасителя струи металла по нижней поверхности заплечиков составляет 0,25-0.3 высоты
рабочего уровня металла в ковше, а его диаметр составляет 2.5-4 диаметра
защитной трубы. Рабочий слой днища выполнен из периклазовых огнеупоров,
перегородка и приемник-гаситель струи металла выполнены монолитными из
высокостойкого низкоцементного корундового бетона [16].
Струя жидкой стали из сталеразливочного ковша,
через защитную трубу, подается в струйный приемник-гаситель, при этом
обеспечивается гашение кинетической энергии струи и заполнение приемной камеры
жидким металлом в ламинарном режиме, что исключает «размывание» футеровки
днища, стен и перегородки в приемной камере ковша. Большая часть холодного
металла с днища сталеразливочного ковша и непрогретого сталевыпускного тракта,
попадая в струйный приемник-гаситель, остается в нем. Следующий за холодным
металлом более горячий металл поступает в приемную и разливочную камеры. Форма
и объем приемника-гасителя подобраны из расчета удержания большей части
первичного холодного металла. Это способствует стабилизации начала разливки. За
счет конусной формы каналов, а также выступов в перегородке, в разливочной
камере возникают восходящие потоки жидкого металла (выступы в перегородке
устраняют также возникновение пристеночного эффекта - «прилипание» струй
металла к поверхности перегородки). При прохождении конусных каналов среднего и
нижнего ярусов, скорость струй переливаемого металла возрастает, при этом
содержащиеся в металле неметаллические включения распределяются в его объеме,
захватываются пузырьками продувочного газа, транспортируются в верхний слой металла
и ассимилируются шлаком. Выполнение каналов в верхней части перегородки с
обратной конусностью по отношению к нижним каналам позволяет уменьшить скорости
струй металла под шлаковым покровом, что уменьшает вероятность затягивания
неметаллических включений в сталь из шлака. За счет продувки расплава инертным
газом (аргоном) из щелевидного сопла во всем объеме металла, расположенном в
разливочной камере, образуется большое количество мелких газовых пузырей, при
всплывании которых обеспечивается очистка стали от неметаллических включений
[16].
Были проведены опытно-промышленные испытания
данного изобретения в условиях кислородно-конвертерного цеха ОАО «ММК», которые
дали следующие результаты, занесенные в табл. 8 [16].
Таблица 8. Качество металла разлитого через
опытные и серийные промежуточные ковши
|
Тип
ковша
|
№
плавки
|
Балл
дефекта
|
Содержание
неметаллических включений,%
|
|
|
|
Al2O3
|
SiO2
|
MnS
|
Сумма
|
|
Опытный
|
1
|
0,5
|
0,038
|
0,021
|
0,047
|
0,106
|
|
2
|
0,0
|
0,033
|
0,020
|
0,035
|
0,088
|
|
7
|
0,5
|
0,021
|
0,031
|
0,020
|
0,072
|
|
9
|
1,0
|
0,025
|
0,023
|
0,044
|
0,092
|
|
Серийный
|
7
|
2,0
|
0,098
|
0,097
|
0,089
|
0,294
|
|
3
|
1,5
|
0,069
|
0,074
|
0,204
|
|
7
|
1,5
|
0,063
|
0,062
|
0,077
|
0,192
|
|
9
|
2,0
|
0,089
|
0,084
|
0,091
|
0,264
|
Рис. 14. Качество металла разлитого
через опытные и серийные промежуточные ковши
Очевидно, что качество металла,
разлитого через промежуточные ковши рассмотренной конструкции, значительно выше
по сравнению с качеством металла с использованием обычных ковшей. При этом
средняя серийность разлива рассмотренных ковшей составила 9,4 плавок, тогда как
обычных - только 6,6. что позволило значительно сократить расход огнеупоров на
перефутеровку промежуточных ковшей [16].
Таким образом, анализ различных
публикаций, посвященных непрерывной разливке стали показал, что конструкцию
промежуточного ковша однозначно дающую положительные результаты исследований
получить очень сложно и не всегда выгодно экономически. Однако можно выделить
ряд основных требований, которые должна обеспечивать вновь предлагаемая
конструкция:
увеличение продолжительности
пребывания металла в ковше:
создание управляемой гидродинамики в
промежуточном ковше:
создание оптимальных условий для
отделения шлака и неметаллических включений, имеющих место в жидкой стали.
2.5 ХОЛОДНОЕ МОДЕЛИРОВАНИЕ
ГИДРОДИНАМИКИ В ПРОМЕЖУТОЧНОМ КОВШЕ
Для изучения гидродинамики ванны и
возможности управления ею была проведена исследовательская работа, направленная
на изучение возможности удаления неметаллических включений за счет ассимиляции
их шлаком.
При построении физической модели на
основе теории подобия методом масштабных преобразований существенных для
процесса величин определили критерии подобия для рассматриваемого процесса с учётом
работ [17, 18].
Наиболее существенными величинами,
влияющими на процесс движения жидкости в промежуточном ковше, являются:
скорость истечения жидкости из сталеразливочного ковша wист (м/с), плотность ρж (кг/м3),
динамическая вязкость μж (кг/(м.с))
и поверхностное натяжение σж (кг/с2) жидкости, массовый mж
(кг/с) и объёмный Vж (м3/с) расход жидкости, а также объёмный расход газа Vг
(м3/с). За основную исходную величину - функцию процесса_- приняли скорость
жидкости в произвольной точке wж (м/с). В качестве граничных условий учитывали
линейные параметры, определяющие геометрическое подобие - это характерные
линейные размеры промежуточного ковша l...li (м), диаметр сталевыпускного
отверстия dп.к. (м), высота столба жидкости hж (м).
Окончательный вид выбранных
критериев гидродинамики представлен ниже:
- критерий Рейнольдса;
= Fr - критерий Фруда;
= We - критерий Вебера;
= Мж - критерий физических свойств
жидкости;
= Мс - безразмерный массовый расход;
= V - безразмерный объёмный расход;
= R - относительная плотность;
= Dп.к. - относительный диаметр;
= H - относительная высота жидкости
в промежуточном ковше.
В целях удобства проведения
эксперимента константу подобия линейных параметров приняли Cl=l´/l=1/4. В
качестве моделируемого объекта были выбраны стандартные 23-х тонный и 50-ти
тонный промежуточные ковши, применяемый при непрерывной разливке стали в
Конвертерных цехах №1,2 ОАО “НЛМК“. В основу методики регистрации
гидродинамических процессов на модели положено введение в определённые точки
ванны раствора красителя с последующим наблюдением и видеосъемкой траекторий
движения окрашенных потоков с последующей раскадровкой.
.6 ГИДРОДИНАМИКА ПРОМЕЖУТОЧНОГО
КОВША БЕЗ УСТАНОВКИ РАФИНИРУЮЩИХ УСТРОЙСТВ
На рис. 15, 16 представлены
результаты холодного моделирования потоков стали в промежуточном ковше без
установки рафинирующих устройств. После выхода стали из сталеразливочного ковша
поток разделяется при соударении с дном ковша и устремляется к
стопорам-моноблокам - так называемый принцип «короткого замыкания». Возможность
удаления включений при этом за счет ассимиляции их шлаком очень мала, т.к.
поток не отрывается от дна, а как бы «стелется вдоль него». Достигая стопора,
часть потока затягивается в кристаллизатор, при этом включения, образовавшиеся
при раскислении стали и не успевшие всплыть в стальковше, не имеют времени для
всплытия и попадают в кристаллизатор и далее в непрерывнолитой слиток.
Рис. 15. Схема гидродинамики жидкой
стали в промежуточном ковше без установки рафинирующих устройств
Рис. 16. Гидродинамика жидкой стали в
промежуточном ковше без установки рафинирующих устройств
.7 ГИДРОДИНАМИКА ПРОМЕЖУТОЧНОГО КОВША С ОВАЛЬНЫМ
ТУРБОГАСИТЕЛЕМ
На следующем этапе моделирования исследовали
изменение потоков жидкой стали в промежуточном ковше при установке в зоне
падения струи металла огнеупорного турбогасителя. Результаты моделирования (см.
рис. 17, 18) свидетельствуют о качественном изменении потоков стали: поток
жидкой стали, попадая в гидродинамический мешок и теряя свою кинетическую
энергию, устремляется к поверхности раздела «металл-шлак». В результате этого
складываются благоприятные условия для удаления неметаллических включений за
счет ассимиляции их шлаком, т.к. время их всплывания многократно снижается, чему
также способствует восходящий поток. Последующее продвижение стали
сопровождается хорошим перемешиванием жидкости по всему объёму ванны
промежуточного ковша, что увеличивает время пребывания металла в ковше.
Рис. 17. Схема гидродинамики промежуточного
ковша с овальным турбогасителем.
Рис. 18. Гидродинамика промежуточного ковша с
овальным турбогасителем
.8 ГИДРОДИНАМИКА ПРОМЕЖУТОЧНОГО КОВША С
ПЕРЕГОРОДКАМИ
В работах [19] авторами исследована
гидродинамика промежуточного ковша, оснащенного фильтрационными перегородками
(рис 19), турбогасителями и перегородками. Наиболее оптимальной конструкцией
промежуточного ковша с перегородками следует считать установку перегородки с
щелевым вырезом в нижней части перегородки и отверстиями или вырезом в верхней.
Рис 19. Наиболее оптимальные конструкции
перегородок.
На Рис 20, 21, 22 показаны основные потоки,
скорости и границы гидродинамических фронтов при установке в промежуточном
ковше перегородки с вырезом 20 мм ниже уровня металла и с низким вырезом под
углом 450 на расстоянии снизу 48,3 мм. Турбогаситель и продувка аргоном
отсутствуют.
Поток, проходящий через верхний вырез скользит
по верхнему горизонту ванны и опускается к выпускному отверстию. В ходе
движения он увлекает за собой поток, выходящий из выреза в нижней части
перегородки. При этом основная часть потока, выходящего из выреза практически
достигнув стопора, закручивалась и направлялась обратно к перегородке. В нижней
ее части имела место небольшая застойная зона. Часть струи из щели
закручивалась вверх в непосредственной близости от перегородки.
Рис. 20. Основные потоки жидкости в
промежуточном ковше: 1 - приемная камера; 2 - разливочная камера.
Рис. 21. Направления и скорости основных потоков
жидкости в промежуточном ковше
Рис. 22. Границы гидродинамических фронтов.
.9 ГИДРОДИНАМИКА ПРОМЕЖУТОЧНОГО КОВША С
ПЕРЕГОРОДКАМИ И КРУГЛЫМ ТУРБОГАСИТЕЛЕМ
На Рис 23, 24, 25 показаны основные потоки,
скорости и границы гидродинамических фронтов при установке в промежуточном
ковше круглого турбогасителя и перегородки с вырезом 20 мм ниже уровня металла
и с высоким прямоугольным окном под углом 450 на расстоянии 58,3 мм снизу.
Установка турбогасителя привела к уменьшению
истекающих через перегородку скоростей - над перегородкой до 0,043 м/с, через
отверстие - до 0,037 м/с. При этом в приемной камере сохраняются восходящие
потоки под слоем покровного шлака, характерные для гидродинамики с
турбогасителем.
Рис. 23. Основные потоки жидкости в
промежуточном ковше.
Рис. 24. Направления и скорости основных потоков
жидкости в промежуточном ковше
Рис. 25. Границы гидродинамических фронтов.
2.10 ГИДРОДИНАМИКА ПРОМЕЖУТОЧНОГО КОВША С
ПЕРЕГОРОДКАМИ И КРУГЛЫМ ТУРБОГАСИТЕЛЕМ, ИМЕЮЩИМ РАЗГРУЗОЧНЫЕ ОКНА
На Рис 26, 27, 28 показаны основные потоки,
скорости и границы гидродинамических фронтов при установке в промежуточном
ковше круглого турбогасителя с разгрузочными отверстиями и перегородки с
вырезом 20 мм ниже уровня металла и с высоким прямоугольным окном под углом 450
на расстоянии 58,3 мм снизу.
Наличие разгрузочных отверстий приводит к еще
большему снижению скоростей потоков, проходящих через перегородку: вверху до
0,039 - 0,033 м/с, внизу до 0,029 м/с. При этом в приемной камере сохраняются
восходящие потоки к покровному шлаку со скоростями 0,090 - 0,069 м/с в объеме
жидкости.
Рис. 26. Основные потоки жидкости в
промежуточном ковше.
Рис. 27. Направления и скорости основных потоков
жидкости в промежуточном ковше
Рис. 28. Границы гидродинамических фронтов.
2.11 РЕЗУЛЬТАТЫ ОТРАБОТКИ ТЕХНОЛОГИИ
РАФИНИРОВАНИЯ СТАЛИ В 50-И ТОННЫХ ПРОМЕЖУТОЧНЫХ КОВШАХ КЦ-1 ОАО “НЛМК“
Результаты моделирования гидродинамики
промежуточного ковша были апробированы в условиях конвертерных цехов ОАО «НЛМК»
на ковшах схожей конструкции - с установкой овального турбогасителя и щелевых
перегородок
В октябре 2004 года и январе-марте 2006 года
проведены опытно-промышленные испытания технологии рафинирования металла в 50-и
тонных промежуточных ковшах, оборудованных огнеупорными элементами для
оптимизации потоков жидкой стали («бойные» плиты, турбогасители, перегородки)
во время непрерывной разливки стали на МНЛЗ-4,6 Конвертерного цеха_№1.
Опытные ковши в первом случае использовали при
непрерывной разливке на МНЛЗ-4,6 низкоуглеродистых и электротехнических марок
стали (5 серий - 38 плавок), во втором случае - для разливки низкоуглеродистых
и углеродистых марок стали на МНЛЗ-6 (3 серии - 25 плавок).
Все промежуточные ковши, оборудованные опытными
огнеупорными изделиями, выведены из работы по причине плановой перековшовки или
окончания серии разливки плавок. Удаление остатков металла и шлака из ковшей
после разливки происходило без затруднений.
Износ элементов футеровки промежуточных ковшей
после разливки 8÷9 плавок
составил:
Футеровка стен в «шлаковом поясе»:
в зоне падении струи металла ………от 10 до 30 мм;
в районе стопоров…………………......от 5 до 20 мм;
Футеровка стен в зоне металла:
в зоне падения струи металла…………от 5 до 10 мм;
в районе стопоров…………………………….до 5 мм;
Перегородки:
в «шлаковом поясе»……………………от 5 до 10 мм;
в зоне металла со стороны падения струи…..до 5
мм;
в зоне металла со стороны стопоров………...до 5 мм;
«турбогаситель» (внутренняя камера)…..………………до 5
мм.
Эффективность рафинирования жидкой стали
оценивали по результатам аттестации в ПХПП металла, разлитого через опытные
промежуточные ковши, в сравнении с металлом, разлитым по обычной технологии.
Основной критерий оценки - степень пораженности холоднокатаного металла
дефектами сталеплавильного производства. Выход несоответствующей продукции в
ПХПП по вине КЦ-1 на опытных плавках составил 0,17% (для плавок, выплавлявшихся
в октябре 2004г), при уровне отсортировки металла КЦ-1 в ПХПП по дефектам
сталеплавильного производства в 2004 году 0,73%. На плавках, разлитых и
прокатанных в январе-марте_2006_года, отмечено отсутствие выхода
несоответствующей продукции по дефекту «слиточная плена».
.12 РЕЗУЛЬТАТЫ ОТРАБОТКИ ТЕХНОЛОГИИ
РАФИНИРОВАНИЯ СТАЛИ В 23-Х ТОННЫХ ПРОМЕЖУТОЧНЫХ КОВШАХ КЦ-2 ОАО “НЛМК“
В августе-сентябре 2006 года в Конвертерном цехе
№2 ОАО “НЛМК“ непрерывная разливка стали на МНЛЗ-5,7 осуществлялась с
применением технологии рафинирования металла в промежуточных 23-х ковшах
№№8,11,12 и 22, оснащённых турбогасителем и фильтрационными перегородками.
Общее количество плавок, разлитых через опытные ковши составило 135 плавок.
Марочный сортамент сталей распределился следующим образом:
Ю по ГОСТ 9045-93…………....51 плавка;
Ю по Т.К. 2-3-4-751).…………...19 плавок;по Т.К.
1.2-3-4-1402)..……...11 плавок;
пс по ГОСТ 9045-93……………8 плавок;
пс по ГОСТ 1050-88…………...29 плавок;
пс по ГОСТ 1050-88………....…9 плавок;
Ст2пс по ГОСТ 380-94…………...8 плавок.
Выплавка и разливка плавок выполнялась в
соответствии с требованиями НТД, действующей на ОАО “НЛМК“. Количество плавок,
разлитых через один промежуточный ковш изменялось в пределах 4÷9
плавок
(ограничивалось объемом заказов) и в среднем составило 7_плавок. Суммарный вес
разлитой стали по жидкому составил 44067,72 т.
Для определения эффективности улучшения
гидродинамики в промежуточных ковшах, оснащенных фильтрационными перегородками
и турбогасителями, провели сравнение выхода несоответствующей продукции в ПХПП
по дефектам сталеплавильного производства опытных плавок с плавками
аналогичного марочного сортамента, разлитыми в тех же сериях с применением
промежуточных ковшей, оснащенных только турбогасителями. Разливка опытных и
сравнительных плавок в одной серии позволяет исключить возможность влияния
следующих факторов на выход несоответствующей продукции при аттестации проката:
стойкость основного оборудования МНЛЗ;
настройка технологической линии МНЛЗ;
повреждение поддерживающих и приводных роликов;
засоренность форсунок в зоне вторичного охлаждения
слитка,
так как отрицательное влияние того или иного
фактора на отсортировку проката по вине Конвертерного цеха будет оказываться на
всю серию разливки плавок.
Изменение объема отгруженного металла от толщины
проката для опытных и сравнительных плавок представлено на рис. 29.
Рис. 29. Отгрузка продукции по
толщине проката
Отсортировка металла, разливавшегося
на опытных промежуточных ковшах, оборудованных устройствами для улучшения
гидродинамики жидкой ванны, составила 0,92% (287,06 т) от отгруженного проката
(31079,03 т), при этом на момент обработки результатов (9 ноября 2006г) доля
отгруженных рулонов от заданного металла в ПХПП составила 90%. Количество
плавок, имевших отсортировку проката по металлургическим дефектам составило 21
пл. из 113 назначенных, при этом 75,2% от всего отсортированного металла
приходится на 6 плавок:
Таблица 9 Отсортировка стали по
металлургическим дефектам
|
№
плавки
|
Отсортировано,
тонн
|
Дефект
|
|
662083
|
14,16
|
Загрязнение
|
|
30,35
|
Плена
|
|
23,67
|
Раскатанная
трещина
|
|
68,18
|
Всего
|
|
661889
|
68,99
|
Плена
|
|
661886
|
26,33
|
Раскатанная
трещина
|
|
662220
|
19,6
|
Раскатанная
трещина
|
|
661870
|
17,41
|
Раскатанная
трещина
|
|
661684
|
15,27
|
Раскатанная
трещина
|
Образцы проката плавок №№ 661886 и 661889 были
отданы на анализ для выявления источника образования дефекта. Исследования
показали, что причиной образования дефектов проката является вкатанная окалина
- не относится к металлургическим дефектам. С учетом этого обстоятельства доля
выхода несоответствующей продукции по металлургическим дефектам на момент
обработки данных составила 0,62% (191,74 т).
На сравнительных плавках выход несоответствующей
продукции составил 0,77% (239,28 т) от отгруженного проката - 30964,88 т (90%
металла от заданного в ПХПП). В свою очередь, количество плавок, имевших отсортировку
проката по металлургическим дефектам в данном случае также составило 21 из 111.
Следует отметить тот факт, что на сравнительных плавках также использовались
устройства для улучшения гидродинамики жидкой ванны - турбогасители. На данных
плавках, также как и на опытных, основная масса отсортированного металла
приходится на 6 плавок - 60,8%:
Таблица 10. Отсортировка стали по
металлургическим дефектам
|
№
плавки
|
Отсортировано,
тонн
|
Дефект
|
|
661096
|
9,53
|
Плена
|
|
42,61
|
Раскатанная
трещина
|
|
52,14
|
Всего
|
|
661079
|
10,5
|
Плена
|
|
25,37
|
Раскатанная
трещина
|
|
35,87
|
Всего
|
|
662535
|
2,72
|
Плена
|
|
19,88
|
Раскатанная
трещина
|
|
9,14
|
Несоотв.
веса из-за удаления дефектов
|
|
31,74
|
Всего
|
|
661088
|
23,06
|
Плена
|
|
661700
|
21,55
|
Раскатанная
трещина
|
|
661532
|
4,37
|
Сквозные
разрывы, дыры
|
|
4
|
Раскатанная
трещина
|
|
4,49
|
Несоотв.
веса из-за удаления дефектов
|
|
12,86
|
Всего
|
Несмотря на такое явное сходство выхода
несоответствующей продукции по вине Конвертерного цеха №2, переработка металла
опытных плавок показала лучшие результаты. Для подтверждения вышесказанного
определим количество доработанного металла, переведенного в годную продукцию:
, тонн (1)
, тонн (2)
где
- суммарная масса актированной
продукции, имевшей отсортировку по металлургическим дефектам, тонн;
- масса актированной продукции,
имевшей отсортировку по металлургическим дефектам соответственно на
непрерывно-травильном агрегате, агрегате непрерывного отжига, агрегате резки и
при отгрузке проката, тонн. В случае наличия несоответствующей продукции на
каждом агрегате для одного дефекта, в качестве актированной продукции
принимается одно максимальное значение;
- масса актированной продукции,
имевшей отсортировку по металлургическим дефектам при отгрузке, тонн.
Дополнительно введем понятие
коэффициента доработки, характеризующего степень доработки проката, имевшего
отсортировку по металлургическим дефектам и переведенного в годную продукцию:
. (3)
Коэффициент доработки (ξ) изменяется в
пределах от 0 до 1 включительно, при этом для двух крайних значений данного
интервала он имеет следующий смысл:
при ξ=0 доработка и
перевод проката в годную продукцию не проводились.
при ξ=1
отсортировка металла отсутствует с учетом доработки и перевода проката в годную
продукцию.
Для опытных и сравнительных плавок
получили следующие значения данных показателей:
Таблица 11. Показатели доработанных
плавок.
|
Параметр
|
Опытные
плавки (без учета плавок №№ 661886 и 661889)
|
Сравнительные
плавки
|
|
,
тонн1,720
|
|
|
|
,
тонн17,41191,71
|
|
|
|
,
тонн241,07281,4
|
|
|
|
,
тонн23,0950,02
|
|
|
|
,
тонн283,29523,13
|
|
|
|
,
тонн191,74239,28
|
|
|
|
Δ,
тонн
|
91,55
|
283,85
|
|
0,320,54
|
|
|
Расчеты показывают, что на сравнительных плавках
доля доработанного проката (от первоначально отсортированного), переведенного в
годную продукцию составляет 54% (283,85 т), что в три раза превышает этот же показатель
на опытных плавках (32% или 91,55_т). Следует отметить тот факт, что на
показатели Δ и ξ,
а
соответственно на окончательный выход несоответствующей продукции, существенное
влияние оказывает не только наличие дефектов и их расположение (локальные области
или по всей длине полосы), но и требования, предъявляемые покупателем к
поставляемой продукции: минимальная масса рулона, наличие сварных швов,
требования к качеству поверхности, толщина и ширина проката.
Рис. 30. Отсортировка металла КЦ-2 в
ПХПП по металлургическим дефектам
Рис. 31. Отсортировка металла КЦ-2 в
ПХПП по металлургическим дефектам
Анализ выхода несоответствующей
продукции в ПХПП по толщине проката (см._рис._30, 31) показывает существенное
снижение (в 2,7 раза) отсортировки металла по металлургическим дефектам на
тонком листе (менее 0,6 мм). При толщине проката 0,6÷1,0_мм уровень
отсортировки составил 0,8% и 1,3% соответственно для опытных и сравнительных плавок.
В свою очередь наблюдается увеличение отсортировки на опытных плавках на
толщине более 1 мм: 0,5% против 0,1%.
В работах многих авторов
подтверждается правильность направления поиска оптимальной гидродинамики с
использованием порогов и перегородок различных конструкций. Так в работе
авторов [20] рассмотрены схемы распространения гидропотоков и примесных
образований на гидравлических моделях с апробированием в условиях промышленного
производства.
Рис 32. Схемы распространенеия гидропотоков и
примесных образований (•→) в сечениях 30 т промежуточного ковша: а) без
шлакоуловительных систем; б) с полнопрофильными перегородками.
Таблица 12. Влияние типа перегородок
промежуточного ковша на отсортировку холоднокатаного листа (сталь IF, 08Ю)
|
Тип
перегородки
|
Задано,т
|
Плена,т
|
Плена,%
|
НВ,т
|
НВ,%
|
Сумма,т
|
Сумма,%
|
|
Пороги
|
1684,10
|
79,80
|
4,74
|
48,75
|
2,89
|
128,55
|
7,63
|
|
Отверстия
|
1683,07
|
49,05
|
2,91
|
39,40
|
2,34
|
88,45
|
5,26
|
|
Щель
|
4612,63
|
82,83
|
1,80
|
138,15
|
3,00
|
220,98
|
4,79
|
|
Щель+
отверстия
|
6295,7
|
131,88
|
2,09
|
177,55
|
2,82
|
309,43
|
4,91
|
Рис. 33. Влияние типа перегородок промежуточного
ковша на отсортировку холоднокатаного листа по металлургическим дефектам.
3. СОВЕРШЕНСТВОВАНИЕ ЗАЩИТЫ МЕТАЛЛА ОТ
ВТОРИЧНОГО ОКИСЛЕНИЯ
.1 ПРОМЫШЛЕННЫЕ ТЕХНОЛОГИЧЕСКИЕ СХЕМЫ РАЗЛИВКИ И
ЗАЩИТЫ МЕТАЛЛА
Способы подвода и защиты металла между
сталеразливочным ковшом и промежуточным разливочным устройством, ввода металла
в кристаллизатор и зашиты струи, защиты зеркала металла и оболочки слитка в
кристаллизаторе в дальнейшем будем называть технологической схемой разливки и
защиты. При выборе технологической схемы учитывают конструктивные особенности
разливочных машин, число одновременно заливаемых ручьев, марочный и размерный
сортаменты заготовок и их назначения. К настоящему времени число промышленных
технологических схем приближается к двум десяткам (рис. 4).
Рассмотрим особенности технологических схем,
нашедших промышленное применение, и конкретные примеры их использования
согласно опубликованным литературным данным. В начале освоения процесса
непрерывной разливки стали в СССР и за рубежом основными промышленными
технологическими схемами были I и VI соответственно для одно- и многоручьевых
машин. Согласно схеме I, струя металла вначале поступала в воронку, а из нее в
кристаллизатор. Струи металла не защищали. В кристаллизаторе над зеркалом
металла поддерживали защитную атмосферу из продуктов разложения и неполного
сгорания смазки и углеводородсодержащих газов.
По схеме VI металл разливали через промежуточный
ковш. Металл, поступающий в ковш и кристаллизаторы, от вторичного окисления не
защищали. Над зеркалом металла в кристаллизаторе поддерживали защитную
атмосферу из продуктов разложения и неполного сгорания смазки и
углеводородсодержащих газов. В настоящее время сохранилась только схема VI,
используемая при скоростях разливки более 1,5 м/мин. Так разливали углеродистую
и низколегированную сталь с содержанием кислоторастворимого алюминия <
0,008% в заготовки сечением 150х 150 мм на многоручьевых МНЛЗ с общим приводом
на несколько ручьев. К заготовкам не предъявляли специальных требований по
качеству поверхности и загрязненности неметаллическими включениями, так как их
прокатывали на строительную арматуру и вязальную проволоку. Надо отметить, что
указанная технология настолько отработана, что на восьмиручьевых МНЛЗ с общим
приводом на 4 ручья полностью разливали более 98 % плавок. Хотя заготовки перед
прокаткой не зачищали, значительная часть проката была аттестована Знаком
качества. Лишь в отдельных случаях при ускоренном охлаждении арматуры
периодического профиля № 36 после проката часть образцов не выдерживала
испытания на изгиб в холодном состоянии из-за повышенного содержания водорода в
металле.
С использованием схемы VI на трехручьевой МПНЛЗ
с общим приводом на 3 ручья отливали заготовки расходуемых электродов диаметром
170-190 мм из высоколегированных сталей. Перед ЭШП поверхность заготовок
зачищали. Отливка заготовок расходуемых электродов ЭШП из высоколегированных
сталей, выплавленных в 5-т электродуговой печи, по схеме VI, очевидно,
допустима из-за высоких рафинирующих возможностей процесса ЭШП.



Рис. 4. Промышленные технологические схемы
разливки и защиты металла на МНЛЗ и МПНЛЗ (I-XVII) - номера схем: 1 -
сталеразливочный ковш; 2 - промежуточный ковш; 3 - кристаллизатор; 4 - защитный
газ; 5 - смазка; 6 - жесткая герметичная камера; 7 - защитное шлаковое
покрытие; 8 -воронка погружаемого стакана; 9 - погружаемый стакан;
- огнеупорная погружаемая труба; 11 - диполь; 12
- эластичная герметичная камера; 13 - защитная плита в кристаллизаторе; 14 -
жидкий азот; 15 - полый стопор; 16 - негерметичная камера
Технологическая схема VI используется в тех
случаях, когда по каким-либо причинам не представляется возможным ввести металл
в кристаллизатор через погружаемый стакан под уровень защитного шлакового
покрытия.
Согласно более совершенной схеме VII, струи
металла из промежуточного ковша и металл в кристаллизаторе защищали жесткой
герметичной камерой. Эта камера в процессе разливки образовывала единую
систему, включающую днище промежуточного ковша и кристаллизаторы, которые
совершали совместное возвратно-поступательное движение. В указанную полость
подавали аргон под избыточным давлением и рапсовое масло. За уровнем металла в
кристаллизаторах наблюдали через специальные окна в камере, снабженные
огнеупорными стеклами. С использованием схемы VII отливали на многоручьевых
МПНЛЗ с общим приводом на 3 ручья заготовки расходуемых электродов ЭШП
диаметром 170-190 мм из высоколегированных сталей, содержащих титан, к которым
предъявляли более жесткие требования по загрязненности включениями. Изоляция от
вторичного окисления струй, вытекающих из промежуточного ковша, в несколько раз
снизила число случаев затягивания сталеразливочных стаканов, установленных в
нем.
Схема III используется за рубежом при отливке
заготовок малого сечения из сталей, не содержащих высокоактивных элементов.
Струи из сталеразливочного или промежуточного ковшей и зеркало металла в
кристаллизаторе защищают газовым экраном, образующимся при испарении жидкого
азота. При этом сохраняется возможность активно вмешиваться в ход разливки,
например убирать шлак с зеркала металла в кристаллизаторе. В СССР указанная
схема не применялась.
Схема VIII нашла применение при отливке
заготовок сечением 82х82 мм из нержавеющих хромистых, конструкционных
легированных и углеродистых сталей на многоручьевых МНЛЗ. Каждый ручей МНЛЗ
имеет самостоятельный привод и снабжен автоматикой по поддержанию уровня
металла в кристаллизаторе путем изменения скорости вытягивания. Благодаря этому
появилась возможность установить в промежуточном ковше дозаторы (без стопоров).
Струю металла из сталеразливочного ковша в промежуточный защищали огнеупорной
камерой (негерметичной), а зеркало металла в промежуточном ковше - шлаковым
покрытием. Дополнительно над зеркалом металла в промежуточном ковше
поддерживали защитную атмосферу из продуктов сгорания пропан-бутановой смеси.
Зеркало металла в кристаллизаторе и струю защищали негерметичной камерой,
заполненной продуктами неполного сгорания смазки и пропан-бутановой смеси.
Поверхность непрерывнолитых заготовок перед прокаткой не зачищают.
При отливке на одноручьевых машинах заготовок
расходуемых электродов диаметром 170 мм из жаропрочных сплавов на никелевой
основе, легированных титаном и алюминием, а также прецизионных магнитно-мягких
сплавов в плоские заготовки сечением 55х270 мм для производства холоднокатаной
ленты использовали схему II. Металл из сталеразливочного ковша поступал в
кристаллизатор через удлиненный стакан. Зеркало металла в кристаллизаторе и
струю металла защищали герметичной камерой, заполненной аргоном и продуктами
разложения рапсового масла. В процессе разливки кристаллизатор, герметичная
камера и сталеразливочный ковш совершали совместное возвратно-поступательное
движение. Благодаря этому в течение разливки всей плавки в камере сохранялась
защитная атмосфера при небольшом избыточном давлении аргона. Для устранения
поперечных ужимин на поверхности плоских заготовок использовали кристаллизаторы
с ребристыми рабочими стенками. Заготовки, отлитые по схеме II, перед
дальнейшим переделом зачищали на значительную глубину.
Сортовые заготовки малых толщин из углеродистых
и низколегированных сталей с содержанием кислоторастворимого алюминия <0,008
% с повышенными требованиями к качеству поверхности и содержанию водорода
отливали по схеме IX. Ее использовали в тех случаях, когда по каким-либо
причинам не удавалось ввести металл в кристаллизатор через погружаемый стакан.
Согласно этой схеме, открытая струя из промежуточного ковша в кристаллизаторы
поступала через слой защитного шлакового покрытия на зеркале металла. Это
покрытие создавало гарнисаж на стенках кристаллизатора, смазку и изолировало
зеркало металла от вторичного окисления. Заготовки имели хорошую поверхность.
Устранение из состава защитной среды водорода благоприятно сказалось на
пластических свойствах проката. По этой же схеме разливали углеродистые и
низколегированные стали с содержанием кислоторастворимого алюминия <0,008% в
заготовки сечением 150х(1000-1200) мм на двухручьевых МНЛЗ. Стенки
кристаллизаторов - ребристые.
Согласно схеме IV, применяемой при отливке
заготовок толщиной более 175 мм из углеродистых, легированных и
высоколегированных сталей на одноручьевых машинах, металл открытой струей из
сталеразливочного ковша поступал в кристаллизатор через воронку, соединенную с
погружаемым прямоточным или комбинированным стаканом под уровень шлакового
покрытия. Эту схему использовали при отливке заготовок 175х1020 мм для
производства горячекатаного листа и заготовок расходуемых электродов ЭШП и ВДП
(диаметром 300-520 мм и сечением 370х370 мм). Между сталеразливочным ковшом и
воронкой погружаемого стакана сохраняли воздушный зазор 150 300 мм. Поверхность
заготовок для расходуемых электродов ЭШП и прокатки перед дальнейшим переделом
не защищали. При изготовлении расходуемых электродов ВДП поверхность заготовок
зачищали.
Согласно технологическим схемам X и XI, металл
поступал в кристаллизаторы через промежуточные ковши или диполи. Струи металла
между сталеразливочным и промежуточными ковшами (диполями) не защищали. Не
защищали также струи металла из промежуточных ковшей или диполей в воронки
погружаемых в кристаллизаторы стаканов. Зеркало металла в промежуточных ковшах
(схема X) и кристаллизаторах защищали шлаковым покрытием. Такие схемы были
реализованы при отливке заготовок толщиной > 200 мм с повышенными
требованиями к качеству поверхности и к содержанию водорода. Так отливали
сортовые и трубные заготовки, из углеродистых сталей с содержанием
кислоторастворимого алюминия >0,01 %, а также плоские заготовки шириной до
500 мм для прокатки на штрипс из углеродистых и нержавеющих сталей и заготовки
расходуемых электродов сечением 370х370 мм из легированных и высоколегированных
сталей. Плотное соединение погружаемых в кристаллизатор стаканов с
промежуточным ковшом или диполью предусмотрено схемами XII и XIII. Все
остальные параметры схем X и XI остались неизменными. Так отливали слябовые и
сортовые заготовки толщиной больше 200 мм из углеродистых и низколегированных
сталей с содержанием кислоторастворимого алюминия до 0,07 %. К заготовкам
предъявляли повышенные требования по качеству поверхности, загрязненности
металла неметаллическими включениями, содержанию водорода, ударной вязкости при
минусовых температурах и по величине природного аустенитного зерна. Так же
отливали заготовки расходуемых электродов с повышенными требованиями к качеству
поверхности и загрязненности металла неметаллическими включениями. Эти схемы в
настоящее время можно считать основными.
В схеме XIII предусмотрено использование при
разливке длинных погружаемых съемных стаканов. При многоручьевой разливке
замена одного погружаемого стакана сопровождается подъемом промежуточного
ковша, в результате чего другие погружаемые стаканы оказываются выше защитного
покрытия и нарушается стабильность процесса.
По схеме XIV предусмотрена разливка металла на
многоручьевых МНЛЗ. Металл, поступающий из сталеразливочного ковша в
промежуточный, не защищали. Из промежуточного ковша в кристаллизаторы с
ребристыми рабочими стенками металл вводили через прямоточный погружаемый
стакан. Для защиты металла в кристаллизаторе использовали нерасходуемые
огнеупорные плиты, плавающие на его зеркале и расходуемое шлаковое покрытие из
малорасходной теплоизолирующей смеси или графита. Эту схему применяли при
разливке одиночных плавок из углеродистых и низколегированных сталей с
содержанием кислоторастворимого алюминия <0,01%. В настоящее время она не
применяется. Разливка металла на многоручьевых МНЛЗ через промежуточный ковш с
полной изоляцией струй и зеркала на всем пути от сталеразливочного ковша до
кристаллизатора явилась отличительной особенностью технологических схем XV и
XVI. В обеих схемах металл в кристаллизаторах и промежуточных ковшах защищали
шлаковым покрытием, а металл в кристаллизаторы вводили через погружаемые
стаканы, жестко соединенные с промежуточным ковшом. Согласно схеме XV, струю
металла из сталеразливочного ковша защищали огнеупорной трубой, жестко
соединенной со сталеразливочным ковшом. При разливке по схеме XVI между
погружаемой трубой и сталеразливочным ковшом устанавливали эластичную камеру,
которая их соединяла. Всю систему заполняли аргоном. Обе схемы рекомендуют применять
для отливки на многоручьевых МНЛЗ высококачественных заготовок из сталей,
легированных высокоактивными элементами (12Х18Н10Т; 08Ю и др.).
В последние годы для разливки стали с
содержанием кислоторастворимого алюминия > 0,02 % в заготовки, к качеству поверхности
которых предъявляются повышенные требования, в том числе по способу
"плавка на плавку", начали применять схему XVII. Она отличается от
всех схем, предусматривающих ввод металла в кристаллизатор через погружаемый
стакан, плотно соединенный с промежуточным ковшом, тем, что в струю вдувают
инертный газ, например, через полый стопор.
Анализ современного состояния организации
разливки металла на МНЛЗ И МПНЛЗ показал, что защита струи металла погружаемыми
стаканами и трубами в сочетании с зашитой зеркала его в промежуточных ковшах и
кристаллизаторах шлаками занимает ведущее место в производстве
высококачественных заготовок.[21]
.2 ЗАЩИТА СТРУИ МЕТАЛЛА НА УЧАСТКЕ
СТАЛЕРАЗЛИВОЧНЫЙ КОВШ - ПРОМЕЖУТОЧНЫЙ КОВШ, ПРОМЕЖУТОЧНЫЙ КОВШ - КРИСТАЛЛИЗАТОР
Особо следует выделить загрязнение стали в ходе
технологических переливов. Шлаковые включения могут попасть в сталь при
внедрении струи, вытекающей из сталеразливочного ковша, в жидкую ванну
промежуточного ковша. Оценка результатов разливки металла из большегрузных
ковшей показала, что в промежуточный ковш попадает 50... 100 кг шлака. При
разливке длинными сериями его количество в промежуточном ковше может достичь
многих сотен килограммов.
Чтобы предотвратить эмульгирование шлака с
металлом, на практике используют разливку с помощью защитной трубы, которая
подает сталь под уровень шлака [1]. В этом случае целесообразно использовать
автоматическую систему раннего обнаружения шлака, позволяющую своевременно
прекратить истечение металла из пустого сталеразливочного ковша. При отсутствии
такой системы часть цикла разливки (замена одного ковша на другой) происходит
без погружной трубы из-за необходимости визуальной индикации появления в струе
металла шлака. Схема установки защитной трубы и ее расположение относительно сталеразливочного
и промежуточного ковшей приведена на рис. 34. Рациональная конструкция
корундографитовой погружной трубы, полученной методом изостатического
прессования, обеспечивает разливку, в среднем 6-8 плавок.
Рис. 34. Общая схема установки защитной трубы с
помощью ручного манипулятора: 1 - сталеразливочный ковш; 2 - промежуточный
ковш; 3 - защитная труба; 4 - манипулятор
В ходе экспериментов на ряде металлургических
заводов было установлено, что защитная труба не только осуществляет подвод
стали под уровень металла в промежуточном ковше, но и способствует:
повышению качества стали благодаря уменьшению
вторичного оскисления между сталеразливочным и промежуточным ковшомом;
снижению турбулизации металла у его поверхности
и предотвращению вовлечения в жидкую ванну частиц покровного шлака;
увеличению срока службы погружных стаканов за
счет снижения скорости их зарастания оксидами алюминия;
уменьшению вероятности формирования настылей в
промежуточном ковше, а также скорости изнашивания футеровки в зоне падения
струи;
повышению безопасности работы, поскольку
исключается разбрызгивание металла в процессе разливки;
снижению потерь тепла в ходе разливки.
Один из примеров организации такой защиты
показан на рис.35. К разливочному стакану ковша 1 подсоединяется керамическая
труба 2, расширенный конец которой погружается в промежуточный ковш ниже уровня
покровного шлака. Противоположная сторона этой трубы через уплотнительную
обмазку 3 прижимается к выходному сечению разливочного стакана.
Рис. 35 Схема соединения стакана с погружной
трубой.
На верхнем торце керамической трубы укладывается
пористое кольцо 4, через которое аргон подается в щель между керамической
трубой и разливочным стаканом. Труба прижимается к стакану через уплотнительный
сальник 5. Приведенная схема надежно обеспечивает защиту струи жидкой стали от
эжектирования внешнего воздуха через опасный стык. На рис. 36 показана аргонная
защита, при которой аргон подается под верхний и нижний уровни разливочного
стакана. При этом верхняя подача аргона для защиты шиберного затвора
осуществляется под нижнюю горизонтальную плиту затвора 1, который затем по
щелевой полости 2 может перемещаться вдоль наружной поверхности разливочного
стакана 3 вниз. Вторичная защита на стыке стакан-труба выполняется по
предыдущей схеме через пористый коллектор 5 и уплотнитель 6. Представленное
устройство осуществляет двойную защиту струи жидкой стали - под шиберным
затвором и на стыке разливочного стакана с керамической трубой.
Рис 36 Схема, иллюстрирующая место ввода аргона
в разливочный ковш.
Эффективность защиты стали от вторичного
окисления во многом зависит от плотности стыка между коллектором
сталеразливочного ковша и защитной трубой.
Практические исследования показали, что разливка
на МНЛЗ без специальных мероприятий по защите стали приводит к тому, что
содержание алюминия в ней уменьшается в среднем на 0,012...0,014%, а кислорода
- повышается почти вдвое. Это свидетельствует о том, что в ходе разливки
происходят весьма большие потери алюминия, которые можно предотвратить при
проведении специальных мероприятий.
Таким образом, защита стали от вторичного
окисления кислородом воздуха может преследовать такие основные задачи:
снижение расхода алюминия на раскисление стали;
повышение чистоты непрерывнолитой заготовки по
оксидным включениям;
обеспечение стабильности процесса разливки за
счет снижения скорости зарастания погружного стакана и стакана-дозатора.
Теоретический анализ условий для вторичного
окисления стали при непрерывной разливке выполнен на основании следующих
предпосылок.
Степень окисления элементов, имеющих большое
сродство с кислородом, во многом зависит от площади и продолжительности
контакта жидкого металла с кислородом воздуха. Рассмотрим приближенный расчет
этих величин для идеализированных условий разливки [22].
Поверхность контакта с воздухом струи металла,
вытекающей из сталеразливочного или промежуточного ковша, можно рассчитать по
формулам, в которых эта струя будет представлена как цилиндр диаметром di,
равным диаметру рабочего канала стакана, и высотой Hi. Тогда площадь
поверхности струи:
=π*di*Hi;
(4)
а общая длина струи:
(5)
где G - масса разливаемой плавки; γ - плотность
жидкой стали.
Таким образом получаем,
(6)
Продолжительность t, контакта
движущейся струи металла с воздухом зависит от расстояния Hi, между нижним
срезом коллектора (стакана-дозатора) и местом входа струи в металл, а также от
линейной скоростью струи νi:
. (7)
Линейная скорость
(8)
Подставляя уравнение (5) в уравнение
(6), получаем:
. (9)
Массовая скорость разливки металла
определяется по формуле:
. (10)
Здесь ψ -
коэффициент расхода струи металла, принятый равным единице; g - ускорение
свободного падения; H” - высота металла в ковше.
Степень окисления элементарных
объемов металла зависит от продолжительности их контакта с атмосферой, а
продолжительность контакта, в свою очередь, - от скорости циркулирующих
потоков.
При разливке сверху металл на
поверхности перемещается от стенок сосуда (промежуточного ковша,
кристаллизатора) к середине. Скорость циркулирующего потока можно определить из
условия его неразрывности:
, (11)
или
, (12)
где νmax -
максимальная скорость подъема циркулирующих объемов металла вдоль стенок ковша
(кристаллизатора); S - площадь зеркала металла.
Согласно экспериментальным данным
различных исследователей,
, (13)
где d’ - диаметр струи, входящей в металл.
Тогда
. (14)
Продолжительность контакта с
атмосферой 1 см2 зеркала металла в промежуточном ковше рассчитывается по
выражению:
(15)
Результаты расчета площади
поверхности и продолжительности контакта жидкого металла с атмосферой в
конкретных условиях разливки приведены в табл. 13.
Таким образом, расчеты показали, что
более продолжительный контакт с воздухом приходится на зеркало металла в
промежуточном ковше и кристаллизаторе. Это приводит не только к окислению, но и
к значительному охлаждению локальных объемов металла.
Таблица 13. Условия контакта металла
с атмосферой и диффузионное поглощение кислорода металлом при непрерывном литье
заготовок
|
Область
контакта
|
Время,
мин
|
Удельная
поверхность контакта, м2/т
|
Поглощено
кислорода, %*10-5
|
|
Струя
между сталеразливочным и промежуточным ковшами
|
0,00283
|
8.88
|
89
|
|
Зеркало
металла в промежуточном ковше
|
0.14000
|
2.47
|
384
|
|
Струя
между промежуточным ковшом и кристаллизатором
|
0.00330
|
13,33
|
190
|
|
Зеркало
металла в кристаллизаторе
|
0.07800
|
4,46
|
254
|
|
Итого
|
-
|
-
|
917
|
|
Прим.:
- Расчетные концентрации кислорода, находящиеся в рав-новесии с Al, Si и Mn
составляют соответственно 163,456 и 851 %10-5
|
|
|
|
|
|
Струи металла в ходе технологических переливов
имеют более развитую поверхность контакта с атмосферой, но меньшую его
продолжительность. Следует, однако, помнить, что при движении струи поверхность
ее контакта с воздухом может увеличиваться во много раз за счет разбрызгиваний
и деформаций геометрической формы. В целом же все участки контакта металла с
атмосферой нуждаются в обязательной защите от вторичного окисления (рис.37):
• стык между коллектором и погружной трубой на
участке «сталеразливочный ковш - промежуточный ковш»;
• зеркало металла в промежуточном ковше;
• стык между стаканом-дозатором и погружным
стаканом на участке «промежуточный ковш - кристаллизатор»:
• зеркало металла в кристаллизаторе.
Рис. 37. Общая схема перемещения стали при
разливке на МНЛЗ и способы ее защиты от вторичного окисления: 1 - коллектор; 2
- защитная труба; 3 - стопор; 4 - промежуточный ковш; 5 - стакан-дозатор; 6 -
погружной стакан; 7 - кристаллизатор; 8 - распределительное кольцо для подачи
аргона; 9 - теплоизолирующая смесь; 10 - шлакообразующая смесь; 11 - кольцо для
подачи аргона.
Примерную количественную оценку поглощения
кислорода воздуха жидкой сталью можно сделать, используя законы диффузии в
газовых турбулентных потоках. Количество вещества, прошедшего через поверхность
раздела в металл из газа, можно определить из известного уравнения:
= βдиф
(Сс - Сf)F , (16)
Где βдиф
- скорость перехода вещества в поверхностный слой потока путем диффузии: Сc, Сf
- средняя концентрация вещества соответственно в потоке и на поверхности
раздела; F - площадь поверхности потока.
Значение βдиф
рассчитывается следующим образом:
βдиф = D/δ,
(17)
Здесь D - коэффициент диффузного вещества: δ
- толщина диффузного слоя.
Поскольку значение δ
неизвестна, то скорость βдиф можно
приблизительно определить, исходя из подобия законов диффузии и теплопередачи
конвекцией:
(18)
Тогда уравнение (16) запишется так:
(19)
Вычислим величины, входящие в
формулу (19). Скорость движения воздуха у струи условно примем равной
среднеарифметической скорости движения струи:
ср=0,5(νi + νk) (20)
где νi - скорость
истечения струи из стакана ковша (сталеразливочного или промежуточного); νk - то же,
струи при входе в зеркало металла в промежуточном ковше или кристаллизаторе,
νk = νi +
.
Число Рейнольдса при температуре ТК
и давлении 1 Па можно установить по формуле
. (21)
Концентрацию кислорода в газовом
слое, соприкасающемся с жидкой сталью, можно условно принять равной нулю.
Аналогично определяется количество
кислорода, поглощенное поверхностью металла в промежуточном ковше и кристаллизаторе.
Результаты расчетов приведены в табл.13. Из них видно, что суммарное увеличение
содержания кислорода в стали вследствие диффузии при разливке в обычной
атмосфере может составлять 0.00917%. Эта цифра может значительно возрасти при
разливке на многоручьевых MНJI3 из-за увеличения суммарной поверхности струй
между промежуточным ковшомом и кристаллизаторами.
В настоящее время для защиты стали
от вторичного окисления в промежуточном ковше и кристаллизаторе используют
специальные шлакообразующие смеси, создающие жидкую пленку на зеркале металла
[23,24].
Чтобы уменьшить подсос кислорода
воздуха в стыке между коллектором и погружной трубой рекомендуется постоянный
обдув этого места аргоном (см. рис.37). Его наиболее целесообразно подавать
через специальное распределительное кольцо, расположенное непосредственно над
стыком. Увеличение диаметра отверстий, как показали исследования, крайне
отрицательно сказывается на стойкости погружной трубы из-за локального
охлаждения поверхности в месте прямого попадания струн аргона, что приводит к
растрескиванию огнеупоров. При отсутствии больших зазоров между поверхностями
коллектора и погружной трубы аргонная защита с помощью распределительного
кольца уменьшает потери алюминия в среднем в 2-3 раза.
Наиболее важной и наименее изученной
на практике является защита стали от вторичного окисления на участке от
промежуточного ковша до кристаллизатора. Где все образовавшиеся оксиды попадают
непосредственно в жидкую фазу заготовки (кроме осевших на внутренней
поверхности погружного стакана) и уже из нее не удаляются.
На практике установлено, что наличие
погружного стакана не является достаточно эффективным средством зашиты от
вторичного окисления. Это следует связывать с эффектом эжекционного
подсасывания воздуха в зазор между стаканом-дозатором и погружным стаканом.
Некоторый подсос воздуха также происходит через поры в материале погружного
стакана.
На основании выполненных
исследований на практике можно рекомендовать следующие методы защиты:
. Аргоном через специальное распределительное
кольцо эффективность определяется степенью рассредоточения подаваемого аргона
(рис. 38, а);
. Установка в месте стыка
специальной керамической прокладки, препятствующей подсосу воздуха через стык
(рис. 38, б);
. Установка на погружной стакан металлического
бандажа, имеющего систему для вдувания аргона непосредственно встык между
погружным стаканом и стаканом промежуточного ковша (рис. 38, в).
Рис.38. Основные методы защиты стыка
между стаканом-дозатором и погружным стаканом.
В первой конструкции эффективность
защиты определяется степенью рассредоточения аргона, которое достигается за
счет регламентирования диаметра отверстий в кольце (1...1,5 мм), их количества
(расстояние между отверстиями 15...20 мм) и геометрического положения отверстий
относительно стакана-дозатора (внутренняя и нижняя поверхность кольца).
Использование второй конструкции на
практике выявило определенные недостатки, которые заключаются в том, что при
наличии разнотолщинности керамической прокладки или неправильной установки
погружного стакана (несимметричность), происходит растрескивание погружного
стакана в зоне интенсивного подсоса воздуха из-за локального обезуглероживания
материала. Дополнительно следует отмстить, что место стыка между стаканом-дозатором
и погружным стаканом может выполняться в виде конуса, или полусферы.
Приведенные приемы не являются
единственными и имеют определенные ограничения: они не срабатывают при большом
зазоре между стаканом-дозатором и погружным стаканом, а также они не
обеспечивают полной защиты от захвата кислорода воздуха.
По мнению авторов [1], при разливке
сталей с повышенным содержанием алюминия, а также сталей, подвергнутых
вакуумной обработке, можно рекомендовать использование комбинированную защиту
стыка стакана-дозатора и погружного стакана: аргоном при установке в месте
стыка специальной керамической прокладки, препятствующей подсосу воздуха. Эта
схема успешно прошла промышленные испытания.
Еще более эффективно использование
для защиты стали от вторичного окисления единого погружного стакана, который
устанавливается непосредственно в футеровку промежуточного ковша. Такая схема
разливки предполагает возможность подъема промежуточного ковша на высоту
700...800 мм (для его транспортировки к кристаллизаторам). Кроме того, в этом
случае серийность разливки будет полностью зависеть от скорости разрушения или
зарастания погружного стакана (в силу невозможности его замены). В конечном
счете, схема с единым погружным стаканом, видимо, наиболее приемлема при разливке
высококачественных сталей с высокими требованиями по содержанию газов в стали.
Однако в силу склонности корундографитовых изделий к зарастанию представляется
целесообразным применять их в совокупности с обработкой стали кальцием.
Обобщая рассмотренные результаты
практических и теоретических исследований, отметим, что предотвратить
загрязнение стали неметаллическими включениями и от вторичного окисления
возможно, но только при комплексном подходе. При этом необходимо принимать во
внимание не только традиционные факторы, но также и условия движения стали на
участке от сталеразливочного ковша до кристаллизатора, регулирования расхода
металла при истечении из промежуточного ковша, качество огнеупорных материалов
и пр.
3.3 ФУНКЦИИ И СВОЙСТВА
ШЛАКООБРАЗУЮЩИХ СМЕСЕЙ ДЛЯ КРИСТАЛЛИЗАТОРА
Шлакообразующие смеси (ШОС) для
разливки на МНЛЗ получили широкое распространение благодаря выполнению ими ряда
важнейших функций [23]:
. Смазочный эффект между
кристаллизатором и корочкой затвердевшей стали и предотвращение прямого
контакта между ними. На зеркале жидкой стали образуются три зоны из смеси:
порошкообразная зона; зона спеченного порошка; жидкий шлак (рис. 39). Основная
часть жидкого шлака втекает в зазор между кристаллизатором и заготовкой и тем
самым действует как смазка.
. Установление и уравновешивание
теплопередачи в кристаллизаторе. Известно, что продольная трещина на
поверхности непрерывнолитых заготовок в основном связана с повышенной
теплопередачей в кристаллизаторе. Теплопроводность шлакового гарнисажа можно
уменьшить повышением основности шлака (получение кристаллической структуры
вместо стекловидной) и изменением его вязкости [23].
. Защитное шлаковое покрытие
ассимилирует продукты раскисления, которые всплывают к зеркалу металла в
кристаллизаторе. Поглощение глинозема и кремнезема изменяет химический состав
защитного шлака и его физических свойств, и в том числе - вязкость. Фториды
(NaF, CaF,) способствуют снижению вязкости и ассимиляции включений. С другой
стороны фториды увеличивают износ погружного стакана.
. Защита стали от вторичного
окисления. Для предотвращения вторичного окисления суммарное содержание окислов
железа должно быть меньше 4%, а на практике не более 2%.
. Теплоизоляция зеркала металла.
Рис. 39. Схема действия ШОС
Все функции имеют важное значение,
но в повседневной практике наиболее важными являются смазка и горизонтальная
теплопередача. Основными факторами, которые следует учитывать при выборе
рабочих характеристик флюса, являются:
условия разливки (скорость разливки
Vc, характеристики качания кристаллизатора);
марка стали и размер
кристаллизатора;
регулирование уровня в
кристаллизаторе;
условия подвода и гидродинамика
жидкого металла.
Для подачи в кристаллизатор обычно
используют ШОС, состоящий примерно из 70% (CaO+SiO2), 0-6% MgO, 2-6% Al2O3,
2-10% Na2O3+K2O, 0-10%F, с различными добавками - TiO2, ZrO2, В2О3, Li2O и MnO;
основность (СаО/SiO2) 0,7-1,3. Частицы углерода в виде мелочи кокса, сажи и
графита добавляются (2-20%) для регулирования скорости плавления и для
образования восстановительной атмосферы СО в верхней части кристаллизатора для
защиты металла от окисления. Частицы углерода не смачиваются шлаком и поэтому
капельки шлака защищены от отекания из-за присутствия частиц углерода до тех
пор, пока последний не будет израсходован в процессе окисления. В этом
заключается механизм регулирования скорости плавления [23]. Жидкая составляющая
ШOC в кристаллизаторе обеспечивает смазку стального слитка. Важно, чтобы жидкая
смазка имелась в наличии на протяжении всего слитка, потому что если произойдет
полная кристаллизация шлака в нижней половине кристаллизатора и жидкая смазка
будет отсутствовать, могут возникнуть проблемы (образование разветвленных
трещин). Гидродинамическое трение скорость в кристаллизаторе уменьшается по
мере снижения вязкости и увеличения толщины пленки жидкого флюса. Расход
порошка обеспечивает необходимое количество смазки и сильно зависит от размера
кристаллизатора, потому что трение повышается по мере увеличения расстояния от
угла. Поэтому силы трения гораздо больше при разливе слябов, чем блюмов и
заготовок, и увеличиваются с повышением вязкости ШОС.
Недостаточный расход порошка
приводит к возникновению различных дефектов и проблем, а именно: образованию
продольных трещин, прорывам жидкой стали в результате прилипания (подвисания)
корки слитков в кристаллизаторе, появлению глубоких следов качания
кристаллизатора, образованию поперечных трещин по углам и впадин. Большинство
исследователей считают, что на расход ШОС влияют в основном две составляющие:
часть ШОС, которая идет на смазку кристаллизатора, и та часть, которая
захватывается следами качания кристаллизатора.
Горизонтальная теплопередача
является сложным процессом, в котором задействованы два механизма, а именно:
решеточная, или фононная проводимость и излучающая проводимость. Излучающая
проводимость подразумевает поглощение и повторную отдачу излучаемой энергии и
может стать доминирующим механизмом передачи в стекловидных материалах при
высоких температурах [25].
Слой порошка должен обеспечивать
достаточную теплоизоляцию для предотвращения застывания поверхности стали.
Уменьшение вертикального теплового потока имеет также большое значение для
уменьшения глубины следов качания кристаллизатора и снижения «ситовидной
пористости» путем уменьшения длины «серпа» мениска [25]. Теплоизоляция зависит
от основных природных характеристик слоя шлака и в общих чертах увеличивается в
следующих случаях: при использовании в последовательности порошков гранул,
полученных с помощью экструзии, и шаровидных гранул; по мере уменьшения размера
гранул; при увеличении толщины слоя шлака; при введении в состав ШОС
экзотермических порошков.
Ассимиляция включении IIIOC имеет
важное значение, потому что механические свойства стали, зависят как от
количества включений, так и от их размера. Это сложный многостадийный процесс.
Ассимиляции включений способствуют большой краевой угол смачивания между
включением, металлом и шлаком и смачивание включений (большая часть включений
смачивается шлаками).
Вместе с тем работа ШОС определяется
организацией потоков жидкой стали в кристаллизаторе. Турбулентный поток
воздействует на ванну шлака и приводит к: захвату шлака и газа, способному
вызвать возникновение поверхностных дефектов у проката; поглощению углерода,
особенно у сверхмалоуглеродистых марок стали; эрозии погружаемого стакана,
особенно на поверхности раздела металл-шлак; чрезмерному охлаждению поверхности
стали вследствие уменьшения теплоизоляции. Чаще всего возникновение
турбулентных потоков связываются с заглублением погружаемого стакана,
конструкцией отверстий этого стакана и расходом аргона. Предполагается, что ШОС
в кристаллизаторе должны компенсировать влияние воздействий турбулентного
потока за счет использования смесей с более высокой вязкостью. Однако это ведет
к снижению расхода порошка и возникновению других проблем, в частности дефектов
слитка - различного рода трещинам, складчатости, газовых и шлаковых включений,
прорывов и др.
Значительный объем исследований
посвящен свойствам ШОС, применяемых для засыпки в кристаллизатор. Вязкость (или
жидкотекучесть) ШОС для подачи в кристаллизатор является наиболее важным из
свойств: она определяет расход порошка, а, следовательно, и смазку корки
слитка: захват шлака обычно устраняют увеличением вязкости; степень эрозии
погружаемого стакана пропорциональна жидкотекучести (измеряется на
вискозиметре).
Технологические свойства ШОС
определяются рядом температурных характеристик. Температура ликвидуса Tliq
представляет собой конечную температуру плавления ШОС и измеряется в ходе цикла
нагрева по данным дифференциальной термогравиметрии и/или дифференциальной
сканирующей калориметрии или испытаний с помощью микроскопа Лейца; Tliq
определяет поверхность раздела между жидкой ванной (лункой), пористой зоной в
слое порошка и аналитически может быть рассчитана с точностью до ±35°С.
Температура затвердения Тsol
представляет собой температуру, при которой в процессе охлаждения затвердевает
(или кристаллизуется) расплавленная ШОС. Температура перелома Tbr представляет
собой температуру, ниже которой наблюдается заметное увеличение вязкости. Как
правило, величины Tbr и Tsol близки между собой, но иногда разница между ними
достигает 70°C.
Температуры перелома (и возможного
затвердевания) снижаются с увеличением скорости охлаждения и обычно измеряются
при скорости охлаждения -10 С/мин. Фактически Тbr может быть значительно ниже,
так как скорость охлаждения в кристаллизаторе составляет 10 °С/с [25].
Практические результаты, полученные
в промышленных условиях, показали, что при разливке среднеуглеродистых сталей,
которые подвержены образованию продольных трещин, ШОС при log10 (дПа*с) 1.0-3.5
имеет температуру перелома ШОС при разливке высокоуглеродистых сталей которые
подвержены прорывам жидкой стали в результате прилипания корки слитка в кристаллизаторе,
- в интервале 1030-1150°С. Для других марок стали Tbr расположены между этими
интервалами в зависимости от вязкости. Установлено, что тепловое сопротивление
RCu/sl увеличивается с повышением толщины и качества кристаллической фазы в
пленке шлака. Важность присутствия кристаллической фазы в пленке шлака для
горизонтальной теплопередачи послужила своеобразным катализатором при
проведении научно-исследовательских работ в области кристаллизации.
Поверхностное натяжение имеет большое значение для процесса непрерывной
разливки, поскольку высокое значение помогает свести до минимума захват шлака.
Форма мениска, а, следовательно, и ширина канала для проникновения шлака
определяется по капиллярной константе, которая включает величину поверхностного
натяжения. Установлено, что компоненты натрия снижают величину поверхностного
натяжения, а А12O3- увеличивают. Поверхностное натяжение на границе металл-шлак
в значительной степени зависит от поверхностного натяжения на границе
металл-газ, которое определяется содержанием в металле серы. Поэтому менее
вероятно, что регулирование состава шлака будет иметь большое влияние на
поверхностное натяжение на границе металл-шлак, чем регулирование в металле
содержания серы.
Тепловые свойства ШОС играют важную
роль в горизонтальной теплопередаче между коркой слитка и кристаллизатором.
Имеют множество данных о величине температуропроводности стекловидных,
кристаллических и жидких шлаков, пленок шлака, отобранных из кристаллизатора.
.3.1 СОСТАВЫ ШЛАКООБРАЗУЮШИХ СМЕСЕЙ
Все смеси по составу основы
расплавов делятся на четыре группы, состоящие из тройных систем: SiO2 -Al2O3-
FеО, SiO2-Al2O3-Na2O, SiO2-Al2O3-CaO, CaO-SiO2-MnO.
В качестве флюсующих добавок в
составы ШОС включают фториды (СаF2) оксид бора (B2O3), оксиды щелочных металлов
(Na2O, K2O) и др. Для регулирования скорости плавления вносят
углеродосодержащие материалы.
Тройная система SiO2-Al2O3-FeO
практически не изучена и мало используется в металлургической практике.
Расплавы на основе тройной системы
SiO2-Al2O3-Na2O характеризуется высокой вязкостью и низкой ёмкостью по
включениям глинозема (Аl2О3).
Тройная система SiO2-Al2O3-CaO
получила наиболее широкое применение в составах ШОС, позволив решить задачи
разливки практически всего сортамента сталей. Ниже приведены примеры ШОС на
основе тройной системы SiO2-Al2O3-CaO.
В ОАО «ММК им. Ильича» (г.
Мариуполь, Украина) применяют в кристаллизаторах МНЛЗ смесь ШОС-5 с
температурой плавления 1070-1130°С, удельным расходом 0,85 кг/т и химическим
составом (% масс.доля) [26]:
|
SiO2
|
СаО
|
А12О3
|
MnО
|
F
|
С
|
Влажность,
%
|
Основность
|
|
6
|
30-37
|
7-10
|
<1,0
|
6.0-10,0
|
7,0-10.0
|
<0.5
|
1.0-1.4
|
ШОС -5 позволила исключить прорывы по причине
«подвисание», не комкуется, равномерно проплавляется, способствует минимальному
науглероживанию.
В ОАО «КМК» (г. Новокузнецк, РФ) для разливки в
блюмы рельсовой стали разработали ШОС с насыпной плотностью 0,47т/м3 удельным
расходом 0,3-0,5кг/т и химическим составом (%масс.доля) [26]:
|
С
|
СаО
|
SiO2
|
А12О3
|
CaO/SiO2
|
F
|
Na+
|
К+
|
|
15,0-20.0
|
26,0-32.0
|
30,0-36,0
|
6,5-8,0
|
0,7-1,0
|
4.0-4.5
|
3.5-4,0
|
0,7-1,0
|
В качестве компонентов ШОС использовали
пылевидные отходы и аспирационных установок производства алюминия, ферросплавов
и извести.
Использование данной ШОС позволило повысить
ассимилирующую способность смеси по глинозему, снизить износ стенок
кристаллизатора повысить стойкость погружных стаканов, исключить брак по
дефектам поверхности.
В ОАО «МК» Азовсталь» (г. Мариуполь, Украина)
при разливке в слябы трещиночувствительных марок стали используют смесь ШOC-1,
на основе портландцемента, с температурой начала течения 1160°С, компоненты
которой образуют тройную систему SiO2-Al2O3 и имеют следующее соотношение [26]:
|
Наименование
компонента
|
Содержание
компонента, % (масс.доля)
|
|
Шлакопортландцемент
400
|
31
|
|
Сиенит
алюмощелочной
|
27
|
|
Силикат
натрия растворимый
|
12
|
|
Графит
|
10
|
Установлено, что при использовании ШОС на основе
портландцемента индекс прорывов металла под кристаллизатором существенно ниже,
чем при использовании ШОС на основе шлаков ферросплавов. Это резко проявляется
при нестабильной скорости разливки.
ШОС-1 имеет средний фракционный состав (доля
фракции в %):
|
<0.1
|
0.1-0.63
|
>0.63
|
|
65
|
32
|
2.0
|
Количество поверхностных дефектов при
использовании смесей тонкодисперсного состава снижается в 1,2-1,3 раза.
В ОАО «ММК» (г. Магнитогорск, РФ) разработана
ШОС с компонентным составом на основе тройной системы SiO2-Al2O3 - CaO [26] :
|
Наименование
компонента
|
Содержание
компонента, % (масс, доля)
|
|
Углеродосдержащий
материал
|
8-12
|
|
Фторсодержащий
материал
|
20-24
|
|
Силикат
натрия растворимый
|
19-23
|
|
Концентрат
датолитовый
|
17-23
|
|
Материал
на основе окислов кремния
|
3-9
|
|
Цемент
|
ост.
|
Смесь гранулированная с преимущественными
размерами гранул 0,1-0,5мм.
В ЛГТУ (г. Липецк, РФ) на основе данных
лабораторных исследований были составлены опытные ШОС с температурой плавления
1160°С на основе тройной системы SiO2-Al2O3-CaO с компонентным составом [26] :
|
Наименование
компонента
|
Содержание
компонента, % (масс, доля)
|
|
ШОС-1
|
ШОС-2
|
|
Графит
аморфный
|
7
|
7
|
|
Флогопит
|
23
|
20
|
|
Плавиковый
шпат
|
15
|
15
|
|
Сиенит
алюмощелочной
|
10
|
20
|
|
Концентрат
датолитовый
|
15
|
8
|
|
Шлакопортландцемент
|
30
|
0
|
|
Доменный
шлак
|
0
|
30
|
В НПП «Ассоциация Экотехника» (Украина)
совместно с рядом металлургических заводов разработана ШОС для слябовых МНЛЗ на
основе тройной системы CaO-SiO2-MnO с температурой растекания 1190-1210°С и
химическим составом (% масс. доля) [26] :
|
SiO2
|
СаО
|
МnО
|
F
|
С
|
А12О3
|
MgO
|
S
|
Feобщ
|
Влага,%
|
|
25.0-34.0
|
30.0-37.0
|
10.0-15.0
|
5.0-8.0
|
6.0-10.0
|
<0.6
|
<5.0
|
<0.8
|
<1.5
|
0.5
|
Оксиды кальция, кремния и марганца при
оптимальном соотношении в сплавленном состоянии обеспечивают быстрый процесс
формирования гомогенного шлака. Наличие в смеси оксидов марганца увеличивает
долю кристаллической составляющей в шлаковом гарнисаже и позволяет
оптимизировать тепловой поток от оболочки слитка к стенкам кристаллизатора.
Практически негигроскопичны, следовательно, длительное время хранятся без
потери технологических свойств. Универсальны, так как используются при
непрерывной разливке различных марок стали. Стоимость значительно ниже, чем
заграничные аналоги.
В ОАО «НПП «Техмет» разработали смеси, которые
позволили снизить сквозное попадание температур по циклу внепечной обработки и
непрерывной разливки на 10-12°С, что позволило стабилизировать изменения
температуры металла в промежуточном ковше на уровне ± (4-6)°С и увеличение
выхода годного на 5,5-6,0кг/т стали. Экономический эффект от применения
теплоизоляции стали в сталеразливочных ковшах составил 0,2 евро/т стали. Расход
смеси 0,65кг/т [26].
Опытно-промышленные опробования смеси на
плавленой основе ШОС-Т-4 покачали существенное снижение отсортировки листового
проката по дефектам сталеплавильного производства (плена, трещины различной
морфологии) [26].
|
Основность
(ΣCaO/SiO2)
|
Содержание
СаF2, % (по массе)
|
Угар
фтора по отношению к исходной смеси без углерода, % (отн.)
|
|
в
исходной смеси
|
в
исходной смеси без углерода
|
в
конечном шлаке
|
|
|
0.89
|
12.39
|
14.58
|
13.03
|
10.63
|
В ОАО «ММК» с целью предотвращения
науглероживания стали в ходе непрерывной разливки (как показали исследования,
при использовании смеси с 6-10%С науглероживание возрастает до 0.01% [26] были
предложены специальные малоуглеродистые шлакообразующие смеси №10 [26] и №11
[26]. Первая смесь используется к кристаллизаторе, вторая - в промежуточном
ковше МНЛЗ: обе смеси изготавливаются в виде гранул [26].
При применении в промежуточном ковше смесей,
содержание не более 3% С. а в кристаллизаторе- с содержанием не более 2% С
науглероживания слябов на 70% плавок не происходит: на остальных плавках оно
находится в пределах до 0,001%. Содержание углерода в непрерывнолитых слитках
IF-стали на отдельных плавках получили от 0.003 до 0.005%. что в основном
определялось массовой долей углерода в металле, поступающем на разливку.
Новая шлакообразующая смесь для непрерывной
разливки стали с ультранизким содержанием углерода разработана на ОАО «МТМК».
Вместо углерода в качестве горючей составляющей использовали порошкообразный
нитрид бора. Новая смесь, как теплоизолятор, подобна при аналогичных свойствах
вязкости и абсорбции включений, но исключает возможность поверхностно науглероживания
непрерывнолитого металла. При этом выявлено появление бора в металле,
контактирующим со смесью [26].
.3.2 РЕКОМЕНДАЦИИ ПО ПОДБОРУ И РАЗРАБОТКЕ ШОС
Подбором оптимальной ШОС (особенно по вязкости и
основности) для определенного сортамента можно повысить качество
непрерывнолитых заготовок и выход годного.
Комплексными критериями выбора состава
шлакообразующих смесей являются минимальное усилие вытягивания заготовки,
которое характеризуется силой жидкостного трения в кристаллизаторе, и удельный
расход смеси. Удельный расход смеси зависит от геометрических размеров
кристаллизатора, скорости разливки, толщины жидкой шлаковой прослойки на
мениске металла и скорости спекания порошка.
Физические свойства ШОС такие как вязкость в
интервале температуры 1100...1400°С, температурный интервал плавления, скорость
проплавления, гранулометрический состав и другие должны находится в
определенных пределах в зависимости от параметров непрерывной разливки при
комплексном рассмотрении систем шлак-сталь-кристаллизатор. Скорость спекания
порошка является функцией от химического состава ШОС, вида и количества
углеродистой составляющей гранулометрического состава порошка [26]. Как
известно, требуемый расход порошковой смеси может быть достигнут за счёт
регулирования параметра V в диапазоне от 1 до 3,5 с учётом изменения вязкости
при поглощении ими неметаллических включений из жидкого металла.
Для разливки на МНЛЗ специальных сортов стали на
слябовые заготовки рекомендуются различные составы ШОС (табл.14) [26].
Таблица 14. Свойства шлакообразующих смесей,
применяемых для различных сортов сталей.
|
Показатель
|
Сталь
|
|
С
очень низким содержанием углерода
|
Низкоуг-леродистая
|
Перитектическая
|
Среднеугле-родистая
|
Высоко-yглepoдистая
|
|
Содержание
углерода. %
|
<
0.005
|
0,005-0.08
|
0,08-0.17
|
0,08-0,35
|
>0,35
|
|
Скорость
разливки, м/мин
|
0,6-1,6
|
0.6-1,8
|
0,6-1.6
|
0,6-1,6
|
0,6-1,6
|
|
Типичные
дефекты, связанные со смесями
|
Плены,
науглерожи-вание, неметалли-ческие включения
|
Плены,
прорывы
|
Продольные
трещины
|
Продольные
трещины
|
трещины
|
|
Требования
к смесям:
|
|
содержание
углерода. %
|
2
(макс.)
|
3,0-7,0
|
3,0-5,0
|
3,0-5,0
|
6,0-8.0
|
|
температура
кристаллиза-ции шлака, °С
|
950-1050
|
1050-1100
|
1140-1220
|
1140-1220
|
950-1100
|
|
время
расплавления при 1250°С, с
|
50
|
100-150
|
50-100
|
50-100
|
50-100
|
|
основность
|
0,9-1,2
|
0,7-0.9
|
1,0-1,3
|
1,0-1,3
|
0.7-1.0
|
|
вязкость
при 1300°С, Пз
|
1,4-3.0
|
0,8-1,2
|
1,2-2,2
|
1,2-2,2
|
0.8-1.2
|
|
насыпная
масса, кг/л
|
0,5-0,6
|
0,6-0,8
|
0,6-0.8
|
0.6-0,8
|
0.5-0,6
|
Стали с очень низким содержанием углерода (С<
0,005%).
Низкое содержание углерода в стали связано с
высокой температурой кристаллизации и с высоким содержанием кислорода и
продуктов раскисления, т.е. глинозема и кремнезема. Оба фактора могут привести
к захвату растущими кристаллами неметаллических включений. Для предотвращения
этого следует:
увеличить теплоизоляцию ШОС за счет уменьшения
её удельного веса;
уменьшить теплопроводность шлакового гарнисажа
за счёт повышения его основности и изменения вязкости;
использовать экзотермические ШOC.
Еще следует отметить, что низкое содержание
углерода в стали, требует низкого содержания углерода в ШОС. В противном случае
имеет место науглероживание разливаемой стали. Для установления необходимой для
данной скорости разливки стали скорости расплавления смеси источником углерода
следует выбрать или сажу или графит. Возможна также замена углерода бором,
имеющим подобный эффект. Последнее возможно только тогда, когда сталь не
содержит азота. В противном случае выделятся нитриды бора.
Стали с низким содержанием углерода (0.03< С
> 0.08%).
Стали с низким содержанием углерода обычно
хорошо разливаются. Так как разливка идет с высокой скоростью, важно установить
правильную вязкость шлака. Высокие скорости разливки требуют низких значений
вязкости и наоборот.
Повышенная вязкость шлака может привести к тому,
что между кристаллизатором и оболочкой слитка не образуется шлаковый гарнисаж.
Жидкая сталь приваривается к стенкам кристаллизатора. Могут быть прорывы.
Важно, чтобы поглощение продуктов раскисления шлаком не привели к тому, что
содержание глинозема в шлаке стало 10%. В этом случае вязкость шлака быстро
возрастает. Понижение вязкости, а также пониженные температуры расплавления
защитной смеси могут привести к увеличению расхода последней.
Стали с содержанием углерода 0,08-0,16%
(перитектические стали).
Эти стали склонны к трещинообразованию. Причиной
является превращение δ-железа в γ-железо,
которое сопровождается большим уменьшением объема. Это приводит к быстрому
образованию зазора между кристаллизатором и заготовкой, за счет которого
теплопередача тормозится. Уменьшение теплоотвода снова ведет к нагреву
затвердевшей оболочки и за счет ферростатического давления этот слой снова
прижимается к стенке кристаллизатора.
Результатом подобной неравномерной теплопередачи
являются значительные термические напряжения. Для отливки бездефектных заготовок
целесообразно применение ШОС, которые обеспечивают заполнение зазора между
заготовкой и кристаллизатором и равномерную, не очень быструю теплопередачу.
Для этого необходимы низкая вязкость шлака и кристаллическая структура его
вместо стекловидной, что достигается основностью свыше 1. При кристаллическом
затвердении шлака внутри него образуется множество микропор, являющихся
причиной снижения теплопроводности.
Уменьшение содержания свободного углерода в ШOC
приводит к более высокой скорости ее расплавления и тем самым к проникновению
жидкого шлака в зазоры между оболочкой слитка и кристаллизатором.
Стали с повышенным содержанием углерода
(С>0.2%).
Эти стали обладают малой горячей прочностью. Их
разливают с пониженными скоростями и при пониженных температурах.
Соответственно для предотвращения недостаточного расплавления смеси и
приваривания стали к стенке кристаллизатора ШOC должны иметь низкие вязкости и
температуры расплавления. Для обеспечения хорошей теплоизоляции они должны
иметь низкий удельный вес.
Недостатки применения ШОС
Одним из существенных недостатков разливки под
шлаком является захват с контактной поверхности металл-шлак неметаллических
шлаковых включении, которые при непрерывном вытягивании заготовки остаются
внутри затвердевшего металла. Наибольшее развитие этот процесс приобретает при
непрерывной разливке стали, при которой обратные турбулентные потоки, выходящие
из затопленного стакана, обладают большим скоростным напором и отрывают
частички жидкого шлака. Схема такого процесса представлена на рис. 40, а [26].
Подача аргона и районе выходных сечений боковых струй из погружного стакана
может препятствовать захвату частиц шлака. Образующаяся при этом зона газовых
пузырьков может приостановить этот процесс и при своем всплывании возвращать
неметаллические шлаковые включения на границу металл-шлак (рис 40, б).
Рис. 10. Высокая скорость на границе раздела
может привести к захвату вблизи узкого конца слитка шлаковых частиц: а (0, 1,
2, 3, 4) - влияние изменения продолжительности воздействия жидкой стали на
захват неметаллических включений; б - схема подачи аргона
4.ЭКОНОМИЧЕСКАЯ ЧАСТЬ
.1 ТЕХНИКО - ЭКОНОМИЧЕСКОЕ ОБОСНОВАНИЕ ТЕМЫ
ДИПЛОМНОЙ РАБОТЫ
В современной черной металлургии главным
направлением дальнейшего развития является улучшение качества выплавляемой
стали и экономии материалов. Установка турбогасителей, перегородок, подачи газа
введенные в действие на АО «НЛМК» позволяет создать защиту струи металла на
участке сталеразливочный ковш - промежуточный ковш, снизить количество
неметаллических включений и газов.
Практика использования новых технологий
показала, что сегодня металлурги располагают реальными возможностями
организации производства стали массового назначения с ничтожным количеством
нежелательных примесей.
Развитие вакуумного раскисления позволяет
значительно снизить содержание кислорода в металле, но этого недостаточно для
сталей, содержащих пониженное количество углерода (0,03 - 0,04%) и особенно для
особо низкоуглеродных сталей ( С < 0,01%). Поэтому
необходимо дораскисление и легирование производить после вакуумирования в
промежуточном ковше. Добавка раскислителей необходима также и для достижения
нестареющих свойств металла, достижения устойчивости к коррозии, воздействие на
количество и форму сульфидных включений. С целью обеспечения высокой степени
усвоения раскислителя при его равномерном распределении в объеме ванны, при
снижении количества неметаллических включений необходимо управлять
гидродинамикой в промежуточном ковше.
4.2 СЕТЕВОЙ ГРАФИК ВЫПОЛНЕНИЯ ДИПЛОМНОЙ РАБОТЫ
.2.1 СОСТАВЛЕНИЕ ПЕРЕЧНЯ РАБОТ
При составлении перечня работ необходимо знать,
что события не являются процессом, а указывают на факт получения каких-либо
результатов предшествующих ему работ. Формулировка событий должна определять
начало следующих за данным событием работ.
Перечень работ и формулировки событий приведены
в таблице 15.
|
Шифр
работ
|
Наименование
работ
|
Формулировка
событий
|
|
0
- 1
|
Получение
задания на диплом от кафедры
|
Задание
на диплом получено
|
|
1
- 2
|
Составление
технико-экономического обоснования и определение актуальности диплома
|
Технико-экономический
план составлен
|
|
2
- 3
|
Составление
первоначального литературного обзора по диплому
|
Первоначальный
литературный обзор составлен
|
|
3
- 4
|
Изучение
действующего оборудования и результатов промышленных экспериментов
|
Оборудование
и данные исследований изучены
|
|
4
- 5
|
Предварительное
обсуждение с научным руководителем полученных данных
|
Предварительное
обсуждение с научным руководителем полученных данных проведено
|
|
5
- 6
|
Выводы
по полученным данным
|
Выводы
сделаны
|
|
6
- 7
|
Написание
предварительного отчета по экономическому разделу
|
Отчет
написан
|
|
7
- 8
|
Написание
предварительного отчета по охране труда
|
Предварительный
отчет по охране труда написан
|
|
8
- 9
|
Уточнение
литературного обзора по дипломной работе
|
Уточнение
литературного обзора произведено
|
|
9
- 11
|
Формулировка
предложений по совершенствованию технологий
|
Предложения
сформулированы
|
|
6
- 10
|
Формулировка
предложений по совершенствованию технологий
|
Предложения
сформулированы
|
|
10
- 11
|
Ожидание
|
Ожидание
закончено
|
|
11
- 12
|
Общее
оформление раздела по охране труда
|
Результаты
эксперимента обобщены
|
|
12
- 13
|
Написание
окончательного варианта литературного обзора
|
Литературный
обзор написан
|
|
13
- 14
|
Общее
оформление экономического раздела
|
Экономический
раздел оформлен
|
|
14
- 15
|
Составление
окончательного варианта сетевого графика
|
Окончательный
вариант сетевого графика составлен
|
|
15
- 16
|
Общее
оформление пояснительной записки
|
Пояснительная
записка оформлена
|
|
16
- 17
|
Оформление
плакатов
|
Плакаты
оформлены
|
|
17
- 18
|
Подготовка
к предварительной защите на кафедре
|
Готовность
к предварительной защите на кафедре
|
|
18
- 19
|
Получение
рецензий
|
Рецензия
получена
|
|
19
- 20
|
Подготовка
доклада, внесение дополнений и исправлений в пояснительную записку
|
Доклад
подготовлен, исправления и допол-нения внесены в доклад
|
|
20
- 21
|
Защита
на ГЭК
|
Защита
на ГЭК
|
|
|
|
|
.2.2 СОСТАВЛЕНИЕ СЕТЕВОГО ГРАФИКА
Рис. 41 Сетевой график выполнения дипломной
работы
Составленный сетевой график включает три
комплекса работ:
а) комплекс подготовительных работ;
б) проведение экспериментальных работ;
в) комплекс заключительных работ.
4.2.3 РАСЧЕТ ОСНОВНЫХ ПАРАМЕТРОВ СЕТЕВОГО
ГРАФИКА
Основные параметры сетевого графика: ожидаемое
время выполнения работ, ранние сроки начала и окончания работ, резервы работ:
а) ожидаемое время выполнения работы:
tож = 3tmin + 2tmax / 5, (22)
где tож - ожидаемое время выполнения работ,
ч;, tmax - минимальная (оптимистическая) и максимальная (пессимистическая)
продолжительность работы.
б) ранние и поздние сроки начала работ:
рн = maxtni, (23)
где tljрн - раннее начало работ, ч;
= tljрн + tlj, (24)
где tljро - раннее окончание работ, ч.
в) поздние сроки начала и окончания работ:
пн = tкр - (tlj + maxtlк), (25)
где tljпн - позднее начало работ, ч;кр -
продолжительность критического пути, ч;
по = tljпн - tlj, (26)
где tljпо - позднее окончание работ, ч.
г) полный резерв работы:
= tljпн - tljрн, (27)
где Rlj - полный резерв времени пути, ч.
Результаты расчета параметров сетевого графика
заносим в таблицу 16.
Таблица 16. Результаты расчета основных
параметров работы сетевого графика
|
Шифр
работ
|
tmin
|
tmax
|
tож
|
tрн
|
tро
|
tпн
|
tпо
|
R
|
|
0
- 1
|
1
|
1
|
1
|
0
|
1
|
0
|
1
|
0
|
|
1
- 2
|
1
|
3
|
1.8
|
1
|
2
|
1
|
4
|
0
|
|
2
- 3
|
6
|
8
|
6.8
|
2
|
8
|
4
|
12
|
0
|
|
3
- 4
|
26
|
36
|
30
|
8
|
34
|
12
|
48
|
0
|
|
4
- 5
|
6
|
8
|
6.8
|
34
|
40
|
48
|
56
|
0
|
|
5
- 6
|
2
|
6
|
3,6
|
40
|
42
|
56
|
72
|
0
|
|
6
- 7
|
2
|
4
|
2.8
|
42
|
44
|
72
|
76
|
0
|
|
6
- 10
|
10
|
16
|
12.4
|
44
|
54
|
76
|
92
|
2
|
|
10
- 11
|
0
|
0
|
0
|
54
|
54
|
92
|
92
|
2
|
|
7
- 8
|
2
|
4
|
2.8
|
44
|
46
|
76
|
80
|
0
|
|
8
- 9
|
1
|
3
|
1.8
|
46
|
47
|
80
|
83
|
0
|
|
9
- 11
|
10
|
16
|
12.4
|
47
|
57
|
83
|
99
|
0
|
|
11
- 12
|
3
|
6
|
4.2
|
54
|
57
|
92
|
98
|
0
|
|
12
- 13
|
1
|
4
|
2.2
|
57
|
58
|
98
|
102
|
0
|
|
13
- 14
|
3
|
6
|
4.2
|
58
|
61
|
102
|
108
|
0
|
|
14
- 15
|
1
|
3
|
1.8
|
61
|
62
|
108
|
111
|
0
|
|
15
- 16
|
6
|
12
|
8.4
|
62
|
68
|
111
|
123
|
0
|
|
16
- 17
|
8
|
12
|
9.6
|
68
|
76
|
123
|
135
|
0
|
|
17
- 18
|
6
|
10
|
7.6
|
76
|
82
|
135
|
145
|
0
|
|
18
- 19
|
6
|
12
|
8.4
|
82
|
88
|
145
|
157
|
0
|
|
19
- 20
|
10
|
12
|
10.8
|
88
|
98
|
157
|
169
|
0
|
|
20
- 21
|
1
|
2
|
1.4
|
98
|
99
|
169
|
171
|
0
|
.2.4 ОПТИМИЗАЦИЯ СЕТЕВОГО ГРАФИКА
Анализ сетевого графика.
Путь №1 проходит через события:
0,1,2,3,4,5,6,7,8,9,11,12,13,14,15,16, 17,18,19,20,21.
Его продолжительность составит:
1+1,8+6,8+30+6,8+3,6+2,8+2,8+1,8+
+12,4+4,2+2,2+4,2+1,8+8,4+9,6+7,6+8,4+10,8+1,4=128,4(часа).
Путь №2 проходит через события:
0,1,2,3,4,5,6,10,11,12,13,14,15,16,17, 18,19,20,21.
Его продолжительность составит:
1+1,8+6,8+30+6,8+3,6+12,4+4,2+2,2+ +4,2+1,8+8,4+9,6+7,6+8,4+10,8+1,4=121(час).
Из анализа продолжительности работ на всех путях
графика видно, что путь №1 является продолжительным, то есть критическим путем.
Путь №2 является ненапряженным. Чтобы определить
оптимальную продолжительность выполнения работ на всех путях графика, надо
сложить продолжительность путей графика и затем полученную сумму разделить на
количество путей, (128,4+121):2=124,7 , тогда теоретически лучший (короткий)
срок выполнения работ графика составит 124,7 часов.
Оптимизация сетевого графика осуществляется
путем перераспределения времени с ненапряженных путей на критический. Результаты
записываем в таблицу 17.
Таблица 17. Оптимизация сетевого графика
|
№
пути в графике
|
первоначальная
длительность
|
Этап
оптимизации
|
|
|
изменение,
ч
|
результат,
ч
|
|
1
|
128,4
|
-3,7
|
124,7
|
|
2
|
121
|
+3,7
|
124,7
|
Таким образом весь комплекс работ при планировании
методом СПУ будет выполнен за 124,7 часов.
4.3РАСЧЕТ ЗАТРАТ НА ВЫПОЛНЕНИЕ ДИПЛОМНОЙ РАБОТЫ
.3.1 ЗАТРАТЫ НА ЗАРАБОТНУЮ ПЛАТУ
Под исполнителями исследования подразумеваются:
непосредственный исполнитель дипломной работы,
научный руководитель проекта, консультант по ОБЖ, консультант по экономике,
рецензент.
Количество времени, затраченное на дипломное
проектирование:
студентом - 124,7 часов;
научным руководителем - 25 часов;
консультантом по ОБЖ - 1 час;
консультантом по экономике - 4 часа;
рецензентом - 6 часов.
Таблица 18. Исходные данные необходимые для
расчета заработной платы
|
Должность
|
Ожидаемое
время
|
Часовая
ставка
|
Сумма
зарплаты
|
|
Студент
|
124,7
|
5,29
|
659,66
|
|
Научный
руководитель
|
25
|
58,82
|
1470,50
|
1
|
70,59
|
70,59
|
|
Консультант
по экономике
|
4
|
70,59
|
282,36
|
|
Итого
|
|
|
2483,11
|
Часовая ставка:
,
; (28)
где
- заработная плата, руб;
- отработанное время за месяц, час.
; (29)
; (30)
. (31)

(32)
Основная заработная плата:
.
Дополнительная заработная плата
равна 12% от основной заработной платы:
(33)
Общая заработная плата:

(34)
Отчисления во внебюджетные фонды -
26% от общей заработной платы:
(35)
Затраты на заработную плату:
(36)
.3.2 ПРОЧИЕ РАСХОДЫ
Прочие затраты включают затраты на
содержание администрации, зданий, охрану труда, технику безопасности,
содержание библиотеки и т. д.
Величина прочих расходов принимается
в процентах от суммы учтенных затрат и равна 30%.
Учтенные затраты рассчитываются:
Зучт = Ззп = 3504,16 руб.
Прочие расходы: Зпр= Ззп * 0,30 =
1051,29 руб.
Таблица 19. Затраты на проведение
исследований
|
Наименование
затрат
|
Сумма,
руб
|
Итог,
%
|
|
заработная
плата с начислением на социальное страхование
|
3504,16
|
76,92
|
|
прочие
расходы
|
1051,29
|
23,08
|
|
Итого
|
4555,45
|
100
|
5. БЕЗОПАСНОСТЬ ТРУДА
.1.1 РАСПОЛОЖЕНИЕ И ПЛАНИРОВКА ЦЕХА
Цех располагается с подветренной стороны по
отношению к населенному пункту, между предприятием и населенным пунктом создана
санитарно-защитная зона. Площадка цеха удовлетворяет требованиям в отношении
прямого солнечного облучения, естественного проветривания, имеет относительно
ровную поверхность и уклон, обеспечивающий отвод поверхностных и сточных вод.
Месторасположение площадки обеспечивает возможность соблюдения санитарных норм
по предельным концентрациям вредных выбросов в атмосферу, водоемы и наиболее
целесообразную доставку трудящихся до места работы.
.1.2 АНАЛИЗ УСЛОВИЙ ТРУДА РАЗЛИВЩИКА В
КОНВЕРТЕРНОМ ЦЕХЕ
Разливщик обеспечивает безаварийную работу по
подготовке МНЛЗ к работе, разливке плавки и выдачи «конца» слитка, контроль над
работой оборудования, выполняет погрузочно-разгрузочные работы и поддерживает в
чистоте свое рабочее место (закрепленный за ним участок). Рабочим местом
разливщика является территория отделения разливки стали.
На разливочной площадке существует ряд опасных и
потенциально опасных факторов:
Опасность механического травмирования;
Опасность поражения электрическим током;
Опасность взрыва и пожара;
Опасность ожогов;
Повышенный уровень шума;
Повышенная запыленность и загазованность;
Недостаточное освещение;
Неудовлетворительный микроклимат.
Таблица 20.Опасные и вредные производственные
факторы.
|
Выполняемая
работа (технологическая операция).
|
Применяемое
оборудование, механизмы, приспособления, а также материалы, вещества.
|
Опасный
или вредный производственный фактор.
|
Общее
мероприятие по защите или нормализации.
|
|
Подготовка
к разливке.
|
Двухпозиционный
стенд, промежуточный ковш, разливочный кран.
|
Передвижение
стенда, крана; горячая поверхность и футеровка промежуточного ковша; газовые
горелки.
|
Исправность
спецодежды; соблюдение мер безопасности при движении стенда и кранов
|
|
Прожигание
шибера.
|
Сталеразливочный
ковш, кислород.
|
Воспламенение
одежды разливщика; брызги металла
|
Исправность
спецодежды; герметичность кислородных шлангов.
|
|
Начало
разливки
|
Сталеразливочный
ковш, промежуточный ковш, устройство автоматической подачи ШОС,
кристаллизатор.
|
Выбросы
металла из промежуточного ковша, кристаллизатора.
|
Исправная
спецодежда, отсутствие влаги в кристаллизаторе.
|
|
Разливка
стали.
|
Сталеразливочный
ковш; промежуточный ковш; устройство автоматической подачи ШОС,
кристаллизатор.
|
Падение
скрапин и шлака со сталеразливочного ковша, пыль, токсичные газы (СО)
|
Осмотр
и очистка сталеразливочного ковша от мусора, вентиляция.
|
|
Переход
с плавки на плавку.
|
Двухпозиционный
стенд, сталеразливочный ковш.
|
Передвижение
стенда, выплески металла.
|
Не
находиться в зоне возможных выплесков и на пути передвижения стенда.
|
|
Замена
погружного стакана.
|
Промежуточный
ковш, кристаллизатор, газовые горелки.
|
Тепловое
излучение, жидкий металл, шлак.
|
Исправная
спецодежда.
|
|
Отбор
проб и замер температуры.
|
Ручной
инструмент.
|
Брызги,
лучистое тепло.
|
Использование
зонда с ручкой не менее двух метров, обязательно просушенной; исправная
спецодежда.
|
|
Выдача
конца слитка.
|
Кристаллизатор,
лейка с водой.
|
Взрывы.
|
Качественная
усадка металла; аккуратное заливание водой.
|
|
Кантовка
шлака из сталеразливочного ковша.
|
Работа
крана.
|
Падение
шлака и скрапин мимо шлаковой чаши.
|
Обеспечить
отсутствие людей в опасной зоне.
|
|
При
всех выполняемых работах.
|
|
Неудовлетворитель-ный
микроклимат, недостаточное осве-щение. Движущиеся машины и механизмы,
производственный шум, промышленная пыль, тепловое излучение.
|
Средства
защиты органов слуха, органов дыхания, специальная одежда (костюм суконный,
вачеги), защитные очки со свето-фильтрами из синего стекла.
|
Разливка стали представляет собой опасную
операцию, связанную с жидкой сталью, шлаком, шлакообразующей смесью,
передвижением массивных механизмов. Опасными и вредными производственными
факторами могут быть: движущиеся и вращающиеся части механизмов, повышенное
значение напряжения в электрической цепи, повышенная температура поверхностей
оборудования и материалов, повышенная загазованность и запыленность воздуха
рабочей зоны.
5.2 МЕРОПРИЯТИЯ ПО ОБЕСПЕЧЕНИЮ БЕЗОПАСНОСТИ
ТРУДА
.2.1 ОПАСНОСТЬ МЕХАНИЧЕСКИХ ПОВРЕЖДЕНИЙ
В разливочном отделении источником механического
травмирования являются: краны (мостовые и консольные), самоходные сталевозы и
шлаковозы, передвижные и поворотные разливочные стенды и стенды промежуточных
ковшей.
Для предотвращения механических травм в цехе
предусмотрены следующие меры защиты (ГОСТ 12.2.003-91 [28]) :
все лестничные пролеты, края разливочной
площадки оборудованы перилами.
краны оборудованы световой и звуковой
сигнализацией. В местах работы вывешены предупредительные знаки.
сталевозы и шлаковозы , а также разливочные
стенды снабжены дистанционным управлением и звуковым сигналом, который издается
при их передвижении.
все производственные процессы МНЛЗ
механизированы и автоматизированы.
все приводы закрыты кожухами, имеют ограждение
высотой 1,2 м. Через все транспортерные ленты и транспортные рольганги
оборудованы пешеходные мостики.
для защиты от механических травм предусмотрены
индивидуальные средства защиты.
.2.2 ОПАСНОСТЬ ПОРАЖЕНИЯ ЭЛЕКТРИЧЕСКИМ ТОКОМ
Кислородно-конвертерный цех относится к особо
опасным помещениям(ПУЭ-02 [29]), так как электрооборудование работает при
высокой температуре воздуха при наличие токопроводящих полов и токопроводящей
пыли.
Цех снабжается переменным трехфазным током
частотой 50 Гц, напряжением 380/220 В. Подвод электроэнергии осуществляется по
четырехпроводной линии. Источником питания электрооборудования является
понижающий трансформатор на напряжение 380 В. Для питания электрооборудования
постоянного тока предусмотрен полупроводниковый выпрямитель.
В цехе предусмотрены следующие защитные
мероприятия:
для защиты от поражения электрическим током
применяется
сопротивление заземления 4 Ом.
для защиты электрических установок МНЛЗ (ГОСТ
12.1.030 - 89 [30]) от перегрузок применяются плавкие предохранители и
автоматы.
все токоведущие части прокладываются вдоль стен
на высоте 4м и защищены сеткой со стороны помещения (ГОСТ 12.1.019 - 79 [31])
силовые провода помещены в стальные трубы и
укреплены на кронштейнах в специальных тоннелях.
для питания передвижных и переносных
электроприемников применяются гибкие кабели с медными жилами, заключенные в
общую оболочку.
для сети общего освещения применяется напряжение
220 В.
.2.3 ВЗРЫВО- И ПОЖАРОБЕЗОПАСНОСТЬ
Источники взрыва - контакты жидкого металла и
шлака с водой, использование кислорода, природного газа.
Для предотвращения взрывов предусматривается (ПБ
11-401-01 [32]):
газовые шланги оборудованы сухими затворами.
автоматическое отключение подачи воды при
возникновении прорыва корочки слитка.
кислородопроводы и кислородные устройства
защищены от попадания на них масла.
спецодежда работающего персонала не должна быть
загрязнена
маслом.
Кислородно-конвертерный цех по опасности
производства относится к категории «Г» так как имеются вещества в горячем,
раскаленном и расплавленном состоянии.
Таблица 21.
Характеристика огнестойкости конструкций
кислородно-конвертерного цеха
|
Наименование
конструкции
|
Стойкость,
мин
|
|
Несущие
стены, колонны Наружные стены Внутренние стены Противопожарные стены
|
120
30 30 90
|
В случае возникновения пожара для ограничения
его распространения устраиваются противопожарные стены.
Полы на уровне 10м бетонные, на рабочих
площадках выше нулевой отметки полы настилаются чугунными плитами. Для
устранения пожаров в полетах цеха устанавливаются стенды с противопожарным
инвентарем, в которых находятся пожарные рукава длиной 10м, топоры, лопаты,
огнетушители ОП - 14 и РПЦ - 4, ящики с песком (СНиП 21- 01- 97 [33]). По
периметру отделения проходит пожарный водопровод. Для раннего обнаружения
начавшегося пожара и оповещения о нем установлена электрическая пожарная
сигнализация.
.2.3 ОПАСНОСТЬ ОЖОГОВ
Источниками ожогов в ОНРС являются:
расплавленным металл и шлак, нагретые элементы оборудования, инструменты,
горячие слябы.
В качестве защитных мер применяются:
дистанционное управление с главного пульта
параметрами разливки и контроль её хода.
в качестве средств индивидуальной защиты от
ожогов применяется спецодежда с огнестойкой пропиткой ( ГОСТ 12.4.011-91 [34]).
.2.4 ШУМ
В ОНРС кислородно-конвертерного цеха основными
источниками шума являются приводы двухпозиционных стендов, газовые горелки. Как
правило, уровень шума в конвертерном цехе не превышает санитарных норм и
составляет 80дБ (СН.2.2.4/2.1.8.562 - 96 [35]).
Однако на рабочем месте разливщика уровень шума
достигает 90÷92 дБ, для защиты от
которого рабочие используют наушники типа «бируши».
Для защиты рабочих от шума в конвертерном
производстве следует рекомендовать, прежде всего, звукоизолировать встроенные
помещения - главные посты управления, помещения вычислительного центра, комнаты
отдыха. Для создания комфортных условий по шуму в указанных помещениях
необходимо облицовывать стены и потолки звукопоглощающими материалами, окно
выполнить с двойным остеклением и упругими прокладками по контуру, входные
двери - с тамбуром.
.2.5 ЗАПЫЛЕННОСТЬ, ЗАГАЗОВАННОСТЬ
К наиболее вредным факторам разливки стали
относится также запыленность и загазованность воздуха. Источниками
загазованности является используемая шлакообразующая смесь, выносы из ковша во
время продувки аргоном, поверхность металла и шлака. В пыли обнаруживаются
соединения марганца, ванадия, канцерогенные и смолистые вещества, фтор.
Загазованность составляет 6,2 - 6,0 мг/м3 СО при
ПДК 20,0 мг/м3 (ГОСТ 12.1.005-88 [36])
Запыленность на рабочем месте разливщика равна
2,0 мг/м3 а при уборке мусора поднимается до 6,0÷8,0 мг/м3.
В этом случае рабочие применяют респиратор «лепесток» (ГОСТ 12.4.011-91 [34]).
5.2.6 ОСВЕЩЕНИЕ
При составлении санитарно-гигиенической
характеристики ОНРС конвертерного цеха необходимо учитывать также естественное
и искусственное освещение. Естественный свет проникает в конвертерный цех через
световые фонари. При недостаточной очистке остеклений естественное освещение
значительно снижается. Условия работы конвертерного цеха требуют частой чистки
остеклений. Искусственное освещение обеспечивается рациональным размещением
световых точек с соответствующей осветительной арматурой. Фактическая
освещенность на разливочной площадке составляет 150 лк при норме 200лк (СНиП
23-05-95 [37]).
Естественное освещение осуществляется: верхним
светом - через световые фонари и проемы в кровле; боковым - через окна в наружных
стенах; комбинированное - к верхнему освещению добавляется боковое.
В конвертерном цехе должны быть следующие виды
искусственного освещения: а) рабочее; б) аварийное для продолжения работ; в)
аварийное для эвакуации людей.
.2.7 МИКРОКЛИМАТ
В горячих металлургических цехах климат
преимущественно радиационный. Условия труда на пультах управления современными
МНЛЗ в основном соответствуют требованиям санитарных норм. Микроклимат вблизи
кристаллизатора в течение всей работы характеризуется высокой температурой
воздуха, что определяется большим количеством лучистого тепла, выделяющегося от
расплавленного металла во время его разливки.
Допустимый уровень теплового излучения 140
Вт/м2. При выполнении технологических операций фактические значения теплового излучения
достигают 3000 - 3500 Вт/м2.
Существенно влияют на микроклимат рабочих мест
источники вторичного выделения тепла, вследствие поглощения инфракрасных лучей
всеми окружающими первичные источники поверхностями. Наряду с теплоизлучением
от горячих поверхностей происходит конвективный нагрев воздуха, повышающий
температуру в помещениях. Наиболее высокие температуры воздуха отмечены при
переходе с плавки на плавку.
Таблица 22. Допустимые величины показателей
микроклимата на рабочем месте разливщика (СанПиН 2.2.4. 548-96 [38])
|
Период
года
|
Категория
работ по уровню энергозатрат , Вт.
|
Температура
воздуха, оС
|
Температура
поверхностей
|
Относительная
влажность воздуха, %
|
Скорость
движения воздуха, м/с
|
|
|
Диапазоны
ниже опти-мальных величин
|
Диапазоны
выше опти-мальных величин
|
|
|
Для
диапазона температур воздуха ниже оптимальных величин, не более
|
Для
диапазона температур воздуха выше оптимальных величин, не более
|
|
Холодный
|
II
Б (233÷290)
|
15,0
- 16,9
|
21,1
- 23,0
|
14,0
- 23,0
|
15
- 75
|
0,2
|
0,4
|
|
Теплый
|
II
Б (233÷290)
|
16,0
- 18,9
|
22,1
- 27,0
|
15,0
- 28,0
|
15
- 75
|
0,2
|
0,5
|
Температура воздуха у кристаллизатора 28÷30оС,
на двухпозиционном стенде 40оС. Влажность 45-45%. Скорость воздуха 0,2-0,3 м/с.
Допустимые величины показателей микроклимата на
рабочем месте приведены в таблице 22.
Отопление служит для нормализации микроклимата в
производственных помещениях путем поддержания в них заданной температуры
воздуха. В ОНРС воздушное отопление, совмещенное с приточной вентиляцией.
Для отопления конвертерного цеха и нагрева приточного
воздуха необходимо в первую очередь использовать тепловыделения от
оборудования.
СПИСОК ЛИТЕРАТУРЫ
Смирнов,
А.Н. Процессы непрерывной разливки: Монография/Смирнов А.Н., Пилюшенко В.Л.,
Минаев А.А. и др. - Донецк:ДонНТУ , 2002 г. - 536 с.
Нилль,
П., Этьен А. Непрерывное литьё - состояние и перспективы//МРТ. 1992. - С.50 -
64.
Плешиутшнигг,
Ф. Первый мини - завод с технологией производства полосы в линии (I.S.P.) в
сопоставлениях с другими схемами производства горячекатаной полосы//МРТ. 1993.
- С.64-83.
исследования
влияния способов внепечной обработки на загрязненность стали неметаллическими
включениями / С.Мельник, И.Бробецкий, О.Носченко и др. //Сталь. - 1996. - №9. -
С.№%-37.
Повышение
степени чистоты стали при непрерывной разливке / Б.Хо, Х.Якоби, Х.А.Вимер и др.
//Черные металлы. 1989. №2.- С.22-29.
Пилюшенко,
В.Л., Еронько С.П., Шестопалов В.Н. Безстопорная разливка стали. Киев: Техника,
1991. - 179 с.
Сакулин
В.Я., Мигаль В.П., Скурихин В.В. Основные направления развития производства
перспективных видов огнеупоров на Боровичском комбинате огнеупоров //Черная
металлургия. Бюл. Ин-та «Черметинформация». №6. 2001. - С.75-77.
Рутес
В. С. и др. Теория непрерывной разливки стали. - М.: Металлургия, 1971.
Ефимов,
Г.В. Управление процессом рафинирования стали в промежуточном ковше / Г.Ф.
Ефимов // Сталь. - №4, 2001. - С. 24-27.
ОАО
«Черметинформация». Новости черной металлургии за рубежом, №3, 2002 г., реф.
Шалимов А. Г.
Патент
RU 2 229 360 С2 B 22 D 11/116. Опубл. 27.05.2004.
Патент
RU 2 227 083 C2 B 22 D 11/116. Опубл. 20.04.2004.
Патент
US 4852632 B 22 D 11/10. Опубл. 01.08.1989.
«Сборник
трудов ЦЛК 1», г. Магнитогорск, 1997 г., с. 234.
Патент
RU 2 189 292 C1 B 22 D 41/00. Опубл. 20.09.2002.
Патент
RU 2 185 261 С1 B 22 D 41/00. Опубл. 20.07.2002.
Кирсанов,
А.А. Основы применения безразмерных величин, физическое подобие, моделирование
/ А.А. Кирсанов - Липецк: ЛЭГИ, 2005. - 132 с.
Марков,
Б.Л. Физическое моделирование в металлургии / Б.Л. Марков, А.А. Кирсанов - М:
Металлургия, 1984. - 119 с.
Голубев,
О.Н. Совершенствование гидродинамики промежуточного ковша с целью повышения
качества непрерывного слитка / О.Г. Голубев, О.Н. Чмырев, Е.И. Ермолаева [и
др.] // Современная металлургия начала нового тысячелетия. - Сборник научных
трудов. - Часть 3, 2005. - С. 37-41.
Гущин
В.Н. Методы исследования и разработка градиентных промышленных технологий
управления тепломассообменными процессами при разливке и формировании
непрерывнолитых и стационарных заготовок./В.Н.Гущин, В.А.Ульянов. - Н.Новгород:
Нижегород. гос. техн. ун-т. 2006. - 141с.
Лейтес,
А.В. Защита стали в процессе непрерывной разливки. А.В. Лейтес -
М.:Металлургия, 1984г., 200 с.
Бродский,
С.С. Новые технологические процессы и оборудование многоручьевых сортовых МНЛЗ.
- Минск: Беларусская навука, 1998. - 128с.
Ефимов,
Г.В. Управление процессом рафинирования стали в промежуточном ковше / Г.Ф.
Ефимов // Сталь. - №4, 2001. - С. 24-27.
Непрерывная
разливка стали / А.П.Огурцов, А.Г.Величко, Е.И.Исаев и др. - Днепродзержинск:
1999. - 306с.
Лидефельд
Х., Хассельстром П. Характеристики рабочих свойств шлакообразующих смесей для
непрерывной разливки стали //Достижения в области непрерывной разливки стали. -
М.: Металлургия, 1967. С.90-98.
Ефимов,
Г.В. Управление процессом рафинирования стали в промежуточном ковше/Г.Ф.Ефимов//Сталь.
- №4,2001. -С.24-27.
Манюгин
А.П. Методические указания к выполнению экономической и организационной части
дипломной работы исследовательского характера для студентов специальностей
металлургического цикла / А.П.Манюгин, О.В.Лосева - Липецк: ЛГТУ, 2002. - 33с
(№2773).
ГОСТ
12.2.003-91 Оборудование производственное, общие требования безопасности. М.:
Изд-во стандартов, 1992г.
ПУЭ
- 02 Правила устройства электроустановок. М.: госэнергонадзор, 2002г.
ГОСТ
12.1.030-89 Электробезопасность. Защитное заземление. Зануление. М.: Изд-во
стандартов, 1990г.
ГОСТ
12.1.019-79 Электробезопасность. Общие требования и номенклатура видов защиты.
М.: Изд-во стандартов, 1980г.
ПБ
- 11 - 401 - 01 Правила безопасности в газовом хозяйстве металлургических и
коксохимических предприятий и производств. М.: Изд-во стандартов, 2001г.
СНиП
21-01-97 Пожарная безопасность зданий и сооружений. М.: Госстрой России, 1997г.
ГОСТ
12.4.011-91 Средства защиты работающих. Общие требования и классификация. М.:
Издательство стандартов, 1992г.
СН.2.2.4/2.1.8.562
- 96. Шум на рабочих местах, в помещениях жилых, общественных зданий и на
территории жилой застройки.
ГОСТ
12.1.005-88 Общие санитарно - гигиенические требования к воздуху рабочей зоны.
М.: Изд-во стандартов, 1989г.
СНиП
23-05-95. Естественное и искусственное освещение.
СанПиН
2.2.4. 548-96 Гигиенические требования к микроклимату производственных
помещений.