Контроль и измерение уровня жидкого металла в промежуточном ковше
Министерство образования и науки
Российской Федерации
Государственное образовательное
учреждение
Высшего профессионального образования
«Магнитогорский государственный
технический университет
им. Г.И. Носова»
Кафедра промышленной кибернетики и
систем управления
Пояснительная записка к курсовой
работе
По предмету: Технические измерения и
приборы
«Контроль и измерение уровня жидкого
металла в промежуточном ковше»
Магнитогорск 2012
Содержание
Введение
. Процесс непрерывной разливки стали
.1 Сталеразливочный стенд
.2 Промежуточный ковш
.3 Кристаллизатор МНЛЗ
.4 Зона вторичного охлаждения
.5 Тянуще-правильный агрегат
.6 Порезка и выдача заготовок
. Методы измерения уровня жидкого металла
.1 Индуктивный метод
.2 Кондуктометрический метод
.3 Радиоизотопный метод
.4 Радарный (радиоволновый) метод
.5 Лазерный метод
. Технологические требования
. Выбор метода контроля
. Радарный датчик Accu-Wave
.1 Описание
.1.1 Рупорные антенны
.1.2 Сенсор - датчик
.2 Конструкция
.3 Принцип действия
.4 Информационно-измерительная система
. Методика поверки радарного датчика Accu-Wave
.1 Средства поверки
.2 Условия поверки
.3 Проведение поверки
Заключение
Список использованных источников
Введение
Контроль и измерение уровня жидкого металла в промежуточном ковше является
важной задачей в процессе непрерывной разливки стали. Высота промежуточного
ковша определяется с учетом необходимого времени для замены сталеразливочного
ковша при серийной разливке и, для разных условий, может составлять 900-1200
мм. При этом уровень жидкого металла должен поддерживаться на высоте 700-800
мм. Уровень не должен опускаться ниже данной высоты для предотвращения
затягивания неметаллических включений в кристаллизатор, возможности ввода в
расплав порошковой проволоки. Затягивание неметаллических включений, увлеченных
в промежуточный ковш металлом из сталеразливочного ковша, в кристаллизатор,
приведет к нарушению однородности структуры, изменению механических и других
свойств непрерывнолитой заготовки. В случае превышения металлом данного уровня
возможен перелив жидкого металла через края промежуточного ковша [1].
1.
Процесс непрерывной разливки стали
В настоящее время понятие МНЛЗ охватывает несколько принципиальных типов
конструкций установок, каждая из которых в силу своих достоинств и недостатков
получила соответствующее развитие на данном этапе научно-технического
прогресса. Наиболее распространенные типы существующих машин непрерывного литья
заготовок делятся на следующие основные четыре типа: вертикальный, радиальный,
криволинейный и горизонтальный.
Схема машины непрерывного литья заготовок криволинейного типа приведена
на рисунке 1.
Рисунок 1. -
Схема МНЛЗ криволинейного типа
Работа машин непрерывного литья заготовок происходит следующим образом.
Сталеразливочный ковш поднимают разливочным краном на поворотный стенд МНЛЗ,
который поворачивают на 180° в положение разливки. Затем открывается шиберный
затвор и металл начинает поступать в предварительно разогретый промежуточный
ковш (на разливочной площадке, как правило, расположены две станции разогрева
промковшей для сокращения времени на переподготовку машины между сериями
плавок).
Промковш наполняется до определённого уровня, после чего, металл, через
дозирующие устройства в днище промковша начинает поступать в водоохлаждаемые
кристаллизаторы. В кристаллизатор предварительно заводится затравка, которая
выполняет функцию временного дна. Когда кристаллизатор заполняется металлом до
заданного уровня, затравка начинает вытягивать формирующийся слиток в зону
вторичного охлаждения (ЗВО).
При выходе из кристаллизатора слиток имеет тонкую наружную корочку
металла и сердцевину, содержащую жидкую фазу, поэтому в ЗВО происходит
окончательное затвердевание слитка при помощи воды или водовоздушной смеси, разбрызгиваемой
через форсунки. Далее слиток поступает в тянуще-правильный агрегат (ТПА), после
которого от слитка отделяется затравка и затем слиток разрезается на мерные
длины на установке газовой резки. Затем, в зависимости от конструкции МНЛЗ,
слиток поступает либо на холодильник с шагающими балками, либо сразу на
прокатный стан.
1.1 Сталеразливочный стенд
Сталеразливочные стенды предназначены для установки на них двух ковшей,
перевода их из резервного положения в рабочее и обратно, взвешивания ковша с металлом,
удержания ковша в период разливки, вертикальных перемещений ковша для
выполнения вспомогательных операций. Сталеразливочные стенды обеспечивают
большую автономность МНЛЗ. По конструкции и принципу работы сталеразливочные
стенды бывают мостовые и поворотные. Более перспективными являются стенды
поворотного типа.
1.2 Промежуточный ковш
Для регулирования скорости истечения металла, создания постоянных условий
разливки, снижения турбулентности движения стали в кристаллизаторе, для борьбы
с неметаллическими включениями и другими пороками стальной заготовки при
непрерывной разливке применяются промежуточные ковши.
Основные требования, предъявляемые к промежуточным ковшам непрерывной
разливки:
- из промежуточного ковша должны вытекать хорошо организованные,
установившиеся струи жидкой стали;
- промежуточный ковш с целью уменьшения тепловых потерь в процессе
разливки не должен иметь чрезмерно большого поперечного сечения;
- в нем не должны образовываться «застойные» зоны жидкого металла;
- в промежуточном ковше должен хорошо отделяться шлак, увлеченный в него
металлом из разливочного ковша;
-должна быть предусмотрена возможность регулировки струи в процессе
наполнения кристаллизатора.
Наиболее простой конструкцией промежуточного ковша является конструкция, обеспечивающая
одноручьевую разливку, то есть разливку, в процессе которой металл из
промежуточной емкость подается в один кристаллизатор. Более сложными являются
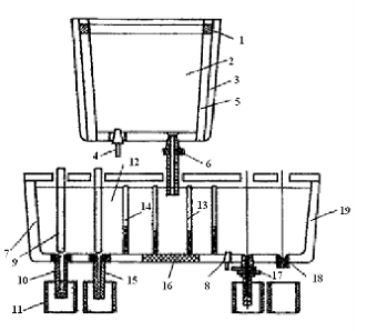
многоручьевые промежуточные ковши (рисунок 2).
Рисунок 2. -
Общее устройство промежуточного ковша:
-шлаковый пояс; 2, 12-жидкий металл; 3-изоляция; 4, 8-пористый блок;
5-арматурный слой футеровки; 6-шиберный затвор с защитной трубой; 7-защитный
слой промежуточного ковша; 9-стопор-моноблок; 10-цельный погружной стакан;
11-кристаллизатор; 13, 14-огнеупорные перегородки с отверстиями; 15-составной
погружной стакан; 16-отбойная плита; 17-шиберный затвор промежуточного ковша;
18-дозатор для разливки открытой струей; 19-промежуточный ковш
Промежуточный ковш предназначен для выполнения таких технологических
функций: распределение металла между ручьями и согласование массовых скоростей
поступления струи в кристаллизатор; использование его как емкости для очистки
металла от включений путем их всплывания и выноса циркуляционными потоками на
границу с защитным покрытием, где он ассимилируется шлаком.
Форма и размеры промежуточного ковша определяются путем математических
расчетов и на водяных моделях. Следует отметить тенденцию к увеличению размера
промежуточного ковша. Для регулирования потоков и времени пребывания металла в
промежуточном ковше с целью создания благоприятных условий для выделения из
него глинозема и других включений используют перегородки и пороги.
1.3 Кристаллизатор МНЛЗ
Кристаллизатор представляет собой водоохлаждаемую конструкцию, которая
совершает вертикальные колебания, для предотвращения застывания металла на
стенках кристаллизатора. В кристаллизаторе происходит застывание стенок сляба.
В настоящее время все конструкции кристаллизаторов по способу изготовления и
области применения можно объединить в три большие группы: блочные, гильзовые и
сборные.
Блочные кристаллизаторы изготавливаются из цельнокованых или литых медных блоков.
В стенках просверлены отверстия, по которым проходит вода для охлаждения.
Сборные кристаллизаторы изготавливаются из четырех отдельных медных плит, каждая
из которых для большей жесткости крепится шпильками на отдельной стальной
плите. В зависимости от толщины плит кристаллизаторы делятся на тонко- (15-25
мм) и толстостенные (50-100 мм). Сборные кристаллизаторы широко применяются для
отливки прямоугольных листовых заготовок-слябов и крупных блюмов. Особенностью
этого кристаллизатора является возможность изменения ширины отливаемой заготовки.
1.4
Зона вторичного охлаждения
После выхода из кристаллизатора непрерывнолитая заготовка имеет наружный
корковый слой, а внутри - жидкую середину. Полная кристаллизация заготовки
происходит в зоне вторичного охлаждения (ЗВО).
Система вторичного охлаждения МНЛЗ состоит из опорных элементов,
поддерживающих заготовку, и устройств, обеспечивающих охлаждение слитка.
Опорные элементы направляют движение заготовки и предотвращают деформацию
граней слитка под действием ферростатического давления. Кроме того, функцией
опорных элементов является непрерывное вытягивание заготовки из кристаллизатора
и перемещение ее вдоль технологической линии МНЛЗ одновременно с ее
выпрямлением или изгибом.
Снижение температуры в ЗВО достигается путем опрыскивания заготовки
водой, отвода тепла к поддерживающим роликам с внутренним охлаждением и
вследствие конвекции и лучеиспускания в окружающую среду. Известно, что доля
суммарного теплоотвода в зоне вторичного охлаждения составляет 75-78%, причем
38-40% тепла передается подаваемой форсунками воде, приблизительно 30%
поддерживающим роликам с внутренним охлаждением и приблизительно 8% окружающей
среде вследствие лучеиспускания и конвекции [2].
1.5 Тянуще-правильный агрегат
На рисунке 3 представлена конструкция тянуще-правильной машины, которая
установлена на криволинейных МНЛЗ и состоит из трех секций, закрепленных на
неподвижных фундаментальных балках 8. Первая секция по ходу слитка
предназначена для его правки, вторая и третья секции - для создания тянущего
усилия и выдачи слитка на приемный рольганг. В каждой секции установлены два
ряда роликов: верхних 5 и нижних 6. Поскольку нижний ролик, расположенный в
месте перехода радиальной части в криволинейную, при правке слитка подвержен
действию максимальной нагрузки, предусмотрена установка опорного ролика 10
большего диаметра, прижимаемого двумя гидроцилиндрами к рабочему ролику.
Рисунок 3. -
Тянуще-правильная машина с гидравлическими механизмами перемещения и прижима
роликов
Для предотвращения от поломки нижних роликов первой и второй секций при
возможных перегрузках в их опорных узлах установлены короткоходовые
гидроцилиндры 9. Вертикальное перемещение подвижного ролика на переходном
участке осуществляется двумя гидроцилиндрами 11. Подушки подшипников верхних и
нижних роликов помещены между стойками станины 7. Каждый верхний ролик
перемещается по нормали к технологической оси и прижимается к слитку двумя
гидроцилиндрами 3, штоки 4 которых шарнирно соединены с подушками подшипников.
Расстояние между роликами в первых двух секциях регулируют сменными прокладками
1. Стойки станины в верхней части связаны продольными балками 2, расположенными
с обеих сторон.
1.6
Порезка и выдача заготовок
Для резки движущегося непрерывнолитого слитка на мерные длины применяют
два типа устройств: передвижные машины газовой резки и ножницы.
Наибольшее применение получили машины газовой резки, обладающие простой
конструкцией, небольшой металлоемкостью и возможностью быстрой замены вышедших
из строя узлов. Однако они имеют существенный недостаток - значительные потери
металла в шлам при резке.
Ножницы уступают машинам газовой резки по ряду показателей (масса,
стоимость изготовления, ремонтные затраты и т.д.), но основное их преимущество
- безотходное резание металла. На МНЛЗ применяют два типа ножниц - качающиеся
(маятниковые) гидравлические и передвижные импульсного (ударного) действия.
Первый тип в основном используют для резки слябов, второй - для резки сортовых
заготовок.
После порезки сляб или сортовая заготовка продолжают движение по
рольгангу к передаточной тележке. При помощи тележки сляб передается на
рольганг для транспортировки на адъюстаж. Транспортировка слябов к прокатным
цехам осуществляется при помощи железнодорожного или автомобильного транспорта.
На вертикальных МНЛЗ слябовые и сортовые заготовки после газорезки подают к
рольгангу при помощи специальной корзины или механизма подъема.
2.
Методы измерения уровня жидкого металла
2.1 Индуктивный метод
Принцип действия индуктивных уровнемеров основан на
зависимости индуктивности одиночной катушки или взаимной индуктивности двух
катушек от глубины их погружения в электропроводную жидкость. Такая зависимость
обусловлена возникновением в жидкости под воздействием магнитного поля
переменного тока возбуждения вихревых токов, магнитное поле которых оказывает
размагничивающее действие на поле тока возбуждения. Действительно, по
определению индуктивность L катушки
представляет собой отношение магнитного потока Ф к току I, создающему этот поток:
L = Ф/I.
При погружении катушки в жидкость в ней создаются
вихревые токи, магнитное поле которых по закону Ленца направлено навстречу
основному, т.е. результирующий магнитный поток будет меньше потока «сухой»
катушки. Это означает, что индуктивность погруженной катушки меньше индуктивности
сухой катушки.
Таким образом, если индуктивный преобразователь
представляет собой одиночную длинную катушку, то ее индуктивность и полное
сопротивление
Z = R + jωL
будут зависеть от глубины погружения (R - активное сопротивление катушки, ω - круговая частота тока
возбуждения). Существуют индуктивные преобразователи, содержащие две индуктивно
связанные катушки, образующие трансформатор (трансформаторные преобразователи).
При изменении индуктивностей L1 и L2 обеих катушек изменяется их взаимная индуктивность М
и в соответствии с выражением

, (1)
где
k - коэффициент связи, определяемый потоками рассеяния.
В
реальных конструкциях таких преобразователей обмотки выполняются намоткой в два
провода, при этом L1 = L2 = L и
к = 1.
Из
принципа действия уровнемеров видно, что они пригодны для измерения уровня
только электропроводных сред. Кроме того поскольку интенсивность вихревых токов
зависит от электропроводности среды, ее изменение в процессе измерения вызовет
появление дополнительной погрешности. Эти уровнемеры получили наибольшее
распространение для измерения уровня жидкометаллического теплоносителя в
энергетических установках.
Простейшая
схема индуктивного трансформаторного преобразователя представлена на рисунке 4,
а. Преобразователь состоит из обмотки возбуждения 1, по которой
протекает переменный ток возбуждения Iв, и вторичной обмотки 2, с которой снимается
выходной сигнал Uвых.
Преобразователь помещен в металлический защитный чехол 3, который
герметично закреплен в крышке резервуара. Это позволяет осуществлять замену
уровнемера без нарушения герметичности контура. Как уже указывалось, под
действием потока возбуждения в толще контролируемой среды (например, жидкого
металла) возникают вихревые токи. Это приводит к зависимости взаимной
индуктивности М между обмотками от уровня металла. Эта зависимость
линейна по всей длине обмоток, кроме концевых участков, длиной, равной их
диаметру, где характеристика искривляется.
Таким
образом, ЭДС E=ωMIв во вторичной обмотке, а следовательно, и выходное
напряжение Uвых
будут линейно зависеть от уровня. Из рисунка 4, а видно, что
взаимодействие полей возбуждения и вихревых токов осуществляется через
металлический защитный чехол, который ослабляет поля и, следовательно, ухудшает
чувствительность преобразователя, причем экранирующее действие чехла
увеличивается с ростом частоты ω тока возбуждения Iв.
Однако выбирать низкое значение ω нецелесообразно, так как при этом уменьшается ЭДС Е во вторичной
обмотке, а, следовательно, и Uвых
(обычно частота выбирается равной 4...5 кГц).
Основной
недостаток трансформаторных преобразователей уровня - влияние изменения
температуры контролируемой среды на результат измерения. Это влияние
обусловлено изменением активного сопротивления обмоток в зависимости от
изменения температуры и изменением их индуктивности в связи с линейным
расширением провода, а также изменением проводимости чехла и контролируемой
среды. Кроме того, на результат измерения будут оказывать влияние изменения
состава среды, а также изменение со временем свойств материалов чехла. При
измерении уровня жидких металлов влияние будет оказывать также наличие на чехле
пленки расплава или пленки оксидов. Автоматическая компенсация этих
погрешностей представляет собой трудную задачу из-за сложности измерения
влияющих величин и сложного характера влияния их на погрешность.
Преобразователи
трансформаторного типа удобно использовать в качестве сигнализаторов предельных
значений уровня. В этом случае преобразователь состоит из двух отдельных
коротких трансформаторов, разнесенных на расстояние, равное разности верхнего и
нижнего уровней (рисунок 4, б). Первичные обмотки трансформаторов включены
последовательно и питаются от одного источника. Вторичные обмотки включены
встречно, и разностный сигнал идет в схему сигнализации. Срабатывание схемы
аварийной сигнализации происходит при нулевом значении выходного напряжения Uвых, т.е. если ЭДС во
вторичных обмотках трансформаторов будут равными. Очевидно, что это будет в том
случае, если оба трансформатора окажутся одновременно либо ниже уровня (т.е.
когда уровень достигнет верхнего аварийного значения), либо выше уровня (когда
уровень достигнет нижнего аварийного значения). При промежуточных значениях
уровня Uвых≠0
и срабатывания схемы сигнализации не происходит.
Рисунок 4. -
Схема индуктивного трансформаторного преобразователя уровня:
а - аналогового уровнемера; 1 - обмотка возбуждения; 2 - вторичная
обмотка; 3 - металлический защитный чехол; б - сигнализатора предельных
значений уровня
Перечисленные факторы оказывают меньшее влияние на работу индуктивных
уровнемеров дискретного действия. В таких уровнемерах фиксируется достижение
определенных значений уровня, т.е. указатель переместится на соседнюю отметку
только при изменении уровня на определенное значение - шаг дискретности.
Преобразователь дискретного уровнемера представляет собой ряд коротких катушек
индуктивности 1 (рисунок 5, а), помещенных в виде столба внутри
металлического чехла 2, отделяющего катушки от среды (рисунок 5, б). Как
уже указывалось, индуктивность катушки зависит от глубины ее погружения в
среду, поэтому индуктивность и комплексное сопротивление катушки, расположенной
ниже уровня, имеет другое значение, чем катушки, расположенной выше уровня. В
головке преобразователя 3 располагаются вспомогательные катушки,
индуктивность которых от уровня не зависит. Все рабочие 1, 2, 3,..., п и
вспомогательные катушки включены в следящую логическую схему, которая
отыскивает первую сверху катушку, расположенную ниже уровня. Это дает
возможность судить о положении уровня, если известны размеры катушек и их
положение относительно дна резервуара. Принципиально важным является то
обстоятельство, что следящая система не измеряет непосредственно индуктивности
рабочих катушек, а отыскивает две соседние катушки с резко различающимися
индуктивностями (это имеет место, если одна из них расположена ниже уровня
металла, а вторая - выше), причем количественное различие индуктивностей роли не
играет. Это означает, что следящая система работает в релейном режиме,
обеспечивающем высокую помехозащищенность дискретных индуктивных уровнемеров.
Рисунок 5. -
Схема индуктивного преобразователя дискретных уровнемеров:
а
- фрагмент уровнемера; б - схема уровнемера; 1 - катушки индуктивности;
2 - металлический чехол; 3 - головка преобразователя
Изменение свойств контролируемого жидкого металла (в
том числе и за счет изменения температуры), а также налипший на чехол слой
металла или его оксидов не приведет к нарушению работоспособности прибора.
Действительно, перечисленные факторы могут только уменьшить степень изменения
индуктивности катушек, погруженных в металл относительно «сухих», что не влияет
на работу следящей системы. Суммируя сказанное, можно перечислить достоинства
дискретных индуктивных уровнемеров: независимость показаний от изменения
температуры среды и наличия на чехле пленок расплава или окислов (при измерении
уровня металла) [3].
2.2 Кондуктометрический метод
Кондуктометрические уровнемеры (уровнемеры сопротивления) применяются для
измерения уровня проводящих жидкостей (в том числе, и жидких металлов).
Первичный преобразователь (рисунок 6) кондуктометрического уровнемера
представляет собой два электрода, глубина погружения которых в жидкость и
определяет текущее значение ее уровня. Выходным параметром преобразователя
является его сопротивление или проводимость. При измерении уровня
„сверхпроводящих" жидкостей (например, жидких металлов) возможно применение
кондуктометрических уровнемеров с одним электродом, роль второго электрода при
этом выполняет заземленный сосуд.
Основные факторы, ограничивающие точность кондуктометрических уровнемеров
- непостоянство площадей поперечных сечений электродов (и вследствие этого
непостоянство удельных сопротивлений по длине электродов), а также образование
на электродах пленки (окисла, соли) с высоким удельным сопротивлением, что
приводит к резкому неконтролируемому снижению чувствительности датчика.
Кроме того, на точность кондуктометрических уровнемеров существенное
влияние оказывает изменение электропроводности рабочей жидкости, поляризация
среды вблизи электродов.
Вследствие этого погрешности кондуктометрических методов измерения уровня
(даже при использовании различных компенсационных схем) достаточно высоки
(5-10%), поэтому они находят преимущественное применение в качестве
сигнализаторов уровня проводящих жидкостей [4].
Рисунок 6. -
Первичный преобразователь кондуктометрического уровнемера
2.3 Радиоизотопный метод
Уровнемеры с радиоизотопными излучателями делятся на две группы:
) со следящей системой, для непрерывного измерения уровня;
) сигнализаторы (индикаторы) отклонения уровня от заданного значения.
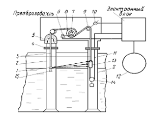
Принципиальная схема следящего уровнемера приведена на рисунке 7.
Действие прибора основано на сравнении интенсивностей потоков γ - лучей, проходящих выше или ниже
уровня раздела двух сред разной плотности. Комплект прибора состоит из трех
блоков:
) преобразователя, содержащего источник и приемник излучения;
) электронного блока;
) показывающего прибора.
Преобразователь на фланцах 4 присоединен к вертикальным трубкам 2,
установленным внутри объекта измерения. Расположенный в герметичном корпусе
преобразователя реверсивный двигатель 6 через червячную передачу 7
вращает барабан 8, на котором укреплена стальная лента 3. На
концах ленты свободно висят источник излучения 1 и приемник излучения 13.
Электрический сигнал от приемника излучения через гибкий кабель 11
передается на электронный блок. При перемещении приемника кабель фиксируется в
определенном положении при помощи ролика 14 с грузом. Лента 3
проходит через зубчатый ролик 9, на оси которого расположен первичный
сельсин 10.
Рисунок 7. -
Радиоизотопный уровнемер:
-источник излучения; 2-трубки; 3-стальная лента; 4-фланцы; 5-свинцовый
контейнер; 6-реверсивный двигатель; 7-червячная передача; 8-барабан; 9-
зубчатый ролик; 10-первичный сельсин; 11-гибкий кабель; 12-показывающий прибор;
13-приемник излучения; 14-ролик с грузом; 15-свинцовая пробка
Для обеспечения радиационной защиты персонала при транспортировке,
монтаже и ремонтных работах внутри объекта измерения источник излучения
перемешается автоматически в свинцовый контейнер 5. Отверстие в
контейнере при этом закрывается свинцовой пробкой 15, жестко связанной с
источником. Диапазон измерения уровня прибором до 10 м, основная погрешность
измерения не превышает 1 см [3].
2.4 Радарный (радиоволновый) метод
Микроволновый бесконтактный метод (радарный), с одной стороны,
обеспечивает минимальный контакт измерительного устройства с контролируемой
средой, а с другой стороны - практически полностью нечувствителен к изменению
её температуры и давления. Причем и температура, и давление могут иметь
значения, недопустимые для применения других методов, в первую очередь,
контактных.
При всех существующих различиях общим остается принцип действия:
излучённый СВЧ - сигнал отражается от контролируемого объекта, принимается
обратно и соответствующим образом обрабатывается (рисунок 8). Результатом
обработки является значение того или иного параметра объекта: дальность,
скорость, направление движения и т.д. Вне зависимости от используемого принципа
в радарных уровнемерах применяются СВЧ - сигналы с несущей частотой, лежащей в
диапазоне от 5,8 до 26 ГГц.
Рисунок 8. -
Схема измерения уровня радарным уровнемером
В настоящее время в радарных системах контроля уровня применяются
преимущественно две технологии: с непрерывным частотно - модулированным
излучением (FMCW - frequency modulated continuous wave) и импульсным
излучением сигнала.
Технология FMCW реализует косвенный метод измерения расстояния.
Уровнемер излучает микроволновый сигнал, частота которого изменяется непрерывно
по линейному закону между двумя значениями f0 и f1 (рисунок 9).
Отраженный от поверхности контролируемой среды (жидкость, сыпучий материал)
сигнал принимается той же антенной и обрабатывается. Его частота сравнивается с
частотой сигнала, излучаемого в данный момент времени. Значение разности частот
Δf прямо пропорционально расстоянию до поверхности l. Принцип очень прост, но на пути его
практической реализации существует множество технических и технологических
проблем. Одной из важнейших, непосредственно влияющих на точность измерения,
является обеспечение высокой линейности изменения частоты сигнала и особенно ее
температурной стабильности, поскольку уровнемеры, как правило, предназначены
для эксплуатации в очень широком температурном диапазоне.
Рисунок 9. -
Принцип измерения расстояния при использовании технологии FMCW:
излученный сигнал;
отраженный сигнал
Идеальными для уровнемера FMCW являются условия, когда поверхность
контролируемой среды имеет достаточно большую площадь, а сам резервуар
полностью свободен от каких-либо внутренних конструктивных элементов. Однако
реальные условия сильно отличаются от идеальных и вносят дополнительные
проблемы, связанные с образованием большого числа паразитных эхо-сигналов от
элементов конструкции, неровностей поверхности (особенно при контроле сыпучих
материалов) и т.п. (рисунок 10).
Рисунок 10. -
Паразитные отражения при использовании технологии FMCW: а - излученный сигнал;
б, в - паразитные эхо сигналы; г - полезный отраженный сигнал
Кроме того, приём и передача сигнала осуществляются одновременно. В
результате на входе приёмника уровнемера присутствует сложная смесь сигналов с
очень большим разбросом по амплитуде. Для выделения частот эхо-сигналов
применяется алгоритм, основанный на методе быстрого преобразования Фурье. Для
его реализации требуются значительные вычислительные ресурсы и относительно
продолжительное время. Выделять полезный эхо-сигнал и игнорировать остальные
позволяет специальное программное обеспечение, установленное на сервисном
компьютере или встроенное в уровнемер.
В радарах импульсного типа используется метод определения
расстояния, основанный на непосредственном измерении времени прохождения СВЧ -
импульса от излучателя до контролируемой поверхности и обратно. В результате
для отраженного сигнала применение процедуры быстрого преобразования Фурье не
требуется. Однако время прохождения сигналом дистанции в несколько метров
составляет всего единицы наносекунд. Поэтому для обеспечения измерения столь
малых значений с требуемой точностью все-таки требуется применение специальных
методов обработки сигнала. Для этого обычно используется преобразование
СВЧ-сигнала в сигнал промежуточной частоты ультразвукового диапазона. После
такого преобразования к обработке сигналов радарного уровнемера могут быть
легко применимы методы и алгоритмы, используемые в ультразвуковых приборах
контроля уровня. Радарные уровнемеры импульсного типа обладают рядом
преимуществ перед устройствами, использующими технологию FMCW. Во-первых,
принимаемые эхо-сигналы вне зависимости от природы их источника разнесены во
времени, что обеспечивает их более простое разделение. Во-вторых, среднее
энергопотребление импульсных уровнемеров составляет единицы мкВт (пиковая
мощность при излучении СВЧ-импульса составляет около 1 мВт), что позволяет
использовать для их подключения двухпроводную схему с питанием от измерительной
цепи со стандартным токовым сигналом 4-20 мА. В приборах, работающих по
технологии FMCW, энергопотребление существенно выше из-за непрерывного
характера излучения, а также постоянно выполняемой математической обработки
эхо-сигнала. И, в-третьих, в импульсных уровнемерах электроника для выполнения
первичной обработки сигнала проще, а сама обработка выполняется исключительно
аппаратными средствами; в результате благодаря меньшему числу комплектующих
надёжность прибора получается потенциально выше.
Конструкция одного из типов радарного уровнемера представлена на рисунке
11. Одним из самых важных элементов радарного уровнемера является его антенная
система. Именно от антенны зависит, какая часть излучённого сигнала достигнет
поверхности контролируемого материала, и какая часть отражённого сигнала будет
принята и передана на вход электронного блока для последующей обработки. В
радарных системах контроля уровня преимущественно используются антенны пяти
типов: рупорная, стержневая, трубчатая, параболическая, планарная.
Рисунок 11. -
Конструкция радарного уровнемера:
- электронный блок; 2 - дисплей; 3 - распределительная коробка; 4 -
кабельные вводы; 5 - крепежное приспособление; 6 - антенна
Стержневая и рупорная антенны (рисунок 12, а, б) наиболее широко
используются в составе приборов, предназначенных для контроля уровня в
технологических установках. Трубчатые антенны (рисунок 12, в) применяются в тех
случаях, когда выполнение измерения посредством рупорной или стержневой антенны
связано с очень большими трудностями или просто невозможно, например, при
наличии пены, сильного испарения или высокой турбулентности контролируемой
жидкости.
Параболические и планарные антенны (рисунок 12, г, д) используются
исключительно в составе систем коммерческого учета нефтепродуктов.
При контроле уровня в закрытых емкостях, а это наиболее частое применение
радарных уровнемеров, антенна, находясь внутри резервуара, подвергается
воздействию всех неблагоприятных факторов, которые там только могут
присутствовать. К ним относятся и высокое давление, и высокая температура, и
агрессивные испарения, и пыль, и т.д. Безусловно, конструкция антенны и
материалы, используемые для ее изготовления, должны всему этому успешно
противостоять. Кроме того, конструкция самих резервуаров отличается огромным
разнообразием и потому способна создать массу проблем при установке уровнемера
[3].
Рисунок 12. -
Типы антенн радарных уровнемеров:
а - стержневая; б - рупорная; в - трубчатая; г - параболическая; д -
планарная
2.5 Лазерный метод
Лазерный уровнемер - измерительный прибор для измерения расстояния,
использующий технологию на основе лазера, и применяемый в системах управления
производственным процессом. Время прохождения импульсов инфракрасного излучения
измеряется прецизионным датчиком временных интервалов. Многократно записываемые
показания прибора усредняются, формируя на выходе сигнал, соответствующий с
высокой точностью измеряемому уровню, даже при работе с объектами,
предъявляющими самые серьезные требования к измерительной аппаратуре. Быстрая и
точная регистрация показаний возможна благодаря тому, что уникальные свойства
лазера не зависят от внешних факторов, таких как давление, вакуум, температура,
пар, геометрия резервуара, помехи и децентровка при монтаже.
Лазерный уровнемер использует невидимый, инфракрасный свет. Для точного
выравнивания уровнемера в нем установлен встроенный лазерный целеуказатель,
который видит человеческий глаз. Лазерные лучи имеют очень маленькое
расхождение, поэтому его можно устанавливать в бункерах и силосах с внутренними
конструкциями, не опасаясь получить ложный отраженный сигнал.
3.
Технологические требования
Металл, находящийся в промежуточном ковше в жидком состоянии,
характеризуется следующими особенностями, которые не свойственны обычным
жидкостям:
- высокое давление и высокая температура;
- возможное наличие испарений неметаллических включений;
- неравномерность поверхности жидкого металла;
- наличие шлака на поверхности металла.
Поэтому, средства измерений, применяемые для контроля уровня жидкого
металла в промежуточном ковше, должны быть невосприимчивыми к перечисленным
особенностям жидкого металла.
Диапазон измерения уровня жидкого металла в промежуточном ковше: 0 - 1000 мм.
4.
Выбор метода контроля
Для измерения уровня жидкого металла можно использовать следующие методы:
весовой, кондуктометрический, индукционный, радиоизотопный, лазерный и радарный.
Применение весового метода, основанного на взвешивании промежуточного ковша,
является нецелесообразным из-за присутствия в расплаве жидкого металла
неметаллического шлака и различия плотностей шлака и жидкого металла. Данный
метод возможно применять в случае одинаковой плотности расплава по всему объему
емкости. Кондуктометрический и индукционный методы измерения уровня являются
контактными методами измерениями, поэтому для устранения контакта
чувствительных элементов с измеряемой средой необходимо применение защитных
чехлов. Данные методы также не являются преимущественными ввиду частого
разрушения защитного чехла, контактирующего с высокотемпературной измеряемой
средой. Поэтому огромным преимуществом для измерения уровня жидкого металла
являются бесконтактные методы измерения.
Основным недостатком радиоизотопного метода является высокая опасность,
заключающаяся в использовании радиоактивных источников гамма-излучения 137Cs или 60Co. Применение этого метода
целесообразно в тех случаях, когда другие способы измерения уровня непригодны,
например, в доменном производстве. При измерении уровня жидкого металла в
промежуточном ковше более предпочтительным является радарный метод. Этот метод
является невосприимчивым к таким особенностям жидкого металла, как неравномерность
поверхности измеряемой среды и наличие шлака на поверхности расплавленного
металла, которые влияют на показания уровнемеров лазерного типа. Поэтому для
контроля уровня жидкого металла в промежуточном ковше необходимо выбрать
уровнемер радарного типа, а именно радарный датчик Accu-Wave
модели 1440, производимый американской компанией Thermo Measure Tech.
5.
Радарный датчик Accu-Wave
Радарный датчик Accu-Wave модели 1440 предназначен для
непрерывного измерения уровня технологической среды с помощью СВЧ-излучения. Радарный датчик Accu-Wave обеспечивает преимущества по сравнению с
акустическими и лазерными датчиками, особенно в неблагоприятных условиях,
поскольку радиосигнал невосприимчив к испарениям, волнению поверхности
жидкости, изменениям температуры и давления.
Датчик Accu-Wave излучает радиосигнал СВЧ-диапазона, который отражается от
поверхности технологической среды. Отраженный сигнал (или эхо-сигнал)
регистрируется датчиком Accu-Wave. Программа обработки цифрового
сигнала (DSP) детектирует эхо-сигнал и вычисляет
расстояние до поверхности жидкости или твердого материала в резервуаре.
Микропрограмма датчика Accu-Wave позволяет определить уровень, объем
и другие характеристики, выбираемые пользователем.
5.1 Описание
Радарный измеритель уровня Accu-Wave состоит из встроенного сенсора и
измерительного преобразователя (или датчика). Электронные схемы СВЧ-сенсора и датчика скомпонованы на
одной электронной плате. Микроволновый сигнал формируется в нижней части платы
и, через стыковочный узел, передается в антенну. Антенна (или зонд)
используется как для фокусировки передаваемого сигнала, так и для приема
отраженного эхо-сигнала. В настоящее время датчики Accu-Wave
выпускаются с диэлектрическими стержневыми и рупорными антеннами.
Стандартные конфигурации антенн для радаров Accu-Wave
включают диэлектрические стержневые антенны из тефлона (ПТФЭ) и рупорные
антенны из нержавеющей стали. Диэлектрические стержневые антенны должны
устанавливаться только внутри резервуара. Датчики с рупорными антеннами могут быть
сконфигурированы как для внешнего монтажа (антенна располагается вне
резервуара), так и для врезного монтажа с установкой антенны внутри резервуара.
ковш жидкий металл радарный датчик
5.1.1 Рупорные антенны
Рупорная антенна включает переходной участок между нижней частью корпуса
и рупором антенны. Участок представляет собой волновод из нержавеющей стали
наружным диаметром 1 дюйм, заполненный ПТФЭ. Материал волновода (нержавеющая
сталь 316) обжат на диэлектрическом стержне наполнителя. При монтаже антенны во
врезке в резервуар (внутренний монтаж) такая опрессовка служит уплотнением,
изолирующим технологическую среду и давление технологического процесса.
Для датчиков с рупорными антеннами внутреннего монтажа имеется
высокотемпературное исполнение. Переходной участок таких датчиков допускает
установку теплового экрана и теплоизолятора между корпусом датчика, в котором
установлена электроника и монтажным фланцем. Это позволяет использовать датчики
Accu-Wave для работы с процессами, требующими высоких температур.
При внешнем монтаже антенны используется технологическое изолирующее
уплотнение для полного разделения измерителя уровня Accu-Wave и технологической
среды. Такое разделение является крайне важным во многих случаях использования
данного оборудования в асептических условиях в пищевой и фармацевтической
промышленности. Уплотнение также позволяет извлекать сенсор без нарушения
условий технологического процесса.
Для внутреннего монтажа выпускаются рупорные антенны диаметром 2, 3, 4, 6
и 8 дюймов. Для внешнего монтажа - диаметром 3, 4 и 6 дюймов. По мере
увеличения диаметра рупорной антенны, все большая часть передаваемой энергии
микроволн фокусируется на технологической среде, и все больше отраженной
энергии попадает на сенсор.
5.1.2 Сенсор - датчик
Сенсор и измерительный преобразователь скомпонованы на одной электронной
плате. Датчик обнаруживает сигнал, отраженный от технологической среды,
определяет расстояние до поверхности технологической среды и рассчитывает
другие измеряемые параметры. Значения этих параметров могут выводиться на
местный или выносной дисплей, передаваться через последовательные
коммуникационные порты (стандартный RS-485, дополнительный RS-232) и могут
использоваться для выдачи аналогового сигнала 4-20 мА или для включения
сигнализации.
Через последовательные коммуникационные порты: основной RS-485 и
дополнительный RS-232 обеспечивается связь датчика с персональным компьютером,
на котором установлено ПО измерителя уровня Accu-Wave, работающее в среде
Windows, либо с персональным компьютером, оснащенным программой эмуляции
терминала, либо с портативным терминалом фирмы Thermo MeasureTech (TMT).
Цифровой сигнал протокола HART выдается через аналоговый выход
дополнительной дочерней платы (цифровой сигнал накладывается на аналоговый
сигнал 4-20 мА). Измеритель уровня Accu-Wave поддерживает аналоговый выходной
сигнал 4-20 мА, связь через последовательный порт, контактный вход и 2-строчный
местный или выносной дисплей. Входы и выходы измерителя уровня Accu-Wave
перечислены в таблице 1.
Таблица 1. -
Характеристики входов/выходов
|
Тип
|
Характеристики
|
Примечания
|
|
Питание
|
24 В постоянного тока ±
25%, не более 3 Вт
|
|
|
Аналоговый выход
|
0-20 мА постоянного тока
(регулируемый диапазон) Изолированный, питание контура, номинальное
напряжение питания 24 В постоянного тока, макс. нагрузка 700 Ом
|
Диапазон по умолчанию 4-20
мА постоянного тока. Предусмотрен один аналоговый (токовый) выход.
|
RS485: один клеммный блок и
один разъем RJ11 RS232: один клеммный блок (требуется дополнительная плата)
|
Полудуплексная связь с
головным компьютером или портативным терминалом. Полнодуплексная связь с
удаленным терминалом или ПК.
|
|
Контактный вход
|
В датчике установлен один
(1) контактный вход.
|
Пользователь может задать
команду, выполняемую датчиком при получении сигнала размыкания или замыкания
контакта на данном входе.
|
|
Выносной дисплей
|
Дисплей 2 строки x
16 символов - С подсветкой
|
Предназначен для индикации
первичной переменной и дополнительных величин.
|
|
Связь по протоколу HART
|
Цифровой сигнал HART
передается через аналоговый выход (накладывается на аналоговый сигнал 4-20
мА)
|
Необходима дополнительная
дочерняя плата
|
0.0. 5.2 Конструкция
Конструкция радарного датчика Accu-Wave с высокотемпературной рупорной
антенной 6” представлена на рисунке 13. Высокотемпературная рупорная антенна 6”
радарного уровнемера Accu-Wave разработана для непрерывного измерения уровня
жидкостей, жидких растворов, расплавов, паст и эмульсий при давлении от полного
вакуума до 41 атм., без контакта с материалом процесса. Высокотемпературная
рупорная антенна 6” одинаково хорошо измеряет как взволнованные жидкости, так и
находящиеся в спокойном состоянии, в резервуарах или измерительных колодцах.
Рисунок 13. -
Конструкция радарного датчика Accu-Wave с высокотемпературной рупорной
антенной 6”
5.3
Принцип
действия
Сенсор генерирует СВЧ-сигнал, представляющий собой электромагнитную волну, а именно две
совместно распространяющихся перпендикулярных волны (электрического и
магнитного полей). Передаваемый сигнал отражается от поверхности
технологической среды. Отраженный сигнал (эхо-сигнал) регистрируется датчиком.
Определяется частота зарегистрированного сигнала, по которой находится
расстояние до жидкого или твердого материала в резервуаре.
Программное обеспечение Marker Sweep непрерывно подстраивает выходной
сигнал для обеспечения линейности развертки по частоте. Высоко-устойчивый СВЧ-сигнал обеспечивает точную регистрацию
изменения уровня в режиме реального времени. Программное обеспечение
динамического слежения за процессом (Dynamic Process TrackingТМ)
обеспечивает быстроту реакции системы на изменяющий уровень технологической
среды, за счет автоматического уменьшения постоянной времени при изменении
уровня. В меню предусмотрен широкий диапазон средств для «тонкой настройки»
сигнала с целью устранения многих проблем, возникающих при измерении уровня в
динамичном процессе.
Уникальное программное обеспечение цифровой обработки сигнала (DSP)
обрабатывает СВЧ-сигнал и преобразует его в информацию об измерении, отражаемую
на экране. Также можно запрограммировать условия срабатывания сигнализации,
включения или выключения реле. Параметры сигнализации, входные параметры и параметры
выходов хранятся в энергонезависимой памяти.
Программное обеспечение автоматического контроля и коррекции ошибок
непрерывно контролирует работу системы. Можно запрограммировать так, чтобы при
неисправности системы включалась тревожная сигнализация.
5.4
Информационно-измерительная
система
Информационно-измерительная система для связи с датчиком Accu-Wave представлена на рисунке 14.
В датчике установлены интерфейсы RS485 и RS232, поддерживающие
последовательную связь в составе многоточечного контура. Через порты RS485 и
RS232 обеспечивается независимый доступ к результатам измерений и к программным
функциям. Через интерфейс RS485 может быть установлена связь с компьютером, на
котором установлено ПО Accu-Wave Setup, с компьютером, на котором установлена
программа имитации терминала, с портативным терминалом Thermo Measure Tech,
терминалами ANSI или VT100. Порт RS232 напрямую подключается к
последовательному (СОМ) порту компьютера через стандартный кабель.
Рисунок 14. -
Информационно-измерительная система для связи с датчиком Accu-Wave
Диапазон выходного сигнала аналогового выхода устанавливается программно.
По умолчанию установлен диапазон 4-20 мА.
Коммуникационный протокол HART поддерживается на аналоговом выходе 4-20
мА дополнительной дочерней платы. Для связи с датчиком можно использовать
стандартный портативный HART-коммуникатор модели 275 или персональный
компьютер, оборудованный HART-модемом.
6.
Методика поверки радарного датчика Accu-Wave
6.1 Средства поверки
При проведении поверки применяют следующие основные средства поверки:
- установки уровнемерные с абсолютной погрешностью не более
±1,5 мм;
- рулетки измерительные по ГОСТ 7502 с диапазоном измерений
1…50 м, компарированные на пределы абсолютной погрешности измерений ±1,5 мм;
- калибраторы постоянного напряжения и тока.
В качестве вспомогательного средства поверки применяют отражательный диск
из металла (дюраль, сталь, латунь), имитирующий положение уровня контролируемой
среды, диаметром не менее 1000 мм.
Все эталонные средства и приборы должны быть проверены органами
Государственной метрологической службы и иметь действующие свидетельства о
поверке.
Соотношение пределов допускаемых погрешностей эталонного и поверяемого
средств измерений должно быть не менее 1:3.
6.2 Условия поверки
При проведении поверки соблюдают следующие условия:
- температура окружающего воздуха 20±5оС;
- атмосферное давление 101,32 кПа;
- напряжение питания постоянного тока 24 В или переменного 220
В частотой 50 ± 1 Гц;
- вибрация, источники магнитных и электрических полей, влияющих
на работу уровнемера, отсутствуют.
6.3 Проведение поверки
1. Внешний осмотр.
При внешнем осмотре проверяют:
- отсутствие механических повреждений на уровнемере,
препятствующих его применению;
- соответствие паспортной таблички уровнемера требованиям
эксплуатационной документации;
- соответствие комплектности уровнемера, указанной в
документации.
Уровнемер не прошедший внешний осмотр к поверке не допускают.
. Опробование.
Опробуют уровнемер:
- при первичной поверке на фирме-изготовителе - согласно программе автоматической
поверке уровнемера;
- при первичной поверке в органах Государственной
метрологической службы на поверочной установке согласно технической
документации на установку и уровнемер;
- при периодической поверке убеждаются, что при изменении
уровня жидкости (при поверке на образцовой уровнемерной установке) или при
перемещении отражательного диска относительно фланца прибора показания
уровнемера изменяются;
. Определение метрологических характеристик.
- при первичной поверке на фирме-изготовителе - согласно программе автоматической
поверке уровнемера;
- при первичной поверке на образцовой уровнемерной установке
согласно технической документации на установку;
- при периодической поверке имитационным методом определение
основной абсолютной погрешности уровнемера проводят путем сравнения его
показаний (дистанции до поверхности) Ly со значением поверяемой отметки - измеренным рулеткой
расстоянием от нижней поверхности фланца до отражательного диска Ln.
Измерение производят при трех различных значениях расстояний (в двух
крайних и в среднем) с отклонением ±5%.
При использовании калибратора постоянного тока и напряжения для измерения
выходного токового сигнала уровнемера, значение измеряемого уровнемером
расстояния вычисляется по формуле:
где
I - значение токового выходного сигнала с уровнемера,
мА; I0 -
значение токового выходного сигнала с уровнемера, соответствующее минимальному
значению уровня жидкости в резервуаре, мА; Imax -
значение токового выходного сигнала с уровнемера, соответствующее максимальному
значению уровня жидкости в резервуаре, мА; D - диапазон
изменений уровня, мм, равный LF - LE. При этом LF - значение уровня, соответствующее максимальному заполнению резервуара, LE - минимальному
заполнению резервуара.
Определяют
значение абсолютной погрешности уровнемера δy абс по формуле:

, (3)
где
Lу -
значения расстояний, измеренные уровнемером, мм; Ln -
значения расстояний, измеренные рулеткой, мм.
Результаты
поверки считаются положительными, если основная абсолютная погрешность
измерений уровня в каждой точке поверки не превышает ±5 мм.
Заключение
Измерение уровня жидкого металла в промежуточном ковше затруднено высокой
температурой технологического процесса. Из всех перечисленных в данной курсовой
работе методов, с помощью которых возможно измерение уровня жидкого металла,
наиболее предпочтительным является радиоволновый метод измерения уровня.
Уровнемеры радарного типа являются невосприимчивыми к высокому давлению и
высокой температуре технологического процесса, испарениям и неравномерности
поверхности измеряемой среды.
Применение радарного датчика Accu-Wave с высокотемпературной рупорной
антенной 6” обеспечивает измерение уровня жидкого металла с точностью ±5 мм.
Датчик Accu-Wave имеет как аналоговый выходной сигнал 4-20 мА для
подключения к аналоговому прибору, так и цифровой выходной сигнал HART, с помощью которого возможно
подключение датчика к HART-коммуникатору или персональному компьютеру.
Список
использованных источников
1. Дюдкин.
Д.А., Кисиленко В. В., Смирнов А. Н. Производство стали. Том 4. Непрерывная
разливка металла. - М.: «Теплотехник», 2009. - 528 с.
2. Смирнов
А.Н., Пилюшенко В.Л., Минаев А.А.и др. Процессы непрерывной разливки. - Донецк: ДонНТУ, 2002. - 535 с.
. Чистофорова
Н.В., Колмогоров А. Г. Технические измерения и приборы. Часть 1. Измерение
теплоэнергетических параметров: Учебное пособие для студентов дневной и заочной
формы обучения специальности 220301 «Автоматизация технологических процессов и
производств». - Ангарск, АГТА, 2008. - 200 с.
. Хансуваров
К.И., Цейтлин В.Г. Техника измерения давления, расхода, количества и уровня
жидкости, газа и пара.- М.: Издательство стандартов, 1990. 287 с., ил.