Металлургия титана

  • Вид работы:
    Реферат
  • Предмет:
    Другое
  • Язык:
    Русский
    ,
    Формат файла:
    MS Word
    3,38 Мб
  • Опубликовано:
    2014-11-24
Вы можете узнать стоимость помощи в написании студенческой работы.
Помощь в написании работы, которую точно примут!

Металлургия титана











Реферат

Металлургия титана

Содержание

 

1. Руды и минералы

2. Получение титанового шлака

3. Производство и очистка четырёххлористого титана

4. Производство металлического титана

5. Рафинирование титана

Литература

1. Руды и минералы

 

Содержание титана в земной коре составляет 0,61%. Он относится к наиболее распространённым металлам, уступая в этом отношении только алюминию, железу и магнию. Из множества минералов содержащих титан промышленное значение имеют только два минерала: рутил TiO2 и ильменит FeTiO3. Рутил - наиболее устойчивая форма природной модификации титана. Крупные месторождения рутила редки. Они находятся в Канаде, Бразилии и Австралии. Наиболее распространенным природным минералом является ильменит, месторождения которого также в Казахстане: Актюбинская область (Шокашское), Восточно-Казахстанская область (Караоткельское и "Бектемир"). Ильменит встречается в природе в виде россыпей с магнетитом Fe3O4 и гематитом Fe2O3. Он образует руды, называемые титаномагнетитовыми. Содержание титана в этих рудах достигает 20%. Перед переработкой титановые руды подвергаются обогащению гравитационными методами и магнитной сепарацией.

Состав титановых концентратов, полученных из титановых руд, находящихся на территории Казахстана, характеризуются следующим составом (Таблица 1).

Таблица 1 - Состав титановых концентратов

Концентрат

Содержание компонентов, %


TiO2

FeO

Fe2O3

SiO2

Al2O3

Cr2O3

ZrO2

V2O5

Шокашский

54,0

37,2

-

1,4

3,44

2,04

0,2

-

Кароткельский

51,68

-

39,1

-

-

-

0, 19

0,03


2. Получение титанового шлака

 

Современная технология получения металлического титана из ильменитовых концентратов предусматривает их плавку в рудно-термических печах с получением титановых шлаков. Побочным продуктом при выплавке титановых шлаков является титанистый чугун. Выплавку титановых шлаков осуществляют в электродуговых печах. Источником тепла, необходимого для расплавления шихты, является электрическая дуга, возникающая между электродами и металлом. Процессы, происходящие в электропечи при выплавке титановых шлаков, описываются уравнениями химических реакций для концентратов, содержащих FeO (Шокашский):

FeO·TiO2 + C = Fe + TiO2 + CO (1)

(FeO·TiO2) + 3C = 2Fe + Ti2O3 + 3CO (2)

(FeO·TiO2) + 4C = 2Fe + Ti3O5 + 4CO (3)·TiO2 + CO = Fe + TiO2 + CO2 (4)

и для концентратов, содержащих Fe2O3 (Караоткельский):

Fe2O3·3TiO2 + 3C = 2Fe + 3TiO2 + 3CO (5)

(Fe2O3·3TiO2) + 6C = 4Fe + 6TiO2 + 6CO (6)2O3·3TiO2 + 7C = 2Fe + Ti3O2 + 7CO (7)2O3·3TiO2 + 3CO = 2Fe + 3TiO2 +3CO2 (8)

В процессе плавки в титановый шлак переходят оксиды других металлов, содержащихся в концентрате: CaO, MgO, Al2O3, Cr2O3, MnO и частично SiO2.

В результате плавки получают титановые шлаки следующего состава, %: TiO2 - 80,75-86, 20; FeO - 2,6-4,71; SiO2 - 3,15-3,91; MgO - 2,52-2,55; MnO - 1,1-1,14; Al2O3 - 2,85-3,54; Cr2O3 - 0,96-1,05; V2O5 - 0,14-0,16.

Вторым продуктом плавки является титанистый чугун, куда переходит 96% Fe, 11,85 Si, 45,8% V, 0,71 % Ti. Титанистый чугун характеризуется следующим составом, %: C-11,6-2,3; Ti - 0,03-0,05; Si - 0,05-0,15; Mn - 0,08-0,3; S - 0,05-0,3; P - 0,3 - 0,5; Cr - 0,03-1,1; V - 010; Ni - 0,08.

3. Производство и очистка четырёххлористого титана


Технология производства ТiCl4 включает в себя следующие основные технологические операции: подготовка титановых шлаков к хлорированию, хлорирование титановых шлаков, конденсация хлорида титана и очистка четырёххлористого титана.

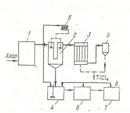
Титановые шлаки, полученные в рудно-термической печи, дробят в щековых, затем в конусных дробилках и измельчают в шаровых мельницах. Измельчённый шлак подвергают магнитной сепарации для отделения железистой магнитной фракции и смешивают с тонко измельченным нефтяным коксом. В настоящее время хлорирование титановых шлаков осуществляют в хлораторах в среде расплавленных хлоридов щелочных и щелочноземельных металлов в интервале температур 750 - 800оС (Рисунок 1).

Хлоратор представляет собой прямоугольный стальной кожух, футерованный шамотным кирпичом. В стенки хлораторы вмонтированы графитовые электроды, внутри которых находятся стальные водоохлаждаемые трубы. В нижней части хлоратора имеются фурмы для подачи хлора. Для слива расплава служат нижние и верхние летки. В своде хлоратора предусмотрены отверстия для отвода парогазовой смеси и загрузки шихты.

руда титан металлургия шлак

-газоход; 2-свод; 3-Графитовый электрод; 4 - стальные трубы для овода тепла проточной водой; 5-кожух хлоратора; 6 - шамотная футеровка; 7-бункер с шихтой; 8-шнековый питатель; 9-перегородка для циркуляции расплава; 10-фувма; 11, 12-доные графитовые электроды; 13-нижний слив расплава.

Рисунок 1 Хлоратор для хлорирования титановых шлаков в расплаве

В качестве расплава служит отработанный электролит магниевых электролизёров, состав которого может колебаться в следующих пределах, %: KCl - 55-80; NaCl - 8-10; MgCl2 - 4-5. Концентрация TiO2 поддерживается на уровне 1,5 - 5%, а углерода 2-5%. По убыванию химического сродства оксидов металлов к хлору их можно располагаются следующим образом:

K2O - Na2O - CaO - MnO - FeO - MgO - TiO2 - Al2O3 - SiO2

Такие оксиды, как K2O, Na2O, CaO, MnO, FeO характеризуются большим сродством к хлору и легко хлорируются без добавления восстановителя. Хлориды MgO, TiO2, Al2O3, SiO2 не подвергаются хлорированию без добавления восстановителя. Поэтому в шихту для хлорирования в качестве восстановителя добавляют нефтяной кокс.

В расплаве хлоратора протекают следующие основные реакции:

TiO2 + C + 2Cl2 = TiCl4 + CO2 (9)3O5 + 2,5C + 6Cl2 = 3TiCl4 + 2,5CO2 (9)

FeO + C + 2Cl2 = 2FeCl2 +CO2 (10)

FeO + 2C + 3Cl2 = 2FeCl3 +2CO (11)2O3 + 1,5C + 3Cl2 = AlCl3 + 1,5CO2 (12)

MgO + C + 2Cl2 = 2MgCl2 +CO2 (13)+ C + Cl2 = MnCl2 +CO (14)

CaO + C + 2Cl2 = 2CaCl2 +CO2 (15)2 + C + 2Cl2 = SiCl4 + CO2 (16)2O5 + 1,5C + 3Cl2 = 2VOCl3 + 1,5CO2 (17)2O3 + 3C + 3Cl2 = 2CrCl3 + 3CO (18)

Выходящая из хлоратора парогазовая смесь состоит из газов (СО, СО2, СОСl2, HCl, Cl2, N2), паров низкокипящих хлоридов (TiCl4, SiCl4, AlCl3, VoCl3, FeCl3, FeCl2) и твёрдой взвеси, которая представляет собой высококипящие хлориды (CaCl2, MgCl2, MnCl2, CrCl3, KCl, NaCl) и частицы шихты.

Парогазовая смесь подвергается очистке от твёрдых частиц и переводу в жидкое состояние в системе конденсации.

Из хлоратора парогазовая смесь поступает в пылевые камеры, где происходит её очистка от твёрдых веществ. В пылевых камерах газовая фаза охлаждается от 500-800 до 120-130оС. Охлаждённая парогазовая смесь затем направляется в рукавные фильтры, где происходит дополнительная очистка от твёрдых взвесей. После рукавных фильтров парогазовая смесь поступает в оросительные конденсаторы, где парогазовая смесь орошается жидким тетрахлоридом титана до - 10оС. Здесь происходит конденсация тетрахлорида титана в жидкую фазу. После конденсации TiCl4 газовая смесь направляется в санитарный скруббер, орошаемый известковым молоком. Здесь происходит её очистка от хлора, фосгена, хлористого водорода. Очищенный газ выбрасывается в атмосферу.

Технический жидкий TiCl4 содержит ряд примесей в растворённом состоянии и в виде тонких твёрдых взвесей.

Очистка технического TiCl4 от твёрдых взвесей осуществляется отстаиванием и фильтрацией.

Очищенная от твёрдых взвесей ТiCl4 направляется на очистку от ванадия, которая осуществляется алюминиевым порошком или медной стружкой. Очистка от ванадия основана на образовании нерастворимых оксихлоридов ванадия VOCl2 и VClO, которые выпадают в осадок:

3TiCl4 + Al = TiCl3 + AlCl3 (19)3 + VOCl3 = TiCl4 + VOCl2 (20)2 + AlCl3 = AlOCl + TiCl4 (21)

Полученный после фильтрации осадка ванадиевый кек содержащий VOCl2, AlOCl и TiCl3, направляют на извлечение ванадия.

Очищенный от ванадия TiCl4 подвергается двухстадийной очистке в тарельчатых ректификационных колоннах непрерывного действия (Рисунок 2).

-напорный бак; 2-подогреватель; 3-исчерпывающая часть колонны; 4 - укрепляющая часть колонны; 5-дефлегматор; 6 - кипятильник; 7-холодильник; 8 - сборник кубового остатка; 9-сборник дистиллята.

Рисунок 2 Схема непрерывной ректификационной очистки TiCl4

На первой стадии ректификации происходит очистка от SiCl4 и других хорошо летучих примесей (СO2, Cl2, N2, COCl2 и др.). Очистка от низко кипящих примесей осуществляется в нижней части колонны, которая называется исчерпывающей. Кубовый остаток от первой ректификации с примесями высоко кипящих хлоридов и оксихлоридов, направляется на вторую стадию очистки - дистилляцию. Дистилляция осуществляется в верхней части колоны, которая называется укрепляющей. Полученный в укрепляющей части колонны дистиллят представляет собой очищенный TiCl4, а в дефлегматоре конденсируются труднокипящие соединения (FeCl3, TiOCl2, TiCl3 и др.). Основная часть полученной флегмы, возвращается обратно в колонну. Очищенный четырёххлористый титан после охлаждения скапливается сборнике дистиллята и оттуда направляется на получение металлического титана.

4. Производство металлического титана


Способы получение металлического титана можно подразделить на три группы:

магние - или натриетермическое восстановление TiCl4;

восстановление TiO2 кальцием или гидридом кальция;

электролитическое получение титана из хлоридных расплавов.

Наибольшее распространение получил магниетермический метод получения металлического титана.

Восстановление четырёххлористого титана магнием осуществляется в стальных герметичных ретортах (Рисунок 3) в атмосфере инертного газа (аргона).

-коллекторы для подачи воздух; 2 - косынки для подвески печи; 3-водоохлаждаемые фланцы крышки и реторты; 4 - футеровка печи; 5-штуцер для вакуумирования и подачи аргона; 6-узел заливки жидкого магния; 7-узел подачи TiCl4; 8 - крышка реторты; 9-реторта; 10-термопары для замера температур крышки и стенок реторты; 11-нагреватели; 12 - узел крепления запора сливного устройства; 13 - песочный затвор; 14 - шток запорной иглы сливного устройства; 15 - ложное днище.

Рисунок 3. Аппарат для восстановления TiCl4 магниетермическим методом

Реторту устанавливают в нагревательную печь окачивают из неё воздух, заполняют аргоном, нагревают до температуре около 700оС, заливают жидкий магний и с определённой скоростью подают жидкий TiCl4, пары которого вступают в химическое взаимодействие с магнием:

TiCl4 (газ) + Mg (жид.) = Ti (тв + MgCl2 (жид.) (22)

TiCl4 (газ) + Mg (газ) = Ti (тв + MgCl2 (жид.) (23)

Реакции (22) и (23) протекают с выделением тепла. Поэтому после начала подачи жидкого TiCl4 в реторту нагрев отключают. В реторте поддерживают температуру 800-900оС. Регулирование температуры осуществляется скоростью подачи TiCl4. Иногда для охлаждения реторты используют обдувание её воздухом.

Образующийся металлический титан в виде пористой губки осаждается на стенках реторты. По мере накопления в реторте жидкого хлорида магния, его периодически выпускают через патрубок в днище реторты. После затухания процесса восстановления вновь включают обогрев и нагревают реторту до 900оС и выдерживают при этой температуре около часа для завершения процесса восстановления. После завершения процесса реторту извлекают из печи и отправляют на вакуумную сепарацию. Содержимое реторты после процесса восстановления представляет собой титановую губку, в порах которой находится хлорид магния и избыточный магний. Реакционная масса содержит 55-65% Ti, 25-35% Mg и 9-12% MgCl2.

Вакуумная сепарация основана на различной упругости паров титана, магния и хлористого магния. Температура кипения титана составляет 3260оС, магния 1107оС и хлористого магия 1417оС. Тогда при нагреве содержимого в реторте до 1417оС при атмосферном давлении от титана будут отгоняться магний и хлорид магния. Однако при этой температуре титановая губка интенсивно взаимодействует с материалом стенки реторты и сильно загрязняется. Кроме того при обычных условиях трудно добиться п полного отделения магния и хлорида магния от титана. Поэтому для более полного отделения Mg и MgCl2 и снижения температуры процесса сепарации процесс возгонки осуществляют под глубоким вакуумом.

После окончания процесса восстановления в центральной горловине реторты устанавливают магниевую заглушку, а в донной части отверстие закрывают специальным устройством (иглой-клапаном). В горячем состоянии аппарат восстановления переносят на участок сборки аппарата сепарации. Здесь на сливное отверстие реторты приваривают клапан-заглушку, а сверху монтируют оборотную реторту-конденсатор. Реторту снова устанавливают в печь, таким образом, чтобы вакуум можно было создать как внутри реторты, так и вне неё. Это необходимо для предупреждения деформации стальных стенок реторты под давлением атмосферы в нагретом состоянии. Принципиальная схема процесса вакуумной сепарации приведена на рисунке 4.

-вакуумный колпак; 2-спиралли электропечи; 3-ложное днище; 4 - реакционная маса; 5-электропечь, 6-реторта - реактор; 7-крышка реактора; 8 - экран; 9-магниевая заглушка; 10-реторта - конденсатор; 11-холодилбник; 12-компенсатор; 13-вакуум-провод; 14-вакуумная ловушка; 15 - бустерный промасляный вакуумный насос; 16-золотниковые вакуумные насосы

Рисунок 4. Принципиальное устройство аппарата вакуумной сепарации

Дистилляцию магния и хлорида магния проводят при температуре 970-1010о и остаточном давлении порядка 113,3·10-4 Па (10-4 мм. рт. ст.) в течение 65-75 часов. После окончания процесса сепарации реторту в течение 1,5-2 часов охлаждают в печи, а затем в течение 40-43 часов в водяном холодильнике. Установку разбирают, реторту конденсат отправляют на участок сборки, а реторту с титановой губкой на передел извлечения и переработки титановой губки. Титановая губка после процесса вакуумной сепарации характеризуется следующим составом,, %: H2 - 0,002; O2 - 0,05; N2 - 0,02; Cl - 0,07; Mg - 0.08; C - 0,18, Fe - 0,06; Si - 0,01.

Полученная титановая губка рассортировывается по качеству, затем подвергается дроблению и рассеянию по фракциям в пределах 2-70 мм. Самая мелкая фракция (менее 2-3 мм), как менее качественная идёт на дополнительную переработку.

Для получения слитков титана губку плавят в вакуумной дуговой электропечи. Переплавленный титан содержит порядка 99,6-99,7% Ti.

5. Рафинирование титана


Поскольку в некоторых областях применения требуется более чистый титан, чем получаемый после переплавки в электропечах, то он подвергается рафинированию. Рафинирование титана может осуществляться различными способами.

Одним из способов очистки титана является йодидный, в основе которого лежит обратимая реакция:

Ti + 2J2 = TiJ4 (24)

В интервале температур 100-200оС происходит образование TiJ4, а при температурах 1300-1500оС происходит распад тетрайодида титана на металлический титан и элементарный йод.

Титановую губку или стружку загружают в кольцевое пространство между стенкой реторты и молибденовой сеткой. В пространстве реторты на молибденовых держателях закрепляют зигзагообразную проволоку из чистого титана. Толщина проволоки порядка 3-4 мм, длина 10 м. После герметизации из реторты откачивают воздух до 1,33·10-2-1,33·10-3 Па (10-4 - 10-5 мм. рт. ст.). Реторту помещают в термостат с температурой 100-200оС. Внутри реторты особым способом разбивают ампулу с йодом. По проволоке пропускают электрический ток, в результате чего она разогревается до 1300-1500оС. Пары йода в области низких температур реагируют с титаном с образованием паров TiJ4. Попадая на раскалённую проволоку, пары TiJ4 разлагаются на кристаллический титан и пары йода. Освободившийся йод диффундирует к титановой губке и снова вступает в реакцию с титаном.

Йодидный способ позволяет очистить черновой титан от кислорода, азота, углерода, а также ряда металлических примесей (Fe, Mg, Cu, Sn), которые не реагируют с йодом.

Электролитическое рафинирование используют для очистки некондиционной губки, отходов плавки титана.

В качестве электролита используют расплав хлоридов щелочных металлов (NaCl,KCl), в которых растворяются низшие хлориды титана TiCl2 и TiCl3. Такой электролит получают восстановлением TiCl4 натрием или титановым скрапом в расплаве хлоридов натрия и калия. В качестве анода используется черновой титан. На аноде протекают реакции:

Ti - 2e = Ti2+ и Ti - 3e = Ti+3 (25)

а на титановом катоде

Ti2+ +2e = Ti и Ti3+ + 3e = Ti (26)

При анодном растворении примесь кислорода, которая содержится в титане в виде оксидов TiO2 и Ti2O3, остается в анодном шламе. Углерод в свободном состоянии скапливается на поверхности электролита или в виде карбидов также скапливается в анодном шламе. Азот концентрируется в анодном остатке в виде нитридов или выделяется с анодными газами. Кремний удаляется с газами в виде летучего соединения SiCl4.

Электролиз ведут при температуре 800-850оС. Выход по току для титана в расчёте на разряд ионов Ti2+ составляет 90%. Расход электроэнергии на электролиз составляет 4-5 (кВт·ч) / (кг Ti).

Электролитическое рафинирование наиболее эффективен для очистки чернового титана, полученного из титановых шлаков алюминотермическим методом.

Термический способ очистки титана от примесей состоит из двух стадий.

На первой стадии из рафинируемых отходов титана или его сплавов получают очищенный титансодержащий солевой расплав. Солевой расплав, содержащий низшие хлориды титана, получают обработкой измельчённого до 5 мм титановых отходов TiCl4 в присутствии NaCl или смеси NaCl и КСl. При этом около 15% титана оставляют в нерастворённом состоянии, что устраняет переход в расплав примесей Fe, Ni, Cr, Si, O2 и N2. На этой стадии в расплаве протекает следующая основная реакция:

Ti + TiCl4 + NaCl mTiCl3·nTiCl4·pNaCl (27)

Вторую стадию проводят в аппаратах восстановления по технологии получения губчатого титана из ТiCl4 магниетермическим методом.

Литература


1. Фистуль В.И. Новые материалы (состояние, проблемы и перспективы): Учебное пособие для ВУЗов. - М: МИСИС, 2005. - 142с.

.В. В. Астанин. Микроструктурный дизайн перспективных материалов и композитов на их основе. Учебное пособие. - Уфа: УГАТУ, 2010. - 60с.

.В. В. Будилов. Проектирование технологического процесса вакуумно-плазменной обработки деталей двигателей летательных аппаратов. Учебное пособие - Уфа, УАИ, 2008, 85с.

. Митин Б.С., Васильев В.А., Порошковая металлургия аморфных и микрокристаллических материалов, М.: Металлургия, 1992, 128с.

.Р.З. Валиев, И.В. Александров. Наноструктурные материалы, полученные интенсивной пластической деформацией. - М.: Логос, 2010. - 272с.

. Солнцев Ю.П., Пряхин Е.И., Войткун Ф., Материаловедение, М.: МИСИС, 2009, 600с

.К.Г. Шмитт-Томас, Металловедение для машиностроения М.: Металлургия, 1995-512с.

.С.И. Венецкий. Загадки и тайны мира металлов. - М.: МИСИС, 2009. - 376с

.В.А. Роменец. "Ромелт" - полностью жидкофазный процесс получения металла. Металлы, 2009, №12, с.3

. M. Richert. The effect of unlimited cumulatiion of large plastic strains on the structure-softening processes of 99.999 Al. Mater. Sci. Eng. A129 (1990) 1-10


Не нашли материал для своей работы?
Поможем написать уникальную работу
Без плагиата!
Без нейросетей!