|
Наименование
|
Обоз-
наче- ние
|
Расчетная
формула
|
Результаты
расчетов
|
|
Шаг
цепи
|
t
|
ГОСТ
13568-75
|
15,875
мм
|
|
Диаметр
ролика
|
D
|
ГОСТ
13568-75
|
10,16
мм
|
|
Число
зубьев звездочки
|
z
|
|
23
|
|
Диаметр
делительной окружности
|
dф
|
116,59
мм
|
|
|
Угол
поворота звеньев цепи на звездочке
|
φ
|
15,650
|
|
|
Диаметр
окружности выступов
|
Dc
|
123,44
мм
|
|
|
Радиус
впадин зуба
|
r
|
5,155
мм
|
|
|
Диаметр
окружности впадин
|
Di
|
106,28
мм
|
|
|
Радиус
сопряжения
|
r1
|
13,28
мм
|
|
|
Половина
угла впадин
|
α
|
52023’
|
|
|
Угол
сопряжения
|
 15034’
|
|
|
|
Продольный
угол зубьев
|
γ
|
14013’
|
|
|
Длина
прямого участка цепи
|
fg
|
0,91
мм
|
|
|
Расстояние
от центра дуги впадины до центра дуги головки
|
ОС
|
12,598
|
|
|
Радиус
головки зуба
|
r2
|
6,81
мм
|
|
Координаты точки C
Координаты точки O
Угол наклона радиуса вогнутости
Ширина внутренней пластины b=14,73 мм по
ГОСТ 13568-75.
Расстояние между внутренними
пластинами
по ГОСТ
13568-75.
Радиус закругления зуба
Расстояние от вершины зуба до линии
центров дуг закруглений
Диаметр обода (наибольший)
Радиус закругления у основания зуба
при
Ширина зуба однорядной звездочки
3.2 Расчёт
конической прямозубой передачи
Выбор материала
колёс и способ их термообработки:
В качестве материала
для изготовления шестерни принимаем Ст45 с термообработкой - улучшение, для
изготовления колеса - Ст40Х. Твёрдость по Бринелю для колеса: HHB 2=280
HB, для шестерни: HHB 1=310
HB .
Определяем
допускаемые контактные напряжения:
- предел контактной выносливости
материала, соответствующей базе испытаний и зависящий от средней твёрдости
поверхности слоёв зубьев:
МПа
Для шестерни-
Для колеса-
SH -коэффициент
запаса прочности для зубчатых колёс с однородной структурой материала:
SH=1,1, если H ≤
350 HB [3, cтр.
278, табл. 10.16];;
ZH -
коэффициент долговечности:
- базовое число циклов перемены
напряжений, соответствующие пределу выносливости:
- число циклов перемены напряжений,
соответствующее заданному сроку службы передачи, при постоянной нагрузке:
=1 - число колёс, находящихся в
зацеплении с рассчитываемым;
Lh - срок
службы привода;
Lh=15000
часов;
n - частота вращения рассчитываемого зубчатого
колеса;
m - показатель степени, который принимает значения:
m=20, если NHlim <NK;
m=6, если NHlim≥NK;
Из расчётов видно, что
,
, поэтому m=20.
Для рассматриваемой
конической передачи в качестве расчётного принимаем меньшее значение:
Определяем
допускаемые напряжения изгиба при расчёте на выносливость:
предел
выносливости зубьев при изгибе, соответствующий базовому числу циклов перемены
напряжений.
F - коэффициент
безопасности; SF =1,4 -
1,7 [3, cтр. 278, табл.
10.16];
YA -
коэффициент, учитывающий влияние двухстороннего приложения нагрузки.
YA=1 - при
одностороннем приложении нагрузки;
YA=0,7 -
0,8 при двухстороннем [3, cтр. 280];
YR -
коэффициент, учитывающий шероховатость переходной поверхности зуба [3, cтр. 281];
YR =1,2 - при полировании переходной поверхности;
YR=1,0 - в
остальных случаях.
YN -
коэффициент долговечности (не меньше 1);
Flim - базовое число циклов перемены напряжений.
- для
любых сталей [3, cтр. 281];
NK - общее
число циклов перемены напряжений при нагрузках с постоянными амплитудами:
Ранее
было получено, что NK1=8,28·108
циклов, NK2=2,3324·108 циклов.
qF -
показатель степени: qF=6 (HHB≤350 HB) [3, cтр. 282, табл. 10.17];
Принимаем
YN1=YN2=1, так как NHlim1(2) <NK1(2)
Определяем
геометрические параметры передачи и колёс:
При HHB≤350
H имеем формулу:
e2 - внешний
делительный диаметр колеса;
Kd -
вспомогательный коэффициент, учитывающий тип передачи:
Kd =99 -
для прямозубых передач;
KHβ -
коэффициент, учитывающий равномерность распределения нагрузки по ширине
зубчатого венца, принимают по графику в зависимости от соотношения [1, стр.74]:
ψbe - коэффициент
ширины зубчатого венца:
Принимаем Kbe = 0,2,
тогда
По графику выбираем: HHβ=1,125
Принимаем de2=160 мм. По ГОСТ 12289-76 выбираем в зависимости от
принятой величины внешнего делительного диаметра bw=24 мм.
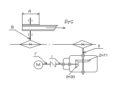
Определяем число зубьев шестерни и колеса:
Число зубьев
конической шестерни выбираем из промежутка Z=18
- 32; Z1=20; Z2=u·Z1=3,55·20=71; принимаем z2=71.
Определяем
фактическое передаточное число передачи:
Определяем
внешний окружной модуль:
Определяем
внешний делительный диаметр шестерни:
Определяем
углы делительных конусов:
Определяем внешнее
конусное расстояние:
Определяем
среднее конусное расстояние:
Определяем
средний окружной модуль:
Определяем
средний делительный диаметр:
Определяем
коэффициент смещения инструмента:
βm =0, т.к. передача прямозубая;
x2= -x1= -0,412;
Определяем
коэффициент расчётной толщины зуба исходного контура:
Определяем внешнюю
высоту головки зуба:
Определяем
внешнюю высоту ножки зуба:
Определяем
внешнюю высоту зуба:
Определяем внешнюю
окружную толщину зуба:
Определяем
угол ножки зуба:
Определяем
угол головки зуба:
Определяем
угол конуса вершин:
Определяем
угол конуса впадин:
Определяем
внешний диаметр вершин зубьев:
Проверим
коэффициенты ширины венца:
Определяем
среднюю окружную скорость зубчатых колёс:
Для
передачи выбираем восьмую степень точности.
Определяем
значения усилий в коническом зацеплении:
-
Окружная сила на шестерне и колесе:
-
Радиальная сила на шестерне равна осевой силе на колесе:
--
Осевая сила на шестерне равна радиальной силе на колесе:
wm2 - средний
начальный диаметр;
α - угол
профиля исходного контура;
δ - угол
делительного конуса.
Схема действия сил:
Проверочный расчёт
передачи на контактную усталость активных поверхностей зубьев:
Проверочный расчёт
передачи на контактную усталость активных поверхностей зубьев выполняем по
условию контактной прочности:
E - коэффициент,
учитывающий механические свойства материала сопряжённых зубчатых колёс.
ZE =192
МПа1/2- для стальных зубчатых колёс [3].
ZH -
коэффициент, учитывающий форму сопряжённых поверхностей зубьев в полюсе
зацепления.
αw = 200
-угол зацепления;
Zε -
коэффициент, учитывающий суммарную длину контактных линий.
Zε =1 -
для прямозубых колёс [3].
KHβ =1,125
(см. ранее)
KHv - коэффициент,
учитывающий внутреннюю динамическую нагрузку, возникающую в зацеплении:
A - коэффициент, учитывающий внешнюю динамическую нагрузку.
KA =1[9,стр.
329];
ωH v - удельная окружная динамическая сила, Н/мм; [9,стр. 328]
δH -
коэффициент, учитывающий влияние вида зубчатой передачи и модификации профиля
головок зубьев:
δH =0,06
[9,стр. 329,табл.18.2].
go -
коэффициент, учитывающий влияние разности шагов зацепления зубьев шестерни и
колеса;go =6,1 - по восьмой
степени точности [9,стр. 329,табл.18.3]
Как
определили ранее, средняя окружная скорость v=1,855 м/с, u=3,55, d1=38,503 мм.
Процент
недогрузки < 10%.
Проверка
передачи на выносливость при изгибе:
Проверочный
расчёт на усталость по напряжениям изгиба выполняем по условию прочности:
Расчётное
местное напряжение при изгибе определяем по формуле:
F -коэффициент нагрузки[3,стр. 266]:
A -коэффициент,
учитывающий внешнюю динамическую нагрузку
KA =1;
KKv - коэффициент,
учитывающий внешнюю динамическую нагрузку, возникающую в зацеплении [3,стр.
266]:
ωFv - удельная окружная
динамическая сила, Н/мм :
δF -
коэффициент, учитывающий влияние вида зубчатой передачи и модификации профиля
головок зубьев [9,стр. 329]:
δH =0,016;
go -
коэффициент, учитывающий влияние разности шагов зацепления зубьев шестерни и
колеса [9,стр.329]:
go =6,1 - по восьмой
степени точности [9,стр. 329,табл.18.3].
Fβ - коэффициент, учитывающий равномерность распределения
нагрузки по длине контактных линий [1, стр. 73]:
be = 0,2 -
0,3;
По
графику выбираем: KFβ=1,4
[1, стр. 73,рис.6.3].
KFα -
коэффициент, учитывающий распределение нагрузки между зубьями.
KFα =1 -
для прямозубых передач.
FS - коэффициент, учитывающий форму зуба и концентрацию
напряжений.
Расчёт
выполняется для менее прочного зубчатого колеса, т.е. для того из колёс, у
которого отношение
меньшее:
Для
шестерни:
Для
колеса:
Т.к. это
отношение для шестерни меньше, чем для колеса, то расчёт ведём дальше по
шестерне.
Yβ -
коэффициент, учитывающий наклон зуба.
Yβ =1 - для
прямозубых.
Yε -
коэффициент, учитывающий перекрытие зубьев.
Yε =1 - для
прямозубых колёс.
Условие прочности
выполняется, т.к. σF ≤ σFP , 70,732 ≤ 319,12.
4. Предварительный
расчёт валов
Из условия
прочности на кручение определяется диаметр выходных концов валов dвых:
где [τ]к
- допускаемое напряжение кручения для материала вала;
- крутящий момент в поперечном
сечении вала.
Ведущий вал
Принимаем [τ]1
= 25 Н/мм 2
(т.к.
на выходной конец вала насажена муфта)[2,
стр. 31] , получаем:
Полученное значение округляем
до стандартного ряда:
=18 мм.
Из конструктивных соображений с
учётом размеров стандартных изделий, насаживаемых на вал, принимаем:
· диаметр вала под
уплотнительную манжету dм=22
мм;
· диаметр резьбового
участка вала dр=М27´1,5
мм;
· диаметр вала под
подшипниками dn=30
мм;
· диаметр вала под
конической шестерней dш=38
мм.
Ведомый вал
Принимаем [τ]2
= 20
Н/мм 2 [2,
стр. 31] , получаем:
Полученное значение округляем
до стандартного ряда:
=20 мм.
Из конструктивных соображений с
учётом размеров стандартных изделий, насаживаемых на вал, принимаем:
· диаметр вала под
уплотнительную манжету dм=25
мм;
· диаметр вала под
подшипниками dn=30
мм;
· диаметр вала под
коническим колесом dк=35
мм;
· диаметр буртика для
упора колеса dб=
42 мм.
5. Подбор
муфты
Размеры муфты выбираются по государственным или
отраслевым стандартам в зависимости от расчётного вращающего момента Tp
и
диаметра вала под муфты dвых
:
где kреж
- коэффициент режима работы (для спокойной работы неравномерно нагруженных
машин k
=1,1…1,4
[2,
cтр. 267];
Принимаем kреж
=1,25
- наибольший длительно действующий
рабочий крутящий момент, передаваемый муфтой,
=9,384 Н∙м;
- наибольший крутящий момент,
который способна передавать муфта,
=16 Н∙м;
Затем по
и диаметру
вала выбираем муфту.
Основные параметры заносим в
таблицу 7.
Таблица 7. Параметры и основные
размеры, мм, зубчатых муфт.
|
Т, Н∙м
|
d
|
D
|
L Исп.1
|
L Исп.1
|
b
|
h
|
Ѡ,
с-1
|
Несоосность валов не более
|
|
16
|
18
|
53
|
81
|
40
|
10,5
|
15
|
400
|
Рад. 0,2
|
Углов. 1°30’
|
6. Подбор
подшипников качения по долговечности
Силы, действующие на шестерню:
dm1=38,503 мм;
- окружная -
- осевая -
- радиальная -
- сила,
действующая на вал от муфты -
Силы, действующие на колесо:
dm2=136,675
мм;
- окружная -
радиальная -
осевая -
сила от предварительного натяжения
звездочки цепной передачи:
- диаметр делительной окружности
звездочки:
Расчёт быстроходного вала:
Опорные реакции в горизонтальной плоскости
Проверка:
Опорные реакции в вертикальной
плоскости
Проверка:
Крутящий момент: T=9,145Н·м;
Моменты, действующие в горизонтальной плоскости:
Моменты, действующие в вертикальной
плоскости:
Суммарные изгибающие
моменты:
Эквивалентные моменты:
Проверочный расчет вала
будем проводить для сечения в опоре B,
т.к. там максимальный эквивалентный момент
где
- допускаемый
предел выносливости,
=60 Мпа -
для стали 45
В опасном сечении d=30 мм , что больше рассчитанного (d
> dв), а значит допустимо.
Эпюры
изгибающих и крутящих моментов на быстроходном валу
Расчёт
подшипников на быстроходном валу:
Быстроходный вал установлен в
конических радиально-упорных подшипниках. Посадочные диаметры под подшипники
принимаем dбп=30 мм. В
качестве подшипников намечаем радиальные с коническим роликом легкой серии
диаметра 30: по ГОСТ 333-79 подшипник 7206:
Таблица
|
Обозначение
|
Размеры,
мм
|
Грузоподъемность,
кН
|
Факторы
нагрузки
|
|
d
|
D
|
B
|
Cr
|
e
|
Y
|
|
7206
|
30
|
62
|
16
|
31
|
0,36
|
1,64
|
Исходные данные для расчета:
Частота вращения вала - n
=920
мин-1.
Требуемая долговечность подшипника -
Lh
= 15000
ч.
Подшипник 7206А.
Базовая динамическая
грузоподъемность Cr
= 31000
Н.
Факторы нагружения e
= 0,36;
Y = 1,64.
Коэффициент вращения V
= 1 (вращается внутреннее кольцо).
Осевая сила Fa1
= 45,087
Н.
Радиальные реакции:
Определяем осевые
составляющие:
RS =
0,83∙e∙
Rr,
RS1 =
0,83∙e∙
Rr1 =
0,83∙0,36∙457,304=136,642 H;
RS2 =
0,83∙e∙
Rr2 =
0,83∙0,36∙792,426= 236,777 H;
Схема нагружения подшипников быстроходного
вала:
Т.к. RS1
< RS2
и Fa1
<RS2
-
RS1,
то
осевые силы составят
Ra1 =Rs2 - Fa1=
236,777-45,087 =191,69 H;
Ra2 = Rs2
=236,777 H.
Определяем отношения
тогда для опоры A
получим Х =0,4 и
Y = 1,64;
тогда для опоры B
получим Х =1 и
Y =0.
Определяем эквивалентные
динамические силы
PЭ = (V∙X∙Rr +Y∙FA)∙KБ∙КТ,
где КБ -
коэффициент безопасности, принимаем КБ = 1,2[2, cтр.104,
табл. 6.3];
КТ - температурный
коэффициент, принимаем КТ = 1,0 [2, cтр.105,
табл. 6.4];
PЭ1 = (V∙X∙
Rr1 +Y∙
Ra1)∙KБ∙КТ
= (1∙0,4∙457,304+ 1,64·191,69)∙1,2∙1
= 596,752 Н;
PЭ2 = (V∙X∙
Rr2 +Y∙
Ra2)∙KБ∙КТ
= (1∙1∙792,425 + 0)∙1,2∙1
= 950,9112 Н;
Дальнейший расчет проводим для опоры
B, как наиболее
нагруженной.
Определяем требуемую долговечность
по формуле:
где p -
показатель степени; для роликовых подшипников p =
10/3;
a23 -
коэффициент, характеризующий совместное влияние на ресурс подшипника качества
металла колец, тел качения и условий эксплуатации; для роликоподшипников
конических p=0,6…0,7[2, cтр.105].
Т.к. Lh
< Lрасч,
то предварительно выбранный подшипник подходит.
Расчёт тихоходного вала:
Опорные реакции в горизонтальной плоскости
Проверка:
Опорные реакции в вертикальной
плоскости
Проверка:
Моменты, действующие в
горизонтальной плоскости:
Моменты, действующие в вертикальной
плоскости:
Крутящий момент: T=31,323 Н·м;
Суммарные изгибающие моменты:
Эквивалентные моменты:
Проверочный расчет вала
будем проводить для сечения в опоре B,
т.к. там действует максимальный эквивалентный момент
где
- допускаемый
предел выносливости,
=60 МПа - для Cт 45.
В опасном сечении d=30 мм, что больше рассчитанного (d > dв).
Эпюры изгибающих и
крутящих моментов на тихоходном валу
Расчёт подшипников
на тихоходном валу:
Исходные данные для расчета:
Частота вращения вала - n
= 259,155
мин-1.
Требуемая долговечность подшипника -
Lh
= 15000
ч.
Подшипник 7206А.
Базовая динамическая
грузоподъемность Cr
= 31000
Н.
Факторы нагружения e
= 0,36;
Y = 1,64,
X=0,4.
Коэффициент вращения V
= 1 (вращается внутреннее кольцо).
Осевая сила Fa2
= 160,058
Н.
Радиальные реакции:
Определяем осевые
составляющие:
RS
= 0,83∙e∙
Rr,
RS1
= 0,83∙e∙
Rr1
= 0,83∙0,36∙291,851=87,205
H;
RS2
= 0,83∙e∙
Rr2
= 0,83∙0,36∙1336,832=399,445
H;
Схема нагружения подшипников тихоходного
вала
("враспор"):
Т.к. RS1
< RS2
и FA
<RS2
-
RS1,
то осевые силы составят
a1
= Rs2 - Fa2= 399,445-160,058=239,387
H;a2 =Rs2=399,445H.
Определяем отношения
,
тогда для опоры A
получим Х =0,4 и Y = 1,64;
,
тогда для опоры B
получим Х =1 и Y =0.
Определяем эквивалентные
динамические силы
Э
= (V∙X∙Rr
+Y∙Ra)∙KБ∙КТ,
где КБ - коэффициент безопасности,
принимаем КБ = 1,2[2,
cтр.104, табл. 6.3];
КТ - температурный
коэффициент, принимаем КТ = 1,0 [2,
cтр.105, табл. 6.4];
PE1
= (V∙X∙
Rr1
+Y∙ Ra1)∙KБ∙КТ
= (1∙0,4∙291,851+1,64∙239,387)∙1,2∙1 = 611,202 Н;
PE2
= (V∙X∙
Rr2
+Y∙ Ra2)∙KБ∙КТ
= (1∙1∙1336,832 +0)∙1,2∙1 = 1604,198 Н;
Дальнейший расчет проводим для опоры
B, как наиболее
нагруженной.
где p
- показатель степени; для роликовых подшипников p
= 10/3;
a23
- коэффициент, характеризующий совместное влияние на ресурс подшипника качества
металла колец, тел качения и условий эксплуатации; для роликоподшипников
конических p=0,6…0,7[2,
cтр.105].
Т.к. Lh
< Lрасч,
то предварительно выбранный подшипник подходит.
7. Подбор и проверочный расчёт шпоночных
соединений
Для всех шпоночных соединений
принимаем призматические шпонки со скругленными концами. Материал шпонок -
Сталь 40
Х.
Расчет на смятие боковых граней
шпонки выступающих из вала, проводим по формуле:
где: Т - крутящий момент на валу;
d
- диаметр вала;
l
- полная длина шпонки [2,
стр.369, табл. 19.11];
h
- высота шпонки [2,
стр.369, табл. 19.11];
t1
- глубина паза вала [2,
стр.369, табл. 19.11];
lр -
рабочая длина шпонки:
=110…190 МПа - допускаемое
напряжение при смятии;
Соединение звездочки с валом тихоходным:= 20 мм
шпонка 6×6×20, t1 = 3,5
мм;
Соединение колеса с валом:
d = 35
мм шпонка 10×8×25,
t1
= 5
мм;
Соединение вал-муфта:
d = 18
мм шпонка 6×6×20,
t1
=3,
5 мм;
Из расчетов следует, что во
всех случаях прочность шпоночных соединений обеспечена.
8. Расчёт валов на выносливость
Расчёт быстроходного вала.
Наиболее нагруженным сечением
быстроходного вала - как видно
по эпюре суммарной изгибной нагрузки - является место под подшипником (точка B)
Следует проверить это сечение на
прочность.
Расчет вала на усталостную прочность
заключается в определении коэффициентов запаса прочности s
для опасных сечений и сравнении их с допускаемыми значениями [s].
Прочность обеспечена при s
≥
[s] = 1,5…2,5
[3, cтр.
386].
Исходные данные:
· материал вала сталь
40
Х улучшенная;
· предел прочности σв
= 900
МПа;
· предел выносливости
стали при симметричном цикле перемены напряжений изгиба σ-1
= 380
МПа [3, cтр.
380,табл.
15.1];
· предел выносливости
стали при симметричном цикле перемены напряжений кручения τ-1
= 230
МПа
[3,
cтр. 380,табл.
15.1];
· диаметр вала d=30
мм ;
· вращающий момент на валу T=9,145
Н·м;
· максимальный суммарный изгибающий
момент сечения вала M=15,7995
Н·м;
Коэффициент запаса прочности s
определяем по формуле:
Определим коэффициенты запаса
прочности по нормальным
и по
касательным напряжениям
:
Определим коэффициенты
снижения предела выносливости вала в рассматриваемом сечении [2,
стр.215,табл. 12.18 ]:
- эффективные коэффициенты
концентрации напряжений;
- коэффициент влияния абсолютных
размеров рассматриваемого поперечного сечения;
Определим момент
сопротивления проверяемого сечения при изгибе (W) и
кручении (
):
диаметр вала.
Определим амплитуды
переменных составляющих циклов нагружений (
) и постоянные составляющие (
) [2, cтр.210-215]:
Общий коэффициент запаса
прочности:
Условие выполняется,
прочность и жесткость обеспечены.
Расчёт тихоходного
вала.
Наиболее нагруженным сечением тихоходного
вала - как видно по эпюре суммарной изгибной нагрузки - является место под
подшипником (точка B)
Следует проверить это сечение на
прочность.
Расчет вала на усталостную прочность
заключается в определении коэффициентов запаса прочности s
для опасных сечений и сравнении их с допускаемыми значениями [s].
Прочность обеспечена при s
≥
[s] = 1,5…2,5
[3, cтр.
386].
Исходные данные:
· материал вала сталь
45
улучшенная;
· предел прочности σв
= 900
МПа;
· предел выносливости
стали при симметричном цикле перемены напряжений изгиба σ-1
= 380
МПа;
· предел выносливости
стали при симметричном цикле перемены напряжений кручения τ-1
= 230
МПа;
· диаметр вала d=30
мм;
· вращающий момент на валу T=31,323Н·м;
· максимальный суммарный изгибающий
момент сечения вала M=49,803Н·м;
Коэффициент запаса прочности s
определяем по формуле:
Определим коэффициенты запаса
прочности по нормальным
и по
касательным напряжениям
:
ψτ-коэффициент
ассиметрии цикла; ψτ ≈0
[2, стр.210].
Определим коэффициенты снижения
предела выносливости вала в рассматриваемом сечении
[2, стр.215,табл. 12.18 ]:
- эффективные коэффициенты
концентрации напряжений;
- коэффициент влияния абсолютных
размеров рассматриваемого поперечного сечения;
Определим момент
сопротивления проверяемого сечения при изгибе (W) и
кручении (
):
диаметр вала.
Определим амплитуды
переменных составляющих циклов нагружений (
) и постоянные составляющие (
) [2, cтр.210-215]:
Общий коэффициент запаса прочности:
Условие выполняется,
прочность и жесткость обеспечены.
9. Расчёт элементов корпуса
редуктора
Корпус редуктора выполняем из
стали
марки
Ст 45
ГОСТ 1050-88. В
проектируемом редукторе принимается разъемный корпус, состоящий из основания и
крышки. Плоскость разъема для удобства обработки располагаем параллельно
плоскости основания. Для соединения корпуса и крышки редуктора по всему контуру
плоскости разъема выполняем фланцы. Форма корпуса в основном определяется
технологическими, эксплуатационным и эстетическими условиями с учетом его
прочности и жесткости.
Определение размеров
конструктивных элементов корпуса редуктора:
· Определяем
толщину стенки редуктора (δ ≥ 8 мм):
δ
=
0,05∙Re
+ 1 = 0,05∙83,113
+ 1 = 5,156
мм,
принимаем δ
= 6
мм.
δ1
=
0,04∙Re
+ 1
= 0,04∙83,113
+ 1
= 4,325 мм,
принимаем δ1
= 6
мм.
· Толщина верхнего
пояса фланца корпуса:
= 1,5·
δ
= 1,5·6 = 9 мм,
принимаем b
= 9
мм.
· Толщина нижнего
пояса фланца крышки корпуса:
1=
1,5· δ1
= 1,5·6 = 9 мм,
· Толщина нижнего
пояса корпуса без бобышки:
= 2,35·
δ
= 2,35·6 = 14,1 мм,
принимаем p=15
мм,
· Толщина рёбер
основания корпуса:
= (0,85…1)·
δ1 = 0,9·6 = 5,4 мм,
принимаем m=6
мм,
· Толщина рёбер
крышки корпуса:
1=
(0,85…1)· δ1
= 0,9·6 = 5,4 мм,
принимаем m1=6
мм,
· Диаметр
фундаментных болтов:
d1=
(0,03…0,036)·a+12
,=
d1=
0,035·87,589+12 = 15,153 мм
принимаем болты М16.
· Диаметры у болтов:
у подшипников:
2= (0,7…0,75) · d1 =
0,75·15,153 = 11,348 мм,
принимаем
болты М12.
- соединяющих основания корпуса
с крышкой:
3= (0,5…0,6) · d1 =
0,55·15,153 = 8,334 мм,
принимаем
болты М10.
-
крепящих смотровую крышку:
s= (0,3…0,4)
· d1 =
0,35·15,153 = 5,304 мм,
принимаем
болты М6.
· Расстояние
от наружной поверхности стенки корпуса до оси болтов d1 , d2 , d3 соответственно
равны [4, стр. 155-156]:
1 = 21 мм, c2 = 18 мм, c3 = 16 мм.
· Ширина
нижнего и верхнего пояса основания корпуса [4, стр. 155-156] :
1 = 39 мм, k2 = 33 мм, k3 = 28 мм.
10. Выбор посадок, квалитетов точности и
шероховатостей поверхностей, допусков формы и расположения поверхностей
Назначение посадок
Посадки сопрягаемых деталей
назначаем в соответствии с рекомендациями по ГОСТ 25346-82 и ГОСТ 25347-82:
Посадка звездочки
на тихоходном
валу -
H7/p6.
- Посадка зубчатого конического
колеса на тихоходном валу - H7/p6.
- Посадка муфты
с резиновой звездочкой на быстроходном валу - H7/k6.
- Отклонение валов в месте установки
уплотнения - h10.
- Для всех шпоночных соединений
назначаем посадку - N9/p9;
Посадки подшипников назначаем в
соответствии с рекомендациями, изложенными в ([6,
cтр. 98-100, табл.
7.8.1 и 7.8.5]): принимаем поле допуска отверстия - H7,
поле допуска вала для посадки внутреннего кольца - k6.
Посадка резьбы на быстроходном валу-H6/g6.
Шероховатости поверхностей
Устанавливаем следующие параметры
шероховатостей поверхностей по ГОСТ 2789-73.
На рабочем чертеже тихоходного вала
назначаем шероховатость
[6,
стр. 67,100,121]:
- поверхности установки
подшипников
= 1,25;
поверхности установки ступиц
колес зубчатых передач
= 1,25;
- поверхностей вала,
взаимодействующих с манжетами резиновыми
= 0,63;
- поверхностей вала в местах
соединения вал-ступица
=1,25;
На рабочем чертеже зубчатого
конического колеса назначаем шероховатость по [6,
cтр. 142, табл.
10.3.6]:
- боковая поверхность зубьев
= 2,5,;
коническая поверхность вершин
зубьев и внешнего доп. конуса
= 2,5;
- боковая поверхность ступицы
= 2,5;
- поверхность ступицы,
сопряженная с валом
=2,5;
- другие необозначенные
поверхности
= 5.
На рабочем чертеже крышки
назначаем шероховатость по [7, cтр.172]:
поверхности диаметра
= 1,6;
- опорная поверхность фланца
= 3,2;
- торцовая поверхность крышки
= 1,6;
- поверхность установки
уплотнения
= 1,6;
- другие необозначенные
поверхности
= 6,3.
11. Выбор типа смазки для передач и подшипников
Смазывание зубчатого зацепления:
Смазывание зубчатых передач и
подшипников уменьшает потери на трение, предотвращает повышенный износ и нагрев
деталей. Снижение потерь на трение повышает КПД редуктора.
Так
как редуктор общего назначения и окружная скорость равна 1,855
м/с, то принимаем способ смазывания - окунанием. При этом
масло заливается внутрь корпуса до погружения колеса на всю длину зуба. Из
этого условия h=74
мм.
Для смазывания выбираем Масло индустриальное
И-Г-А
68 ГОСТ 17479.4-87 . Фактический
объём масла равен Vфактич.=1,62504
л.
Контроль
уровня масла осуществляется при помощи фонарного
маслоуказателя. Для замены масла в корпусе предусмотрено сливное отверстие,
закрываемое пробкой с цилиндрической резьбой. Внутренняя полость корпуса
сообщается с внешней средой посредством установленной на крышку отдушины.
Заливка масла осуществляется путем снятия крышки корпуса.
Cмазывание
подшипников: Одним
из важнейших условий работы подшипника является правильная его смазка.
Недостаточное количество смазочного материала или неправильно выбранный
смазочный материал неизбежно приводит к преждевременному износу подшипника и
сокращению срока его службы. Так
как средняя окружная скорость зубчатых колёс v=1,855 <4м/с,
то для смазки подшипников применим
пластичную (консистентную) смазку,
которая надёжно удерживается в узле и выдерживает высокие давления. Основное
преимущество пластичной смазки перед жидким маслом заключается в том, что она
более длительное время работает в узлах трения и снижает, таким образом,
конструкционные расходы.
Для того, чтобы она не вымывалась маслом, устанавливаем мазеудерживающие
кольца. Принимаем в качестве смазки солидол жировой ГОСТ 1033-79 .
12. Описание сборки редуктора
Перед сборкой внутреннюю полость
корпуса редуктора тщательно очищают и покрывают маслостойкой краской. Сборку
производят в соответствии с чертежом общего вида редуктора, начиная с узлов
валов. На тихоходный вал (поз. 8) закладываем шпонку и запресовываем на него
коническое колесо(поз. 10). Быстроходный вал имеет конструкцию вала-шестерни.
Подшипники (поз. 37) следует насаживать, предварительно нагрев в масле до
80-100̊0
C, последовательно с
элементами передач. Собранные валы укладывают в основание корпуса редуктора
(поз. 3) и надевают крышку корпуса (поз.4), покрывая предварительно поверхности
стыка крышки и корпуса спиртовым лаком. Для центровки устанавливают крышку на
корпус с помощью двух конических штифтов (поз.47). Затягивают болты (поз.41,
40), крепящие крышку к корпусу. После этого в подшипниковые камеры закладывают
смазку, ставят крышки подшипников (поз. 5,6,7) с комплектом металлических
прокладок (поз. 17,18 ),
регулируют тепловой зазор. Перед постановкой сквозных крышек в проточки
закладывают манжеты (поз. 6,7). Проверяют проворачиванием валов отсутствие
заклинивания подшипников (валы должны проворачиваться от руки) и закрепляют
крышку болтами (поз. 26). Затем ввертывают пробку маслоспускного отверстия
(поз.16) с прокладкой (поз.19) и маслоуказатель фонарный (поз. 2). Заливают в
корпус масло индустриальное И-Г-А 68 ГОСТ 17479.4-87 и закрывают смотровое
отверстие крышкой-отдушиной (поз.1) с прокладкой (поз.20), закрепляют крышку
болтами (поз.38). Собранный редуктор обкатывают и подвергают испытанию на
стенде по программе, устанавливаемой техническими условиями.
Литература
1. Прикладная механика:
курсовое проектирование: учебное пособие/
В. Л. Николаенко [и др.]; под ред.
А.Т. Скойбеды.- Минск: БНТУ,
. -177с.
2. Дунаев П.Ф., Леликов О.П.
Курсовое проетирование: Учеб. пособие. для машиностроит. спец. техникумов - М.:
Высшая школа, 1990. - 339с., ил.
. Скойбеда А.Т. и др. Детали
машин и основы конструирования: Учебн./ А.Т. Скойбеда, А.В. Кузьмин, Н.Н.
Макейчик; Под общей ред. А.Т. Скойбеды - Мн.: Вышэйшая школа, 2006.
. Кузьмин А.В. Курсовое
проектирование деталей машин:
Справочное пособие/А.В. Кузьмин и
др. - Мн.: Вышэйшая школа, 1982. - Ч.1. - 208 с.
. Кузьмин А.В. Курсовое
проектирование деталей машин:
Справочное пособие/А.В. Кузьмин и
др. - Мн.: Вышэйшая школа, 1982. - Ч.2. - 334 с.
. Курмаз Л.В., Скойбеда А.Т.
"Детали машин. Проектирование: Учебное пособие для вузов." - Мн.: УП
"Технопринт", 2001.-290 c.
. Чернавский С.А. Боков К.Н.,
Чернин И.М., Курсовое проектирование деталей машин: Учеб. Пособие для учащихся
машиностроительных специальностей техникумов. - 3-е изд., стереотипное.
Перепечатка с издания 1987 г. - М.: ООО ТИД "Альянс", 2005, 416 с.
. Анурьев В.И.
"Справочник конструктора-машиностроителя в 3-х томах". Т. 2. -
издание 5-е, переработанное, М: Машиностроение,1980-559 с.
. Прикладная механика / под
общ. ред. А. Т. Скойбеды. - М.: Высшая школа, 1997.-552 с.