Електропривод механізму переміщення візка мостового крана
КУРСОВИЙ ПРОЕКТ
На тему:
Електропривод механізму
переміщення візка мостового крана
Вступ
Мостові крани широко використовуються на машинобудівних та
металургійних заводах. Вони потрібні для підіймання й транспортування різних
вантажів: машин, вузлів, рідкого металу, прокату тощо. Основними вузлами
механічного обладнання мостового крана є механізм переміщення всього крана,
механізм переміщення візка по мостовій фермі крана, механізм підіймання, який
встановлений на візку. Кожен з цих механізмів приводиться в рух індивідуальним
приводом.
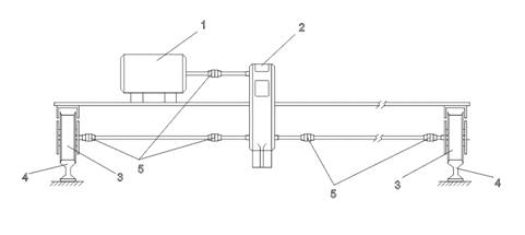
В цьому курсовому проекті буде розроблятися електропривід
механізму переміщення візка, спрощена кінематична схема якого зображена на рис
1.1. Візок рухається за допомогою чотирьох, або восьми ходових коліс по рейках,
укладених і закріплених уздовж ферми моста. Кількість коліс залежить від
вантажопідйомності крана. Ведучі колеса приводяться в рух електродвигуном через
редуктор.
Рис. 1.1 Привід механізму переміщення візка мостового крана:
1- електродвигун; 2- редуктор; 3- колеса; 4- рейки; 5- муфти
Режим роботи механізму переміщення візка
повторно-короткочасний і складається з таких операцій: підіймання вантажу, рух
візка з вантажем, опускання вантажу, розвантажування візка, зворотний рух візка
у вихідне положення без вантажу. (Деколи рух візка по мосту суміщається з
переміщенням крана вздовж цеху). Візок розганяється і зупиняється, як правило,
з постійним прискоренням, значення якого обмежуються технологічними факторами,
умовою відсутності пробуксовування коліс та допустимим перевантаженням
привідного двигуна.
Розрахункова частина
Згідно мого варіанту в даному курсовому проекті буде
розроблятись електропривод механізму переміщення візка з двигуном постійного
струму та наступними вимогами до приводу:
|
Технічні дані
установки
|
|
Маса візка - mм,
кг*103
|
4
|
|
Маса вантажу - mв,
кг*103
|
8
|
|
Шлях переміщення
візка - S, м
|
25
|
|
Швидкість
переміщення - V, м/с
|
0,8
|
|
Граничне
прискорення - а, м/с2
|
0,5
|
|
Діаметр ходових
коліс - Dк, м
|
0,35
|
|
Діаметр цапфи - d,
м
|
0,1
|
|
ККД механізму -
ηмех
|
0,8
|
|
Тривалість
ввімкнення - ТВ, %
|
60
|
,
,
,
,
,
,
,
,
,
,
,
,
Розрахункову потужність двигуна знаходимо за формулою:
(1)
Де, Рст - потужність статичного навантаження.
Потужність статичного навантаження визначається за формулою
(2)
Де F - сила статичному опору рухові.
Сила статичному опору рухові візка визначається
(3)
Де Fm - зусилля тертя при русі візка;p
=1,3÷1,5 - коефіцієнт який враховує тертя в ребордах коліс;yx - зусилля
яке виникає внаслідок ухилу шляху.
Значення зусилля, яке виникає внаслідок тертя можна визначити
за формулою:
(4)
Де Q - вага навантаженого візка; f =0,007÷0,012
- коефіцієнт
тертя кочення; μ=0,02÷0,05 - коефіцієнт тертя у
підшипниках коліс.
Зусилля ухилу знаходиться з виразу
(5)
Де α=0,002 - значення коефіцієнту ухилу
(6)
кг
кВт
Визначаємо момент на валу двигуна
(7)
Де
(8)
м
Н*м
Потужність двигуна без вантажу
,
,
,
,
,
,
,
,
,
,
,
,
(9)
(10)
(11)
,
(13)
(14)
Н*м
кВт
Шлях який пройде візок з вантажем під час розгону
(15)
Де tрв - час розгону візка
(16)
с
м
При гальмуванні візок пройде той самий шлях. Тому час
переміщення візка з вантажем складе
(17)
с
З метою підвищення продуктивності роботи крана прискорення і
сповільнення візка без вантажу приймають у два рази більшим
а0=2агр (18)
Тоді час розгону ненавантаженого візка складе
(19),
с
Шлях, який пройде візок за час розгону (гальмування) без
вантажу,
(20)
м
Час переміщення візка без вантажу
(21)
с
Час руху візка в обидва боки складатиме
(22)
С
Так як тривалість ввімкнення двигуна становить 60%, знаходимо
час пауз
(23)
За каталогом вибираємо двигун, номінальна потужність якого
Згідно завдання варіанту та отриманих попередніх даних я
обрав двигун постійного струму паралельного збудження Д-21, Uн=220В
захищений з незалежною вентиляцією, режим ТВ=100% дані якого подаю в таблиці:
|
Рн , кВт
|
nн,
об/хв
|
Ін, А
|
rя+rдп,
Ом
|
rпар, Ом
|
К-ть активних
провідників якоря N
|
К-ть паралельних
гілок якоря 2а
|
К-ть витків полюса
паралельної обмотки wпар
|
Магнітний потік
полюса Ф, мВб
|
Струм збудження
паралельної обмотки І, А
|
|
4,5
|
1030
|
26
|
0,95
|
128
|
920
|
2
|
1650
|
5,8
|
1,24
|
,
,
,
,
,
,
,
,
,
,
,
,
,
,
,
,
За даними табл.1 визначаємо:
номінальну кутову швидкість
(24)
номінальний момент
(25)
опір якірного кола двигуна
(26)
Де r= rя+rдп (27)
Передаточне число редуктора
(28)
(29)

(30)
Побудова
навантажувальної діаграми двигуна та перевірка його на нагрівання
Оскільки вибір потужності двигунів виробничих механізмів з
тривалим і незмінним в часі навантаженням базується на умові, що розрахункова
потужності
на номінальній швидкості обертання, то нагрівання двигуна
ніколи не перевищить розрахункового, і перевірку його на нагрівання не
виконують. Але для електроприводів, які працюють у тривалому зі змінним в часі
навантаженням або у повторно-короткочасному режимі, необхідно робити перевірку
на нагрівання двигуна, бо при його попередньому виборі не враховувались
фактичні втрати енергії на нагрівання в перехідних процесах.
Перевірку електропривода на нагрівання виконують на підставі
навантажувальної діаграми двигуна
. Діаграму
можна побудувати, якщо відомі
навантажувальна діаграма виконавчого механізму
і тахограма
. Її розраховують, просумувавши
статичні і динамічні моменти, тобто
, (31)
де
діаграма динамічних моментів.
Величину динамічного моменту визначають із рівняння руху
електропривода:
, (32)
де
зведений до вала двигуна момент інерції електропривода,
. Рівняння (25) справедливе для умови
. Знак плюс в ньому відноситься до
гальмівного режиму.
Для розв’язку рівняння (25) необхідно знати зведений до вала
двигуна момент інерції. Зведення моментів інерції і мас всіх рухомих частин
електропривода базується на тому, що запаси кінетичної енергії зведеної системи
і дійсної повинні бути рівними.
Якщо електропривод складається з частин, що обертаються зі
швидкостями
і мають моменти інерції відповідно
і частини масою
, що рухається поступально зі
швидкістю
, то зведений момент інерції
(33)
де
момент інерції ротора (якоря) двигуна і других елементів
(шківа, муфти тощо), які встановлені на валу двигуна;
кутова швидкість двигуна.
Оскільки
є передаточним числом, то рівняння (33) можна
представити у вигляді
(34)
Побудувавши діаграму
і
просумувавши її з діаграмою
,
одержують навантажувальну діаграму двигуна
,
на підставі якої перевіряють двигун на нагрівання. Необхідність такої перевірки
обумовлена тим, що завищена проти необхідної потужності двигуна призводить до
лишніх капітальних витрат, зменшення ККД і коефіцієнта потужності
електропривода.
Безпосередньо вирахувати температуру обмоток на підставі
навантажувальної діаграми
можна, але це дуже трудомістка і складна справа. Тому
частіше всього для оцінки нагрівання двигуна використовують непрямі методи,
зокрема, метод еквівалентних величин і метод середніх втрат.
Оскільки електропривод візка мостового крана працює у
повторно-короткочасному режимі, то для перевірки його на нагрівання необхідно
побудувати навантажувальну діаграму двигуна на підставі рівняння (32), в яке
входить момент інерції. Згідно з рівнянням (34) зведені моменти інерції привода
при русі візка з вантажем
Об'єм охолоджуючого повітря, м3/мин=3,5
Максимальний обертовий момент, Н*м, при збудженні=113
(35)
кг*м2
і без вантажу
(36)
кг*м2
При розгоні візка з вантажем двигун повинен розвивати
динамічний момент
(37)
Н*м
Момент двигуна при розгоні візка з вантажем
(38)
Н*м
Де Мсв зведений до вала двигуна момент статичного
опору.
(39)
Н*м
Для розрахунку навантажувальної діаграми двигуна визначають:
час розгону візка з вантажем
(40)
с
шлях, який пройде візок за час розгону,
(41),
м
Щоби гальмування візка з вантажем відбувалося зі сповільнення
, динамічний момент при гальмуванні
повинен дорівнювати моменту розгону візка з вантажем
електропривод двигун потужність візок
(42)
Н*м
При цьому візок буде гальмуватися зі сповільненням
(43)
м/с2
і час гальмування
(44)
с
Шлях, який пройде візок з вантажем при гальмуванні,
(45)
м
Час усталеного руху візка з вантажем
(46),
с
Час розгону візка без вантажу
(47)
с, Де
(48)
Н*м
Шлях, який пройде візок без вантажу за час розгону,
(49)
м
Для забезпечення гальмування візка без вантажу зі
сповільненням
динамічний момент повинен дорівнювати
(50)
Н*м, Де
(51)
м/с2
(52)
ηмех0 береться з графіку згідно з γ
(53)
(54)
Н*м
(55)
Н*м
Час гальмування
(56)
с
Шлях візка без вантажу при гальмуванні
(57)
м
Час усталеного руху візка без вантажу
(58)
с
Загальний час руху візка з вантажем
(59)
с
Загальний час руху візка без вантажу
(60)
с
Час руху візка в обидва боки
(61)
с
Час стоянки візка
(62)
Час повного циклу
(63)
На підставі навантажувальної діаграми визначають
еквівалентний момент з врахуванням погіршення охолодження при пуску і гальмуванні:
(64)
Н*м
Де β - коефіцієнт погіршення тепловіддачі
при нерухомому роторі закритого двигуна, для захищених двигунів з незалежною
вентиляцією =1
Уточнену тривалість включення визначають за формулою
(65)
(66)
Н*м
Розрахунок пускових характеристик:
,
,
,
,
,
,
,
,
,
Max струм перемикання
Кратність встумів перемикання
Min струм перемикання
Розраховуєм додаткові рпори
Розрахунок електромеханічних сталих для кожної ступені
Час роботи кожної ступені
Визначаєм початкову швидкість для кожної ступені
Швидкість при Мс
Сумарний час роботи всіх ступеней
Буднем механічну характеристику
Література
1.
М.Г.
Чиликин, А.С. Сандлер. Общий курс электропривода. - М: Энергоиздат, 1981, - 456
с.
2.
Электротехнический
справочник / под редакцией В.Е. Герасимова / т.3, кн. 2. - М: Атомиздат, 1988,
- 658 с.
3.
А.А.
Красовский, П.С. Поспелов. Техническая кибернетика. - М: Энергоиздат, 1965, -
670 с.
4.
Справочник
по электрическим машинам / под редакцией А.П. Копылова, Клокова / - М: Энергоиздат,
1988, - 357 с.
5.
Справочник
по автоматизированому электроприводу. Под ред.В.А. Елисеева и А.В. Шинянского.
- М:. Энергоиздат, 1983. - 616
6.
Б.О.
Баховець. Методичні вказівки до виконання курсового проекту з курсу
"Автоматизований електропривод". - Рівне: РДТУ, 2001, 68 с.
7.
Кацман
М.М. Справочник по электрическим машинам: Учеб. пособие. - М.: Издательский
центр "Академия", 2005. - 480 с.