Диагностика осевых компрессоров

  • Вид работы:
    Курсовая работа (т)
  • Предмет:
    Другое
  • Язык:
    Русский
    ,
    Формат файла:
    MS Word
    1,97 Мб
  • Опубликовано:
    2015-02-22
Вы можете узнать стоимость помощи в написании студенческой работы.
Помощь в написании работы, которую точно примут!

Диагностика осевых компрессоров

Содержание

Введение

. Основные принципы и методы диагностики

.1 Вибрационный метод контроля

.1.1 Технические средства вибрационной диагностики машин

.1.2 Системы непрерывного контроля вибрации.

.2 Метод акустической эмиссии (АЭ)

. Типы компрессоров и их характеристики

.1 Осевые компрессоры

.1.1 Основные элементы

.1.2 Принцип действия

. Программы диагностики неисправностей агрегатов

.1 Программа диагностики неисправностей агрегата ГПА-Ц-6,3

.2 Программа диагностики неисправностей агрегата ГТК-10-4

Заключение

Библиографический список

Введение

Ускорение темпов и расширение масштабов производственной деятельности в современных условиях неразрывно связано с возрастающим использованием энергонасыщенных технологий и опасных веществ. В результате возрастает потенциальная угроза для здоровья и жизни людей, окружающей среды, материальной базы производства. В первую очередь это относится к объектам нефтегазовой отрасли, где наблюдаются постоянная интенсификация технологий, связанная с возрастанием температур и давлений, укрупнение единичных мощностей установок и аппаратов, наличие в них больших запасов взрыво-, пожаро- и токсикоопасных веществ. В этой связи можно утверждать, что оценка риска и надежности, прогнозирование ресурса безопасной эксплуатации оборудования и разработка новых способов оценки технического состояния являются фундаментальной научной основой достижения высокого уровня промышленной безопасности. На предприятиях нефтегазовой отрасли доля насосно-компрессорного оборудования составляет порядка 35 % всего производственного оборудования, и, соответственно, уровень безопасности технологических процессов во многом определяется техническим состоянием именно данного вида оборудования.

Разработка методики выявления наиболее опасного оборудования, для которого характерны низкая надежность отдельных элементов, неудовлетворительное техническое состояние и высокая вероятность возникновения аварийных ситуаций, позволит предприятиям разработать стратегию, направленную на повышение уровня безопасной эксплуатации конкретных видов оборудования.

1. Основные принципы и методы диагностики

В настоящее время осознана необходимость разработки научных основ создания устройств автоматического контроля и управления системами обеспечения промышленной и пожарной безопасности и жизнеобеспечения работников при нештатных ситуациях, необходимо повышать эффективность методов оценки и диагностики оборудования нефтегазовых объектов.

Основной принцип диагностики включает:

последовательные и систематические измерения определенных параметров;

выявление изменений этих параметров и сравнение их с исходными данными.

Соответствующие технические приемы и методы можно подразделить на три типа:

. Полуквалифицированные - фиксирование температуры, давления или общей вибрации.

. Квалифицированные - анализ частоты вибраций, постоянная регистрация эксплуатационных характеристик, визуальный осмотр, использование датчиков деформаций.

. Высококвалифицированные - анализ моделей, использование дефектоскопии, магнитографии, голографии, акустической эмиссии.

В общем случае, чем проще методы измерений и менее квалифицированны приемы, тем более грубую, т.е. менее точную и чувствительную к изменениям в конструкции, информацию они дают и используют и тем меньше период времени, на который может быть спрогнозирована ожидаемая катастрофа.

Для измерений в реальном масштабе времени эксплуатации или при проведении регламентных работ с остановкой объектов могут быть использованы как широко применяемые, так и новые методы и средства - оптические, физические, механические, электромеханические. К ним можно отнести: внешний осмотр, ультразвуковую и магнитную дефектоскопию, методы проникающих жидкостей и фотоупругости, тензометрию, виброметрию, термометрию, акустическую эмиссию, термовидение, рентгенографию, томографию, голографию и др.

1.1 Вибрационный метод контроля

компрессор эмиссия контроль диагностика

Вибрационный метод контроля технического состояния машин (вибродиагностика) является одним из информативных и доступных методов диагностики. Применительно к оборудованию НПС вибродиагностика позволяет контролировать техническое состояние магистральных и подпорных насосных агрегатов в режиме постоянного слежения за уровнем вибрации, а также оценивать работоспособность вентиляторов, насосов систем охлаждения, маслоснабжения, отопления, откачки утечек и прочего оборудования путем периодического измерения и анализа параметров вибрации.

На рисунке 1 приведены основные дефекты, вызывающие вибрацию насосного агрегата, локализованные по месту их проявления.

Рисунок 1 - Основные дефекты, вызывающие вибрацию насосного агрегата

Из приведенных данных следует, что большинство дефектов механической, гидродинамической и электромагнитной систем приводит к изменению вибрации насосных агрегатов.

Таким образом, все дефекты насосного агрегата приводят к изменению параметров вибрации, измерив которые можно получить информацию о техническом состоянии, причинах его изменения и оценить остаточный ресурс.

При эксплуатации насосных агрегатов имеет место два принципиально различных метода измерения вибраций (колебаний) при помощи датчиков измерения абсолютных колебаний и относительных колебаний. Колебания насосных агрегатов создаются преимущественно их вращающимися частями и пульсациями давления в насосе и подводящих трубопроводах. При этом, главным возбудителем колебаний является неуравновешенность роторов насоса и электродвигателя.

Различают колебания трех видов.

Рисунок 2 - Виды колебаний и места их измерения (на примере подшипника скольжения)

Относительные колебания валов. Это быстрые движения вала ротора по отношению к вкладышу подшипника.

Абсолютные колебания опор подшипников. Под этим подразумеваются быстрые движения вкладыша подшипника и корпуса подшипника по отношению к жесткой опорной точке в пространстве.

Абсолютные колебания валов. Это быстрые движения вала ротора по отношению к жестко установленной опорной точке в пространстве.

В области механических колебаний приняты три измеряемые величины:

вибросмещение (амплитуда колебаний) - отклонение точки измерения от положения покоя;

виброскорость - скорость движения точки измерения вокруг своего положения покоя;

виброускорение - ускорение движения точки измерения вокруг своего по-ложения покоя.

Применительно к оборудованию НПС используют только характеристики вибросмещения (амплитуду колебания) и виброскорость. При измерении вибрации предпочтение отдается тому виду колебаний, который имеет самую большую информативность.

Для насосов и электродвигателей НПС оценка вибрации проводится на основе измерения абсолютных колебаний корпусов подшипников и реже относительных колебаний валов.

Чтобы выяснить причины, вызывающие вибрации насосного агрегата, необходимо провести диагностические работы с частотным анализом вибраций насосного агрегата. При частотном анализе с помощью виброизмерительной аппаратуры определяются все частотные составляющие вибраций, которые вызывают колебание машины.

Частотный анализ вибраций с помощью виброизмерительной аппаратуры можно осуществлять, в основном, тремя способами: гармоническим анализом вибраций, полосовым выделением частотных составляющих и при применении перестраиваемых фильтров.

При гармоническом анализе вибрации виброизмерительная аппаратура сама определяет частоту вращения ротора машины, настраивает встроенный фильтр на эту частоту и фильтр «пропускает» только ту часть сигнала возмущения, которая соответствует частоте вращения ротора.

Данный способ выделения гармонических составляющих вибрации является наиболее точным, но требует применения (кроме датчика вибрации) датчика, определяющего частоту вращения вала машины (например, фотоэлектрического или лазерного).

Более простым способом выделения частотных составляющих вибрации является применение полосовых фильтров. Встроенные полосовые фильтры настраиваются на определенную частоту, которая зависит от положения переключателя прибора. При этом фильтр пропускает полосу частот, соответствующую его характеристикам. Поэтому, изменяя положение переключателя, мы можем определить, какие частотные составляющие присутствуют в общем уровне вибрации.

В ряде виброизмерительных приборов имеется перестраиваемый фильтр. Если это автоматически перестраиваемый фильтр, то прибор сам последовательно изменяет частоту пропускания фильтра, и по изменениям показаний индикатора можно определить, какие частотные составляющие и с какой величиной присутствуют в общем уровне вибрации. Однако визуально это сделать сложно. Поэтому для такого частотного анализа обычно используют самописцы, подключаемые к выходу прибора, и записывают амплитудно-частотную диаграмму, по которой впоследствии определяют отдельные частотные составляющие вибрации.

Для диагностических работ можно использовать любой из этих способов частотного анализа вибрации.

Конструктивно насос и электродвигатель имеют выносные подшипники, корпуса которых используются для установки датчиков вибрации и датчика измерения частоты вращения ротора.

При эксплуатации насосных агрегатов необходимо проводить периодический контроль и оценку интенсивности вибрации агрегата в соответствии с нормами вибрации на них.

В качестве нормируемого параметра вибрации устанавливается среднее квадратическое значение виброскорости.

1.1.1 Технические средства вибрационной диагностики машин

Диагностическая аппаратура предназначается для специальной обработки вибрационного сигнала и измерения параметров вибрации: дискретизации и аналого-цифрового преобразования (АЦП) сигнала, снятия амплитудно-фазочастотных характеристик (АФЧХ) вибрации, определения гармонического спектра вибрации в линейном и логарифмическом масштабах, амплитуд и фаз гармоник, а также для запоминания исходных данных и результатов их обработки.

Вибрация преобразовывается в электрический сигнал посредством датчика, связанного с объектом измерения.

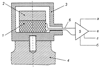
Для измерения абсолютной вибрации подшипников и других невращающихся элементов машины в качестве датчиков в настоящее время используются пьезоэлектрические датчики. Источником электрического сигнала таких датчиков является пьезочувствительный элемент. На рисунке 3 схематично изображен датчик абсолютной вибрации.

Рисунок 3 - Конструкция датчика-пьезокселерометра: 1 - пьезочувствительный элемент; 2 - сейсмическая масса; 3 - корпус датчика; 4 - объект измерения; 5 - предварительный усилитель; 6 - антивибрационный кабель; а, б - контакты подвода питания к усилителю; в, г - выход электрического сигнала

Пьезочувствительный элемент обычно изготавливают из специального керамического материала, он же обычно играет роль упругого элемента, на котором закреплена сейсмическая масса. Величины массы и жесткости упругого элемента, как известно, определяют собственную частоту датчика. Эта частота должна быть значительно (обычно вдвое) выше максимальной частоты измеряемой вибрации. Конфигурация элементов датчика различна. Она выбирается таким образом, чтобы обеспечить необходимую собственную частоту датчика, его чувствительность к вибрации и нечувствительность к поперечным составляющим вибрации. На выходе предусилителя формируется переменный электрический сигнал, пропорциональный действующему виброускорению в направлении измерения.

Пьезочувствительнй элемент формирует слабый электрический сигнал, что требует установки в непосредственной близости от датчика предварительного усилителя. Для соединения датчика с предусилителем используется специальный антивибрационный кабель, поскольку в обычных кабелях может генерироваться помеха вследствие их вибрации. Длина соединительного кабеля обычно не превышает 10 м. В ряде случаев предусилитель располагается непосредственно в корпусе датчика. В этом случае говорят о вибродатчике со встроенной электроникой.

Диапазон измеряемой вибрации определяется чувствительностью датчика и динамическим диапазоном предусилителя или предельным значением усиливаемого сигнала.

Для измерения перемещений, в частности, относительной вибрации валов, используется совсем иной по используемым физическим эффектам вибродатчик - вихретоковый. На рисунке 4 изображена схема измерения относительной вибрации вала.

Рисунок 4 - Конструкция вихретокового измерительного канала: 1 - датчик; 2 - радиочастотный кабель; 3 - УВЧ-генератор; 4 - объект измерения (вал); а, б - подвод питающего напряжения; в, г - выход электрического сигнала, пропорционального зазору

Измерение вихретоковым методом основано на регистрации изменений электромагнитного поля в зависимости от зазора между торцом датчика, содержащего обмотку, через которую проходят вихревые токи, и электропроводящей поверхностью объекта измерения.

Постоянная составляющая выходного электрического сигнала соответствует средней величине зазора между датчиком и объектом, а переменная - виброперемещению объекта.

Результаты измерений зависят от толщины и электромагнитных свойств объекта в месте установки датчика, в связи с чем для каждой группы объектов с идентичными параметрами производится соответствующая настройка (тарировка) измерительной схемы.

Частотный диапазон измерения вибрации вихретоковым методом ограничен сверху частотой УВЧ-генератора и собственной частотой крепления датчика.

Выходной электрический сигнал направляется в измерительный блок, который осуществляет обработку сигнала в соответствии с реализуемыми функциями прибора и формирует, индицирует значения измеряемых параметров.

Системы вибродиагностики и вибромониторинга подразделяются на стационарные, осуществляющие необходимый контроль измеряемых параметров непрерывно (on line), и системы, использующие переносную аппаратуру с ограниченным числом каналов для периодического измерения контролируемых параметров (off line).

Стационарные вибродиагностические системы предназначены для:

непрерывного автоматического контроля вибрации;

сбора, обработки и хранения параметров вибрационных сигналов;

вибродиагностики дефектов оборудования в процессе его работы.

Программный комплекс включает модули предварительной обработки информации, основной программный модуль и вспомогательные модули.

Структурно аппаратура выполнена из функционально завершенных измерительных блоков - виброизмерительный канал с унифицированными выходами, вторичные блоки преобразователя, коммутатор с интерфейсом, IBM совместимый АЦП и программное обеспечение, использование которых возможно в различных сочетаниях в зависимости от практических задач.

Программные средства обеспечивают автоматический сбор данных по параметрам вибрации во временной и частотных областях, их хранение, визуализацию и составление отчетов. Они поддерживают также функции определения тревожных состояний по всем нормируемым отклонениям вибрационных параметров (по уровню интенсивности, внезапному изменению, возникновению низкочастотной вибрации, плавному росту вибрации) и обеспечивают соответствующую сигнализацию при возникновении тревоги.

Помимо каналов виброизмерений абсолютной вибрации статорных элементов (подшипников), в систему могут быть включены каналы виброизмерений и обработки сигналов относительной вибрации вала.

В системах с периодическим контролем вибрации оборудования переносной аппаратурой технология контроля вибрации и вибродиагностики имеет существенные отличия.

Используемый прибор, как правило, представляет собой коллектор для измерения вибрации с достаточной внутренней памятью. Он содержит от одного до нескольких (обычно до 16) виброизмерительных каналов. В приборе реализуется маршрутная технология сбора данных, позволяющая в процессе измерений идентифицировать точки контроля вибрации (агрегат, номер подшипника, направление измерения).

Развитое программное обеспечение включает разнообразные интеллектуальные модули для диагностики и оценки состояния оборудования в интерактивном режиме.

1.1.2 Системы непрерывного контроля вибрации

Периодический мониторинг вибрационного состояния является эффективным средством предупреждения аварийных ситуаций. Однако при оценке состояния ответственного оборудования этого бывает недостаточно.

Для исключения аварийных выходов из строя, состояние быстроходных агрегатов должно контролироваться практически ежесекундно, а состояние тихоходных машин достаточно контролировать один раз в несколько дней.

В зависимости от типа оборудования в значительной мере отличается и набор контролируемых величин. Так, на быстроходных агрегатах на подшипниках скольжения помимо контроля абсолютной вибрации подшипниковых узлов в обязательном порядке должен производиться контроль относительной вибрации и осевого сдвига. Стационарные системы, установленные на турбоагрегатах, могут быть дополнительно укомплектованы датчиками линейных и угловых перемещений, а так же тепловых абсолютных и относительных расширений. На быстроходном оборудовании на подшипниках качения (вентиляторы, насосы и т.д.) наиболее информативным параметром является абсолютная вибрация подшипников. Кроме этого, на агрегатах могут устанавливаться дополнительные датчики вибрации, например на корпус насоса, контролироваться температура подшипников, рабочие параметры электродвигателя, насоса и т.д. При диагностике тихоходного оборудования высочайшие требования предъявляются к частотному диапазону датчиков, измеряющих абсолютную вибрацию подшипников.

Рисунок 5 - Стационарная система контроля ГПА

Основная цель любой стационарной системы контроля вибрации - своевременное предотвращение развития аварии с серьезными разрушениями контролируемого оборудования. Для этого должен выполняться своевременный и достоверный сбор и анализ всех контролируемых параметров. На быстроходном оборудовании для обеспечения необходимой надежности работы интервал между измерениями не должен превышать нескольких секунд. В этом случае использование блоков преобразования, обработки, анализа и накопления данных полностью оправдано. При контроле состояния тихоходного оборудования такой необходимости нет. Время развития дефекта на подобном оборудовании составляет недели и даже месяцы. Поэтому сбор вибрационных данных может быть выполнен при помощи переносной виброизмерительной аппаратуры. Однако такой подход не всегда оправдан. Во-первых, нередко доступ к точкам измерения на работающем оборудовании существенно затруднен, а иногда и невозможен, в том числе и по соображениям безопасности. Во-вторых, целый ряд причин (отсутствие повторяемости мест и условий установки датчика от измерения к измерению, трудоемкость сбора данных, человеческий фактор) существенно снижают достоверность диагностики.

Рисунок 6 - Стационарная система контроля НСА

При внедрении стационарных систем контроля вибрации особое внимание следует уделять корректности их методического применения. Если для стандартного использования возможно типовое исполнение системы, то для сложного, дорогого, нестандартного оборудования, а также при повышенных требованиях к его безопасности, рекомендуется проводить предварительное исследование вибрационного состояния. В процессе этого исследования уточняются необходимые для контроля параметры, модифицируются алгоритмы виброзащиты, формируются диагностические критерии и правила. По окончанию работы, корректируются настройки и конфигурация системы и вносятся все необходимые изменения. Подобный подход позволяет максимально адаптировать систему к условиям работы и особенностям контролируемого оборудования, что существенно расширяет ее возможности.

1.2 Метод акустической эмиссии (АЭ)

Совмещение метода акустической эмиссии хрупких тензочувствительных покрытий позволяет эффективно проводить диагностику повреждений конструкции. При росте трещины или любого дефекта, т.е. при увеличении их размеров, выделяется энергия в виде волн напряжения или акустической эмиссии. Даже если дефект является микроскопическим, под действием локального напряжения или деформации он генерирует волны напряжения.

Рисунок 7 - Основные принципы акустической эмиссии

При использовании метода АЭ появляется возможность исследования процессов в реальном времени, т.е. можно наблюдать и изучать динамику протекания разнообразных физических и химических процессов, детально изучать в реальном времени процессы деформации, перестройки структуры, образования и роста дефектов, разрушения конструкций, химических реакций и т.д.

Метод АЭ обладает весьма высокой чувствительностью к возникающим и растущим дефектам. Предельная чувствительность акустико-эмиссионной аппаратуры по расчетным оценкам составляет порядка 1.10-6 мм2, что соответствует выявлению скачка трещины протяженностью 1 мкм на величину 1 мкм. В стендовых условиях испытаний метод АЭ позволяет выявить приращение трещины порядка долей миллиметра, чего не может сделать ни один из традиционных методов НК, а в производственных условиях выявляет приращение трещины на десятые доли миллиметра.

Характерной особенностью метода АЭ является его интегральность. Она заключается в том, что, используя один или несколько преобразователей АЭ, установленных неподвижно на поверхности объекта, можно проконтролировать весь объект.

Метод АЭ имеет меньше ограничений (связанных со свойствами и структурой конструкционных материалов), чем другие методы неразрушающего контроля. Например, неоднородность материала, сложность конструкции оказывают большое влияние на использование и показания радиографического и ультразвукового методов, тогда как для метода АЭ данные свойства материала не имеют существенного значения. Поэтому метод имеет более широкий диапазон применений (по материалам и конструкциям объектов).

Элементарным источником АЭ является разрыв атомной связи. Разрыв носит скачкообразный характер, он сопровождается релаксацией других атомных связей и излучением импульса упругих колебаний от места разрыва. При пластической деформации, являющейся процессом массового образования и движения дислокаций, генерируется акустический сигнал, который обнаруживается достаточно хорошо и может быть детально исследован приборами АЭ.

Как при пластической деформации, так и при образовании и росте трещин, которые являются импульсными процессами, основным элементом сигнала АЭ является единичный импульс. Форма единичного импульса АЭ и ее изменение по мере распространения в объекте приведены на рис.8 и рис. 9.

а

б

Рисунок 8 - Схема перемещения точек среды (а) в результате скачка трещины на а: т.1- на поверхности трещины в начальный момент, т.1`- положение т.1 после скачка, т.2 - среды в переходной зоне, т.3 - на поверхности вдали от источника; изменение формы импульса АЭ (б) по мере распространения волны в объекте: 1- вблизи источника АЭ, 2- в переходной зоне, 3- в дальней зоне


Рисунок 9 - Единичный импульс АЭ на экране осциллографа с указанием основных параметров: максимального значения (амплитуды) - um, длительности подъема (длительности переднего фронта) - tф, длительности спада - tс, длительности импульса - tи, периода основных колебаний - Т0

После прохождения акустико-электронного канала, включающего Источник АЭ → Контролируемый объект → Преобразователь АЭ → Система АЭ импульс АЭ представленный на рис.7,б (3) трансформируется в импульс представленный на рис.8.

Единичный импульс несет информацию об однократном действии источника АЭ. Процесс деградации твердого тела является, сложным процессом (многостадийным и полимасштабным), порождающим сигнал АЭ в виде многомерного стохастического, в общем случае нестационарного импульсного процесса, который должен характеризоваться многомерной функцией распределения. Для систематизации подходов необходимо ввести систему первичных параметров процесса, которые используются в производственной практике.

Рисунок 10 - Форма единичного импульса АЭ на выходе преобразователя АЭ

Примеры зависимости параметров АЭ от параметров нагружения приведены на рис.11 - рис.12.

Рисунок 11 - Зависимость скорости счета АЭ (Ń) и механического напряжения () от деформации () при растяжении гладких образцов из алюминиевого сплава 7075-Е6 (а) и стали 3 (б)

Рисунок 12 - Зависимости эффективного значения АЭ u и механического напряжения σ от деформации ε при растяжении гладких образцов из алюминия (а) и кадмия (б)


Рисунок 13 - Зависимости среднеквадратического значения АЭ ū и механического напряжения σ от удлинения Δl при растяжении гладких образцов из стали 10ГН2МФА (а)и стали 10 (б)

На рис.18. отмечены вертикальными линиями этапы нагружения и зависимостей параметров АЭ при упругой и пластической деформации гладких образцов на растяжение. Этапы от 0 деформации до вертикальной линии 1 соответствует упругому участку деформирования. Сигналы АЭ, зарегистрированные на этом участке возникают в результате релаксации напряжений на неоднородностях структуры образцов. Активная АЭ возникает при начале пластической деформации материала. Для реального объекта глобальная пластическая деформация не допускается. Поэтому необходим индикатор, свидетельствующий, что деформации не достигли критического уровня. Таким индикатором может служить хрупкое тензопокрытие с величиной пороговой деформации меньшей предела текучести материала диагностируемой конструкции.

Последовательность импульсов образует АЭ процесс. Пример записи подобного АЭ процесса, полученной при испытании натурного объекта, приведен на рис. 14.

Рисунок 14 - Запись процесса АЭ, полученная при натурных испытаниях

В параметрах этого процесса содержится информация о состоянии деформирования и разрушения диагностируемого объекта. Основными наиболее информативными параметрами являются:

Зависимость суммы импульсов АЭ от времени - NΣ(t).

Зависимость активности АЭ от времени - Ń Σ(t).

Зависимость длительности импульсов от времени, мкс/с - tи(t).

Зависимость числа выбросов от времени - N(t).

Зависимость амплитуды импульсов АЭ от времени, дБ/с.

Зависимость эффективного значения импульсов АЭ от деформации.

Зависимость среднеквадратического значения импульсов АЭ от деформации.

Зависимость энергии АЭ от времени, дБ/время - Е(t).

Зависимость времени нарастания от времени, мкс/время - tф(t).

Число АЭ - импульсов /Амплитуда, дБ. - N(А).

Число АЭ- импульсов/Выбросы/длительность, кГц - NΣ(N).

Число АЭ- импульсов/Время нарастания, мкс - N(tф).

Число выбросов/Длительность импульсов, мкс - N(tи).

Длительность импульсов, мкс./Амплитуда, дБ - tи (А).

2. Типы компрессоров и их характеристики

Тип компрессора

Предельные параметры

Область применения

Поршневой

VВС = 2-5 м3/мин РН = 0,3-200 Мн/м2(лабораторно до 7000 Мн/м2) n = 60-1000 об/мин N до 5500 квт

Химическая промышленность, холодильные установки, питание пневматических систем, гаражное хозяйство.

Ротационный

VВС = 0,5-300 м3/мин РН = 0,3-1,5 Мн/м2 n = 300-3000 об/мин N до 1100 квт

Химическая промышленность, дутье в некоторых металлургических печах и др.

Центробежный

VВС = 10-2000 м3/мин РН = 0,2-1,2 Мн/м2 n = 1500-10000 (до 30000) об/мин N до 4400 квт (для авиационных - до десятков тысяч квт)

Центральные компрессорные станции в металлургической, машиностроительной, горнорудной, нефтеперерабатывающей промышленности

Осевой

VВС = 100-20000 м3/мин РН = 0,2-0,6 Мн/м2 n = 2500-20000 об/мин N до 4400 квт (для авиационных - до 70000квт)

Доменные и сталелитейные заводы, наддув поршневых двигателей, газотурбинных установок, авиационных реактивных двигателей и др.


2.1 Осевые компрессоры

Лопастной компрессор - это разновидность компрессоров, предназначенная для повышения давления рабочего тела за счёт взаимодействия последнего с подвижными и неподвижными лопаточными решётками компрессора. Принцип действия лопаточных компрессоров - увеличение полного давления рабочего тела за счёт преобразования механической работы компрессора в кинетическую энергию рабочего тела с последующим преобразованием её во внутреннюю энергию. Лопаточные компрессоры бывают 2 видов:

Центробежные;

Осевые.

Рассмотрим подробно конструкцию, принцип действия, основные неполадки и их диагностирование на примере осевого компрессора. Осевой компрессор - типичная лопаточная машина. Этот компрессор состоит из ряда так называемых ступеней, количество которых может быть различным в зависимости от величины требуемой степени повышения давления и назначения: от одной-двух до 14 и больше.

В промышленности осевой компрессор - это сложная многоступенчатая лопастная машина, состоящая из ротора с закрепленными на нем рядами профилированных лопаток, каждый ряд которых представляет собой рабочее колесо одной ступени, и статора с закрепленными на нем рядами таких же лопаток, образующих направляющие аппараты ступеней.

Широкое промышленное применение осевые компрессоры получили в авиастроении, а также в промышленных процессах, где требуются огромные производительности (от 2000 м/мин) и небольшие давления (1-10 атм. изб.). Также осевые компрессоры могут использоваться в составе комбинированного компрессора в качестве начальных ступеней.

Среди производителей осевых компрессоров из сугубо компрессорных компаний можно выделить Siemens, Elliott.

2.1.1 Основные элементы

Основными принципиальными элементами устройства осевого компрессора являются расположенные попарно венцы вращающихся и неподвижных лопаток. Каждый венец вращающихся лопаток образует рабочее колесо (РК), а каждый венец неподвижных лопаток - спрямляющий аппарат (СА).

Каждая пара РК и СА представляет собой ступень компрессора, т.е. секцию, в которой полностью реализуется его принцип действия с соответствующим повышением давления.

Сочетание ступеней в осевом компрессоре осуществляется конструктивно сравнительно просто, поскольку в нем каждая частица воздуха движется по траекториям, почти равноотстоящим от оси компрессора (отсюда компрессоры и получили название осевых). При допустимом уровне гидравлических потерь возможное повышение давления в одной ступени относительно невелико, поэтому компрессоры всегда выполняются многоступенчатыми.

Благодаря сжатию воздуха плотность его в каждой ступени возрастает, и при неизменном массовом расходе, объемный расход воздуха падает. Поскольку осевая скорость движения воздуха в компрессоре изменяется несильно, то это приводит к необходимости уменьшения проходных сечений, поэтому высоты лопаток по ходу движения воздуха уменьшаются.

Осевой компрессор состоит из нескольких рабочих колес, жестко укрепленных на валу и помещенных в канал, по которому движется воздух. Каждое рабочее колесо представляет собой диск с лопатками на ободе. При быстром вращении рабочего колеса лопатки сжимают проходящий по каналу воздух и увеличивают его скорость.

За каждым рабочим колесом помещается один ряд неподвижных лопаток - направляющий аппарат, который еще более повышает давление воздуха и сообщает струе требуемое направление.

Рабочее колесо с расположенным за ним рядом неподвижных лопаток направляющего аппарата называется ступенью компрессора. Одна ступень осевого компрессора увеличивает давление воздуха примерно в 1,3 раза. Чтобы получить большее давление, применяют осевые компрессоры с несколькими ступенями. Для получения высоких давлений используются осевые компрессоры с 14, 16 и большим числом ступеней. В многоступенчатых осевых компрессорах рабочие лопатки иногда крепятся не на отдельных дисках, а на общем пустотелом валу, так называемом барабане. Вращающуюся часть компрессора (барабан с рядами лопаток или рабочие колеса, укрепленные на валу) называют ротором, а неподвижные направляющие лопатки, укрепленные на кожухе компрессора,- его статором.

В осевом компрессоре поток рабочего тела, как правило воздуха, движется условно вдоль оси вращения ротора компрессора.

Осевой компрессор состоит из чередующихся подвижных лопаточных решёток ротора, состоящих из лопаток закреплённых на валу и именуемых рабочими колёсами (РК), и неподвижных лопаточных решёток статора и именуемых направляющими аппаратами (НА). Совокупность, состоящая из одного рабочего колеса и одного направляющего аппарата именуется ступенью.

Пространство между соседними лопатками как в рабочем колесе, так и в направляющем аппарате именуется межлопаточным каналом. Межлопаточный канал как в рабочем колесе, так и в направляющем аппарате диффузорный, то есть расширяющийся. Межлопаточный канал является расширяющимся, когда диаметр окружностей, вписанных в этот канал увеличивается при вписывании этих окружностей от передней кромки к задней. При прохождении через рабочее колесо воздух участвует в сложном движении.

Где абсолютное движение - движение частиц воздуха относительно оси двигателя.

Относительное движение - движение частиц воздуха относительно лопаток рабочего колеса. (На рисунке обозначено буквой w).

Переносное движение - вращение рабочего колеса относительно оси двигателя. (На рисунке обозначено буквой U).

2.1.2 Принцип действия

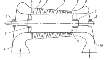
Осевой многоступенчатый компрессор (рис. 14) состоит из ряда последовательно расположенных направляющих лопаток 6, закрепленных в корпусе 7, и рабочих лопаток 5, расположенных на барабанном роторе 11. По мере сжатия объем воздуха уменьшается и, следовательно, уменьшаются высоты лопаток.

Рисунок 15 -Схема осевого многоступенчатого компрессора

Вращаясь, рабочие лопатки ротора сообщают газу кинетическую энергию. При движении по расширяющимся каналам рабочих лопаток относительная скорость воздуха падает, происходит уменьшение кинетическои энергии потока с соответствующим повышением давления в нем. Изменение относительной скорости потока в канале рабочих лопаток связано с расходом энергии, подводимой к компрессору. В расширяющихся каналах направляющих лопаток наблюдается дальнейшее повышение давления воздуха и уменьшение скорости его движения. В проточную часть компрессора воздух поступает через входной патрубок 1 и направляющий аппарат 4, откуда, пройдя каналы рабочих лопаток 5 и направляющих лопаток 6, попадает в спрямляющий аппарат 8. Направляющий аппарат обеспечивает необходимое направление воздушному потоку перед входом в первую ступень, а спрямляющий аппарат обеспечивает осевой выход в диффузор 9 и далее в выходной патрубок 10. В диффузоре происходит дальнейшее сжатие воздуха за счет уменьшения скорости его движения.

Ротор компрессора установлен на подшипниках 3. В местах выхода вала через корпус расположены концевые уплотнения 2. Роторы осевых компрессоров выполняются барабанного, дискового и смешанного типов.

Лопаточный аппарат осевых компрессоров изготовляют с вы­сокой точностью и высокой степенью чистоты обработки, что спо­собствует получению высокого к. п. д. компрессора. В рабочих

Лопатках осевых компрессоров бандаж отсутствует, лопатки кре­пят хвостовиками различной формы.

3. Программы диагностики неисправностей агрегатов

.1 Программа диагностики неисправностей агрегата ГПА-Ц-6,3

Основные узлы, определяющие вибрацию агрегата

ротор осевого компрессора (ОК), жестко соединенный с ротором турбины высокого давления (ТВД);

ротор свободной турбины (СТ);

ротор центробежного нагнетателя (ЦБН), соединенный с ротором СТ торсионным валом и зубчатыми обоймами;

подшипники качения, применяемые в качестве опор роторов двигателя;

подшипники скольжения ротора ЦБН;

лопаточный аппарат ОК и турбин;

узлы крепления двигателя к раме;

камера сгорания;

зубчатые передачи механизмов, навешенных на двигатель.

Рисунок 16 - Расположение точек измерения вибрации агрегата ГПА-Ц-6,3

Перечень диагностируемых неисправностей:

загрязнение газовоздушного тракта ОК;

дисбаланс ротора ОК;

дисбаланс диска СТ;

дисбаланс шлицевой полумуфты ротора СТ;

неисправности верхней коробки привода ОК;

некачественная установка двигателя на раме;

расцентровка роторов СТ-ЦБН;

разрушение подшипника №2 ОК;

разрушение подшипника №6 СТ;

дисбаланс ротора ЦБН;

ослабление крепления подшипников ЦБН;

увеличенный зазор подшипников ЦБН;

перекос приводной шестерни главного насоса смазки;

эрозионный износ лопаток рабочего колеса ЦБН

3.2 Программа диагностики неисправностей агрегата ГТК-10-4

Основные узлы, определяющие вибрацию агрегата:

турбокомпрессор;

силовая турбина (ТНД);

ротор ЦБН;

промежуточный вал, зубчатая муфта;

подшипники скольжения роторов ГТУ и ЦБН;

лопаточные аппараты осевого компрессора и турбин;

камера сгорания.

Рисунок 17 - Расположение точек измерения вибрации агрегата ГТК-10-4

Рисунок 18 - Место установки датчика, точка 1

Рисунок 19 - Место установки датчика, точка 2 (высокая температура, обдув горячим воздухом)

Рисунок 20 - Место установки датчика, точка 3

Перечень диагностируемых неисправностей:

дисбаланс осевого компрессора ТВД;

дисбаланс диска ротора ТВД;

дисбаланс ротора ТНД;

дисбаланс ротора нагнетателя;

несоосность подшипников ротора ТВД;

расцентровка роторов ТНД-нагнетателя;

ослабление или исчезновение натяга по вкладышам опорно-упорного подшипника N1 ТВД;

ослабление или исчезновение натяга по вкладышам опорного подшипника N2 ТВД;

ослабление или исчезновение натяга по вкладышам опорного подшипника N3 ТНД;

ослабление или исчезновение натяга по вкладышам опорно-упорного подшипника N4 ТНД:

увеличенный радиальный зазор опорно-упорного подшипника N1 ТВД;

увеличенный радиальный зазор опорного подшипника N2 ТВД;

увеличенный радиальный зазор опорного подшипника N3 ТНД;

увеличенный радиальный зазор опорно-упорного подшипника N4 ТНД;

коробление корпуса ТВД при тепловых расширениях;

коробление корпуса ТНД при тепловых расширениях;

торцевой бой диска ТВД;

торцевой бой диска ТНД;

повышенные вибронапряжения на рабочих лопатках 1-10-ой ступеней осевого компрессора;

трещины на выходном/входном трубопроводах и опорах технологической обвязки нагнетателя.

Заключение

К достоинствам осевых компрессоров следует отнести:

) простоту в изготовлении (но не всегда, особенно, что касается профиля лопаток);

) компактность;

) реверсивность; По сравнению с радиальными компрессорами они имеют более высокий КПД и подачу при относительно низком давлении (напоре).

Осевые компрессоры характеризуются высоким КПД, достигающим в наиболее совершенных конструкциях 90-94 %, и большой производительностью.

Осевые компрессоры имеют также высокую частоту вращения ротора, хорошо согласующуюся с оптимальной частотой вращения газовых турбин, и относительно малый диаметр корпуса. Недостатками осевых компрессоров являются сложность производства большого числа лопаток, склонность к загрязнению, уязвимость лопаток при попадании в проточную часть взвешенных частиц, влаги и посторонних предметов.

Библиографический список

1. Турбокомпрессоры: Учеб. пособие / Ю. Б. Галеркин, Л. И. Козаченко. - СПб.: Изд-во Политехн. ун-та, 2008.

. Диагностика и прогнозирование/ Самородов А.В./ Салават 2008.

. Обеспечение безопасности нефтегазового оборудования с использованием комбинированной диагностики: Дис. на соиск. уч. ст.к.т.н./ ХАЙРУЛЛИНА Л.Б./ Тюмень, 2014.


Не нашли материал для своей работы?
Поможем написать уникальную работу
Без плагиата!
Без нейросетей!