|
Тип
|
Сечение
F, мм2
|
Длина
l,км
|
U, кВ
|
r0, Ом/км
|
x0, Ом/км
|
b0, Cм/км×10-6
|
|
АС
- 300
|
300
|
30
|
115
|
0,098
|
0,429
|
2,64
|
Активное сопротивление[7]:
Ом,
где r0 - погонное
активное сопротивление воздушной линии №1, Ом/км;
l1 - длина
воздушной линии №1, км.
Реактивное (индуктивное)
сопротивление[7]:
Ом
где x0 - погонное
индуктивное сопротивление воздушной линии №1.
Полное сопротивление воздушной
линии:
Ом
Реактивная (емкостная)
проводимость[7]:
См,
где b0 - погонная
емкостная проводимость воздушной линии №1, См/км.
Реактивная мощность, генерируемая
линией[7]:
Мвар
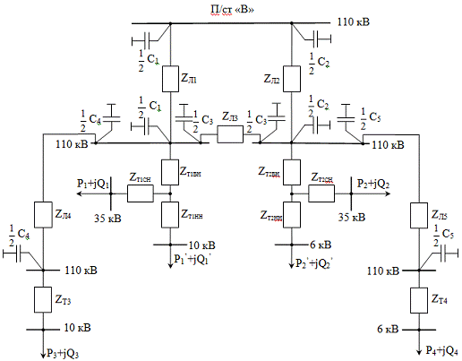
.3 Расчет кольцевой схемы
.3.1 Расчет распределения потоков
мощности без учета потерь на участках линий
Схема замещения кольцевой схемы
приведена на рисунке 11.
Рис. 11. Схема замещения кольцевой схемы.
Результаты, полученные при расчете подстанций и
воздушных линий:
Мвар
Мвар
Мвар
Мвар
Мвар
МВ∙А
МВ∙А
МВ∙А
МВ∙А
Ом
Ом
Ом
Определим потокораспределение в
кольцевой схеме. Для этого сделаем разрез по источнику питания, при этом
кольцевая линия будет преобразована в линию с двухсторонним питанием (рис. 12)
[2].
Рис. 12. Развернутая кольцевая схема.
Предварительно на расчетной схеме произвольно
укажем направления потоков SAB,
SBC, SA’C,
считая, что потери мощности на участках равны нулю[2].
Найдем мощности нагрузок в точках В и С[2]:
МВ∙А
МВ∙А
Формулы для определения
приближенного потокораспределения в линии с двусторонним питанием[2]:
МВ·А
МВ·А
МВ∙А
Данные выражения определяют
потокораспределение в линии с двусторонним питанием без учета потерь
мощности[2].
Проверка[2]:
МВ∙А
МВ∙А
Таким образом, точка В является
точкой потокораздела мощностей (Точка потокораздела мощностей - точка сети, в
которой потоки мощности направлены встречно друг другу [2]) (Рисунок 13).
Рис. 13. Развернутая кольцевая схема
с указанной точкой потокораздела мощностей.
2.3.2 Расчет распределения потоков
мощности с учетом потерь на участках линий
Развернутая кольцевая схема
представлена на рисунке 14.
Рис. 14. Развернутая кольцевая схема
с учетом потерь мощности на линиях
Потери мощности на участках
линий[8]:
Потери мощности на участке A′B′:
МВ∙А
Потери мощности на участке В′С′:
МВ∙А
Потери мощности на участке С′А′′:
МВ∙А
Мощность на входе воздушной линии
№1:
МВ∙А
Мощность на входе воздушной линии
№3:
МВ∙А
Мощность на входе воздушной линии
№2:
МВ∙А
Мощность на шинах 110кВ подстанции
«В»:
МВ∙А
.4 Расчет напряжений в узлах схем и
потерь напряжений
Напряжение на шинах п/с «В»:
кВ
.4.1 Потери напряжения в кольцевой
схеме
Рис. 15. Потери напряжения в кольцевой схеме.
Потери напряжения на участке AВ
(Потери напряжения на участке линии - алгебраическая разность модулей
напряжений, действующих на концах ЛЭП[8]):
Напряжение в конце воздушной линии
№1 в точке В[2]:
кВ
Потери напряжения на участке СА′[2]:
кВ
Напряжение в конце воздушной линии
№2 в точке С[2]:
кВ
Потери напряжения на участке ВС′[2]:
кВ
.4.2 Потери напряжения на подстанции
№1
Рис. 16. Потери напряжения на подстанции №1
На стороне ВН:
Потери напряжения в трехобмоточном
трансформаторе в обмотке ВН[8]:
кВ
Напряжение на выходе обмотки ВН
трехобмоточного трансформатора[8]:
кВ
На стороне СН:
Потери напряжения в трехобмоточном
трансформаторе в обмотке СН[8]:
кВ
Приведенное к обмотке ВН значение
напряжения обмотки СН[8]:
кВ
Коэффициент трансформации
трансформатора[8]:
Напряжение на выходе обмотки СН
трехобмоточного трансформатора[8]:
кВ
На стороне НН:
Потери напряжения в трехобмоточном
трансформаторе в обмотке НН[8]:
кВ
Приведенное к обмотке ВН значение
напряжения обмотки НН[8]:
кВ
Коэффициент трансформации
трансформатора[8]:
Напряжение на выходе обмотки НН
трехобмоточного трансформатора[8]:
кВ
2.4.3 Потери напряжения в воздушной
линии №4
Рис. 17. Потери напряжения в воздушной линии №4
Потери напряжения в воздушной линии №4[2]:
кВ
Напряжение на выходе воздушной линии
№4[2]:
кВ
.4.4 Потери напряжения на подстанции
№3
Рис. 18. Потери напряжения на подстанции №3
Потери напряжения в двухобмоточном
трансформаторе[8]:
кВ
Приведенное к обмотке ВН значение
напряжения обмотки НН[8]:
кВ
Коэффициент трансформации
трансформатора[8]:
Напряжение
на выходе подстанции №3[8]:
кВ
.4.5 Потери напряжения на подстанции
№2
Рис. 19. Потери напряжения на подстанции №2
На стороне ВН:
Потери напряжения в трехобмоточном
трансформаторе в обмотке ВН[8]:
кВ
Напряжение на выходе обмотки ВН
трехобмоточного трансформатора[8]:
кВ
На стороне СН:
Потери напряжения в трехобмоточном
трансформаторе в обмотке СН[8]:
кВ
Приведенное к обмотке ВН значение
напряжения обмотки СН[8]:
кВ
Коэффициент трансформации
трансформатора[8]:
Напряжение на выходе обмотки СН
трехобмоточного трансформатора[8]:
кВ
На стороне НН:
Потери напряжения в трехобмоточном
трансформаторе в обмотке НН[8]:
кВ
Приведенное к обмотке ВН значение
напряжения обмотки НН[8]:
кВ
Коэффициент трансформации
трансформатора[8]:
Напряжение на выходе обмотки НН
трехобмоточного трансформатора[8]:
кВ
.4.6 Потери напряжения в воздушной
линии №5
Рис. 20. Потери напряжения в воздушной линии №5
Потери напряжения в воздушной линии №5[2]:
кВ
Напряжение на выходе воздушной линии
№5[2]:
кВ
.4.7 Потери напряжения на подстанции
№4
Рис. 21. Потери напряжения на подстанции №4
Потери напряжения в двухобмоточном
трансформаторе[8]:
кВ
Приведенное к обмотке ВН значение
напряжения обмотки НН[8]:
кВ
Коэффициент трансформации
трансформатора[8]:
Напряжение
на выходе подстанции №4[8]:
кВ
.5 Расчет КПД электрической сети в
режиме наибольших нагрузок
,
где Р1, Р1’, P2, P2’, P3, P4 - активные
мощности потребителей, кВт;
Рп/с “B” - активная
мощность подстанции “B”, равная сумме активных мощностей
потребителей и потерь активной мощности, кВт.
3. Расчет режима наименьших нагрузок
Наименьшая нагрузка
потребителей составляет 45% от наибольшей. Напряжение на шинах подстанции
"В" в режиме наименьших нагрузок составляет 1,04 Uн.
.1 Расчет трансформаторных подстанций
.1.1 Расчет подстанции №4
Рис. 22. Принципиальная схема (а) и схема
замещения (б) подстанции №4
Исходные данные:
P4
= 10∙0,45=4,5 МВт; Q4
= 5∙0,45=2,25 Мвар
Полное сопротивление двух параллельно работающих
трансформаторов:
Ом
Потери в стали для нормально
работающих трансформаторов:
МВ·А
Потери мощности в
трансформаторах[6]:
МВ·А
Мощность на выходе подстанции №4:
МВ·А
Мощность на входе подстанции №4 (без
учета потерь в стали):
МВ·А
Мощность на входе подстанции №4 с
учетом потерь в трансформаторах:
МВ·А
.1.2 Расчет подстанции №3
Рис. 23. Принципиальная схема (а) и
схема замещения (б) подстанции №3
Исходные данные:
P3 = 9∙0,45=4,05
МВт; Q3 = 5∙0,45=2,25
Мвар
Полное сопротивление двух
параллельно работающих трансформаторов:
Ом
Потери в стали для нормально
работающих трансформаторов:
МВ·А
Потери мощности в
трансформаторах[6]:
МВ·А
Мощность на выходе подстанции №4:
МВ·А
Мощность на входе подстанции №4 (без
учета потерь в стали):
МВ·А
Мощность на входе подстанции №4 с
учетом потерь в трансформаторах:
МВ·А
.1.3 Расчет подстанции №2
Рис. 24. Принципиальная схема подстанции №2
Рис. 25. Схема замещения подстанции №2.
Исходные данные:
P2
= 7∙0,45/3∙0,45=3,15/1,35 МВт; Q2
= 4∙0,45/1,5∙0,45=1,8/0,675 Мвар
Полное сопротивление:
Ом
Ом
Ом
Потери в стали для нормально
работающих трансформаторов:
МВ·А
Потери мощности в
трансформаторах[6]:
Потери мощности в обмотках СН:
МВ·А
Потери мощности в обмотках НН:
МВ·А
Мощность на выходах подстанции №2:
Мощность на выходе обмотки СН:
МВ·А
Мощность на выходе обмотки НН:
МВ·А
Мощность на входах обмоток
трансформатора с учетом потерь в обмотках:
Мощность на входе обмотки СН:
МВ·А
Мощность на входе обмотки НН:
МВ·А
Мощность на выходе обмотки ВН:
МВ·А
Потери мощности в обмотках ВН:
МВ·А
Мощность на входе подстанции №2 (без
учета потерь в стали):
МВ·А
Мощность на входе подстанции №2 с
учетом потерь в трансформаторах:
МВ·А
3.1.4 Расчет подстанции №1
Рис. 26. Принципиальная схема подстанции №1
Рис. 27. Схема замещения подстанции №1.
Исходные данные:
P1
= 30∙0,45/15∙0,45=13,5/6,75 МВт; Q1
= 16∙0,45/8∙0,45=7,2/3,6 Мвар
Полное сопротивление:
Ом
Ом
Ом
Потери в стали для нормально
работающих трансформаторов:
МВ·А
Потери мощности в
трансформаторах[6]:
Потери мощности в обмотках СН:
МВ·А
Потери мощности в обмотках НН:
МВ·А
Мощность на выходах подстанции №1:
Мощность на выходе обмотки СН:
МВ·А
Мощность на выходе обмотки НН:
МВ·А
Мощность на входах обмоток
трансформатора с учетом потерь в обмотках:
Мощность на входе обмотки СН:
МВ·А
Мощность на входе обмотки НН:
МВ·А
Мощность на выходе обмотки ВН:
МВ·А
Потери мощности в обмотках ВН:
МВ·А
Мощность на входе подстанции №1 (без
учета потерь в стали):
МВ·А
Мощность на входе подстанции №1 с
учетом потерь в трансформаторах:
МВ·А
.2 Расчет воздушных линий
электропередач
.2.1 Расчет воздушной линии №5
(двухцепная)
Исходные данные:
Полное сопротивление воздушной линии №5:
Рис. 28. Схема замещения воздушной линии №5
Ом
Реактивная мощность, генерируемая
линией:
Мвар
Потери мощности в линии
электропередач [7]:
МВ·А
Потери мощности в продольном
сопротивлении линии[7]:
МВ·А
Мощность в начале линии[7]:
МВ·А
4.2.2 Расчет воздушной линии №4 (двухцепная)
Рис. 29. Схема замещения воздушной линии №4
Исходные данные:
Полное сопротивление:
Ом
Реактивная мощность, генерируемая
линией:
Мвар
Потери мощности в линии
электропередач [7]:
МВ·А
Потери мощности в продольном
сопротивлении линии[7]:
МВ·А
Мощность в начале линии[7]:
МВ·А
.3 Расчет кольцевой схемы
.3.1 Расчет распределения потоков
мощности без учета потерь на участках линий
Результаты, полученные при расчете
подстанций и воздушных линий:
Мвар
Мвар
Мвар
Мвар
Мвар
МВ∙А
МВ∙А
МВ∙А
МВ∙А
Ом
Ом
Ом
Определим потокораспределение в
кольцевой схеме. Для этого развернем ее (рис. 30)[2].
Рис. 30. Развернутая кольцевая схема.
Предварительно на расчетной схеме произвольно
укажем направления потоков SAB,
SBC, SA’C,
считая, что потери мощности на участках равны нулю[2].
Найдем мощности нагрузок в точках В и С[2]:
МВ∙А
МВ∙А
Формулы для определения
приближенного потокораспределения в линии с двусторонним питанием[2]:
МВ·А
МВ·А
МВ∙А
Проверка[2]:
МВ∙А
МВ∙А
Таким образом, точка В является
точкой потокораздела мощностей (рис. 31).
Рис. 31. Развернутая кольцевая схема
с указанной точкой потокораздела мощностей.
.3.2 Расчет распределения потоков
мощности с учетом потерь на участках линий
Развернутая кольцевая схема
представлена на рисунке 32.
Потери мощности на участках[8]:
Потери мощности на участке A′B′:
Рис. 32. Развернутая кольцевая схема с учетом
потерь мощности на линиях.
МВ∙А
Потери мощности на участке В′С′:
МВ·А
Потери мощности на участке С′А′′:
МВ∙А
Мощность на входе воздушной линии
№1:
МВ∙А
Мощность на входе воздушной линии
№3:
МВ∙А
Мощность на входе воздушной линии
№2:
МВ∙А
Мощность на шинах 110кВ подстанции
«В»:
МВ∙А
.4 Расчет напряжений в узлах схем и
потерь напряжений
Напряжение на шинах п/с «В»:
кВ
.4.1 Потери напряжения в кольцевой схеме
Рис. 33. Потери напряжения в кольцевой схеме.
Потери напряжения на участке AВ[8]:
кВ
Напряжение в конце воздушной линии
№1 в точке В[2]:
кВ
Потери напряжения на участке СА′[2]:
кВ
Напряжение в конце воздушной линии
№2 в точке С[2]:
кВ
Потери напряжения на участке ВС′[2]:
кВ
.4.2 Потери напряжения на подстанции
№1
Рис. 34. Потери напряжения на подстанции №1.
На стороне ВН:
Потери напряжения в трехобмоточном
трансформаторе в обмотке ВН[8]:
кВ
Напряжение на выходе обмотки ВН
трехобмоточного трансформатора[8]:
кВ
На стороне СН:
Потери напряжения в трехобмоточном
трансформаторе в обмотке СН[8]:
кВ
Приведенное к обмотке ВН значение
напряжения обмотки СН[8]:
кВ
Коэффициент трансформации
трансформатора[8]:
Напряжение на выходе обмотки СН трехобмоточного
трансформатора[8]:
кВ
На стороне НН:
Потери напряжения в трехобмоточном
трансформаторе в обмотке НН[8]:
кВ
Приведенное к обмотке ВН значение
напряжения обмотки НН[8]:
кВ
Коэффициент трансформации
трансформатора[8]:
Напряжение на выходе обмотки НН
трехобмоточного трансформатора[8]:
кВ
.4.3 Потери напряжения в воздушной
линии №4
Рис. 35. Потери напряжения в воздушной линии №4
Потери напряжения в воздушной линии №4[2]:
кВ
Напряжение на выходе воздушной линии
№4[2]:
кВ
.4.4 Потери напряжения на подстанции
№3
Рис. 36. Потери напряжения на
подстанции №3.
Потери напряжения в двухобмоточном
трансформаторе[8]:
кВ
Приведенное к обмотке ВН значение
напряжения обмотки НН[8]:
кВ
Коэффициент трансформации
трансформатора[8]:
Напряжение
на выходе подстанции №3[8]:
Кв
.4.5 Потери напряжения на подстанции
№2

На стороне ВН:
Потери напряжения в трехобмоточном
трансформаторе в обмотке ВН[8]:
кВ
Напряжение на выходе обмотки ВН
трехобмоточного трансформатора[8]:
кВ
На стороне СН:
Потери напряжения в трехобмоточном
трансформаторе в обмотке СН[8]:
кВ
Приведенное к обмотке ВН значение
напряжения обмотки СН[8]:
кВ
Коэффициент трансформации
трансформатора[8]:
Напряжение на выходе обмотки СН
трехобмоточного трансформатора[8]:
кВ
На стороне НН:
Потери напряжения в трехобмоточном
трансформаторе в обмотке НН[8]:
кВ
Приведенное к обмотке ВН значение
напряжения обмотки НН[8]:
кВ
Коэффициент трансформации
трансформатора[8]:
Напряжение на выходе обмотки НН
трехобмоточного трансформатора[8]:
кВ
.4.6 Потери напряжения в воздушной
линии №5
Рис. 38. Потери напряжения в воздушной линии №5
Потери напряжения в воздушной линии №5[2]:
кВ
Напряжение на выходе воздушной линии
№5[2]:
кВ
3.4.7 Потери напряжения на
подстанции №4
Рис. 39. Потери напряжения на подстанции №4
Потери напряжения в двухобмоточном
трансформаторе[8]:
кВ
Приведенное к обмотке ВН значение
напряжения обмотки НН[8]:
кВ
Коэффициент трансформации
трансформатора[8]:
Напряжение
на выходе подстанции №4[8]:
кВ
4. Регулировочные положения
ответвлений трансформаторов
.1 Расчет подстанции №1
Регулирование напряжения на
подстанции №1 должно осуществляться в пределах[8]:
В
Используя справочную литературу [5],
находим для выбранного трансформатора вид, диапазон и число ступеней
регулирования напряжения.
Таблица 11.
|
Тип
трансформатора
|
Вид,
диапазон и число ступеней регулирования напряжения
|
|
ТДТН
- 6300/ 110
|
РПН
в нейтрали ВН, ±16%, ± 9 ступеней.
|
Используя справочную литературу [8], находим
относительное число витков одной ступени регулирования в % для трансформатора с
напряжением на высокой стороне U
= 115 кВ и число ступеней регулирования напряжения ±9.
Относительное число витков одной
ступени регулирования:
Найдем значение напряжения для одной
ступени регулирования. Для этого составим пропорцию:
В
Число ответвлений трансформатора
будет равно:
Таким образом, n = ±2.
4.2 Расчет подстанции №3
Регулирование напряжения на
подстанции №3 должно осуществляться в пределах[8]:
В
Используя справочную литературу [5],
находим для выбранного трансформатора вид, диапазон и число ступеней
регулирования напряжения.
Таблица 12.
|
Тип
трансформатора
|
Вид,
диапазон и число ступеней регулирования напряжения
|
|
ТДН
- 10000/ 110
|
РПН
в нейтрали ВН, ±16%, ± 9 ступеней.
|
Используя справочную литературу [8], находим
относительное число витков одной ступени регулирования в % для трансформатора с
напряжением на высокой стороне U
= 115 кВ и число ступеней регулирования напряжения ±9.
Относительное число витков одной
ступени регулирования:
Найдем значение напряжения для одной
ступени регулирования. Для этого составим пропорцию:
В
Число ответвлений трансформатора
будет равно:
Таким образом, n
= ±2.
5. Оборудование подстанции №2
.1 Краткая характеристика оборудования
ВЗ - 110/630-0,5 -высокочастотный заградитель с
естественным воздушным охлаждением на напряжение 110 кВ, на номинальный
длительный ток 630 А, индуктивность реактора на промышленной частоте - 0,5 Гн,
предназначен для предупреждения чрезмерного затухания сигнала несущей частоты
высокочастотных каналов связи в линиях передач высокого напряжения.
СМПВ - 110/
- 6,4 УХЛ1 - конденсатор связи,
пропитанный конденсаторным маслом, содержащий в своей конструкции изолирующую
подставку для установки на фундамент, с выводом для присоединения аппаратного
зажима ошиновки, номинальным напряжением 110/
кВ, емкостью - 6,4 нФ,
климатическое исполнение УХЛ (температура окружающей среды от +400С
до -600С), категория размещения - 1 (оборудование, эксплуатируемое
на открытом воздухе) предназначен для обеспечения высокочастотной связи на
частотах от 24 до 1500 кГц в линиях электропередачи номинальным напряжением 110
кВ переменного тока частоты 50 и 60 Гц.
РДЗ - 110Б/1000 УХЛ1 - разъединитель
двухколонковый для наружной установки с заземляющим ножом на напряжение 110 кВ,
с усиленным исполнением изоляции, на номинальный ток 1000 А, климатическое
исполнение УХЛ (температура окружающей среды от +400С до -600С),
категория размещения - 1 (оборудование, эксплуатируемое на открытом воздухе)
предназначен для отключения и включения (создания видимого разрыва)
обесточенных участков электрических цепей с напряжением 110 кВ, а также
заземления отключенных участков при помощи заземлителей.
ТФМЗ - 110Б - II У1 -
трансформатор тока с фарфоровой покрышкой, вторичная обмотка звеньевого типа,
маслонаполненный на номинальное напряжение 110 кВ, с усиленным исполнением
изоляции, II - вариант
конструктивного исполнения - 38х81 мм (трансформаторы на первичные токи 400 …
1000 А), У1 - эксплуатация в районах с умеренным климатом с категорией
размещения 1 (на открытом воздухе). Трансформатор предназначен для наружной
установки в открытых распределительных устройствах для передачи сигнала
измерительной информации измерительным приборам и устройствам защиты и
управления в установках переменного тока частоты 50 или 60 Гц.
НКФ - 110 - 57 У1 - трансформатор
напряжения каскадный с фарфоровой покрышкой номинальным напряжением на ВН 110
кВ, 57 - год разработки, У1 - эксплуатация в районах с умеренным климатом с
категорией размещения 1 (на открытом воздухе). Трансформаторы напряжения
предназначены для понижения высокого напряжения до значения, равного 100 В,
необходимого для питания измерительных приборов, цепей автоматики, сигнализации
и защитных устройств.
ВМТ - 110 - 25/1250 - выключатель
маломасляный, Т - конструктивное исполнение, номинальным напряжением 110 кВ,
номинальным током отключения - 25 А, номинальным током 1250 А. Выключатели
высоковольтные предназначены для включения и отключения электрических цепей
высокого напряжения под нагрузкой, а также для отключения токов короткого
замыкания. Выключатели должны обладать достаточной отключающей способностью,
возможно меньшим временем действия, высокой надежностью работы. Они должны быть
взрыво- и пожаробезопасны.
РВС - 110 М У1 - разрядник
вентильный, стационарный, номинальным напряжением 110 кВ, модернизированный, У1
- эксплуатация в районах с умеренным климатом с категорией размещения 1 (на
открытом воздухе). Разрядники вентильные серии РВС предназначены для защиты от
атмосферных перенапряжений изоляции электрооборудования переменного тока
частотой 50 Гц и 60 Гц.
РГН 110/1000 УХЛ1 - разъединитель
горизонтально-поворотного типа, класс изоляции - Н, номинальным напряжением 110
кВ, номинальным током 1000 А, УХЛ1 - эксплуатация в районах с умеренным и
холодным климатом с категорией размещения 1 (на открытом воздухе).
Разъединители предназначены для включения и отключения обесточенных участков
электрических цепей, находящихся под напряжением, а также заземления участков
при помощи заземлителей. Разъединители также используют для отключения токов
холостого хода трансформаторов и зарядных токов воздушных и кабельных линий.
трансформатор напряжение
электрический сеть
Вывод
Целью курсовой работы является расчет
электрической сети, соответствующей двум режимам работы: наибольших и
наименьших нагрузок. На первоначальном этапе составил схема замещения
электрической сети. При построении схемы замещения произвел следующие
эквивалентные замены: линия электропередачи представляется сопротивлением и
емкостями в начале и конце линии; двухобмоточный трансформатор -
сопротивлением, трехобмоточный трансформатор - тремя сопротивлениями,
включенными Т-образно.
После произвел расчет трансформаторных
подстанций. Данный расчет заключается в выборе трансформатора, определении
сопротивлений трансформатора, подводимой к ним мощности и потерь в
трансформаторе. Подобранные трансформаторы проверил на загрузку в нормальном и
аварийном режиме. Для номинальной мощности коэффициенты загрузки для всех
подстанций составили 0,5 - в нормальном режиме и 1,0 - в аварийном режиме. Для
расчетной мощности коэффициенты загрузки трансформаторов на подстанциях №1, №3,
№4 превышают установленные (0,7 - в нормальном режиме, 1,4 - в аварийном),
поэтому в аварийном режиме возможно отключение потребителей III
категории надежности. Для расчетной мощности коэффициенты загрузки
трансформаторов на подстанции №2 оказались меньше установленных, поэтому
возможно подключение дополнительных потребителей.
Расчет воздушных линий электропередач включает в
себя определение полного сопротивления линии, реактивной мощности,
вырабатываемой линией, потерь мощности и мощности в начале линии.
Основным разделом данной курсовой является
расчет потокораспределения в замкнутой сети. Данный раздел состоит из двух
частей: расчет распределения потоков мощности без учета потерь на линии и
расчет распределения потоков мощности с учетом потерь на линии. Прежде чем
приступить к расчету сети с двухсторонним питанием, условно «разрезал» питающий
пункт и получил сеть с двумя пунктами. Предварительно на расчетной схеме
произвольно указал направления потоков мощностей по участкам. Так как на первом
этапе расчета потерями мощности можно пренебречь, то суммируя мощности
нагрузки, нашел линейные мощности на каждом участке. Распределение мощностей в
сети является принудительным и определяется нагрузками потребителей и условием
баланса мощностей в узлах. Полная мощность в каждой из ветвей сети получается
суммированием значений мощностей всех нагрузок, которые питаются по данному
участку (ветви) сети. Определив потокораспределение участков сети (первый этап
расчета), нашел потери мощности каждого участка (второй этап расчета). Суммируя
найденное потокораспределение с потерями мощности участков, определил полную
мощность на шинах подстанции «В» с учетом потерь мощности и зарядных мощностей
линии. Она составила 57,144+j·39,255
МВ·А.
В следующем пункте произвел расчет напряжений в
узлах схем и потерь напряжений. При передаче электроэнергии по сети в ее
элементах, помимо потерь мощности, происходят падения напряжения, которые
являются одним из количественных показателей, характеризующих режим работы
сети. Потери напряжения имеют место в трансформаторах и воздушных линиях.
Расчет КПД электрической сети является
завершающим разделом в режиме наибольших нагрузок. КПД электрической сети
составил 97,5%.
Расчет электрической сети в режиме наименьших
нагрузок осуществляется аналогично, с учетом, что нагрузка в данном режиме
составляет 45 % от наибольшей. Полная мощность на шинах подстанции в режиме
наименьших нагрузок составила 25,575+j·13,841
МВ·А. Разным режимам работы потребителей соответствуют разные потоки мощности и
разные потери напряжения. В режиме наибольших нагрузок сеть сильнее загружена и
потери в ее элементах больше. В режиме наименьших нагрузок потери значительно
меньше.
Завершающим разделом данной курсовой является
определение числа регулировочных ответвлений
трансформаторов подстанций №1 и №3 (оно составило для обеих подстанций ±2).
Регулирование напряжения осуществляется для поддержания определенного значения
напряжения в точках сети. В курсовом проекте используется один из видов
регулирования напряжения - с помощью устройства РПН (регулирование напряжения
под нагрузкой). РПН представляет собой автоматическое устройство, меняющее
рабочее ответвление витков обмотки трансформатора и изменяющее, таким образом
коэффициент трансформации. РПН размещают в обмотке ВН. Это позволяет,
во-первых, иметь наиболее плавное регулирование, так как число витков у обмотки
ВН больше, чем на НН, во-вторых, при переключении выполняется коммутация
меньших по величине, чем на стороне НН, и, в-третьих, включение РПН в
заземляющую нейтральна ВН значительно снижает требования к уровню изоляции
устройства регулирования.
Список используемой литературы
1. Задания на курсовой проект
«Расчет режимов работы электрических сетей» по дисциплине «Электрооборудование
источников энергии, электрических сетей и промышленных предприятий»: Учебное
пособие/ А.Н. Качанов - Орел, 2013 - 22 с.
. Лыков А.В. Электрические системы и
сети: Учебное пособие. - Новосибирск: Изд-во НГТУ, 2002. - 248 с.
. Мельников Н.А. Электрические сети
и системы, М., «Энергия», 1969 - 456с.
. Федоров А.А. Учебное пособие для
курсового и дипломного проектирования по электроснабжению промышленных
предприятий: Учеб. пособие для вузов/ А.А. Федоров, Л.Е. Старкова. - М.:
Энергоатомиздат, 1987. - 368 с.
. Электротехнический справочник: В 4
т. Т.2: Электрические изделия и устройства/ Под общ. ред. профессоров МЭИ В.Г.
Герасимова и др. (гл. ред. И.Н. Орлов) - 9-е изд., стер. - М.: Издательство
МЭИ, 2003. - 518 с.
. Князевский Б.А. Электроснабжение
промышленных предприятий / Б.А. Князевский, Б.Ю. Липкин. - М.: Высшая школа,
1986. - 400 с.
. Электрические системы и сети в
примерах и иллюстрациях: Учеб. пособие для электроэнерг. спец./ В.В. Ежов, Г.К.
Зарудский; Под ред. В.А. Строева. - М.: Высш. шк., 1999. - 352 с.
. Блок В.М. Электрические сети и
системы / В.М. Блок. -М.: Высшая школа, 1986. - 431с.