|
°Сm
|
|
|
|
|
|
|
|
|
|
|
11
|
0,25
|
300
|
0,8
|
1666
|
2
|
95
|
122
|
4
|
1
|
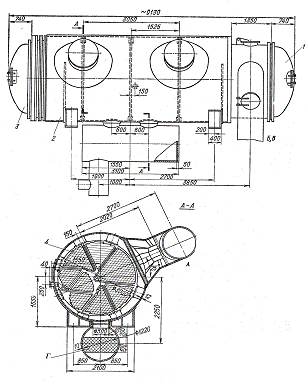
2. Тепловой расчет горизонтального подогревателя
сетевой воды
В основе теплового конструктивного расчёта рекуперативных
теплообменных аппаратов лежат 2 уравнения - уравнение теплового баланса и
уравнение теплопередачи.
Уравнение теплового баланса в общем виде
Q1 = Q2+ Qп,
где Q1 - теплота, отдаваемая горячим теплоносителем;
Q2 - теплота, воспри-нимаемая холодным
теплоносителем;
Qп - теплопотери на наружной поверхности
теплообменного аппарата.
В поверхностных рекуперативных теплообменных аппаратах ТЭС
греющая среда (пар) движется в межтрубном пространстве, а нагреваемая вода -
внутри труб кожухотрубного аппарата. В этом случае уравнение теплового баланса
может быть записано в виде
Q1 = Q2/h,
гдеh - коэффициент,
учитывающий тепловые потери на наружной поверхности аппарата. При этом
расчётной величиной для определения площади поверхности теплообмена является
тепловой поток, передаваемый через стенку от пара к воде Q2.
Уравнение теплопередачи
Q = kDtF,
где k - коэффициент теплопередачи;
Dt - средний температурный
напор;
F - площадь поверхности теплообмена.
Целью теплового конструктивного расчёта является определение
площади поверхности теплообмена из уравнения теплопередачи
F = Q/(kDt),
т.е. расчёт сводится к определению величин в правой части
уравнения.
.1 Определение мощности теплового потока
Уравнение теплового баланса для пароводяного теплообменного
аппарата может быть записано в следующем виде
D1(h’1 - h»1)h = G2(h»2 - h’2)2 = G2
cp2 (t» 2 - t’2)
Средняя температураt = (122 +95)/2 = 108,50C
cp2 = 4,232кДж/кг · К
Q2 = 666 · 4,232
(122 - 95 = 190363,8кВт
Q1 = Q/h= 190363/0,99 = 192286,7кВт1 = [G2
cp2 (t» 2 - t’2)/(h’1 - h»1)h
D1 = [1666 · 4,232
(122 - 95)] / [(3070,8 -
535,35) 0,99] = 75,8 кг/с
где D1, h’1, h»1и G2, h’2, h»2 - соответственно массовые расходы, энтальпии на
входе и на выходе из аппарата пара и воды.
2.2 Средний температурный напор
Для пароводяных сетевых теплообменных аппаратов греющей
средой является насыщенный водяной пар, который конденсируется на поверхности
труб. Температура насыщения tн при этом постоянна, поэтому независимо от схемы
движения теплоносителей средний температурный напор рассчитывается по формуле:
tн= 127,410С
.
Δt = (122 - 95) / ln
= 15,08 0С
2.3 Теплоотдача при вынужденном течении жидкости
внутри труб
Расчет теплоотдачи начинается с определения числа Рейнольдса:
tcр= (122 + 95)/2 = 108,5 0С
ρ = 952,2 кг/м3
ср = 4,232 кДж/кг ·к
λ = 68,5 ·10-2 Вт/м ·К
μ = 263,0 · 10-6 Па · с
= 0,274 · 10-6 м2/с
Pr = 1,62
Re1 = 2 · 0,022/ 0,274 · 10-6
=160583
Nu = 0,023 · 1605830,8·1,620,43
= 413,4
α2 = Nu·λ/d
= 413,4 · 0,685/0,022 = 12871 Вт/м2 · К
.4 Определение количества труб в пучке
Этот расчет предшествует окончательному определению
интенсивности теплоотдачи при конденсации, коэффициента теплопередачи,
плотности теплового потока, площади поверхности теплообмена и длины труб.
Количество труб в одном ходе воды определяется из уравнения
неразрывности потокакак
,
где m - число ходов воды; ρ - плотность воды при
средней температуре.
N = 4G/
= 4 · 1666/ 2 ·952,2 · 3,14 ·0,0222
= 2302,5
В одном ходе 2303 трубок
N= 4 · 2303 = 9212
Число рядов
n =
/2 =
/2 = 48
H = 48· 0,022 = 1,056
.5 Графоаналитический метод расчета
Применение этого метода обусловлено тем, что температура
наружной поверхности tс1 неизвестна, что затрудняет определение плотности
теплового потока.
Из условия стационарности теплообмена плотность теплового
потока при отнесении к площади наружной поверхности выражается равенствами
,
где
- средняя
температура воды
.
При этом средний температурный напор
.
Поскольку в уравнении все величины известны, кроме температурных
напоров и
, то уравнение можно представить в виде:
,
где b1, b2, b3 - константы.
;
;
λ = 0,685 Вт/м ·К
v = 0,238 · 10-6
ρ’ = 1,4 кг/м3
ρ’’= 936,8 кг/м3
Из уравнения
;
;
b1 = 0,943
[0,6853·9,81 · 2181150 · (936,8 - 1,4) /
0,238 · 10-6·1,056)0,25
= 1,2648 · 104
b2 = 2 · 105/[0,024 ·ln (0,024/0,022)] = 100574
α2 = Nuλ /d1 = 413,4· 0,685/ 0,022 = 12871 Вт/м2 ·
К
b3 = 12871·0,022/0,024 = 11798
Таблица 2 - Зависимость температурных напоров от плотности
теплового потока
|
Dt, oC
|
q, кВт м2
|
|
40
|
50
|
60
|
70
|
|
t1
|
4,64
|
6,25
|
7,97
|
9,79
|
|
0,390,490,60,69
|
|
|
|
|
|
3,394,235,085,93
|
|
|
|
|
|
8,4210,9613,6516,41
|
|
|
|
|
Приq = 40кВт/м2
Δt1 = (q/b1)4/3 =
(40000/12648)4/3 = 4,64 oC
Δtст= q/b2 = 40000/100574 = 0,39 oC
Δt2 = q/b3 = 40000/11798 = 3,39 oC
Приq = 50кВт/м2
Δt1 = (q/b1)4/3 =
(50000/12648)4/3 = 6,25 oC
Δtст= q/b2 = 50000/100574 = 0,49 oC
Δt2 = q/b3 = 50000/11798 = 4,23 oC
Δt1 = (q/b1)4/3 =
(60000/12648)4/3 = 7,97 oC
Δtст= q/b2 = 60000/100574 = 0,6 oC
Приq = 60кВт/м2
Δt1 = (q/b1)4/3 =
(70000/12648)4/3 = 9,79 oC
Δtст= q/b2 = 70000/100574 = 0,69 oC
Δt2 = q/b3 = 70000/11798 = 5,93 oC
Рисунок 2. Графоаналитическое определение плотности теплового
потока
Задавая плотность потока с определенным шагом, получают ряд
значений температурных напоров Δt1, Δt2,
Δt3и суммарный температурный напор в соответствии с уравнением.
Полученные расчетные данные заносят в таблицу 2, затем строят график
зависимости
(рисунок 2).Проектируя на кривую
зависимости суммарного напора
от плотности потока ранее рассчитанное значение среднего
температурного напора, получают искомое значение плотности теплового потока.
q = 66кВт/ м2 · К
F1 = Q/q = 190363,8/66,5 = 2862,6м2
Далее определяют значения частных температурных напоров
,
,
и температуры поверхностей труб
и
.
Приq = 66,5кВт/м2
Δt1 = (q/b1)4/3 = (66500/12648)4/3 =
9,14 0С
Δtст= q/b2 = 66500/100574 = 0,66 0С
Δt2 = q/b3 = 66500/11798 = 5,63 0С
tс1= 127,41 - 9,14 = 118,270С
tс2 = 108,5 + 5,63 = 114,130С
Затем определяют коэффициент теплопередачи по выражению
,
k = 66500/15,08 = 4409Вт/м2 · К
2.6 Конструктивный расчёт
Длина труб определяется через рассчитанную площадь
поверхности теплообмена. Длина аппарата определяется в соответствии с принятыми
соотношениями основных конструктивных элементов: длины корпуса, водяных камер и
т.д. Внутренний диаметр кожуха многоходового теплообменника может быть
определён по формуле
где fп - площадь поперечного сечения пучка; может быть определена как
сумма площадей поперечных сечений труб и межтрубного пространства по формуле
s = 1,3· 0,024 = 0,0312 м
fп= 9212· 3,14 ·
· 1,017 = 7,15 м2
Dв = 1,1
= 3,3 м
Здесь s - межцентровое расстояние между трубами,
при развальцовке s= (1,3…1,6) dн [7];
коэффициент , учитывающий площади криволинейных
треугольников между тремя смежными кругами, можно принять равным 1,017.
L1 = F1/πd2N = 2862,6/3,14 ·
0,024 ·9212 = 4,12 м
Сторона квадратного сечения
b =
=
= 2,67 м
Площадь боковой грани пучка
S = b·l = 2,67· 4,12 = 11,0м2
Скорость набегающего потока
w0 = G1 / ρ’ · S = 75,8/ 1,4 · 11,0 = 4,92 м/c
· ρ’
= 4,922 · 1,4 = 33,88 > 1
Средняя температура на последнем ходе составит:
= [122 + 0,5 (122 +95)]/2 = 115,250C
Температура поверхности стенки определяется как:
tс1= (
+ tн)/2 =
(115,25 + 127,41)/2 = 124,375 0C
а температура конденсата:
tн1= (
+ tн)/2 =
(124,375 + 127,41)/2 = 125,90C
При этой температуре
λ = 68,6 ·10-2
Вт/м ·к
= 0,244 · 10-6 м2/с
Pr = 1,41
r = 2118,043кДж/кг
ρ = 939,6 кг/м3
2.7 Конденсация на горизонтальных трубах и пучках
труб
Коэффициент теплоотдачи при конденсации неподвижного пара на
поверхности горизонтальной трубы или пучка труб.
где l0 - определяющий размер - наружный диаметр dн (d2) для одиночной трубы.
α = 0,725 · [0,6863· 9,81 · 2118043 (939,6 - 1,4)/
0,244 · 10-6(127,41 - 124,375) ·0,024]0,25 =
17685Вт/м2 · К
Коэффициент теплоотдачи для первого ряда пучка, омываемого
сверху вниз насыщенным паром, может быть рассчитан по формуле:
α1 = 25,7·17685 (1,4·4,922/
9,81 · 939,6· 0,024)0,08 (17685·0,024/0,686)-0,5
= 15725Вт/м2 · К
где αн - коэффициент теплоотдачи для первого
ряда пучка при конденсации неподвижного пара; все физические характеристики
конденсата и пара берутся при температуре насыщения. Для всего пучка средний
коэффициент теплоотдачи
можно определить по формуле
,
где x - степень сухости;
(1-x) - степень конденсации пара;
n - число рядов в пучке.
Если пар полностью конденсируется при прохождении через
пучок, то степень сухости на выходе x= 0, и уравнение примет вид:
αп= 0,84 · α1 / n0,07 = 0,84 · 15725/ 480,07 = 10073Вт/м2 · К
.8 Второе приближение
k = 1/[0,024 (1/(12871·
0,024) + ln (0,024/0,022)/2 · 105 + 1/(10073 · 0,022))]
= 5116Вт/м2 · К
Определим плотность теплового потока для 2-го приближения
q= kΔt = 5116 · 15,08 = 77149Вт/м2
F= Q/q
= 190363800/77149 = 2467,48м2
Расчёт длины трубопровода для 2-го приближения
L = F/πd2N = 2467,48/3,14 · 0,024 ·9212 = 3,55 м
Δ = (L2 - L1)/ L1 = (4,12 - 3,55)/4,12 =
0,138 = 13,8%
2.9 Третье приближение
Сторона квадратного сечения
b =
=
= 1,614 м
Площадь боковой грани пучка
S = b·l = 1,614· 1,086 = 1,752м2
Скорость набегающего потока
w0 = G1 / ρ’ ·S = 24,5/ 1,66 · 1,752 = 8,42 м/c
·ρ’ = 8,422 · 1,66 = 117,68 > 1
Средняя температура на последнем ходе составит:
= [95 + 0,5 (95 +70)]/2 = 88,750C
Температура поверхности стенки определяется как:
tс1= (
+ tн)/2 =
(88,75 + 133,5)/2 = 111,125 0C
а температура конденсата:
tн1= (
+ tн)/2 =
(111,125 + 133,5)/2 = 122,30C
При температуре 111,1250С
λ = 68,4 ·10-2
Вт/м ·к
= 0,227 · 10-6 м2/с
Pr = 1,41
r = 2226,646кДж/кг
ρ = 941,17 кг/м3
Конденсация на горизонтальных трубах и пучках
труб
Коэффициент теплоотдачи при конденсации неподвижного пара на
поверхности горизонтальной трубы или пучка труб.
где l0 - определяющий размер - наружный диаметр dн (d2) для одиночной трубы.
α = 0,725 · [0,6843· 9,81 · 2226646 (941,17 - 1,66)/
0,227 · 10-6(133,5 - 88,75) ·0,024]0,25 =
9288Вт/м2 · К
Коэффициент теплоотдачи для первого ряда пучка, омываемого
сверху вниз насыщенным паром, может быть рассчитан по формуле:
α1 = 25,7·9288 (1,66·8,422/
9,81 · 947,17· 0,024)0,08 (9288·0,024/0,684)-0,5
= 15725Вт/м2 · К
Для всего пучка средний коэффициент теплоотдачи
можно определить по формуле
,
где x - степень сухости;
(1-x) - степень конденсации пара;
n - число рядов в пучке.
Если пар полностью конденсируется при прохождении через
пучок, то степень сухости на выходе x= 0, и уравнение примет вид:
αп= 0,84 · α1 / n0,07 = 0,84 · 15725/ 480,07 = 10073Вт/м2 · К
k = 1/[0,024 (1/(8036· 0,024) + ln (0,024/0,022)/2 · 105 + 1/(10708 · 0,022))]
= 4234 Вт/м2 · К
Определим плотность теплового потока для 3-го приближения
q= kΔt = 4234 · 50 =
211700 Вт/м2
Далее рассчитывается площадь поверхности теплообмена для 3-го
приближения:
F= Q/q
= 58352200/211700 = 275,63м2
Расчёт длины трубопровода для 3-го приближения
L = F/πd2N = 275,63/3,14 · 0,024 ·3352 = 1,09 м
Δ = (L2 - L1)/ L1 = (1,09 - 1,086)/1,086 =
0,0037= 0,37%
Таблица 3 - Результаты теплового расчета ПСГ
,

,
МВт
,

,
2,

°CF,
м2N,
мDв,
|
м
|
|
|
|
|
|
|
|
|
|
|
58,2522
|
58941,6
|
12563
|
8036
|
10708
|
50
|
275,63
|
3352
|
1,09
|
2
3. Определить, как изменятся F и , если на внутренней поверхности труб
появится слой накипи толщиной 0,15 мм с теплопроводностью н = 0,8 Вт/(м.К).
Уже известно
Q2 = 58352,2кВт
Δt= 50 0С
a1 = 8036 Вт/м2 · К
a2= 10708 Вт/м2 · К
dн = d1 - 2δ = 22 - 2 · 0,15 =
21,7 мм = 0,0217 м
k = = = 2267Вт/м2·К
F = Q/
Δtk = 58352200/50·2267 = 514,79м2
L= F1/πd2N = 514,79/3,14 · 0,024 · 3352 =
2,038 м2/F1 = 514,79/275,63 = 1,867 L2/L1
= 2,038/1,086 = 1,867
Вывод: если на внутренней поверхности труб
появится слой накипи толщиной 0,15 мм, то уменьшится коэффициент теплоотдачи, а
площадь поверхности теплообмена F и высота труб Н увеличатся в 1,977 раз.
Заключение
В данной курсовой работе рассчитаны параметры горизонтального
подогревателя сетевой воды:
Мощность подогревателя.
Количество трубок внутри подогревателя.
Площадь поверхности трубок.
Длина трубок.
Внутренний диаметр кожуха многоходового теплообменника.
Температурный напор.
Коэффициенты теплоотдачи и теплопередачи.
Плотность теплового потока.
По результатам дополнительного задания сделанного в курсовой
работе можно сделать следующий вывод:
Даже малый слой накипи, образующийся на внутренних стенках
трубы, во много раз ухудшает её теплопроводные свойства.
Список использованных источников
1.
Авчухов В.В., Паюсте Б.Я. Задачник по процессам тепломассообмена/ В.В. Авчухов,
Б.Я. Паюсте. - М.: Энергоатомиздат, 1986. - 144 с.
.
Александров А.А., Григорьев Б.А. Таблицы теплофизических свойств воды и
водяного пара: справочник/ А.А. Александров, Б.А. Григорьев. - М.: Издательство
МЭИ, 1999. - 168 с.
.
Домрачев Б.П., Корнеев В.В. Тепловой конструктивный расчёт подогревателя
питательной воды высокого давления: метод. указания по выполнению курсовой
работы/ Б.П. Домрачев, В.В Корнеев. - Иркутск: Изд-во ИрГТУ, 1997. - 32 с.
.
Исаченко В.П. [и др.]. Теплопередача/ В.П. Исаченко [и др.]. - М.: Энергоиздат,
1981. - 416 с.
.
Краснощёков Е.А., Сукомел А.С. Задачник по теплопередаче/ Е.А. Красно-щёков,
А.С. Сукомел. - М.: Энергия, 1980. - 288 с.
.
Назмеев Ю.Г., Лавыгин В.М. Теплообменные аппараты тепловых электрических
станций/ Ю.Г. Назмеев, В.М. Лавыгин. - М.: Энергоатомиздат, 1998. - 285 с.
.
Промышленная энергетика и теплотехника: cправочник/ под ред. Б.А.
Григорьева и В.М. Зорина. - М.: Энергоатомиздат, 1983. - 552 с.
.
Рыжкин В.Я. Тепловые электрические станции/ В.Я. Рыжкин - М.: Энергоатомиздат,
1987. - 328 с.
.
Тепловые и атомные электрические станции: cправочник/ под ред. В.А.
Григорьева и В.М. Зорина. - М.: Энергоиздат, 1982. - 624 с.
.
Тепло- и массообмен. Теплотехнический эксперимент: cправочник/под ред. В.А.
Григорьева и В.М. Зорина. - М.:Энергоиздат, 1982. - 552 с.
Похожие работы на - Расчет регенеративных подогревателей
|