Разработка конденсационной электрической станции для электрической мощности 300 МВт

  • Вид работы:
    Дипломная (ВКР)
  • Предмет:
    Физика
  • Язык:
    Русский
    ,
    Формат файла:
    MS Word
    129,44 Кб
  • Опубликовано:
    2015-03-25
Вы можете узнать стоимость помощи в написании студенческой работы.
Помощь в написании работы, которую точно примут!

Разработка конденсационной электрической станции для электрической мощности 300 МВт

Содержание

Введение

. Выбор основного оборудования и разработка вариантов схем и выдачи энергии

.1 Разработка структурных схем

.2 Выбор основного электрического оборудования

. Экономическая часть

. Расчет токов короткого замыкания

. Выбор аппаратов

.1 Выбор выключателей

.2 Выбор разъединителей

.3 Выбор разрядников

. Выбор токоведущих частей

. Выбор измерительных приборов и измерительных трансформаторов

.1 Выбор измерительных приборов

.2 Выбор трансформаторов тока

.3 Выбор трансформаторов напряжения.

. Выбор типов релейной защиты

.1 Защиты блока генератор - трансформатор.

.2 Защита автотрансформаторов (АТ).

.3 Защиты трансформаторов собственных нужд.

.4 Защита шин

.5 Защита ЛЭП.

. Выбор конструкций и описания распределительных устройств

. Специальная часть

. Охрана труда, техника безопасности и экология

.1 Структура организации охраны труда на предприятиях электрических сетей

.2 Особенности организации охраны труда и техники безопасности на подстанции

.3 Экология и охрана окружающей природной среды

Список использованной литературы

Введение

Развитие экономики неразрывно связано с электрификацией всех отраслей народного хозяйства. Огромное количество электроэнергии, вырабатываемой генераторами различных типов электростанций, передается потребителям, которыми являются промышленность, сельское хозяйство, строительство, транспорт и коммунальное хозяйство городов.

Передача электроэнергии от источников к потребителям производится энергетическими системами, объединяющими несколько электростанций. Энергосистемы продолжают оставаться основным источником электроснабжения потребителей электроэнергии, в том числе наиболее энергоемких, каковыми являются промышленные предприятия.

Реализация требований надежности, качества, экономичности обеспечивает снижение затрат при сооружении и эксплуатации всех элементов системы электроснабжения, выполнение с высокими технико-экономическими показателями планов электрификации всех отраслей народного хозяйства, надежное и качественное электроснабжение промышленных предприятий. В результате увеличивается электровооруженность труда, а это в свою очередь обеспечивает рост производительности труда и степень его механизации.

Целью данного дипломного проекта является разработка проекта КЭС на 300 Мвт.

В данном дипломном проекте представлена разработка конденсационной электрической станции для электрической мощности 300 МВт. Для выполнения проекта в начале необходимо произвести расчет ПТС и определить основные показатели тепловой экономичности при ее общей мощности. Далее нужно определить технико-экономические показатели, выбрать вспомогательное оборудование и произвести расчет топливного хозяйства. В конце расчета необходимо выбрать компоновку главного корпуса и генеральный план проектируемой станции. По окончании расчета необходимо выполнить индивидуальное задание и графическую часть дипломного проекта.

1. Выбор основного оборудования и разработка вариантов схем выдачи энергии

.1 Разработка структурных схем

До разработки главной схемы составляются структурные схемы выдачи электроэнергии, на которых показываются основные функциональные части установки.

На КЭС экономически целесообразно устанавливать агрегаты больших мощностей.

Структурные схемы двух вариантов выдачи энергии представлены на рис. 1

Рисунок 1 - Структурные схемы выдачи энергии

.2 Выбор основного электрического оборудования

К основному электрическому оборудованию электростанций относятся генераторы и трансформаторы. Количество и их параметры выбираются в зависимости от типа, мощности и схемы станции, мощности энергосистемы и других условий.

Генераторы.

При выборе числа и мощности генераторов следует руководствоваться следующими соображениями:

-        все генераторы принимаются одинаковой мощности;

-        число генераторов должно быть не менее двух и не более восьми;

-        единичная мощность генератора не должна превышать 10 % установленной мощности системы, включая проектируемую КЭС.

-        Таким образом, выбираем следующие генераторы для обоих вариантов:

-        6хТВВ - 500 - 2ЕУ3.

Трансформаторы.

Мощность двухобмоточного трансформатора, работающего в блоке с одним генератором, принимается равной мощности генератора в МВ·А (при номинальном коэффициенте мощности).

Вариант №1: 6хТЦ - 630000/500

Вариант №2: 5хТЦ - 630000/500 и ТЦ - 630000/220 - 74У1

Номинальная мощность автотрансформаторов определяется исходя из перетока мощности с шин одного напряжения на шины другого в нормальном режиме и при остановке одного генератора, присоединённого к шинам среднего напряжения Sпер. макс.

Считаем, что связь между частями системы осуществляется только на проектируемой электростанции. В нашем случае устанавливаются 3 автотрансформатора для варианта №1 и два автотрансформатора для варианта №2.

Исходя из этого, выбираем тип автотрансформаторов:

АОДЦТН - 267000/500/220

В этом случае при отключении одного из них оставшиеся смогут взять нагрузку.

2. Экономическая часть

1) Абсолютные капиталовложения проектируемого объекта КЭС мощность

* 300 МВт+ 2400

Капитальные вложения в строительство КЭС определяются по формуле:


 тыс..тенге

где  - капиталовложения в первый (головной) блок, тыс.тенге

 - капиталовложения в каждый последующий блок, тыс. тг.

 - количество блоков, 8 шт.;

 - коэффициент, учитывающий территориальный район строительства (для Казахстана - 1,08).

 приведены в приложении для разных видов топлива.

2) Удельные капиталовложения


 тенге\кВт

где Ку - абсолютная величина капитальных вложений, тыс. тг.;

 - установленная максимальная мощность станции, тыс. кВт.

·        Годовая выработка электрической энергии КЭС подсчитывается по формуле:


где  - установленная расчетная мощность турбин одного типа, принимаемая по номинальному значению для турбин с двойным обозначением мощности, МВт;

 - число часов использования установленной расчетной мощности, ч. Принято в расчет 7000 час

3) Число часов использования расчетной установленной мощности в целом ТЭЦ:

 ч

где  - годовая выработка электроэнергии в целом по КЭС, МВт.ч;

 - установленная расчетная мощность электростанции, МВт.

) Годовой расход электрической энергии на собственные нужды (твердое топливо - уголь) и составляет:


Wсн= 7,5 * 8 * 67,0 + 0,2 * 16800= 520,8 МВт /час

5) Удельный расход электроэнергии на собственные нужды в целом по КЭС рассчитывается по следующей формуле :


6) Годовой отпуск электроэнергии с шин электростанции определяется по формуле:

Годовой отпуск электрической энергии с шин станции составляет:


где  - годовая выработка электрической энергии, МВт.ч;

 - расход электроэнергии на собственные нужды, МВт.ч.

) Годовой расход условного топлива определяется по топливным характеристикам которая имеет вид:


где  - число однотипных турбоагрегатов, шт8.;

 -7000 число часов работы блока в течение года

N- 300 номинальная мощность блока МВТ

 - годовая выработка электрической энергии, тыс. 16800 МВт.ч;

8) Годовой расход натурального топлива на технологические цели рассчитывается по формуле

Для твердого топлива:


,0·60=360+2100=2460тенге

где Цпр - оптовая прейскурантная цена 1 т натурального топлива, для угля тг./т (2175 тенге), д;

Цтр - затраты на транспортировку 1 т топлива 7,0 тенге при транспортировке его по железнодорожным путям широкой колеи S -135 расстояние, на которое транспортируется топливо, км;

Вн - годовой расход натурального топлива на энергетические котлы, т.н.т./год; для топлива газ - тыс. м3/год.

)

где Ву - годовой расход условного топлива в целом по КЭС, т.т.у.т./год;

 - удельная теплота сгорания натурального топлива, 19050 кДж/кг. Для угля удельная теплота приведена в приложении

 -1,3 потери топлива в пути до станции назначения в пределах норм естественной убыли, %, (таб. 19.1.4)

) Цена одной тонны условного топлива:

тг./т.у.т.

где Итопл - издержки на сжигание топлива в энергетических котлах, тыс. тг./год;

Ву - годовой расход условного топлива в целом поКЭС, тыс. т.у.т./год.

) Вода на технологические цели


где  - удельный коэффициент в тенге на 1000 т. расходуемого за год натурального топлива, 2000 тенге на 1000 т всех видов твердого натурального топлива;

= 4500 тенге на 1 т/час суммарной часовой производительности всех котлов;

 - удельный коэффициент в тенге на 1 кВт установленной мощности КЭС

тенге на 1 кВт установленной мощности для блочных станцией с давлением

Вн - расход натурального топлива на энергетические котлы, тыс. т/год;

 -900*8=7200 номинальная паропроизводительность всех установленных энергетических котлов, т/ч;

 - установленная (номинальная) мощность станции, МВт;

10-3 - перевод тенге в тыс. тенге (для второго слагаемого)

) Основная заработная плата производственных рабочих

Рассчитывается по формуле:


 =850-1080 тыс. тг. - средняя заработная плата одного производственного рабочего в год, тыс. тг./чел.год.

Месячная тарифная ставка (должностной оклад) определяется путем умножения минимального расчетного показателя- МРП данного учетного периода в 2014 году составляет 19966 тенге на коэффициент соответствующего разряда

Численность эксплуатационного персонала для данной электростанции 610 чел., имеющих 5 разряд

Численность ремонтного персонала 1110 чел. 4 разряд

Численность специалистов 120 чел. 10% от общего числа работников

В расчет принимаем месячный должностной оклад:

Для эксплуатационного персонала 70,0 тыс.тенге

Для ремонтного персонала 72,0 тыс.тенге

Для специалистов станции 85,0 тыс. тенге

Иэкспзп=610·12·70=512400,0 тыс.тенге

Ир.п.зп=1110·12· 72,0=959040,0 тыс.тенге

Испецзп=120·12· 85,0=122400,0 тыс.тенге

Годовой фонд по оплате труда персонала КЭС составил

Изпл=512400,0+959040,0+122400,0=1593840 тыс.тенге

Среднегодовая зарплата одного работника составляет:

: 1840чел =866218 тенге

13) Расчет отчислений на социальный налог

 тг./год

) Расходы по содержанию и эксплуатации оборудования


Иэкс=1,15 *1478736,0 = 1700546,4тыс.тенге/год

где =1,15-1,35 - коэффициент, учитывающий затраты на текущий ремонт и обслуживание оборудования

 - амортизационные тчисления по производственному оборудованию:

где =7-8% - норма амортизационных отчислений по производственному оборудованию;

 - стоимость оборудования, составляет 60-70% от капиталовложений в строительство ТЭЦ, т.е.

Соб=0,6· 35208000,0=21124800,0тыс.тенге

) Цеховые расходы


) Общестанционные расходы

К этой статье относятся расходы по управлению энергопредприятием:

 тыс.тенге

) Общие издержки производства на Конденсационной электрической станции мощностью 2400 МВт.

В общие издержки производства на КЭС включаются все рассчитанные затраты:

тыс.тенге

) Себестоимость отпущенной электрической энергии составляет:

19) Топливная составляющая себестоимости по отпуску электрической энергии:

тг./(кВт.ч)

) Расчет суммы составляющих по отпуску электрической энергии по всем статьям затрат:

 

) Сумма составляющих структуры затрат должна составить 100%.


Таблица 1 - Калькуляция себестоимости электрической энергии Конденсационной электрической станции мощность -2400 МВт

Наименование статей затрат

Годовые издержки производства

 Затраты на:


И, тыс. тг./год

Структура, %

На электроэнергию




Иэ, тыс. тг./год

sэотп, тг./кВт.ч

Топливо на технологические цели

20497212

82,47

20497212

1,259

Вода на технологические цели

313044,4

1,26

313044,4

 0,019

Заработная плата

1593840

6,41

1593840

0,098

Социальный налог

175322,4

0,71

175322,4

00,011

Эксплуатационные расходы

1700546,4

6,84

1700546,4

0,105

цеховые расходы

25820

1,03

25820

0,0,016

Общестанционные расходы

317962,8

1,28

317962,8

0,0,019

Всего

24853010,0

100

24853010,0

1,527


3. Расчет токов короткого замыкания

Для выбора и проверки электрических аппаратов необходимо, прежде всего, правильно оценить расчётные условия КЗ: составить расчётную схему, наметить места расположения расчётных точек КЗ, определить расчётное время протекания тока КЗ и расчётный вид КЗ.

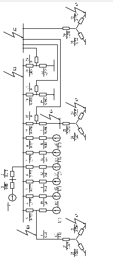
Составим расчётную схему (рис. 1), которая представляет собой однолинейную электрическую схему проектируемой станции, в которую включены все источники питания и все возможные связи между ними и системой.

Рассчитаем сопротивления элементов, используя данные задания и параметры выбранных ранее трансформаторов и генераторов.

Расчёт будет производиться в относительных единицах. Принимаем Sб = 1000 МВ·А.

Линии:


где Худ - удельное сопротивление 1 км линии, равное 0,4 Ом.

l - длина линии, 150 км;

Uср.н.2 - средненоминальное напряжение, 525 кВ;

n - число цепей, 3.

Трансформаторы блока (ТЦ - 630000/500)

Трансформаторы собственных нужд (ТРДНС - 40000/35).


Пускорезервные трансформаторы СН.

ТРДНС - 63000/220

ТРДНС - 63000/35

Автотрансформаторы связи (АОДЦТН - 267000/500/220)


Генераторы (ТВВ - 500 - 2ЕУЗ)



Рисунок 2

Рассчитаем точки короткого замыкания.

Точка К1

Схему (рис. 1) свернём к схеме на рис. 2, где имеется две ветви источников питания - система и все генераторы станции.

Рисунок 3 - Сопротивление схемы

Сопротивления схемы на рис. 3 рассчитаем:

Х33 = Х1 + Х2 = 0,05 + 0,073 = 0,123

Х34 = 1/6·(Х3 + Х9) = 1/6·(0,222 + 0,41) = 0, 105

ЭДС остаются прежними:

Ес = 1,0

Е7 = Е1 = Е2 = Е3 = Е4 = Е5 = Е6 = 1,13

Периодические составляющие тока КЗ в относительных единицах:

I*по = Е/Х

I*пос = 1,0/0,123 = 8,13

I*пог = 1,13/0,105 = 10,762

Базисный ток:


где Uср.н. - средненоминальное напряжение ступени, для которой рассчитывается КЗ.

Для К1 Uср.н. = 525 кВ.

тогда:

Iпос = I*пос · Iб = 8,13 · 1,099 = 8,935 кА

Iпог = I*пог · Iб = 10,762 · 1,099 = 11,827 кА

Ударный ток:


где Ку - ударный коэффициент, для шин повышенного напряжения станции с трансформаторами 100 МВ·А и выше Ку = 1,93.

Ток КЗ в производный момент времени переходного процесса находится по типовым кривым для момента расхождения контактов выключателя τ.

τ = τр.з. + τс.в.,

гдеτр.з. - время действия релейной защиты, можно принять 0,01с.

τс.в. - собственное время отключения выключателя, для выключателей

кВ это время 0,055 с.

τ = 0,01 + 0,055 = 0,065 с.

Номинальный ток генераторов:


Находим отношение Iпо/Iнг≈ 4 (четвёртая типовая кривая)

Отсюда: К = 0,88.

Тогда:

Iг = К·Iпог = 0,88·11,827 = 10,408 кА

Iс = Iпос = 8,935 кА

Величина асимметричного тока в момент размыкания контактов:

,

где Та - постоянная времени затухания апериодической составляющей тока КЗ. Для шин повышенного напряжения станции с трансформаторами 100 МВ·А и выше Та = 0,14 с.

,

,

Находим суммарные значения токов:

Iпо = Iпос + Iпог = 8,935 + 11,827 = 20,762 кА

iу = 56,668 кА

Inτ = Inτc + Inτг = 8,935 + 10,408 = 19,343 кА

i = iг + iаτс = 10,514 + 7,943 = 18,457 кА

Максимальное значение асимметричного тока:


Точка К2.

Схема (рис. 1 преобразуется к виду на рис. 4

Рисунок 4 - Преобразованная схема


Дальнейшее преобразование схемы к виду на рис. 5 производим с помощью формул потокораспределения:

Рисунок 5 - преобразованная схема потокораспределения


Дальнейшие расчёты аналогичны расчётам точки К1.

Результаты расчётов сведём в табл. 2

Таблица 2 - Результаты расчетов

Точка КЗ

Iпо, кА

Ку

iу, кА

I, Ка

i, кА

iк, кА

1

20,762

1,93

56,668

19,343

18,457

45,812

2

23,832

1,93

57,667

20,054

19,281

3

27,331

1,85

73,138

23,128

16,763

47,635

4

10,123

1,93

25,16

10,417

4,97

18,053

5

25,419

1,85

70,436

22,547

13,63

43,177

6

158,534

1,98

473,527

-

-

-

7

19,758

1,85

42,391

16,776

9,45

29,56


4. Выбор аппаратов

.1 Выбор выключателей

Электрические аппараты выбираются по расчётным условиям нормального режима с последующей проверкой их работоспособности в аварийных режимах. При этом расчётные величины должны быть меньшими или равным каталожным параметрам.

Расчётные и каталожные параметры выключателей на 500 кВ сводим в табл. 3

Таблица 3 - Высоковольтные выключатели 500 Кв

Параметры

Выключатель ВВ - 500Б - 31,5/2000 У1


Расчётные величины

Каталожные величины

Условия выбора проверки

Номинальное напряжение

500 кВ

500 кВ

500 = 500

Номинальный ток

Iр мах = 712,9 А

Iн = 2000 А

712,9 < 2000

Номинальный ток отключения:




- симметричный

Iпτ = 19,343 кА

Iн откл = 31,5 кА

19,343 < 31,5

- асимметричный

iк = 45,812 кА

√2·Iн откл ·(1+β)

45,812 < 53,29

Номинальный ток динамической стойкости




- симметричный

Iпо = 20,762 кА

Iдин = 31,5 кА

20,762 < 31,5

- асимметричный

iу = 56,668 кА

iмах = 80 кА

56,668 < 80

Номинальный тепловой импульс

Iпо2(tоткла)

It2·tt

88,37 < 2976,75


Расчётные и каталожные параметры на 220 кВ сведём в табл. 3

На стороне 6 кВ (собственные нужды) устанавливаются шкафы выкатного исполнения на базе электромагнитных выключателей. Для рабочих и резервных трансформаторов СН устанавливаем шкаф К - ХХ/(К - ХХV) на базе выключателя ВЭС - 6 - 40/3200 УЗ. Из табл. 2 видим, что проверку достаточно выполнить для точки КЗ за трансформатором ПРТСН - 220 кВ, для которого точки КЗ имеют наибольшую величину.

Расчётные (для этого трансформатора) и каталожные параметры выключателя (установленного в шкафу) приведены в табл. 3

На стороне 20 кВ (между автотрансформатором и пускорезервным трансформатором) установим воздушный выключатель ВВУ - 35А - 40/3150 У1.

Расчётные и каталожные параметры выключателя приведены в табл. 4.

Таблица 4 - Высоковольтные выключатели 220 кВ

Параметры

Выключатель ВВБ - 220Б - 31,5/2000 У1


Расчётные величины

Каталожные величины

Условия выбора проверки

Номинальное напряжение

220 кВ

220 кВ

220 = 220

Номинальный ток

Iр мах = 981 А

Iн = 2000 А

1837 < 2000

Номинальный ток отключения:




- симметричный

Iпτ = 20,054 кА

Iн откл = 31,5 кА

20,054 < 31,5

- асимметричный

iк = 46,133 кА

√2·Iн откл ·(1+β)

46,133 < 54,6

Номинальный ток динамической стойкости




- симметричный

Iпо = 23,832 кА

Iдин = 40 кА

23,832 < 40

- асимметричный

iу = 57,667 кА

iмах = 102 кА

57,667 < 102

Номинальный тепловой импульс

Iпо2(tоткла)

It2·tt

116,43 < 4800


Таблица 5 - Выключатели КРУ внутренней установки 6 кВ

Параметры

Шкаф выкатного исполнения К-ХХ/(К-ХХV) с ВЭС-6-40/3200 УЗ.


Расчётные величины

Каталожные величины

Условия выбора проверки

Номинальное напряжение

6 кВ

6 кВ

6 = 6

Номинальный ток

3031,57 А

3200А

3031,57 < 3200

Номинальный ток отключения:




- симметричный

Iпτ = 23,128 кА

Iн откл = 40 кА

23,128 < 40

- асимметричный

iк = 47,635 кА

√2·Iн откл ·(1+β)

47,635 < 67,68

Номинальный ток динамической стойкости




- симметричный

Iпо = 27,331 кА

Iдин = 40 кА

27,331 < 40

- асимметричный

iу = 73,138 кА

iмах = 128 кА

73,138 < 128

Номинальный тепловой импульс

Iпо2(tоткла)

It2·tt

153,13 < 6400

Таблица 6

Параметры

Выключатель ВВУ - 35А - 40/3150 У1


Расчётные величины

Каталожные величины

Условия выбора проверки

Номинальное напряжение

20 кВ

35 кВ

20 < 35

Номинальный ток

Iр мах = 2425 А

Iн = 3150 А

2425 < 3150

Номинальный ток отключения:




- симметричный

Iпτ = 10,417 кА

Iн откл = 40 кА

10,417 < 40

- асимметричный

iк = 18,053 кА

√2·Iн откл ·(1+β)

18,053 < 73,5

Номинальный ток динамической стойкости




- симметричный

Iпо = 10,123 кА

Iдин = 40 кА

10,123 < 40

- асимметричный

iу = 25,16 кА

iмах = 102 кА

25,16 < 102


.2 Выбор разъединителей

В РУ - 500 кВ используются разъединители с одним и двумя заземляющими ножами. Расчётные и каталожные данные выбора разъединителей приведены в табл. 7

Таблица 7 - Разъединители 500 кВ

Параметры

РНД3.1-500/3200ХЛ1 РНД3.2-500/3200ХЛ1


Расчётные величины

Каталожные величины

Условия выбора проверки

Номинальное напряжение

500 кВ

500 кВ

500 = 500

Номинальный ток

Iр мах = 712,9 А

Iн = 3200 А

712,9 < 3200

Номинальный ток динамической стойкости

56,668 кА

160 кА

56,668 < 160

Номинальный тепловой импульс

Iпо2(tоткла)

It2·tt

88,37 < 7938


В РУ - 220 кВ так же используются разъединители с одним и двумя заземляющими ножами. Расчётные и каталожные параметры выбора разъединителей приведены в табл. 8

Таблица 8 - Разъединители 220 кВ

Параметры

РНД3.1-220/2000У1 РНД3.2-220/2000У1


Расчётные величины

Каталожные величины

Условия выбора проверки

Номинальное напряжение

220 кВ

220 кВ

220 = 220

Номинальный ток

Iр мах = 981 А

Iн = 2000 А

1837 < 2000

Номинальный ток динамической стойкости

57,667 кА

100 кА

57,667 < 100

Номинальный тепловой импульс

Iпо2(tоткла)

It2·tt

116,43 < 4800


.3 Выбор разрядников

Для защиты от атмосферных и кратковременных внутренних перенапряжений изоляции оборудования применяют следующие виды разрядников:

РВМГ - 500 У1

РВМГ - 220 МУ1

РВМ - 20 У1.

5. Выбор токоведущих частей

ОРУ - 500 Кв

В качестве сборных шин ОРУ - 500 кВ выбираем гибкие сталеалюминевые провода марки АС. Выбор и проверку производим исходя из следующих условий:

А)


Для провода АС - 400/51 Iдоп = 825А

,93 < 825

Б) По условию короны для Uн = 500 кВ применяем три провода в фазе.

В) На термическую стойкость не проверяются.

Гибкая ошиновка РУ выполняется теми же проводами, что и сборные шины.

ОРУ - 220 кВ.

В качестве сборных шин ОРУ - 220 кВ выбираем гибкие провода марки АС. Выбор и проверку производим исходя из следующих условий:

А)


Выбираем провода 2хАС - 500/64 Iдоп = 2·945 = 1890А

1653  890

Б) По условию короны удовлетворяют.

В) На термическую стойкость не проверяются.

Гибкая ошиновка РУ выполняется теми же проводами, что и сборные шины.

Провода для соединения ПРТСМ на 20 кВ применяем сталеалюминевые.

А)

Выбираем провода 2хАС - 400/51 Iдоп = 2·825 = 1650А

,45 < 1650

Б) По условию короны удовлетворяют.

В) На термическую стойкость не проверяются.

Комплектные токопроводы в вводах 6 кВ:

Рабочие ТСН:


Выбираем токопровод ТЗК - 6 - 2000 - 81.

Iн = 2000 AIн > Iут

Проверяем на электродинамическую стойкость:

iэ.дин. = 81 кА;iу = 42,391 кА;iу < iэ.дин.

ПРТСМ:


Выбираем токопровод ТЗМЭП - 10 - 3150 - 128.

Uн = 10 кВUр = 6 кВ 6 < 10

Iн = 3150 AIут = 3031,17 АIн > Iут

Проверяем на электродинамическую стойкость:

iэ.дин. = 128 кА;iу = 73,138 кА;iу < iэ.дин.

Для подвески гибких шин применяются следующие гирлянды изоляторов:

кВ:22хПС - 6А

кВ:15хПС - 6А

В цепи генератора применяем пофазный экранированный токопровод с электрически непрерывным кожухом ТЭКМ - Е - 20 - 20000 - 560.

А) Uн = 20 кВ;Uраб = 20 кВ;20 = 20

Б) Iн = 20000 А;Iраб мах = 16974,5 А;Iн > Iраб мах

В) Электродинамическая стойкость:

iэл.дин. = 560 кА;iу = 477,527 кА;iу < iэл.дин.

6. Выбор измерительных приборов и измерительных трансформаторов

.1 Выбор измерительных приборов

1)       Турбогенератор.

Статор: Тип прибора Класс точности

А) Амперметр в каждой фазе Э - 3771,5

Б) Вольтметр Э - 3771,5

В) Ваттметр Д - 3651,5

Г) Варметр Д - 3652,5

Д) Счётчик активной энергии И - 6751,0

2)       Счётчик реактивной энергии И - 675М2,0

Регистрирующие приборы:

А) Ваттметр Н- 3951,5

Б) Амперметр Н - 3931,5

В) Вольтметр Н - 3931,5

) Ротор:

А) Амперметр Э - 3771,5

Б) Вольтметр Э - 3771,5

В) Регистрирующий амперметр Н - 393 1,5

3)       Блочный трансформатор.

НН: -

ВН: Амперметр Э - 3771,5

5)       Автотрансформатор связи.

НН: Амперметр Э - 3771,5

Ваттметр Д - 3651,5

Варметр с двухсторонней шкалой Д - 3652,5

СН: то же

ВН: Амперметр Э - 3771,5

6)       Трансформатор собственных нужд.

Сторона питания: Амперметр Э - 3771,5

Ваттметр Д - 3651,5

Счётчик активной энергии И - 6751,0

Ввод к секциям 6,3 кВ:

Амперметр Э - 3771,5

Ваттметр Д - 3651,5

Счётчик активной энергии И - 6751,0

7)       ЛЭП 220 кВ:

Амперметр Э - 3771,5

Ваттметр Д - 3651,5

Варметр Д - 3652,5

Счётчик активной энергии И - 6751,0

Счётчик реактивной энергии И - 673М2,0

8)       ЛЭП 500 кВ:

Амперметр Э - 3771,5

Ваттметр Д - 3651,5

Варметр Д - 3652,5

Осциллограф

Счётчик активной энергии И - 6751,0

.2 Выбор трансформаторов тока

Цепь генератора.

Встроенные в токопровод трансформаторы тока ТШЛ20Б - III 18000/5

Подсчёт вторичной нагрузки трансформатора тока приведён в табл. 9

Таблица 9 - Подсчёт вторичной нагрузки трансформатора тока

Прибор

Тип

Кол-во

Потребляемая мощность, В·А




Фаза А

Фаза В

Фаза С

Амперметр

Э-377

3

0,1

0,1

0,1

Ваттметр

Д-365

1


0,5

Варметр

Д-365

1

0,5


0,5

Счётчик активной энергии

И-675

1

2,5


2,5

Счетчик реактивной энергии

И-675М

1

2,5

2,5

2,5

Регистрирующий ваттметр

Н-395

1

10


10

Регистрирующий амперметр

Н-393

1

10

10

10

Суммарная нагрузка



26.1

12,6

26,1


Наибольшая нагрузка приходится на ТТ фаз А и С Sприб = 26,1 В·А

rприб= Sприб / I22 = 26,1/ 52 = 1,04 Ом

Тогда rпр = Z2 ном - r приб - r к,

где rк - сопротивление в контактах, Ом;

rпр - сопротивление соединительных проводов, Ом;

Z2 ном - номинальная нагрузка, Ом.

rпр = 1,2 - 1,04 - 0,1 = 0,06 Ом.

Ориентировочная длина l = 10 м.

Во вторичных цепях электростанции с генераторами 100 МВт и выше используются медные жилы (ρ = 17,5·10-9 Ом·м)

Тогда расчётное сечение проводов:


Выбираем кабель АКРВГ с жилами 3 мм2.

Цепь собственных нужд.

В трансформатор СН встроены трансформаторы тока типа ТВТ - 35 - 4000/5.

С низкой стороны (6 кВ) трансформатора СН устанавливаем трансформаторы тока типа ТПЛШ - 10 - 4000/5.

Iр.мах = 3031,57 А < I н = 4000 А

Uр.мах = 6 кВ < Uн = 10 Кв

Подсчёт вторичной нагрузки приведён в табл. 10

Таблица 10 - Подсчёт вторичной нагрузки

Прибор

Тип

Наибольшая потребляемая мощность

Амперметр

Э - 377

0,5

Счётчик активной энергии

И - 675

2,5


rприб = Sприб/Iр = 3,0/52 = 0,12 Ом

Тогда: rпр = Z2 ном - r приб - rк, где

Z2ном = 0,8 Ом

rпр = 0,8 - 0,12 - 0,01 = 0,58 Ом.

Ориентировочная длина 6 метров, тогда:

Sпр = ρl/rпр = 0,0175·6/0,58 = 0,18 мм2

Принимаем кабель АКРВГ с жилами 1 мм2.

Цепь пускорезервных собственных нужд.

В трансформатор встроены трансформаторы тока:

в трансформатор с Uвн = 20 кВ - ТВТ - 35 - 1000/5

в трансформатор с Uвн = 220 кВ - ТВТ - 220 - 600/5

С низкой стороны 6 кВ трансформаторов пускорезервных устанавливаем трансформаторы тока типа ТПЛШ - 10 - 3000/5

Iр.мах = 1212,45 А < Iн = 3000 А

Uр.мах = 6 кВ < Uн = 10 кВ.

ТТ нагружен аналогично цепи СН (табл. 10). Используем кабель АКРВГ - с жилами 1 мм2.

РУ - 500 кВ

Устанавливаем трансформаторы тока типа ТФРМ - 500Б - 2000/1

Iр.мах = 712,9 А < Iн = 2000 А

Проверку производим по следующим условиям:

iу = 56,668 кА < iдин = 120 кА - динамическая стойкость.

Вк = 88,37 < 472·1= 2209 - термическая стойкость.

Требуемый класс точности - 0,5.

Подсчёт вторичной нагрузки приведён в табл. 11

Таблица 11 - Подсчёт вторичной нагрузки

Прибор

Тип

Кол-во

Потребляемая мощность, В·А




Фаза А

Фаза В

Фаза С

Амперметр

Э-377

3

0,5

0,5

0,5

Ваттметр

Д-365

1

0,5


0,5

Варметр

Д-365

1

0,5


0,5

Счётчик активной энергии

И-675

1


2,5


Счетчик реактивной энергии

И-675М

1


2,5


Регистрирующий амперметр

Э-377

1

10


10

Суммарная нагрузка



11.5

5,5

11,5


Наибольшая нагрузка от приборов приходится на ТТ фаз А и С.

Sприб = 11,5 В·А

rприб= Sприб / I22 = 11,5/ 12 = 11,5 Ом

rпр = Z2 ном - r приб - r к,

где Z2 ном = 40 Ом

rпр = 40 - 11,5 - 0,1 = 28,4 Ом.

Тогда расчётное сечение проводов при длине 175 м равно:


Выбираем кабель АКРВГ с жилами 1 мм2.

На РУ - 220 кВ

Устанавливаем трансформаторы тока типа ТФЗМ - 220Б - 1000/1.

Iр.мах = 981 А < I н = 1000 А

Uр.мах = 220 кВ = Uн = 220 кВ

Устанавливаем приборы, аналогичные приборам линии 500 кВ.

Мощность вторичных нагрузок ТТ приведена в табл. 11

rприб = 11,5/12 = 11,5 Ом

Z2 нои = 20 Ом (класс точности 0,5)

rпр = 20 - 11,5 - 0,1 = 8,4 Ом.

Тогда при длине проводов 100 метров:


Используем кабель АКРВГ с жилами 1 мм2

Автотрансформаторы

Высшая сторона 500 кВ

Встроенные трансформаторы тока типа ТВТ - 500 - 2000/1

Устанавливается один амперметр в фазу В типа Э - 377 с Sприб = 0,5 В·А.

Тогда rприб = 0,5/12 = 0,5 Ом

Допустимая нагрузка 30 Ом

rпр = 30 - 0,5 - 0,1 = 29,4 Ом.

Сечение провода:


Используем кабель АКРВГ с жилами 1 мм2

Средняя сторона 220 кВ

Встроенные трансформаторы тока типа ТВТ - 220 - 1000/1

Iр.мах = 981 А

Подсчёт вторичной нагрузки приведён в табл. 12

Таблица 12 - Подсчёт вторичной нагрузки

Прибор

Тип

Кол-во

Потребляемая мощность, В·А




Фаза А

Фаза В

Фаза С

Амперметр

Э-377

1


0,5


Ваттметр

Д-365

1

0,5


0,5

Варметр

Д-365

1

0,5


0,5

Суммарная нагрузка



1,0

5,5

1,0


Наибольшая нагрузка от приборов приходится на ТТ фаз А и С.

Sприб = 1 В·А

rприб= 1 Ом

Z2 ном = 30 Ом

rпр = 30 - 1- 0,1 = 28,9 Ом.

Тогда расчётное сечение проводов при длине 100 м равно:


Выбираем кабель АКРВГ с жилами 1 мм2.

.3 Выбор трансформаторов напряжения

Цепь генератора.

В токопровод встроены трансформаторы напряжения ЗОМ - 1/20.

Мощность приборов, подключённых к ТН приведена в табл. 13

Таблица 13 - Мощность подключенных к ТН приборов

Прибор

Тип

Sобм, В·А

Число паралл. катушек

cosφ

sinφ

Число приборов

Общая мощность








Р, Вт

Q,Вар

Вольтметр

Э-377

2

1

1

0

1

2


Ваттметр

Д-365

1,5

2

1

0

2

6


Варметр

Д-365

1,5

2

1

0

1

3


Датч. акт. мощности

Е-829

10

-

1

0

1

10


Датч. реакт. Мощности

Е-830

10

-

1

0

1

10


Счётчик акт. эн.

И-675

2 Вт

2

0,38

0,925

1

4

9,7

Ваттметр регистр.

Н-395

10

2

1

0

1

20


Вольтметр регистр

Н-393

10

1

1

0

1

10


Частото-метр

Э-372

3

1

1

0

2

6









71

9,7


Полную мощность определим по формуле:



Допустимая мощность ТН: Sд = 75 В·А

Тогда имеем: S2∑ < Sдоп

Следовательно, ТН обеспечит необходимый класс точности 0,5.

На шинах 500 кВ устанавливаем трансформатор типа НКФ - 500 - 100.

Подсчитаем его вторичную нагрузку (табл. 13).

Полная мощность:


Допустимая мощность 400 В·А, что выше чем S2∑.

Следовательно ТН обеспечивает необходимый класс точности 0,5.

На шинах 220 кВ установим трансформатор напряжения типа НКФ - 220 - 58.

Допустимая мощность 400 В·А, что выше чем S2∑.

Следовательно ТН обеспечивает необходимый класс точности 0,5.

Таблица 14 - Мощность подключенных к ТН приборов

Прибор

Тип

Sобм, В·А

Число паралл. катушек

cosφ

sinφ

Число приборов

Общая мощность








Р, Вт

Q,Вар

Ваттметр

Д-365

1,5

2

1

0

1

3


Варметр

Д-365

1,5

2

1

0

1

3


Счётчик реакт. эн.

И-675М

3 Вт

2

0,38

0,925

1

3х2

14,6

Счётчик акт. эн.

И-675

3 Вт

2

0,38

0,925

1

3х2

14,6

Вольтметр регистр

Н-393

10

2

1

0

1

20









38


На шинах 220 кВ установлен трансформатор напряжения типа НКФ - 220 - 58.

Допустимая мощность вторичной нагрузки 400 В·А, а полная мощность подключенных приборов S2∑ = 48 В·А. Следовательно ТН обеспечит необходимый класс точности 0,5.

7. Выбор типов релейной защиты

.1 Защиты блока генератор - трансформатор

1)   продольная дифференциальная защита трансформатора от многофазных замыканий, витковых замыканий и замыканий на землю на основе применения реле РНТ - 562;

2)   продольная дифференциальная защита генератора от многофазных КЗ в обмотках статора и на его выводах с использованием реле РНТ - 562;

3)   защита напряжения нулевой последовательности - от замыкания на землю на стороне генераторного напряжения;

4)   газовая защита трансформатора - от замыкания внутри кожуха трансформатора;

5)   токовая защита обратной последовательности, состоящая из двух фильтр - реле тока обратной последовательности РТФ - 2 и РТФ - 3. При этом чувствительный орган реле РТФ - 2 и РТФ - 3 осуществляет защиту генератора от перегрузок токами обратной последовательности. Грубый орган реле РТФ - 2 является резервной защитой от внешних несимметричных КЗ;

6)   токовая защита с пуском по минимальному напряжению - резервная от симметричных КЗ;

7)   защита нулевой последовательности от внешних замыканий на землю в сети с большим током замыкания н землю;

8)   максимальная токовая защита от симметричных перегрузок, используется ток одной фазы;

9)   цепь ускорения отключения блока и пуск схемы УРОВ при неполнофазных отключениях выключателя;

10)односистемная поперечная защита от витковых замыканий в одной фазе без выдержки времени - для защиты генератора.

7.2 Защита автотрансформаторов (АТ)

1)   от всех видов КЗ в обмотках всех сторон АТ и на его выводах - продольная дифференциальная токовая защита;

2)   от многофазных КЗ на выводах стороны НН АТ - дифференциальная токовая защита или МТЗ с комбинированным пуском по напряжению, которая одновременно выполняет функции защит от внешних КЗ;

3)   от замыканий внутри кожуха АТ, устройства РПН АТ, сопровождающихся выделением газа, и от понижения уровня масла - газовая защита;

4)   от замыкания на землю со стороны НН АТ защита напряжения нулевой последовательности, действующая на сигнал;

5)   от внешних многофазных КЗ, а так же для резервирования защит по пунктам 1) - 4) - токовая защита обратной последовательности с приставкой от симметричных КЗ (МТЗ с пуском по напряжению);

6)   от внешних КЗ на землю в сети с большим током замыкания на землю - токовая направленная защита нулевой последовательности;

7)   от перегрузок - МТЗ с использованием тока одной фазы;

8)   в качестве пускового датчика - устройства тушения пожара н АТ - токовая защита нулевой последовательности с заземляющим проводом.

.3 Защиты трансформаторов собственных нужд

1)   от повреждений внутри кожуха и на выводах - продольная дифференциальная токовая защита на основе реле РНТ - 562;

2)   от повреждений внутри кожуха трансформатора, сопровождающихся выделением газов и от понижения уровня масла - газовая защита;

3)   от внешних КЗ, а так же для резервирования защит по пунктам 1) - 2) - МТЗ с комбинированным пуском по напряжению;

4)   от перегрузки - МТЗ, использующая ток одной фазы с действием на сигнал.

.4 Защита шин

1)   дифференциальная токовая защита без выдержки времени, охватывающая все элементы, которые подсоединены к системе шин, осуществляется с помощью реле тока, отстроенного от переходного и установившегося тока небаланса;

2)   на обходном выключателе устанавливается трёхступенчатая дистанционная защита и токовая отсечка от многофазных КЗ;

3)   на обходном выключателе - четырёхступенчатая токовая направленная защита нулевой последовательности от замыканий на землю;

4)   на шиносоединительном выключателе - двухступенчатая токовая защита от многофазных КЗ;

5)   на шиносоединительном выключателе - трёхступенчатая токовая защита нулевой последовательности от замыканий на землю.

.5 Защита ЛЭП

1)   высокочастотная защита;

2)   трёхступенчатая дистанционная защита;

3)   токовая защита нулевой последовательности - для защиты от КЗ на землю.

8. Выбор конструкций и описания распределительных устройств

Типовые конструктивные решения служат основой для разработки конструкций РУ при проектировании конкретной электростанции. Окончательное решение по конструкции РУ принимается на основании технико-экономического сопоставления ряда эскизно проработанных вариантов компоновок.

РУ должны удовлетворять ряду требований. Основные из них: надёжность, экономичность, удобство и безопасность обслуживания, безопасность для людей, находящихся вне РУ, пожаробезопасность, возможность расширения.

Надёжность в работе означает малую вероятность возникновения повреждения оборудования, КЗ в РУ, локализацию повреждения, если оно всё-таки возникло.

Требования экономичности предполагает возможно меньшие размеры РУ (площадь, объём зданий), капитальные затраты и сроки сооружения.

Для оперативного персонала необходимо обеспечить безопасность и удобство осмотра оборудования, произведений переключений и выполнения работ по устранению мелких неполадок, для ремонтного персонала - безопасность и удобство ремонта и замены оборудования при снятии напряжения лишь с того присоединения, которому принадлежит ремонтируемое оборудование. Требование возможности расширения означает возможность подключения к РУ новых присоединений.

Площадка ОРУ окружается от остальных территорий станции внутренним забором высотой 1,6 м - сплошным сетчатым и решётчатым. Компоновку ОРУ выбирают, исходя из схемы соединений, перспектив развития и особенностей конструкций установленных электрических аппаратов.

В моём проекте на напряжение 500 кВ - принимаем схему 3/2 выключателя на цепь, на 220 кВ - двойная система шин с обходной.

Рассмотрим схему 3/2 выключателя на цепь. Каждое присоединение включено через два выключателя. Для отключения линии необходимо отключить два рядом стоящих выключателя. В нормальном режиме обе системы шин находятся под напряжением. Для ревизии одного выключателя отключают его разъединители, установленные по обе стороны выключателя. Количество операций для вывода в ремонт - минимальное, разъединители служат только для отделения выключателя при ремонте, никаких оперативных переключений они не производят. Достоинством схемы является то, что при ревизии любого выключателя все присоединения остаются в работе и высокая надёжность, т.к. все присоединения остаются в работе даже при повреждении на шинах.

Схема позволяет в рабочем режиме без операций разъединителями производить опробирование выключателей.

Для увеличения надёжности одноимённые элементы присоединяют к разным системам шин.

Недостатком схемы являются:

-        отключение КЗ на линии двумя выключателями, что увеличивает общее количество ревизий выключателями;

-        удорожание конструкции РУ при нечётном числе присоединений;

-        снижение надёжности, если количество линий не соответствует числу трансформаторов.

Схема с двумя и обходной системами шин.

Эту схему мы принимаем на 220 кВ.

Применение отдельных ОВ и ШСВ обеспечивают большую оперативную гибкость, но увеличивает капитальные затраты.

Недостатки схемы:

-        отказ одного выключателя при аварии приводит к отключению всех источников питания и линий, присоединённых к данной СШ;

-        повреждение СШВ равнозначно КЗ на обеих СШ;

-        большое количество операций разъединителями при выводе в ревизию и ремонт выключателей усложняет эксплуатацию РУ.

ОРУ сооружается при напряжениях 35 кВ и выше. Они дешевле ЗРУ, но менее удобны в обслуживании и занимают большую площадь.

Сборные шины и ошиновку выполняют неизолированными сталеалюминевыми проводами на оттяжных и подвесных гирляндах изоляторов или жёсткими алюминиевыми трубами на опорных изоляторах.

Жёсткие шины позволяют применить более простые несущие конструкции, уменьшить занимаемую площадь и высоту ОРУ. Однако стоимость жёстких шинных конструкций несколько выше стоимости гибких шин, а так же для крепления требуются более дорогие и менее надёжные опорные изоляторы.

Для крепления гибких проводов предусматриваются порталы, для жёстких шин и аппаратов опоры в виде стояк и стульев или так же порталы.

Оборудование одного присоединения занимает горизонтальную полосу, которую называют ячейкой.

Надёжность ОРУ достигается соблюдением достаточных изоляционных расстояний в воздухе между токоведущими частями разных фаз и между токоведущими и заземлёнными частями.

Для удобства обслуживания (монтажа, ремонта) предусматривается проезд вдоль ряда выключателей. Габариты проезда должны быть не менее 4 м по ширине и высоте.

9. Специальная часть

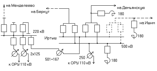
Реконструкция КЭС на 500 кВ вызвано необходимостью создания второго независимого источника питания потребителей относящихся к первой категории по бесперебойности питания, а так же для усиления межсистемной связи энергоузла.

Рассматривается два варианта реконструкции ОРУ 500 кВ. оба варианта предусматривают сохранение существующей схемы соединений ОРУ 500 кВ, а также возможность ее дальнейшего развития.

В основу разработанных вариантов реконструкции ОРУ 500 кВ КЭС заложены следующие принципы:

-        сохранение надежности работы транзита;

-        обеспечение возможности подключения ВЛ 500 (220) кВ на любом из этапов реконструкции;

-        сохранение связи между ОРУ 500 и 110 кВ;

-        минимальное количество переключений коммутационного оборудования;

-        минимальное количество и протяженность временных перемычек и участков линий. Реконструкция существующего ОРУ 500 кВ ПС рассматривается с учетом ввода в действие автотрансформатора Т3 напряжением 500/220/10 кВ мощностью 3х167 + 167 МВА.

Вариант 1. Проведение реконструкции в ячейках ОРУ 500 кВ КЭС предлагается осуществить с сооружением дополнительной ячейки №5 с выключателем 500 кВ и поочерёдным использованием его вместо одного из существующих выключателей 500 кВ, подлежащих замене. Последний выключатель существующей ячейки №1 ОРУ 500 кВ ПС 500 кВ демонтируется на последнем этапе. На рисунке 2.1 приведены этапы проведения реконструкции ОРУ 500 кВ по варианту 1.

При реконструкции по варианту 1 сооружение, монтаж оборудования и ошиновки в подменной ячейке, а также замена оборудования в существующих ячейках выполняется вблизи высокого напряжения.

Вариант 2. Проведение реконструкции в ячейках ОРУ 500 кВ КЭС предлагается осуществить путём сооружения в ОРУ 500 кВ двух новых линейных ячеек с выключателями 500 кВ, в последующем предназначенных для подключения ВЛ 500 кВ. При реконструкции ОРУ 500 кВ во вновь сооружаемые для указанной линии ячейки поочерёдно подключаются ВЛ 500 кВ с поочерёдной реконструкцией освободившихся ячеек в существующем ОРУ 500 кВ.

Этапы проведения реконструкции ОРУ 500 кВ по варианту 2 приведены на рисунке 6

Для временного переключения существующих ВЛ 500 кВ в расширяемую часть ОРУ 500 кВ сооружается одноцепный заход ВЛ 500 кВ, показанный на рисунке 6.

Рисунок 6 -Этапы проведения реконструкции ОРУ 500 кВ ПС 500 кВ по варианту 1

Рисунок 7 -Этапы проведения реконструкции ОРУ 500 кВ КЭС 500 кВ по варианту 2

10. Охрана труда, техника безопасности и экология

.1 Структура организации охраны труда на предприятиях электрических сетей

В соответствии с законодательством о труде и охране труда наниматель обязан обеспечивать здоровые и безопасные условия труда, соблюдать установленные нормативными правовыми актами (документами) требования охраны труда, принимать необходимые меры по профилактике производственного травматизма, профессиональных и других заболеваний.

Охрана труда - система обеспечения безопасности жизни и здоровья работников в процессе трудовой деятельности, включающая правовые, социально-экономические, организационные, технические, психофизиологические, санитарно-гигиенические, лечебно-профилактические, реабилитационные и иные мероприятия и средства.

Типовое положение о службе охраны труда организации разработано в соответствии со статьей Трудового Кодекса Республики Казахстан и направлено на выполнение нанимателями обязанностей по охране труда, реализацию государственной политики в этой области.

Типовое положение устанавливает правовые основы организации и деятельности службы охраны труда нанимателей всех организационно-правовых форм, определяет задачи, функции и права этой службы в общей системе управления профилактической работой в организации по предупреждению производственного травматизма, профессиональных и производственно обусловленных заболеваний, улучшению условий труда работников.

Управление охраной труда в организации осуществляет её руководитель. Для организации работы и осуществления контроля по охране труда руководитель организации создаёт службу надзора за эксплуатацией, техникой безопасности, дозиметрией и дезактивацией.

Служба надзора за эксплуатацией, техникой безопасности, дозиметрией и дезактивацией является самостоятельным структурным подразделением и подчиняется непосредственно руководителю организации или одному из его заместителей, назначенному ответственным за организацию охраны труда (рисунок 7).

По своему статусу служба надзора за эксплуатацией, техникой безопасности, дозиметрией и дезактивацией включается в состав основных производственно-технических подразделений организации, и её решения, принятые в пределах предоставленных прав и полномочий, являются обязательными для выполнения руководителями и другими работниками всех подразделений организации.

Порядок взаимодействия службы надзора за эксплуатацией, техникой безопасности, дозиметрией и дезактивацией с подразделениями, их полномочия, а также обязанности, ответственность и права соответствующих должностных лиц и специалистов организации в решении вопросов охраны труда устанавливается системой управления охраной труда (положением об организации работы по охране труда), другими локальными нормативными актами.

Работники службы надзора за эксплуатацией, техникой безопасности, дозиметрией и дезактивацией в своей деятельности руководствуются законодательством Республики Казахстан о труде и охране труда, соглашениями (генеральным, тарифным и местным), коллективным договором, решениями (постановлениями, приказами, распоряжениями, предписаниями) органов государственного управления охраной труда, надзора и контроля, вышестоящей организации, соответствующими локальными нормативными актами, нормативно-технической документацией и типовым положением.

На основе типового положения в организации разрабатываются положения о службе надзора за эксплуатацией, техникой безопасности, дозиметрией и дезактивацией, учитывающие специфику и характер её деятельности.

Основными задачами службы надзора за эксплуатацией, техникой безопасности, дозиметрией и дезактивацией являются:

1)       организация работы по охране труда, в том числе:

–     координация деятельности подразделений по обеспечению здоровых и безопасных условий труда;

–          совершенствование системы управления охраной труда;

–          внедрение передового опыта и научных разработок по безопасности и гигиене труда, пропаганда охраны труда;

–          информирование и консультирование работников организации, в том числе её руководителя, по вопросам охраны труда;

2)       осуществление контроля по охране труда, в том числе:

–     за обеспечением требований безопасности и гигиены труда;

–          за соблюдением законодательства о труде и охране труда;

–          за выполнением локальных нормативных актов по вопросам охраны труда.

На службы надзора за эксплуатацией, техникой безопасности, дозиметрией и дезактивацией возлагаются следующие функции по организации работы по охране труда:

1) анализ состояния условий и охраны труда, причин нарушений законодательства о труде и охране труда, производственного травматизма, профессиональной и производственно обусловленной заболеваемости;

2)       организационное и методическое руководство работой подразделений по обеспечению здоровых и безопасных условий труда;

)         разработка и осуществление мероприятий по функционированию и совершенствованию системы управления охраной труда;

)         проведение проверок (обследований) состояния условий и охраны труда, санитарно-бытового обеспечения работников, соблюдения требований охраны труда при проведении технологических процессов, эксплуатации зданий, сооружений, станков, машин, механизмов, другого оборудования, транспортных средств, приспособлений, инструмента, средств коллективной и индивидуальной защиты;

)         организация совместно с подразделениями проведения обучения и проверки знаний работников по вопросам охраны труда;

)         подготовка с участием подразделений перечней действующих и подлежащих разработке инструкций по охране труда; разработка программы вводного инструктажа по охране труда и его проведение;

)         оказание организационно-методической помощи подразделениям:

–     в проведении измерений параметров опасных и вредных производственных факторов;

–          в оценке безопасности оборудования, приспособлений, инструмента, организации производства работ и рабочих мест;

–          в проведении аттестации рабочих мест по условиям труда, паспортизации санитарно-технического состояния условий и охраны труда;

–          в разработке программ, планов, мероприятий по улучшению условий и охраны труда, предупреждению производственного травматизма, профессиональных и производственно обусловленных заболеваний;

–     в разработке и пересмотре инструкций по охране труда, организационно-методических стандартов организации, содержащих требования охраны труда, программ первичного инструктажа на рабочем месте, учебных планов и программ обучения вопросам охраны труда работников организации;

–     в оборудовании информационных стендов, уголков по охране труда;

–          в организации проведения инструктажа по охране труда (первичного на рабочем месте, повторного, внепланового, целевого),

–          в составлении списков профессий и должностей, в соответствии с которыми работники должны проходить обязательные медицинские осмотры;

–          в подготовке перечней профессий и категорий работников, имеющих в соответствии с законодательством право на компенсации по условиям труда;

8) участие в:

–     осуществлении надзора за строительством и реконструкцией зданий, сооружений;

–          приёмке в эксплуатацию оборудования, законченных строительством или реконструированных (модернизированных) производственных объектов, административных и бытовых зданий;

–          работе комиссий по приёмке из ремонта установок, агрегатов и другого оборудования в части соблюдения требований безопасности труда, а также по контролю качества средств индивидуальной защиты;

–          работе аттестационных комиссий по аттестации руководителей и специалистов организации; комиссий по проверке знаний работников по вопросам охраны труда;

–          коллективно-договорном процессе при рассмотрении вопросов охраны труда, подготовке проектов разделов коллективного договора, касающихся условий и охраны труда, разработке плана мероприятий по охране труда;

–          расследовании нечастных случаев на производстве и профессиональных заболеваний, разработке мероприятий по их профилактике, подготовке документов на выплату возмещения вреда, причинённого жизни и здоровью работников, связанного с исполнением ими трудовых обязанностей;

9) подготовка статистической отчётности по охране и условиям труда;

10)     ведение систематизированного учёта и хранение действующих в организации законодательных и иных нормативных правовых актов, а также локальных нормативных актов и других документов организации по вопросам, входящим в сферу деятельности службы охраны труда;

11)     организация обеспечения подразделений необходимыми документами, наглядными пособиями и учебными материалами по охране труда;

12)     организация и проведение работы по информированию работников по вопросам охраны труда, в том числе об их правах и обязанностях в этой сфере; состоянии условий и охраны труда на рабочих местах, принимаемых мерах по их улучшению; существующем риске повреждения здоровья и полагающихся средствах коллективной и индивидуальной защиты, компенсациях по условиям труда и другим вопросам, связанным с обеспечением охраны труда;

13)     организация и проведение с участием подразделений работы по профилактике нарушений работниками требований безопасности и гигиены труда, пропаганде вопросов охраны труда, передового опыта безопасного выполнения работ, в том числе:

–     проведение выставок, смотров-конкурсов, семинаров, совещаний, курсов повышения квалификации, бесед и других мероприятий;

–          организация уголков, информационных стендов по охране труда, стенных газет, витрин, использование малотиражной печати, видео- и кинофильмов, радиовещательных, телевизионных и других средств информации;

14)     подготовка проектов приказов и распоряжений руководителя организации по вопросам охраны труда, в том числе по определению функциональных обязанностей по охране труда руководителей подразделений, других должностных лиц, специалистов;

15)     подготовка проектов запросов в соответствующие организации о предоставлении информации, документации об организации работы по охране труда, технологических процессах, материалах, веществах, оборудовании, средствах защиты работников от опасных и вредных производственных факторов;

)         организация совещаний по охране труда;

)         рассмотрение в установленные сроки письменных и устных обращений работников по вопросам условий и охраны труда, подготовка предложений руководителю организации по устранению выявленных в ходе их рассмотрения недостатков, нарушений, а также подготовка ответов заявителям.

Служба надзора за эксплуатацией, техникой безопасности, дозиметрией и дезактивацией осуществляет контроль за:

1) соблюдением в организации законодательных и иных нормативных правовых актов о труде и охране труда, инструкций, других локальных нормативных актов по охране труда;

2)       соответствием правилам и нормам охраны труда оборудования, инструмента, приспособлений, транспортных средств, электроустановок, зданий и сооружений, материалов, сырья и химических веществ, технологических процессов, индивидуальных и коллективных средств защиты, наличием соответствующей эксплуатационной документации;

3) своевременным проведением необходимых осмотров, испытаний, технических освидетельствований оборудования, средств защиты;

4) эффективностью работы аспирационных и вентиляционных систем;

5)       состоянием защитных, предохранительных и блокирующих устройств;

)         организацией рабочих мест и производства работ в соответствии с требованиями охраны труда;

)         своевременным проведением аттестации рабочих мест по условиям труда;

)         своевременным обеспечением работников средствами индивидуальной защиты, их применением, содержанием;

)         обеспечением и правильным применением работниками смывающих и обезвреживающих средств;

10)     обеспечением работников санитарно-бытовыми помещениями;

11)     санитарно-гигиеническим состоянием производственных, вспомогательных и бытовых помещений;

)         наличием в подразделениях действующих инструкций по охране труда, своевременным их пересмотром, разработкой новых;

)         своевременным и качественным проведением обучения, проверки знаний, всех видов инструктажа работников по охране труда;

)         прохождением работниками медицинских осмотров;

)         своевременным и правильным предоставлением работникам компенсаций по условиям труда (бесплатная выдача лечебно-профилактического питания, молока или равноценных пищевых продуктов, предоставление сокращённой продолжительности рабочего времени и дополнительного отпуска за работу с вредными условиями труда и других видов компенсаций);

)         соблюдением требований законодательства об охране труда женщин и работников моложе восемнадцати лет;

)         соблюдением положения о расследовании и учёте несчастных случаев на производстве и профессиональных заболеваний; принятием мер по устранению причин несчастных случаев на производстве, профессиональных заболеваний (на основе документов по расследованию таких происшествий);

)         правильным расходованием денежных средств и материальных резервов, предназначенных на осуществление мероприятий по улучшению условий и охраны труда.

Примерный перечень документов, входящих в сферу деятельности службы надзора за эксплуатацией, техникой безопасности, дозиметрией и дезактивацией:

1)       законодательные и иные нормативные правовые акты, содержащие требования охраны труда, в том числе:

–     правила по охране труда (правила безопасности, правила устройства и эксплуатации, нормы безопасности, нормы охраны труда);

–          санитарно-гигиенические и санитарно-противоэпидемические правила и нормы;

–          стандарты;

–          строительные нормы и правила;

–          типовые инструкции по охране труда;

–          другие нормативные правовые акты;

2)       предписания органов государственного надзора и контроля, служб охраны труда вышестоящих организаций;

3)       положение о службе охраны труда организации, должностные инструкции специалистов, планы работы;

)         предписания, акты и другие документы, материалы, подготовленные службой охраны труда, а также документы, материалы по их выполнению;

5)       коллективный договор с приложениями по вопросам охраны труда, в том числе: план мероприятий по охране труда, перечни профессий и категорий работников, имеющих право на компенсации по условиям труда, перечни профессий и должностей работников, которые бесплатно обеспечиваются соответствующими средствами индивидуальной защиты, смывающими и обезвреживающими средствами, другие приложения;

6)       перечень средств индивидуальной защиты, непосредственно обеспечивающих безопасность труда работников организации;

7)       приказы (распоряжения), положения, стандарты организации, иные локальные нормативные акты (документы), регулирующие вопросы управления охраной труда в организации и устанавливающие полномочия и обязанности руководителей подразделений, иных должностных лиц по функционированию;

8)       журналы регистрации и учёта выдачи инструкций по охране труда; оригиналы действующих инструкций по охране труда, планы их пересмотра и разработки новых инструкций по охране труда;

)         локальные нормативные акты (документы), регулирующие порядок организации и проведения обучения, инструктажей и проверки знаний работников по вопросам охраны труда;

10)     документы, материалы по вопросам организации работы службы надзора за эксплуатацией, техникой безопасности, дозиметрией и дезактивацией;

11)     утвержденные перечни: работы с повышенной опасностью; профессии рабочих и должностей руководителей и специалистов, которые проходят проверку знаний по вопросам охраны труда; категории работников, освобождённых от прохождения первичного на рабочем месте и повторного инструктажей по охране труда;

)         программа вводного инструктажа по охране труда;

)         приказы о назначении лиц, ответственных за безопасную эксплуатацию объектов повышенной опасности (газовое хозяйство, грузоподъёмные краны, котлы, лифты, сосуды, работающие под давлением и тому подобное), систем вентиляции, компрессоров, теплоиспользующих и электрических установок, транспортных средств и другого оборудования;

)         перечень особо опасных работ, на проведение которых должен выдаваться наряд-допуск; перечень должностей руководителей и специалистов, имеющих право выдачи наряда-допуска; список лиц, которые могут назначаться ответственными руководителями, исполнителями (производителями) работ по наряду-допуску.

)         перечень профессий и категорий работников, которые должны проходить обязательные медицинские осмотры;

)         документы расследования несчастных случаев на производстве и профессиональных заболеваний (отравлений);

17)     справочная, учебно-методическая литература по охране труда.

10.2 Особенности организации охраны труда и техники безопасности на подстанции

В процессе эксплуатации электроустановок электрической подстанции 110/10 кВ «Тяговая» производятся работы, предусмотренные графиками планово-предупредительного ремонта действующего электрооборудования, профилактические испытания изоляции трансформаторов, кабелей, наладка и проверка аппаратуры управления электроприводами, релейной защиты и автоматики.

Кроме того, возможны небольшие по объёму кратковременные работы по предупреждению аварий и неполадок в электрооборудовании или в связи с изменением режима работы электроустановок (доливка масла в маслонаполненные вводы и аппараты, потягивание ослабевших единичных контактов коммутационных аппаратов).

Данными работами занимается служба подстанций. Структура организации охраны труда в службе подстанций представлена на рисунке 8.2.

До начала работы и в процессе её выполнения необходимо выполнить организационные и технические мероприятия, обеспечивающие безопасность труда.

Работы в действующих электроустановках подразделяются в отношении принятия мер безопасности на три категории:

1)       со снятием напряжения с токоведущих частей;

2)       под напряжением на токоведущих частях с применением электрозащитных устройств. В электроустановках выше 1000 В к этим работам относятся работы, выполняемые на расстоянии от токоведущих, указанных в [3];

)         без снятия напряжения на нетоковедущих частях. К ним относятся работы, выполняемые за ограждениями, на корпусах и оболочках электрооборудования, а также работы, выполняемые на расстояниях более чем указанных в [3].

Во время грозы возникает дополнительная опасность поражения людей током молнии. Поэтому при наступлении грозы необходимо прекратить работы как в закрытых распределительных устройствах, имеющих вводы воздушной линии, так и в открытых распределительных устройствах и на воздушных линиях.

Для безопасного проведения работ должны выполняться следующие организационные мероприятия:

–          назначение лиц, ответственных за безопасное ведение работ;

–          выдача наряда и распоряжения;

–          выдача разрешения на подготовку рабочих мест и на допуск;

–          подготовка рабочего места и допуск;

–          надзор при выполнении работы;

–          перевод на другое рабочее место;

–          оформление перерывов в работе и её окончание.

Все работы как со снятием напряжения, так и без него вблизи или на токоведущих частях должны выполняться по наряду-допуску или по распоряжению, поскольку обеспечение их безопасного выполнения требует специальной подготовки рабочего места и выполнения определённых мер. Исключение составляют кратковременные и небольшие по объёму работы, выполняемые дежурным или оперативно-ремонтным персоналом в порядке текущей эксплуатации. Их продолжительность не должна превышать 1 ч.

Ответственными за безопасное ведение работ являются:

–          выдающий наряд, отдающий распоряжение;

–          руководить работ;

–          лицо, дающее разрешение на подготовку рабочего места и на допуск;

–          лицо, подготавливающее рабочее место;

–          допускающий;

–          производитель работ;

–          наблюдающий;

–          член бригады.

Подготавливающим рабочее место и допускающим может быть один работник.

Нарядом является составленное на специальном бланке задание на безопасное производство работы, определяющее содержание работы, места, время её начала и окончания, необходимые меры безопасности, состав бригады и лиц, ответственных за безопасность выполнения работы. Наряд может быть выдан на срок до 15 суток.

Распоряжение является заданием на безопасное производство работы, определяющее содержание работы, места, время, меры безопасности лиц, которым поручено её выполнение. Распоряжение может быть устным и письменным, оно имеет разовый характер. Работы продолжительностью до 1 ч разрешается выполнять по распоряжению ремонтному персоналу под надзором дежурного или лица из числа оперативно-ремонтного персонала, а также самому дежурному или оперативно-ремонтному персоналу. При этом старшее лицо, выполняющее работу или ведущее надзор, должно иметь квалификационную группу IV в электроустановках напряжением выше 1000 В. Если продолжительность этих работ свыше 1 ч или они требуют участия более трёх человек, то они оформляются нарядом.

Выдающий наряд, распоряжение устанавливает возможность безопасного выполнения работы. Он отвечает за достаточность и правильность указанных в наряде мер безопасности, за качественный и количественный состав бригады и назначение ответственных лиц, а также за соответствие выполняемой работе групп по электробезопасности перечисленных в наряде работников. Право выдачи нарядов и распоряжений предоставляется работникам из административно-технического персонала предприятия и его структурных подразделений, имеющим группу V.

Руководитель работ отвечает за выполнение всех указанных в наряде мер безопасности и их достаточность, полноту и качество инструктажа бригады, проводимого допускающим и производителем работ, а также организацию безопасного ведения работы. Руководителями работ должны назначаться инженерно-технические работники с группой V.

Лицо, дающее разрешение на подготовку рабочих мест и на допуск, несёт ответственность за достаточность предусмотренных для работы мер по отключению и заземлению оборудования и возможность их осуществления, а также за координацию времени и места работы допускаемых бригад. Давать разрешение на подготовку рабочих мест и на допуск имеют право работники из дежурного персонала с группой IV в соответствии с должностными инструкциями, а также работники из административно-технического персонала, уполномоченные на это указанием по предприятию.

Лицо, подготавливающее рабочее место, отвечает за правильное и точное выполнение мер по подготовке рабочего места, указанных в наряде, а также требуемых по условиям работы (установка замков, плакатов, ограждений). Подготавливать рабочие места имеют право дежурный или работники из оперативно-ремонтного персонала, допущенные к оперативным переключениям в данной электроустановке.

Допускающий отвечает за правильность и достаточность принятых мер безопасности и соответствие их мерам, указанным в наряде, характеру и месту работы, за правильный допуск к работе, а также за полноту и качество проводимого им инструктажа. Допускающий должен назначаться из дежурного или оперативно-ремонтного персонала. В электроустановках выше 1000 В допускающий должен иметь группу IV.

Производитель работ отвечает:

–          за соответствие подготовленного рабочего указанием наряда;

–          за чёткость и полноту инструктажа членов бригады;

–          за наличие, исправность и правильное применение необходимых средств защиты, инструмента, инвентаря и приспособлений;

–          за сохранность на рабочем месте ограждений, знаков и плакатов безопасности, запирающих устройств;

–          за безопасное проведение работы и соблюдение правил техники безопасности при эксплуатации электроустановок.

Производитель работ, выполняемых по наряду в электроустановках выше 1000 В, должен иметь группу IV.

Наблюдающий должен назначаться для надзора за бригадами работников, не имеющих права самостоятельно работать в электроустановках. Наблюдающий отвечает:

–          за соответствие подготовленного рабочего места указаниям наряда;

–          за наличие и сохранность установленных на рабочем месте заземлений, ограждений, плакатов и знаков безопасности, запирающих устройств приводов;

–          за безопасность членов бригады в отношении поражения электрическим током электроустановки.

Наблюдающими могут назначаться работники с группой III.

Каждый член бригады обязан выполнять правила техники безопасности при эксплуатации электроустановок и инструктивные указания, полученные при допуске к работе и во время работы, а также требования местных инструкций по охране труда.

Для подготовки рабочего места при работе, требующей снятия напряжения, должны быть выполнены в указанном порядке следующие технические мероприятия:

–          проведены необходимые отключения и приняты меры, препятствующие ошибочному или самопроизвольному включению коммутационной аппаратуры;

–          вывешены запрещающие плакаты на приводах ручного и на ключах дистанционного управления коммутационной аппаратурой;

–          проверено отсутствие напряжения на токоведущих частях, которые должны быть заземлены для защиты людей от поражения электрическим током;

–          установлено заземление (включены заземляющие ножи, установлены переносные заземления);

–          ограждены при необходимости рабочие места или оставшиеся под напряжением токоведущие части и вывешены на ограждениях плакаты безопасности.

В электроустановках выше 1000 В с каждой стороны, откуда коммутационным аппаратом может быть подано напряжение на рабочее место, должен быть видимый разрыв, образованный отсоединением или снятием шин и проводов, отключением разъединителей, снятием предохранителей, а также отключением отделителей и выключателей нагрузки, за исключением тех, у которых автоматическое включение осуществляется пружинами, установленными на самих аппаратах.

Трансформаторы напряжения и силовые трансформаторы, связанные с выделенным для работ участком электроустановки, должны быть отключены также и со стороны напряжения до 1000 В для исключения возможности обратной трансформации.

В электроустановках выше 1000 В чтобы исключить случайное включение коммутационных аппаратов, их приводы запирают механическим запором. У дистанционных приводов должны быть сняты вставки предохранителей в цепи соленоидов включения; у пневмоприводов закрыт и заперт на замок вентиль и выпущен сжатый воздух.

Об отсутствии напряжения нельзя судить по показаниям измерительных и сигнальных приборов, так как они могут быть неисправны в данный момент. Если же эти приборы показывают наличие напряжения, то до выяснения вопроса нельзя приближаться к оборудованию на расстояние менее допустимого.

Проверять отсутствие напряжения необходимо указателем напряжения. В электроустановках выше 1000 В пользоваться указателем напряжения необходимо в диэлектрических перчатках. В электроустановках 35 кВ и выше для проверки отсутствия напряжения можно пользоваться изолирующей штангой, прикасаясь её несколько раз к токоведущим частям. Признаком отсутствия напряжения является отсутствие искрения и потрескивания.

Наложение переносного заземления является мерой, обеспечивающей безопасность работающих на отключённом электрооборудовании в случае ошибочного включения и подачи напряжения к месту работ. При наличии присоединённого к токоведущим частям заземления, замыкающего также между собой разные фазы электроустановки, ошибочное включение вызывает автоматическое отключение защитой.

Устанавливать заземление на токоведущие части необходимо непосредственно после проверки отсутствия напряжения. Переносное заземление сначала нужно присоединить к заземляющему устройству, а затем, после проверки отсутствия напряжения, установить на токоведущие части. Снимать переносное заземление необходимо в обратной последовательности: сначала снять его с токоведущих частей, а затем отсоединить от заземляющего устройства.

Установка и снятие переносных заземлений должны выполняться в диэлектрических перчатках с применением в электроустановках выше 1000 В изолирующей штанги. Закреплять зажимы переносных заземлений следует этой же штангой или непосредственно руками в диэлектрических перчатках.

В электроустановках выше 1000 В устанавливать переносные заземления должны два работника: один с группой IV (из дежурного или оперативно-ремонтного персонала), другой с группой III; работник с группой III может быть из ремонтного персонала, а при заземлении присоединений потребителей - из персонала потребителей. Включать заземляющие ножи может один работник с группой IV из дежурного или оперативно-ремонтного персонала. Отключать заземляющие ножи и снимать переносные заземления может один человек с группой III из дежурного или оперативно-ремонтного персонала.

10.3 Экология и охрана окружающей природной среды

При работе энергоустановок должны приниматься меры для предупреждения прямого и косвенного воздействия на окружающую среду (сбросов вводные бассейны, звукового давления в близлежащих районах и т.д.).

Проектом предусмотрен отвод земель. Отвод земель производится с учётом размещения открытых распределительных устройств, трансформаторов, общественного пункта управления и других необходимых сооружений. В проекте строительства подстанции учитываются затраты на снятие, хранение и транспортировку плодородного слоя почвы, а также затраты на возмещение убытков землепользователей, связанные с изъятием земельного участка.

На подстанции линии электропередач, открытое распределительное устройство, устройства защиты и автоматики, измерительные приборы, сборные и соединительные шины являются источниками электрических полей промышленной частоты. Гигиенические нормы для персонала, который систематически находится в электрическом поле промышленной частоты, установлены ГОСТ 12.1.002 - 84 ССБТ «Электрические поля промышленной частоты». Существуют допустимые уровни напряжённости и требования к проведению контроля на рабочих местах. На подстанции « Тяговая» напряжённость электрического поля меньше 5 кВ/м, поэтому время пребывания персонала в течение одних суток неограниченно.

В соответствии с требованиями ПУЭ [1] для предотвращения растекания масла при повреждениях маслонаполненных силовых трансформаторов, проектом предусмотрена сеть маслоотводов со сбором масла в закрытый маслосборник ёмкостью 40 м³. Сеть маслоотводов запроектирована из расчёта отвода 50 % масла в течение 15 мин. Маслосборник рассчитан на задержание 100 % масла содержащегося в трансформаторе. В период эксплуатации маслосборник должен быть всегда опорожнённым и готовым для приёма масла.

Организацией охраны труда на предприятии занимается служба надзора за эксплуатацией, техникой безопасности, дозиметрией и дезактивацией, работа которой направлена на обеспечение здоровых и безопасных условий труда, соблюдение установленных нормативных правовых актов (документов) требований охраны труда, принятие необходимых мер по профилактике производственного травматизма, профессиональных и других заболеваний.

До начала работы и в процессе её выполнения в электроустановках выше 1000 В необходимо выполнить организационные и технические мероприятия, обеспечивающие безопасность труда.

Проведение воздухо- и водоохранных мероприятий и мероприятий по снижению уровня производственного шума и вибрации не предусматриваются.

электрический энергия ток трансформатор

Список использованной литературы

1.       Методические указания по курсовому проектированию по курсу “Электрическая часть электрических станций”, БПИ, Мн., 1982 г.

2.       Крючков И.П., Кувшинский И.Н., Неклепаев Б.И. “Электрическая часть электростанций и подстанций. Справочные материалы для курсового и дипломного проектирования”, 3 изд. - М: Энергия 1978 г.

.         Рожкова Л.Д., Козулин В.С. “Электрооборудование станций и подстанций”, 2 изд. - М: Энергия 1980 г.

.         “Справочник по проектированию электроэнергетических систем”, под ред. С.С. Рокотяна и И.М. Шашила - М: Энергия 1977 г.

.         Правила устройства электроустановок. / Минэнерго СССР- 6-е изд., перераб. и доп. - М.: Энергоатомиздат, 1987. - 648 с.: ил.

.         Правила технической эксплуатации электроустановок и потребителей и правила техники безопасности при эксплуатации электроустановок

.         Кудрин Б.И., Прокопчик В.В. Электроснабжение промышленных предприятий. - Мн.: Высшая школа 2000 г. - 357 с.: ил.

.         Рожкова Л.Д., Козулин В.С. Электрооборудование станций и подстанций. Учебник для техникумов. М.: Энергия, 1975. - 704 с.

.         Радкевич В.Н. Проектирование систем электроснабжения: Учеб. Пособие. - Мн.: НПООО «ПИОН», 2001. - 292 с.

.         Загоровский Е.Н., Речин Ш.Ш. Электроснабжение промышленных предприятий (пособие по курсовому и дипломному проектированию).- Мн.: Вышэйшая школа, 1974. - 208 с.

.         Справочник по электроснабжению и электрооборудованию: в 2 т. / Под общ. ред. А.А. Фёдорова. Т. 2. Электрооборудование. - М.: Энергоатомиздат, 1987. - 592 с.

.         Рунов Ю.А. Электроснабжение промышленных и сельскохозяйственных предприятий: курсовое и дипломное проектирование. - Мн.: Ураджай, 1998. - 270 с., ил.

.         Электрические комплектные устройства. Каталог 2003 г. - Мн.: НВФ «Иносат».

14.        Ресурсно-сметные нормы на монтаж оборудования. Сборник 8. Электротехнические установки. Книга 1,2. - Мн.: Министерство архитектуры и строительства Республики Казахстан, 2001

15.     Указания к применению ресурсно-сметных норм РДС 8.01.104-02. - Мн.: Министерство архитектуры и строительства Республики Беларусь, 2002.

16.     Справочник по проектированию электроэнергетических систем / В.В. Ершевич, А.Н. Вейлигер, Г.А. Илларионов и др.

Похожие работы на - Разработка конденсационной электрической станции для электрической мощности 300 МВт

 

Не нашли материал для своей работы?
Поможем написать уникальную работу
Без плагиата!
Без нейросетей!