Устройство автомобильного двигателя
1.
Начертите индикаторную диаграмму четырехтактного карбюраторного двигателя,
опишите назначение и параметры каждого такта
шатунный двигатель
форсунка транзисторный

Рисунок-1 - Рабочий цикл и индикаторная диаграмма
четырехтактного карбюраторного двигателя: а - впуск; б - сжатие; в-расширение;
г - выпуск; д - индикаторная диаграмма
шатунный двигатель
форсунка транзисторный
Рабочий цикл 4-тактного карбюраторного Д. в. с. совершается
за 4 хода поршня (такта), т.е. за 2 оборота коленчатого вала. При 1-м такте -
впуске поршень движется от верхней мёртвой точки (в. м. т.) к нижней мёртвой
точке (н. м. т.). Впускной клапан при этом открыт и горючая смесь из
карбюратора поступает в цилиндр. В течение 2-го такта - сжатия, когда поршень
движется от н. м. т. кв. м. т., впускной и выпускной клапаны закрыты и смесь
сжимается до давления 0,8-2 Мн/м2 (8-20 кгс/см2). температура смеси в конце
сжатия составляет 200-400°C. В конце сжатия смесь воспламеняется электрической
искрой и происходит сгорание топлива. Сгорание имеет место при положении
поршня, близком кв. м. т. В конце сгорания давление в цилиндре составляет 3-6
Мн/м2 (30-60 кгс/1см2), а температура 1600-2200°C. 3-й такт цикла - расширение
называется рабочим ходом; в течение этого такта происходит преобразование
тепла, полученного от сгорания топлива, в механическую работу. 4-й такт -
выпуск происходит при движении поршня от н. м. т.к. в. м. т. при открытом
выпускном клапане. Отработавшие газы вытесняются поршнем.
2.
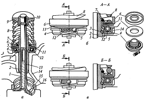
Опишите особенности устройства кривошипно-шатунного механизма двигателя ЯМЗ-236
Кривошипно-шатунный механизм
Коленчатый вал стальной, изготовлен горячей штамповкой,
упрочен азотированном или
закалкой токами высокой частоты шатунных и коренных шеек.
Коленчатый вал имеет пять коренных опор и четыре шатунные шейки. В шатунных
шейках вала выполнены внутренние полости, закрытые заглушками 5, где масло
подвергается дополнительной центробежной очистке. Полости шатунных шеек
сообщаются наклонными отверстиями с поперечными каналами в коренных шейках. На
носке и хвостовике коленчатого вала установлены шестерня 6 привода масляного
насоса и ведущая шестерня 3 в сборе с маслоотражателем 2. Выносные противовесы
4 и 7 съемные, закреплены на валу прессовой посадкой.
Рисунок-2 - кривошипно-шатунный механизм ЯМЗ-236
Осевые перемещения коленчатого вала ограничены четырьмя
сталеалюминиевыми полукольцами, установленными в проточках задней коренной
опоры так, чтобы сторона с канавками прилегала к упорным торцам вала, а ус
входил в паз на крышке заднего коренного подшипника. Хвостовик коленчатого вала
уплотнен резиновым самоподжимным сальником, установленным в картере маховика.
Маховик из серого специального чугуна, закреплен болтами на
заднем торце коленчатого вала и зафиксирован двумя штифтами и установочной
втулкой 8. Зубчатый венец посажен на маховик погорячепрессовой посадке и служит
для пуска двигателя стартером. Число зубьев венца маховика 113. На наружной
поверхности маховика имеется паз под фиксатор маховика, который используется
при регулировании двигателя.
Шатуны стальные, двутаврового сечения; нижняя головка
выполнена с прямым и плоским разъемом. Шатун окончательно обработан в сборе с
крышкой, поэтому крышки шатунов невзаимозаменяемы. На крышке и шатуне нанесены
метки спаренности в виде трехзначных порядковых номеров. При сборке метки на
шатуне и крышке должны находиться с одной стороны. Кроме того, на крышке шатуна
выбит порядковый номер цилиндра.
На каждой шатунной шейке коленчатого вала установлено по два
шатуна. Подшипниками скольжения служат втулка из биметаллической ленты в
верхней головке шатуна и съемные взаимозаменяемые вкладыши. Крышка шатуна
закреплена двумя шатунными болтами с гайками. Поршни из высококремнистого
алюминиевого сплава со вставкой (специальный чугун) под верхнее компрессионное
кольцо и коллоидно-графитным покрытием юбки. На поршне установлены два
компрессионных кольца и одно маслосъемное кольцо. Компрессионные кольца в
сечении представляют одностороннюю трапецию, изготовлены из чугуна специального
химического состава. Рабочая поверхность верхнего компрессионного кольца
покрыта хромом, нижнего - молибденом. Маслосъемное кольцо прямоугольного
сечения свитым пружинным расширителем и хромированной рабочей поверхностью.
В головке поршня расположена камера сгорания. Подбором
варианта исполнения поршня, с целью уменьшения надпоршневого зазора, при сборке
двигателя обеспечено выступаниe поршня над уплотнительным торцом гильзы в
пределах 0,5…0,7 мм. Индекс варианта поршня нанесен на его днище: 10; 20; 30;
40, а также на нерабочем торце выступа гильзы. В запасные части поставляются
поршни с индексом «10», которые при ремонте допускается устанавливать в гильзы
с любым индексом. Поршень с шатуном соединен пальцем плавающего типа, осевое
перемещение пальцев поршне ограничено стопорными кольцами. Поршневой палец
изготовлен из хромоникелевой стали в виде пустотелого цилиндрического стержня,
упрочнен цементацией и закалкой. Вкладыши подшипников коленчатого вала и нижней
головки шатуна сменные, тонкостенные, трехслойные, с рабочим слоем из
свинцовистой бронзы.
Верхний и нижний вкладыши коренного подшипника коленчатого
вала невзаимозаменяемы. В верхнем вкладыше имеются отверстие для подвода масла
и канавка для его распределения.
3.
Опишите устройство деталей механизма газораспределения двигателя ЗИЛ-508.10.
Приведите схему и объясните, как осуществляется поворот выпускного клапана
Рисунок-3 - Газораспределительный механизм ЗИЛ-508.10
- зубчатое колесо; 2 - упорный фланец; 3 - распорное кольцо;
4 - передняя опорная шейка; 5 - эксцентрик; 6, 7 - соответственно впускные и
выпускные кулачки; 8 - опорные втулки; 9~ клапаны; 10 - направляющие втулки;
11, 17 - шайбы; 12 - пружины; 13 - оси коромысел; 14 - коромысла; 15 -
регулировочный болт; 16 - стойки осей коромысел; 18 - штанги; 19 - толкатели;
20 - тарелки; 21 - пружина центробежного датчика; 22 - валик датчика; 23 -
стопорное кольцо; 24 - штанга привода бензонасоса; 25 - шайба; 26 - гайка; 27 -
корпус привода; 28 - шестерня привода; 29 - валик привода распределителя
зажигания и смазочного насоса
Привод распределительного вала. Распределительный вал
приводится в движение при помощи зубчатой или цепной передачи
Распределительный вал. Распределительный вал изготавливают из
стали или специального чугуна и подвергают термической обработке. Профиль его
кулачков, как впускных 6 (см. рис. 3.4), так и выпускных 7, у большинства
двигателей делают одинаковым.
Толкатели. Они предназначены для передачи усилия от
распределительного вала через штанги к коромыслам.
Штанги. Для передачи усилия от толкателей к коромыслам
Коромысла. Для передачи усилия от штанги к клапану
Клапаны. Открытие и закрытие впускных и выпускных каналов,
соединяющих цилиндры с газопроводами системы питания
Для этой же цели выпускные клапаны V-образных карбюраторных
двигателей ЗИЛ имеют механизм принудительного вращения. Он состоит из корпуса 4
(см. рис. 3.7, а), который расположен в углублении головки цилиндра 14 на
направляющей втулке 2, закрепленной замочным кольцом 3; пяти шариков 5,
установленных вместе с возвратными пружинами 12 в наклонных пазах корпуса;
опорной шайбы биконической дисковой пружины 11. Пружина 11 и шайба 6 свободно
надеты на выступ корпуса и закреп лены на нем замочным кольцом 7.
Рисунок-4 - Выпускной клапан двигателя автомобиля ЗИЛ-43 1410
с механизмом вращения: а - выпускной клапан, установленный на головке цилиндров;
6, в-соответственно начальное и конечное рабочие положения механизма вращения
клапана; 1 - стержень клапана; - направляющая втулка; - замочное кольцо; -
корпус механизма вращения; 5 - шарики; б - опорная шайба; 7 - замочное кольцо;
8 - пружина; 9 - тарелка; 10 - сухарики; 11 - дисковая пружина; 12 - возвратная
пружина; 13 - металлический натрий; 14 - головка цилиндров; 15 - седло; 16 -
головка клапана
При закрытом клапане, когда усилие пружины 8 невелико,
дисковая пружина 11 выгнута наружным краем вверх, а внутренним упирается в
заплечики корпуса 4 механизма вращения. При этом шарики 5 в конических пазах
корпуса отжаты возвратными пружинами 12 в крайнее положение.
Когда клапан начинает открываться, усилие пружины 8
возрастает, в результате чего дисковая пружина 11 выпрямляется и передает
усилие пружины 8 на шарики 5, которые, перекатываясь по наклонным пазам
корпуса, поворачивают дисковую пружину 11, опорную шайбу 6, клапанную пружину 8
и сам клапан относительно его первоначального положения.
Во время закрытия клапана усилие клапанной пружины 8
уменьшается. При этом дисковая пружина 11 прогибается до своего исходного
положения и освобождает шарики 5, которые под действием возвратных пружин 12
возвращаются в первоначальное положение, подготавливая механизм вращения к
новому циклу поворота клапана.
При частоте вращения коленчатого вала около 3000 об/мин
частота вращения выпускного клапана достигает 30 об/мин.
Чтобы обеспечить плотное прилегание головки клапана к седлу,
необходим определенный тепловой зазор между стержнем клапана и носком (винтом)
коромысла. Тепловые зазоры в клапанах изменяются вследствие их нагрева,
изнашивания и нарушений регулировок. Когда зазор в клапанах увеличен, они
открываются не полностью, в результате чего ухудшается наполнение цилиндров
горючей смесью и очистка их от продуктов сгорания, а также повышаются ударные
нагрузки на детали клапанного механизма.
При недостаточном зазоре клапаны неплотно садятся на седла, вследствие чего
происходят утечки газов, образование нагара с обгоранием рабочих поверхностей
седла и клапана. Из-за неплотной посадки клапанов при такте сжатия рабочая
смесь может попадать в выпускной газопровод, а в процессе такта расширения
газы, имеющие высокую температуру, могут прорываться в впуск ной газопровод,
вследствие чего в этих газопроводах возможны хлопки или вспышки, что является
признаком неплотной посадки клапанов.
4.
Опишите устройство системы охлаждения двигателя А-01 Л. Как осуществляется
подогрев двигателя перед запуском?
Система охлаждения дизеля (рис. 5) жидкостная, закрытая, с
принудительной циркуляцией. В систему охлаждения входят следующие основные узлы
и агрегаты: водяной радиатор 2, водяной насос 6, вентилятор 8, термостат 4,
термометр 5, шторка 9 и, кроме того, водоподводящий 3 и водоотводящий 7 патрубки,
шланги, соединительная арматура, сливные краники и др.
Рисунок -5 - Схема системы охлаждения:
- пробка радиатора, 2 - радиатор. 3 - водоподводящий
патрубок; 4 - гермостат; 5 - термометр; 6 - водяной насос; 7 - водоотводящий
патрубок; 8 - вентилятор; 9 - шторка; 10 - краник слива воды из радиатора
Радиатор 2 предназначен для охлаждения воды, нагревающейся в
водяной рубашке дизеля. Вода, проходя через радиатор, отдает тепло обдувающему
его потоку воздуха. Сердцевина радиатора состоит из четырех рядов вертикальных
плоских трубок, пропущенных через ряд спаянных с ними горизонтальных пластин.
Трубки и пластины сердцевины изготовлены из латуни. Концы трубок припаяны к
крайним (основным) более толстым пластинам и несколько выступают над их
поверхностью. Улучшению условий теплоотдачи способствует ступенчатое
(коридорное) расположение трубок по глубине радиатора.
К крайним пластинам на болтах прикреплены верхний и нижний
латунные бачки. Между пластинами и бачками установлены резиновые прокладки. По
обеим сторонам сердцевины проходят стойки, соединяющие бачки радиатора. К
задней стенке верхнего бачка присоединен водоподводящий патрубок 3. На верхней
части бачка расположена заливная горловина, закрытая пробкой 1 с паровоздушным
клапаном. К задней стенке нижнего бачка присоединены водоотводящий патрубок 7 и
сливной краник 10.
Крепление радиатора на тракторе эластичное: к переднему брусу
при помощи опоры с резиновыми амортизаторами, а в верхней части - растяжками к
головке блока цилиндров.
Вентилятор 8 создает интенсивный воздушный поток, обдувающий
сердцевины масляного и водяного радиаторов и охлаждающий наружные поверхности
дизеля. Вентилятор смонтирован в одном узле с водяным насосом и расположен на
его валу. Вентилятор присоединен шестью болтами к шкиву 5 насоса, а весь узел
(вентилятор - водяной насос) прикреплен болтами к верхней части передней стенки
блока цилиндров. С задней стороны к стойкам водяного радиатора крепится кожух
вентилятора. Кожух улучшает работу вентилятора, предохраняет лопасти
вентилятора от попадания посторонних предметов и направляет поток воздуха на
дизель.
Водяной насос центробежного типа. Он предназначен для
создания активной циркуляции воды в системе охлаждения и за счет этого более
полного отвода тепла от нагретых деталей дизеля. Крыльчатка 9 насоса
установлена на валик 4, зафиксирована от проворачивания лыской и закреплена на
валике торцевым болтом. Валик вместе с крыльчаткой вращается на двух шариковых
подшипниках. Пространство в корпусе между подшипниками заполняется смазкой
через масленку. Водяная и масляная полости насоса разделены между собой
дополнительным торцевым уплотнением, смонтированным в крыльчатке. Уплотнение
состоит из текстолитовой шайбы, находящейся в контакте с тщательно обработанным
торцом упорной втулки, которая запрессована в корпус насоса, а также резиновой
манжеты 10, охватывающей валик, и поджимающей пружины 8. Для лучшего уплотнения
на резиновую манжету надеты обоймы 11.
Крыльчатка 9 помещается в профилированной полости корпуса 14
насоса. При вращении крыльчатки на входе в эту полость создается разрежение,
передаваемое в приемную камеру, которая патрубком соединена с нижним бачком
радиатора. Благодаря разряжению вода попадает на лопатки крыльчатки и под
давлением поступает в спиральный канал, так называемую улитку, образованную
вокруг крыльчатки в корпусе насоса.
Отсюда вода нагнетается в продольный канал системы охлаждения
блока цилиндров.
Водяной насос и вентилятор приводятся во вращение от шкива
коленчатого вала дизеля при помощи клиновидного ремня 15, который также вращает
и ротор генератора. При номинальной частоте вращения дизеля, равной 2200
об/мин, водяной насос и вентилятор развивают 2600 об/мин.
Термостат автоматически поддерживает температуру воды в
заданных пределах и ускоряет прогрев дизеля после пуска. Он состоит из корпуса,
датчика термостата 6 с твердым наполнителем, верхнего основного 5 и нижнего
вспомогательного 2 клапанов. Корпус термостата отштампован из латуни. В боковой
его поверхности сделано два окна 3. Верхний торец корпуса служит седлом для
основного клапана 5, а отбортовка нижнего - для закрепления корпуса в коробке
термостата. К верхней части датчика 6 прикреплены основной клапан и рычаг
вспомогательного клапана.
Термостат помещен в корпус и установлен на выходе из рубашки
охлаждения блока цилиндров. Термостат с твердым наполнителем имеет меньшую
чувствительность к изменению давления в системе и большие перестановочные
усилия в сравнении с сильфонным.
Когда температура охлаждающей жидкости меньше 70°С, основной
клапан 5 закрыт, и жидкость через окна поступает по патрубку в насос, а затем в
водяную рубашку блока. Следовательно, жидкость не проходит через радиатор и
поэтому быстро нагревается. Когда же температура охлаждающей жидкости больше
70°С, увеличивается объем смеси церезина с алюминиевой пудрой, выдвигается
поршень с установленным на нем основным клапаном и открывается проход
охлаждающей жидкости в радиатор. При этом вспомогательный клапан перекрывает
окна для прохода жидкости в водяной насос, минуя радиатор.
Шторка, установленная перед водяным радиатором, позволяет
изменять количество проходящего через радиатор воздуха и тем самым регулировать
в некоторых пределах температуру охлаждающей жидкости. Управляют шторкой с
рабочего места тракториста при помощи рукоятки, связанной тросом с передвижным
валиком шторки. Температуру охлаждающей жидкости в системе охлаждения
контролируют по показаниям дистанционного электрического термометра, датчик
которого установлен в головке цилиндров, а указатель - на щитке приборов в
кабине.
Предпусковой подогреватель служит для подогрева дизеля с
целью облегчения его запуска при низких температурах окружающей среды и
устанавливается на трактор только на осенне-зимний период. В остальное время
года (когда температура воздуха не ниже +5°С) подогреватель должен быть снят с
трактора и храниться в закрытом сухом помещении.
Устройство и принцип работы предпускового подогревателя
показаны на рисунках ниже (рис. 6).
Рисунок-6 - устройство подогрева двигателя
При работе подогревателя в камере (горелке) сгорает смесь
поступающего топлива и воздуха. Горячие газы из камеры сгорания проходят по
газоходам котла, нагревая воду во внутренней и наружной рубашках котла, и далее
проходят по патрубку отвода горячих газов в кожух обогрева картера дизеля.
5.
Опишите устройство системы смазки двигателя ЗИЛ-508.10. По схеме покажите путь
масла к компрессору
Система смазки V-образного восьмицилиндрового двигателя
автомобиля ЗИЛ-130 (рис. 7) состоит из поддона 1 картера двигателя;
маслозаборника 2 с сетчатым фильтрующим элементом; двухсекционного шестеренного
масляного насоса, у которого верхняя секция подает масло в полнопоточный
масляный фильтр 5 (центрифугу), где оно очищается и поступает в
маслораспределительную камеру и далее в главную масляную магистраль 4, а нижняя
- в масляный радиатор 8 для охлаждения; маслозаливной горловины; масломерного
щупа; манометра; лампочки аварийного давления масла, загорающейся на щитке
приборов, когда давление масла в. магистрали уменьшится до 0,06 МПа и меньше.
Рисунок-7 - Система смазки двигателя автомобиля ЗИЛ-130
Масло из поддона картера насосом 3 подается в полнопоточный
масляный фильтр 5 центробежной очистки, где оно очищается и поступает в
маслораспределительную камеру и далее в главную масляную магистраль 4. Из
левого канала магистрали масло поступает на смазку толкателей левого ряда
цилиндров и коренных шеек коленчатого вала и по сверлениям в коленчатом валу -
к шатунным подшипникам, смазывая их. Масло, выбрызгиваемое из сверления 10 в
шатуне, смазывает стенку цилиндра. Одновременно часть его от коренных
подшипников подводится к подшипникам распределительного вала. Из правого канала
9 масло поступает к толкателям правого ряда цилиндров и на смазку деталей
компрессора 7. Упорный фланец распределительного вала и распределительные
шестерни смазываются маслом из первого подшипника распределительного вала.
Кроме того, масло, стекая из головки блока после смазки осей коромысел и
клапанов, смазывает распределительные шестерни. В средней шейке
распределительного вала имеются сверления, которые один раз за оборот вала
соединяют канал 12 для подвода масла к средним стойкам осей коромысел 6,
заполняет их и далее, проходя по сверлениям, смазывает втулки коромысел и по
штангам 11 стекает на толкатели, смазывает их и сливается в поддон. Масло,
вытекающее из втулок коромысел, смазывает стержни клапанов, носки коромысел,
механизм проворачивания выпускных клапанов.
Поршни, поршневые кольца и пальцы, зеркало цилиндров, кулачки
распределительного вала и другие детали смазываются разбрызгиваемым маслом.
6.
Опишите устройство и работу главной дозирующей система карбюратора К-126б. На
схеме изобразите только рассматриваемые устройства (полную схему карбюратора
изображать не следует) и укажите пути воздуха, топлива и эмульсии
С увеличением открытия дроссельных заслонок разрежение
передается к горловинам диффузоров, а у отверстий холостого хода оно постепенно
падает. При наличии разрежения у горловин малых диффузоров в работу вступают
главные дозирующие системы (рис. 8). Топливо из поплавковой камеры проходит
через главные топливные жиклеры в эмульсионные колодцы, где к нему
подмешивается воздух, проходящий через воздушные жиклеры, образуется эмульсия,
которая по каналу поступает в горловины малых диффузоров. Здесь она смешивается
с воздухом, образуется обедненная (экономичная) горючая смесь, которая
поступает в цилиндры двигателя. С дальнейшим увеличением открытия дроссельных
заслонок расход топлива в эмульсионных колодцах увеличивается и в эмульсионной
трубке открывается все больше отверстий, через которые в колодец поступает
воздух, тормозя истечение топлива, чем предотвращается обогащение горючей
смеси.
Рисунок-9-главная дозирующая система карбюратора К-126Б
Малые диффузоры карбюратора с распылителями главной
дозирующей системы, отлитые из цинкового сплава под давлением, не подвергаются
механической обработке. Они запрессовываются сверху в средний корпус
карбюратора.
Большие диффузоры свободно вставляются снизу в среднюю часть
корпуса и прижимаются к ней корпусом смесительных камер. Главные топливные
жиклеры расположены внутри поплавковой камеры на внутренней ее стенке.
Монтируются они через отверстия в корпусе поплавковой камеры
снаружи карбюратора. Отверстия закрываются резьбовыми пробками.
Эмульсионные трубки карбюратора устанавливаются в колодце
вертикально и прижимаются сверху воздушными жиклерами. Таким образом, в
карбюраторе К-126Б в отличие от карбюраторов К-126 и К-126П воздух в главную
дозирующую систему попадает из внутренней полости эмульсионной трубки и
смешивается с топливом, находящимся в эмульсионном колодце.
7.
Опишите, какие существуют типы форсунок, каковы преимущества и недостатки
закрытых форсунок? ответ поясните необходимыми схемами
В предкамерных и вихрекамерных дизелях хорошее
смесеобразование достигается не только за счет работы форсунки, но и за счет
энергии частично сгоревшего топлива в предкамере или за счет энергии вихря.
Поэтому в таких дизелях обычно форсунки имеют распылители с одним отверстием, а
давление впрыска не столь велико (80-120 кгс/см2 8-12 Мн/м2).
Открытые форсунки. Они не имеют запорного приспособления и
представляют собой распылитель помещаемый в корпусе. Канал распылителя с одной
стороны сообщается с топливопроводом от насоса, а с другой заканчивается
распыливающими отверстиями и малого диаметра (0,2-0,5 мм)
Необходимое давление впрыска в открытых форсунках
обусловливается в основном малым сечением отверстий распылителя, диаметром и
скоростью плунжера насоса.
Рисунок-10-типы форсунок
Закрытые форсунки. Они отличаются тем, что между топливо
проводом высокого давления (от насоса) и отверстиями распылителя (сопла)
форсунки устанавливается нагруженная сильной пружиной запорная игла, которая
открывает отверстия распылителя только на период впрыска топлива.
Различают закрытые форсунки с механическим и гидравлическим
управлением.
Закрытые форсунки с механическим управлением. У таких
форсунок запорная игла открывается при помощи кулачкового механизма. Эти форсунки
из-за сложности устройства привода на автотракторных дизелях распространение не
получили. Закрытые форсунки с гидравлическим управлением.
У этих форсунок игла открывается гидравлическим путем,
т.е.давлением топлива, создаваемым насосом в топливопроводе во время впрыска,
действующего на иглу и преодолевающего силу пружины. Схема действия такой
форсунки представлена на рис. 10. Топливо из насоса по трубопроводу поступает
под давлением в сверленый канал распылителя форсунки и далее в полость 2. Когда
давление топлива, действующее на коническую поверхность иглы 6, достигает
величины, достаточной для преодоления силы пружины 8, игла приподнимается и
топливо под давлением и с большой скоростью поступает через сопловое отверстие
3 в распыленном виде в камеру сгорания. После отсечки подачи топлива плунжером
насоса давление в топливопроводе и в полости падает то игла под действием
пружины плотно закрывает сопловое отверстие. Пружина воздействует на иглу через
штангу.
В закрытой форсунке начальное давление впрыска и среднее
давление распыливания определяются силой упругости пружины. С увеличением числа
оборотов двигателя среднее давление распыливания в закрытой форсунке несколько
возрастает, но далеко не в такой степени, как в открытой форсунке. Таким
образом, закрытая форсунка позволяет получить хорошее распыливание не только
при больших оборотах и нагрузках двигателя, но и при малых оборотах холостого
хода. Кроме того, закрытая форсунка имеет значительно меньшую склонность к
подтеканию.
Благодаря указанным преимуществам закрытые форсунки получили
большое распространение на автотракторных дизелях.
Распылители (сопла) форсунок. Распылитель является наиболее
важным и ответственным элементом любой форсунки. Распылителем называется часть
форсунки, в которой сделаны калиброванные отверстия. В закрытой форсунке
распылитель еще снабжается запорной иглой. Качество изготовления распылителя
определяет в основном форму струи, тонкость распыления и равномерность
распределения частиц топлива в камере сгорания, т.е. качество смесеобразования.
Во избежание быстрого износа распылителя под действием струи
топлива, поступающего под большим давлением, и искажения формы распыливающих
отверстий распылитель (и игла) изготовляется из высококачественной легированной
стали и подвергается специальной термической обработке. В зависимости от типа
дизеля и формы камеры сгорания (способа смесеобразования) форсунки
автотракторных дизелей снабжаются распылителями с одним или несколькими
отверстиями.
8.
В приложении приведена схема бесконтактно-транзисторного регулятора напряжения
РР350. начертите схему. Опишите преимущество этого реле-регулятора перед
обычным
Рисунок-11-схема регулятора напряжения РР-350
Измерительный орган регулятора - делитель напряжения, в который
входят резисторы R1-R5, RT, дроссель L (сопротивление дросселя 40 Ом). Орган
сравнения - стабилитрон VD1.
Регулирующий орган - электронное реле на транзисторах
VT1-VT3, R6 - резистор обратной связи. Резистор RT осуществляет
термокомпенсацию. Диод VD4 - гасящий. Дроссель L служит для сглаживания
пульсации выпрямленного напряжения генератора, что препятствует ложным
срабатываниям регулятора. Сопротивление R11 является добавочным, оно вводится
последовательно в цепь обмотки-возбуждения генератора. Регулятор РР350 - это
единственный транзисторный регулятор, в котором используется добавочное
сопротивление. Резисторы R7-R10 обеспечивают нужный режим работы
полупроводниковых элементов схемы.
При напряжении ниже напряжения настройки регулятора
стабилитрон VD1 тока не пропускает, транзистор VT1 - закрыт, VT2, VT3 - открыты
и ток протекает в обмотку возбуждения генератора через диод VD3 и переход
эмиттер-коллектор транзистора VT3. С ростом напряжения стабилитрон VD1
пробивается, ток в базовой цепи переводит транзистор VT1 в открытое состояние.
При этом его переход эмиттер-коллектор соединяет базу VT2 с «+», переход
эмиттер-база за счет падения напряжения в VD2 оказывается смещен в обратном
направлении, VT2 переходит в закрытое состояние, прерывая ток базы VT3, который
тоже закрывается. При этом ток в обмотку возбуждения попадает через R11 и
уменьшается.
9.
Приведите схемы и опишите устройство и работу электротеплового импульсного и
магнитоэлектрического указателя температуры охлаждающей жидкости
Указатель температуры воды электротеплового принципа действия
состоит из приемника, расположенного в комбинации приборов, и датчика ТМЗ,
ввернутого во всасывающую трубу двигателя. Устройство и схема указателя
температуры воды показаны на рисунке.
Рисунок-12 - Схема указателя температуры воды: 1 - датчик; 2
и 6 - термобиметаллические пластины; 3 - обмотка датчика; 4 - клемма; 5 -
приемник; 7 - стрелка; 8 - обмотка; 9 - аккумуляторная батарея; 10 и 11 -
контакты
Приемник имеет термобиметаллическую пластину с обмоткой 8 из
изолированной проволоки высокого сопротивления. Один конец пластины неподвижно
укреплен в основании прибора, а другой шарнирно соединен со стрелкой 7. Оба
конца обмотки пластины выведены наружу приемника и подсоединены к клеммам.
Датчик указателя температуры воды является электротепловым
прибором импульсного действия. Он представляет собой герметичную гильзу с
наружной резьбой для ввинчивания его во всасывающую трубу двигателя. Внутри
гильзы имеется термобиметаллическая пластина 2 с обмоткой 3 из проволоки
высокого сопротивления. Один конец обмотки приварен к пластине, а другой
выведен к клемме 4 на головке гильзы. Пластина соединена электрически с гильзой
только через контакты 10 и 11. Один контакт приклепан к пластине, а другой
укреплен на регулировочном винте, ввернутом в основание датчика.
Обмотки биметаллических пластин датчика и приемника включены
в цепь последовательно. Пластина 2 при прохождении тока по обмотке нагревается,
изгибается, отходит свободным концом от контакта 11 и размыкает цепь. В цепи
устанавливается определенный режим прохождения импульсов тока. Контакт 11 у
соединенный с гильзой, при работе неподвижен и при изменении температуры его
положение не изменяется, тогда как пластина при повышении температуры
окружающего воздуха ослабляет сжатие контактов. Поэтому при повышении
температуры число импульсов в единицу времени уменьшается, а при понижении -
увеличивается. В первом случае биметаллическая пластина приемника нагревается
слабее, а во втором - сильнее. При этом деформация пластины соответственно
уменьшается или увеличивается, а стрелка на шкале приемника будет менять свое
положение в зависимости от температуры среды, в которую помещен датчик.
Магнитоэлектрический прибор температуры охлаждающей жидкости устанавливают на
автомобилях ГАЗ-66, ЗИЛ-131 и КрАЗ-257. Магнитоэлектрический прибор состоит из
датчика ТМ100 с полупроводниковым термическим сопротивлением (резистором) и
магнитоэлектрического приемника, рассчитанных на 12 или 24 в. Этот прибор точен
и надежен в работе и не создает помех радиоприему. Прибор включается в цепь
включателем 14 зажигания.
Рисунок-13-Схема магнитоэлектрического указателя температуры
охлаждающей жидкости
Датчик изменяет силу тока в катушке К1 приемника при
изменении температуры жидкости, что и обеспечивает отклонение стрелки по шкале
на различный угол. В латунный корпус 4 датчика устанавливается тонкий круглый
диск (резистор) 1, изготовленный из окиси меди и окиси марганца. Резистор
является полупроводником, сопротивление которого уменьшается с повышением
температуры и увеличивается при его охлаждении. Резистор соединяется с массой
через корпус датчика. Пружина 3 соединяет резистор с выводным зажимом датчика,
укрепленным в изоляторе 5. Бумажный патрон 2 изолирует пружину и боковую
поверхность резистора от корпуса датчика. В приемнике указателя охлаждающей
жидкости, а также в приемниках указателей давления масла, воздуха и уровня
топлива устройство колодок, подвижного магнита и экрана аналогично устройству
таких же деталей амперметра В приемнике на основании, состоящем из двух
пластмассовых колодок 9, намотаны три катушки К1, К2 и К3, концы которых
подключены к зажимам Б и Д. Электрическая схема указателя состоит из двух
параллельных ветвей: в одну из ветвей включены последовательно катушка К1 и
резистор, в другую - последовательно катушки К2 и К3 добавочное сопротивление
13. В канавку одной из колодок закладывается постоянный магнит 12. На оси
стрелки 6 приемника жестко укреплен постоянный магнит 8, выполненный в виде
диска, и ограничитель 11 угла поворота стрелки. Отогнутый конец ограничителя
входит в прорезь 10 верхней колодки 9. Магнит и ограничитель поворота стрелки
устанавливают в кольцевом пространстве между обеими колодками. При отсутствии тока
в катушках вследствие взаимодействия разноименных полюсов магнитов 8 и 12
стрелка устанавливается немного левее минимального деления шкалы. Стальной
экран 7 защищает приемник от влияния магнитных полей других приборов и
проводников, что повышает точность его показаний. При работе прибора сила тока
в катушках К2 и К3 не изменяется, а поэтому и магнитные поля, создаваемые этими
катушками, остаются практически постоянными. Сила тока в катушке К1, а
следовательно, и создаваемое ею магнитное поле зависят от температуры
резистора. Путь тока в цепи указан стрелками на схеме. Магнитные поля катушек
К1 и К2 действуют навстречу друг другу, а магнитное поле катушки К3 действует
под прямым углом к ним. В результате взаимодействия магнитных полей трех
катушек создается общее результирующее магнитное поле, действующее на магнит
8.С повышением температуры сопротивление резистора уменьшается, что увеличивает
силу тока в катушке К1 и ее магнитное поле. При этом изменяется величина и
направление действия результирующего магнитного поля трех катушек, которое,
воздействуя на магнит 8, повертывает его на оси, а вместе с ним и стрелку
приемника в сторону больших показаний шкалы. В процессе эксплуатации приемник и
датчик не регулируют.
10.
Приведите кинематическую схему и опишите устройство и работу сцепления
автомобиля ВАЗ-2108, перечислите возможные неисправности и регулировки
Рисунок-14-сцепление ВАЗ-2108
Сцепление. 1. Картер сцепления; 2. Опорная втулка вала вилки
выключения сцепления; 3. Вилка выключения сцепления; 4. Подшипник выключения
сцепления; 5. Нажимная пружина; 6. Ведомый диск; 7. Маховик; 8. Нажимной диск;
9. Шкала для проверки момента зажигания; 10. Болт крепления сцепления к
маховику; 11. Кожух сцепления; 12. Опорные кольца нажимной пружины; 13.
Направляющая втулка муфты подшипника выключения сцепления; 14. Сальник
первичного вала коробки передач; 15. Подшипник первичного вала; 16. Первичный
вал; 17. Втулка вала вилки выключения сцепления; 18. Защитный чехол вилки
выключения сцепления; 19. Фрикционные накладки ведомого диска; 20. Передняя
пластина демпфера; 21. Фрикционные кольца демпфера; 22. Ступица ведомого диска;
23. Упор демпфера; 24. Задняя пластина демпфера; 25. Пружина демпфера; 26.
Опорное кольцо пружинной шайбы; 27. Пружинная шайба демпфера; 28. Пластина,
соединяющая кожух сцепления с нажимным диском; 29. Муфта подшипника выключения
сцепления; 30. Соединительная пружина вилки и муфты подшипника выключения
сцепления.
Устройство и работа сцепления. Сцепление служит для
кратковременного разъединения двигателя и трансмиссии и плавного их соединения
при трогании с места, а также переключении передач. Кроме того, сцепление
предохраняет детали трансмиссии от перегрузок. При неравномерном вращении
коленчатого вала двигателя в трансмиссии возникают колебания. Для их гашения в
сцеплении имеется гаситель колебаний, или демпфер.
На легковых автомобилях устанавливают однодисковые сухие
фрикционные сцепления. Схема такого сцепления изображена на рисунке 3.3.
Ведущая часть сцепления состоит из маховика / двигателя, нажимного диска 2 и
кожуха 3. Ведомая часть представляет собой ведомый диск 4 со ступицей 5 и
фрикционными накладками 6. На ведомом диске укреплен гаситель колебаний 7.
Сцепление имеет механизм выключения, оснащенный муфтой 8, подшипником 9 и
пружиной 10. Во время включения сцепление пробуксовывает до тех пор, пока
угловые скорости (частоты) вращения ведущих и ведомых частей не станут
одинаковыми. Когда сцепление буксует, происходит изнашивание фрикционных
накладок, на трущихся поверхностях выделяется большое количество тепла (при
длительном буксовании температура поверхностей трения может превышать 300°С).
Причем при температуре 200°С наблюдается резкое снижение коэффициента трения,
сцепление начинает терять работоспособность, и для надежной его работы нужно
позаботиться об отводе тепла от трущихся поверхностей.
Во фрикционных сцеплениях тепло поглощается массивным
маховиком двигателя и нажимным диском, для отвода тепла предусматривается
вентиляция сцепления и удаления из него продуктов износа. Уменьшить буксование
можно, если при трогании с места включать сцепление при небольшой частоте
вращения двигателя. При переключении передач также нежелательно иметь большую
частоту вращения двигателя. Сцепление может пробуксовывать, когда не до конца
отпущена педаль привода.
Тросовый механический привод сцепления автомобиля «ВАЗ-2108
связан с рычагом 12, который с помощью шарнира соединен с толкателем 13. На
конце толкателя установлена предварительно сжатая пружина 14. Она уменьшает усилие
на педали после выключения сцепления и обеспечивает ее возврат в исходное
положение. При выключенном сцеплении ось шарнира рычага 12, к которому
прикреплена пружина 14, перемещается относительно оси педали. Если сцепление
выключено, сила пружины уменьшается. Такие пружины называются сервопружинами.
Трос 9 привода в оболочке 6, имеющий два наконечника, соединен с педалью
пластмассовой серьгой 10. Верхний наконечник 7 находится в резиновой втулке 8,
а нижний 5 закреплен на кронштейне 2 двумя регулировочными гайками 4 с шайбами
3. На нижнем конце троса закреплен поводок, который приводит в движение рычаг
вилки выключения сцепления. В приводе предусмотрена регулировка хода педали.
Начиная с конца 1986 г. на автомобилях «ВАЗ-2108» и -2109»
стали применять беззазорный привод, а сервопружины заменили обычными. В
беззазорном приводе отсутствует зазор между муфтой 15 с подшипником выключения
2 и лепестками пружины 8 Такая конструкция привода позволила уменьшить полный
ход педали и улучшить полноту выключения сцепления.
Внешние признаки и соответствующие им неисправности сцепления
представлены в таблице 1.
Таблица 1. Внешние признаки и соответствующие им
неисправности сцепления
|
Признаки
|
Неисправности
|
|
сцепление «ведет»
|
· деформация ведомого диска; · износ шлицев ведомого
диска; · износ или повреждение накладок ведомого диска; · неисправность
рабочего цилиндра; · заедание, удлинение или повреждение троса; · повреждение
рычажной системы
|
|
сцепление «буксует»
|
· износ или повреждение накладок ведомого
диска; · замасливание ведомого диска; · износ рабочей поверхности маховика; ·
заедание троса; · заедание вилки выключения сцепления
|
|
вибрация при включении сцепления
|
· износ шлицев ведомого диска; · деформация
ведомого диска; · замасливание ведомого диска; · ослабление опор крепления
двигателя
|
|
шум при выключении сцепления рывки при работе
сцепления
|
· износ или повреждение подшипника выключения
сцепления · износ или повреждение накладок ведомого диска; · замасливание
ведомого диска; · заедание ступицы ведомого диска на шлицах; · износ или
поломка демпферных пружин; · коробление нажимного диска; · ослабление опор
крепления двигателя
|
11.
Опишите устройство и работу синхронизатора коробки передач автомобиля
КАМЗ-5320. Приведите схемы включения шестерен на различных
передачах. В КП автомобилей КамАЗ используют одинаковые по
принципу действия синхронизаторы, отличающиеся друг от друга только размерами и
некоторыми деталями устройства. Каретка 1 синхронизатора, имеющая два зубчатых
венца А, установлена на шлицах ведомого вала. Два конусных кольца 2 жестко
связаны между собой пальцами 3. В средней части пальцев имеются проточки с
коническими боковыми поверхностями, а в отверстиях фланца каретки - конические
фаски, являющиеся блокирующими поверхностями каретки. Конусные кольца жестко с
кареткой не связаны и могут перемещаться относительно нее в осевом направлении.
В среднем положении кольца удерживаются фиксаторами 4, которые прижимаются к
полукруглым проточкам в пальцах пружинами 5.
Рисунок-15 - Синхронизатор коробки передач с блокирующими
пальцами: 1 - каретка; 2 - конусное кольцо; 3 - блокирующий палец; 4 -
фиксатор; 5 - пружина; А - зубчатый венец
При перемещении каретки для включения передачи конусные
кольца передвигаются вместе с кареткой до соприкосновения поверхности одного из
них с конической поверхностью шестерни включаемой передачи. Возникающей при
этом силой трения кольца поворачиваются относительно каретки до упора
коническими поверхностями проточек пальцев в блокирующие поверхности конических
фасок фланца каретки. Дальнейшее продольное продвижение каретки становится
невозможным до момента выравнивания частот вращения каретки (ведомого вала) и
шестерни включаемой передачи, которое обеспечивается трением между коническими
поверхностями кольца и шестерни включаемой передачи.
Когда частоты вращения будут выравнены, от усилия,
прикладываемого к каретке через вилку выключения, пальцы занимают среднее
положение в отверстиях фланца каретки, и блокирующие поверхности не будут
препятствовать ее перемещению. Фиксаторы, выходя из полукруглых выточек,
сжимают пружины, каретка освобождается и, перемещаясь далее, соединяется своим
зубчатым венцом с зубчатым венцом шестерни включаемой передачи.
Рисунок-16-схема переключения шестерен на различных передачах
12.
Приведите кинематическую схему и опишите устройство и работу главной передачи
автомобиля МАЗ-4334
Примером разнесенной двойной главной передачи может служить
конструкция заднего моста автомобиля МАЗ-5335 которая состоит из конической
главной передачи и двух колесных редукторов.
Особенностью конической главной передачи автомобиля МАЗ-5335
по сравнению с рассмотренными конструкциями главных передач является то, что
ведущая коническая шестерня, изготовленная за одно целое с валом, крепится не
консольное, а имеет дополнительную опору, представляющую собой цилиндрический
роликоподшипник. При трех подшипниках конструкция получается более компактной,
значительно уменьшается длина хвостовика шестерни, что при небольшой базе
автомобиля позволяет лучше расположить карданный, и, кроме того, значительно
снижается нагрузка на подшипники по сравнению с консольным креплением.
Устанавливаемый в расточке прилива картера роликоподшипник воспринимает
радиальные усилия, уменьшая деформацию шестерни.
Конический дифференциал заднего моста имеет четыре сателлита
и два поолуосевых зубчатых колеса.
Рисунок-17-ведущий мост и главная передача автомобиля
МАЗ-4334
Центральный редуктор в сборе, состоящий из конической главной
передачи и дифференциала, установлен в картере заднего моста и закреплен
шпильками и гайками к его обработанной плоскости, а с задней стороны отверстие
закрыто Штампованной крышкой, приваренной к картеру моста. В расточки перегородок
картера запрессованы кожухи 10 полуосей, которые от проворачивания удерживаются
стопорными штифтами 9.
На наружные концы кожухов полуосей с помощью эвольвентных
шлицев закреплены внутренние чашки 26, которые жестко соединены с наружными
чашками 3, образуя неподвижное водило, на трех осях которого вращаются
сателлиты 2. От полуосей момент передается к центральной солнечной шестерне 1,
от нее через три сателлита 2 и коронное колесо 4 к ступице колеса.
Передаточное число колесного редуктора определяется отношением
числа зубьев коронного колеса и солнечной шестерни, поэтому изменением
указанных чисел зубьев может быть получен ряд передаточных чисел при сохранении
межосевого расстояния. Сателлиты не влияют на величину передаточного числа.
Преимущества и недостатки гипоидной и разнесенной двойной
главных передач. В гипоидной передаче ось ее ведущей шестерни расположена ниже
оси ведомого колеса (оси заднего моста). Вследствие этого центр тяжести
автомобиля ниже и лучше его устойчивость.
По сравнению с обычной конической парой, при одинаковом
передаточном числе и передаваемом моменте гипоидное зацепление, создавая
меньший шум при работе, позволяет увеличить диаметр ведущей шестерни.
Полученная вследствие этого более жесткая и прочная конструкция повышает долговечность
передачи. Но наличие повышенного скольжения между зубьями гипоидных передач
требует применения специального гипоидного смазочного материала с сернистыми,
свинцовыми, фосфорными и другими присадками, образующими на поверхностях зубьев
прочную пленку.
13.
Опишите устройство подвески автомобиля МАЗ-5335
Рисунок-18 - Передняя подвеска: 1-кронштейн передний; 2 -
палец крепления рессоры; 3 - рессора; 4 - кронштейн буфера; 5 - накладка
рессоры; 6 - буфер рессоры; 7 - стремянка, 8 амортизатор; 9 - задний кронштейн
Устройство передней подвески: На переднем конце коренного
листа рессоры установлено накладное ушко с втулкой, которое посредством пальца
соединяется с кронштейном на раме. Задний конец рессоры скользящий. Для предотвращения
проворачивания и осевого перемещения пальца в кронштейне применен специальный
клин пальца. Для гашения колебаний, возникающих при движении автомобиля по
неровностям дороги, в его подвеске установлены разборные телескопического типа
гидравлические амортизаторы двустороннего действия.
Рисунок-18 - Крепление ушка рессоры: 1 - стрем янка; 2 -
гайка; 3 - накладка; 4 - палец; 6 - втулка; 6 - шайба; 7 - гайка; 8 - шплинт, 9
- ушко, 10 - втулка ушка
На переднем конце коренного листа задней подвески Маз-5335,
установлено отъемное накладное ушко 13, принципиально ничем не отличающееся от
описанного выше накладного ушка передней рессоры.
Размеры заднего накладного ушка больше переднего. Палец 11,
соединяющий ушко с кронштейном рессоры, также имеет больший диаметр.
Крепление ушка на рессоре и фиксация пальца в переднем
кронштейне задней рессоры аналогичны таким же соединениям на передней рессоре.
Задний конец рессоры задней подвески Маз-5335, также выполнен
скользящим, а в заднем кронштейне предусмотрены такие же защитные вкладыши, как
в заднем кронштейне передней рессоры.
Дополнительные задние рессоры 5 делятся на две группы: к
первой относятся рессоры со стрелой прогиба, равной 85+6 мм, ко второй - со
стрелой прогиба 85-5 мм.
К концам четвертого листа дополнительной рессоры приклепаны
хомуты, ограничивающие смещение листов рессоры. Концы хомутов загнуты на первый
лист рессоры.
Она расположена сверху на основной рессоре. На ней
установлена литая накладка, а между дополнительной и основной рессорой -
прокладка.
Рисунок-19 - Задняя подвеска автомобилей Маз-5551, 5549,
Маз-5335, 5336, 5337 1 - передний кронштейн; 2 - масленка; 3 - кронштейн
дополнительной задней рессоры; 4 - основная рессора; 5 - дополнительная
рессора; 6 - стремянка; 7 - накладка задней рессоры; 8 - балка заднего моста; 9
- подкладные листы; 10 - задний кронштейн; 11 - палец ушка; 12 - втулка; 13 -
накладное ушко; 14 - стяжной болт.
К балке заднего моста основная и дополнительная рессоры
прикреплены стремянками 6. Для этого на верхней плоскости балки моста имеется
опорная площадка.
Стремянки проходят через приливы в нижней площадке балки
заднего моста и притянуты к ней высокими гайками.
Толкающие усилия от заднего моста к раме передаются передним
концом коренного листа основной рессоры.
Ограничителем прогиба задней рессоры служит резиновый буфет,
установленный на балке моста рядом с рессорой и упирающийся в нижнюю полку
продольной балки рамы.
В этом месте внутри продольной балки установлен усиливающий
угольник, повышающий жесткость нижней полки. Подвеска задней тележки показана
на рис. 62.
Рессора задней подвески Маз-5335, имеет 15 листов, размер
сечения каждого - 90X12 мм, а стрела прогиба рессоры в сборе 65±8 мм. Рессоры
выполнены несимметричного типа и установлены короткими концами к балансиру.
Концы рессор имеют накладные съемные ушки, аналогичные по
конструкции ушкам задней рессоры МАЗ-500А. Балансир и накладные ушки имеют
съемные втулки.
14.
Приведите принципиальную схему тормозной системы автомобиля МАЗ-5335 и подробно
опишите устройство и работу компрессора и регулятора давления
Принципиальная схема пневматической системы тормозного
привода показана на рисунке-20 Нагнетаемый компрессором воздух через
влагаотделитель 2 с автоматическим сбросом конденсата и регулятор давления 3
поступает в конденсационный баллон 4, из которого через двойной защитный клапан
5 сжатый воздух подается в контур привода передних тормозов и контур привода
задних тормозов. Контур привода передних тормозов состоит из воздушного баллона
7, нижней секции тормозного крана и передних тормозных камер. Контур привода
задних тормозов состоит из воздушного баллона 6, верхней секции тормозного
крана, клапана 8 управления тормозами прицепа (полуприцепа) и задних тормозных
камер. Двойной защитный клапан при повреждении контуров переднего или заднего
привода тормозов отключает неисправный контур и обеспечивает подачу сжатого
воздуха в исправный контур. Из воздушного баллона 6 сжатый воздух подводится к
клапану управления тормозами прицепа.
Рисунок-20-Принципиальная схема пневматической системы
тормозного привода: 1 - компрессор; 2 - влагоотделнтель; 3 - регулятор
давления; 4 - конденсационный баллон; б - двойной защитный клапан, 6, 7 -
воздушные баллоны; 8 - клапан управления тормозами прицепа (полуприцепа); 9 -
трубопровод; 10 - тормозные камеры задние; 11 - соединительная головка; 12 -
двухсекционный тормозной кран, 13 - тормозные камеры передние
К воздушному баллону 7 подключены дополнительные потребители:
пневмоусилитель сцепления и другие. При нажатии на тормозную педаль сжатый
воздух из воздушного баллона 7 через тормозной кран 12 поступает в передние
тормозные камеры, а из воздушного баллона 6 - в тормозные камеры задней оси,
вызывая затормаживание автомобиля. По трубопроводу 9 сжатый воздух поступает в
управляющую полость клапана 8, при этом из соединительной магистрали воздух
выходит в атмосферу и происходит затормаживание прицепа (полуприцепа). При
отпускании тормозной педали сжатый воздух из тормозных камер задней и передней
осей через тормозной кран выходит в атмосферу и происходит растормаживание осей
автомобиля. Одновременно из управляющей полости клапана 8 сжатый воздух через
тормозной кран выходит в атмосферу, при этом из воздушного баллона 6 сжатый
воздух поступает в соединительную магистраль и управляющую полость
воздухораспределительного клапана прицела (полуприцепа), вызывая его
растормаживание.
Компрессор
На автомобилях МАЗ устанавливается поршневой двухцилиндровый
компрессор. Забор воздуха компрессором во время его работы осуществляется через
воздушный фильтр двигателя. Литой чугунный поршень имеет три кольца - два
компрессионных и одно маслосъемное. Подшипник шатуна имеет биметаллические
вкладыши. Головка шатуна под поршневой палец имеет бронзовую втулку. В гнездах
головки компрессора расположены нагнетательные клапаны пластинчатого типа.
Закрытые нагнетательные клапаны разобщают цилиндры и нагнетательный канал
головки, который соединяет нагнетательные каналы обоих цилиндров. Блок
цилиндров и головка охлаждаются жидкостью из системы охлаждения двигателя.
Система смазки компрессора - смешанная при сухом картере. Из
масляной магистрали двигателя масло по подводящей трубке поступает к задней
крышке компрессора и через отверстия уплотнительного устройства - к каналам в
коленчатом валу. По этим каналам масло поступает к подшипникам шатунов и далее
к поршневым пальцам. Остальные трущиеся поверхности смазываются
разбрызгиванием. Из компрессора масло сливается через крышку, на которой он
крепится, в картер двигателя.
Чтобы масло не вытекало в картер компрессора, в задней крышке
картера имеется специальное устройство, которое состоит из уплотнителя задней
крышки и пружины. Под действием пружины уплотнитель прижимается к торцу задней
крышки. Между картером компрессора и крышкой двигателя, к которой компрессор
крепится четырьмя болтами, расположена защитная металлическая пластина,
препятствующая попаданию осколков в масляную (систему двигателя в случае
поломки всасывающих клапанов компрессора. При достижении в воздушных баллонах
давления) -7,35 кгс/см2 срабатывает регулятор давления и воздух через и крытый
выпускной клапан регулятора давления выходит в атмосферу.
Рисунок-21 - Компрессор: 1 - картер компрессора; 2 -
подшипник; 3 - передняя крышка компоессора; /-сальник; Б - шкив, 6 -
регулировочные прокладки, 7 - блок цилиндров компресора, 8 - поршень с шатуном;
9 - гочовка компрессора; 10 - стопорное кольцо, 11-подшипник, 12 - упорная
гайка; 13 - задняя кбышка картера компрес-юра, 14 - уплотнитель; 15 - пружина
уплотнителя, 16 - коленчатый вал; 17 - пружина впускного клапана; 18 - клапан
впускной; 19 - направляющая впускного к ч іпана; 20 - направляющая пружины
коромысла; 21 - пружина коромысла 22 - шток впускного клапана, 23 - коромысло,
24 - плунжер; 25 - кольцо уплотнительное; 26 - транспортная заглушка
Регулятор давления
Предназначен для поддержания в пневматической тормозной
системе давления сжатого воздуха в пределах 6,2-7,35 кгс/см2 путем
периодической разгрузки компрессора. Предохранительный клапан, встроенный в
регулятор давления, обеспечивает в случае отказа регулятора давления перепуск
воздуха в атмосферу при достижении в системе давления 8,5 кгс/см2. Регулятор
давления с предохранительным клапаном состоит из корпуса 22, в котором
расположены поршень 8У регулировочный болт 13, предохранительный клапан 17.
Сжатый воздух из компрессора поступает в полость Л, открывает обратный клапан
21 и попадает в полость Б, связанную с воздушными баллонами. При повышении
давления воздуха в полости В до 6,9 - 7,35 кгс/см2 сжатый воздух, преодолевая
сопротивление пружины 12 регулировочного устройства, отжимает диафрагму 11 ог
седла и поступает через каналы в корпусе регулятора в надноршневую полость Б
разгрузочного устройства. Сжатый воздух, действуя на поршень 8 со стержнем,
перемещает его вниз и открывает клапан 5, при этом воздух через канал 7 и
штуцер 1 попадает в атмосферу. При падении давления в полости А клапан 21 не
дает возможности поступления воздуха из полости Б в атмосферу. При падении
давления в полостях Б и В до величины 6,2 кгс/см2 диафрагма 11 под давлением
пружины 12 садится на седло, прекращая поступление воздуха в полость Б.
Рисунок-22 - Регулятор давления с предохранительным клапаном:
1 - штуцер; 2 - корпус; 3, 9, 20 - уплотнительные кольца; 4, 6, 12, 14 -
пружина; 5, 21, 18 - клапан; 7-канал; 8-поршень; 10-пробка; 11 - диафрагма; 13
- болт регулировочный; 15 - колпак; 16 - винт регулировочный; 17 - клапан
предохранительный; 19 - корпус клапана; 22 - корпус регулятора
Воздух, находящийся в полости Б, через дроссельное отверстие
в поршне 8 сообщается с атмосферой. Поршень 8 под действием возвратной пружины
возвращается в первоначальное положение, при этом клапан 5 садится на седло, и
прекращается поступление сжатого воздуха в атмосферу. Компрессор начинает
нагнетать сжатый воздух в полость В. Клапан 17 предохраняет пневматическую
систему от чрезмерного повышения давления в случае неисправности разгрузочного
устройства регулятора давления. Он состоит из корпуса 19, колпака 15,
регулировочного винта 16у резинового клапана 18 и пружины 14. Воздух из полости
В подводится к клапану через наклонные отверстия. При достижении давления в
полости В выше 8,5±0,2 кгс/см2 открывается клапан 18 и выпускает избыток
воздуха в атмосферу через радиальное отверстие в корпусе клапана.