Проектирование корабельной (судовой) ядерной реакторной установки
КУРСОВОЙ
ПРОЕКТ
По дисциплине
«Судовое главное энергетическое оборудование. Паропроизводящие установки»
На
тему«Проектирование корабельной (судовой) ядерной реакторной установки»
ЗАДАНИЕ НА КУРСОВОЙ ПРОЕКТ
ТЕМА: «Проектирование корабельной (судовой) ядерной реакторной установки»
ИСХОДНЫЕ ДАННЫЕ:
- общая паропроизводительность D =58 кг/с
температура перегретого пара на выходе из ПГ tпе=280 °С
давление перегретого пара на выходе из ПГ Pпе=2.4 МПа
давление ТН Рт=15.0 МПа
объем ТН первого контура Vтн=11
м3
гидр. сопротивление тракта РТ на экономайзерном участке ΔРэк=0.15 МПа
гидр. сопротивление тракта РТ на испарительном участке ΔРисп=0.3 МПа
гидр. сопротивление тракта РТ на пароперегревательном участке ΔРпе=0.16 МПа
давление в конденсаторе Рк=0.02 МПа
Введение
Работы по данной технологической инструкции рекомендуется выполнять
специализированными звеньями в составе двух, трех слесарей-монтажников,
сварщиков, сборщиков-проверщиков, стропальщиков с квалификацией 3-5разрядов в
зависимости от сложности выполняемых операций.
Погрузку парогенератора и реактора производить в присутствии
представителей завода поставщика, УКП, заказчика и под руководством
ответственного исполнителя, назначенного начальником участка.
При проведении монтажа изделий необходимо соблюдать требования
безопасности изложенные в разделе 3.
Перед установкой парогенератора и реактора проверить наличие рисок,
устанавливающих взаимное положение сопрягаемых изделий, при отсутствии рисок их
необходимо нанести.
Установку изделий необходимо выполнить, не допуская повреждения деталей.
Крепежные изделия заменить при наличии следующих дефектов:
) смятие граней под ключ;
) повреждение более двух витков резьбы;
) коррозионные разрушения резьбы, при которых отклонения от профиля и
размеров сверхпредельных значений, установленных стандартом;
) трещин, расслоения металла.
До нагрузки парогенераторов и реактора в кессоны бака ЖВЗ обязательно
должны быть проведены следующие работы:
) расконсервация и установление соответствия техническим условиям на
поставку;
) проверка на чистоту обезжиренных сварных стыков;
) очистка корпуса и других деталей с наружной стороны ацетоном перед
установкой и установка теплоизоляции;
) установка временных технологических заглушек в замен транспортных;
) транспортировка узлов оборудования к месту монтажа на судне.
Перед транспортировкой реактор и парогенераторы должны быть тщательно
взвешены на рычажных вагонных весах вместе с платформой.
1. Прямоточный парогенератор
.1 Прямой тепловой расчёт парогенератора
Таблица 1.1
|
№
|
Наименование величины
|
Обозначение
|
Размерность
|
Расчётная формула
|
Числовое значение
|
|
1
|
Среднее давление на
пароперегревательном участке в тракте РТ
|
МПа
|
Pпе+0,5ΔPпе
|
2,48
|
|
|
2
|
Среднее давление на
испарительном участке в тракте РТ
|
МПа
|
Pпе+ΔPпе+0,5ΔPисп
|
2,71
|
|
|
3
|
Среднее давление на
экономайзерном участке в тракте РТ
|
МПа
|
Pпе+ΔPПЕ+ΔPИСП+0,5ΔPЭК
|
2,935
|
|
|
4
|
Давление питательной воды
|
РПВ
|
МПа
|
PПЕ+ΔPПГ
|
3,01
|
|
5
|
Средняя температура на
испарительном участке в тракте РТ
|
˚С
|
справ. данное, [1]
|
228.06
|
|
|
6
|
Удельный объём кипящей воды
на испарительном участке в тракте РТ
|
м3/кг
|
справ. данное, [1]
|
0,0012050
|
|
|
7
|
Температура питательной
воды
|
tПВ
|
˚С
|
справ. данное, [1]
|
60.09
|
|
8
|
Энтальпия кипящей воды
|
кДж/кг
|
справ. данное, [1]
|
981,2
|
|
|
9
|
Энтальпия сухого
насыщенного пара
|
кДж/кг
|
справ. данное, [1]
|
2801,5
|
|
|
10
|
Энтальпия перегретого пара
|
iПЕ
|
кДж/кг
|
справ. данное, [1]
|
2960
|
|
11
|
Энтальпия питательной воды
|
iПВ
|
кДж/кг
|
справ. данное, [1]
|
253,6
|
|
12
|
Паропроизводительность
одной секции ПГ
|
D
|
кг/с
|
9,66
|
|
|
13
|
Тепловая мощность,
передаваемая РТ на экономайзерном участке
|
кВт
|
D∙(i’- iПВ)
|
7028,616
|
|
|
14
|
Тепловая мощность,
передаваемая РТ на испарительном участке
|
кВт
|
17584,098
|
|
|
|
15
|
Тепловая мощность,
передаваемая РТ на пароперегревательном участке
|
кВт
|
1531,11
|
|
|
|
16
|
Тепловая мощность,
передаваемая РТ в ПГ
|
кВт
|
QЭК+QИСП+QПЕ
|
26143,824
|
|
|
17
|
Тепловая мощность,
отдаваемая ТН на экономайзерном участке
|
кВт
|
7099,6
|
|
|
|
18
|
Тепловая мощность,
отдаваемая ТН на испарительном участке
|
кВт
|
17761,7
|
|
|
|
19
|
Тепловая мощность,
отдаваемая ТН на пароперегревательном участке
|
кВт
|
1546,57
|
|
|
|
20
|
Тепловая мощность,
отдаваемая ТН в ПГ
|
кВт
|
26407,9
|
|
|
|
21
|
Температура насыщения ТН
|
ts
|
˚С
|
справ. данное, [1]
|
342,12
|
|
22
|
Температура ТН на выходе из
реактора
|
˚С
|
ts-Δtнт
|
312,12
|
|
|
23
|
Температура ТН на входе в
ПГ
|
˚С 312,12
|
|
|
|
|
1
|
2
|
3
|
4
|
5
|
6
|
|
24
|
Температура ТН на выходе из
ПГ
|
˚С 272,12
|
|
|
|
|
25
|
Энтальпия ТН на входе в ПГ
|
кДж/кгсправ. данное, [1]1397
|
|
|
|
|
26
|
Энтальпия ТН на выходе из
ПГ
|
кДж/кгсправ. данное, [1]1190
|
|
|
|
|
27
|
Расход ТН через ПГ
|
кг/с 127,57
|
|
|
|
|
28
|
Разность энтальпий ТН на
границах пароперегревательного участка
|
кДж/кг 12,12
|
|
|
|
|
29
|
Разность энтальпий ТН на
границах испарительного участка
|
кДж/кг 139,23
|
|
|
|
|
30
|
Энтальпия ТН на входе в
испарительный участок
|
кДж/кг - 1384,88
|
|
|
|
|
31
|
Энтальпия ТН на входе в
экономайзерный участок
|
кДж/кг - 1245,65
|
|
|
|
|
32
|
Температура ТН на входе в
испарительный участок
|
˚Ссправ. данное, [1]308
|
|
|
|
|
33
|
Температура ТН на входе в
экономайзерный участок
|
˚Ссправ. данное, [1]282,5
|
|
|
|
|
34
|
Экономайзерный участок:
|
|
|
|
|
|
-
|
больший температурный напор
|
˚С - tПВ212,03
|
|
|
|
|
-
|
меньший температурный напор
|
˚С - 54,44
|
|
|
|
|
-
|
средний температурный напор
|
˚С 115,9
|
|
|
|
|
35
|
Испарительный участок:
|
|
|
|
|
|
-
|
больший температурный напор
|
˚С - 79,94
|
|
|
|
|
-
|
меньший температурный напор
|
˚С - 54,44
|
|
|
|
|
-
|
Средний температурный напор
|
˚С 66,4
|
|
|
|
|
36
|
Пароперегревательный
участок:
|
|
|
|
|
|
-
|
больший температурный напор
|
˚С - 79,94
|
|
|
|
|
-
|
меньший температурный напор
|
˚С -tПЕ32,12
|
|
|
|
|
-
|
средний температурный напор
|
˚С 52,4
|
|
|
|
|
37
|
Физические параметры сред
на участках:
|
|
|
|
|
|
37.1
|
Экономайзерный участок:
|
|
|
|
|
|
37.1.1
|
Тракт ТН:
|
|
|
|
|
|
-
|
средняя температура
|
˚С0,5( + )277,31
|
|
|
|
|
-
|
теплопроводность
|
 справ.
данное, [1]600٠10-3
|
|
|
|
|
-
|
удельный объём
|
м3/кгсправ. данное, [1]0,0013
|
|
|
|
|
-
|
число Прандтля
|
-справ. данное, [1]0,818
|
|
|
|
|
-
|
динамическая вязкость
|
мкПа∙ссправ. данное, [1]97,307
|
|
|
|
|
-
|
кинематическая вязкость
|
м2/с ∙ 0,1265٠10-6
|
|
|
|
|
37.1.2
|
Тракт РТ:
|
|
|
|
|
|
-
|
средняя температура
|
˚С - 161,41
|
|
|
|
|
-
|
теплопроводность
|
 справ.
данное, [1]680٠10-3
|
|
|
|
|
-
|
удельный объём
|
м3/кгсправ. данное, [1]0,0011
|
|
|
|
|
-
|
число Прандтля
|
-справ. данное, [1]1,08
|
|
|
|
|
-
|
динамическая вязкость
|
мкПа∙ссправ. данное, [1]169
|
|
|
|
|
-
|
кинематическая вязкость
|
м2/с ∙ 0,186٠10-6
|
|
|
|
|
37.2
|
Испарительный участок:
|
|
|
|
|
|
37.2.1
|
Тракт ТН:
|
|
|
|
|
|
-
|
средняя температура
|
˚С + 294,46
|
|
|
|
|
-
|
теплопроводность
|
 справ.
данное, [1]570,7٠10-3
|
|
|
|
|
-
|
удельный объём
|
м3/кгсправ. данное, [1]0,00135
|
|
|
|
|
-
|
число Прандтля
|
-справ. данное, [1]0,849
|
|
|
|
|
-
|
динамическая вязкость
|
мкПа∙ссправ. данное, [1]90,2
|
|
|
|
|
-
|
кинематическая вязкость
|
м2/с ∙ 0,12177٠10-6
|
|
|
|
|
37.3
|
Пароперегревательный
участок:
|
|
|
|
|
|
37.3.1
|
Тракт ТН:
|
|
|
|
|
|
-
|
средняя температура
|
˚С0,5( + )310,06
|
|
|
|
|
-
|
теплопроводность
|
 справ.
данное, [1]541,6٠10-3
|
|
|
|
|
-
|
удельный объём
|
м3/кгсправ. данное, [1]0,0014212
|
|
|
|
|
-
|
число Прандтля
|
-справ. данное, [1]0,903
|
|
|
|
|
-
|
динамическая вязкость
|
мкПа∙ссправ. данное, [1]84,3
|
|
|
|
|
-
|
кинематическая вязкость
|
м2/с ∙ 0,1198٠10-6
|
|
|
|
|
37.3.2
|
Тракт РТ:
|
|
|
|
|
|
-
|
средняя температура
|
˚С - 257,66
|
|
|
|
|
-
|
теплопроводность
|
 справ.
данное, [1]45,5٠10-3
|
|
|
|
|
-
|
удельный объём
|
м3/кгсправ. данное, [1]0,088
|
|
|
|
|
-
|
число Прандтля
|
-справ. данное, [1]1,09
|
|
|
|
|
-
|
динамическая вязкость
|
мкПа∙ссправ. данное, [1]18,1
|
|
|
|
|
-
|
кинематическая вязкость
|
м2/с ∙ 1,5928٠10-6
|
|
|
|
|
|
|
|
|
|
|
Ðèñ. 1.2
Ïàðàìåòðû:
tòâûõ.ïã
=272.12 ˚C;
tòâõ.ýê
=282.5 ˚C;
tòâõ.èñï
=308 ˚C;
tòâõ.ïã
=312.12 ˚C;
tïâ
=60.09 ˚C;
tïå
=280 ˚C;
hýê
=0.301 ì;
hèñï
=0,935 ì;
hïå
=0.292 ì;
Íïã =73.84 ì.
1.2 Êîìïîíîâêà
ïðîòî÷íîé ÷àñòè
è ðàñ÷¸ò ñêîðîñòåé
ñðåä
Òàáëèöà 1.2
|
¹
|
Íàèìåíîâàíèå
âåëè÷èíû
|
Îáîçíà÷åíèå
|
Ðàçìåðíîñòü
|
Ðàñ÷¸òíàÿ
ôîðìóëà
|
×èñëîâîå
çíà÷åíèå
|
2
|
3
|
4
|
5
|
6
|
|
1
|
Âíóòðåííèé
äèàìåòð òðóáîê
|
dâí
|
ì
|
ïðèíÿòî,
[2]
|
0.015
|
|
2
|
Òîëùèíà
ñòåíîê òðóá
|
δñò
|
ì
|
ïðèíÿòî,
[2]
|
0.002
|
|
3
|
Ãîðèçîíòàëüíûé
çàçîð ìåæäó ñîñåäíèìè
òðóáêàìè
|
δãîð
|
ì
|
ïðèíÿòî,
[2]
|
0.003
|
|
4
|
Âåðòèêàëüíûé
çàçîð ìåæäó ñîñåäíèìè
òðóáêàìè
|
δâåðò
|
ì
|
ïðèíÿòî,
[2]
|
0.003
|
|
5
|
Ñêîðîñòü
ðàáî÷åãî òåëà
íà ýêîíîìàéçåðíîì
ó÷àñòêå
|
Wýê
|
ì/ñ
|
ïðèíÿòî,
[2]
|
1
|
|
6
|
×èñëî
òðóáîê â ïåðâîì
ñëîå
|
n1
|
øò
|
ïðèíÿòî,
[2]
|
2
|
|
7
|
Íàðóæíûé
äèàìåòð òðóáîê
|
díàð
|
ì
|
dâí+2δñò
|
0.019
|
|
8
|
Ñðåäíèé
äèàìåòð òðóáîê
|
dñð
|
ì
|
díàð-δñò
|
0.017
|
|
9
|
Äèàìåòð
öåíòðàëüíîãî
âûòåñíèòåëÿ
|
Döâ
|
ì
|
(10÷12)díàð
|
0.2
|
|
10
|
Îáùåå
÷èñëî òðóáîê
|
nòð
|
øò
|
60
|
|
|
11
|
Øàã ìåæäó
ñìåæíûìè òðóáêàìè
â ñëîå íàâèâêè
|
S1
|
ì
|
díàð+δâåðò
|
0.022
|
|
12
|
Øàã ìåæäó
ñëîÿìè íàâèâêè
|
S2
|
ì
|
díàð+δãîð
|
0.022
|
|
13
|
Îòíîñèòåëüíûé
ïîïåðå÷íûé øàã
òðóáîê
|
- 1.16
|
|
|
|
|
14
|
Îòíîñèòåëüíûé
ïðîäîëüíûé øàã
òðóáîê
|
- 1.16
|
|
|
|
|
15
|
Äèàìåòð
ïåðâîãî ñëîÿ òðóáîê
|
D1
|
ì
|
Döâ+díàð+δãîð
|
0.222
|
|
Äèàìåòðû
ïîñëåäóþùèõ
ñëî¸â òðóáîê
|
Di
|
ì
|
Di-1+2díàð+2δãîð
|
Òàáë.1.2.1
|
|
16
|
Íàðóæíûé
äèàìåòð ïðîòî÷íîé
÷àñòè
|
DÏÃ
|
ì
|
0,775
|
|
|
17
|
Ñðåäíèé
äèàìåòð ïðîòî÷íîé
÷àñòè
|
Dñð
|
ì
|
0.4875
|
|
|
18
|
×èñëî
òðóáîê â ïîñëåäóþùèõ
ñëîÿõ íàâèâêè
|
ni
|
øò
|
Òàáë.1.2.1
|
|
|
19
|
Ïðèíÿòîå
÷èñëî òðóáîê
|
øò[4]57
|
|
|
|
|
20
|
×èñëî
ñëî¸â íàâèâêè
|
Z
|
-
|
[4]
|
13
|
|
21
|
Ïëîùàäü
ïðîõîäíîãî ñå÷åíèÿ
ìåæòðóáíîãî
ïðîñòðàíñòâà
|
ì2π∙ Dñð∙Z∙ δãîð0,0597
|
|
|
|
|
22
|
Äåéñòâèòåëüíàÿ
ñêîðîñòü ÐÒ íà
ýêîíîìàéçåðíîì
ó÷àñòêå
|
ì/ñ 1,055
|
|
|
|
|
23
|
Ñêîðîñòü
ÐÒ íà ïàðîïåðåãðåâàòåëüíîì
ó÷àñòêå
|
ì/ñ 84.4
|
|
|
|
|
24
|
Ñêîðîñòü
ÒÍ íà ýêîíîìàéçåðíîì
ó÷àñòêå
|
ì/ñ 2,78
|
|
|
|
|
1
|
2
|
3
|
4
|
5
|
6
|
|
25
|
Ñêîðîñòü
ÒÍ íà èñïàðèòåëüíîì
ó÷àñòêå
|
ì/ñ 2,88
|
|
|
|
|
26
|
Ñêîðîñòü
ÒÍ íà ïàðîïåðåãðåâàòåëüíîì
ó÷àñòêå
|
ì/ñ 3,03
|
|
|
|
Îïðåäåëåíèå
÷èñëà òðóá è ñëîåâ
ïðîòî÷íîé ÷àñòè
ÏÃ Òàáëèöà 1.2.1
|
¹ i-ãî
ñëîÿ
|
1
|
2
|
3
|
4
|
5
|
6
|
7
|
8
|
9
|
10
|
11
|
12
|
13
|
|
Di ,ì
|
0,222
|
0,266
|
0,310
|
0,354
|
0,398
|
0,442
|
0,486
|
0,530
|
0,57
|
0.618
|
0.662
|
0.706
|
0.75
|
|
ni , øò
|
2
|
2
|
3
|
3
|
4
|
4
|
4
|
5
|
5
|
6
|
6
|
6
|
7
|
|
Σni=ni+ni-1 , øò
|
2
|
4
|
7
|
10
|
14
|
18
|
22
|
27
|
32
|
38
|
44
|
50
|
57
|
Ðèñ. 1.3
Ïàðàìåòðû:
Dïã
=0,775 ì
Döâ
=0,2 ì
D1
=0,222 ì
S1
=0,022 ì
δ1 =0,003 ì
δ2 =0,003 ì
δïã =0,003 ì
1.3 Ðàñ÷¸ò
òåïëîîòäà÷è,
òåïëîïåðåäà÷è
è îïðåäåëåíèå
ïëîùàäè ïîâåðõíîñòè
òåïëîîáìåíà
Òàáëèöà 1.3
|
¹
|
Íàèìåíîâàíèå
âåëè÷èíû
|
Îáîçíà÷åíèå
|
Ðàçìåðíîñòü
|
Ðàñ÷¸òíàÿ
ôîðìóëà
|
×èñëîâîå
çíà÷åíèå
|
|
1
|
Òðàêò
òåïëîíîñèòåëÿ
|
|
|
|
|
|
1.2
|
×èñëî
Re íà
ýêîíîìàéçåðíîì
ó÷àñòêå
|
-
|
417549.4
|
|
|
|
1.3
|
×èñëî
Re íà
èñïàðèòåëüíîì
ó÷àñòêå
|
-
|
428504.3
|
|
|
|
1.4
|
×èñëî
Re íà
ïàðîïåðåãðåâàòåëüíîì
ó÷àñòêå
|
-
|
480550.9
|
|
|
|
1.5
|
×èñëî
Nu íà
ýêîíîìàéçåðíîì
ó÷àñòêå
|
-
|
985.447
|
|
|
|
1.6
|
×èñëî
Nu íà
èñïàðèòåëüíîì
ó÷àñòêå
|
-
|
1020
|
|
|
|
1.7
|
×èñëî
Nu íà
ïàðîïåðåãðåâàòåëüíîì
ó÷àñòêå
|
-
|
1146
|
|
|
|
1.8
|
Êîýôôèöèåíò
òåïëîîòäà÷è
ê ñòåíêå íà ýêîíîìàéçåðíîì
ó÷àñòêå
|
  31120
|
|
|
|
|
1.9
|
Êîýôôèöèåíò
òåïëîîòäà÷è
ê ñòåíêå íà èñïàðèòåëüíîì
ó÷àñòêå
|
  30640
|
|
|
|
|
1.10
|
Êîýôôèöèåíò
òåïëîîòäà÷è
ê ñòåíêå íà ïàðîïåðåãðåâàòåëüíîì
ó÷àñòêå
|
  32670
|
|
|
|
|
2
|
Òðàêò
ðàáî÷åãî òåëà
|
|
|
|
|
|
2.1
|
×èñëî
Re íà
ýêîíîìàéçåðíîì
ó÷àñòêå
|
- 85080
|
|
|
|
|
2.2
|
×èñëî
Re íà
ïàðîïåðåãðåâàòåëüíîì
ó÷àñòêå
|
- 794800
|
|
|
|
|
2.3
|
×èñëî
Nu íà
ýêîíîìàéçåðíîì
ó÷àñòêå
|
-[4]251
|
|
|
|
|
2.4
|
×èñëî
Nu íà
ïàðîïåðåãðåâàòåëüíîì
ó÷àñòêå
|
- 1001
|
|
|
|
|
2.5
|
Êîýôôèöèåíò
òåïëîîòäà÷è
îò ñòåíêè íà
ýêîíîìàéçåðíîì
ó÷àñòêå
|
  11380
|
|
|
|
|
ïîïðàâî÷íûé
êîýôôèöèåíò
|
- 1
|
|
|
|
|
2.6
|
Êîýôôèöèåíò
òåïëîîòäà÷è
îò ñòåíêè íà
ïàðîïåðåãðåâàòåëüíîì
ó÷àñòêå
|
  3036
|
|
|
|
|
2.7
|
Êîýôôèöèåíò
òåïëîîòäà÷è
îò ñòåíêè íà
èñïàðèòåëüíîì
ó÷àñòêå
|
 ìåòîäîì
ïîñëåäîâàòåëüíûõ
ïðèáëèæåíèé45930
|
|
|
|
2.7.1 Òåïëîâîé
ïîòîê â ïåðâîì
ïðèáëèæåíèè
Âò/ì2[4]100000
2.7.2 Êîýôôèöèåíò
òåïëîîòäà÷è 

17140
2.7.3 Ñðåäíÿÿ
òåìïåðàòóðà ñòåíîê
òðóáîê
˚Ñ
270,64
,147
2.7.4 Êîýôôèöèåíò
òåïëîïðîâîäíîñòè
ñòåíîê òðóáîê 
[4]18,45
,3
2.7.5 Êîýôôèöèåíò
òåïëîïåðåäà÷è 


5016
2.7.6 Òåïëîâîé
ïîòîê âî âòîðîì
ïðèáëèæåíèè
Âò/ì2
333062
|
411746
|
|
|
|
|
|
2.7.7
|
Ñòðîèì
ãðàôèê ,
çíà÷åíèÿ èç
ï.ï. 2.7.1 è 2.7.6ñì. ðèñ.
1.4qèñï=408800
|
|
|
|
|
|
2.7.8
|
Êîýôôèöèåíò
òåïëîîòäà÷è
íà èñïàðèòåëüíîì
ó÷àñòêå
|
   45930
|
|
|
|
|
1
|
2
|
3
|
4
|
5
|
6
|
|
3
|
Ñðåäíÿÿ
òåìïåðàòóðà
ñòåíîê òðóáîê
íà ýêîíîìàéçåðíîì
ó÷àñòêå
|
˚Ñ 246.3
|
|
|
|
|
4
|
Ñðåäíÿÿ
òåìïåðàòóðà
ñòåíîê òðóáîê
íà èñïàðèòåëüíîì
ó÷àñòêå
|
˚Ñ 254.6
|
|
|
|
|
5
|
Ñðåäíÿÿ
òåìïåðàòóðà
ñòåíîê òðóáîê
íà ïàðîïåðåãðåâàòåëüíîì
ó÷àñòêå
|
˚Ñ 310.06
|
|
|
|
|
6
|
Êîýôôèöèåíò
òåïëîïðîâîäíîñòè
ñòåíîê òðóáîê
íà ýêîíîìàéçåðíîì
ó÷àñòêå
|
 [4]18.15
|
|
|
|
|
7
|
Êîýôôèöèåíò
òåïëîïðîâîäíîñòè
ñòåíîê òðóáîê
íà èñïàðèòåëüíîì
ó÷àñòêå
|
 [4]18.25
|
|
|
|
|
8
|
Êîýôôèöèåíò
òåïëîïðîâîäíîñòè
ñòåíîê òðóáîê
íà ïàðîïåðåãðåâàòåëüíîì
ó÷àñòêå
|
 [4]19.06
|
|
|
|
|
9
|
Êîýôôèöèåíò
òåïëîïåðåäà÷è
íà ýêîíîìàéçåðíîì
ó÷àñòêå
|
  4344
|
|
|
|
|
10
|
Êîýôôèöèåíò
òåïëîïåðåäà÷è
íà èñïàðèòåëüíîì
ó÷àñòêå
|
  6098
|
|
|
|
|
11
|
Êîýôôèöèåíò
òåïëîïåðåäà÷è
íà ïàðîïåðåãðåâàòåëüíîì
ó÷àñòêå
|
  2151
|
|
|
|
|
12
|
Êîýôôèöèåíò
çàïàñà, ó÷èòûâàþùèé
ýôôåêòèâíîñòü
èñïîëüçîâàíèÿ
ïîâåðõíîñòè
òåïëîîáìåíà
|
-[4]0.97
|
|
|
|
|
13
|
Ïëîùàäü
ïîâåðõíîñòè
òåïëîîáìåíà
íà ýêîíîìàéçåðíîì
ó÷àñòêå
|
ì2 14.54
|
|
|
|
|
14
|
Ïëîùàäü
ïîâåðõíîñòè
òåïëîîáìåíà
íà èñïàðèòåëüíîì
ó÷àñòêå
|
ì2 45.2
|
|
|
|
|
15
|
Ïëîùàäü
ïîâåðõíîñòè
òåïëîîáìåíà
íà ïàðîïåðåãðåâàòåëüíîì
ó÷àñòêå
|
ì2 14.1
|
|
|
|
|
16
|
Ïëîùàäü
ïîâåðõíîñòè
òåïëîîáìåíà
ÏÃ
|
ì2ÍÝÊ+ÍÈÑÏ+ÍÏÅ73.84
|
|
|
|
|
17
|
Òðåáóåìàÿ
äëèíà íàâèâàåìûõ
ïåòëåé
|
lòð
|
ì
|
24.3
|
|
|
18
|
Âûñîòà
ïîâåðõíîñòè
òåïëîîáìåíà
ÏÃ íà ýêîíîìàéçåðíîì
ó÷àñòêå
|
ì
|
0.301
|
|
|
19
|
Âûñîòà
ïîâåðõíîñòè
òåïëîîáìåíà
ÏÃ íà èñïàðèòåëüíîì
ó÷àñòêå
|
hÈÑÏ
|
ì
|
0.935
|
|
|
20
|
Âûñîòà
ïîâåðõíîñòè
òåïëîîáìåíà
ÏÃ íà ïàðîïåðåãðåâàòåëüíîì
ó÷àñòêå
|
hÏÅ
|
ì
|
0.292
|
|
|
21
|
Âûñîòà
ïîâåðõíîñòè
òåïëîîáìåíà
ÏÃ
|
hÏÃ
|
ì
|
1.528
|
|
|
22
|
Îòíîøåíèå
âûñîòû ïîâåðõíîñòè
òåïëîîáìåíà
ÏÃ ê íàðóæíîìó
äèàìåòðó ïðîòî÷íîé
÷àñòè
|
- 1.97
|
|
|
|
|
23
|
Ãàáàðèòíîå
îãðàíè÷åíèå
|
-1.97 ≤ 4
|
|
|
|
|
|
|
|
|
|
|
Ðèñ. 1.4
q1”=
333062 Âò/ì2
q2”=
392955 Âò/ì2
q3”=
411746 Âò/ì2
1.4 Êîíñòðóêòèâíîå
îôîðìëåíèå ïàðîãåíåðàòîðà
Òàáëèöà 1.4
|
¹
|
Íàèìåíîâàíèå
âåëè÷èíû
|
Îáîçíà÷åíèå
|
Ðàçìåðíîñòü
|
Ðàñ÷¸òíàÿ
ôîðìóëà
|
×èñëîâîå
çíà÷åíèå
|
|
1
|
Äîïóñêàåìîå
íàïðÿæåíèå äëÿ
âûáðàííîãî ìàòåðèàëà
êîðïóñà
|
ÌÏàñïðàâ.
äàííîå, [6]117
|
|
|
|
|
2
|
Âíóòðåííèé
äèàìåòð ïàòðóáêà
âõîäà ïèòàòåëüíîé
âîäû â ÏÃ
|
 ì 0.113
|
|
|
|
3 Íîìèíàëüíàÿ
òîëùèíà ñòåíêè
ïàòðóáêà âõîäà
ÏÂ â ÏÃ
ì
(0.0015)
|
0.0035
|
|
|
|
|
|
4
|
Íàðóæíûé
äèàìåòð ïàòðóáêà
âõîäà ïèòàòåëüíîé
âîäû â ÏÃ
|
ì +2 0.12
|
|
|
|
|
5
|
Âíóòðåííèé
äèàìåòð ïàòðóáêà
âõîäà ïåðåãðåòîãî
ïàðà èç ÏÃ
|
ì 0.113
|
|
|
|
6 Íîìèíàëüíàÿ
òîëùèíà ñòåíêè
ïàòðóáêà âûõîäà
ïåðåãðåòîãî ïàðà
èç ÏÃ
ì
(0.0012)
|
0.0035
|
|
|
|
|
|
7
|
Íàðóæíûé
äèàìåòð ïàòðóáêà
âûõîäà ïåðåãðåòîãî
ïàðà èç ÏÃ
|
ì +2 0.12
|
|
|
|
|
8
|
Âíóòðåííèé
äèàìåòð ïàòðóáêà
âõîäà ÒÍ â ÏÃ
|
ì 0.276
|
|
|
|
|
9
|
Íîìèíàëüíàÿ
òîëùèíà ñòåíêè
ïàòðóáêà âõîäà
ÒÍ â ÏÃ
|
ì 0.019
|
|
|
|
|
10
|
Íàðóæíûé
äèàìåòð ïàòðóáêà
âõîäà ÒÍ â ÏÃ
|
ì +2 0.314
|
|
|
|
|
11
|
Âíóòðåííèé
äèàìåòð ïàòðóáêà
âûõîäà ÒÍ èç
ÏÃ
|
ì 0.418
|
|
|
|
|
12
|
Íîìèíàëüíàÿ
òîëùèíà ñòåíêè
ïàòðóáêà âûõîäà
ÒÍ èç ÏÃ
|
ì 0.029
|
|
|
|
|
13
|
Íàðóæíûé
äèàìåòð ïàòðóáêà
âûõîäà ÒÍ èç
ÏÃ
|
ì +2 0.476
|
|
|
|
|
14
|
Íîìèíàëüíàÿ
òîëùèíà ñòåíêè
êîðïóñà ÏÃ
|
ì 0.053
|
|
|
|
|
15
|
Íàðóæíûé
äèàìåòð ÏÃ
|
ìDÏÃ+2 0.881
|
|
|
|
|
16
|
Íîìèíàëüíàÿ
òîëùèíà ñòåíêè
âûïóêëîãî äíèùà
ÏÃ
|
ì 0.048
|
|
|
|
|
17
|
Êîýôôèöèåíò,
çàâèñÿùèé îò
êîíñòðóêöèè
äíèùà
|
Ê
|
-
|
ñïðàâ.
äàííîå, [6]
|
0.6
|
|
18
|
Êîýôôèöèåíò,
çàâèñÿùèé îò
ðàçìåðà îòâåðñòèÿ
â êðûøêå
|
Ê0
|
-
|
ñïðàâ.
äàííîå, [6]
|
1
|
|
19
|
Íîìèíàëüíàÿ
òîëùèíà êðûøêè
ÏÃ
|
ì 0.166
|
|
|
|
Ðèñ. 1.5
2. Ïðîåêòèðîâàíèå
ÀÇ è ÒÂÑ
.1 Îïðåäåëåíèå
ðàçìåðîâ ÀÇ è
ÒÂÑ
Òàáëèöà 2.1
|
¹
|
Íàèìåíîâàíèå
âåëè÷èíû
|
Îáîçíà÷åíèå
|
Ðàçìåðíîñòü
|
Ðàñ÷¸òíàÿ
ôîðìóëà
|
×èñëîâîå
çíà÷åíèå
|
|
1
|
2
|
3
|
4
|
5
|
6
|
|
1
|
Óäåëüíàÿ
òåïëîíàïðÿæ¸ííîñòü
ÀÇ
|
qv
|
ÌÂò/ì3
|
ïðèíÿòî,
[3]
|
72
|
|
2
|
Äèàìåòð
ãîðþ÷åãî ÒÂÝËà
|
dãîð
|
ì
|
ïðèíÿòî,
[3]
|
0.009
|
|
3
|
Òîëùèíà
îáîëî÷êè ÒÂÝËà
|
δîá
|
ì
|
ïðèíÿòî,
[3]
|
0.0007
|
|
4
|
Îòíîøåíèå
øàãà ÒÂÝËà ê
äèàìåòðó
|
-ïðèíÿòî,
[3]1.2
|
|
|
|
|
5
|
Øèðèíà
ìåæêàíàëüíîãî
çàçîðà
|
à
|
ì
|
ïðèíÿòî,
[3]
|
0.012
|
|
6
|
Êîëè÷åñòâî
ÒÂÝËîâ
|
nÒÂÝË
|
-
|
ïðèíÿòî,
[3]
|
49
|
|
7
|
Êîýôôèöèåíò
çàïàñà
|
-ïðèíÿòî,
[3]1.1
|
|
|
|
|
8
|
Òåïëîâàÿ
ìîùíîñòü ðåàêòîðà
|
Qð
|
ÌÂò
|
87.15
|
|
|
9
|
Îáú¸ì
àêòèâíîé çîíû
|
VÀÇ
|
ì3
|
1.21
|
|
|
10
|
Äèàìåòð
àêòèâíîé çîíû
|
DÀÇ
|
ì
|
1.155
|
|
|
11
|
Âûñîòà
àêòèâíîé çîíû
|
ÍÀÇ
|
ì
|
DÀÇ
|
1.155
|
|
12
|
Íàðóæíûé
äèàìåòð ÒÂÝËà
|
dÒÂÝË
|
ì
|
dãîð+2δîá
|
0.0104
|
|
13
|
Ðàññòîÿíèå
ìåæäó ÒÂÝËàìè
â ñáîðêå
|
t
|
ì
|
0.0125
|
|
|
14
|
Ñòîðîíà
ÒÂÑ
|
S
|
ì
|
0.09
|
|
|
15
|
Ïëîùàäü
ïîïåðå÷íîãî ñå÷åíèÿ
ÀÇ
|
SÀÇ
|
ì2
|
1.047
|
|
|
16
|
Ïëîùàäü
óñëîâíîé ÿ÷åéêè
äëÿ êâàäðàòíîãî
êàíàëà
|
ì2 0.01
|
|
|
|
|
17
|
Êîëè÷åñòâî
ÒÂÑ
|
- 105
|
|
|
|
|
18
|
Ïðèíÿòîå
êîëè÷åñòâî ÒÂÑ
ñ ó÷¸òîì èõ ðàçìåùåíèÿ
â àêòèâíîé çîíå
|
-Ñì. ðèñ 2.2105
|
|
|
|
Ðèñ. 2.1
Ðèñ.2.2
Dàç =1.155 ì;=0.012 ì;=0.09 ì.
2.2 Âûáîð ïàðàìåòðîâ
òåïëîíîñèòåëÿ
Òàáëèöà 2.2
|
¹
|
Íàèìåíîâàíèå
âåëè÷èíû
|
Îáîçíà÷åíèå
|
Ðàçìåðíîñòü
|
Ðàñ÷¸òíàÿ
ôîðìóëà
|
×èñëîâîå
çíà÷åíèå
|
|
1
|
2
|
3
|
4
|
5
|
6
|
|
1
|
Òåìïåðàòóðà
ÒÍ íà âõîäå â
ðåàêòîð
|
Òâõ
|
˚Ñ
|
272.12
|
|
|
2
|
Òåìïåðàòóðà
ÒÍ íà âûõîäå èç
ðåàêòîðà
|
Òâûõ
|
˚Ñ
|
312.12
|
|
|
3
|
Íàãðåâ
ÒÍ â ðåàêòîðå
|
ΔÒ
|
˚Ñ
|
Òâûõ
- Òâõ
|
40
|
|
4
|
Òåìïåðàòóðà
íàñûùåíèÿ ÒÍ
|
ts
|
˚Ñ
|
ñïðàâ.
äàííîå, [1]
|
342.12
|
|
5
|
Âåëè÷èíà
íåäîãðåâà äî
êèïåíèÿ
|
Ts
|
˚Ñ
|
ts - Òâûõ
|
30
|
|
6
|
Êîýôôèöèåíò
äîïóñòèìîãî
óâåëè÷åíèÿ ìîùíîñòè
|
KN
|
-
|
ñïðàâ.
äàííîå
|
1.2
|
|
7
|
Êîýôôèöèåíò
äîïóñòèìîãî
ñíèæåíèÿ ðàñõîäà
|
KG
|
-
|
ñïðàâ.
äàííîå
|
0.85
|
|
8
|
Ïðåäåëüíàÿ
òåìïåðàòóðà
ÒÍ íà âûõîäå èç
ðåàêòîðà â ñëó÷àå
îäíîâðåìåííîãî
óâåëè÷åíèÿ ìîùíîñòè
è ñíèæåíèÿ ðàñõîäà
|
Tmax
|
˚Ñ
|
333.6
|
|
|
9
|
Ýíòàëüïèÿ
ÒÍ íà âûõîäå èç
ðåàêòîðà
|
iâûõ
|
êÄæ/êã
|
1397
|
|
|
10
|
Ýíòàëüïèÿ
ÒÍ íà âõîäå â
ðåàêòîð
|
iâõ
|
êÄæ/êã
|
1190
|
|
|
11
|
Ðàñõîä
ÒÍ ÷åðåç ÀÇ
|
GÒÍ
|
êã/c
|
421
|
|
2.3 Ðàçðàáîòêà
ñõåìû ÒÂÑ
Òàáëèöà 2.3
|
¹
|
Íàèìåíîâàíèå
âåëè÷èíû
|
Îáîçíà÷åíèå
|
Ðàçìåðíîñòü
|
Ðàñ÷¸òíàÿ
ôîðìóëà
|
×èñë.
çíà÷-èå
|
|
1
|
2
|
3
|
4
|
5
|
6
|
|
1
|
Ïðîõîäíîå
ñå÷åíèå ÒÂÑ
|
ì2 0.0036
|
|
|
|
|
2
|
Ñðåäíÿÿ
òåìïåðàòóðà
ÒÍ
|
Òñð
|
˚Ñ
|
292.12
|
|
|
3
|
Ñðåäíèé
óäåëüíûé îáú¸ì
ÒÍ
|
Vñð
|
ì3/êã
|
[1]
|
0.00135
|
|
4
|
Ñðåäíÿÿ
ñêîðîñòü òåïëîíîñèòåëÿ
|
Wñð
|
ì/ñ
|
1.5
|
|
|
5
|
Ïëîùàäü
ïîâåðõíîñòè
òåïëîîáìåíà
äëÿ âñåõ ÒÂÝËîâ
ðåàêòîðà
|
Fòî
|
ì2
|
194.156
|
|
|
6
|
Ñðåäíèé
òåïëîâîé ïîòîê
|
qñð
|
ÌÂò/ì2
|
0.448
|
|
2.4 Ãèäðàâëè÷åñêîå
ïðîôèëèðîâàíèå
àêòèâíîé çîíû
Òàáëèöà 2.4
|
¹
|
Íàèìåíîâàíèå
âåëè÷èíû
|
Îáîçíà÷åíèå
|
Ðàçìåðíîñòü
|
Ðàñ÷¸òíàÿ
ôîðìóëà
|
×èñëîâîå
çíà÷åíèå
|
|
1
|
Ýôôåêòèâíàÿ
äîáàâêà
|
δýô
|
-
|
[4]
|
0.1
|
|
2
|
Ýôôåêòèâíàÿ
âûñîòà ÀÇ
|
Íýô
|
ì
|
ÍÀÇ+2δýô
|
1.355
|
|
3
|
Ýôôåêòèâíûé
äèàìåòð ÀÇ
|
Dýô
|
ì
|
Íýô
|
1.355
|
|
4
|
Kr
|
-
|
2.012
|
|
|
5
|
Êîýôôèöèåíò
íåðàâíîìåðíîñòè
ðàñïðåäåëåíèÿ
òåïëîâûäåëåíèÿ
ïî âûñîòå ÀÇ
|
Kz
|
-
|
1.368
|
|
|
6
|
Îáú¸ìíûé
êîýôôèöèåíò
íåðàâíîìåðíîñòè
òåïëîâûäåëåíèÿ
|
Kv
|
-
|
2.752
|
|
|
7
|
Ìàêñèìàëüíûé
òåïëîâîé ïîòîê
|
qmax
|
ÌÂò/ì2
|
1.23
|
|
|
8
|
Ñðåäíÿÿ
òåïëîâàÿ ìîùíîñòü
ÒÂÑ
|
Qñð
|
ÌÂò
|
0.83
|
|
|
9
|
Òåïëîâàÿ
ìîùíîñòü öåíòðàëüíûõ
ðàáî÷èõ êàíàëîâ
|
QÖÐÊ
|
ÌÂò
|
1.67
|
|
|
10
|
Ðàñõîä
ÒÍ ÷åðåç ÖÐÊ
|
GÖÐÊ
|
êã/ñ
|
8.067
|
|
|
11
|
Ñêîðîñòü
ÒÍ â ÖÐÊ
|
WÖÐÊ
|
ì/ñ
|
3.025
|
|
3. Ïðîâåðêà
òåïëîòåõíè÷åñêîé
íà䏿íîñòè àêòèâíîé
çîíû
.1 Ðàñ÷¸ò ìàêñèìàëüíîé
òåìïåðàòóðû îáîëî÷êè
ÒÂÝË
Òàáëèöà 3.1
|
¹
|
Íàèìåíîâàíèå
âåëè÷èíû
|
Îáîçíà÷åíèå
|
Ðàçìåðíîñòü
|
Ðàñ÷¸òíàÿ
ôîðìóëà
|
×èñëîâîå
çíà÷åíèå
|
|
1
|
2
|
3
|
4
|
5
|
6
|
|
1
|
Ýíòàëüïèÿ
êèïÿùåé âîäû
|
êÄæ/êãñïðàâ.
äàííîå, [1]1631.8
|
|
|
|
|
2
|
Ïåðèìåòð
òåïëîîáìåíà
ÒÂÝË â ñáîðêå
è êîæóõà ÒÂÑ
|
Ïò
|
ì
|
1.961
|
|
|
3
|
Ýêâèâàëåíòíûé
äèàìåòð ïó÷êà
ÒÂÝË
|
dýêâ
|
ì
|
0.0073
|
|
|
4
|
Ïëîòíîñòü
âîäû ïðè ñðåäíåé
òåìïåðàòóðå
ÒÍ
|
êã/ì3 740.74
|
|
|
|
|
5
|
Óäåëüíûé
îáú¸ì êèïÿùåé
âîäû
|
ì3/êãñïðàâ.
äàííîå, [1]0.0016834
|
|
|
|
|
6
|
Ïëîòíîñòü
êèïÿùåé âîäû
|
êã/ì3 594.036
|
|
|
|
|
7
|
Óäåëüíûé
îáú¸ì ñóõîãî
íàñûùåííîãî
ïàðà
|
ì3/êãñïðàâ.
äàííîå, [1]0.009827
|
|
|
|
|
8
|
Ïëîòíîñòü
ñóõîãî íàñûùåííîãî
ïàðà
|
êã/ì3 101.76
|
|
|
|
|
1
|
2
|
3
|
4
|
5
|
6
|
|
9
|
Ðàñïðåäåëåíèå
òåïëîâîãî ïîòîêà
ïî âûñîòå ÒÂÝË
|
q(Zi)
|
êÂò/ì2
|
Òàáë.3.1.1.
|
|
|
÷èñëî
ó÷àñòêîâ ðàçáèåíèÿ
ÒÂÝË ïî âûñîòå
|
i
|
-
|
ïðèíÿòî
|
19
|
|
Âûñîòà
ñîîòâåòñòâóþùåãî
ó÷àñòêà
|
Zi
|
ì
|
|
Òàáë.3.1.1.
|
|
10
|
Ýíòàëüïèÿ
ÒÍ, ïðè êîòîðîé
òåìïåðàòóðà
îáîëî÷êè ïîñòîÿííà
|
êÄæ/êã Òàáë.3.1.1.
|
|
|
|
|
11
|
Ïåðèìåòð
òåïëîîáìåíà
ÒÂÑ
|
ì 1.6
|
|
|
|
|
12
|
Ýíòàëüïèÿ
ÒÍ ïî äëèíå ÒÂÑ
|
iò(Zi)
|
êÄæ/êã
|
[4]
|
Òàáë.3.1.1.
|
|
13
|
Ïîëíîå
ïîïåðå÷íîå ñå÷åíèå
ÒÂÝË â ïó÷êå
|
SÒÂ
|
ì2
|
|
0.0042
|
|
14
|
Ïëîòíîñòü
ðåø¸òêè ñòåðæíåé
|
- 1.17
|
|
|
|
|
15
|
Êîýôôèöèåíò
çàïîëíåíèÿ ïó÷êà
ÒÂÝË
|
- 0.69
|
|
|
|
|
16
|
Ýôôåêòèâíûé
äèàìåòð
|
d
|
ì
|
0.005
|
|
|
17
|
Êèíåìàòè÷åñêàÿ
âÿçêîñòü
|
ì2/ññïàâ.
äàííîå, [1]0.1233٠10-6
|
|
|
|
|
18
|
Êðèòåðèé
Re
|
Re
|
-
|
122668.3
|
|
|
1
|
2
|
3
|
4
|
5
|
6
|
|
19
|
Êðèòåðèé
Pr
|
Pr
|
-
|
ñïàâ.
äàííîå, [1]
|
0,8435
|
|
20
|
Òåïëîïðîâîäíîñòü
ÒÍ
|
 ñïàâ.
äàííîå, [1]575.94٠10-3
|
|
|
|
|
21
|
Êîýôôèöèåíò
òåïëîîòäà÷è
|
  29140
|
|
|
|
|
22
|
Òåðìè÷åñêîå
ñîïðîòèâëåíèå
òåïëîîòäà÷è
|
  3.432٠10-5
|
|
|
|
|
23
|
Óäåëüíàÿ
òåïëî¸ìêîñòü
ÒÍ
|
Ñð
|
 5175
|
|
|
|
24
|
Êîîðäèíàòà
òî÷êè ïî äëèíå
ÒÂÝË, â êîòîðîé
äîñòèãàåòñÿ
max òåìïåðàòóðà
îáîëî÷êè
|
ZÎÁ
|
ì
|
0.194
|
|
|
25
|
Ìàêñèìàëüíàÿ
òåìïåðàòóðà
îáîëî÷êè ÒÂÝË
|
˚Ñ[4]338.8
|
|
|
|
|
26
|
Äîïóñêàåìàÿ
òåìïåðàòóðà
îáîëî÷êè ÒÂÝË
|
˚Ñ[4]380
|
|
|
|
|
27
|
Óñëîâèå
òåïëîòåõíè÷åñêîé
íà䏿íîñòè
|
|
|
≤ âûïîëíÿåòñÿ
|
|
Òàáëèöà 3.1.1
|
¹ ó÷àñòêà
i
|
Z, ì
|
q (Z), êÂò/ì2
|
iïê(Z), êÄæ/êã
|
iò(Z), êÄæ/êã
|
|
1
|
-0,5775
|
282.6
|
1600
|
1190
|
|
2
|
-0,525
|
425.9
|
1582
|
1194
|
|
3
|
-0,4725
|
562.8
|
1564
|
1199
|
|
4
|
-0,42
|
691.5
|
1546
|
1205
|
|
5
|
-0,3675
|
810
|
1530
|
1213
|
|
6
|
-0,315
|
916
|
1516
|
1222
|
|
7
|
-0,2625
|
1009
|
1502
|
1232
|
|
8
|
-0,21
|
1087
|
1491
|
1243
|
|
9
|
-0,1575
|
1149
|
1483
|
1255
|
|
10
|
0
|
1230
|
1471
|
1292
|
|
11
|
0,1575
|
1149
|
1483
|
1330
|
|
12
|
0,21
|
1087
|
1491
|
1342
|
|
13
|
0,2625
|
1009
|
1502
|
1353
|
|
14
|
0,315
|
916
|
1516
|
1363
|
|
15
|
0,3675
|
810
|
1530
|
1372
|
|
16
|
0,42
|
691.5
|
1546
|
1379
|
|
17
|
0,4725
|
562.8
|
1564
|
1386
|
|
18
|
0,525
|
425.9
|
1582
|
1391
|
|
19
|
0,5775
|
282.6
|
1600
|
1395
|
Ðèñ. 3.1
3.2 Ðàñ÷¸ò
ìàêñèìàëüíîé
òåìïåðàòóðû ÿäåðíîãî
ãîðþ÷åãî
Òàáëèöà 3.2
|
¹
|
Íàèìåíîâàíèå
âåëè÷èíû
|
Îáîçíà÷åíèå
|
Ðàçìåðíîñòü
|
Ðàñ÷¸òíàÿ
ôîðìóëà
|
×èñëåííîå
çíà÷åíèå
|
|
1
|
Êîýôôèöèåíò
òåïëîïðîâîäíîñòè
îáîëî÷êè
|
 ñïðàâ.
äàííîå [4]19,8088
|
|
|
|
|
2
|
Êîýôôèöèåíò
òåïëîïðîâîäíîñòè
ãîðþ÷åãî
|
 ñïðàâ.
äàííîå [4]2,3162
|
|
|
|
|
3
|
Òåðìè÷åñêîå
ñîïðîòèâëåíèå
îáîëî÷êè
|
  3,53٠10-5
|
|
|
|
|
4
|
Òåðìè÷åñêîå
ñîïðîòèâëåíèå
ãîðþ÷åãî ÒÂÝË
|
  9,714٠10-4
|
|
|
|
|
5
|
Êîîðäèíàòà
òî÷êè ïî äëèíå
ÒÂÝË, â êîòîðîé
äîñòèãàåòñÿ
max òåìïåðàòóðà
ãîðþ÷åãî ÒÂÝË
|
ì 6,848٠10-3
|
|
|
|
|
6
|
Ìàêñèìàëüíàÿ
òåìïåðàòóðà
ãîðþ÷åãî ÒÂÝË
|
˚Ñ[4]1573
|
|
|
|
|
7
|
Äîïóñêàåìàÿ
òåìïåðàòóðà
ãîðþ÷åãî ÒÂÝË
|
˚Ñ[4]2800
|
|
|
|
|
8
|
Óñëîâèå
òåïëîòåõíè÷åñêîé
íà䏿íîñòè
|
|
|
≤ 1573≤2800
|
|
3.3 Ðàñ÷¸ò
çàïàñà ïî êðèçèñó
òåïëîîáìåíà
Òàáëèöà 3.3
|
¹
|
Íàèìåíîâàíèå
âåëè÷èíû
|
Îáîçíà÷åíèå
|
Ðàçìåðíîñòü
|
Ðàñ÷¸òíàÿ
ôîðìóëà
|
×èñë.
çíà÷.
|
|
1
|
2
|
3
|
4
|
5
|
6
|
|
1
|
Òåïëîòà
ïàðîîáðàçîâàíèÿ
|
r
|
êÄæ/êã
|
ñïðàâ.
äàííîå [1]
|
999,4
|
|
2
|
Îòíîñèòåëüíàÿ
ýíòàëüïèÿ ïîòîêà
â ñå÷åíèè Z
|
X(Zi)
|
-
|
Òàáë.3.3.1.
|
|
|
3
|
Êðèòè÷åñêèé
òåïëîâîé ïîòîê
|
qêð(Zi)
|
ÌÂò/ì2
|
Òàáë.3.3.1.
|
|
|
4
|
Êîýôôèöèåíò
çàïàñà ïî êðèçèñó
òåïëîîáìåíà
|
Êêð(Zi)
|
-
|
Òàáë.3.3.1.
|
|
Òàáëèöà 3.3.1
|
¹ ó÷àñòêà
i
|
qêð(Z), ÌÂò/ì2
|
X(Z)
|
|
1
|
3.091
|
10.94
|
-0.442
|
|
2
|
3.081
|
7.23
|
-0.438
|
|
3
|
3.068
|
5.45
|
-0.433
|
|
4
|
3.052
|
4.41
|
-0.427
|
|
5
|
3.032
|
3.74
|
-0.419
|
|
6
|
3.009
|
3.28
|
-0.41
|
|
7
|
2.983
|
2.96
|
-0.4
|
|
8
|
2.955
|
2.72
|
-0.389
|
|
9
|
2.924
|
2.54
|
-0.377
|
|
10
|
2.83
|
2.3
|
-0.34
|
|
11
|
2.734
|
2.38
|
-0.302
|
|
12
|
2.704
|
2.5
|
-0.29
|
|
13
|
2.676
|
2.65
|
-0.279
|
|
14
|
2.651
|
2.9
|
-0.269
|
|
15
|
2.629
|
3.24
|
-0.26
|
|
16
|
2.611
|
3.77
|
-0.253
|
|
17
|
2.594
|
4.61
|
-0.246
|
|
18
|
2.581
|
6.06
|
-0.241
|
|
19
|
2.571
|
9.1
|
-0.237
|
Ðèñ. 3.2
4. Ðàñ÷¸ò ñèñòåìû
êîìïåíñàöèè
îáú¸ìà
Òàáëèöà 4
|
¹
|
Íàèìåíîâàíèå
âåëè÷èíû
|
Îáîçíà÷åíèå
|
Ðàçìåðíîñòü
|
Ðàñ÷¸òíàÿ
ôîðìóëà
|
×èñëåííîå
çíà÷åíèå
|
|
1
|
2
|
3
|
4
|
5
|
6
|
|
1
|
Ïàðàìåòðû
ÒÍ ïðè ðàáîòå
óñòàíîâêè íà
íîìèíàëüíûõ
ïàðàìåòðàõ:
|
|
|
|
|
|
-
|
Òåìïåðàòóðà
ÒÍ â ÑÊÎ
|
ÒÑÊÎÃÎÐ
|
˚Ñ
|
190-200
|
200
|
|
-
|
Óäåëüíûé
îáú¸ì âîäû â ÑÊÎ
|
ì3/êãñïðàâ.äàííîå,[1]0,0011432
|
|
|
|
|
2
|
Ïàðàìåòðû
ÒÍ íà ïîëíîñòüþ
ðàñõîëîæåííîé
óñòàíîâêå:
|
|
|
|
|
|
-
|
Äàâëåíèå
òåïëîíîñèòåëÿ
|
Ðòõîë
|
ÌÏà
|
0,1
|
0,1
|
|
-
|
Òåìïåðàòóðà
ÒÍ â ÑÊÎ
|
ÒÑÊÎ
|
˚Ñ
|
20
|
20
|
|
-
|
Óäåëüíûé
îáú¸ì âîäû â ÑÊÎ
|
ì3/êãñïðàâ.
äàííîå, [1]0,0010017
|
|
|
|
|
3
|
Îáúåì
ÒÍ ïåðâîãî êîíòóðà
|
Vòí
|
ì3
|
çàäàíî
|
11
|
|
4
|
Îáú¸ì
ÒÍ, âûòåñíÿåìîãî
èç ïåðâîãî êîíòóðà
â ÑÊÎ
|
Vâ
|
ì3
|
Vòí * / - Vòí1,554
|
|
|
5
|
Îáú¸ì
ÒÍ â æèäêîñòíûõ
áàëëîíàõ íà
100% ìîùíîñòè
|
Vò
|
ì3
|
|
1,645
|
|
6
|
Ìèíèìàëüíûé
îáú¸ì ãàçà â
æèäêîñòíûõ áàëëîíàõ
|
ì30,8÷1,41,355
|
|
|
|
|
7
|
¨ìêîñòü
æèäêîñòíûõ áàëëîíîâ
|
VÆÁ
|
ì3
|
Vò+ 3
|
|
|
8
|
Êîëè÷åñòâî
æèäêîñòíûõ áàëëîíîâ
|
Z1
|
øò.
|
2÷4
|
3
|
|
9
|
Äîïóñòèìàÿ
âåëè÷èíà èçìåíåíèÿ
äàâëåíèÿ â ïåðâîì
êîíòóðå
|
Δ
Ðò
|
ÌÏà
|
(0,15÷0,25)∙Ðò
|
3
|
|
10
|
Ïîêàçàòåëü
ïîëèòðîïû
|
nÃ
|
|
- àçîò
1,40
|
1,4
|
|
11
|
¨ìêîñòü
ãàçîâûõ áàëëîíîâ
|
VÃÁ
|
ì3
|
12,73
|
|
|
12
|
Êîëè÷åñòâî
ãàçîâûõ áàëëîíîâ
|
Z2
|
øò.
|
31
|
|
|
13
|
Ìàññà
ÑÊÎ
|
ò 55,125
|
|
|
|
5. Ðàñ÷¸ò èîíîîáìåííîãî
ôèëüòðà
Òàáëèöà 5
|
¹
|
Íàèìåíîâàíèå
âåëè÷èíû
|
Îáîçíà÷åíèå
|
Ðàçìåðíîñòü
|
Ðàñ÷¸òíàÿ
ôîðìóëà
|
×èñëåííîå
çíà÷åíèå
|
|
1
|
¨ìêîñòü
îáåññîëèâàþùåé
çàãðóçêè
|
êãçàäàíî,
3030
|
|
|
|
|
2
|
Ñîäåðæàíèå
èîíîâ õëîðà â
èñõîäíîé âîäå
|
ìã/ëçàäàíî,
0,30,3
|
|
|
|
|
3
|
Îáú¸ìíûé
ðàñõîä âîäû ÷åðåç
ôèëüòð
|
Q
|
ì3/÷
|
Q = 0,01 Qò
|
20,46
|
|
4
|
Ðåñóðñ
ôèëüòðà
|
÷ 823
|
|
|
|
|
5
|
¨ìêîñòü
ñâåæåé ñìåøàííîé
çàãðóçêè ôèëüòðà
|
q0
|
350÷400350
|
|
|
|
6
|
Îáú¸ì
çàãðóçêè ôèëüòðà
|
Vô
|
ì3
|
4.13
|
|
|
7
|
Âûñîòà
çàãðóçêè ôèëüòðà
|
Í
|
ì
|
0,8÷1,3
|
1,2
|
|
8
|
Ñêîðîñòü
ôèëüòðîâàíèÿ
|
W
|
ì/÷
|
150÷160
|
150
|
|
9
|
Ïðîõîäíîå
ñå÷åíèå âñåõ
ôèëüòðîâ
|
F
|
ì2
|
4.13
|
|
|
10
|
Âíóòðåííèé
äèàìåòð ôèëüòðà
|
DÂÍ
|
ì
|
1÷1,5
|
1,5
|
|
11
|
Êîëè÷åñòâî
ôèëüòðîâ
|
nô
|
øò.
|
3
|
|
|
12
|
Ãèäðàâëè÷åñêîå
ñîïðîòèâëåíèå
ñâåæåãî ñëîÿ
çàãðóçêè
|
  61224,5
|
|
|
|
6. Òåõíîëîãè÷åñêàÿ
èíñòðóêöèÿ íà
ìîíòàæ ðåàêòîðà
è ïàðîãåíåðàòîðîâ
.1 Ìîíòàæ
ðåàêòîðà
.1.1 Ïîãðóçêó
ïðîèçâîäèòü öåõîâûì
êðàíîì íà ìèêðîõîäó
Ñíÿòü çàùèòíûé
÷åõîë ñ èçäåëèÿ.
Ïðîèçâåñòè íàðóæíûé
îñìîòð èçäåëèÿ,
óïëîòíåíèÿ . Ïðîòåðåòü
ìåäàïîëàìîâîé
ñàëôåòêîé, ñìî÷åííîé
ñïèðòîì, íàðóæíóþ
ïîâåðõíîñòü ðåàêòîðà.
Çàñòðîïèòü ðåàêòîð
íà ãàê êðàíà çà
ïàòðóáêè (îäíîâðåìåííî
äîëæíû áûòü íàêèíóòû
ñòðîïû íå ìåíåå
÷åì íà òðè ïàòðóáêà)
Îñòîðîæíî ïðèïîäíÿòü
ðåàêòîð â ïîäñòàâå,
âûðîâíÿòü âãîðèçîíò
ñ òî÷íîñòüþ äî
3 ìì ïî ëèíåéêå
è êâàäðàíòó, óñòàíàâëèâàåìûé
íà êîæóõ êðûøêè.
Ïîñëå ïðîâåðêè
âåðòèêàëüíîñòè
ïîëîæåíèÿ îñòîðîæíî
îïóñòèòü â êåññîí
áàêà ÆÂÇ.
Îïîðû ðåàêòîðà
îïóñòèòü íà ïîäâèæíûå
áàøìàêè è ñ ïîìîùüþ
ïðèñïîñîáëåíèÿ
äëÿ ãîðèçîíòàëüíûõ
ïåðåìåùåíèé
îòöåíòðèðîâàòü
ðåàêòîð â êåññîíå
áàêà ÆÂÇ.
Ïðàâèëüíóþ îðèåíòàöèþ
ðåàêòîðà ïðè óñòàíîâêå
â áàê ÆÂÇ íà ôóíäàìåíò
îïðåäåëÿåò êîíòðîëüíàÿ
ðèñêà ñ óêàçàíèåì
"êîðìà" íàíåñåííàÿ
íà ïàòðóáêå.
Ïðè îêîí÷àòåëüíîé
âûâåðêå ïîëîæåíèÿ
ðåàêòîðà ïåðåä
ñâàðêîé áàøìàêîâ
ñ åãî ôóíäàìåíòîì
íà áàêå ÆÂÇ äîïóñêàåòñÿ
íåñîîñíîñòü
êîðïóñà ðåàêòîðà
è êåññîíà è íåñîâïàäåíèå
êîíòðîëüíîé ðèñêè
ñ ÄÏ áàêà ÆÂÇ
0.1-0.5 ìì.
Çàçîð ìåæäó
êîðïóñîì ðåàêòîðà
è ñòåíêîé êåññîíà
äîëæåí áûòü â
ïðåäåëàõ 1.5-2 ìì.
Ïðîâåðèòü çàçîð
ìåæäó êîðïóñîì
ðåàêòîðà è ñòåíêîé
êåññîíà ùóïàìè
ñ èíäèêàòîðàìè
÷àñîâîãî òèïà
èëè øàáëîíàìè
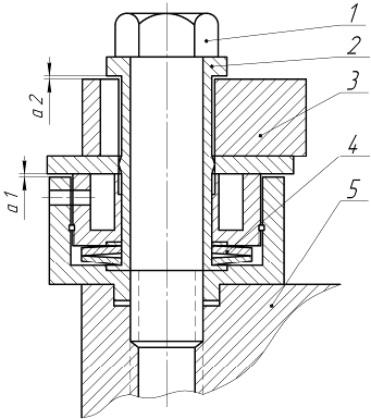
Ðèñ.6.1.1 Êðåïëåíèå
ðåàêòîðà: 1 - êðåïåæíàÿ
ñêîáà; 2 - îïîðà ðåàêòîðà;
3 - áàøìàê; 4 - ôóíäàìåíò;
5 - êîðïóñ ðåàêòîðà.
6.2 Ìîíòàæ
ïàðîãåíåðàòîðà
Çàñòðîïèòü ïàðîãåíåðàòîð
íà ãàê êðàíà. Î÷èñòèòü
êðûøêó èçäåëèÿ
âàêóóìíîé óáîðêîé.
Îñòîðîæíî ïðèïîäíÿòü
èçäåëèå, âûðîâíÿòü
â ãîðèçîíò ñ òî÷íîñòüþ
äî 3 ìì ïî ëèíåéêå
è êâàäðàíòó, óñòàíàâëèâàåìûé
íà êîæóõ êðûøêè.
Óñòàíîâèòü
ïàðîãåíåðàòîð
â êåññîíå ñ çàäàííîé
íåñîîñíîñòüþ
åãî êîðïóñà è
ñòåíîê êåññîíà
íà âðåìåííûå
ñêîëüçÿùèå îïîðû
(ðèñ 2.), ñ ó÷åòîì
âîçíèêíîâåíèÿ
óñàäêè ìåòàëëà
ìîíòàæíîãî ñâàðíîãî
øâà ïàòðóáêîâ
ðåàêòîðà è ïàðîãåíåðàòîðà.
ôèëüòð
ÿäåðíûé ðåàêòîð
ïàðîãåíåðàòîð
Ðèñ. 6.2.1. Êîíñòðóêöèÿ
âðåìåííîé ñêîëüçÿùåé
îïîðû ïàðîãåíåðàòîðà:
1 - ôóíäàìåíò; 2 - áðîíçîâàÿ
ïëàñòèíêà; 3 - ñòàëüíîé
äèñê; 4- îïîðà ïàðîãåíåðàòîðà;
5 - èíäèêàòîð; 6 - êîðïóñ
äèíàìîìåòðà;
7 - îòâåðñòèå äëÿ
îòæèìíîãî áîëòà;
8 - ñòàëüíîé øàðèê.
Ïðîâåðèòü ïàðàëëåëüíîñòü
ïëîñêîñòè îïîð
è ïëîñêîñòè ôóíäàìåíòà,
ïîñëå ÷åãî óñòàíîâèòü
â îïîðû ìîíòàæíûå
äèíàìîìåòðû
äëÿ çàìåðà ðàñïðåäåëåíèÿ
âåñà ïàðîãåíåðàòîðà.
Êðåïëåíèå äèíàìîìåòðîâ
ïðîèçâîäèòü ïîî÷åðåäíî,
ïðè ýòîì êîíñòðóêöèÿ
äèíàìîìåòðà
äîëæíà ïðåäóñìàòðèâàòü
êðåïëåíèå åãî
â îïîðå áåç âåðòèêàëüíîãî
ëþôòà.
Äëÿ îáåñïå÷åíèÿ
ðàâíîìåðíîãî
ðàñïðåäåëåíèÿ
íàãðóçêè îò øàðèêîâîãî
óïîðà äèíàìîìåòðà
(ðèñ. 2) ïðèìåíÿòü
ñïåöèàëüíûé äèñê,
âûïîëíåííûé
èç âûñîêîïðî÷íîé
çàêàëåííîé ñòàëè
äèàìåòðîì îêîëî
100 ìì.
Äëÿ óìåíüøåíèÿ
êîýôôèöèåíòà
òðåíèÿ ìåæäó
ñòàëüíûì äèñêîì
è áðîíçîâîé ïëàñòèíîé
ñìàçàòü ñîïðÿãàåìûå
ïîâåðõíîñòè
ìàøèííûì ìàñëîì.
Ïîñëå óñòàíîâêè
âñåõ ìîíòàæíûõ
äèíàìîìåòðîâ
íà ñêîëüçÿùåé
ïðîêëàäêå îêîí÷àòåëüíî
ïðîâåðèòü îðèåíòàöèþ
ïàðîãåíåðàòîðà
ïî îòíîøåíèþ
ê ðåàêòîðó.
Ïðè ïðåäâàðèòåëüíîé
öåíòðîâêå äîïóñêàþòñÿ
ñëåäóþùèå îòêëîíåíèÿ
ñîîñíîñòè åãî
ïàòðóáêà è ïàòðóáêà
ðåàêòîðà:
) èçëîì îñåé íå
áîëåå 0.5 ìì/ì;
) ñìåùåíèå îñåé
íå áîëåå 0.2 ìì;
Èçëîìû è ñìåùåíèÿ
íà ìîíòàæíîì
ñòûêå èçìåðèòü
â âåðòèêàëüíîé
è ãîðèçîíòàëüíîé
ïëîñêîñòÿõ.
Îïðåäåëåíèå
èçëîìîâ îñè ïðîèçâîäèòñÿ
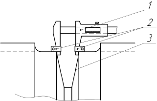
ñ ïîìîùüþ øòàíãåíöèðêóëÿ
(ðèñ 6.2.2).
Ðèñ.6.2.2 Çàìåð èçëîìà
îñè ïàòðóáêîâ
ñ ïîìîùüþ øòàíãåíöèðêóëÿ
ñ óïîðàìè6 1 - øòàíãåíöèðêóëü;
2 - óïîð; 3 - ðàçäåëêà
ñâàðíîãî ñòûêà
Îêîí÷àòåëüíàÿ
öåíòðîâêà ïàðîãåíåðàòîðà
äîïóñêàåò ñëåäóþùèå
îòêëîíåíèÿ ïî
èçëîìó îñè:
) â âåðòèêàëüíîé
ïëîñêîñòè 0.2 ìì/ì;
) â ãîðèçîíòàëüíîé
ïëîñêîñòè 0.8 ìì/ì.
Ñâàðêó ïàòðóáêîâ
ïðîèçâîäèòü ðó÷íîé
äóãîâîé ñâàðêîé
íà ïîäêëàäíîì
êîëüöå.
Äëÿ ñâàðêè ïàòðóáêîâ
ïðèìåíÿòü ýëåêòðîäû
ÝÀ400/10Ó äèàìåòðîì
3 ìì.
Ñâàðêó ïðîèçâîäèòü
ñòóïåí÷àòûì
ñïîñîáîì óçêèìè
âàëèêàìè øèðèíîé
íå áîëåå òðåõ
äèàìåòðîâ ýëåêòðîäà.
Ñâàðíîé øîâ
èñïûòàòü ãèäðàâëè÷åñêèì
äàâëåíèåì, ãàììîãðàôèðîâàíèåì.
Ïîñëå ïðîâåðêè
êîíòðîëüíûõ îáðàçöîâ
â ëàáîðàòîðèè
è ïðè ïîëó÷åíèè
ïîëîæèòåëüíûõ
ðåçóëüòàòîâ êîíòðîëÿ
çà êà÷åñòâîì
âûïîëíåíèÿ ñâàðêè,,
ìîíòàæíûå äèíàìîìåòðû
ñíÿòü è çàìåíèòü
èõ íà øòàòíûå
ïðóæèííûå àìîðòèçàòîðû
(ðèñ.6.2.3.), íà êîòîðûõ
îêîí÷àòåëüíî
çàêðåïèòü ïàðîãåíåðàòîð.
Ðèñ. 6.2.3. Êîíñòðóêöèÿ
ïðóæèííîãî àìîðòèçàòîðà:
1-áîëò; 2-âòóëêà
àìîðòèçàòîðà;
3-îòâåðñòèå â îïîðå
ïàðîãåíåðàòîðà;
4-ïðóæèííûé àìîðòèçàòîð;
5-ôóíäàìåíò
Ìîíòàæíûå äèíàìîìåòðû
ñíèìàòü ïîî÷åðåäíî,
ïóòåì ïåðåëîæåíèÿ
íàãðóçêè íà óïîðíûå
âèíòû, ââèí÷èâàåìûå
â îòâåðñòèÿ íà
îïîðàõ ïàðîãåíåðàòîðà.
Ïðóæèííûå àìîðòèçàòîðû
çàêðåïèòü â ôóíäàìåíòå
ñ ïîìîùüþ áîëòîâ.
Çàêëþ÷åíèå
Ïðè âûïîëíåíèè
ðàáîò ïî ìîíòàæó
èçäåëèé ìîãóò
âîçíèêíóòü ñëåäóþùèå
îïàñíûå è âðåäíûå
ïðîèçâîäñòâåííûå
ôàêòîðû:
) äâèæóùèåñÿ
ãðóçîïîäúåìíûå
ìåõàíèçìû è
ìàøèíû, ïîäâèæíûå
÷àñòè ïðîèçâîäñòâåííîãî
è ãðóçîïîäúåìíîãî
îáîðóäîâàíèÿ,
ïåðåäâèãàþùèåñÿ
èçäåëèÿ è îáîðóäîâàíèå
ïðè ïðîâåäåíèè
ïîãðóçî÷íûõ-
ðàçãðóçî÷íûõ
è òàêåëàæíûõ
ðàáîò;
) ïîâûøåííàÿ
ÿðêîñòü ñâåòà
è óðîâåíü ýëåêòðîìàãíèòíûõ
èçëó÷åíèé ïðè
ñâàðêå;
) ïîâûøåííîå
çíà÷åíèå íàïðÿæåíèÿ
â ýëåêòðè÷åñêîé
öåïè, çàìûêàíèå
êîòîðîé ìîæåò
ïðîèçîéòè ÷åðåç
òåëî ÷åëîâåêà;
) ïîâûøåííàÿ
òåìïåðàòóðà ïîâåðõíîñòè
èçäåëèÿ ïðè ñâàðêå;
) ïîâûøåííàÿ
çàãàçîâàííîñòü
è çàïûëåííîñòü
âîçäóõà ðàáî÷åé
çîíû;
) ïîâûøåííûé
óðîâåíü âèáðàöèè
è øóìà ïðè ðàáîòå
ñ ïíåâìîèíñòðóìåíòîì;
) ïàðû îðãàíè÷åñêèõ
âåùåñòâ ËÂÆ (óàéò-ñïèðèòà),
äåéñòâóþùèõ
íà ðàáî÷èõ íàðêîòè÷åñêè
è ðàçäðàæàþùå
÷åðåç äûõàòåëüíûå
ïóòè ïðè ïðîâåäåíèè
ðàáîò.
Óàéò-ñïèðèò
ëåãêîâîñïëàìåíÿþùèéñÿ
ïðîäóêò II êàòåãîðèè
ïî ñòåïåíè âîçäåéñòâèÿ
íà îðãàíèçì ÷åëîâåêà
îòíîñèòñÿ ê âåùåñòâàì
4 êëàññà îïàñíîñòè
ÏÄÊ ïàðîâ â âîçäóõå
ðàáî÷åé çîíû
300 ìã/ì .
Ê âûïîëíåíèþ
ïîãðóçî÷íî-ðàçãðóçî÷íûõ
è òàêåëàæíûõ
ðàáîò äîïóñêàþòñÿ
ëèöà íå ìîëîæå
18 ëåò, íå èìåþùèå
ìåäèöèíñêèõ
ïðîòèâîïîêàçàíèé,
ïðîøåäøèå ñïåöèàëüíîå
îáó÷åíèå, àòòåñòîâàííûå
ñîîòâåòñòâóþùåé
êîìèññèåé è ïîëó÷èâøèå
óäîñòîâåðåíèå
íà ïðàâî îáñëóæèâàíèÿ
îáúåêòîâ äàííîé
êàòåãîðèè, ïðîøåäøèå
èíñòðóêòàæ ïî
òåõíèêå áåçîïàñíîñòè,
ïîæàðíîé áåçîïàñíîñòè
è ïðîìñàíèòàðèè.
Ïðîèçâîäñòâåííûé
ïåðñîíàë äîëæåí
áûòü îáåñïå÷åí
ñïåöèàëüíîé îäåæäîé,
ñïåöèàëüíîé îáóâüþ
è ñðåäñòâàìè
èíäèâèäóàëüíîé
çàùèòû â ñîîòâåòñòâèè
ñ "Òèïîâûìè îòðàñëåâûìè
íîðìàìè áåñïëàòíîé
âûäà÷è ñïåöèàëüíîé
îäåæäû, ïðåäîõðàíèòåëüíûõ
ïðèñïîñîáëåíèé
è äðóãèõ ñðåäñòâ
èíäèâèäóàëüíîé
çàùèòû ðàáî÷èõ
è ñëóæàùèõ".
Äî íà÷àëà ïðîâåäåíèÿ
ðàáîò ïðîèçâîäñòâåííîìó
ìàñòåðó íåîáõîäèìî
ïðîèçâåñòè èíñòðóêòàæ
ïî áåçîïàñíîìó
âûïîëíåíèþ ðàáîò
â îáúåìå íåîáõîäèìûõ
èíñòðóêöèé, äåéñòâóþùèõ
íà ïðåäïðèÿòèè,
ïðîèçâîäÿùåì
ìîíòàæ èçäåëèé.
Ïðè îðãàíèçàöèè
è ïðîâåäåíèè ðàáîò
ïî ìîíòàæó èçäåëèé
ðóêîâîäñòâîâàòüñÿ
ñëåäóþùèìè íîðìàòèâíûìè
äîêóìåíòàìè:
)"Îáùèìè ïðàâèëàìè
òåõíèêè áåçîïàñíîñòè
è ïðîèçâîäñòâåííîé
ñàíèòàðèè äëÿ
ïðåäïðèÿòèé ìàøèíîñòðîåíèÿ",óòâåðæäåííûìè
ÖÊ ïðîôñîþçîâ
ðàáî÷èõ ìàøèíîñòðîåíèÿ;
) "Òèïîâûìè ïðàâèëàìè
ïîæàðíîé áåçîïàñíîñòè
äëÿ ïðîìûøëåííûõ
ïðåäïðèÿòèé";
)"Ïðàâèëàìè òåõíèêè
áåçîïàñíîñòè
è ïðîèçâîäñòâåííîé
ñàíèòàðèè ïðè
õîëîäíîé îáðàáîòêå
ìåòàëëîâ".
Ðàáîòû ïî î÷èñòêå
ñëåäóåò ïðîâîäèòü
íà ñïåöèàëüíî
îáîðóäîâàííûõ
ó÷àñòêàõ ïðè
ïîñòîÿííî ðàáîòàþùåé
ïðèòî÷íî-âûòÿæíîé
âåíòèëÿöèè. Âåíòèëÿöèÿ
äîëæíà áûòü âûïîëíåíà
â ñîîòâåòñòâèè
ñ òðåáîâàíèÿìè
ÑÍèÏ 2.04.05.
Ó÷àñòêè äîëæíû
áûòü îñíàùåíû
ñèñòåìàìè è
ñðåäñòâàìè ïîæàðîòóøåíèÿ.
Ïðè îñìîòðå èçäåëèé
ïðèìåíÿòü ïåðåíîñíûå
èñòî÷íèêè îñâåùåíèÿ
íàïðÿæåíèå íå
âûøå 12 Â âî âçðûâîáåçîïàñíîì
èñïîëíåíèè.
Ïðè âûïîëíåíèè
ðàáîò ñ óàéò-ñïèðèòîì
è äðóãèìè ËÂÆ
ïðèìåíÿòü ñëåäóþùèå
ñðåäñòâà èíäèâèäóàëüíîé
çàùèòû:
) äëÿ çàùèòû îðãàíîâ
äûõàíèÿ - ÑÈÇÎÄ-ÔÐ310,
ðåñïèðàòîð ôèëüòðóþùèé
ãàçîïûëåçàùèòíûé
ÐÓ-60ÌÀ;
) äëÿ çàùèòû ðóê-
ïåð÷àòêè ðåçèíîâûå
òåõíè÷åñêèå,
òèï 1, ðóêàâèöû.
Ïðîâåäåíèå ýëåêòðîñâàðî÷íûõ
ðàáîò ðàçðåøàåòñÿ
ïðè íàëè÷èè ýôôåêòèâíîé
âåíòèëÿöèè.
Ïðè âûïîëíåíèè
ýëåêòðîñâàðî÷íûõ
ðàáîò ñîáëþäàòü
ìåðû áåçîïàñíîñòè
â ñîîòâåòñòâèè
ñ òðåáîâàíèÿìè
ÐÄ5. 9823 è ïðèìåíÿòü
ñëåäóþùèå ñðåäñòâà
çàùèòû:
) ñïåöîäåæäó;
) îáóâü ñïåöèàëüíóþ;
) êàñêó ñòðîèòåëüíóþ;
) ùèòêè çàùèòíûå
ëèöåâûå äëÿ ýëåêòðîñâàðùèêîâ
ñî ñâåòîôèëüòðîì;
) ÑÈÇÎÄ -ÔÏ- 110, ðåñïèðàòîð
ØÁ-1 "Ëåïåñòîê-200"
ÃÎÑÒ
.4.028 èëè ðåñïèðàòîð
ïðîòèâîïûëåâîé
"ÊÀÌÀ-200"-â àâàðèéíûõ
ñëó÷àÿõ ïðè ìàëîé
ýôôåêòèâíîñòè
îáùåîáìåííîé
ìåñòíîé âåíòèëÿöèè.
Ñâàðî÷íîå îáîðóäîâàíèå
äîëæíî áûòü çàçåìëåíî.
Ñïèñîê ëèòåðàòóðû
1. Ðèâêèí
Ñ.Ë., Àëåêñàíäðîâ
À.À. Òåïëîôèçè÷åñêèå
ñâîéñòâà âîäû
è âîäÿíîãî ïàðà.
Ì.:Ýíåðãèÿ, 2010ã.
2. Àèí
Å.Ì. Ìåòîäè÷åñêèå
óêàçàíèÿ ê êóðñîâîìó
ïðîåêòèðîâàíèþ
ïî äèñöèïëèíàì
“Òåîðåòè÷åñêèå
îñíîâû ñóäîâîé
ýíåðãåòèêè” è
“Ãèäðîãàçîäèíàìèêà
è òåïëîîáìåí”.
Ñåâåðîäâèíñê:
Ñåâìàøâòóç,
1998 ã.
. Ïåé÷
Í.Í. Òåïëîâîé ðàñ÷¸ò
àêòèâíîé çîíû
âîäî-âîäÿíîãî
ðåàêòîðà. Ë.: ËÊÈ, 2008ã.
. Ìàêîâååâ
È.Â. Ñóäîâîå ãëàâíîå
ýíåðãåòè÷åñêîå
îáîðóäîâàíèå.
Ïàðîïðîèçâîäÿùèå
óñòàíîâêè. Ó÷åáíîå
ïîñîáèå ïî êóðñîâîìó
è äèïëîìíîìó
ïðîåêòèðîâàíèþ.
Ñåâåðîäâèíñê:
Ñåâìàøâòóç,
2009.
. Êóçíåöîâ
Â.À. Ñóäîâûå ÿäåðíûå
ýíåðãåòè÷åñêèå
óñòàíîâêè (êîíñòðóêöèè
è îñîáåííîñòè
ýêñïëóàòàöèè).
Ë.: Ñóäîñòðîåíèå,
1989ã.
. Øàìàíîâ
Í.Ï., Ïåé÷ Í.Í., Äÿäèê
À.Í. Ñóäîâûå ÿäåðíûå
ïàðîïðîèçâîäÿùèå
óñòàíîâêè. Ë.:
Ñóäîñòðîåíèå,
2010ã.
. Êðàâ÷åíêî
Â.Ñ. Ìîíòàæ ñóäîâûõ
ýíåðãåòè÷åñêèõ
óñòàíîâîê. Ë.: Ñóäîñòðîåíèå,
1975ã.
. Áàðàíîâ
Â.Â. Ìîíòàæ, òåõíè÷åñêîå
îáñëóæèâàíèå
è ðåìîíò ñóäîâûõ
ýíåðãåòè÷åñêèõ
óñòàíîâîê. ÑÏá.:
Ñóäîñòðîåíèå,
2011ã.
. Êóçíåöîâ
Â.À. Ñóäîâûå ÿäåðíûå
ðåàêòîðû. Ë.: Ñóäîñòðîåíèå,
1988ã.
. Ìàíüêî
Ï.À., Ñîëîèìñêèé
Á.Å. Ïðîèçâîäñòâî
ñóäîâûõ ðåàêòîðîâ
è ïàðîãåíåðàòîðîâ.
Ë.: Ñóäîñòðîåíèå,
2009ã.
Ðàçìåùåíî
íà Allbest.ur