Технология ремонта вакуумного быстродействующего выключателя ВБО-25-20/630 УХЛ1

  • Вид работы:
    Курсовая работа (т)
  • Предмет:
    Транспорт, грузоперевозки
  • Язык:
    Русский
    ,
    Формат файла:
    MS Word
    1,57 Мб
  • Опубликовано:
    2015-01-27
Вы можете узнать стоимость помощи в написании студенческой работы.
Помощь в написании работы, которую точно примут!

Технология ремонта вакуумного быстродействующего выключателя ВБО-25-20/630 УХЛ1

Содержание

Введение

. Назначение и условие работы вакуумного быстродействующего выключателя ВБО-25-20/630УХЛ1

.1 Устройство и работа выключателя

.2 Основные неисправности, причины их возникновения и способы предупреждения

. Периодичность, сроки и объем плановых технических обслуживаний, текущих и средних ремонта

.1 Текущий ремонт ТР50, (ТР-1), ТР250, ( ТР-2)

.2 Текущий ремонт ТР500, (ТР-3)

.3 Средний ремонт CP, капитальный ремонт КР-1

. Способы очистки и контроля технического состояния

.1 Способы очистки

3.2 Контроль технического состояния, дефекации и диагностика деталей

. Технология ремонта

.1 Разборка выключателя

. Предельно допустимые размеры деталей при эксплуатации и различных видах ТО и ремонта. Предельно допустимые размеры в сопряженных деталях

.1 Основные технические характеристики

. Приспособления, техническая оснастка средств механизации, применяемые при ремонте

.1 Приспособления и инструменты, применяемые при ремонте

. Сборка, проверка и испытание комплекта сборочной единицы

.1 Сборка

.2 Проверка на соответствие требованием сборочного чертежа

.3 Проверка характеристик работы механизма выключателя

.4 Испытание на исправность действия механизма выключателя

.5 Проверка пневматических характеристик

.6 Испытание на водозащищенность

. Организация рабочего места

. Техника безопасности при ремонте, сборке и испытания

. Транспортная безопасность на предприятии

Заключение

Список используемой литературы

Введение

Вопрос с обеспечением перевозок грузов локомотивной тягой является одним из ключевых в развитии конкуренции. Необходимость заключения перевозчиком договора об оказании услуг локомотивной тяги вытекает из положений статьи 12 ФЗ «О железнодорожном транспорте в Российской Федерации». В соответствии с указанной статьей, перевозчик должен иметь на правах собственности или ином праве вагоны и локомотивы для осуществления перевозок. В случае если перевозчик не имеет локомотива, он должен заключить договор об оказании услуг локомотивной тяги.

Предоставление услуг локомотивной тяги не относится к услугам, оказываемым на основании публичного договора, и не является предметом обязательного обслуживания.

Предполагается, что указанные услуги могут оказываться ОАО «РЖД» перевозчикам на основании отдельного договора, с установлением в нем цены, определенной сторонами. Возможна и обратная ситуация, когда ОАО «РЖД» будет привлекать локомотивы других компаний, неся затраты по отдельному договору, а расчеты с грузоотправителями будет осуществлять в соответствии с действующими тарифами. Такая схема позволит использовать в перевозочном процессе локомотивы различных собственников с распределением между ними доходов пропорционально затратам.

До конца 2004 года предусмотрена подготовка проектов Порядка оказания услуг по предоставлению локомотивной тяги ОАО «РЖД» и Порядка оказания услуг по обслуживанию локомотивов и локомотивных бригад при осуществлении перевозок независимыми перевозчиками.

Решение всех вопросов о порядке предоставления услуг локомотивной тяги устранит препятствия для перевозчиков и позволит им брать на себя перевозки на любые расстояния и конкурировать с РЖД на равных. В дальнейшем могут появиться компании, которые при соблюдении всех требований, предъявляемых законодательством, смогут оказывать такие услуги без «РЖД» (независимые перевозчики и другие специализированные компании) на основании договорных расценок.

Основными задачами реформирования заводов ОАО "РЖД" по капитальному ремонту локомотивов и производству запасных частей являются:

. Обеспечение выполнения Программы структурной реформы на железнодорожном транспорте в части создания условий для удовлетворения потребностей в капитальном ремонте локомотивов ОАО "РЖД" и других владельцев тягового подвижного состава за счет:

создания условий для развития конкурентной среды на рынке ремонта локомотивов;

расширения возможностей по освоению заводами дополнительных рынков сбыта и привлечению сторонних потребителей;

обеспечения гарантированного равного доступа компаний-владельцев локомотивов к ремонтной базе.

. Снижение совокупных затрат на содержание локомотивного парка за счет:

оптимизации производственных мощностей локомотиворемонтных заводов и расширения номенклатуры выпускаемой продукции, в условиях изменения технического состояния локомотивного парка и поставки новых локомотивов;

внедрения инновационных технологий, ремонта локомотивов и производства запасных частей;

оптимизации бизнес-процессов управления локомотивным комплексом.

. Создание организационно-правовых условий для привлечения дополнительных частных инвестиций за счет:

трансформации организационно-правовой формы хозяйственной деятельности заводов в форму акционерного общества, что позволит осуществлять привлечение инвестиций посредством продажи пакетов акций;

выделения из организационной структуры ОАО "РЖД" заводов, что повысит возможности и интерес для сторонних организаций в инвестировании развития ремонтных мощностей, в том числе за счет участия их в акционерном капитале.

. Создание условий для обеспечения повышения качества предоставляемых услуг по ремонту тягового подвижного состава, его оборудования и производства запасных частей за счет:

формирования механизмов финансовой ответственности заводов за качество выпускаемой продукции;

технического перевооружения производств, направленного на обеспечение выпуска конкурентоспособной продукции и повышения качества;

дооснащения производств современными средствами неразрушающего контроля, диагностики и измерения;

внедрения системы менеджмента качества.

1. Назначение и условие работы вакуумного быстродействующего выключателя ВБО-25-20/630 УХЛ1. Основные неисправности, причины их возникновения и способ предупреждения

Выключатель предназначен для оперативной коммутации высоковольтных цепей и защиты электрооборудования электроподвижного состава переменного тока с напряжением контактной сети 25 кВ, 50 Гц.

Выключатель выполнен в климатическом исполнении УХЛ категории размещения 1 по ГОСТ 15150-69 и ГОСТ 15543.1-80. Допускает эксплуатацию в диапазоне температур от минус 60°С до плюс 60° С.

.1 Устройство и работа выключателя

Опорной конструкцией выключателя смотрите рисунок (1.1) является плита 1. которая крепится к раме выключателя смотрите рисунок 1 через резиновый шнур. Выключатель с рамой устанавливается на установочную площадку электроподвижного состава также через другой резиновый шнур. входящий в комплект выключателя. Над плитой установлена камера дугогасительная с покрышкой 2. разъединитель 4, с механизмом поворотным 5, заземляющая стойка 12. Для подсоединения выключателя к высоковольтной сети служит контакт камеры дугогасительной 7 и шина 6. шарнирно закрепленная на фланце разъединителя. На плите установлена заземляющая стойка 12. предназначенная для заземления разъединителя в отключенном положении. На стойке предусмотрено резьбовое отверстие для подключения заземляющей шины. Заземлять корпус иным путем запрещается. На внутренней стороне плиты смонтированы механизмы управления выключателем: привод дуто гасительной камеры, привод разъединителя с механизмом доводки, блок электромагнита с электромагнитом переменного тока, автомат минимального давления, блок контактов, реле максимального тока, штепсельные разъемы, счетчик циклов срабатывания, патрубок с внутренней резьбой G1: для подвода сжатого воздуха. Принцип работы выключателя основан на том, что гашение электрической дуги. возникающей при размыкании контактов, происходит в вакууме (в дугогасительной камере). Ввиду высокой электрической прочности вакуумного промежутка и отсутствия среды, поддерживающей горение, обеспечивается минимальное время горения дуги.

Отключение выключателя происходит за счет размыкания контактов дугогасительной камеры, которое обеспечивается пружинами, а отключение разъединителя обеспечивается сжатым воздухом.

В таблице (1.1) приведены технические характеристики ВБО-25-20/630 УХЛ1.

Таблица 1.1 Технические характеристики ВБО-25-20/630 УХЛ1.

Наименование параметров

Данные

1

2

Номинальное напряжение, КВ

25

Допустимые приделы изменения напряжения, кВ

19-30

Номинальный ток, А

630

Номинальный ток отключения, кА

20

Сквозной ток короткого замыкания (амплитуда), кА

51

Номинальное давление сжатого воздуха, МПа

0,5

Диапазон давлений сжатого воздуха, МПа

0,35-0,675

Расход воздуха на цикл (В-О) при номинальном атмосферном давлении, м3, не более

0,012

Давление срабатывания автомата минимального давления: На замыкание контактов, МПа На размыкание контактов, МПа

 0,43-0,45 0,35-0,37

Допустимые приделы изменения напряжения в цепи управления: При номинальном напряжении 50В, В При номинальном напряжении 110В,В

 35-62,5 77-137

Ход подвижного контакта дугогасительной камеры, мм

13-14



1.2 Основные неисправности, причины их возникновения и способы предупреждения

Таблица-1.2 характерные неисправности и методы их устранения.

Название неисправности, внешние проявление

Вероятная причина

Метод устранения

1.выключатель не включается

плохой контакт на БКМ автомат минимального давления или реле максимального тока

Зачистить и поджать контакты


обрыв цепи катушки электромагнитного вентиля АУ2

Ликвидировать обрыв или заменить вентиль

2.выключатель срывается с защиты

 раз регулировалась величина западания защелки

При помощи болта увеличить величину захода ролика, установить зазор А=0,1 мм

3. Выключатель не ставиться на защиту

Удерживающий электромагнит не удерживает якорь: а) отсутствует зазор между якорем

Выставит зазор А=0,1мм


б) обрыв или витковое замыкание катушки удерживающего электромагнита;

Устранить обрыв и заменить


в) неправильно соединены катушки удерживающего электромагнита;

Соединить катушки параллельно на электровозах с номинальным напряжением цепей 50в и последовательно на электровозах с номинальным напряжением цепей управления 110в, при этом магнитные поля катушек должны совпадать


г) раньше времени обеспечивается электромагнитный вентиль включение;

Отрегулировать срабатывание блок-контакта


д) имеется зазор между якорем и магнит проводом удерживающего электромагнита

Устранить зазор

4. течь воздуха

а) ослабла затяжка уплотнения

Затянуть крепления в местах укладки уплотнений


б) разрушены уплотнения

Заменить уплотнения


Рисунок-1.1 Общий вид ВБО-25-20/630 УХЛ1

2. Периодичность, сроки и объем плановых технических обслуживаний, текущих и средних ремонта

В процессе эксплуатации выключателя производится его техобслуживание и ремонт в соответствии с таблицей .

Технологические операции во время ТО-2

очистить от загрязнения фарфор и другие части выключателя, применяя обтирочный материал, не оставляющий ворса. Проверить затяжку резьбовых креплений. обратив особое внимание на крепление фарфора. Затяжку крепления фавора проводить только предельным ключом с моментом 19.6 Н путем многократного последовательного обхода болтов или гаек по окружности их установки, не допуская поворота их за 1 оборот более 60°;

проверить состояние контактных пластин и ножей разъединителя. Значительное обгорание этих деталей свидетельствует об ослаблении давления ножей разъединителя на неподвижную контактную пластину или о наличии причин вызывающих уменьшение скорости движения вала разъединителя (механических заеданий, воздушная течь и т.д.). Давление каждого ножа разъединителя на неподвижную контактную пластину должно быть одинаковым (пружина создающая давление ножей на неподвижную пластин должна быть сжата до размера 11 мм):

в период гололеда периодически производить отключение выключателя без нагрузки, с целью разрушения образовавшейся корки льда на контактах разъединителя. При техническом обслуживании соблюдайте правила техники безопасности.

.1 Текущий ремонт TP50, (ТР-1) ТР250, (ТР-2)

Произвести весь объем работ, предусмотренный при техническом обслуживании ТО-2. В положении выключателя «ОТКЛ» проверить затяжку гайки, которая фиксирует токосъёмный контакт 3 рисунок (2.1). при необходимости гайку 24 подтянуть:

Рисунок. 2.1 полюс (положение «отключено») 1-камера дугогасительная вакуумная (КДВ), 2-корпус, 3-токосъемный контакт, 4-подвижный контакт КДВ, 5- рычаг, 6-буфер, 7 и 8- серьга, 9- тарелка, 10-изоляционная тяга, 11-регулировачная тяга, 12- связь гибкая, 13- пружина отключения, 14-пружинаподжатия, 15-ролик, 16-ось, 17,18,19,20-ось, 22,23,2-гайка.

Произвести осмотр привода выключателя рисунок( 2.2). Осмотреть ролик 18 и защелку 1 на наличие недопустимых износов. Проверить затяжку регулировочных болтов 2 и 17. При необходимости отрегулировать зазор А, равный 0.1 мм:

Рисунок 2.2 привод выключателя (положение "Отключено")

-защелка, 2 и 17-регулировочный болт, 3-поршень, 4 и 5-пружина, 6-катушка, 7-электромагнит отключения, 8-шток, 9 и 10-рычаг, 11-толкатель, 12 и 13- блок-контакт, 15- плита, 16-манжета, 18-ролик, 19-цилиндр, 20-ось, 21-изоляционная тяга, 22-гайка, 23-шпилька, 24-втулка, 25-якорь, 26-шайба, 27-пружина, 28-вилка, 29-стопорная шайба, 30-рычаг, 31-корпус электромагнита, 32-ролик. смазать трущиеся части выключателя:

Вовремя проведения ТР50, ТР250 ТР-2 заменить резиновые манжеты и кольца в пневмоцилиндрах.

.2 Текущий ремонт ТР500, (ТР-3)

При этом производятся работы предусмотренные пунктом(2.1) и необходимо выполнить следующие работы:

произвести осмотр катушек и механизма удерживающего электромагнита: осмотр производить, с частичной разборкой для определения целостности якоря, толкателя, втулки, пружины рисунок (2.2). Износ и перекос деталей не допустимы. Смазать трущиеся части механизма и провести сборку и регулировку;

произнести осмотр механического пневмовентиля рисунок (2.3): осмотр производить с частичной разборкой. При наличии большого износа уплотняющие резиновые шайбы заменить. Произвести сборку, смазку трущихся деталей и регулировку:

Pиcунок 2.3 Автомат минимального давления и механический пневмовентиля. 1-корпус, 2-втулка 3-клапан, 4-пробка, 5-пружина, 6-шток, 7-фланец, 8-корпус АМН, 9-шпилька, 10-планщ, 11-6локировочный аппарат, 12-рычаг, 14-регулировочный винт.

произвести осмотр полюса рисунок (2.1) при снятых боковых крышках корпуса 2. Осмотреть состояние буфера 6, ролика 15, осей 17. 18,19, 20. рычага 5 и серег 7. 8. При недопустимых износах детали подлежат замене. Смазать трущиеся части полюса.

2.3 Средний ремонт CP, капитальный ремонт КР

При этом производятся работы предусмотренные ТР-3, ТР500 и дополнительно при наработке выключателем 60000 циклов «В-О» с заменой вакуумной камеры. Для этого необходимо выполнить следующие работы:

осмотреть трущиеся поверхности цилиндров, поршней, манжет, сальников, уплотняющих штоков. Осмотр провести при разборке механизмов содержащих выше перечисленное:

проверить состояние изоляционной тяги 10 рисунок (2.2). Люфты между изоляционной тягой и металлическими наконечниками не допускаются:

в положении выключателя «ОТКЛ» снять КДВ 1, для того необходимо снять крышки, распшлинтовать и извлечь ось 20. отсоединить гибкую связь 12. отвернуть гайки 23, которыми КДВ крепится к фланцу корпуса 2. после этого осторожно снять КДВ.

Произвести сборку корпуса в последовательности обратной разборки:

произвести замер хода подвижного контакта камеры. Ход подвижного контакта камеры должен быть 13-14 мм. Он определяется как разность расстоянии между подвижным выводом камеры и произвольно выбранной точкой отсчета (например, краем окна корпуса дугогасительной камеры) в отключенном и включенном положениях выключателя. Измеряется измерительным инструментом по ГОСТ 166-89. ГОСТ 427-75:

измерить провал подвижного контакта. Провал подвижного контакта определяется во включенном положении выключателя измерительным инструментом по ГОСТ 166-89. ГОСТ 427-75 и должен быть 4-5мм. Допускается проводить определение провала подвижного контакта, измерив полный ход изоляционной тяги (из отключенного положения до включенного положения выключателя). Величина провала определяется как разность между полным ходом и ходом подвижного контакта. произвести замену блок-контактов всех контрольно-сигнальных устройств.

Виды работ по обслуживанию и ремонту выключателя во время техобслуживания и ремонтов различных типов электровозов представлены в таблице в таблице ( 2.1).

Таблица-2.1 Виды и работы по обслуживанию и ремонту ВБО-25-20/630 УХЛ1.

Типы электровозов

виды тех обслуживания и ремонтов электровозов

Периодичность работы

Работы в тех обслуживанию и ремонту ВБО

2ЭС5К, 3ЭС5К, Э5К

ТО-1

ежемесячно

Не производиться

Для электровозов с МОП скольжения

ТО-2

МОП скольжения не более 71 часов МОП качения не более 120 часов

Раздел 2.

Для электровозов с МОП качения

ТР-50

50 тыс.км. пробега

Раздел 2.1.


ТР-250

250 тыс.км. пробега

Раздел 2.1.


ТР-500

500 тыс. км. Пробега

Раздел 2.2.


СР

1 мил. км. Пробега

Раздел 2.3.


К.Р.

3 мил. км. Пробега

Замена выключателя.

ЭП1М, ЭП1П, ЭП1

ТО-1

Ежемесячно

Не производиться


ТО-2

48 часов

Раздел 2.1.


ТР-1

20 тыс. км. Пробега

Раздел 2.1


ТР-2

200 тыс. км. Пробега

Раздел 2.2.


ТР-3

600 тыс. км. пробега

Раздел 2.2.


СР

1200 тыс. км. Пробега

Раздел2.3.


КР

2400 тыс. км. Пробега

Замена выключателя



3. Способы очистки и контроля технического состояния

.1 Способы очистки

Все агрегаты, узлы и детали электровозов и электропоездов в процессе эксплуатации подвергаются обильному загрязнению, от которого приходится избавляться практически при всех видах технического обслуживания и при ремонтах подвижного состава. На долю очистных работ приходится не менее 5-8 % общей трудоемкости ремонта в депо. И, тем не менее, эти работы проводят, так как очистка электроподвижного состава, его сборочных единиц и деталей повышает культуру, качество обслуживания и ремонта, улучшает санитарно-гигиеническое состояние цехов и ремонтных стойл. Различают три основных вида очистки - механическую, химическую и комбинированную. В свою очередь, механическая очистка подразделяется на очистку пневматическим, гидравлическим и абразивным способом, а также на очистку с помощью механического инструмента. Пневматическую очистку применяют для сдувания сухого слоя пыли специально оборудованным обдувочным рукавом струей воздуха давлением до 0,5 МПа. Такую очистку проводят в продувочных камерах и шкафах с мощной вытяжной вентиляцией или на открытых площадках. Гидравлическая очистка подразделяется на гидродушевую и гидроциркуляционную. Гидродушевая очистка в сочетании с набором моющих щеток широко используется для наружной мойки экипажной части и кузовов локомотивов. Гидроциркуляционная очистка обычно применяется в моечных (выварочных) ваннах и баках с принудительной циркуляцией воды, подаваемой насосом. Механизированная очистка и мойка загрязненных конструкций проводится в струйных моечных машинах, в которых обмывка ведется раствором каустической или кальцинированной соды. Используются универсальные тупиковые и проходные машины (ММД-6, ММД-12, ММД-13 и др.) с замкнутым водяным контуром, в которых струйным способом моют агрегаты и узлы локомотивов. Всероссийским научно-исследовательским институтом железнодорожного транспорта разработана новая ресурсосберегающая технология очистки и мойки железнодорожной техники на основе высокоэффективных технологических процессов, позволяющих вести обработку очищаемых объектов универсальными моющими средствами нового поколения. По новой технологии моющий раствор на агрегаты и узлы подвижного состава наносится перед процессом очистки с помощью специальных пневмо распылителей передвижного или стационарного исполнения и выдерживается в течение определенного времени в зависимости от вида и степени загрязненности.

При этом происходит активное разрушение адгезионных связей загрязнения с поверхностью детали.

Затем с помощью агрегатов высокого давления на объект подается мощная струя воды (20 МПа и более), которая, обладая большой разрушающей силой, позволяет удалять даже очень прочные загрязнения без подогрева воды и применения дополнительных моющих средств. Новые очищающие средства, применяемые по разработанной технологии очистки, более эффективны, чем используемые в производственных процессах традиционные технологические моющие материалы, и во многих случаях полностью заменяют органические растворители. Эти препараты являются биоразлагаемыми, их применение дает значительный экономический эффект за счет сокращения расхода моющих средств, воды, тепловой и электрической энергии. Кроме того, значительно упрощается очистка стоков, в которые поступает меньше вредных веществ, так как они относятся к малоопасным 3-4 класс опасности, не обладают кумулятивными и аллергенными действиями.

Очистка механическим инструментом производится при местном характере загрязнения: для удаления нагара, коррозии или старой краски с применением различных скребков и щеток. Абразивная очистка (косточковый метод) производится абразивами, подаваемыми к изделию струей воздуха, в качестве которых применяют косточковую крошку или песок.

Для химической очистки применяют щелочные водные растворы (каустической и кальцинированной соды, едкого кали) с температурой 80-90°С; кислотные водные растворы (соляной, серной, фосфорной и Других кислот); водные растворы поверхностно-активных веществ (ПАВ) в чистом виде и в сочетании с неорганическими и органическими добавками. Такими эффективными моющими препаратами являются МЛ-51 и МЛ-52, расплав солей и щелочи, жидкие органические растворители (керосин, бензин, ацетон, бензол, Уайт-спирит и др.). В некоторых случаях в специализированных камерах производят паровую очистку.

Во всех случаях наружной очистки локомотивов, а также при очистке их деталей необходимо соблюдать меры безопасности в зависимости от применяемых способов или средств. Обслуживающий персонал должен пользоваться предусмотренными для этих видов работ спецодеждой и защитными средствами, а перед пуском моечной машины или специализированной установки лично убедиться в их исправности. При выполнении химической очистки необходимо соблюдать повышенную осторожность. Загружать и разгружать моечные машины крупногабаритными и тяжеловесными деталями с помощью мостового крана разрешается только обученному и аттестованному работнику.

Все электрическое оборудование для ТПС конструируют и изготавливают в соответствии с требованиями государственного стандарта, учитывающими все особенности и условия их работы. Таким образом, уже в их конструкции заложена требуемая надежность, однако реализована она может быть лишь в том случае, если в процессе эксплуатации электрическое оборудование будет подвергаться своевременному и качественному техническому обслуживанию и ремонту в соответствии с правилами ремонта. Электрическое оборудование должно быть надежно закреплено и содержаться в чистоте, так как наличие масла, влаги или иных загрязнений на их частях и особенно на их изоляционных деталях влияют на работу оборудования. Поэтому перед любым из видов ТО и ТР необходимо производить качественную очистку электрического оборудования и контроль технического состояния его основных узлов.

До непосредственной разборки электрического оборудования необходимо произвести его обдувку сжатым воздухом, для удаления наиболее легких видов загрязнения (пыль, куски грязи), так же возможно применение абразивной очистки. После обдувки реактор подлежит разборке, т.е. снятие основных частей, таких как: боковина, кожух, катушка, магнитопровод. После этого производится наиболее детальная очистка каждого из узлов реактора.

.2 Контроль технического состояния, дефектация и диагностика деталей

Дефект - изъян возникает вследствие износа, повреждения детали (узла) или изменения физических свойств материала, в результате которых наступает несоответствие детали требованиям, установленным нормативной документацией. Примерами дефектов могут служить трещины, как наружные, так и внутренние, выход размера деталей за пределы допусков рабочих чертежей, повреждения в цепях от токовых перегрузок.

Дефектация деталей и сборочных единиц производится с целью обеспечения объективной оценки и определения пригодности их к дальнейшей эксплуатации в соответствии с допускаемыми нормами износа, возможности восстановления дефектных и поврежденных деталей, а также при необходимости забраковки их и тем самым исключения возможности выдачи в эксплуатацию заведомо неисправных электровозов и электропоездов.

По месту расположения дефекты подразделяют на наружные и внутренние. В зависимости от этапа возникновения появляющиеся дефекты можно подразделить на три группы: конструктивные, производственные и эксплуатационные. Конструктивные и производственные дефекты выявляются в работе, когда детали или узлы, разработанные и выполненные с нарушением технологии изготовления, не имеют необходимого запаса прочности. К эксплуатационным дефектам деталей, агрегатов и машин относятся такие, которые возникают в результате действия различных видов изнашивания, явлений усталости, коррозии, старения, деформации и т.д., а также в результате неправильного технического обслуживания и плохого ухода в период эксплуатации. Из всех перечисленных дефектов первостепенное значение имеют дефекты изнашивания и усталостного разрушения, так как они преобладают в процессе эксплуатации современных электровозов и электропоездов. Дефекты изнашивания непосредственно влияют на долговечность деталей, а дефекты усталостного разрушения - на безотказность.

Узлы или отдельные детали, подлежащие дефектации, предварительно очищают, а детали, подлежащие дефектации на предмет обнаружения трещин, очищают до и после разборки узла.

В практике ремонта ЭПС при дефектации обычно используют наружный осмотр, контроль разными методами размеров, отклонений формы поверхностей деталей, отклонений в соединениях деталей и узлов, целостности материала деталей.

Наружный осмотр осуществляют обычно визуально, невооруженным глазом или с помощью простейших оптических средств - луп с 5-10-кратным увеличением. В редких случаях применяют микроскопы. При этом выявляют видимые погрешности поверхностей: риски, задиры, подплавления, поверхностные раковины, отслаивание и выкашивание, вмятины, сколы, трещины различного происхождения и т.д.

При контроле особое внимание обращают на поверхности, расположенные в зонах высоких тепловых и механических нагрузок, а также в зонах конструктивных и технологических концентраторов напряжений.

При дефектоскопии деталей необходимо соблюдать технику безопасности производства работ в соответствии с действующей должностной инструкцией. Запрещается допускать к пользованию дефектоскопом не аттестованных работников.

Техническая диагностика в качестве составной части системы обслуживания и ремонта локомотивов и направлена на предотвращение отказов подвижного состава, что наиболее результативно достигается тогда, когда удается выявить потерю работоспособности оборудования на самых ранних стадиях. От того, насколько система диагностирования способна обнаруживать те элементы оборудования, которые приближаются к своему предельному состоянию, зависит эффективность планово-предупредительной системы технического обслуживания и ремонта ЭПС в целом. Основная задача диагностирования - распознавание технического состояния объекта, т.е. отнесение его состояния к одному из возможных классов (диагнозов).

Техническим состоянием называется совокупность свойств объекта, изменяющихся в процессе эксплуатации, обслуживания и ремонта. Для описания этих свойств в технической документации приводятся номенклатура объектов, а также допустимые и предельные значения характеризующих их количественных и качественных признаков - диагностических (или контролируемых) параметров.

При техническом обслуживании и ремонте по фактическому состоянию оборудования ЭПС, которое постоянно или периодически контролируется с помощью средств технической диагностики, существенно уменьшается объем регулировки, демонтажа и монтажа оборудования на электровозе и электропоездах, в результате чего сокращаются случаи необоснованной замены узлов и деталей. Ремонтные операции в этом случае назначают только лишь при обнаружении неработоспособного оборудования или его предотказного состояния.

Диагностирование локомотива осуществляет мастер-диагност, подготовленный на специальных курсах из числа наиболее опытных и квалифицированных работников, который должен хорошо знать конструкцию и работу локомотива, устройство диагностического оборудования и правила его использования.

Диагностирование ЭПС подразделяется на плановое и заявленное. Плановое диагностирование проводится при всех видах ТР и СР, заявленное - только при появлении косвенных признаков неисправностей перед неплановым ремонтом. Сам процесс диагностирования состоит из трех этапов: подготовительного, основного и заключительного. Подготовительный этап включает в себя изучение книг повреждений и неисправностей локомотивов и их оборудования, проведение внешнего осмотра контрольных точек и подготовку диагностических приборов к работе. Основной этап - это установка предусмотренного технологией ремонта режима работы локомотива, способствующего проведению диагностических операций. Во время проведения данного этапа производят замеры необходимых параметров технического состояния ЭПС, результаты которого оформляют согласно требованиям действующей инструкции и положения.

Заключительный этап состоит из прогнозирования остаточного ресурса составных частей, агрегатов и локомотива в целом, постановки диагноза, а также назначение установленного вида и объема технического осмотра или ремонта. Завершающая стадия этапа - снятие диагностических средств с локомотива.

В том случае, когда электровоз оборудован встроенной (бортовой) системой диагностирования, при заходе его в депо результаты диагностирования, накопленные в эксплуатации, по специальному интерфейсу передаются в компьютер центрального участка диагностирования для расшифровки и обработки полученных данных. Результаты диагностирования должны храниться в электронной базе данных технического состояния локомотивного парка; они выдаются в строго утвержденной форме протокола руководству локомотивного депо для контроля и в случае брака в работе. Основные Способы очистки и контроля технического состояния представлены в  таблице (3.1).

Таблица-3.1 способы очистки и контроля технического состояния.

Осмотр и ремонт фарфоровых изоляторов разъединителя и заземляющего кронштейна. Осмотреть целость фарфоровых изоляторов и произвести их очистку

Очистку производить салфетками, увлажненными бензином

Бензин, салфетки, эмаль ГФ92ХС

Осмотреть поршень, кольцо поршневое, шток поршня и демпфера. Замерить зазор между поршневым кольцом и стенкой ручья в поршне;

Все металлические детали протереть салфетками, увлажненными бензином;

Салфетка, бензин, щуп;

Промыть блок клапанов и все его деталей в бензине, протереть. Замерить диаметр втулки;

Диаметр втулки допускается не более 20,5 мм.;

Бензин, салфетка

Осмотреть доводящий механизм, тягу рычаг, пружину и другие металлические детали, промыть их в бензине

Пружина высота которой в свободном состоянии будет менее 153 мм, а также с трещиной и поломкой витков, подлежит замене. Неисправные детали доводящего механизма заменить

Бензин, салфетка, штангенциркуль ШЦ-1-125

Осмотреть сигнально-блокировочный аппарат. Проверить состояние блок-контактных пальцев и их расположение согласно схемы ГВ

Сигнально-блокировочный аппарат промыть в бензине. При необходимости восстановить маркировку клемм согласно схемы ГВ. Ослабшие или неисправные шайбы заменить

Бензин, салфетка

Осмотр и ремонт электромагнитов включения и отключения. Разобрать электромагнит включения, отключения

Все разобранные детали промыть в бензине (кроме изоляционных и резиновых деталей)

Бензин, салфетка

Осмотр и ремонт промежуточного реле. Разобрать промежуточное реле и произвести промывку разобранных деталей

Все детали промыть в бензине, осмотреть их на годность. Крепежные детали с забитой или сорванной резьбой заменить

Бензин, салфетка

Осмотр и ремонт автомата минимального давления (АМД). Разобрать АМД, промыть в бензине сильфон.


Бензин, салфетка



4. Технология ремонта

4.1 Разборка выключателя

вакуумный выключатель ремонт неисправность

Отделение плиты 1 от Рамы. Рисунок (1.1)

Снять шесть крышек с окон «рамы» выключателя и, придерживая головки крепежных шести болтов через окна «рамы» ключом, отвинтить гайки и освободить плиту с выключателем.

Поднять за строповочные места плиту и осторожно отделить от «рамы». Следить, чтобы при раскачке выключатель не ударился чувствительными к ударам частями о кромки «рамы».

Установить изоляторами вверх на тележку с переворачиваемой на шарнирах рамкой плиту выключателя и закрепить четырьмя болтами M12.

Освободить стопорную шайбу и контргайку 22 со штока 8 Рисунок (2.2) и снять шпильку 23 с тяги 21. Снять вставку с вилки разъёма.

Отвинтить крепежные болты и снять камеру гасительную 3 с керамической покрышки 2 Рисунок (1.1).

Освободить 2 болта и снять (при необходимости) стойку заземляющую 12 Рисунок (1.1).

Отвинтить шесть крепежных болта и снять разъединитель 4 рисунок (1.1).

Перевернуть рамку тележки с закрепленной плитой Рисунок (1.1)

Визуально внимательно изучить компоновку узлов и их крепление на плите, найти все функциональные узлы, приведенные на рисунках (1 -9).

Рисунок.4.1. Разъединитель с поворотным механизмом 1-вал, 2 и 3-подшипники, 4- плита, 5- втулка, 9-кирамический изолятор, 6 и 11- уплотнение, 7 и 12- фланец, 14- нож, 15 и 16- пружина, 17- шина, 18- съемные накладки.

Рисунок 4.2. Пневмопривод разъединителя (положение "отключено") 1-корпус, 2-гильза, 3- уплотнения, 4-крышка, 5-поршень, 6-манжета, 7-шток, 8- серьга, 9-вал разъединителя, 10-рычаг, 11-пружина доводки, 12 и 13-ось, 14-стержень, 15-направляющая.

Рисунок. 4.3. Блок контактов 1-вал разъединителя, 2-кулачек, 3-стопорный винт, 4-болт, 5-ролик, 6-рычаг, 7-стойка, 8, 9-оси, 10-блокировка низковольтная. 11-болт, 12 конденсатор.

Рисунок 4.4. реле максимального тока, 1-катушка, 2-якорь, 3-блок-контакт, 4-скоба, 5-блок зажим об, 6 и 7-регулировочные бинты.

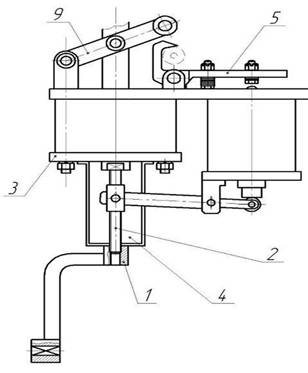
рисунок 4.5 Ручное включение и отключение выключателя. 1-рукоятка, 2-шток, 3-крышка привода, 4-стакан, 5-защелка, 9-рычаг.

Вывернуть уплотняющую гайку патрубка. Снять привод и вывернуть гайки. Снять воздуховод с пневмопанели.

Снять привод гасительной камеры с четырех шпилек.

Освободить гайки и снять упор с надетым на него уплотнением. Отвинтить гайку и снять собранный узел доводящей пружины.

Выкрутить винт с гайкой и снять с отверстия рычага. Выкрутить винт с гайкой и снять с отверстия рычага. Выкрутить болт и снять с шейки вала рычаг (кулачок). Снять с рычага упор. Открутить 2 болта и снять рычаг привода с вала. Снять с вала разъединителя втулку, находящуюся под рычагом. Выкрутить гайки и снять пневмопанель установленную на четырех шпильках. Перевернуть рамку с плитой.

Выкрутить шесть гаек и снять со шпилек вал 1 Рисунок (2.2).

Вывернуть (при необходимости) шесть шпилек М10, расположенные вокруг отверстия под вал 1 разъединителя.

5. Предельно допустимые размеры деталей при эксплуатации и различных видах ТО и ремонта. Предельно допустимые размеры в сопряженных деталях

.1 Основные технические характеристики представлены в таблице (5.1)

Таблица-5.1 основные технические характеристики ВБО-25-20/630 УХЛ1

Наименование и единица измерения

величина

Ход подвижного контакта,

13-14мм

Провал подвижного контакта,

4-5мм

Угол поворота вала до размыкания контактов блокировки электрической низковольтной,

45-50град

Величина не совпадения осевых линий контактов разъединителя и камеры гасительной при включении выключателя,

±5мм

Угол поворота вала разъединителя,

63-60 град

Размер сжатия пружины контактов ножей разъединителя,

11 мм

Момент затяжки болтов и гаек фарфоровых изоляторов,

19,6 Н.м

Зазор между головками регулировочного болта защелки и бойком якоря удерживающего электромагнита,

0,1мм

Сопротивление обмотки одной катушки удерживающего электромагнита при температуре 20 С,

648-756 ОМ

Сопротивление обмоток электромагнита переменного тока при температуре 20 С,

0,275-0,305 Ом



6. Приспособления, техническая оснастка средств механизации, применяемые при ремонте

Основой повышения производительности труда и его качества, а также улучшения условий труда ремонтного персонала является механизация тяжелых, трудоемких, вредных и опасных работ. Разборку электровоза производят на разборочной или ремонтной позиции с демонтажем и перемещением тяжелых и громоздких сборочных единиц. Для повышения уровня механизации демонтажных операций позиции оснащают механизированными слесарно-монтажными инструментами в виде пневмогайковертов различных типов. Для выполнения типовых подъемно-транспортных и специальных операций в зависимости от вида выполняемого ремонта цехи оснащают разными механизмами. В цехе текущего ремонта ТР-3 устанавливают краны для снятия сборочных единиц. Для создания удобных и безопасных условий в цехах устраивают технологические боковые платформы и пониженные полы, которые располагают с боковых сторон разборочной (ремонтной) позиции. Такое устройство дает возможность работать в разных уровнях. Сглаживающий реактор по своим габаритам является не слишком большой деталью, для монтажа и демонтажа требуются специальные приспособления. Перемещение его по цеху к месту ремонта или производства другой операции производится на специализированных тележках. К оборудованию, применяемому при ремонте и проверке сглаживающего реактора, относятся: стенд для испытаний работы, технический инструмент (ключи, щетки, линейка, штангенциркуль, шпатель и т.п.). Любой механизированный инструмент и приспособления, грузоподъемные и транспортные средства в установленные сроки должны проходить соответствующие испытания и освидетельствование.

Техническое оснащение депо и ПТОЛ должно соответствовать табелю основного подъемно-транспортного оборудования, стендов и приспособлений, типовым проектам депо и участков депо. Количество, технические данные, состояние и использование участков специализированных отделений, стойл, станков, подъемно-транспортного оборудования и специализированного технологического оборудования, инструмента, приспособлений, контрольно-измерительных приборов и аппаратуры должны:

отвечать современному уровню развития техники;

обеспечивать высокое качество ремонта и технического обслуживания электровозов за нормируемое время;

отвечать требованиям пожарной безопасности, санитарии, охраны труда, техники безопасности и производственной эстетики;

обеспечивать выполнение планового и непланового ремонта в оптимальные сроки.

.1 Приспособления и инструменты, применяемые при ремонте

Для ремонта и испытания ВБО-25-20/630УХЛ1, применяются:

·        генератор ацетиленовый передвижной АСП-1,25-7 ТУ 26-05-503-80;

·        мегомметр на 2500 В М1-ЖТ ГОСТ 23706-79;

·        кран мостовой Q=5т;

·        набор гаечных ключей ГОСТ 2839-80;

·        молоток ГОСТ 2310-88;

·        штангенциркуль ЩЦ-1-125-0,1 ГОСТ 166-89;

·        набор щупов №4 кл. 2;

·        лупа артикул SMG04 диаметром 100 мм.

7. Сборка, проверка и испытание комплекта сборочных единиц

7.1 Сборка

Закрепить плиту на рамке монтажной тележки четырьмя болтами М12.

Ввернуть шесть шпилек М10 в отверстия плиты вокруг отверстия под вал разъединителя.

Установить на шпильки вал и закрепить гайками.

Перевернуть рамку с плитой.

Установить на плиту пневмопанели на четырех шпильках и закрепить гайками.

На вал разъединителя установить втулку, являющуюся опорой определяющей положение рычага поворотного механизма.

Установить рычаг поворотного механизма на вал до упора во втулку и закрепить двумя болтами. Установить на рычаге упор доводящей пружины.

На шейку вала установить рычаг (кулачок) и закрепить болтом. В отверстие рычага установить винт с гайкой.

На стержень узла доводящей пружины одеть пружину, вставить в направляющую и установить собранный узел направляющей осью в паз упора и закрепить гайкой.

Установить упор, предварительно одев на него уплотнение и закрепить гайкой.

Ввернуть в плиту четыре шпильки и на них установить привод гасительной камеры, закрепить гайками.

Установить воздуховод накручиванием на пневмопанели гаек, установить привод. Установить гайку уплотняющую.

Установить на плиту блок контактов и закрепить четырьмя болтами. Ввернуть в плиту две стойки (шестигранные). На эти стойки установить панель.

Ввернуть две стойки и установить на них блок электромагнита.

Ввернуть две стойки и закрепить на них реле максимального тока (РМТ).

Установить указатель «включен - отключен», закрепив его на шейке вала винтом с гайкой. Перевернуть рамку тележки с плитой.

Закрепить разъединитель четырьмя болтами, тщательно от центровав на расточке диска вала. Установить на плите стойку заземляющую и закрепить двумя болтами. На стойку заземляющую установить пластину контактную и закрепить двумя болтами.

Установить на ввернутые шпильки плиты керамическую покрышку и закрепить на ней камеру гасительную.

Отрегулировать положение пластины контактной заземлителя с помощью прокладок так, чтобы её плоскость совпадала с плоскостью контакта камеры гасительной.

Установить вставку на вилку разъема. Установить на свободный вывод тяги шпильку с гайкой (на последних изделиях гайка устанавливается совместно со стопорной шайбой на штоке).

Отрегулировать шпилькой ход тяги.

Установить на камеру гасительную контакт и закрепить тремя гайками.

Снять собранную плиту.

Установить собранную плиту на «раме» проложив уплотнение и скрепив болтами. Установить на « раму» крышек через уплотнения и закрепить на шпильках гайками. Произвести наладку и регулировку.

Примечание:

Шайбы, гайки, уплотнения и т.п. должны быть обязательно применены в соответствии с общими техническими правилами.

Резьбовые и трущиеся поверхности смазать смазкой ЦИАТИМ-221 ГОСТ 9433-80.



7.2 Проверка на соответствие требованием сборочного чертежа

Проверка производится визуальным осмотром. Проверке подлежат:

-           гальванические и лакокрасочные покрытия;

-           состояние мест заземления;

-           внешний вид прессованных деталей, изоляторов, сварных соединений;

-           наличие смазки на трущихся и резьбовых соединениях;

-           правильность маркировки, клеймения и заполнения табличек технических данных;

-           качество болтовых контактных соединений.

Лакокрасочные покрытия должны быть однородными, гладкими и блестящими. Допускаются неровности, связанные с состоянием окрашиваемой поверхности и другие дефекты, видимые без применения увеличительных приборов, но не влияющие на защитные свойства покрытий и не ухудшающие товарный вид выключателя.

Гальванические покрытия должны быть однородными.

Не допускаются на покрытых поверхностях: вздутия, следы отмытых солей, пузыри, отслаивания, шелушения, растрескивания, видимые следы от захвата руками.

Возле места, в котором должно быть осуществлено присоединение заземляющего проводника, должен быть нанесен любым способом нестираемый при эксплуатации знак заземления.

Все прессованные детали должны иметь чистую поверхность без трещин и сколов, обломов на деталях должны быть зачищены. Сварные соединения должны быть качественными, без раковин и грубых выплесков.

Трущиеся поверхности должны быть смазаны рабочей смазкой. Смазка на поверхностях контактов камеры и заземлителя, а также контактирующих поверхностей ножей разъединителя, должна быть нанесена тонким слоем в виде пленки. Данные заводской таблички и паспорта должны соответствовать техническим данным выключателя. Резьбовые соединения, расположенные на подвижных частях выключателя, а также ответственные резьбовые соединения на неподвижных частях должны быть предохранены от само отвинчивания при помощи контргаек, пружинных шайб или другим способом.

7.3 Проверка характеристик работы механизма выключателя

Перед началом проверки следует убедиться в правильности настройки механического клапана, блока сигнализации положения выключателя (SQ2), блок- контактного устройства (SQ3). При необходимости произвести настройку согласно приложению. К проверяемым характеристикам относятся: ход подвижного контакта камеры дугогасительной вакуумной (КДВ); провал подвижного контакта КДВ;

собственное время отключения:

от электромагнита переменного тока:

от удерживающего электромагнита при номинальном напряжении на катушке в следующих случаях:

а)двух кратных и более токах срабатывания;

б)130% от тока срабатывания;

скорости движения подвижного контакта КДВ:

а) максимальная при отключении;

б) средняя на пути 9мм от замкнутого положения при отключении;

в) средняя на пути 4мм перед смыканием контактов при включении;

угловые скорости вала разъединителя при включении и отключении, а также угол поворота его;

величина несовпадения осевых линий неподвижного контакта и ножей разъединителя в горизонтальной плоскости;

избыточное давление автомата минимального давления (АМД), при котором происходит замыкание и размыкание его контактов;

работа механизма на отключение при минимальном давлении сжатого воздуха, равном 0,32МПа (3,2 кгс/см2).

Ход подвижного контакта КДВ определяется с помощью отрезка металлической линейки по ГОСТ 427-75 как разность расстояний между подвижным контактом и произвольно выбранной неподвижной точкой отсчета в отключенном и включенном положениях выключателя. Ход должен быть 13-14мм.

Провал подвижного контакта определяется металлической линейкой как разность хода штока пневмопривода из отключенного до включенного положения и ходом подвижного контакта. Провал должен быть в пределах 4-5мм.

Собственное время отключения выключателя от электромагнитов (переменного тока или удерживающего) без учета времени действия защиты определяется как промежуток времени от момента подачи управляющего сигнала на цепь катушки электромагнита до момента размыкания контактов КДВ. Это время должно быть:

от удерживающего электромагнита не более 0,04сек;

от электромагнита переменного тока не более 0,03сек.

Измерения проводятся цифровым миллисекундомером типа Ф209 (либо Ф291), предназначенным для определения времени срабатывания электромагнитных реле.

При этом к клеммам прибора, предназначенным для подключения контактной пары реле, должны подключаться контакты КДВ, а роль концов катушки реле должны играть концы

катушек удерживающего электромагнита и электромагнита переменного тока. Переключатель режима работы миллисекундомера должен быть в положении, соответствующем размыканию контактов.

Измерения проводятся не менее трех раз и берется среднее арифметическое значение. Допускается измерение и иным способом, обеспечивающим необходимую точность.

Собственное время отключения выключателя, включая и время срабатывания реле максимального тока (РМТ), от удерживающего электромагнита измеряется цифровым мили секундомером настоящих ПМ при номинальном напряжении на катушке и в следующих режимах:

при двух кратных и более токах срабатывания - не более 0,05с;

при 130% от тока срабатывания - не более 0,06с.

Скорости движения подвижного контакта КДВ вычисляются делением пройденного расстояния на время, затраченное на прохождение этого расстояния. Полученные значения отражают средние скорости и должны быть:

на всей длине пути при отключении, не более 1,5 м/с;

при прохождении 9мм от замкнутого положения 0,9-1,3 м/с;

на последних четырех мм перед смыканием контактов при включении 0,4-0,8 м/с.

Время измеряется цифровым мили секундомером в режиме «кратковременное замыкание контактов». При этом в качестве «замыкающихся контактов» используются:

контакты КДВ для измерения полной средней скорости;

скользящий контакт и проводящие дорожки длиной 9мм и 4мм скоростемера ВИЕЦ.401731.049 при измерении скоростей на длине хода 9мм и 4мм соответственно.

Для работы со скоростемером необходимо:

подсоединить шток скоростемера непосредственно к деталям, жестко связанным с подвижным контактом КДВ;

закрепить корпус скоростемера на любой неподвижной относительно подвижного контакта КДВ поверхности;

присоединить контакты скоростемера к соответствующим клеммам ( в случае секундомера Ф209 к клеммам Кл1 и Кл2) секундомера.

Угловые скорости вала разъединителя при включении и отключении, а также угол поворота его измеряются электромагнитным вибрографом.

Они вычисляются как средние арифметические значения не менее трех измерений и должны быть:

при отключении 800-1050 град/с;

при включении 950-1050 град/с.

Угол поворота должен быть в пределах 60-63 град.

В случае превышения угловой скорости при включении свыше 1050 град/с её необходимо снизить до нужного значения с помощью регулировочного винта, установленного в пробке клапана быстрого выхлопа, и зафиксировать с помощью контргайки.

Величина несовпадения осевых линий неподвижного контакта и ножей разъединителя в горизонтальной плоскости проверяется измерительной линейкой металлической по ГОСТ 42775 с верхним пределом измерений 500мм и не должна превышать 5мм.

Избыточное давление автомата минимального давления (АМД), при котором происходит замыкание и размыкание его контактов проверяется манометром с ценой деления не более 0,01 МПа и должно:

включить выключатель (замкнуть контакты КДВ и разъединителя) при давлении 0,43-0,45МПа (4,3-4,5 кгс/см2);

отключить выключатель (разомкнуть контакты КДВ и соединить нож разъединителя с контактом заземлителя) при давлении 0,35-0,37 МПа (3,5-3,7 кгс/см2).

Выключатель должен надежно отключаться при минимальном давлении 0,32 МПа (3,2 кгс/см ) при закороченных контактах тока АМД. Это давление не является рабочим. Оно характеризует качество сборки и регулировки, а также наличие запаса по давлению, необходимого для отключения выключателя в процессе быстрого (аварийного) снижения давления в пневмосети электровоза.

7.4 Испытание на исправность действия механизма выключателя

К проверяемым характеристикам относятся:

коэффициент трансформации трансформатора тока ТПОФ-25;

-           пределы ступенчатого регулирования токов уставки на РМТ;

-           выполнение операций в объеме и при условиях, указанных в таблице (7.1)

Для измерения коэффициента трансформации (отношение тока первичной цепи Ii к току во вторичной цепи I2) используется «Стенд для настройки реле, паспорт 30.015.00ПС», снабженный двумя амперметрами типа Э59 с пределами измерения 5А и 10А в каждом амперметре. Цена деления шкалы 5А- 0,05А, шкалы 10А-0,10А. Измерение токов производится с использованием шунта.

Первичную цепь представляет петля из проводника, имитирующая высоковольтную цепь выключателя; вторичная цепь выполнена в виде многовитковой катушки.

Проверить коэффициент трансформации трансформатора ТПОФ-25 (или ТКШ) при токах в первичной цепи (80-120)А, 200А,500А, 600А. Коэффициент трансформации должен быть - 16±0,4.

Проверку пределов ступенчатого регулирования токов уставки на РМТ определять при совместной работе реле с трансформатором тока ТПОФ-25 путем подключения вторичной обмотки трансформатора тока к отпайкам реле согласно таблице (7.1 и изменения воздушного зазора реле таким образом, чтобы оно срабатывало при прохождении тока, соответствующего отпайкам катушки реле. Токи срабатывания и точность уставки проверяются последовательно при использовании всех отпаек катушки реле.

В процессе испытания выключатель должен провести 50 операций «О» от РМТ при токе, составляющем 130% от тока срабатывания.

Таблица- 7.1 проверка пределов ступенчатого регулирования токов.

Отпайка реле

число витков

Ток установки выключателей, А



с ТПОФ-25

С ТПОФ-25

С ТКШ



Для электровозов

Для электровозов

ВО-В6

144

-

80±12

-

ВО-В3

111

-

100±15

-

ВО-В7

89

-

120±18

-

В1-В6

69

200±20

-

80±12

В1-В5

53

250±25

-

100±15

В1-В4

44

300±30

-

120±18

В1-В3

36

350±35

-

-

В3-В6

33

400±20

-

-

В1-В2

27

450±22,5

-

-

В4-В6

25

500±25

-

-

В5-В6

16

880±44

-

-


При испытаниях по таблице (7.2) циклы выполняются без преднамеренной выдержки времени, т.е. «ВО».

Допускается испытание на исправность действия механизма выключателя совмещать полностью или частично с проверкой характеристик.

Таблица-7.2 испытание механизмов на исправность.

Давление сжатого воздуха, кгс/см2

Напряжение питания, цепей управления

Количество циклов В-О



50В

110В

От удерживающего электромагнита

От электромагнита переменного тока

1

3,5

35

77

10


2

3,5

35

77


10

3

6,75

35

77

10


4

6,75

62,5

137


10

5

6,75

62,5

137

10


6

5,0

50

110

5

5



7.5 Проверка пневматических характеристик

Проверке подлежат:

расход воздуха на циклы «ВО» не более 12л, приведенных к нормальному атмосферному давлению;

расход воздуха на утечку при номинальном избыточном давлении сжатого воздуха.

Проверка расхода воздуха, приведенного к нормальному атмосферному давлению, на циклы «ВО» производится при питании от специального бака ёмкостью 30-35л, наполненного до давления 0,5МПа (5кгс/см2) при перекрытой воздушной магистрали путем сравнения показаний контрольного манометра до проведения цикла «ВО» и после. Сброс давления АР (расчет по п.9.2.2.10 ГОСТ Р52565) должен быть не более 0,4 кгс/см2, т.е. манометр должен показывать давление 0,46 МПа (4,6 кгс/см2).

Проверка расхода воздуха на утечку при номинальном избыточном давлении (0,5 МПа) производится согласно п.6.5.3 ГОСТ 9219-88, т.е. как для аппаратов, имеющих несколько узлов, находящихся под давлением. При этом следует измерять утечку воздуха через приводы из резервуара емкостью 1л.

Давление в резервуаре не должно снижаться более, чем на 10% от номинального спустя время Т мин, вычисленное по формуле (7.1):

Т = 10 , т+0,5п, (7.1)

где: т - число электропневматических клапанов;

п - число пневматических цилиндров, присоединенных к резервуару.

В случае выключателя ВБО-25 т=2, п =2. Значит Т= 10_ = 3,3 (3,5мин.) 2+0,5х2 3

Таким образом давление в резервуаре должно упасть через 3,5мин не ниже 0,45МПа (4,5 кгс/см2).

Испытания электрической прочности изоляции главной цепи и цепей управления испытательным кратковременным напряжением промышленной частоты.

Высоковольтная изоляция ножа разъединителя и КДВ относительно земли, а также между разомкнутыми контактами камеры должна выдерживать испытание одноминутное - 75 кВ

Высоковольтная изоляция между ножом разъединителя, находящимся в крайнем разомкнутом положении, и выводом подвижного контакта КДВ на корпусе должна выдерживать напряжение промышленной частоты 75 кВ в течении 1 мин.

Изоляция цепей управления напряжением до 220В должна выдерживать испытательное напряжение 2 кВ в течении одной минуты, свыше 220В - 3 кВ.

Проверка электрического сопротивления главной цепи.

Проверка электрического сопротивления главной цепи выключателя между выводами полюса проводится по методике ГОСТ 8024-90.

Электрическое сопротивление токопровода главной цепи должно быть не более 250 мкОм.

.6 Испытание на водозащищенность

Испытание проводится следующим образом:

выключатель устанавливается в положение, соответствующее его положению при эксплуатации, т.е. верхняя высоковольтная часть выключателя через уплотнение в плите герметично отделена от нижней части, и его высоковольтную часть обливают со всех сторон струей воды с расстояния 5 м при давлении воды перед выходом из шланга 2 кгс/см2.

Температура воды должна быть ниже температуры выключателя на десять пятнадцать градусов.

выключатель вытирают и подвергают осмотру.

Выключатель считается выдержавшим испытание, если при осмотре не обнаружена вода в его нижней части, и во внутренних полостях высоковольтной части.

Проверка консервации, комплектности выключателя и упаковки на соответствие требованиям конструкторской документации.

 Проверку производить визуально, согласно требованиям конструкторской документации, чертежа на упаковку и ГОСТ 18397-86.

Методика настройки узлов ВБО

Настройка механического клапана.

Настройка производится в положении «отключен» с помощью регулировочного винта. Отвинтить контргайку на 3-4мм и закручивать винт, надавливая на шток клапанов. По мере перемещения штока нижний клапан, закрывающий поступление воздуха из нижнего канала в верхний, начнет открываться. Воздух начнет частично поступать в верхний канал, а частично уходить в атмосферу через еще не до закрытый верхний клапан и отверстия во фланце. Стравливание воздуха прекратиться в момент, когда резинка клапана ляжет на седло втулки. Для надежной фиксации этого положения следует докрутить винт еще на 0,5 оборота и законтрить гайкой моментным ключом. Момент затяжки 2,8 кгс-мм2

Регулировка блока сигнализации положения выключателя

В положении «включен» выключателя ролик рычага должен находиться под «клювом» рычага и одновременно через рычаг- «флажок» блок-контакта надавливать на шток этого блок- контакта. Перемещение штока должно надежно обеспечить переключение контактов. Этого добиваются приближая или отдаляя блок-контакт в направлении к ролику. Для этого ослабляются три крепежных болта блок-контакта и после регулировки затягиваются моментным ключом. Момент затяжки 0,8кГс-мм2.

Регулировка блок-контактного устройства.

Блок-контактное устройство (контрольно-сигнальное устройство КСУ) должно переключить контакты при повороте вала разъединителя из отключенного положения на 450- 500. Для этого в исходном положении ролик толкателя должен касаться кулачка в начальной части рабочей поверхности. Этого добиваются продольным перемещением стойки и соответствующим поворотом кулачка вокруг вала разъединителя. После регулировки крепежные винты стойки и болт кулачка затягиваются. Для окончательной фиксации кулачка на валу через отверстие под стопорный винт просверливается «лунка» на валу. Через шлиц на торце завинчивается до упора стопорный винт и затягивается контргайка. Контроль проводится измерением угла поворота по световой сигнализации момента переключения контактов.

Настройка электромагнита переменного тока

Электромагнит переменного тока должен отключать выключатель при токе не более 11 А. Этого добиваются, регулируя положение толкателя электромагнита, который через Г- образный рычаг должен приподнять плечо рычага защёлки, пока не отключится выключатель. Грубая регулировка производится перемещением корпуса электромагнита в пределах крепёжных отверстий.

При тонкой регулировке, пользуясь регулировочной гайкой, подбирают величину хода подвижного сердечника. В конце регулировки спецгайка толкателя подкручивается до соприкосновения и плотного сжатия с регулировочной гайкой.

8. Организация рабочего места

Рабочие места слесарей оборудованы в соответствии с требованиями правил ремонта и технических указаний по ремонту электровозов приспособлениями и устройствами, облегчающими труд, повышение качества ремонта и роста производительности труда. Оснастка и приспособление содержатся в полном соответствии с технологическими условиями на их эксплуатацию, в процессе ремонта применять исправно слесарно-монтажные, измерительные инструменты и приборы, предусмотренные технологическими процессами, удовлетворяющих требования технологических условий и ГОСТОВ. Для разборочно-сборочных и транспортировочных работ при ремонте тепловозов используется подъёмно-транспортные механизмы, монтажные тележки и другие средства механизации, имеющиеся в депо.

Стойла участка текущего ремонта ТР-3 должны располагаться в подкрановом поле и иметь электродомкраты для подъема кузова, на участке должны быть выделены места и иметься устройства для очистки, мойки, сборки и хранения тележек, колесных пар, колесно-моторных блоков, деталей механического оборудования, тяговых двигателей, тяговых трансформаторов, электрических аппаратов, съемных крыш и другого оборудования. Проходы и проезды участков и специализированных отделений должны быть свободными и иметь размеры, допускающие эффективное использование применяемых в депо транспортных средств.

Освещение участков, специализированных отделений, смотровых канав и рабочих мест на электровозах должно обеспечивать высокое качество осмотра локомотивов и ремонта снятого с них оборудования и соответствовать установленным нормативам освещенности.

Измерительные приборы электровозов, измерительные приборы, инструмент, устройства и шаблоны, применяемые для проверки (калибровки) и испытания деталей, узлов и агрегатов должны содержаться в исправности и подвергаться периодической поверке (калибровке) в установленные сроки, аккредитованными метрологическими службами.

Каждое депо должно иметь не менее чем десятидневный неснижаемый и технологический запасы материалов и запасных частей, узлов и агрегатов. Номенклатура и количество десятидневного неснижаемого и технологического запасов, в том числе и для подчиненных ПТОЛ, разрабатывается в депо на основе норм расхода материалов и запасных частей с учетом местных условий, программы ремонта и серий электровозов.

Утвержденные перечни запасов должны иметься в каждом депо и на каждом ПТОЛ. Использование неснижаемого запаса допускается в исключительных случаях с обязательным его пополнением в кратчайший срок.

Рабочие места слесарей должны быть обеспечены материалами, деталями и запасными частями, установленных нормами технологического запаса. Личный и бригадный инструмент должен храниться в инструментальных шкафах и открытых стеллажах, расположенных в пределах рабочего места, а специальный инструмент и приспособление слесари получают из инструментальной комнаты депо; текущий ремонт ТР-1; ТР-2; ТР-3 электровозов выполняют слесари соответствующей квалификации, обеспечивающие высокое качество работы, а также соблюдение размеров, точность сборки и приёмка деталей согласно нормам допусков и износов; транспортировку узлов и деталей в пределах рабочего места, до 50 м, выполняют слесаря занятые непосредственно ремонтом локомотива. Затраты времени на указанную транспортировку в типовых нормах учтены. В типовых нормах времени предусматривается рациональная последовательность выполнения элементов работы на основе опыта передовых предприятий.

На рисунке (8.1) показана планировка цеха ремонта ВБО-25-20/630 УХЛ1.

Рисунок 8.1.Планеровка цеха ремонта ВБО-25-20/630 УХЛ1. 1-испытательная камера, 2- испытательный стенд, 3,6-стол, 4,11-монтажная тележка, 5-ящики с ключами, 7-ящики с расходными материалами, 8,9-подставка для ВБО, 10-тельфер.

9. Техника безопасности при ремонте, сборке и испытания

Все производимые работы, связанные c демонтажем, монтажом и ремонтом сглаживающего реактора, должны выполняться в строгом в соответствии с правилами техники безопасности и производственной санитарии при ремонте электровозов.

Перед началом работ, связанных демонтажем, монтажом и ремонтом сглаживающего реактора, руководитель смены (бригада) обязан произвести инструктаж исполнителей по безопасным приемам трудаи назначить старшего в группе, который будет осуществлять контрольза соблюдением техники безопасности.

Инструмент, необходимый для производства работ должен быть в исправном состоянии.

При производстве подъемно-транспортных работ пользоваться соответствующим валочным приспособлением и исправным подъемником.

Оборудование, применяемое при демонтаже, монтаже и ремонте сглаживающего реактора имеющие электропривод, должно быть надежно заземлено.

Перед началом транспортировки деталей и узлов убедится в отсутствии людей в опасной зоне.

При разработке и ремонте реактора применять стенды и приспособления, обеспечивающие технику безопасности при производстве работ.

Рабочие места должны содержаться в чистоте.

Все работы в пропиточно-сушильном отделении должны выполняться только при включенной приточно-вытяжной вентиляции. В пропиточном отделении запрещается проведение всех видов огневых работ и нахождение в помещении с открытым огнем.

10. Транспортная безопасность на предприятии

Основные понятия.

В целях настоящего Федерального закона используются следующие понятия:

акт незаконного вмешательства - противоправное действие (бездействие), в том числе террористический акт, угрожающее безопасной деятельности транспортного комплекса, повлекшее за собой причинение вреда жизни и здоровью людей, материальный ущерб либо создавшее угрозу наступления таких последствий;

категорирование объектов транспортной инфраструктуры и транспортных средств - отнесение их к определенным категориям с учетом степени угрозы совершения акта незаконного вмешательства и его возможных последствий;

компетентные органы в области обеспечения транспортной безопасности - федеральные органы исполнительной власти, уполномоченные Правительством Российской Федерации осуществлять функции по оказанию государственных услуг в области обеспечения транспортной безопасности;

обеспечение транспортной безопасности - реализация определяемой государством системы правовых, экономических, организационных и иных мер в сфере транспортного комплекса, соответствующих угрозам совершения актов незаконного вмешательства;

объекты транспортной инфраструктуры - технологический комплекс, включающий в себя железнодорожные, трамвайные и внутренние водные пути, контактные линии, автомобильные дороги, тоннели, эстакады, мосты, вокзалы, железнодорожные и автобусные станции, метрополитены, морские торговые, рыбные, специализированные и речные порты, портовые средства, судоходные гидротехнические сооружения, аэродромы, аэропорты, объекты систем связи, навигации и управления движением транспортных средств, а также иные обеспечивающие функционирование транспортного комплекса здания, сооружения, устройства и оборудование;

оценка уязвимости объектов транспортной инфраструктуры и транспортных средств - определение степени защищенности объектов транспортной инфраструктуры и транспортных средств от угроз совершения актов незаконного вмешательства;

перевозчик - юридическое лицо или индивидуальный предприниматель, принявшие на себя по договору перевозки транспортом общего пользования обязанность доставить пассажира, вверенный им отправителем груз, багаж, грузобагаж из пункта отправления в пункт назначения, а также выдать груз, багаж, грузобагаж управомоченному на его получение лицу (получателю);

специализированные организации в области обеспечения транспортной безопасности - юридические лица, аккредитованные компетентными органами в области обеспечения транспортной безопасности в порядке, устанавливаемом Правительством Российской Федерации, для проведения оценки уязвимости объектов транспортной инфраструктуры и транспортных средств;

субъекты транспортной инфраструктуры - юридические и физические лица, являющиеся собственниками объектов транспортной инфраструктуры и транспортных средств или использующие их на ином законном основании;

транспортная безопасность - состояние защищенности объектов транспортной инфраструктуры и транспортных средств от актов незаконного вмешательства; 11 транспортные средства - воздушные суда, суда, используемые в целях торгового мореплавания или судоходства, железнодорожный подвижной состав, подвижной состав автомобильного и электрического городского наземного пассажирского транспорта в значениях, устанавливаемых транспортными кодексами и уставами;

транспортный комплекс - объекты и субъекты транспортной инфраструктуры, транспортные средства;

уровень безопасности - степень защищенности транспортного комплекса, соответствующая степени угрозы совершения акта незаконного вмешательства.

Цели и задачи обеспечения транспортной безопасности.

Целями обеспечения транспортной безопасности являются устойчивое и безопасное функционирование транспортного комплекса, защита интересов личности, общества и государства в сфере транспортного комплекса от актов незаконного вмешательства.

Основными задачами обеспечения транспортной безопасности являются:

нормативное правовое регулирование в области обеспечения транспортной безопасности;

определение угроз совершения актов незаконного вмешательства;

оценка уязвимости объектов транспортной инфраструктуры и транспортных средств;

категорирование объектов транспортной инфраструктуры и транспортных средств;

разработка и реализация требований по обеспечению транспортной безопасности;

разработка и реализация мер по обеспечению транспортной безопасности;

подготовка специалистов в области обеспечения транспортной безопасности;

осуществление контроля и надзора в области обеспечения транспортной безопасности;

информационное, материально-техническое и научно-техническое обеспечение транспортной безопасности.

Принципы обеспечения транспортной безопасности.

Основными принципами обеспечения транспортной безопасности являются:

законность;

соблюдение баланса интересов личности, общества и государства;

взаимная ответственность личности, общества и государства в области обеспечения транспортной безопасности;

непрерывность;

интеграция в международные системы безопасности;

взаимодействие субъектов транспортной инфраструктуры, органов государственной власти и органов местного самоуправления.

Обеспечение транспортной безопасности.

Обеспечение транспортной безопасности объектов транспортной инфраструктуры и транспортных средств возлагается на субъекты транспортной инфраструктуры, если иное не установлено законодательством Российской Федерации.

Объекты транспортной инфраструктуры и транспортные средства, обеспечение транспортной безопасности которых осуществляется исключительно федеральными органами исполнительной власти, определяются федеральными законами, нормативными правовыми актами Правительства Российской Федерации.

Государственный контроль и надзор в области обеспечения транспортной безопасности осуществляются уполномоченными федеральными органами исполнительной власти в соответствии с законодательством Российской Федерации.

Оценка уязвимости объектов транспортной инфраструктуры и транспортных средств от актов незаконного вмешательства.

Порядок проведения оценки уязвимости объектов транспортной инфраструктуры и транспортных средств устанавливается федеральным органом исполнительной власти, осуществляющим функции по выработке государственной политики и нормативно-правовому регулированию в сфере транспорта, по согласованию с федеральным органом исполнительной власти в области обеспечения безопасности Российской Федерации и федеральным органом исполнительной власти, осуществляющим функции по выработке государственной политики и нормативно-правовому регулированию в сфере внутренних дел.

Оценка уязвимости объектов транспортной инфраструктуры и транспортных средств проводится специализированными организациями в области обеспечения транспортной безопасности, организациями и подразделениями федерального органа исполнительной власти в области обеспечения безопасности Российской Федерации и федерального органа исполнительной власти, осуществляющего функции по выработке государственной политики и нормативно-правовому регулированию в сфере внутренних дел, с учетом требований по обеспечению транспортной безопасности на основе публичного договора по тарифам, устанавливаемым федеральным органом исполнительной власти, уполномоченным осуществлять правовое регулирование в сфере государственного регулирования цен (тарифов) на товары (услуги) и контроль за их применением.

Результаты проведенной оценки уязвимости объектов транспортной инфраструктуры и транспортных средств утверждаются компетентными органами в области обеспечения транспортной безопасности.

Сведения о результатах проведенной оценки уязвимости объектов транспортной инфраструктуры и транспортных средств являются информацией ограниченного доступа. Сведения о результатах проведенной оценки уязвимости объектов транспортной инфраструктуры и транспортных средств, указанных в части 2 статьи 4 настоящего Федерального закона, являются сведениями, составляющими государственную тайну.

Категорирование объектов транспортной инфраструктуры и транспортных средств.

Количество категорий и критерии категорирования объектов транспортной инфраструктуры и транспортных средств устанавливаются в порядке, определяемом федеральным органом исполнительной власти, осуществляющим функции по выработке государственной политики и нормативно-правовому регулированию в сфере транспорта, по согласованию с федеральным органом исполнительной власти в области обеспечения безопасности Российской Федерации, федеральным органом исполнительной власти, осуществляющим функции по выработке государственной политики и нормативно-правовому регулированию в сфере внутренних дел, и федеральным органом исполнительной власти, осуществляющим функции по выработке государственной политики и нормативно-правовому регулированию в сфере экономического развития.

Категорирование объектов транспортной инфраструктуры и транспортных средств осуществляется компетентными органами в области обеспечения транспортной безопасности.

Категорированные объекты включаются в реестр объектов транспортной инфраструктуры и транспортных средств, ведение которого осуществляют компетентные органы в области обеспечения транспортной безопасности в порядке, устанавливаемом федеральным органом исполнительной власти, осуществляющим функции по выработке государственной политики и нормативно-правовому регулированию в сфере транспорта.

Уровни безопасности объектов транспортной инфраструктуры и транспортных средств.

В целях принятия мер по обеспечению транспортной безопасности устанавливаются различные уровни безопасности в транспортном комплексе.

Перечень уровней безопасности и порядок их объявления при изменении степени угрозы совершения акта незаконного вмешательства в деятельность транспортного комплекса устанавливаются Правительством Российской Федерации.

Требования по обеспечению транспортной безопасности.

Требования по обеспечению транспортной безопасности, учитывающие уровни безопасности, предусмотренные статьей 7 настоящего Федерального закона, для различных категорий объектов транспортной инфраструктуры и транспортных средств устанавливаются федеральным органом исполнительной власти, осуществляющим функции по выработке государственной политики и нормативно-правовому регулированию в сфере транспорта, по согласованию с федеральным органом исполнительной власти в области обеспечения безопасности Российской Федерации, федеральным органом исполнительной власти, осуществляющим функции по выработке государственной политики и нормативно-правовому регулированию в сфере внутренних дел, и федеральным органом исполнительной власти, осуществляющим функции по выработке государственной политики и нормативно-правовому регулированию в сфере экономического развития. Указанные требования являются обязательными для исполнения всеми субъектами транспортной инфраструктуры.

Планирование и реализация мер по обеспечению транспортной безопасности объектов транспортной инфраструктуры и транспортных средств.

На основании результатов проведенной оценки уязвимости объектов транспортной инфраструктуры и транспортных средств субъекты транспортной инфраструктуры разрабатывают планы обеспечения транспортной безопасности объектов транспортной инфраструктуры и транспортных средств. Указанные планы предусматривают систему мер по обеспечению транспортной безопасности. Порядок разработки указанных планов устанавливается федеральным органом исполнительной власти, осуществляющим функции по выработке государственной политики и нормативно-правовому регулированию в сфере транспорта, по согласованию с федеральным органом исполнительной власти в области обеспечения безопасности Российской Федерации и федеральным органом исполнительной власти, осуществляющим функции по выработке государственной политики и нормативно-правовому регулированию в сфере внутренних дел.

Планы обеспечения транспортной безопасности объектов транспортной инфраструктуры и транспортных средств утверждаются компетентными органами в области обеспечения транспортной безопасности.

Сведения, содержащиеся в планах обеспечения транспортной безопасности объектов транспортной инфраструктуры и транспортных средств, являются информацией ограниченного доступа. Сведения, содержащиеся в планах обеспечения транспортной безопасности объектов транспортной инфраструктуры и транспортных средств, указанных в части 2 статьи 4 настоящего Федерального закона, являются сведениями, составляющими государственную тайну.

Реализация планов обеспечения транспортной безопасности объектов транспортной инфраструктуры и транспортных средств осуществляется субъектами транспортной инфраструктуры, а в случаях, предусмотренных законодательством Российской Федерации, субъектами транспортной инфраструктуры совместно с органами государственной власти или органами местного самоуправления либо исключительно органами государственной власти.

Ограничения при приеме на работу, непосредственно связанную с обеспечением транспортной безопасности.

На работу, непосредственно связанную с обеспечением транспортной безопасности, не принимаются лица:

имеющие непогашенную или неснятую судимость за совершение умышленного преступления;

состоящие на учете в учреждениях органов здравоохранения по поводу психического заболевания, алкоголизма или наркомании;

досрочно прекратившие полномочия по государственной должности или уволенные с государственной службы, в том числе из правоохранительных органов, органов прокуратуры или судебных органов, по основаниям, которые в соответствии с законодательством Российской Федерации связаны с совершением дисциплинарного проступка, грубым или систематическим нарушением дисциплины, совершением проступка, порочащего честь государственного служащего, утратой доверия к нему, если после такого досрочного прекращения полномочий или такого увольнения прошло менее чем три года;

в отношении которых по результатам проверки, проведенной в соответствии с Законом Российской Федерации от 18 апреля 1991 года N 1026-1 "О милиции", имеется заключение органов внутренних дел о невозможности допуска этих лиц к осуществлению деятельности, связанной с объектами, представляющими повышенную опасность для жизни или здоровья человека, а также для окружающей среды.

Информационное обеспечение в области транспортной безопасности.

В целях осуществления мер по обеспечению транспортной безопасности федеральным органом исполнительной власти, осуществляющим функции по выработке государственной политики и нормативно-правовому регулированию в сфере информационных технологий и связи, создается единая государственная информационная система обеспечения транспортной безопасности, являющаяся собственностью Российской Федерации.

Информационная система, указанная в части 1 настоящей статьи, состоит в том числе из автоматизированных централизованных баз персональных данных о пассажирах. Такие базы формируются при осуществлении следующих видов перевозок:

внутренние и международные воздушные перевозки;

железнодорожные перевозки в дальнем следовании;

международные перевозки морским, внутренним водным и автомобильным транспортом;

перевозки железнодорожным, морским, внутренним водным и автомобильным транспортом по отдельным маршрутам, определенным уполномоченным Правительством Российской Федерации федеральным органом исполнительной власти по согласованию с федеральным органом исполнительной власти в области обеспечения безопасности Российской Федерации и федеральным органом исполнительной власти, осуществляющим функции по выработке государственной политики и нормативно-правовому регулированию в сфере внутренних дел.

Автоматизированные централизованные базы персональных данных о пассажирах формируются на основании информации, предоставленной:

субъектами транспортной инфраструктуры и перевозчиками;

федеральными органами исполнительной власти;

иностранными государствами и организациями в рамках международного сотрудничества по вопросам обеспечения транспортной безопасности.

Информационные ресурсы единой государственной информационной системы обеспечения транспортной безопасности являются информацией ограниченного доступа.

При оформлении проездных документов (билетов) передаче в автоматизированные централизованные базы персональных данных о пассажирах подлежат следующие данные:

фамилия, имя, отчество;

дата и место рождения;

вид и номер документа, удостоверяющего личность, по которому приобретается проездной документ (билет);

пункт отправления, пункт назначения, вид маршрута следования (беспересадочный, транзитный);

дата поездки.

Порядок формирования и ведения автоматизированных централизованных баз персональных данных о пассажирах, а также предоставления содержащихся в них данных устанавливается уполномоченным Правительством Российской Федерации федеральным органом исполнительной власти.

(в ред. Федерального закона от 23.07.2008 N 160-ФЗ)

Субъект транспортной инфраструктуры или перевозчик иностранного государства, являющиеся собственниками транспортного средства, которое выполняет международные перевозки пассажиров в Российскую Федерацию, из Российской Федерации и (или) через территорию Российской Федерации, либо использующие его на иных законных основаниях, обеспечивают передачу данных, содержащихся в проездных документах (билетах), в автоматизированные централизованные базы персональных данных о пассажирах в соответствии с Федеральным законом от 27 июля 2006 года N 152-ФЗ "О персональных данных", настоящим Федеральным законом, если международными договорами Российской Федерации не установлено иное.

Контроль за соблюдением порядка передачи сведений, предусмотренных настоящей статьей, в автоматизированные централизованные базы персональных данных о пассажирах осуществляется федеральным органом исполнительной власти, осуществляющим функции по контролю и надзору в сфере транспорта.

Права и обязанности субъектов транспортной инфраструктуры и перевозчиков в области обеспечения транспортной безопасности.

Субъекты транспортной инфраструктуры и перевозчики имеют право:

в установленном порядке получать от уполномоченных федеральных органов исполнительной власти информацию по вопросам обеспечения транспортной безопасности;

вносить в федеральный орган исполнительной власти, осуществляющий функции по выработке государственной политики и нормативно-правовому регулированию в сфере транспорта, федеральный орган исполнительной власти в области обеспечения безопасности Российской Федерации и федеральный орган исполнительной власти, осуществляющий функции по выработке государственной политики и нормативно-правовому регулированию в сфере внутренних дел, предложения по обеспечению транспортной безопасности.

Субъекты транспортной инфраструктуры и перевозчики обязаны:

незамедлительно информировать в порядке, установленном федеральным органом исполнительной власти, осуществляющим функции по выработке государственной политики и нормативно-правовому регулированию в сфере транспорта, об угрозах совершения и о совершении актов незаконного вмешательства на объектах транспортной инфраструктуры и транспортных средствах;

выполнять предписания, постановления должностных лиц уполномоченных федеральных органов исполнительной власти об устранении нарушений требований по обеспечению транспортной безопасности в соответствии со статьей 8 настоящего Федерального закона;

оказывать содействие в выявлении, предупреждении и пресечении актов незаконного вмешательства, а также в ликвидации их последствий, установлении причин и условий их совершения.

Субъекты транспортной инфраструктуры и перевозчики несут ответственность за неисполнение требований по обеспечению транспортной безопасности в соответствии с законодательством Российской Федерации.

Вступление в силу настоящего Федерального закона.

Настоящий Федеральный закон вступает в силу по истечении ста восьмидесяти дней после дня его официального опубликования.

Заключение

В данном курсовом проекте по теме: «Технология ремонта вакуумного быстродействующего выключателя ВБО-25-20/630 УХЛ1» мною разработана технология ремонта в объеме ТР-3.

В данном курсовом были применены современные методы диагностики и ремонта, а также технологические операции ремонта, которые позволяют эффективно использовать современное технологическое оборудование и приспособления при ремонте, разработаны технологические операции по организации ремонта и размещению оборудования в отделении ВБО-25-20/630УХЛ1. Разработаны технологические нормы ремонта с внесением в них последовательностей операций с приложением сборочных единиц и каталожных номеров деталей.

Также разработаны технологические документы: маршрутная карта ремонта, карта эскизов, технологическая карта очистки деталей, дифектационная ведомость, технологическая карта ремонта, карта операционного технического контроля после ремонта.

Отражены вопросы транспортной безопасности, техники безопасности и охрана труда.

Список используемой литературы

1.Выключатель вакуумный однополюсной. Руководство по эксплуатации ИБЦЖ.674153.001РЭ. 2009-50 с.

Выключатель вакуумный однополюсной. Программа и методика приемо-сдаточных испытаний ИБЦЖ.674153.001ПМ. 2009-20 с.

Выключатель вакуумный однополюсной. Руководство ВБО по эксплуатации ИБЦЖ.674153.001РЭ.2009-56 с.

Федеральный закон от 09_02_2007 N 16-ФЗ.

Похожие работы на - Технология ремонта вакуумного быстродействующего выключателя ВБО-25-20/630 УХЛ1

 

Не нашли материал для своей работы?
Поможем написать уникальную работу
Без плагиата!
Без нейросетей!