Цифровой концентратор

  • Вид работы:
    Дипломная (ВКР)
  • Предмет:
    Информатика, ВТ, телекоммуникации
  • Язык:
    Русский
    ,
    Формат файла:
    MS Word
    428,1 Кб
  • Опубликовано:
    2014-08-29
Вы можете узнать стоимость помощи в написании студенческой работы.
Помощь в написании работы, которую точно примут!

Цифровой концентратор

Введение


В хозяйственной, технической, научной, политической и культурной жизни общества возрастают потоки различных видов информации, которые необходимо передавать на большие расстояния с большой достоверностью. Важную роль в решении этих вопросов играет качественная электрическая связь. Преимущества цифровых сетей связи настолько очевидны, что замена аналоговых сетей цифровыми и создание интегральной цифровой сети осуществляется практически во всех странах мира.

Сегодня в Казахстане, наряду с повсеместной цифровизацией сети связи, идет активное внедрение новых технологий и нового оборудования, среди которых особое место занимают цифровые концентраторы.

Введение концентраторов позволяет:

·   достичь значительного сокращения длины абонентских линий;

·   сократить требуемое число соединительных линий, связывающих концентраторы с коммутационной станцией;

·   сократить общую длину распределительного кабеля на сети;

·   повысить использование АЦП/ЦАП оборудования и каналов связи.

Современные методы имитационного моделирования беспечивают возможность испытания, оценки и проведения экспериментов с предполагаемой системой без каких-либо непосредственных воздействий на нее. Они позволяют провести машинный эксперимент с моделью еще не созданной системы, оценить показатели ее надежности, измерить показатели качества функционирования реальной системы, разработать рекомендации по ее модернизации и т.д.

Настоящая дипломная работа посвящёна имитационному моделированию, разработке алгоритма и программы имитации работы цифрового концентратора в сети ISDN.

1. Анализ аппаратуры концентрации цифровых каналов

 

.1 Основные функции концентратора


Одним из способов повышения использования канала является применение концентраторов [1]. Концентратор - устройство, принимающее данные от нескольких абонентов и передающее их к ЭВМ или на узел по одному каналу с высоким быстродействием или производящее распределение полученной по этому каналу информации по абонентским линиям [2]. В отличие от устройств простого уплотнения (мультиплексоров), концентратор обеспечивает накопление и хранение информации, а иногда и некоторую ее обработку, например применение более сложных кодов для повышения помехозащищенности, изменение формата и т.п. Концентраторы стоят дороже систем уплотнения, но поскольку они позволяют лучше использовать каналы, то общая стоимость сети может быть сокращена.

При использовании мультиплексоров, каналы с низким быстродействием объединяются в один канал с высоким быстродействием. Когда канал с низким быстродействием не занят, по каналу с высоким быстродействием передаются сигналы пробела для поддержания синхронизации. Это соответствует тем периодам, когда пользователи, сидящие у своих пультов, не передают и не принимают данные. Пользователь, как правило, затрачивает значительную часть времени на обдумывание и подготовку своего следующего сообщения или, вообще, занят какой-либо другой деятельностью. Во многих случаях канал свободен большую часть времени. Поэтому было бы лучше, если бы мы могли занимать быстродействующий канал только в том случае, когда имеется что-либо для передачи. Рассмотрим некоторые возможности, которые дает концентратор. Во-первых, на абонентской стороне концентратора можно иметь быстродействующие устройства (например, экранные пульты), а не только абонентские пульты с низким быстродействием. Сообщения, передаваемые от таких оконечных устройств для ЭВМ, будут храниться, задерживаться в концентраторе до тех пор, пока не освободится канал.

Во-вторых, по быстродействующему каналу передается совокупность стартстопных сигналов. Это может оказаться неэффективным. Так, если оператор делает паузу в момент между нажатием клавиш на абонентском пульте, канал будет занят на протяжении всей этой паузы. Поэтому лучше иметь в концентраторе соответствующие буферные устройства, а по быстродействующему каналу использовать более эффективную синхронную передачу. В-третьих, по быстродействующему каналу можно посылать условные символы, которые сокращали бы передачу. Если концентратор сделать программно управляемым, то многие элементы информации, связанные, например, с ведением диалога человека с машиной, можно разместить в концентраторе, не передавая их вычислительной машине.

Функции удаленного концентратора можно подразделить на две категории: функции, зависящие от характера информации (генерирование ответов абонентскими пультами, обработка разговорных сообщений при диалоге человека с машиной, проверка контрольных сумм и т.д.), и функции, не зависящие от информации. Последняя категория функций, связанных исключительно с организацией (в виде определенных структур) передаваемых по каналам бит информации, может быть реализована с помощью логики устройства и использована для самых различных случаев.

Мы познакомимся с устройствами, работа которых не зависит от вида информации и от содержания данных в передаваемых сообщениях. Для того чтобы обеспечить выполнение функций, зависящих от характера информации, необходим концентратор с хранимой в памяти специальной программой, или могут быть применены специализированные устройства, приобретаемые дополнительно.

Укажем основные функции концентратора.

1.1.1 Применение буферной памяти

Различные сообщения, поступающие в концентратор из канала с низким быстродействием, должны храниться таким образом, чтобы с ними можно было производить необходимые манипуляции. Даже если информация не обрабатывается, то требуется ее запоминание в буферной памяти для каждой входящей линии, пока не поступит сообщение или, по меньшей мере, блок данных, включающий большое количество символов. Символы записываются в память концентратора и хранятся там до тех пор, пока не будет скомпоновано сообщение, которое для передачи считывается из памяти.

1.1.2 Распределение памяти и управление очередями

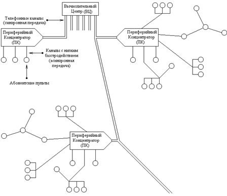
Распределение памяти может превратиться в сложную проблему. В некоторый момент времени сообщения могут передаваться одновременно большим количеством абонентских пультов; в другой момент таких абонентских пультов может быть немного. Передаваемые сообщения могут значительно различаться по длине. Когда это получается случайно, то необходим некоторый порядок динамического распределения памяти и нельзя выйти из положения путем выделения фиксированной области памяти каждому абонентскому пульту. Очередь из сообщений возникает и тогда, когда они приходят по быстродействующему каналу связи. Образование подобных очередей особенно существенно, если при передаче имеют место случайные ошибки и необходимы запросы и повторные передачи в случае использования групповой (многопунктовой) быстродействующей линии, обслуживающей несколько концентраторов (рис. 1.1).

Рис. 1.1 Использование групповой (многопунктовой) быстродействующей линии, обслуживающей несколько концентраторов


Периферийные концентраторы ПК подсоединены к групповой телефонной линии и дистанционно управляются из вычислительного центра ВЦ. Сообщения, приходящие от абонентских пультов, ставятся в очередь до тех пор, пока концентратору не будет предоставлено право не передачу. Тогда он передает всю имеющуюся информацию. И наоборот, он периодически принимает пакет сообщений, которые должны каким-то образом распределяться и поступать в линии с низким быстродействием. Необходимо иметь такое запоминающее устройство, чтобы его структура позволяла обрабатывать меняющееся количество посылаемых и принимаемых элементов информации. Хранящиеся в очереди элементы информации должны организовываться в виде цепочки, чтобы имелась возможность передавать их как поток данных, когда разрешена передача. Механизм распределения памяти для поступающих сообщений должен предусматривать различные средства, чтобы распознавать, какая часть памяти свободна и может быть предоставлена для того или другого сообщения. Когда сообщение передано и известно, что оно принято правильно, соответствующие части занимаемой им памяти будут возвращены в список нераспределенной и свободной памяти.

1.1.3 Прием сообщений по каналам связи с низким быстродействием

Концентратор имеет цепи, обеспечивающие непрерывный прием по каждому из каналов с низким быстродействием и хранением принятых сообщений (символов). При этом необходимо обеспечить возможность обработки входных сигналов от всех абонентских пультов одновременно. Некоторые концентраторы могут осуществлять одновременный прием данных и обработку от различных типов абонентских пультов работающих с различными кодами и разным быстродействием. Это усложняет логику приема, поскольку концентратор должен знать особенности работы каждого канала.

Обычно концентратор просматривает каналы с быстродействием, определяемым электронными компонентами, обеспечивая последовательную выборку. Если схема характеризуется временем цикла 20 мкс и может обрабатывать информацию, передаваемую по 50 линиям, то каждый канал будет просматриваться один раз в миллисекунду. Если при этом скорость передачи информации 150 Бод, то длительность одного бита составляет 6,67 мс, а, следовательно, выборка будет производиться шесть или семь раз за бит. Если значения, полученные при разных выборках одного бита отличаются, то оценка производится по большинству. Так как в большинстве случаев длительность шумовой помехи менее 3 мс, то такой прием позволяет уменьшить влияние помех. Это же обеспечивает высокую степень защиты от искажений, связанных с нарушением синхронизации.

1.1.4 Преобразование кодов

Код, используемый центральной ЭВМ, часто отличается от тех кодов, которые применяются при передаче сообщений от абонентских пультов. В некоторых случаях различны коды при передачах по каналам с высоким или низким быстродействием. Скажем, в каналах с высоким быстродействием может использоваться код ASCII, но в абонентских пультах его не применяют. С другой стороны, концентратор, в интересах простоты, может не производить перекодирования.

Концентратор преобразовывает стартстопные символы, идущие по каналам с низким быстродействием, в символы для быстрой синхронной передачи. При этом исключаются стартовые и стоповые биты и (если они имеются) биты для проверки на четность. Когда телеграфный сигнал вводится в концентратор, необходимо чтобы была предусмотрена возможность распознавать телеграфную последовательность символов, означающих "конец сообщения". Это может быть трех или четырех символьная последовательность, например NNNN. При синхронной передаче обычно предусматривают собственный индикатор окончания сообщения. Другие телеграфные последовательности могут быть также преобразованы или исключены, например "начало сообщения" ZCZC. Обратное преобразование производится на выходе.

1.1.5 Компоновка сообщений для быстрой передачи

Иногда после кодового преобразования принимаемые символы хранятся в памяти, из которой они позднее будут переданы в линию с высоким быстродействием. Вычислительная машина должна знать, с какого абонентского пульта поступает сообщение, поэтому адрес абонентского пульта следует хранить, разместив его перед символами данных. Если сообщение длинное и разделяется на части из-за трудностей, связанных с распределением памяти, необходимо, чтобы последующий символ показывал, каким является этот сегмент сообщения. Когда прием сообщения закончен, символ окончания сообщения будет храниться в памяти.

1.1.6 Передача сообщений по быстродействующему каналу

Сообщения передаются из памяти концентратора для ЭВМ в виде синхронных блоков; этот порядок сохраняется и в случае передач из любого другого буферного синхронного устройства. Концентратор посылает первым блок синхронизации или символ начала сообщения, а затем символ, задающий адрес концентратора (если в линии используется не один, а несколько концентраторов); после этого следует сообщение или блок сообщений, каждое из которых имеет собственную метку окончания сообщения. Если несколько сообщений посылается непрерывным потоком, то за ними должен последовать символ окончания передачи. В процессе передачи составляется символ проверки по всей длине или группа символов, которые добавляется в конец сообщения.

1.1.7 Контроль за ошибками

Символы, передаваемые по линиям с высоким быстродействием, далеко не всегда подвергаются проверке на четность. Передаваемое синхронно сообщение или блок сообщений обычно содержит блоки или символы для проверки ошибок по всей длине. Когда концентратор производит передачу, он составляет символ контроля ошибки или группу таких символов. Они ставятся в конец сообщения с последующей проверкой их вычислительной машиной. Обычно желательно иметь средства для повторения передач, если ошибка найдена, хотя в некоторых системах предусматривается просто сигнальная индикация на абонентском пульте, когда обнаруживается ошибка.

В линиях с низким быстродействием обычно применяют стартстопную передачу, так что единственно возможным видом контроля является в большинстве случаев проверка на четность посимвольно.

1.1.8 Вызов по быстродействующим каналам

Часто целесообразно иметь несколько концентраторов в быстродействующем канале, как показано на рис. 1.1. В этом случае функция вызова должна быть реализована в логике концентратора. Необходимо, чтобы концентратор мог распознавать собственный адрес в сообщениях, посланных по линии, и отвечать соответствующим образом на адресуемые ему вызовы и управляющие сигналы.

1.1.9 Вызов в каналах с низким быстродействием

В больших сетях может оказаться экономичным иметь в распоряжении групповые (многопунктные) линии на абонентской стороне концентратора. В некоторых пунктах с оборудованием, работающим в реальном времени или в режиме разделения времени, сосредоточено большое количество абонентских пультов. Концентраторы в этих местах размещаются таким образом, чтобы минимизировать стоимость линии с низким быстродействием.

Если к линии с концентратором и низким быстродействием подключено большое количество абонентских пультов, необходимо предусмотреть некоторый способ управления ими. Обычно они должны управляться с соблюдением некоторой дисциплины вызовов. Это означает, что теперь мы различаем два уровня вызовов - вызов концентраторов в быстродействующих линиях и вызов абонентских пультов в линиях с низким быстродействием. В случае линий с низким быстродействием вызов может производиться либо с главной ЭВМ, либо с концентратора. Если вызов делается вычислительной машиной, то идущие по быстродействующим линиям сообщения должны содержать введенные в них адреса линий с низким быстродействием. Это существенно увеличивает сложность управления линиями.

Можно использовать такой концентратор, который сам производил бы вызов. Однако это приводит к значительному усложнению логики в концентраторе. Необходимо, чтобы концентратор имел список адресов, а предусматриваемая логика позволяла вызывать абонентские пульты по этому списку в некоторой последовательности, запрашивать их о том, имеют ли они что-либо для передачи, и интерпретировать их ответы. Список адресов должен быть легко обновляемым, аналогично хранимой в памяти ЭВМ программе, поскольку подсоединяемые в каждом конкретном случае абонентские пульты могут непрерывно меняться. Нужно, чтобы концентратор мог "справляться" с ошибками в линии, правильно реагировал на связанные с абонентскими пультами неполадки, такие, как, скажем, отсутствие бумаги для печатающего устройства и возникновение неисправностей.

1.1.10 Требования к времени реакции

Концентратор может передавать сообщения по одному, а может послать все сообщения, которые он содержит, совместно. В некоторых устройствах так и делается. Если, например, концентратор должен передать 10 сообщений для ЭВМ, то для этого требуется 10 запросов и 20 ответных сообщений, чтобы установить синхронизацию. Если же все 10 сообщений передать в виде одного блока, то потребуется только один запрос и два ответа.

Однако при этом увеличивается время реакции, а в некоторых системах (например, таких как резервирование мест на самолеты) считается очень важным иметь малое время реакции. В контрактах на проектирование подобных систем прямо указывается, что в 90% случаев время реакции не должно превышать трех секунд; в некоторых же случаях требуемое среднее время реакции составляет менее двух секунд (здесь время реакции оценивается тем временем, которое проходит от момента окончания передачи оператором абонентского пульта до момента поступления первого символа ответа от ЭВМ, когда он печатается или высвечивается на экране абонентского пульта).

В некоторых концентраторах идут на компромисс при посылке нескольких сообщений в виде одного блока, например в тех случаях, когда блок превышает заданный размер. В ряде случаев вычислительная машина может изменять объем данных, которые концентратор передает в тот или иной момент времени.

Так же как и для других аспектов проектирования сетей связи, при рассмотрении требований к времени реакции возможно принятие компромиссных решений с учетом объемов передаваемой информации и обеспечиваемым временем реакции.

1.1.11 Контроль за ошибками

Символы для проверки цикла формируются при передаче, а контроль производится в линиях с низким быстродействием. Любое сообщение, в котором найдена ошибка, не передается повторно автоматически. Вместо этого оператору абонентского пульта выдается предупреждение об ошибке, и он повторяет запрос. Это случается не очень часто. Если средняя длина сообщения и соответствующий ответ составляют 50 символов и на каждом из четырех участков передачи (абонентский пульт - концентратор - ЭВМ - концентратор - абонентский пульт) искажается не более одного бита из 100 000, то менее чем один ответ из 100 будет содержать ошибку и потребуется новый запрос.

Во многих информационных системах такой подход представляется целесообразным. Однако в ряде систем, особенно в тех, которые связаны с обработкой финансовых операций или каких-либо числовых величин, требующих тщательного контроля, процедуры отыскания ошибок при передачах в линии заслуживают самого пристального внимания. Автоматическое повторение передачи данных, среди которых обнаружена ошибка, может уменьшить вероятность неправильной записи в файл при его обновлении.

1.1.12 Групповые линии с низким быстродействием

На рис. 1.2 показаны концентраторы с групповыми (многопунктными) линиями с низким быстродействием. При таком размещении большое количество абонентских пультов с низким быстродействием, разбросанных на значительной площади, могут подсоединяться к вычислительной машине с помощью одного обычного телефонного канала.

Пусть быстродействие абонентских пультов при запросе составляет 10 симв./с и среднее количество символов в сообщении для ЭВМ и ее ответе равно 50. Пусть оператор посылает одно такое сообщение, в среднем, каждые 10 с. Остальную часть времени составляет время "на обдумывание" или время, когда оператор обсуждает какое-то дело с клиентом. Предположим, что каждый символ является восьмибитовым; тогда будет передано, очевидно, 400 бит на абонентский пульт, а если учесть еще биты синхронизации, адресов, символов окончания и контроля за ошибками - то до 440. Отсюда видно, что за одну секунду будет передано, в среднем, 4,4 бита на один пульт. Пусть быстродействие канала составляет 2400 бит/с. Чтобы не допускать образования очередей, загрузка канала не должна превышать 60%. Поэтому, к одному такому телефонному каналу мы можем подсоединить (2400Х0,6)/4,4 = 327 абонентских пультов. Излишне говорить, что это очень существенно уменьшает стоимость линий в географически разбросанной системе. Подобная конструкция сети предлагает схему, которая иначе оказалась бы чрезмерно дорогостоящей.

Теперь рассмотрим возможность использования низкоскоростного канала. Время передачи символов по такому каналу составит 50/10 = 5 с. Однако часть этого времени расходуется на более медленный ввод данных человеком, а так как абонентский пульт не имеет буфера, то канал будет подсоединяться на все время, которое требуется оператору, чтобы отпечатать

Рис. 1.2 Концентраторы с групповыми (многопунктными) линиями с низким быстродействием


на клавиатуре сообщение. Пусть длина этого сообщения от 15 до 50 символов (средняя длина, вообще-то, близка к нижнему пределу, поскольку поступающие от оператора входные сообщения большей частью очень короткие). Если оператор печатает на клавиатуре с несколько замедленной скоростью (порядка двух символов в секунду), то полное время передачи сообщения по каналу с низким быстродействием составит величину, равную (15/2 + 35/10) = 11 с. Считая, что канал с низким быстродействием не может быть загружен более чем на 60%, получим (100Х0,6)/11 = 5,4, т.е. в такой канал можно включить только пять абонентских пультов.

Если абонентские пульты используются для обработки более длинных сообщение, то общее их количество, которое можно включить в один канал (без буферов), соответственно уменьшается. В некоторых системах оказывается возможным иметь только один или два абонентских пульта в линии; в противном случае наблюдается резкое возрастание времени реакции.

Групповая работа необходима, так как значительную часть дня абонентские пульты не используются. Различные лица имеют в своем учреждении абонентские пульты, хотя пользуются ими изредка. Несколько таких пультов могут быть подсоединены к частному арендуемому каналу. В этих случаях стоимость всей системы может оказаться меньше, чем стоимость использования общественных линий связи с телефонным набором. Но это имеет смысл только при условии, что пользователь не передает очень длинных непрерывных сообщений. В противном случае время реакции при передаче сообщений другими пользователями существенно увеличивается. Такому пользователю было бы целесообразно разделить свое сообщение и передавать его частями. Другим средством уменьшения времени реакции в групповой линии может служить применение абонентских пультов с буферами.

1.1.13 Комплексное управление линией

Как упоминалось ранее при рассмотрении работы нескольких абонентских пультов в одной линии с низким быстродействием и концентратором, их вызов может производиться либо из ЭВМ, либо из концентратора. Если вызов идет с концентратора, то порядок использования быстродействующей линии не должен быть намного сложней, чем в выше рассмотренном случае. Необходимо предусмотреть один дополнительный адресный символ, указывающий линию с низким быстродействием, к которой подсоединяется абонентский пульт. Кроме того, имеются дополнительные сообщения, связанные с выполнением таких функций, как изменение списка адресов. Однако существенного различия в управлении быстродействующими линиями и линиями с низкой скоростью нет.

Тем не менее, на практике в некоторых системах концентратор не производит вызовы. В этом случае информация, касающаяся управления линией с низким быстродействием, вводится в сообщения, передаваемые по быстродействующим линиям. Это может привести к определенным осложнениям, особенно в тех случаях, когда посылается утвердительный или отрицательный ответ в связи с возникновением ошибки и производится автоматическая повторная передача сообщений.

1.1.14 Количество управляющих символов

Процедура управления линией стала гораздо более сложной. Но это не имеет никакого значения, если достигается усложнение программы управления линиями связи, но почти все наши усилия по организации более эффективных вычислительных систем связаны с созданием более сложных средств программного обеспечения, а это не такая уж большая дополнительная работа. Вместе с тем это может вызвать чрезмерное увеличение количества управляющих символов, передаваемых по быстродействующим линиям, что может помешать достижению наших целей.

Во многих системах ответы, который оператор абонентского пульта направляет для ЭВМ, короткие. Иногда вычислительная машина поясняет, что ей "нужно" от оператора или каким образом оператор может продолжить свои расспросы, и тогда оператор делает краткие передачи материала несколько раз. Надобность в подобного рода действиях становится все более ощутимой, поскольку абонентские пульты используются все чаще и чаще для нерегулярных работ, когда оператор манипулирует с пультом самое непродолжительное время, но заинтересован в быстром получении сведений. В таких случаях вычислительная машина "проводит" его шаг за шагом через все необходимые процедуры.

Если это так, то количество управляющих символов, передаваемых по быстродействующей линии, может намного превышать количество символов, поступающих от оператора абонентского пульта. Увеличение логических возможностей концентратора позволяет уменьшить информацию, передаваемую по быстродействующей линии. Например, можно вызывать пульты, включенные в линию с низким быстродействием, из концентратора, а не из ЭВМ. Выполнение этой функции требует достаточно сложной логики, которая в большинстве случаев может быть реализована с помощью микропрограммы, хранимой в памяти.

Выполнение функции вызова независимо от ЭВМ называют "автовызовом". Автовызов усложняется еще больше, если к устройству подключены абонентские пульты разного типа и с разными способами вызова. Часто, например, телеграфное оборудование берется вперемежку с другими более специализированными пультами. Все они могут быть вызваны с помощью одного и того же устройства автовызова.

1.2 Современная аппаратура концентрации цифровых каналов


Появление и сравнительно быстрое внедрение систем передачи плезиохронной и, особенно, синхронной цифровых иерархий позволили резко увеличить масштабы цифровой транспортной сети [3]. Несмотря на образовавшееся благодаря этому изобилие цифровых каналов и трактов, продолжаются исследования, направленные на повышение пропускной способности цифровых каналов. Тому есть ряд причин, основными из которых являются ограниченные возможности передачи на отдельных направлениях (в частности, в случае использования спутниковых систем связи) и вполне объяснимое стремление операторов повысить доходность арендованных цифровых трактов.

Значительная экономия средств и сетевых ресурсов достигаются при использовании оборудования DCME (Digital Circuit Multiplication Equipment - аппаратура умножения числа цифровых каналов), что в русской редакции рекомендаций МСЭ-Т переводится как "Аппаратура концентрации цифровых каналов". Соответственно, системы связи, оснащенные двумя или более терминалами DCME, обозначаются как DCMS (Digital Circuit Multiplication System).

Указанные системы DCMS повышают эффективность передачи всех видов сигналов, передаваемых по соединительным линиям между станциями телефонной сети: речевых и факсимильных сигналов, а также данных, передаваемых в полосе частот канала тональной частоты 300...3400 Гц (Voice Band Data - VBD).

Сигналы телефонной сети, поступающие на вход аппаратуры DCME по многим каналам (соединительным линиям - trunks) сжимаются и передаются к противоположной станции по тракту (так называемому, "несущему каналу" - bearer), скорость передачи в котором существенно меньше суммарной скорости передачи по соединительным линиям. На приемной стороне осуществляется восстановление исходных сигналов.

Концентрация каналов достигается благодаря комплексному использованию разнообразных приемов:

·   распознавание вида передаваемой информации (речь, факс или данные) и раздельное, оптимальное для каждого вида преобразование сигнала;

·   исключение паузы речевых сигналов - операция, называемая цифровой интерполяцией речи (Digital Speech Interpolation - DSI);

·   низкоскоростное кодирование речевых сигналов (Speech Low Rate Encoding - S-LRE), в результате чего скорость передачи понижается с 64 кбит/с (в случае применения стандартных ИКМ-кодеков) до 32, 16, 8 кбит/с и даже ниже;

·   введение режима переменной скорости передачи (Variable Bit Rate - VBR);

·   применение метода модуляции-демодуляции факсимильных сообщений и др.

1.3 Концентраторы UltraNet

Система сети UltraNet состоит из семейства высокоскоростных программ для объединенных сетей и аппаратных изделий, способных обеспечить совокупную пропускную способность в один гигабайт в секунду. UltraNet производится и реализуется на рынке компанией Ultra Network Technologies. UltraNet обычно используется для соединения высокоскоростных компьютерных систем, таких как суперкомпьютеры, минисуперкомпьютеры, универсальные вычислительные машины, устройства обслуживания и АРМ. UltraNet может быть сама соединена с другой сетью (например, Ethernet и Token Ring) через роутеры, которые выполняют функции межсетевого интерфейса.

Концентратор в UltraNet является центральной точкой связи для главных вычислительных машин сети UltraNet. Он содержит высокоскоростную внутреннюю параллельную шину (UltraBus), объединяющую все процессоры в пределах этого концентратора. UltraBus отвечает за коммутируемую информацию в сети UltraNet. Концентраторы UltraNet обеспечивают быстрое согласование, управление перегрузкой каналов связи и прямое подключение каналов.

1.4 Концентраторы Fast Ethernet


Технология Fast Ethernet является эволюционным развитием классической технологии Ethernet. Ее основными достоинствами являются:

·   увеличение пропускной способности сегментов сети до 100 Мб/c;

·   сохранение метода случайного доступа Ethernet;

·   сохранение звездообразной топологии сетей и поддержка традиционных сред передачи данных - витой пары и оптоволоконного кабеля.

Указанные свойства позволяют осуществлять постепенный переход от сетей 10Base-T - наиболее популярного на сегодняшний день варианта Ethernet - к скоростным сетям, сохраняющим значительную преемственность с хорошо знакомой технологией: Fast Ethernet не требует коренного переобучения персонала и замены оборудования во всех узлах сети. Официальный стандарт 100Base-T (802.3u) установил три различных спецификации для физического уровня (в терминах семиуровневой модели OSI) для поддержки следующих типов кабельных систем:

·   100Base-TX для двухпарного кабеля на неэкранированной витой паре UTP Category 5, или экранированной витой паре STP Type 1;

·   100Base-T4 для четырехпарного кабеля на неэкранированной витой паре UTP Category 3, 4 или 5;

·   100Base-FX для многомодового оптоволоконного кабеля.

Концентраторы SuperStack II Hub 100 компании 3Com реализуют идеи каскадируемых концентраторов, реализованные компанией 3Com впервые для концентраторов LinkBuilder FMS II, для технологии Fast Ethernet.

Семейство SuperStack II Hub 100 наследует все преимущества концентраторов LinkBuilder FMS II - объединение до 8 концентраторов в стек, общую шину для всех концентраторов, SNMP/RMON управление от одного модуля управления на стек. В семейство входят концентраторы SuperStack II Hub 100 TХ и SuperStack II Hub 100 T4, первый появившийся на рынке концентратор, поддерживающий технологию Fast Ethernet на 4 витых парах категории 3.

Управление всей системой SuperStack осуществляется с помощью интегрированной системы управления сетями Transcend компании 3Com, работающей в средах наиболее популярных открытых платформ - UNIX, Windows, NMS и OS/2.

Концентратор BayStack 100Base-T Hub компании Bay Networks имеет 12 портов 100Base-TX с разъемами RJ-45. Концентратор имеет два слота расширения. Первый слот расширения может использоваться для установки либо модуля управления с поддержкой SNMP/RMON управления, либо для установки дополнительного интерфейсного модуля с 12 портами 100Base-TX. Второй слот расширения предназначен для установки адаптера 100Base-FX с разъемом SC.

В стек можно объединять до 6 концентраторов 100Base-T Hub, что для управляемого стека дает 132 порта FastEthernet.

1.5 Концентраторы FDDI


Технология Fiber Distributed Data Interface - первая технология локальных сетей, которая использовала в качестве среды передачи данных оптоволоконный кабель.

Начальные версии различных составляющих частей стандарта FDDI были разработаны комитетом Х3Т9.5 в 1986 - 1988 годах, и тогда же появилось первое оборудование - сетевые адаптеры, концентраторы, мосты и маршрутизаторы, поддерживающие этот стандарт.

В настоящее время большинство сетевых технологий поддерживают оптоволоконные кабели в качестве одного из вариантов физического уровня, но FDDI остается наиболее отработанной высокоскоростной технологией, стандарты на которую прошли проверку временем и устоялись, так что оборудование различных производителей показывает хорошую степень совместимости.

Концентраторы FDDI выпускаются как в отдельных конструктивах с фиксированным количеством портов, так и в виде модулей для корпоративных концентраторов на основе шасси, таких как System 5000 компании Bay Networks или LANplex 6000 компании 3Com.

Концентратор FDDI 2914-04 компании Bay Networks. Модель 2914-04 - это концентратор FDDI, выполненный в отдельном корпусе и имеющий 14 портов. Все порты поддерживают многомодовый оптоволоконный кабель 50/125 или 62.5/125 мкм.

портов сконфигурированы как порты типа M для соединения со станциями с одиночным подключением, а два порта являются портами А и В для подключения концентратора к двойному кольцу. Порты А и В могут быть также сконфигурированы как М-порты, тогда концентратор может объединять до 14 станций типа SAS.

Концентратор имеет два МАС-узла - первичный и локальный. Локальный используется для поддержки процедуры плавного включения станций в кольцо, не требующей его реинициализации.

Модуль концентратора FDDI для коммутатора LANplex 6000 компании 3Com. Данный модуль устанавливается в любой слот шасси LANplex 6000. Модуль выпускается в двух исполнениях - на 6 портов для многомодового оптоволоконного кабеля, или на 12 портов неэкранированной витой пары категории 5. Каждый порт может быть сконфигурирован как порт М для поддержки станций SAS или как порт А или В для поддержки станций DAS.

Модуль поддерживает спецификацию SMT 7.3 управление станцией, а также позволяет управлять им по протоколу SNMP, так как в него встроен агент SNMP/SMT proxy.

1.6 Концентраторы 100VG-AnyLAN


В качестве альтернативы технологии Fast Ethernet, фирмы AT&T и HP выдвинули проект новой технологии со скоростью передачи данных 100 Мб/с - 100Base-VG. В этом проекте было предложено усовершенствовать метод доступа с учетом потребности мультимедийных приложений, при этом сохранить совместимость формата пакета с форматом пакета сетей 802.3. В сентябре 1993 года по инициативе фирм IBM и HP был образован комитет IEEE 802.12, который занялся стандартизацией новой технологии. Проект был расширен за счет поддержки в одной сети кадров не только формата Ethernet, но и формата Token Ring. В результате новая технология получила название 100VG-AnyLAN, то есть технология для любых сетей (Any LAN - любые сети), имея в виду, что в локальных сетях технологии Ethernet и Token Ring используются в подавляющем количестве узлов.

Летом 1995 года технология 100VG-AnyLAN получила статус стандарта IEEE 802.12.

В технологии 100VG-AnyLAN определены новый метод доступа Demand Priority и новая схема квартетного кодирования Quartet Coding, использующая избыточный код 5В/6В.

Метод доступа Demand Priority основан на передаче концентратору функций арбитра, решающего проблему доступа к разделяемой среде. Метод Demand Priority повышает коэффициент использования пропускной способности сети за счет введения простого, детерминированного метода разделения общей среды, использующего два уровня приоритетов: низкий - для обычных приложений и высокий - для мультимедийных.

Технология 100VG-AnyLAN имеет меньшую популярность среди производителей коммуникационного оборудования, чем конкурирующее предложение - технология Fast Ethernet. Компании, которые не поддерживают технологию 100VG-AnyLAN, объясняют это тем, что для большинства сегодняшних приложений и сетей достаточно возможностей технологии Fast Ethernet, которая не так заметно отличается от привычной большинству пользователей технологии Ethernet. В более далекой перспективе эти производители предлагают использовать для мультимедийных приложений технологию АТМ, а не 100VG-AnyLAN.

Тем не менее, число сторонников технологии 100VG-AnyLAN растет и насчитывает около 30 компаний. Среди них находятся не только копании Hewlett-Packard и IBM, но и такие лидеры как Cisco Systems, Cabletron, D-Link и другие. Все эти компании поддерживают обе конкурирующие технологии в своих продуктах, выпуская модули с портами как Fast Ethernet, так и 100VG-AnyLAN.

Концентратор 100VG Hub-15 компании Hewlett-Packard. Концентратор 100VG Hub-15 является наиболее широко применяемым устройством для построения сегментов в технологии 100VG-AnyLAN. Этот концентратор имеет 15 портов RJ-45 для непосредственного подключения рабочих станций 100VG с помощью кабеля на неэкранированной витой паре.

Концентратор реализует передачу кадров Ethernet между своими 15 портами на основе протокола Demand Priority, обеспечивая около 96% пропускной способности 100 Мб/с для передачи полезной информации. Для связи с концентратором верхнего уровня 100VG Hub-15 имеет специальный порт Uplink, с помощью которого концентраторы 100VG можно каскадировать.

Кроме этого, концентратор снабжен двумя портами (In и Out) для организации общей для стека шины управления.

По аналогии с 12/24/48-портовыми концентраторами НРAdvanceStack 10Base-T, 100VG Hub-15 обладает слотом расширения, который обеспечивает следующие возможности:

·   установку в дополнительный слот модуля, реализующего управление по протоколу SNMP;

·   реализацию функций HP EASE (Embedded Advanced Sampling Environment);

·   установку модулей мостов и маршрутизаторов.

Концентратор может поставляться с установленным в слот расширения модулем SNMP-управления или без него. Установленный в любой из 16 концентраторов 100VG стека модуль НР AdvanceStack 100VG SNMP/Bridge даст возможность управлять по протоколу SNMP всеми концентраторами стека.

Кроме того, модуль НР AdvanceStack 100VG SNMP/Bridge предоставляет возможность организовать мост между сегментом 100VG-AnyLAN и сегментом 10Base-T, построенном на концентраторах HP AdvanceStack или других концентраторах 10Base-T.

Управлять концентратором 100VG Hub-15 можно тремя способами:

. Базовые средства управления: для сетей, которые не требуют SNMP-управления. Вместе с каждым концентратором НР AdvanceStack 100VG Hub-15 поставляется основанное на Windows программное обеспечение HP Stack Manager, которое управляет базовыми конфигурациями, осуществляет мониторинг и устранение неполадок в стеке, оперативно отображая состояние устройства и позволяя быстро пересматривать, конфигурировать и диагностировать порты.

. SNMP-управление: для более крупных сетей с более интенсивным трафиком. Чтобы получить дополнительные возможности управления, нужно просто добавить модуль HP AdvanceStack 100VG SNMP/Bridge и программное обеспечение HP OpenView InterConnect Manager. Такая комбинация обеспечивает необходимые средства сетевого управления, подобные стандартному SNMP, универсальную и частные базы MIB, автоматическое отображение конфигурации сети, информирование о событиях и неисправностях, загрузку и выгрузку встроенных программ.

. Расширенные средства управления: для сетей, которые требуют оптимальной производительности. В комбинации с такими приложениями, как Traffic Expert или Traffic Monitor, средства EASE, которые обеспечиваются при установке в любой концентратор стека модуля HP AdvanceStack 100VG SNMP/Bridge, позволяют оптимизировать производительность сети посредством одного стека. При этом графически указываются потенциальные участки возникновения неполадок, идентифицируется, кто использует те или иные сетевые ресурсы, и показываются образцы трафика.

1.7 Концентратор доступа DSL - Stinger


Сегодня наблюдается тенденция роста потребностей в новых широкополосных услугах [4]. Спрос на эти услуги можно реализовать с помощью технологии DSL, применение которой не требует дополнительных инвестиций. Она позволяет увеличить емкость медных проводов существующих кабелей практически в 2 раза, при этом скорость передачи возрастает в 30 раз (по сравнению с той, которую обеспечивают современные аналоговые модемы).

Операторы связи и поставщики услуг, используя преимущества технологий DSL и ATM, получают возможность извлекать дополнительные доходы. Организуя по обычной витой паре телефонных проводов высокоскоростной канал передачи данных, технология DSL обеспечивает быстрый доступ к сети и дает возможность предложить клиентам широкий спектр услуг на базе пакетной передачи голоса, видео и данных. В то же время применение технологии ATM позволяет сократить издержки, поднять производительность и коренным образом изменить способ передачи данных по магистральным сетям. Поэтому критичным становится фактор производительности и интеграции концентратора DSLAM на границе сети и коммутаторов ATM в ядре сети.

Stinger - концентратор доступа DSL нового поколения, изначально предназначенный для выполнения этой задачи. Его бесшинная архитектура дает возможность преодолеть ограничения по масштабируемости и пропускной способности, накладываемые конструктивными особенностями шины. Использование технологии ATM для внутренней связи упрощает передачу данных. Расширенная модульность облегчает наращивание и модернизацию Stinger, и в то же время предусматривает резервирование. Можно также осуществлять непосредственную модернизацию системных интеллектуальных функций в соответствии с перспективными технологиями. В результате получаем расширяемый и масшта6ируемый концентратор доступа DSL.

Stinger поддерживает протокол АТМ, а также наиболее распространенные технологии доступа DSL: ADSL (полноскоростная и G.Lite) и HDSL. Одно устройство Stinger поддерживает 672 порта xDSL и четыре интерфейса ОС-3с/STM-1. В стандартной семифутовой стойке можно установить три устройства Stinger, что соответствует более 2000 портов DSL. Это самая высокая плотность портов по сравнению с плотностью концентраторов доступа DSL, имеющихся на рынке.

С учетом статистической природы цифрового трафика в концентраторе Stinger для объединения трафика используется не мультиплексирование, а внутренняя высокоскоростная коммутация АТМ. При этом повышается эффективность передачи внутреннего трафика. так как в портах (с отсутствующим или периодическим трафиком) не занимается полоса пропускания. Stinger поддерживает до восьми виртуальных соединений (PVC или SVC) на одного абонента и буфер (более 150 ячеек) на одно соединение. Это позволяет быстро и равномерно передавать по сети трафик, имеющий импульсный характер.

Модульная архитектура концентратора Stinger с функциями резервирования разработана с учетом быстрого обнаружения, диагностирования и устранения линейных и аппаратных повреждений. В случае отказа модуля или порта Stinger автоматически подает сигнал тревоги и подключает резервный блок. Неисправный модуль или порт автоматически отключается, причем модуль может быть заменен в "горячем" режиме.

Для обеспечения бесперебойной работы линии предусмотрена возможность локального и удаленного тестирования шлейфа с помощью дополнительного тестового модуля. Модули Stinger с функциями линейной защиты помогают добиться минимальных отказов, защищая оборудование от бросков тока и напряжения. В рабочем состоянии сеть поддерживается с помощью резервных интерфейсов пучков, распределенной системы питания и саморегулирующейся системы вентиляции (для поддержки постоянной внутренней температуры).

Максимально высокая плотность портов и масштабируемость обеспечивается следующими базовыми модулями:

·   модуль коммутации и управления (CM) - высокоскоростная коммутационная матрица - "сердце" Stinger; поддерживает функции контроля за качеством обслуживания и системного контроля (начальная загрузка, установка виртуальных соединений, конфигурация и управление);

·   линейный интерфейсный модуль (LIM); выпускаются различные типы LIM для Stringer, каждый из которых поддерживает разные виды линейного кодирования DSL, число портов в модулях - от 12 до 48. Кроме объединения виртуальных каналов для передачи на коммутационную матрицу модуля управления, каждый модуль LIM реализует упомянутые выше функции обеспечения качества обслуживания и системного контроля;

·   транковые модули (ТМ); для Stinger выпускаются транковые модули ОС-3 и DS-3 (каждый с двумя портами). Порты могут использоваться как независимо, так и для резервирования;

·   модуль защиты линии (LPM); для Stinger выпускаются четыре модели модулей защиты, две из которых поддерживают резервирование LIM 1:n. Обе версии выпускаются в исполнении 24 и 48 портов.

Дополнительные модули Stinger выполняют следующие специальные функции:

·   модуль резервирования интерфейса (IRM) обеспечивает резервный путь к вторичному модулю LIM при использовании Stinger для поддержки одного вида DSL;

·   тестовый модуль медного шлейфа (CLT); две модели модуля CLT позволяют проводить тестирование шлейфа и определять параметры любой линии, подключенной к Stinger. Одна модель предназначена для подключения внешнего тестового оборудования, вторая включает встроенное тестовое оборудование. Управление обеими моделями осуществляется дистанционно через систему Navis, что не требует присутствия на станции технического персонала при необходимости подключения или тестирования линии.

1.8 Постановка задачи

Проведя анализ по применяемым видам цифровых концентраторов, рассмотрев их функции и принципы работы разработаем имитационную модель функционирования цифрового концентратора.

Для этого необходимо рассмотреть общие вопросы и принципы моделирования, рассмотреть особенности выбранного языка моделирования и учитывая их разработать алгоритм модели будущего концентратора. Опираясь на алгоритм составить программное обеспечение имитирующее работу цифрового концентратора.

Затем необходимо выполнить технико-экономический расчет, отражающий всю смету затрат на производство данного программного продукта.

Дать рекомендации по созданию безопасных, простых, полностью отвечающих функциональным требованиям условий труда в компьютерном зале.

Таким образом, учитывая вышеизложенное, для реализации поставленной задачи необходимо:

1. рассмотреть общие вопросы моделирования;

2. рассмотреть особенности используемого языка моделирования;

3. разработать алгоритм модели цифрового концентратора;

4. составить программное обеспечение, имитирующее работу цифрового концентратора, на выбранном языке моделирования.

2. Моделирование на GPSS

2.1 Общие вопросы моделирования


Имитационное моделирование обеспечивает возможность испытания, оценки и проведения экспериментов с предлагаемой системой без каких-либо непосредственных воздействий на нее [5]. При имитационном моделировании проводится эксперимент с программой, которая является моделью системы. Несколько часов, недель или лет работы исследуемой системы могут быть промоделированы на ЭВМ за несколько минут. В большинстве случаев модель является не точным аналогом системы, а скорее ее символическим изображением. Однако такая модель позволяет производить измерения, которые невозможно произвести каким-либо другим способом.

Преимущества моделирования (в отличие от натуральных экспериментов) объясняется следующими факторами:

1. стоимость натуральных экспериментов почти всегда больше стоимости машинных экспериментов с моделью;

2. измерение ряда показателей качества функционирования на реальных системах принципиально не возможно и может быть проведено только при изменении самой системы (например, для измерения времени реакции ВС на внешние сигналы, запросы необходимо определенным образом изменять и надстраивать операционную систему ВС);

3. при выработке рекомендаций по модернизации системы невозможно провести эксперимент с еще не существующей структурой;

4. условия работы, при которых нужно провести эксперимент, могут быть недопустимыми для реальной системы;

5. натуральный эксперимент часто невозможен из-за чрезвычайно больших интервалов времени между моментами смены состояний системы (например, при исследовании показателей надежности устройств, редко выходящих из строя);

6. машинный эксперимент возможен и с моделями еще не созданных систем.

Первым шагом при анализе любой конкретной системы является выделение элементов системы и формулирование логических правил, управляющих взаимодействием этих элементов. Полученное в результате описание называется моделью системы. Модель обычно включает в себя те аспекты системы, которые представляют интерес или нуждаются в исследовании.

Для общих задач система моделирования должна предоставлять пользователю достаточно краткий и в то же время применимый к широкому классу систем язык моделирования. Исследование разнообразных дискретных систем показало, что любая система может быть описана при помощи необходимого набора абстрактных элементов, называемых объектами. Логические правила поведения таких систем описываются аналогичным в каждом случае набором операций.

Наиболее распространенным методом описания систем является составление блок-диаграмм. Блок-диаграмма - графическое представление операций, происходящих внутри системы. Другими словами, блок-диаграмма описывает взаимодействие событий внутри системы. Линии, соединяющие блоки, указывают маршруты потоков сообщений или описывают последовательность выполняемых событий. В случае нескольких вариантов действий от блока отходят несколько линий. Если же к блоку подходят несколько линий, то это означает, что выполняемая операция является общей для двух или более последовательностей блоков. Выбор логических путей может основываться на статистических или логических условиях, действующих в момент выбора.

Блок-диаграммы получили широкое применение при описании систем, но форма представления обычно зависит и от самой системы, и от специалиста, описывающего эту систему. Поэтому, при построении блок-диаграмм, следует соблюдать определенные условия, являющиеся основой создания программы на языке моделирования.

Объекты в моделируемой системе предназначены для различных целей. Выбор объектов в конкретной моделируемой системе зависит от характеристик модели и, в некоторых случаях, от специалиста, составляющего модель. Совершенно не обязательно, чтобы в одной модели участвовали все типы объектов. Обязательным является лишь то, что в каждой модели должны быть блоки и сообщения, иначе просчитать ее будет невозможно. Какие объекты, помимо сообщений и блоков, будут включены в модель, будет зависеть от того, какие именно используются блоки и операнды блоков (которые могут повлечь появление операторов описания других объектов).

После того, как система описана, исходя из операций, которые она выполняет, ее нужно описать на нужном алгоритмическом языке, используя блоки, которые выполняют соответствующие операции в модели.

Ниже, в главе 3, приводится алгоритм имитационной модели функционирования концентратора и программа на языке моделирования GPSS.

цифровой концентратор моделирование сеть

2.2 Особенности языка моделирования GPSS


Общецелевая система моделирования GPSS (GENERAL PURPOSE SIMULATING SYSTEM) предназначена для построения статистических (имитационных) моделей дискретных сложных систем различной физической природы [5]. Общим для систем, исследование которых может быть проведено с помощью GPSS, является наличие различных случайных факторов, существенным образом влияющих на смену состояний в системе. При этом предполагается, что множество состояний исследуемой системы является дискретным (конечным или счетным); смена состояний происходит в некоторые моменты времени. Интервалы между моментами смены состояний могут быть как случайными, так и детерминированными величинами. В течение всего интервала между моментами смены состояний исследуемая система состояния не меняет.

Существенной особенностью GPSS является ориентация на построение моделей таких систем, в которых возможно возникновение очередей различного рода. К таким системам относятся всевозможные системы массового обслуживания (СМО), вычислительные системы (ВС), транспортные - в том числе и железнодорожные - системы и т.д.

С помощью средств GPSS экспериментатор имеет возможность описать как алгоритм функционирования исследуемой системы, так и воздействие случайных факторов на систему. Таким образом, GPSS может рассматриваться и как некоторый язык описания сложных систем.

Составив описание, экспериментатор получает возможность постановки различных экспериментов, в ходе которых многократно воспроизводятся случайные ситуации, соответствующие возможным случаям воздействия внешних факторов на исследуемую систему, находящуюся в различных состояниях.

В процессе розыгрыша с помощью ЭВМ случайных ситуаций накапливается информация о качестве функционирования исследуемой системы в виде конкретных реализаций численных значений показателей качества функционирования. Розыгрыш случайных ситуаций продолжается до тех пор, пока объем выборки не станет достаточным для вычисления статистически достоверных оценок показателей качества функционирования.

Развитие всякой системы происходит во времени. Точно также модель исследуемой системы меняет свои состояния, функционируя, развиваясь во времени, при этом течение модельного времени имитируется изменением некоторой переменной. Между временем реальной сложной системы и временем модели этой системы в GPSS (модельным временем) имеется существенное различие.

Во-первых, время реальной системы непрерывно - можно со сколь угодно большой точностью, вплоть до наносекундных интервалов, измерить длительность между моментами смены состояний исследуемой системы.

Во-вторых, никоим образом изменить скорость течения времени реальной системы нельзя (во всяком случае, на нынешнем этапе развития земной цивилизации).

Время же GPSS-модели дискретно - оно может изменяться лишь на целое число единиц. Физический смысл одной единицы модельного времени - час, минута, секунда и т.д. - определяет пользователь GPSS - экспериментатор, строящий модель исследуемой системы. Изменяться модельное время может не обязательно только на 1 единицу дискретности, чаще всего модельное время скачком продвигается от одного момента смены состояний до другого. Это возможно потому, что модельное время не есть время работы ЭВМ, с помощью которой ставятся эксперименты с моделью. Модельное время - это некоторая переменная, принимающая только положительные целочисленные значения и не доступная пользователю; всегда, как и реальное время, изменяющаяся только в сторону увеличения.

Следует отметить еще одно обстоятельство: в GPSS, в отличие от реальных систем, имеется две разновидности модельного времени - абсолютное и относительное. Абсолютное время начинает свой отсчет с момента начала моделирования (эксперимента с моделью), а относительное - с момента, указанного пользователем как момент, начиная с которого необходимо собирать статистику в ходе моделирования. Если нет специальных указаний пользователя, абсолютное и относительное время в GPSS совпадают.

Модель в GPSS строится из отдельных элементов, называемых объектами. Имеется всего четыре вида объектов:

·   динамические, или транзакты;

·   статические, или оборудование;

·   статистические;

·   операционные блоки.

Состояние модели в любой момент времени определяется совокупностью состояний всех объектов, составляющих модель; смена состояний модели предполагает изменение состояния хотя бы одного объекта. Основная особенность GPSS как системы моделирования состоит в том, что состояние модели изменяется лишь тогда, когда динамический объект - транзакт - проходит через операционный блок. Именно транзакт, двигаясь по модели, является инициатором смены состояний оборудования, статистических объектов и других транзактов.

Транзакты (сообщения) создаются в определенных точках модели, продвигаются интерпретатором через блоки, а затем уничтожаются. Сообщения являются аналогами единиц-потоков в реальной системе. Сообщения могут представлять собой различные элементы даже в одной системе. Например, в модели ЭВМ одни сообщения могут являться прообразами программ пользователя, решаемых на данной ЭВМ, а другие представляют поток отказов в аппаратных средствах ЭВМ. С каждым сообщением в GPSS связаны параметры. Параметры могут использоваться для связи конкретных числовых данных с этим сообщением. В приведенном выше примере параметрами сообщений первого типа могут быть: время обслуживания программы центральным процессором; число обращений к лентам, дискам; идентификация пользователя и т.д.

Сообщения движутся от блока к блоку так, как движутся элементы, которые они представляют (условные обозначения блоков GPSS приведены в таблице 2.1).

Каждое продвижение считается событием, которое должно происходить в конкретный момент времени. Интерпретатор GPSS автоматически определяет моменты наступления событий. В тех случаях, когда событие не может произойти, хотя момент его наступления подошел (например, при попытке занять устройство, когда оно уже занято), сообщение прекращает продвижение до снятия блокирующего условия.

Сообщения нумеруются последовательно, начиная с номера 1. Параметры сообщений принимают значения из множества целых чисел. Каждое сообщение имеет один или более параметров. Параметры нумеруются. Номера параметров используются для ссылок на значения, присвоенные параметрам. Сообщениям может присваиваться приоритет, используемый системой в ходе моделирования.

Статические объекты GPSS - оборудование. К оборудованию относятся:

·   приборы (устройства, FACILITY), аналогичные одноканальным СМО с очередью;

·   накопители (STORAGE), сопоставимые как с реальными накопителями, так и с многоканальными СМО. Реальным накопителем может быть запоминающее устройство ВС, путевое устройство железнодорожной станции, стоянка автомобилей с ограниченным числом мест и т.д.;

·   логические переключатели (SWITCH), сопоставимые со светофорами с двумя состояниями - красным и зеленым сигналами.

Статистических объектов в GPSS два вида: очереди (QUEUE) и таблицы (TABLE). Очереди, несмотря на их название, никоим образом не влияют на организацию очередей в модели - они служат только для сбора статистики в виде средних значений временных интервалов, в течение которых транзакты проходят путь между двумя точками в модели, а также числа транзактов между этими точками.

Таблица 2.1 Условные обозначения блоков GPSS





Таблицы используются для сбора статистической информации в виде эмпирических функций распределения случайных величин, получаемых в ходе моделирования.

Операционные блоки, как уже отмечалось, служат для изменения состояния оборудования, статистических объектов и транзактов. Кроме того, они создают и уничтожают транзакты, определяют направление движения транзактов в модели, задерживают транзакты на случайное или детерминированное время.может рассматриваться не только как общецелевая система моделирования, но и как язык описания функционирования сложных дискретных систем. В силу этого множество перечисленных объектов не всегда является достаточным для описания модели. Именно поэтому пользователь должен вносить в модель пояснения. Пояснения пользователя как указания системе моделирования задаются с помощью карт описания. Эти карты не являются объектами GPSS, но без них не возможна правильная организация накопителей, таблиц и ряда других элементов GPSS.

Карта SIMULATE. Она должна предворять как все карты описания, так и все карты, задающие операционные блоки. При отсутствии карты SIMULATE интерпретация модели, т.е. собственно моделирование, производится не будет - система только проверит правильность описания модели с точки зрения синтаксиса языка описания дискретных сложных систем.

Другой управляющей картой является карта END, завершающая последовательность управляющих карт, карт описания и операционных блоков, составляющих GPSS-модель.

Специальные управляющие карты CLEAR и RESET служат для управления процессом моделирования. Так, появление карты CLEAR после того, как выполнено моделирование согласно некоторой последовательности управляющих карт и операционных блоков приводит к тому, что то состояние, которое было достигнуто в ходе розыгрыша случайных ситуаций, заменяется исходным начальным состоянием. После этого модель готова к повторному прогону, возможно, с иными операционными блоками.

После выполнения карты RESET состояние системы сохраняется, но все накопленные статистики сбрасываются, и их накопление начинается заново. Именно в этот момент возникает разница между абсолютным и относительным модельным временем.

На основании оценок качества функционирования системы, полученных в результате эксперимента с моделью, может быть проведен поиск как наилучших условий работы, так и наилучшей структуры исследуемой системы. Для решения задач оптимизации GPSS допускает стыковку с алгоритмическим языком FORTRAN-4; в этом случае программа задания начальных условий моделирования, определения направления движения в допустимой области варьирования изменяемых параметров системы пишется на языке FORTRAN, а модель системы строится на основе элементов (объектов) GPSS. Кроме того, с помощью FORTRAN-надстройки над GPSS-моделью удается существенно упростить, сделать более гибкой и саму GPSS-модель.

3. Разработка алгоритма и программы имитационной модели функционирования концентратора


3.1 Алгоритм имитационной модели функционирования концентратора


Сети ISDN доставляют различные виды информации (оперативные данные и файлы ЭВМ, речь в цифровой форме, факсимильная информация и т.д.) [6]. В данной программе рассматривается фрагмент такой сети в виде системы передачи цифровой информации, обеспечивающей процесс взаимодействия цифровых телефонных аппаратов (ЦТА) с цифровым концентратором (ЦК), который представляем собой устройство, обеспечивающее сопряжение входных низкосортных цифровых каналов связи от каждого ЦТА с выходным высокоскоростным цифровым трактом (ЦТ). В общем случае имеется N цифровых телефонных аппаратов, подключенных к цифровому концентратору, который осуществляет мультиплексирование входящего потока цифровой информации и его дальнейшую передачу по цифровому тракту (рис. 3.1). Каждый цифровой тракт состоит из шести уплотняемых каналов (кадров). При нормальных условиях функционирования (когда загрузка цифрового тракта меньше 80%) используются пять каналов, в случае временного увеличения загрузки цифрового тракта больше 80% подключается дополнительный канал на время пика нагрузки. Нагрузка по вызовам, создаваемая одним цифровым телефонным аппаратом, составляет 0,1 Эрланг, а вероятность обслуживания любого вызова равна 0,4. Не обслуживание вызова может произойти в результате занятости абонента (время прослушивания сигнала "Занято" равно 15 с) или его отсутствия с равной вероятностью. При отсутствии свободного канала вновь поступивший вызов блокируется. Не обслуженный вызов становится источником повторных вызовов.

Рис. 3.1 Структурная схема фрагмента сети интегрального обслуживания

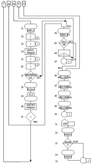
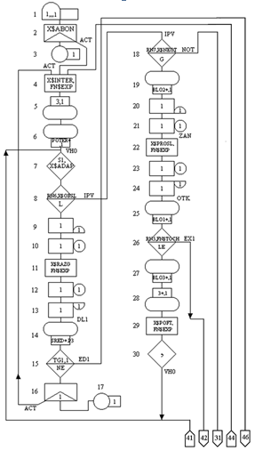
На рисунке 3.2 приведена блок-диаграмма имитационной модели функционирования концентратора.

Поясним алгоритм модели.

Перед началом прогона модели создадим многоканальное устройство определенной емкости. В нашем случае под многоканальным устройством будем понимать цифровой тракт, а под емкостью многоканального устройства - число кадров в цифровом тракте.

Зададим все необходимые начальные значения (средняя длительность разговора, вероятность обслуживания, средняя длительность установления связи…), которые будут характеризовать качество связи, а также влиять на получаемые значения статистических данных. Также зададим все необходимые функции распределения случайных чисел.

Блок 1. Введем транзакт в модель.

Блок 2. Создадим необходимое количество копий данного транзакта. Они будут являться абонентами виртуальной сети связи.

Блок 4. Получаем сообщение (транзакт) и задерживаем его на определенный период между вызовами. Таким образом, вызова у нас будут поступать с определенной задержкой.

Блок 7. Проверяем наличие свободного кадра в цифровом тракте. Если свободный кадр есть, то переходим к блоку 8. Если же свободного кадра нет, то транзакт (сообщение) задерживается до тех пор, пока не появится свободный кадр.

Блок 8. Генерируем случайное число и сравниваем его с вероятностью обслуживания. Если полученное число меньше, то переходим к блоку 9. Если больше - к блоку 18.

Блок 9-13. Позволяем вошедшему сообщению использовать многоканальное устройство. Ставим его в очередь, задерживаем на время обслуживания, потом освобождаем очередь и многоканальное устройство. Т.о. сообщение было обслужено.

Блок 15-16. Проверяем, все ли вызовы были обслужены. Если все вызовы уже обслужены, то переходим к блоку 46. В противном случае создаем еще одну копию входящего сообщения и переходим к блоку 4.

Блок 18. Генерируем случайное число и сравниваем его с процентом не ответов. Если полученное число меньше, то переходим к блоку 31, в противном случае (т.е. процент не ответов выше заданного уровня и мы не можем обслужить сообщение) - к блоку 19.

Блок 19-24. Позволяем вошедшему сообщению использовать многоканальное устройство. Ставим его в очередь, задерживаем на среднее время прослушивания сигнала "занято", потом освобождаем очередь и многоканальное устройство. Т.о. сообщение не было обслужено и пробыло в блоке ровно столько времени, сколько нужно на прослушивание сигнала "занято".

Блок 26. Генерируем случайное число и сравниваем его с функцией настойчивости. Если число меньше или равно функции, то переходим к блоку 27, в противном случае - к блоку 42.

Рис. 3.2 Алгоритм имитационной модели функционирования концентратора

Блок 27-30. Итак, наше сообщение не было обслужено по причине занятости абонента. Задерживаем его на время, равное интервалу между ПВ при занятости абонента и отправляем к блоку 7.

Блок 31-36. Процент не ответов в нашей сети связи ниже заданного уровня. Таким образом, мы можем обслужить еще одно сообщение. Устанавливаем связь. Позволяем вошедшему сообщению использовать многоканальное устройство. Ставим его в очередь, задерживаем его (на среднее время установления связи), потом освобождаем очередь и многоканальное устройство.

Блок 37. Имитируем отсутствие абонента. Генерируем случайное число и сравниваем его с функцией настойчивости при отсутствии абонента. Если полученное число меньше или равно функции, то переходим к блоку 38, в противном случае - к блоку 42.

Блок 38-41. Сообщение не было обслужено по причине отсутствия абонента. Задерживаем сообщение на время, равное среднему интервалу между повторными вызовами и отправляем его к блоку 7. Т.о. мы повторяем попытку.

Блок 42-45. Проверяем, все ли вызовы были обслужены. Если все вызовы уже обслужены, то переходим к блоку 46, в противном случае создаем еще одну копию входящего сообщения и переходим к блоку 4.

Блок 46-50. Записываем в память все статистические данные.

Блок 51-54. Проверяем коэффициент использования многоканального устройства. Если он ниже требуемого уровня, тогда увеличим коэффициент адаптации с тем, чтобы как можно большему числу сообщений предоставлялся свободный кадр в цифровом тракте. Тем самым мы повысим коэффициент использования многоканального устройство. Если же коэффициент выше требуемого уровня, тогда переходим к блоку 55.

Блок 55. Уничтожаем все транзакты и прогоняем модель еще раз.

3.2 Программа имитационной модели функционирования концентратора


В соответствии с блок-диаграммой составим GPSS-программу модели функционирования концентратора цифровой сети связи.

SIMULATE

SVE1 EQU 1

SVE1 STORAGE 6

INITIAL X$ABON,30

INITIAL X$INTER,12000

INITIAL X$RAZG,1200

INITIAL X$PROSL,150

INITIAL X$POFT,600

INITIAL X$OBSL,400

INITIAL X$NEOT,500

INITIAL X$UST,40

INITIAL X$ADAP,5

PER1 FVARIABLE 100000#N$EX1/X$POTER

PER2 FVARIABLE 100000#N$DL1/X$POTER

PER3 FVARIABLE 100000#X$SRED/(N$DL1+N$EX1)

BER1 FVARIABLE X$BLO1+N$ZAN-X$BLO2

BER2 FVARIABLE X$POTER+X$BLO3+X$BLO4

PER4 FVARIABLE 100000#(V$BER1/V$BER2)

*

EXP FUNCTION RN4,C24

,0/.100,.104/.200,.222/.300,.355/.400,.509/.500,.690/

.600,.915/.700,1.200/.750,1.380/.800,1.600/.840,1.830/

.880,2.120/.900,2.300/.920,2.520/.940,2.810/.950,2.990/

.960,3.200/.970,3.500/.980,3.900/.990,4.600/.995,5.300/

.998,6.200/.999,7/1,8/

*

TOCH FUNCTION P3,C7

,600/2,700/3,750/4,790/5,820/6,850/7,880

*

OTS FUNCTION P3,C3

,300/2,400/3,500

*

GENERATE 1,,,1

SPLIT X$ABON,ACT

TERMINATE

ACT ADVANCE X$INTER,FN$EXP

ASSIGN 3,1

SAVEVALUE POTER+,1

*

VHO TEST LE S1,X$ADAP

TEST L RN6,X$OBSL,IPV

ENTER 1

QUEUE 1

ADVANCE X$RAZG,FN$EXP

DEPART 1

LEAVE 1

*

DL1 SAVEVALUE SRED+,P3

TEST NE TG1,1,ED1

SPLIT 1,ACT

TERMINATE 1

*

IPV TEST G RN7,X$NEOT,NOT

SAVEVALUE BLO2+,1

ENTER 1

QUEUE 1

ZAN ADVANCE X$PROSL,FN$EXP

DEPART 1

LEAVE 1

*

OTK SAVEVALUE BLO1+,1

TEST LE RN5,FN$TOCH,EX1

SAVEVALUE BLO3+,1

ASSIGN 3+,1

ADVANCE X$POFT,FN$EXP

TRANSFER ,VHO

*

NOT SAVEVALUE ADR+,1

ENTER 1

QUEUE 1

ADVANCE X$UST,FN$EXP

DEPART 1

LEAVE 1

TEST LE RN6,FN$OTS,EX1

SAVEVALUE BLO4+,1

ASSIGN 3+,1

ADVANCE X$POFT,FN$EXP

TRANSFER ,VHO

EX1 SAVEVALUE SRED+,P3

TEST NE TG1,1,ED1

SPLIT 1,ACT

TERMINATE 1

ED1 SAVEVALUE RES1,V$PER1

SAVEVALUE RES2,V$PER2

SAVEVALUE RES3,V$PER3

SAVEVALUE RES4,V$PER4

TERMINATE 1

GENERATE 1000

SAVEVALUE ADAP,5

TEST G SR1,800,KON

SAVEVALUE ADAP,6

KON TERMINATE

START 500

0341 REPORT REPORT.GPS

END

Поясним текст программы.

Карта SIMULATE. Она должна предворять как все карты описания, так и все карты, задающие операционные блоки. При отсутствии карты SIMULATE интерпретация модели, т.е. собственно моделирование, производится не будет - система только проверит правильность описания модели с точки зрения синтаксиса языка описания дискретных сложных систем.

SVE1 EQU 1

Блок EQU предназначен для присвоения числовых значений именам, используемым в модели (т.к. для присваивания именам нужных номеров, необходимо, перед использованием имен присвоить им соответствующие номера).

Устройству SVE1 присвоили номер 1.

SVE1 STORAGE 6

Блок STORAGE определяет емкость многоканального устройства в текущей модели. Когда сообщение пытается войти в блок ENTER, то запрос на емкость многоканального устройства сравнивается с доступной емкостью многоканального устройства. Если запрос может быть выполнен, то сообщение входит в блок ENTER, и емкость доступной памяти многоканального устройства уменьшается. Если запрос сообщения не может быть удовлетворен, то сообщение входит в список задержки многоканального устройства.

Многоканальное устройство SVE1 имеет емкость 6.

В данном случае емкость SVE1 определяет число кадров в цифровом тракте.

INITIAL X$ABON,30

Блок INITIAL позволяет задавать начальные значения ячеек.

Ячейка с именем ABON имеет начальное значение равное 30.

Ячейка ABON определяет число абонентов в подсети.

INITIAL X$INTER,12000

Ячейка с именем INTER имеет начальное значение равное 12000.

Ячейка INTER определяет средний интервал между вызовами.

INITIAL X$RAZG,1200

Ячейка с именем RAZG имеет начальное значение равное 1200.

Ячейка RAZG определяет среднюю длительность разговора.

INITIAL X$PROSL,150

Ячейка с именем PROSL имеет начальное значение равное 150.

Ячейка PROSL определяет среднюю длительность прослушивания сигнала "занято".

INITIAL X$POFT,600

Ячейка с именем POFT имеет начальное значение равное 600.

Ячейка POFT определяет средний интервал между повторными вызовами.

INITIAL X$OBSL,400

Ячейка с именем OBSL имеет начальное значение равное 400.

Ячейка OBSL определяет вероятность обслуживания (в тысячных долях).

INITIAL X$NEOT,500

Ячейка с именем NEOT имеет начальное значение равное 500.

Ячейка NEOT определяет процент не ответов (в тысячных долях).

INITIAL X$UST,40

Ячейка с именем UST имеет начальное значение равное 40.

Ячейка UST определяет среднюю длительность установления связи.

INITIAL X$ADAP,5

Ячейка с именем ADAP имеет начальное значение равное 5.

Ячейка ADAP определяет порог адаптации.

0055 PER1 FVARIABLE 100000#N$EX1/X$POTER

Блок FVARIABLE определяет переменные с плавающей точкой.

Переменная PER1 равна: 100000 умножить на значение счетчика числа входов в блок EX1 (этот счетчик изменяется при каждом входе сообщения в блок EX1) и делить на значение переменной POTER, которая содержит суммарное число первичных вызовов.

Переменная PER1 определяет вероятность потери по времени.

0060 PER2 FVARIABLE 100000#N$DL1/X$POTER

Переменная PER2 определяет вероятность успешного завершения разговора.

0065 PER3 FVARIABLE 100000#X$SRED/(N$DL1+N$EX1)

Переменная PER3 равна: значение переменной SRED (содержит сумму повторных попыток) умножить на 100000 и делить на сумму значений счетчиков числа входов в блоки DL1 и EX1.

Переменная PER3 определяет среднее число попыток на один вызов.

0070 BER1 FVARIABLE X$BLO1+N$ZAN-X$BLO2

Переменная BER1 равна: значение переменной BLO1 (содержит число блокировок из-за отсутствия кадра) плюс значение счетчика числа входов в блок ZAN и минус значение ячейки BLO2 (содержит число состояний занято).

0071 BER2 FVARIABLE X$POTER+X$BLO3+X$BLO4

Переменная BER2 равна: значение переменной POTER плюс значение переменной BLO3 (содержит число повторных попыток при занятости адресата) плюс значение переменной BLO4 (содержит число повторных попыток при не ответе абонента).

0072 PER4 FVARIABLE 100000#(V$BER1/V$BER2)

Переменная PER4 равна: 100000 умножить на значение переменной BER1 и делить на значение переменной BER2.

Переменная PER4 определяет вероятность блокировки в абонентском тракте.

EXP FUNCTION RN4,C24

,0/.100,.104/.200,.222/.300,.355/ ...

Блок FUNCTION описывает функцию. Функция EXP является непрерывной числовой (С) функцией с числом пар значений X и Y равным 24. Функция принимает значение 0 с вероятностью 0; 0,104 - с вероятностью 0,100 и т.д. В качестве аргумента функции используется случайное число RN4.

Функция EXP - экспоненциальная функция.

TOCH FUNCTION P3,C7

,600/2,700/3,750/4,790/5,820/6,850/7,880

Функция TOCH является непрерывной числовой (С) функцией с числом пар значений X и Y равным 7. При значениях первого параметра транзакта Р3 функция с именем TOCH будет принимать значения: 600, если Р3 будет равен 1; 700, если Р3 будет равен 2 и т.д.

Функция TOCH - точная функция настойчивости.

OTS FUNCTION P3,C3

,300/2,400/3,500

Функция OTS является непрерывной числовой (С) функцией с числом пар значений X и Y равным 3. При значениях первого параметра транзакта Р3 функция с именем OTS будет принимать значения: 300, если Р4 будет равен 1; 400, если Р4 будет равен 2 и т.д.

Функция OTS - функция настойчивости при отсутствии абонента.

GENERATE 1,,,1

Блок GENERATE осуществляет ввод транзактов в модель.

Транзакты будут вводиться в модель через каждую 1 единицу модельного времени с приоритетом 1 (максимально - 127). Т.о. мы сгенерировали исходный транзакт.

SPLIT X$ABON,ACT

Блок SPLIT выполняет функцию копирования входящего в него сообщения, которое называется исходным или порождающим.

Создает число копий, указанное в ячейке с именем ABON, затем переходит к блоку с меткой ACT. Т.о. мы получили заданное число источников.

TERMINATE

Блок TERMINATE удаляет из модели входящие сообщения (транзакты).

Т.к. поле А пусто, то сообщение уничтожается, а содержимое счетчика не изменяется.

0140 ACT ADVANCE X$INTER,FN$EXP

Блок ADVANCE задерживает продвижение транзактов на заданный период времени.

Среднее время пребывания сообщения в блоке ADVANCE задано в ячейке с именем INTER, способ модификации среднего значения задан функцией EXP. Т.о. мы задали интервал между вызовами.

ASSIGN 3,1

Блок ASSIGN заменяет, увеличивает или уменьшает текущее значение параметра сообщения на заданное значение.

В значении параметра с номером 3 сохраняется значение 1. Параметр 3 содержит число ПВ.

SAVEVALUE POTER+,1

Блок SAVEVALUE используется для замены, увеличения или уменьшения текущего содержимого значений.

Значение 1 добавляется к значению переменной POTER, которая содержит суммарное число первичных вызовов.

0155 VHO TEST LE S1,X$ADAP

Блок TEST определяет номер следующего блока для вошедшего в него сообщения в зависимости от того, выполняется требуемое условие или нет.

В данном случае сравнивается содержимое многоканального устройства под номером 1 (S1) со значением, хранимым в ячейке с именем ADAP. S1 должна быть меньше или равна (LE) значению ячейки ADAP. Т.к. поле С блока TEST пусто, то транзакты не могут войти в блок TEST до тех пор, пока условия не изменятся таким образом, что отношение будет истинно. Как только отношение будет истинно, сообщение войдет в блок TEST и пытается перейти к следующему по номеру блоку. Т.о. мы проверили наличие свободного кадра.

0160 TEST L RN6,X$OBSL,IPV

Сравнивается значение случайной величины RN6 (ее значение колеблется от 0 до 1) со значением, хранимым в ячейке с именем OBSL (вероятность обслуживания). RN6 должна быть меньше (L) значения ячейки OBSL. Если отношение истинно, то транзакт переходит к следующему блоку. Если отношение ложно - к блоку с меткой IPV.

Т.о. мы осуществили проверку обслуживания.

ENTER 1

Блок ENTER позволяет вошедшему сообщению использовать многоканальное устройство.

Занимаем многоканальное устройство под номером 1.

QUEUE 1

Блок QUEUE увеличивает длину очереди.

Длина очереди под номером 1 увеличивается на 1 (поскольку операнд В отсутствует). Если очередь еще не существует, то она создается.

ADVANCE X$RAZG,FN$EXP

Среднее время пребывания сообщения в блоке ADVANCE задано в ячейке с именем RAZG, способ модификации среднего значения задан функцией EXP. Т.о. мы задержали сообщение на время, равное средней длительности разговора.

DEPART 1

Блок DEPART служит для уменьшения длины очереди.

Длина очереди под номером 1 уменьшается на 1 (поскольку операнд В отсутствует).

LEAVE 1

Блок LEAVE освобождает определенное число единиц многоканального устройства.

Освобождается одна единица (т.к. операнд В отсутствует) многоканального устройства под номером 1.

DL1 SAVEVALUE SRED+,P3

Значение Р3 добавляется к значению переменной SRED, которая содержит сумму повторных попыток.

TEST NE TG1,1,ED1

Сравнивается текущее значение счетчика завершений TG1 (сообщения, вошедшие в блоки TERMINATE с ненулевым операндом А, уменьшают значение этого счетчика на число, равное значению операнда А) с единицей. TG1 должна быть не равна (NE) единице. Если отношение истинно, то транзакт переходит к следующему блоку. Если отношение ложно - к блоку с меткой ED1. Таким образом, мы проверили, все ли вызовы (транзакты) мы обслужили.

SPLIT 1,ACT

Создает одну копию входящего сообщения и переходит к блоку с меткой ACT.

0185 TERMINATE 1

Уничтожает транзакт.

IPV TEST G RN7,X$NEOT,NOT

Сравнивается значение случайной величины RN7 (ее значение колеблется от 0 до 1) со значением хранимым в ячейке с именем NEOT (процент не ответов). RN7 должна быть больше (G) значения ячейки NEOT. Если отношение истинно, то транзакт переходит к следующему блоку. Если отношение ложно - к блоку с меткой NOT.

SAVEVALUE BLO2+,1

Значение 1 добавляется к значению переменной BLO2, которая содержит число состояний занято.

ENTER 1

Занимается многоканальное устройство под номером 1.

QUEUE 1

Длина очереди под номером 1 увеличивается на 1 (поскольку операнд В отсутствует).

0198 ZAN ADVANCE X$PROSL,FN$EXP

Среднее время пребывания сообщения в блоке ADVANCE задано в ячейке с именем PROSL, способ модификации среднего значения задан функцией EXP. Т.о. мы задержали сообщение на время, равное среднему времени прослушивания сигнала "занято".

DEPART 1

В данном случае длина очереди под номером 1 уменьшается на 1 (поскольку операнд В отсутствует).

LEAVE 1

Освобождается одна единица (т.к. операнд В отсутствует) многоканального устройства под номером 1.

OTK SAVEVALUE BLO1+,1

Значение 1 добавляется к значению переменной BLO1.

0210 TEST LE RN5,FN$TOCH,EX1

Сравнивается значение случайной величины RN5 (ее значение колеблется от 0 до 1) со значением функции TOCH. RN5 должна быть меньше или равна (LE) значению функции TOCH. Т.к. поле С блока TEST пусто, то транзакты не могут войти в блок TEST до тех пор, пока условия не изменятся таким образом, что отношение будет истинно. Как только отношение будет истинно, сообщение войдет в блок TEST и пытается перейти к следующему по номеру блоку.

SAVEVALUE BLO3+,1

Значение 1 добавляется к значению переменной BLO3, которая содержит число повторных попыток при занятости адресата.

ASSIGN 3+,1

К значению параметра с номером 3 добавляется значение 1. Параметр 3 содержит число попыток данного вызова.

ADVANCE X$POFT,FN$EXP

Среднее время пребывания сообщения в блоке ADVANCE задано в ячейке с именем POFT, способ модификации среднего значения задан функцией EXP. Т.о. мы задали интервал между ПВ при занятости абонента.

TRANSFER ,VHO

Блок TRANSFER является основным средством, позволяющим направить сообщение к любому блоку модели.

В данном случае режим выбора следующего блока, к которому должно перейти сообщение (безусловный, статистический…) не указан. Все сообщения переходят к блоку VHO.

NOT SAVEVALUE ADR+,1

Значение 1 добавляется к значению переменной ADR, которая содержит число не ответов адресата.

ENTER 1

Занимается многоканальное устройство под номером 1.

QUEUE 1

Длина очереди под номером 1 увеличивается на 1 (поскольку операнд В отсутствует).

ADVANCE X$UST,FN$EXP

Среднее время пребывания сообщения в блоке ADVANCE задано в ячейке с именем UST, способ модификации среднего значения задан функцией EXP. Т.о. мы задержали сообщение на время, равное среднему времени установления связи.

DEPART 1

В данном случае длина очереди под номером 1 уменьшается на 1 (поскольку операнд В отсутствует).

LEAVE 1

Освобождается одна единица (т.к. операнд В отсутствует) многоканального устройства под номером 1.

0245 TEST LE RN6,FN$OTS,EX1

Сравнивается случайной величины RN6 (ее значение колеблется от 0 до 1) со значением функции OTS. RN6 должна быть меньше или равна (LE) значению функции OTS. Т.к. поле С блока TEST пусто, то транзакты не могут войти в блок TEST до тех пор, пока условия не изменятся таким образом, что отношение будет истинно. Как только отношение будет истинно, сообщение войдет в блок TEST и пытается перейти к следующему по номеру блоку.

SAVEVALUE BLO4+,1

Значение 1 добавляется к значению переменной BLO4, которая содержит число повторных попыток при не ответе.

ASSIGN 3+,1

К значению параметра с номером 3 добавляется значение 1. Параметр 3 содержит число попыток данного вызова.

ADVANCE X$POFT,FN$EXP

Среднее время пребывания сообщения в блоке ADVANCE задано в ячейке с именем POFT, способ модификации среднего значения задан функцией EXP. Т.о. мы задержали сообщение на время, равное среднему интервалу между вызовами при не ответе абонента.

TRANSFER ,VHO

В данном случае режим выбора следующего блока, к которому должно перейти сообщение (безусловный, статистический…) не указан. Все сообщения переходят к блоку VHO.

EX1 SAVEVALUE SRED+,P3

Значение переменной P3 добавляется к значению переменной SRED, которая содержит сумму повторных попыток.

TEST NE TG1,1,ED1

Сравнивается текущее значение счетчика завершений TG1 (сообщения, вошедшие в блоки TERMINATE с ненулевым операндом А, уменьшают значение этого счетчика на число, равное значению операнда А) с единицей. TG1 должна быть не равна (NE) единице. Если отношение истинно, то транзакт переходит к следующему блоку. Если отношение ложно - к блоку с меткой ED1. Таким образом мы проверили, все ли вызовы (транзакты) мы обслужили.

SPLIT 1,ACT

Создать одну копию входящего сообщения и перейти к блоку с меткой ACT.

0285 TERMINATE 1

Уничтожает транзакт.

ED1 SAVEVALUE RES1,V$PER1

Значение переменной PER1 сохраняется в переменной RES1.

SAVEVALUE RES2,V$PER2

Значение переменной PER2 сохраняется в переменной RES2.

SAVEVALUE RES3,V$PER3

Значение переменной PER3 сохраняется в переменной RES3.

SAVEVALUE RES4,V$PER4

Значение переменной PER4 сохраняется в переменной RES4.

TERMINATE 1

Уничтожает транзакт.

GENERATE 1000

Транзакты будут вводиться в модель через каждые 1000 единиц модельного времени.

SAVEVALUE ADAP,5

Значение 5 сохраняется в переменной ADAP.

TEST G SR1,800,KON

Сравнивается значение коэффициента использования многоканального устройства под номером один (SR1) со значением 800. SR1 должна быть больше (G) 800. Если отношение истинно, то транзакт переходит к следующему блоку. Если отношение ложно - к блоку с меткой KON.

SAVEVALUE ADAP,6

Значение 6 сохраняется в переменной ADAP.

KON TERMINATE

Т.к. поле А пусто, то сообщение уничтожается, а содержимое счетчика не изменяется.

START 500

Оператор START задает значение счетчика завершений при прогоне модели.

В данном случае модель будет прогоняться 500 раз.

REPORT REPORT.GPS

Создаем файл отчета с именем Report.gps.

END

Заканчиваем работу с программой.

Результаты имитационного эксперимента с моделью функционирования цифрового концентратора сведены в таблицу 3.1.

Таблица 3.1 Результаты имитационного эксперимента с моделью функционирования цифрового концентратора


Количество абонентов


30

40

50

60

70

100

Вероятность потери по времени

47,514%

47,713%

47,534%

46,640%

47,553%

48,126%

Вероятность успешного завершения разговора

51,888%

51,689%

51,084%

52,173%

50,293%

50,493%

Среднее число попыток на один вызов

1,38

1,35

1,35

1,37

1,34

1,32

Вероятность блокировки в абонентском тракте

30,491%

30,486%

30,453%

30,272%

30,263%

29,955%


3.3 Руководство к использованию программы


. Включите компьютер.

. В случае если программа находится на жестком диске - перейдите к пункту 5. В противном случае - к пункту 3.

. Вставьте дискету с программой в дисковод.

. Скопируйте программу имитации цифрового концентратора на жесткий диск, в директорию GPSS:

Copy <путь к файлу на дискете> <путь к директории GPSS>

Например:a:\Concent.gps c:\Gpss\

5. Перейдите в директорию GPSS.

. Запустите файл "Gpsspc.exe".

. В окне ввода, после знака приглашения (">") наберите команду

@<имя файла>

и нажмите клавишу "Enter". Например:

@Concent.gps <Enter>

. По окончании работы программы введите команду

END

для завершения работы с GPSS.

. Для изменения получаемых результатов измените количество абонентов в подсети (строка 0010). Сделать это можно в любом текстовом редакторе. Таким образом, изменяя количество абонентов можно получать новые статистические данные относительно вероятности потерь по времени, вероятности успешного разговора, среднего числа попыток на один вызов и вероятности блокировки в абонентском тракте.

4. Бизнес-план


4.1 Продукция


Предлагаемым продуктом разработки является программа имитационной модели функционирования цифрового концентратора.

Она может использоваться как для оценки работы реального концентратора при заданных условиях и сбора статистических данных (поступающая нагрузка, вероятность успешного разговора, занятость ИКМ-тракта и т.д.) так и для обучения молодых специалистов.

Данная программа может работать на любых персональных ЭВМ типа IBM, не требуя при этом мощных вычислительных машин, что является весьма положительным качеством, так как не каждая организация имеет мощные ЭВМ.

4.2 Рынок


Данная программа является весьма специфичной и очень необходимой в данный момент.

В качестве потенциальных потребителей данной продукции могут выступать компании и фирмы, занимающиеся разработкой и внедрением средств связи, а также высшие учебные заведения, занимающиеся обучением специалистов в области электросвязи.

Так как на сегодняшний день данная продукция не имеет аналогов на рынке Казахстана, следовательно, не имеет конкурентов. Единственной проблемой является нелегальное распространение программы, но это решается использованием защиты от несанкционированного включения.

 

4.3 Менеджмент


Персонал, занимающийся непосредственной разработкой программы, состоит из инженера и руководителя.

Время, затраченное разработчиками на разработку программы, указано в таблице 4.1

Таблица 4.1 Перечень выполняемых работ

Выполняемые работы

 Объем, дней

 Исполнитель

Постановка задачи, подготовка исходных данных

1

руководитель

Выдача задания и исходных данных

1

руководитель

Ознакомление с заданием

1

инженер

Сбор материала

3

инженер

Обработка исходных данных

1

инженер

Обзор литературы

2

инженер

Разработка плана работ

2

руководитель

Составление графика проведения работ

1

Руководитель инженер

Анализ общих вопросов

1

инженер

Проведение подготовительных работ

2

инженер

Изучение методов проведения работ

3

Руководитель инженер

Описание процедур и детализация

2

Руководитель инженер

Освоение методов математического моделирования

10

инженер

Математическое моделирование задачи

3

руководитель

Проведение специальных расчетов

3

инженер

Разработка алгоритма и отладка

3

инженер

Проведение практических работ и получение результатов

2

инженер

Обработка первичных результатов

1

инженер

Разработка программы расчета

2

инженер

Обработка вторичных результатов

1

инженер

Анализ результатов

2

инженер

Подготовка письменных материалов

2

инженер

Проведение консультаций

3

руководитель

Оформление отчета

5

инженер

Доработка отчета

2

руководитель

Сдача и предварительная проверка отчета

1

Руководитель инженер

Итого

67


4.4 Потребности в финансировании


Разработка программы является весьма сложным процессом, требующим большого количества времени и усилий. Приведем расчет стоимости разработки программы.

Труд разработчиков оплачивается согласно штатного расписания.

Далее определяется количество исполнителей (табл. 4.2).

Таблица 4.2 Количество исполнителей

Исполнитель

Количество, человек

Заработная плата, тенге

Руководитель

1

20000

Инженер

1

15000

Итого

2

35000


Для определения стоимости человеко-дня, месячный должностной оклад, приведенный в таблице 4.2, делится на среднемесячное количество рабочих дней - 24 дня.

Для руководителя:

T = 20000/24 = 833.33 тенге,

для инженера - исполнителя задания:

Т = 15000/24 = 625 тенге.

Таблица 4.3 Трудозатраты

Исполнитель

Дневная зарплата, тенге

Трудоемкость, чел/день

Сумма, тенге

Руководитель

833.33

19

15833.27

Инженер

625

48

30000

Основная заработная плата определяется как сумма оплаты труда всех исполнителей [7]:

Зосн = å (Зо* Ti); (4.1)

Зосн = 833.33*19 + 625*48 = 15833.27 + 30000 = 45833.27 тенге

Дополнительная заработная плата составляет 10% от основной заработной платы [7]:

Здоп = Зосн*10 / 100; (4.2)

Здоп = 45833.27*10 / 100 = 4583.33 тенге

Фонд оплаты труда (ФОТ) складывается из основной и дополнительной заработной платы [7]:

ФОТ = Зосн + Здоп ; (4.3)

ФОТ = 45833.27 + 4583.33 = 50416.6 тенге

Отчисления на социальное страхование (Сс) берутся в размере 26% от ФОТ [7].

Осс = ФОТ * 26 / 100; (4.4)

Осс = 50416.6 * 26 / 100 = 13108.32 тенге

После определения размера ФОТ требуется рассчитать себестоимость научно-исследовательских работ с учетом нетрудовых затрат на материалы. Таблица 4.4 содержит статьи расходов и конечную смету затрат.

Амортизационные отчисления берутся исходя из того, что стоимость компьютера, на котором разрабатывалась программа, и принтера составляет 1000 долларов США. Средний курс покупки одного доллара США составляет 147 тенге. С учетом того, что норма амортизации берется в размере 30% в год, амортизационные отчисления за 12 рабочих дней составляют [7]:


Стоимость машинного времени - 147 тенге в час, и т.к. инженер затратил 12 дней по 6 часов, то стоимость машинного времени за 72 часа составит [7]:

Смв = 72час*147тенге/час = 10584 тенге.

Затраты на электроэнергию рассчитываются по следующей формуле:


где W - потребляемая мощность;

T - количество часов работы оборудования;

S - стоимость киловатт-часа электроэнергии.

W = 4 кВт; T = 12*6=72 ч; S = 4,83 тенге/кВт× час.

Э = 4*72*4.83 = 1391.04тенге

Кроме того, в смету затрат следует включить также затраты на оформление программного обеспечения. В данные затраты входит стоимость дискеты, инструкции и упаковки.

Таким образом:

Зоф = Здиск + Зинст + Зупак ; (4.7)

Зоф = 80 + 40 + 50 = 170 тенге

Сумма затрат состоит из фонда оплаты труда разработчиков, отчислений в фонд социального страхования, амортизации оборудования и затрат на электроэнергию и материалы [7]:

З = ФОТ + Осс + А + Э + Смв + Зоф; (4.8)

З = 50416.6 + 13108.32 + 2004.55 + 1391.04 + 10584 +170 = 77674.51 тенге

Смета затрат приведена в таблице 4.4.

Таблица 4.4 Смета затрат на проведение НИР

Наименование статей затрат

Сумма, тенге

ФОТ

50416.6

Отчисления в социальное страхование

13108.32

Амортизация

2004.55

Затраты на электроэнергию

1391.04

Стоимость машинного времени за 72 часа

10584

Затраты оформления

170

Итого: 77674.51


4.5 Цена реализации


Лимитная цена программы складывается из себестоимости разработки программы и чистого дохода [7]:

Цл = С + П; (4.9)

Прибыль, т.е. рентабельность, рассчитывается как 40% от себестоимости программы [7]:

П = 40 * С / 100; (4.10)

П = 40 *77674.51 / 100 = 31069.81 тенге

Цл = 81558.24 + 32623.3 = 108744.32 тенге

Цена реализации, с учетом налога на добавленную стоимость (НДС) в размере 20% от стоимости программы, вычисляется по формуле [7]:

Цр = Цл + НДС, (4.11)

НДС = 20 * Цл / 100, (4.12)

НДС = 20 * 108744.32 / 100 = 21748.87 тенге

Таким образом, цена реализации программы:

Цр = 108744.32 + 21748.87 = 130493.19 тенге

4.6 Экономическая эффективность от внедрения программного обеспечения


4.6.1 Расчет затрат до внедрения программного продукта

На производстве решение данной задачи осуществляется одним человеком. До внедрения предоставляемого программного продукта, инженер занимаясь решением данной задачи, затрачивает на ее реализацию один рабочий день, т.е. восемь часов.

Затраты на решение задачи без использования программы рассчитываются по формуле [7]:

Затр = Кмаш + ЗП , (4.13)

где ЗП - зарплата в год инженера, занимающегося решением данной задачи,

Кмаш - годовые затраты машинного времени на решение задачи.

Заработная плата инженера за год, учитывая расчет вручную, определяется по формуле [7]:

ЗП = Q * N * 12, (4.14)

где Q - оклад инженера,

N - количество человек,

ЗП = 15000 * 1 * 12 = 180000 тенге,

Исходя из того, что иженер тратит на решение данной задачи по восемь часов четыре раза в месяц, а за год, соответственно, 384 часа, то годовые затраты машинного времени на решение задачи определяются [7]:

Кмаш = tg * q, (4.15)

где tg - количество часов использования ПЭВМ в год,

q - стоимость часа машинного времени.

Кмаш = 384 * 147 = 56448 тенге,

Затр = 56448 + 180000 = 236448 тенге,

4.6.2 Расчет затрат после внедрения программного продукта

После внедрения программы инженер станет тратить пять минут на решение задачи. Следует заметить, что это вызовет огромную экономию машинного времени, и, соответственно, связанные с этим затраты.

Отметим, что пять минут, затраченные по четыре раза в месяц, за год составят 4 часа.

Годовые затраты машинного времени на решение задачи определяются

Кмаш = tg * q, (4.16)

где tg - количество часов использования ПЭВМ в год,

q - стоимость часа машинного времени.

Кмаш = 4 * 147 = 588 тенге,

Годовая заработная плата работника отдела, останется прежней.

Суммарные затраты после внедрения программы определяются [7]:

Затр = Кмаш + ЗП, (4.17)

З’атр = 588 + 180000 = 180588 тенге.

4.6.3 Расчет экономии затрат от внедрения программного обеспечения

Расчет экономии затрат от внедрения нового программного продукта. Экономия затрат от внедрения программы определяется [7]:

Э = Затр - З’атр, (4.18)

где Затр - затраты до внедрения программы,

З’атр - затраты после внедрения программы.

Э = 236448 - 180588 = 55860 тенге.

На основе проведенных выше вычислений можно сказать о том, что внедрение данного программного продукта позволит получить социально-экономический эффект.

В результате внедрения программного продукта возрастает производительность и качество труда, вызванные путем сокращения времени на выполнение рабочего процесса. Основная экономия ощущается в машинном времени. Нужно отметить, что данная экономия будет при решении одной задачи, а поскольку таких задач, непосредственно связанных со статистикой, очень много, то в целом экономия от внедрения данного программного продукта намного возрастает.

5. Безопасность жизнедеятельности


Тема дипломной работы: "Моделирование работы концентратора в сети ISDN". Основной целью проекта является разработка программного продукта, имитирующего работу цифрового концентратора.

Данная программа предназначена для установки в компьютерном классе. В классе работают 10 человек, рабочий день с 900 до 1700. Поскольку оператор весь рабочий день взаимодействует непосредственно с ЭВМ, то очень важно правильно организовать его рабочее место. С точки зрения учета человеческого фактора рабочее место оператора обладает рядом эргономических свойств и показателей. Эргономичность связана с показателями производительности, надежности и экономичности эксплуатации. Поэтому при конструировании и размещении рабочих мест предусмотрим меры, предупреждающие или снижающие преждевременное утомление работающего человека, предотвращающие возникновение у него психофизиологического стресса, а также появление ошибочных действий. Такая конструкция рабочего места будет обеспечивать быстроту, безопасность, простоту и экономичность технического обслуживания, полностью отвечать функциональным требованиям и предполагаемым условиям эксплуатации.

На случай возникновения пожара в операторском зале, предусмотрим средства тушения пожара. Подберем огнетушители, рассчитаем их количество, установим пожарные извещатели.

В операторских залах предъявляются определенные требования к вентиляции и кондиционированию воздуха. Поэтому предусмотрим, чтобы в зал подавалось достаточное количество наружного воздуха на одного человека; кондиционирование воздуха обеспечивало автоматическое поддержание параметров микроклимата в необходимых пределах в течение всех сезонов года, очистку воздуха от пыли, создавало небольшое избыточное давление в чистых помещениях для исключения поступления неочищенного воздуха.

К операторскому залу предъявляются определенные требования к освещенности. Условия искусственного освещения оказывают большое влияние на зрительную работоспособность, физическое и моральное состояние людей, а, следовательно, на производительность труда и производственный травматизм. Поэтому подберем такое освещение, которое будет обеспечивать комфортную световую среду для труда, создавать нормальные условия для работы и учебы.

Такое освещение будет:

·   создавать благоприятные условия труда;

·   соответствовать гигиеническим нормам;

·   равномерно распределять яркость на рабочей поверхности и в пределах окружающего пространства;

·   устранять резкие тени на рабочей поверхности;

·   устранять блескость (прямую и отраженную) в поле зрения;

·   обеспечивать необходимый спектральный состав света для правильной цветопередачи.

В качестве источников света при искусственном освещении в операторском зале, будем применять люминесцентные лампы.

Исходя из вышеуказанного, в данном разделе дипломной работы сделаем следующее:

·   рассмотрим вопросы рациональной организации рабочего места оператора;

·   подберем огнетушители, рассчитаем их количество, установим пожарные извещатели;

·   рассчитаем искусственное освещение операторского зала двумя методами: методом коэффициента использования и точечным методом;

·   рассчитаем систему вентиляции и подберем кондиционер.

5.1 Рациональная организация рабочего места оператора

При конструировании рабочего места оператора создадим следующие условия: достаточное рабочее пространство для работающего человека, позволяющее осуществлять все необходимые движения и перемещения при эксплуатации и техническом обслуживании оборудования; достаточные физические, зрительные и слуховые связи между работающим человеком и оборудованием, а также между людьми в процессе выполнения общей трудовой задачи; оптимальное размещение рабочих мест в производственных помещениях, а также безопасные и достаточные проходы для работающих людей; необходимое естественное и искусственное освещение для выполнения трудовых задач, технического обслуживания; допустимый уровень акустического шума и вибрации, создаваемых оборудованием рабочего места или другими источниками шума и вибрации [8].

На рабочем месте оператора используем:

·   средства отображения информации индивидуального пользования (дисплей);

·   средства ввода информации (клавиатура, различные манипуляторы);

·   средства связи и передачи информации (телефонный аппарат, модем);

·   средства документирования и хранения информации (принтеры, дисковые накопители);

·   вспомогательное оборудование.

Рабочее место оператора (см. рис. 5.1) организуем следующим образом [8]. Дисплей разместим на столе так, чтобы расстояние наблюдения информации на экране было в пределах 450-500 мм. Экран дисплея расположим так, чтобы угол между нормалью к центру экрана и горизонтальной линией взгляда составлял 200. Клавиатуру расположим на столе или подставке так, чтобы высота клавиатуры по отношению к полу составляла 650-800 мм, наклон клавиатуры сделаем в пределах 5-100. При размещении компьютера на стандартном столе используем кресло с регулируемой высотой сиденья (от 380 до 450-500 мм) и подставку для ног.

Рис. 5.1 Рациональная организация рабочего места оператора

Средства документирования расположим справа от оператора в зоне максимальной досягаемости, а средства связи - слева, чтобы освободить правую руку для записей.

Экран дисплея, документы и клавиатура расположим так, чтобы перепад яркостей поверхностей, зависящий от их расположения относительно источника света, не превышал 1:10 (оптимально 1:3).

5.2 Выбор огнетушителей, расчет их количества, установка пожарных извещателей


Для тушения пожаров используем порошковые огнетушители ОП-5 объемом 7 л. Они являются хорошими диэлектриками и быстро тушат пожар. В виду того, что такие огнетушители со временем слеживаются, будем производить их замену каждый год.

Согласно СНиП на каждые 100 м2 необходимо устанавливать один огнетушитель. Поскольку у нас помещение размером 5х10 и общая площадь, таким образом, составляет 50 м2, то для тушения пожаров установим один порошковый огнетушитель. Расположение огнетушителя показано на рисунке 5.2

В качестве пожарного извещателя установим ПКИЛ-9 - ручной пожарный извещатель. Он устанавливается на лестничных площадках и в коридорах и окрашивается в красный цвет. При обнаружении пожара следует разбить защитное стекло и нажать кнопку, которая замыкает электрическую цепь и на приемной станции раздается звуковой сигнал. Расположение извещателя показано на рисунке 5.2

Для предупреждения пожаров все токоведущие части монтируем на негорючих основаниях (мрамор, текстолит, гетинакс, асбест и т.п.).

5.3 Расчет системы искусственного освещения


Дано:

длина помещения А = 10 м;

ширина помещения В = 5 м;

высота помещения Н = 3 м;

высота рабочей поверхности hР = 0,8 м;

разряд зрительной работы III (высокой точности).

Для операторского зала рекомендована люминесцентная лампа ЛБ40-4 (белого цвета), мощностью 40 Вт, световым потоком 3000 лм, диаметром 40 мм и длиной со штырьками 1213,6 мм (таблица 2-12, [9]).

Определим наивыгоднейшее расстояние между светильниками [9]:  м, (5.1)

где  =1,2  1,4;

h = H - hР = 3 - 0,8 = 2,2 м.

По этим данным находим, что наивыгоднейшее расстояние между светильниками равно:

 м.

Рассчитаем число рядов светильников [10]:

 (5.2)

где B - ширина помещения, В = 5 м;

Z - расстояние между светильниками, Z = 3,08 м.

Отсюда:

 м.

Следовательно светильники будем располагать в два ряда.

Определим число светильников [10]:

, (5.3)

где Е - заданная минимальная освещенность светильника. Для персонала работающего с ЭВМ Е = 400 лк;

Кз - коэффициент запаса, учитывающий запыление и износ источников света в процессе эксплуатации. Кз = 1,5;

S - освещаемая площадь, S = 50 м ;

Z - коэффициент неравномерности освещения, Z = 1,4;

 - коэффициент использования;

ФЛ - световой поток лампы, ФЛ = 3000 лм.- число ламп в светильнике.

Нам неизвестен коэффициент использования, для его нахождения определим индекс помещения [10]:

 (5.4)

Т.к. у нас побеленный потолок, побеленные стены с окнами, закрытыми белыми шторами, то коэффициенты отражения будут следующими [9]):

p пот = 50%;

р ст = 30%;

р пол = 20%.

Следовательно, коэффициент использования  = 54% (таблица 5-20).

В качестве светильника возьмем ЛСП02 рассчитанный на 2 лампы мощностью 40 Вт, диаметром 40 мм и длиной со штырьками 1213,6 мм. Длина светильника 1234 мм, ширина 276 мм.

Таким образом:

 светильников.

Т.е. у нас 12 светильников расположенных в два ряда, в каждом ряду по шесть светильников, в каждом светильнике по 2 лампы.

Проверку расчета произведем точечным методом.

Линейные размеры излучателей в данном случае равны 1213,6 мм и превышают высоту 0,5 м установки. В данном случае они рассматриваются как светящиеся линии.

Кривые линии изолюкс построены в координатной системе [10]:

(P1 - L1) (5.5)

где ; (5.6)

; (5.7)

где L - общая длина светящихся линий;

P = 1,5;h = 2,4;L = 9,75.

Таким образом, подставив данные в формулы, получим:

;

.

Для обеспечения в данной точке заданной освещенности ЕН, необходимо иметь удельный световой поток Ф. Световой поток в каждом светильнике определяется по формуле [10]:

, (5.8)

где  - коэффициент, учитывающий отражение составляющих света и действие удаленных светильников и составляет 1,1 - 1,2;

 - суммарная условная освещенность в контрольной точке (выбираются точки, где имеет наименьшее значение). = 40х2 = 80;ЕУ - определяется по графику пространственных изолюкс, ЕУ = 40.

Таким образом, подставив данные в формулы, получим:

 лм.

Поскольку необходимый световой поток ламп каждого светильника не должен отличаться от требуемого на -10% или +20%, то можно сделать вывод, что расчет верен.

Итого, для создания нормированной освещенности нам понадобится 24 лампы в 12-ти светильниках располагающихся в два ряда, в каждом ряду по 6 светильников, в каждом светильнике по 2 лампы.

Рис. 5.2 Схема искусственного освещения

1 - кондиционер (внешний блок);6 - люминесцентная лампа;

- кондиционер (внутренний блок);7 - огнетушитель;

- стена;8 - дверь;

- окно;9 - пожарный извещатель.

- рабочее место;

 

5.4 Расчет системы вентиляции


Найдём требуемое количество подаваемого воздуха по фактору "тепловыделение". Оно рассчитывается по формуле [8]:

, (5.9)

где = tУДАЛ - tПОСТ,

tУДАЛ - температура удаляемого воздуха;

tПОСТ - температура поступающего воздуха;

СВ - теплоемкость воздуха, СВ = 0,24 ккал/кг*0С;

 - удельная масса приточного воздуха,  = 1,206 кг/м3.

QИЗБ - избыточное тепло.

Избыточное тепло найдем из выражения [8]:

QИЗБ = QОБ + QЛ + QР - QОТД, (5.10)

где QОБ - тепло, выделяемое офисным оборудованием;

QЛ - тепло, выделяемое людьми;

QР - тепло, вносимое солнечной радиацией;

QОТД - теплоотдача в окружающую среду.

Значения QР и QОТД примерно равны и взаимно компенсируются. Поэтому избыточное тепло образутся только за счёт людей и оборудования.

Тепло, выделяемое людьми, найдём по формуле [8]:

, (5.11)

где КЛ - количество людей в помещении, КЛ = 10;

q - тепло, выделяемое одним человеком, q = 250 ккал/ч;

qПОГЛ - тепло, поглощаемое одним человеком, qПОГЛ = 140 ккал/ч.

Отсюда находим:

 ккал/ч.

Рассчитаем количество тепла, выделяемого офисным оборудованием. В классе расположено 10 персональных компьютеров. Каждый компьютер имеет мощность 230 Вт. Общая мощность компьютеров составляет 10*230=2300 Вт = = 2,3 кВт. Также имеется один принтер с потребляемой мощность 50 Вт. Общая потребляемая мощность офисной техники равна 2,35 кВт.

Тепло, выделяемое офисным оборудованием рассчитаем по формуле:

, (5.12)

где 860 - тепловой эквивалент 1 кВт/час;

РОБ - потребляемая мощность, РОБ = 2,35 кВт;

η - коэффициент перехода тепла в помещение, η = 0,95.

Подставив все значения в формулу, находим:

 ккал/ч.

Рассчитаем теплонапряженность воздуха по формуле [8]:

, (5.13)

где VП - объем помещения, VП = 150 м3.

QИЗБ = QЛ + QОБ = 1100 + 1919,95 = 3019,95 ккал/ч.

Таким образом, подставив все данные в формулу, получим:

 ккал/м3.

Т.к. QН > 20 ккал/м3, то = 8 0С.

Найдём требуемое количество подаваемого воздуха:

 м3/ч.

Рассчитаем кратность воздухообмена по формуле [8].

, (5.14)

где L - требуемое количество подаваемого воздуха, L = 1304,22 м3/ч;

V - объем помещения, V = 150 м3.

Таким образом, кратность воздухообмена равна:

 1/час.

Т.о. нам необходим кондиционер, создающий воздухообмен 1304 м3/ч.

Установим в операторском зале один настенный кондиционер DELONGHI CP 30, рассчитанный на 130 м2 (расположение кондиционера показано на рисунке 5.2). Данный кондиционер создает воздухообмен 1300 м3/ч, создает в помещении воздушную среду с температурой 17-26 0С и влажность 40-70%, удаляет из помещения избыточную влагу и тепло, снабжен таймером, термостатом, бактерицидным фильтром и автоматическим климат контролем. Электропитание кондиционера 230 В, 5 А, 50 Гц; максимальный уровень шума 38 дБ; внутренний блок: длина 810 мм, высота 300 мм, глубина 200 мм; внешний блок: длина 650 мм, высота 500, глубина 210 мм [11].

Заключение


В данной дипломной работе были рассмотрены основные функции цифрового концентратора, разработан алгоритм и программное обеспечение имитирующее работу цифрового концентратора. Поскольку данный программный продукт реализован на языке моделирования GPSS, то здесь также рассмотрены основные вопросы моделирования и особенности языка GPSS.

В работе приведен технико-экономический расчет, в котором рассчитаны затраты на разработку данного программного продукта, и рассмотрены вопросы безопасности жизнедеятельности.

Данный программный продукт предназначен для установки в компьютерном классе и способствует закреплению полученных знаний о работе цифрового концентратора.

Список использованных источников


1. Шварц М. Сети связи: протоколы, моделирование и анализ. Пер. с англ. - М.: Наука, 1992.

2. Мартин Дж. Сети связи и ЭВМ. Пер. с англ. - М.: Связь, 1974.

3. Гнатив А. Современная аппаратура концентрации цифровых каналов // Электросвязь. - 2000. Вып. 9. - С. 48-50.

4. Зеленов А. Stinger - новый концентратор доступа DSL для открытой сети следующего поколения // Электросвязь. - 2000. Вып. 5. - С. 46-47.

5. Шрайбер Т. Дж. Моделирование на GPSS. Пер. с англ. - М.: Машиностроение, 1980.

6. Советов Б. Я., Яковлев С. А. Моделирование систем: Лабораторный практикум. - М.: Высш. шк., 1989.

7. Барамысова Г. А. Методические указания к экономической части дипломного проекта. - Алма-Ата, 1990.

8. Баклашов Н. И., Китаева Н. Ж., Терехов Б. Д. Охрана труда на предприятиях связи и охрана окружающей среды. - М.: Радио и связь, 1989.

9. Кнорринг Г. М. Справочная книга для проектирования электрического освещения. - Л.: Энергия, 1976.

10.Кошулько Л. П. Методические указания к выполнению раздела "Охрана труда" в дипломном проекте. - Алма-Ата, 1989.

11.Системы вентиляции и кондиционирования. / Ананьев В. А., Галоперин А. Д., Городов А. К., Еремин М. Ю., Звягинцева С. М., Мурашко В. П., Седых И. В. - М.: Евроклимат, 2000.

Приложение




Похожие работы на - Цифровой концентратор

 

Не нашли материал для своей работы?
Поможем написать уникальную работу
Без плагиата!
Без нейросетей!