Техническое обслуживание и ремонт автомобиля ВАЗ 21213
ВВЕДЕНИЕ
Ремонт - процесс восстановления и поддержания работоспособности
автомобиля путем устранения отказов и неисправностей, возникающих в работе или
выявленных при техническом обслуживании.
Ремонтные работы выполняют по потребности, т. е. после появления отказа
или неисправности, или по плану - через определенный пробег или время работы
автомобиля (предупредительный ремонт).
Положением о техническом обслуживании и ремонте подвижного состава
автомобильного транспорта предусматриваются два вида ремонта: капитальный (КР),
производимый на специализированных ремонтных предприятиях, и текущий (TP),
выполняемый в автотранспортных предприятиях или станциях технического
обслуживания.
Ремонт включает контрольно-диагностические, разборочные, сборочные,
регулировочные, слесарные, медницкие, кузнечные, сварочные, жестяницкие,
обойные, электротехнические, шиноремонтные, малярные и другие работы. Ремонт
может выполняться по отдельным агрегатам и сборочным единицам (узлам), а также
по автомобилю в целом.
Для поддержания машин, механизмов и оборудования в исправном состоянии
своевременно проводят их ремонт. Ремонты проводятся по мере естественного
износа деталей в сроки, установленные практикой эксплуатации машин и механизмов
данного типа, а также в случае аварии.
При текущем ремонте восстанавливают заменяя отслужившие свой срок или
вышедшие из строя детали, узлы или агрегаты новыми или отремонтированными.
Текущий ремонт предусматривает в основном выполнение разборочно-сборочных
операций и незначительного объема слесарных и сварочных работ. TP проводят при
очередном ТО. В случае аварии или поломок TP выполняют безотлагательно.
При капитальном ремонте восстанавливают и частично заменяют основные узлы
и детали машин и механизмов. Ремонтные работы выполняют в специальных ремонтных
мастерских. При текущем ремонте машину частично разбирают, устраняют
неисправности и заменяют отдельные детали (кроме базовых) новыми или заранее
отремонтированными. Текущий ремонт проводят на рабочем месте или на ремонтных
заводах.
1. ОБЩАЯ ЧАСТЬ
.1 Краткая характеристика автомобиля ВАЗ 21213
ВАЗ-21213 - легковой автомобиль повышенной проходимости. Все колеса -
постоянно ведущие (не отключаемый полный привод), есть режим блокировки
межосевого дифференциала. Техническая характеристика ВАЗ 21213 приведена в
таблице 1, внешний вид в рисунке 1.
Таблица 1 - Технические характеристики автомобиля
|
Параметры
|
ВАЗ-21213
|
|
1
|
2
|
|
Количество мест
|
5
|
|
Масса снаряженного
автомобиля, кг
|
1210
|
|
Полезная нагрузка, кг
|
400
|
|
Тормозной путь с
разрешенной максимальной массой со скорости 80км/ч на участке сухого
асфальтированного шоссе, не более, м
|
|
|
при использовании рабочей
тормозной системы
|
40
|
|
при использовании запасной
системы
|
90
|
|
Максимальная скорость на
высшей передачи, км/ч
|
|
|
с водителем и пассажиром
|
137
|
|
с полной нагрузкой
|
135
|
|
Время разгона до скорости
100 км/ч, с:
|
|
|
с водителем и пассажиром
|
19
|
|
с полной нагрузкой
|
21
|
|
Двигатель
|
|
Тип
|
четырехтактный, бензиновый,
карбюраторный
|
|
Число и расположение
цилиндров
|
4 в ряд
|
|
Диаметр цилиндра и ход
поршней, м
|
82х80
|
|
Рабочий объем, л
|
1,69
|
|
Степень сжатия
|
9,3
|
|
Трансмиссия
|
|
Сцепление
|
однодисковое, сухое,
|
|
Привод выключения сцепления
|
гидравлический
|
|
Коробка передач
|
пятиступенчатая
|
|
Раздаточная коробка
|
двухступенчатая
|
|
Карданные передачи
|
|
|
от КПП к РК
|
эластичной муфтой
|
|
от КПП к мостам
|
с двумя шарнирами и вилками
|
|
Главные передачи
|
конические, гипоидные
|
|
Ходовая часть
|
|
Подвеска передних колес
|
независимая с
цилиндрическими пружинами, гидравлическими амортизаторами и стабилизатором
поперечной устойчивости
|
|
Подвеска задних колес
|
жесткая балка, связанная с
кузовом штангами с цилиндрическими пружинами и гидравлическими амортизаторами
|
|
Шины
|
камерные, диагональные или
радиальные
|
|
Колеса
|
дисковые, штампованные
|
|
Рулевое управление
|
|
Рулевой механизм
|
глобоидальный червяк с
двухгребневым роликом
|
|
Рулевой привод
|
одна средняя и две боковых
тяги, сошка и рычагов
|
|
Тормоза
|
|
Передний тормозной механизм
|
дисковый, с суппортом и
автоматической регулировкой зазора
|
|
Задний тормозной механизм
|
барабанный, с
самоустанавливающимися колодками
|
|
Тормозной привод
|
ножной, гидравлический,
двухконтурный
|
|
Электрооборудование
|
|
Схема электрооборудования
|
однопроводная,
отрицательный полюс источник питания подключен к массе
|
|
Номинальное напряжение, В
|
12
|
|
АКБ
|
6СТ-55А, зарядом 55 А-ч
|
|
Генератор
|
постоянного тока
|
|
Стартер
|
с дистанционным управлением
и муфтой свободного хода
|
Рисунок 1 - Основные габаритные размеры ВАЗ 21213
.2 Обоснования метода ремонта агрегатов и узлов автомобиля
Ремонт-процесс восстановления и поддержания
работоспособности автомобиля путем устранения отказов и неисправностей,
возникающих в работе или выявленных при техническом обслуживании. Ремонтные
работы выполняют по потребности, т. е. после появления отказа или
неисправности, или по плану - через определенный пробег или время работы
автомобиля (предупредительный ремонт).
Предупредительный ремонт рекомендуется применять для
автобусов, автомобилей-такси, автомобилей скорой медицинской помощи, пожарных и
других автомобилей, к которым предъявляются повышенные требования безопасности
движения и безотказности в работе.
Положением о техническом обслуживании и ремонте
подвижного состава автомобильного транспорта предусматриваются два вида
ремонта: капитальный (КР), производимый на специализированных ремонтных
предприятиях, и текущий (TP), выполняемый в автотранспортных предприятиях или
станциях технического обслуживания. Ремонт включает контрольно-диагностические,
разборочные, сборочные, регулировочные, слесарные, медницкие, кузнечные,
сварочные, жестяницкие, обойные, электротехнические, шиноремонтные, малярные и
другие работы. Ремонт может выполняться по отдельным агрегатам и сборочным
единицам (узлам), а также по автомобилю в целом.
Капитальный ремонт предназначен для восстановления
работоспособности автомобилей и агрегатов и обеспечения пробега до следующего
капитального ремонта (или списания) не менее 80% от нормы для новых автомобилей
и агрегатов. Капитальный ремонт агрегата предусматривает его полную разборку,
дефектовку (контроль и сортировку деталей по годности), восстановление и замену
изношенных деталей, сборку, регулировку, и испытание.
Полнокомплектный автомобиль за срок его службы
подвергается, как правило, одному капитальному ремонту, не считая капитального
ремонта агрегатов и сборочных единиц ( узлов) до и после капитального ремонта
автомобиля.
Текущий ремонт предназначен для устранения отказов и
неисправностей и способствует выполнению установленных норм пробега до
капитального ремонта при минимальных простоях. Он должен обеспечить безотказную
работу отремонтированных агрегатов и сборочных единиц (узлов) в течение
пробега, не меньшего, чем пробег до очередного ТО-2.
Ремонт автомобилей может проводиться обезличенным или
не обезличенным методом. При не обезличенным методе снятые агрегаты после их
ремонта устанавливают на тот же автомобиль, при этом время простоя автомобиля в
ремонте увеличивается на период времени, необходимого для ремонта его
агрегатов.
Сущность обезличенного метода ремонта состоит в том,
что неисправные или требующие капитального ремонта агрегаты и сборочные единицы
(узлы) заменяют исправными. Этот метод позволяет сократить время простоя
автомобиля в ремонте, повысить производительность парка и снизить себестоимость
транспортной работы. Поэтому, как правило, текущий ремонт на крупных
предприятиях выполняют этим методом.
Ремонт раздаточной коробки автомобиля ВАЗ 21213
проводим не обезличенным методом на универсальных рабочих постах.
2. ТЕХНИЧЕСКИЙ ПРОЦЕСС РАЗБОРКИ, СБОРКИ РАЗДАТОЧНОЙ
КОРОБКИ ВАЗ 21213
.1 Назначение, техническая характеристика, устройство
и работа раздаточной коробки ВАЗ 21213
Раздаточная коробка служит для изменения величины
крутящего момента и распределения его между передним и задним мостами. Коробка
имеет две передачи с передаточными числами 1,200 и 2,135. Передний и задний
мосты приводятся постоянно и связаны межосевым дифференциалом,
перераспределяющим крутящий момент между ними в зависимости от сопротивления
движению колес. Для повышения проходимости автомобиля дифференциал можно
блокировать, при этом передний и задний приводные валы становятся жестко
связанными между собой.
Корпусные детали раздаточной коробки отлиты из
алюминиевого сплава и соединены между собой шпильками и гайками. В верхней
части картера выполнен лючок, закрытый штампованной стальной крышкой. Передняя
крышка центрируется на картере по двум установочным штифтам. Между крышками и
картером расположены картонные прокладки. Все валы (в том числе и валик привода
спидометра), а также штоки вилок переключения передач и блокировки
дифференциала уплотнены сальниками. В передней крышке выполнены два отверстия -
заливное (оно же контрольное) и сливное.
Ведущий вал установлен на двух шариковых подшипниках в
гнездах передней крышки и картера. Внутреннее кольцо переднего подшипника
зажато между буртиком вала и упорным кольцом самоконтрящейся гайкой фланца
вала. Внутреннее кольцо заднего подшипника зажато между буртиком вала и упорной
шайбой гайкой на заднем конце вала. Гайку стопорят, вдавливая ее кромку в пазы
на валу. Ведущий вал зафиксирован от осевого смещения установочным кольцом в
проточке на внешнем кольце заднего подшипника и зажатым между картером и задней
крышкой. На ведущем валу расположены две ведущие шестерни. Передняя (большая) -
высшей передачи, она свободно вращается на термообработанной шейке вала. Задняя
(меньшая) - низшей передачи - свободно вращается на термообработанной втулке,
установленной на валу с натягом. Шестерни имеют по два венца. Косозубые
(большие) венцы находятся в постоянном зацеплении с соответствующими шестернями
промежуточного вала, а с прямозубыми (малыми) соединяется муфта переключения
передач при включении передачи. Муфта перемещается по ступице, жестко
посаженной на шлицах вала между ведущими шестернями. В среднем положении муфты
обе передачи выключены «нейтраль» и крутящий момент от двигателя не передается
на колеса.
Промежуточный вал представляет собой блок двух
косозубых шестерен, находящихся в постоянном зацеплении с шестернями ведущего
вала. Передняя шестерня, кроме того, находится в зацеплении и с ведомой
шестерней, закрепленной на корпусе дифференциала.
Промежуточный вал вращается в двух подшипниках:
передний - роликовый, задний - шариковый. От осевого смещения вал зафиксирован
установочным кольцом в канавке наружного кольца заднего подшипника, которое
зажато между картером и задней крышкой (так же, как и у ведущего вала). В
переднем торце вала запрессована стальная ведущая шестерня привода спидометра.
Ведомая шестерня привода спидометра - пластмассовая, установлена на валике,
вращающемся во втулке корпуса привода спидометра. Корпус закреплен на передней
крышке раздаточной коробки.
Вал привода переднего моста передним концом опирается
на шариковый подшипник в картере привода переднего моста, закрепленного на
передней крышке раздаточной коробки. Внутреннее кольцо подшипника зажато между
буртиком вала и упорным кольцом самоконтрящейся гайкой фланца вала. От осевого
смещения подшипник зафиксирован стопорным кольцом, входящим в канавку картера
привода переднего моста. Задний шлицевой конец вала соединен с шестерней
привода переднего моста дифференциала. Прямозубая шестерня на валу служит для
блокировки дифференциала. Конструкция и установка вала привода заднего моста
аналогична, но на нем нет шестерни.
Корпус дифференциала выполнен разъемным, обе его части
соединены шестью болтами. Эти же болты крепят и ведомую шестерню к корпусу
дифференциала. Последний установлен на двух шариковых подшипниках. Внутренне
кольцо переднего подшипника удерживается от смещения распорной пружинной
шайбой, опирающейся на стопорное кольцо в проточке корпуса дифференциала. В
канавку на внешнем кольце подшипника входит установочное кольцо, зажатое между
передней крышкой раздаточной коробки и картером привода переднего моста. Таким
образом, корпус дифференциала удерживается от осевого смещения передним
подшипником; задний подшипник не зафиксирован. На передней части корпуса
дифференциала выполнены шлицы, по которым перемещается муфта блокировки. При
включении блокировки муфта соединяется с шестерней на валу привода переднего
моста, соединяя его с корпусом дифференциала.
В отверстиях корпуса дифференциала установлена ось
сателлитов, удерживаемая двумя стопорными кольцами. Под одним из колец
находится пружинная шайба, препятствующая осевому перемещению оси сателлитов.
Сателлиты (конические шестерни), расположенные на оси, находятся в постоянном
зацеплении с шестернями привода мостов. Между корпусом дифференциала и
сателлитами установлены опорные шайбы. Их толщина подбирается так, чтобы осевой
зазор шестерен привода мостов не превышал 0,10 мм, а момент сопротивления
вращению - 14,7 Н.м.
Управление раздаточной коробкой - ручное, с
механическим рычажным приводом. Задним рычагом водитель переключает передачи,
передним - включает блокировку дифференциала. Конструкция приводов управления
коробкой схожа. Рычаг качается в продольном направлении на оси, установленной в
проушинах кронштейна спереди раздаточной коробки. Для уменьшения трения в
отверстие рычага вставлены пластиковые втулки. Нижний конец рычага входит в паз
штока и фиксируется фигурной пружиной. Другой конец штока соединен с вилкой
соответствующей муфты (переключения передач или блокировки дифференциала) и
стопорится болтом. Шток на выходе из коробки уплотнен сальником и защищен от
пыли резиновым гофрированным чехлом. Для фиксации привода в выбранном положении
служит шариковый фиксатор - подпружиненный шарик входит в пазы на штоках. На
штоке переключения передач их три - для «нейтрали», высшей и низшей передач, на
штоке блокировки дифференциала - два («включено» и «выключено»). В крышку
привода переднего моста ввернут выключатель, замыкающий цепь контрольной лампы
при включении блокировки дифференциала.
При движении автомобиля по дорогам с твердым покрытием
и при хорошем сцеплении колес с полотном дороги следует двигаться на высшей
передаче без блокировки дифференциала. При этом скользящая муфта 8 через
ступицу 7 соединяет ведущий вал 12 с шестерней 6 высшей передачи, и крутящий
момент будет передаваться с ведущего вала и ступицу на муфту 8 включения
передач, затем через шестерню 6 высшей передачи на шестерню постоянного
зацепления промежуточного вала и от нее на ведомую шестерню 29 и корпус 23
дифференциала. Корпус дифференциала через ось 26 и сателлиты 25 передает
крутящий момент на шестерни 24 привода переднего и заднего мостов. Через эти
шестерни крутящий момент передается на валы 22 и 32 привода переднего и заднего
мостов. Величина передаваемого крутящего момента находится в прямой зависимости
от нагрузки на мостах.
Для преодоления крутых подъемов, при движении по
слабым грунтам, а также для получения устойчивой минимальной скорости движения
на дорогах с твердым покрытием, необходимо включить низшую передачу.
Переключать высшую передачу на низшую можно только после полной остановки
автомобиля. При этом скользящая муфта 8 блокирует ведущий вал с шестерней 9
низшей передачи, и крутящий момент от ведущего вала через муфту 8 и шестерню 9
передается на промежуточный вал. От вала 14 крутящий момент передается через
шестерню постоянного зацепления на ведомую шестерню 29, корпус дифференциала и
через ось 26 и сателлиты 25 на шестерни и валы привода переднего и заднего
мостов.
Для преодоления труднопроходимых участков дорог
следует блокировать дифференциал, т.е. соединить скользящей муфтой 31 зубчатый
венец (шлицы) вала 32 привода переднего моста и корпус дифференциала. При этом
дифференциал выключается, т.е. валы привода переднего и заднего мостов будут
вращаться как одно целое, и на оба моста будет передаваться крутящий момент
одной величины, что улучшает проходимость автомобиля.
Рисунок 2 - Устройство раздаточной коробки ВАЗ 21213
1. Сальник; 2. Упорное кольцо переднего подшипника
ведущего вала; 3. Крышка переднего подшипника; 4. Передний подшипник ведущего
вала; 5. Передняя крышка раздаточной коробки; 6. Шестерня высшей передачи; 7.
Ступица муфты включения передач; 8. Муфта включения передач; 9. Шестерня низшей
передачи; 10. Картер раздаточной коробки; 11. Задний подшипник ведущего вала;
12. Ведущий вал; 13. Задняя крышка раздаточной коробки; 14. Промежуточный вал;
15. Задний подшипник промежуточного вала; 16. Задний подшипник корпуса
дифференциала; 17. Установочное кольцо подшипника вала привода заднего моста;
18. Подшипник вала привода заднего моста; 19. Маслоотражатель сальника; 20,
Фланец вала привода заднего моста; 21. Упорное кольцо подшипника; 22. Вал
привода заднего моста; 23. Корпус дифференциала; 24. Шестерня привода заднего
моста;. 25. Сателлит; 26. Ось сателлитов; 27. Стопорное кольцо оси сателлитов;
28. Пружинная шайба; 29. Ведомая шестерня; 30. Стопорное кольцо подшипника
корпуса дифференциала; 31. Муфта блокировки дифференциала; 32. Вал привода
переднего моста; 33. Картер привода переднего моста; 34. Стопорное кольцо
подшипника вала привода переднего моста; 35. Пружинная шайба подшипника
дифференциала; 36. Передний подшипник корпуса дифференциала; 37. Ведомая
шестерня привода спидометра; 38. Корпус привода спидометра; 39. Передний
подшипник промежуточного вала; 40. Коробка передач; 41. Эластичная муфта; 42.
Шарнир равных угловых скоростей; 43. Раздаточная коробка; 44. Регулировочные
прокладки; 45. Кронштейн подвески раздаточной коробки; 46. Кронштейн задней
подвески двигателя.
.2 Технические условия на сборку, разборку раздаточной
коробки ВАЗ 21213
Собрать межосевой дифференциал, совместив метки на его
корпусах, чтобы не нарушить балансировку данного узла.
Пружинную шайбу на оси сателлитов установить со
стороны глухого отверстия на торце оси.
Осевой зазор каждой шестерни привода мостов должен
составлять 0-0,10 мм, а момент сопротивления вращению шестерен не должен
превышать 14,7 Н·м (1,5 кгс·м).
При увеличенном зазоре заменить опорные шайбы другими,
большей толщины; если указанный зазор не удается получить при установке опорных
шайб наибольшей толщины, шестерни замените новыми ввиду их чрезмерного износа.
Ведущий и промежуточный валы устанавливаются в картер
раздаточной коробки одновременно.
Запрессовку подшипников на корпус дифференциала
проводится оправкой 67.7853.9558
Рабочие поверхности сальников перед установкой в
крышки и картеры смазать смазкой Литол-24.
После сборки залить масло в раздаточную коробку до
нижней кромки заливного отверстия.
2.3 Порядок разборки, сборки раздаточной коробке ВАЗ
21213
Промыть раздаточную коробку и слить масло.
Закрепить раздаточную коробку на стенде для разборки и
ослабь гайки крепления фланцев на ведущем валу и на валах привода переднего и
заднего.
Отвернуть гайки крепления и снять картер привода
переднего моста в сборе с крышкой, рычагом, вилкой, муфтой блокировки
дифференциала и с валом привода переднего моста. Снять корпус привода
спидометра в сборе с ведомой шестерней привода спидометра.
Сняв стопорную шайбу, вынуть ось и снять рычаг
блокировки дифференциала. Затем снять крышку картера привода переднего моста и
вынуть пружину и шарик фиксатора. Отвернуть стопорный болт вилки блокировки
дифференциала и вынуть шток, вилку и муфту блокировки. Снять заднюю крышку в
сборе с валом привода заднего моста, следя за тем, чтобы не повредить
уплотнительную прокладку. Затем снять фланцы с ведущего вала и валов привода
переднего и заднего мостов.
Снять установочные кольца подшипников валов привода
переднего и заднего мостов. Вынуть вал привода переднего моста из картера
вместе с подшипником, упорным кольцом и маслоотражателем. Вынуть вал привода
заднего моста из задней крышки вместе с подшипником , упорным кольцом и маслоотражателем.
Снять крышку переднего подшипника ведущего вала и
крышку смотрового люка.
Снять кронштейн рычага переключения передач в сборе с
рычагом. Затем, сняв стопорную шайбу, вынуть ось и снять рычаг.
Отвернуть стопорный болт вилки переключения передач и
осторожно, закрыв пальцем гнездо фиксатора, вынуть шток и детали фиксатора.
Снять переднюю крышку вместе с дифференциалом, затем
установить установочное кольцо подшипника дифференциала и вынуть из передней
крышки подшипник в сборе с дифференциалом.
Снять установочные кольца с задних подшипников
ведущего и промежуточного валов и вынуть из картера раздаточной коробки оба
вала.
Зажав в тиски ведущий вал, снять упорное кольцо и
задний подшипник, используя универсальный съемник. Снять с ведущего вала шестерню
низшей передачи вместе с втулкой, муфту переключения передач, ступицу муфты,
шестерню высшей передачи.
Разобрать дифференциал, для чего нужно снять стопорное
кольцо и пружинную шайбу переднего подшипника.
Снять задний и передний подшипники с корпуса дифференциала.
Отвернуть болты крепления ведомой шестерни
дифференциала, отметить рисками на корпусах дифференциала взаимное их
расположение относительно друг друга и разъединить корпус.
Снять ведомую шестерню дифференциала.
Снять стопорные кольца и пружинную шайбу, затем
выпрессовать ось сателлитов и снять сателлиты и шестерни привода ведущих мостов
с опорными шайбами.
Выпрессовать изношенные или поврежденные сальники из
картера привода переднего моста, из крышки переднего подшипника и из задней
крышки. Отвернуть гайки с осей подушки подвески и снять кронштейны в сборе.
Сборка раздаточной коробки проводится в
последовательности, обратной разборке.
3. ТЕХНОЛОГИЧЕСКИЙ ПРОЦЕСС ВОСТАНОВЛЕНИЯ ПЕРВИЧНОГО
ВАЛА РАЗДАТОЧНОЙ КОРОБКИ ВАЗ 21213
.1 Краткая характеристика первичного вала раздаточной
коробки ВАЗ 21213
Рисунок 3 - первичный вал раздаточной коробки ВАЗ
21213
Первичный вал расположен в верхней части раздаточной
коробки, опирается при этом на подшипники, установленный в корпусе агрегата. На
первичном валу находятся две ведомые шестерни, свободно вращающиеся на валу и
муфта включения передач, жестко связанная с валом, приводящая шестерни в
движение. Вал передает крутящий момент от коробки перемены передач, через муфту
включения передач на шестерню пониженной или повышенной передачи на
промежуточный вал. Вал работает при динамических нагрузках. Масса его
составляет 800 грамм, изготовлен из стали 45. Основной вид износа -
молекулярно-механический. Внешний вид предоставлен на рисунке 3.
В результате работы в детали возникают дефекты,
которые представлены в виде карты дефектации - таблица 2.
Разработаем технологический процесс устранение
дефектов № 3 и 4. Дефект № 3 устраняем наплавкой в среде CO2.
Таблица 2 - Карта дефектации первичного вала
раздаточной коробки ВАЗ 21213
|
Колледж ВТГК
|
КАРТА ДЕФЕКТАЦИЙ
|
|
Литера
|
|
|
|
|
|
|
|
|
|
|
|
Наименование, марка
материала
|
Обозначение изделия
|
Наименование изделия
|
|
|
Вал первичный, сталь 45
ГОСТ 1050-88
|
|
РКП
|
|
|
Номер
|
Наименование, содержание
дефекта
|
Контролируемый параметр
|
Приспособление,
измерительный инструмент Разряд работы
|
Заключение
|
|
|
Номинальный размер
|
Измеренный размер
|
|
|
|
участка
|
дефекта
|
|
|
|
|
|
|
1
|
2
|
3
|
4
|
5
|
6 8 9 10 11
|
7
|
|
1
|
Трещины, сколы
|
|
|
визуально
|
Браковать
|
|
2
|
Изгиб
|
|
|
Призмы, индикатор на штативе
|
Ремонтировать. Правка.
|
|
3
|
Износ поверхности под
подшипник
|
30,00
|
29,70
|
Микрометр 25-50 мм
|
Ремонтировать. Железнение.
|
|
4
|
Износ шлицевой части
|
5
|
4,2
|
Штангензубомер 0,05
|
Ремонтировать. Наплавка в
среде СО2
|
|
5
|
Износ шейки под шестерню
|
40
|
-
|
Микрометр 25-50 мм
|
Ремонтировать. Наплавка в
среде СО2 или железнение.
|
|
6
|
Износ шейки под шестерню
|
40
|
-
|
Микрометр 25-50 мм
|
Ремонтировать. Наплавка в
среде СО2 или железнение.
|
|
7
|
Износ поверхности под
подшипник
|
30,00
|
-
|
Микрометр 25-50 мм
|
Ремонтировать. Наплавка в среде
СО2 или железнение.
|
|
|
|
|
|
|
|
|
|
|
|
|
|
|
|
|
|
|
|
|
|
|
|
|
3.2 Краткая характеристика способов восстановления
.2.1 Краткая характеристика наплавки в среде
углекислого газа
При этом виде сварки защита расплавленного металла от
вредного действия кислорода и азота осуществляется струей углекислого газа,
которая при выходе из сопла газоэлектрической горелки оттесняет от зоны сварки
воздух.
Влияние углекислого газа на качество сварного шва
двойное, с одной стороны он защищает расплавленный металл от кислорода и азота
воздуха, окружающего сварочную дугу, с другой стороны при высокой температуре
дуги он разлагается на окись углерода и кислород и проявляет окисляющее
действие на расплавляемый металл.
В зависимости от применяемого электрода различают
сварку плавящимся и неплавящимся электродами.
Углекислый газ для сварки получается из жидкой
углекислоты, транспортируемой в баллонах при давлении 50-60 ат. Применяется
также пищевая углекислота, которая обеспечивает более высокое качество сварного
шва.
Установка для полуавтоматической сварки с плавящимся
электродом состоит из источника тока, баллона с жидкой углекислотой,
подогревателя газа, предредукторного осушителя, газового редуктора, расходомера
газа, шланга для подвода к горелке углекислого газа, шланга для подвода
охлаждающей воды, барабана для электродной проволоки и сварочного полуавтомата,
включающего механизм подачи электродной проволоки, панели управления , провода
, соединяющего подающий механизм с панелью и газоэлектрической горелки. Сварка
производится на постоянном токе, получаемом при помощи селенового выпрямителя
при обратной полярности.
При сварке неплавящимся электродом дуга горит между
угольным или вольфрамовым электродом и деталью, расплавляя сварочный и
присадочный металл, вводимый в виде прутка в зону сварки. При сварке деталей с
отбортованными кромками присадочный пруток в ванну не вводится и сварной шов
образуется за счет расплавления и затвердевания кромок изделия.
При сварке чугунных деталей в защитной среде водяного
пара происходит интенсивное выгорание углерода в сварочной ванне и исключается
возможность образования карбидов железа, что обеспечивает хорошую
обрабатываемость и прочность сварного соединения. Непрерывный процесс горения
дуги создает большой запас тепла в сварочной ванне, а это в свою очередь
исключает образование закаленной прослойки в зоне сплавления, характерной для
всех способов холодной сварки чугуна.
Схема наплавки в среде углекислого газа показана
на рисунке 4.
Рисунок 4 - Схема наплавки в среде углекислого газа.
.2.2 Краткая характеристика железнения
Ремонт железнением основан на осаждении металла из
водных растворов на изношенную поверхность детали. Наиболее целесообразно этим
способом восстанавливать детали с небольшими износами рабочих поверхностей (до
1 мм). Поскольку металл осаждается из раствора при температуре 60-80° С, деталь
не коробится. Из раствора, содержащего 200-300 г/л двухлористого железа и 1 -
1,5 г/л соляной кислоты, можно получить покрытие - чистое железо.
Осаждение металлопокрытий осуществляется за счет
пропускания постоянного тока различной плотности через раствор, в результате
чего происходит разряд ионов металла на катоде (детали). Аноды изготовляют из
полосовой стали толщиной 10-40, шириной 40-80 мм. Для изоляции поверхностей
детали, не подлежащих железнению, используют полихлорвиниловую ленту,
стеклоткань, цапонлак. Для железнения используют холодные и горячие
электролиты. Горячие электролиты позволяют работать при значительных плотностях
тока, но требуют больших дополнительных затрат энергии на подогрев и применения
специальных химически стойких дефицитных материалов для изготовления
оборудования, так как являются весьма агрессивными растворами. Для упрощения
технологии железнения и конструкции оборудования, улучшения условий труда и
повышения культуры производства предпочтительнее использовать холодные
электролиты.
Для восстановления посадочных поверхностей корпусных и
базовых деталей применяют вневанное железнение. Поверхность отверстия,
подлежащую наращиванию, при помощи дополнительных устройств превращают в
замкнутую электролитическую ячейку, через которую прокачивают электролит.
Вневанное железнение применяют для восстановления посадочных поверхностей
чугунных и стальных корпусных деталей, блоков картеров, корпусов и т. п. Оно
характеризуется высокими плотностями тока, большой производительностью и
возможностью получать покрытия толщиной до 1,0-1,2 мм.
На ремонтных предприятиях применяют способ восстановления
электролитическим натиранием. Установка для электролитического натирания
представляет собой стальной корпус, на котором смонтированы шпиндель с
приводом, состоящим из электродвигателя и червячного редуктора; токосъемное
устройство, выполненное в виде кольца со щеточным аппаратом; анод из свинцового
электрода с тампоном, крепящийся на рабочем конце шпинделя; бак с электролитом
и насос, расположенный на крышке бака.
Осаждение металла происходит следующим образом. К
шпинделю, подключенному к положительному полюсу выпрямительного устройства,
крепят свинцовый электрод, на котором намотан тканевый тампон.
Восстанавливаемую деталь подключают к отрицательному полюсу. Электрод вводят в
обрабатываемое отверстие, после чего на него подают электролит. Под воздействием
постоянного тока из электролита выделяется химически чистый цинк, который
осаждается на восстанавливаемой поверхности. Вращающийся электрод способствует
равномерному осаждению цинка по всей поверхности.
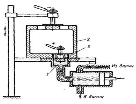
Схема установки для вневанного железнения показана на
рисунке 5.
- электролит; 2 - деталь, 3 - восстанавливаемая
поверхность
Рисунок 5 - Схема установки для вневанного железнения.
3.3 Проект маршрута восстановления первичного вала РК
План операции по устранению каждого дефекта в
отдельности.
Износ
поверхности под Износ шлиц - наплавка в подшипник- железнение. среде СО2
. Шлифовка 1.
Подготовка
. Подготовка
к железнению 2. Заварка
. Осаждение
3. Правка
. Обработка
после железнения 4. Токарная
. Шлифовка 5.
Фрезерная
. Контроль 6.
Термическая
. Правка
. Шлифовка
. Контроль
Общий план
для устранения дефектов №3 и №4.
. Подготовка
. Заварка
шлиц с диаметра 28мм. До диаметра 28,7 мм.
. Правка
после заварки
. Токарная
обработка
. Фрезерная
нарезание шлиц
. Термическая
обработка
. Правка
после термической обработки
. Шлифовка
. Подготовка
к железнению
. Осаждение
. Обработка
после железнения
. Шлифовка
. Контроль
На основании плана операции составим маршрут восстановления в виде
маршрутно-технологической карты (таблица 3), в данной карте представлен маршрут
восстановления дефектов, произведен подбор необходимого оборудования, оснастки
и инструмента.
Рассчитаем припуск на обработку:
Припуск на обработку восстановления изношенных шлицов рассчитываем по
формуле:
hcm = U+x1+x2+x3+x4+x5+Hcm (1)
где: U - износ детали, мм;
Х1 - толщина покрытия, которую снимают при подготовке
поверхности:принимаемХ1 = 0 мм;
Х2- толщина покрытия, которую снимают при черновой обработке,
мм,
принимаем Х2 = 0,5 мм - при черновом точении;
Х3 - припуск на чистовую обработку, мм, принимаем Х3=
0,2 мм - при чистовом точении;
Х4 - припуск на отделочную обработку, мм, принимаем Х4=
0,1 мм - при черновом шлифовании;
Х5- припуск на отделочную обработку, мм, принимаем Х4=
0,05 мм - при чистовом шлифовании;
Hcm -
величина неровностей металлопокрытия после восстановления, мм, при
восстановлении поверхности наплавка в среде СО2 величина неровностей
составляет 1.0 мм.
Величина слоя покрытия составляет (на сторону):
hcm =
0+0+0,5+0,2+0,1+0,05+1,0=1,85
Общая величина слоя составляет (на диаметр):
H = hсм×2 = 1,85×2
= 3,70 мм
Припуск на обработку восстановления поверхности под подшипник рассчитаем
по формуле:
hсм= U+X1+X2+X3+X4+Hcm, мм (2)
где: U - износ детали, мм - 30-29,7/2=0,15
мм;
Х1 - толщина покрытия, которую снимают при подготовке
поверхности: принимаемХ1 = 0.1 мм;
Х2- толщина покрытия, которую снимают при черновой обработке,
мм, принимаем Х2 = 0,1 мм - при черновом точении;
Х3 - припуск на чистовую обработку, мм, принимаем Х3=
0,05 мм - при чистовом точении;
Hcm -
величина неровностей металлопокрытия после восстановления, мм, при
восстановлении поверхности наплавка железнением величина неровностей составляет
0,3 мм.
Величина слоя покрытия составляет (на сторону):
hсм =
0,15+0,1+0,1+0,05+0,3=0,7 мм.
Общая величина слоя составляет (на диаметр):
H = hсм×2 = 0,7×2 = 1,4 мм.
Рассчитанные припуски на обработку заносим в маршрутно-технологическую
карту.
Для наплавочной операции в среде СО2 разработаем операционную
карту в виде таблицы 4. Исходными данными служит маршрутно-технологическая
карта, кроме этого, установим режимы наплавки, произведем расчет норм времени
для наплавочной операции в среде СО2.
Таблица 3 - Маршрутно-технологическая карта
|
ВТГК
|
МАРШРУТНО-ТЕХНОЛОГИЧЕСКАЯ
КАРТА
|
|
Литера
|
|
|
|
|
|
|
|
|
|
МАТЕРИАЛ
|
Код единицы величины
|
Масса детали , кг
|
ЗАГОТОВКА
|
Единица нормирования
|
Норма расхода
|
|
Наименование, марка
|
Код
|
|
|
Код и вид
|
Профиль и размеры
|
Кол-во
|
масса
|
|
|
|
Первичный вал раздаточной
коробки ВАЗ 21213
|
|
Шт.
|
0,8
|
Ремон. деталь
|
(См. рабочий чертеж)
|
1
|
0,8
|
мин
|
|
|
Номер
|
Наименование и содержание
операции
|
Оборудование
|
Приспособление и инструмент
|
Код проффесии
|
Разряд рабочего
|
Единицы нормиров.
|
Код тарифной сетки
|
Объем производственной
партии
|
|
Цеха
|
Участка
|
Операции
|
|
|
|
|
|
|
|
|
|
1
|
2
|
3
|
4
|
5
|
6
|
7
|
8
|
9
|
10
|
11
|
|
|
05
|
Слесарная.
|
|
|
|
|
|
|
|
|
|
|
Обезжирить деталь,
зачистить поверхности до блеска
|
|
Металлическая щетка,
ветошь, ацетон
|
|
|
|
|
|
|
|
010
|
Наплавочная.
|
|
|
|
|
|
|
|
|
|
|
Заварить шлицы с диаметра
28 до 28,7 мм. на длине 30 мм.
|
Станок 1К62, наплавочная
головка 825М, проволока диаметром 1,8 мм
|
трех кулачковый патрон,
штангенциркуль ШЦ-11-250-0,05.
|
|
|
|
|
|
|
|
015
|
Токарная.
|
|
|
|
|
|
|
|
|
|
|
Точить вал с диаметра 28,7
до 28,1 мм. На длине 30 мм.
|
Станок 1К62
|
Резец проходной Т15К6, трех
кулачковый патрон, подвижные центра, штангенциркуль ШЦ-11-250-0,05
|
|
|
|
|
|
|
|
020
|
Фрезерная
|
|
|
|
|
|
|
|
|
|
|
Фрезеровать 6 шлиц шириной
5 мм
|
Станок 6р12
|
Фреза шлицевая гост
8027-86,
|
|
|
|
|
|
|
|
025
|
Термическая
|
|
|
|
|
|
|
|
|
|
|
Закалить все шипы ТВЧ
|
Установка для ТВЧ
|
Индуктор Прибор Роквелла
ТК-2М ГOCT 1340767 Напильник 100 1 ГOCT 146580
|
|
|
|
|
|
|
|
030
|
Шлифовальная под железнение
|
|
|
|
|
|
|
|
|
|
|
Шлифовать вал с диаметра
29,7 до 29,5 мм. на длине 22 мм.
|
Круг шлифовальный
64C25СМ16К 16…60 мкм штангенциркуль ШЦ-11-250-0,05
|
|
|
|
|
|
|
|
035
|
Слесарная
|
|
|
|
|
|
|
|
|
|
|
Обезжирить деталь,
смонтировать на подвеску.
|
Подвеска
|
Металлическая щетка,
ветошь, смоченная в ацетоне
|
|
|
|
|
|
|
|
040
|
Железнение
|
|
|
|
|
|
|
|
|
|
|
Осадить слой металла с 29,5
до 30,9 мм. на длине 22 мм.
|
Ванна для железнения
|
Кислотные электролиты,
серная кислота
|
|
|
|
|
|
|
|
045
|
Слесарная
|
|
|
|
|
|
|
|
|
|
|
Обработать деталь после
железнения
|
|
Холодная вода
|
|
|
|
|
|
|
|
050
|
Шлифовальная
|
|
|
|
|
|
|
|
|
|
|
Шлифовать деталь с диаметра
30,9 до 30,00 на длине 22 мм.
|
Станок шлифовальный 372Б
|
Круг шлифовальный
64C25СМ16К 16…60 мкм электрокорунд Микрометр 25-50
|
|
|
|
|
|
|
|
|
Шлифовать вал с диаметра
28,1 до 28 мм. на длине 30 мм.
|
|
Круг шлифовальный
64C25СМ16К 16…60 мкм электрокорунд Микрометр 25-50
|
|
|
|
|
|
|
|
055
|
Контроль
|
--
|
Микрометр 25-50
|
|
|
|
|
|
|
|
|
|
|
|
|
|
|
|
|
|
|
|
|
|
|
|
|
|
|
|
|
|
|
|
|
|
|
|
|
|
.4 Расчет режимов наплавки в среде СО2
Режим наплавки в среде СО2
. Исходные данные
Деталь: первичный вал раздаточной коробки, автомобиль - ВАЗ 21213;
материал - сталь 45 ГОСТ 1050-88, твердость 60-62HRC, масса 0,8 кг.
. Оборудование и материалы
Полуавтомат А-825М;
Станок ТВС-1К62;
штангенциркуль ШЦ-11-250-0,05;
проволока - диаметр 1,8 мм; марка 30хгса;
напряжение питающей трехфазной сети - 380В.
А) Определяем шаг наплавки:
S = 1.5 ×dэл = 1.5 ×1,8 = 2,7мм (3)
где:

-
диаметр электродной проволоки, мм;
Плотность
тока назначаем равным - 
Наплавочный
коэффициент
Б)
Сила тока:
I = 0.785 · dэл2 · DА = 0,785
· 1,82 · 109 = 277,23 А (4)
В)
Масса расплавленного метала

(5)
Г)
Объем расплавленного метала

(6)
Где;

-
плотность расплавленного метала.
Д)
Скорость подачи проволоки:

(7)
Е)
Скорость наплавки:

0.367
м/мин (8)
Ж)
Частота вращения деталей:
n = 
об/мин
(9)
З)
Основное время:
мин (10)
.10
Вспомогательное время

-
вспомогательное время, связанное с установкой и снятием детали (табличные
данные), 
вспомогательное
время, связанное с переходом (табличные данные)
tВ2 = 0,7L = 0.7 · π ·D ·l / S/1000 = 0.7 · 3.14 · 30·28· 4/ 2,7/1000 =
2,73мин.
В = tB1 + tB2 = 0,35 +
2,73= 3,08 мин (11)
И)
Дополнительное время, связанное с обслуживание рабочего места:

1,75 мин
(12)
К)
Штучное время:

17.74 мин
(13)
Л)
Штучно-калькуляционное время:
tшк= tш+tпз/60=
17,74+15,4/60=17,99мин (14)
гдеtПЗ=15,4мин - подготовительно-заключительное время (табличное).
Таблица 4 - Операционная карта
|
Операционная карта
|
Изделие
|
Карданный вал
|
№ опер.
|
010
|
|
|
Деталь
|
Вал
|
№
|
|
|
Наименование операций
|
Наплавочная (сварочная)
|
Материал
|
сталь 45 ГОСТ 1050-88
|
Вес (кг)
|
0,8
|
|
Оборуд.
|
Станок ТВС-1К62;Полуавтомат
А-825М;
|
Наименование и номер
дефекта 4 износ шлицевой части
|
|
Приспос.
|
трех кулачковый патрон,
подвижные центра, штангенциркуль.
|
|
|
Размер партии
|
Разряд работ
|
Подготовительно
заключительное время
|
Время на 1 деталь, мин
|
Норма выработки в смену,
шт.
|
|
|
|
|
tO
|
tB
|
tШТ
|
|
|
|
20
|
|
15,4
|
12,9
|
3,08
|
17,74
|
|
|
|
№ установки и переходов
|
Наименование установок и
переходов
|
Материал
|
Расчетные размеры, мм
|
Режимы обработки
|
Основное время, мин
|
Вспомогательное время, мин
|
|
|
Электрода
|
Обмазки
|
Диаметр или ширина
|
Длина
|
Полярность
|
Сила тока
|
Напряжение
|
Скорость наплавки
|
Скорость подачи пров.
|
Шаг наплавки
|
Диаметр электрода
|
|
|
|
А
|
Установить деталь, снять
|
|
|
|
|
|
|
|
|
|
|
|
|
0,35
|
|
1
|
Заварить шлицы с D=28
до 28,7мм
|
|
--
|
28,7
|
30
|
обр
|
277,23
|
14
|
0,367
|
3,68
|
2,7
|
1,8
|
12,9
|
2,73
|
|
|
|
|
|
|
|
|
|
|
|
|
|
|
|
|
|
|
|
|
|
|
|
|
|
|
. ТЕХНИКА БЕЗОПАСНОСТИ ПРИ ВЫПОЛНЕНИЙ РАБОТ
ремонт
автомобиль раздаточный вал
4.1 Техника безопасности при сборочных работах
Рабочее место - это часть производственной площади цеха или участка,
закрепленной за данным рабочим (или бригадой рабочих), со всем необходимым
оборудованием, инструментами, приспособлениями, материалами и принадлежностями,
которые он (или она) применяет для выполнения производственного задания.
Под организацией рабочего места разборщика понимается правильная
расстановка оборудования, на и выгоднейшее расположение инструмента на рабочем
месте, равномерное снабжение его объектами разборки, механизация и оснащение
специальными приспособлениями.
Основным элементом организации рабочего места является его планировка, т.
е. расположение его относительно других рабочих мест, относительно
оборудования, приспособлений, инструментов, местоположения рабочего.
При организации рабочего места необходимо использовать основные
достижения научной организации труда (НОТ).
Расстояния от тары и от оборудования до рабочего должны быть такими,
чтобы рабочий мог использовать преимущественно движение рук, т.е. при этом не
наклоняться сильно, не приседать, не тянуться высоко.
При планировке рабочего места учитывают зоны досягаемости рук в
горизонтальной и вертикальной плоскостях. Эти зоны определяют, на каком
расстоянии от корпуса рабочего должны быть размещены предметы, которыми он
пользуется в процессе работы. Оптимальная зона (наиболее удобная) определяется
полу дугой радиусом примерно 400 мм для каждой руки. Максимальная зона
досягаемости составляет 500 мм без наклона корпуса и 650 мм с наклоном корпуса
не более 30 ° для рабочего среднего роста. Расположение предметов дальше
указанных пределов повлечет дополнительные, а следовательно, лишние движения,
т. е. вызовет ненужную затрату рабочего времени, ускорит утомляемость
работающего и снизит производительность труда. Оптимальной зоной досягаемости
рук в вертикальной плоскости является зона от уровня плеча до пояса.
При организации рабочих мест руководствуются следующими требованиями:
на посты разборки ремонтный фонд должен поступать тщательно вымытый и
очищенный;
рабочее место должно предусматривать максимальную экономию движений
рабочего, что должно быть заложено в конструкцию оборудования (высота
конвейера, стенда), взаимное расположение рабочих мест и т.д.;
рабочее место должно быть оснащено средствами механизации основных и
вспомогательных работ, необходимой документацией, местом для инструмента,
специализированной тарой;
на рабочем месте должно находиться только то, что требуется для
выполнения данного задания;
приспособления и инструменты должны быть расположены на расстоянии
вытянутой руки, причем их следует разложить в строгой последовательности их
применения, а не разбрасывать и не накладывать друг на друга;
все, что берется левой рукой, должно быть расположено слева, а все, что
берется правой, - справа. Все, что берется обеими руками, должно находиться
впереди;
режущие инструменты следует укладывать на деревянные подставки так, чтобы
они были предохранены от повреждений;
чертежи, инструкции и другую документацию нужно помещать для удобства
пользования на видном месте;
во время работы рабочий обязан в течение всего рабочего дня полностью
использовать все рабочее время, не отвлекаясь от работы, и не отлучаться с
рабочего места; использовать приспособления и инструмент только по его
назначению и предохранять его от повреждений и загрязнения; строго соблюдать
правила техники безопасности;
по окончании работы рабочий обязан привести в порядок свое рабочее место,
а также прилегающую к нему площадь, инструменты и приспособления, применявшиеся
при работе. Основные требования техники безопасности: участок разборки должен
иметь прочные несгораемые стены. Полы на участке должны иметь ровную (без
порогов) гладкую, но не скользкую удароустойчивую, не впитывающую нефтепродукты
поверхность. Их необходимо систематически очищать от смазки и грязи. Потолки и
стены следует закрашивать краской светлых тонов;
оборудование должно быть расставлено с соблюдением необходимых разрывов.
Не допускается скопления на участке большого количества агрегатов и деталей.
Запрещается загромождать проходы, проезды и подходы к доскам с пожарным
инструментом и огнетушителями;
для обеспечения электро-безопасности производственное помещение
окольцовывают шиной заземления, расположенной на 0,5 м от пола и снабженной
надежными контактами. Все корпусы электродвигателей, а также металлические
части оборудования, которые могут оказаться под напряжением, должны быть
занулены или заземлены. Переносной электроинструмент можно применять при
условии его исправности при напряжении не более 36 В. Если переносной
электроинструмент работает от напряжения большего, чем 36 В, то он должен
выдаваться вместе с защитными приспособлениями (диэлектрические перчатки,
обувь, коврики и др.). При перерыве в подаче электроэнергии немедленно
отключить инструмент и приспособления;
при работе пневматическим инструментом его во время работы держат двумя
руками - за рукоятку и корпус; при неисправности пневмоинструмента отключают от
воздухопровода; вставляют и вынимают рабочий инструмент только после выключения
пневмоинструмента. Шланг не должен иметь изломов, разрывов, потертостей,
порезов. Следует избегать натяжения, петления и перекручивания шланга.
Попадание на шланг масла и других нефтепродуктов тоже нежелательно. Отсоединять
шланг от воздухопровода или инструмента следует только после закрытия крана,
подающего сжатый воздух в шланг, так как сжатый воздух может вырвать шланг из
рук и травмировать;
разбирать агрегаты, имеющие пружины, разрешается только на специальных
стендах или при помощи приспособлений, обеспечивающих безопасную работу;
при выпрессовке деталей, имеющих плотную посадку, на прессах последние
следует снабжать защитными решетками; освещенность рабочих мест искусственным
светом должна соответствовать для работ средней точности при малом контрасте
различения объекта с фоном (фон светлый). Все стационарные светильники должны
быть прочно укреплены, чтобы они не давали качающихся теней.
.2 Техника безопасности при восстановлений деталей
В зависимости от применяемого метода сварки и наплавки зависит
организация рабочего места при выполнении работ по восстановлению деталей
сваркой и наплавкой. Комплекс технически связанного между собой оборудования
для выполнения сварочно-наплавочных работ называется постом, установкой
(станком), линией. В комплексы в зависимости от оснащения входят: сварочное
оборудование (источник питания, сварочный аппарат с приборами управления и
регулирования процесса); технологические приспособления и инструмент;
механическое и вспомогательное оборудование (транспортные, погрузочные и
разгрузочные устройства); система управления.
Источники переменного тока - это сварочные трансформаторы (для ручной
сварки и наплавки ТД-300, ТД-500, СТШ-500, механизированной - ТДФ-1001,
ТДФ-1002 и др.) и специализированные установки на их основе, постоянного тока -
сварочные выпрямители (для ручной сварки и наплавки ВД-201УЗ, ВД-ЗОбУЗ,
ВД-401УЗ и др., механизированной - ВС-600, ВСЖ-303, ВДГ- 302 и др.,
универсальные - ВДУ-1201УЗ, ВДУ-1601 и др.; для многопостовой сварки -
ВКСМ-100-1-1, ВДМ-1001 и др.), преобразователи (ПСО-ЗОО-2, ПСО-315М и др.) и
агрегаты, специализированные источники на базе выпрямителей. Сварочные машины
рекомендуется устанавливать в отдельном помещении, а на рабочем месте в этом
случае должен находиться щиток для дистанционного управления.
В состав установки (станка) для сварки или наплавки, кроме
электросварочного оборудования, входят: технические средства размещения и
перемещения сварочных автоматов, головок, инструментов; технические средства размещения,
закрепления и перемещения изделия (сварочные манипуляторы, позиционеры,
кантователи, поворотные столы, вращатели); флюсовое оборудование (при сварке и
наплавке под флюсом); вспомогательное оборудование и средства управления.
Вращатели - это шпиндельные устройства, предназначенные для вращения детали
вокруг оси.
Основной частью комплекса оборудования для механизированной сварки и
наплавки является сварочная и наплавочная аппаратура - полуавтоматы и автоматы.
На рабочем месте газосварщика устанавливают сварочный стол с подставкой
для газосварочной горелки. На расстоянии 3...4 м от сварочного стола монтируют
рампу с кислородным и ацетиленовым редукторами и шкаф для хранения шлангов и
горелок. Ацетиленовый генератор, а также баллоны с кислородом и ацетиленом
хранятся в отдельных помещениях.
К электрогазосварочным и наплавочным работам допускаются рабочие не
моложе 18 лет, прошедшие медицинское освидетельствование и специальное
обучение, имеющие удостоверение на право выполнения указанных работ. Все сварщики,
выполняющие дуговую и газовую сварку, должны ежегодно проходить проверку
знаний. Рабочий пост сварщика должен быть оборудован местной вытяжной
вентиляцией для отсоса вредных паров, газов и аэрозолей, состоящих из окислов
металлов и продуктов сгорания обмазок и флюсов.
Правильное и рациональное размещение рабочего места сварщика имеет
большое значение в повышении безопасности сварочных работ, производительности
труда и качества сварки. В целях защиты сварщиков, подсобных и вспомогательных
рабочих от лучистой энергии, горящих поблизости сварочных дуг в постоянных
местах сварки для каждого сварщика устраивают отдельные кабины площадью (2 х
2)...(2 х 3) м (не считая площади, занятой оборудованием) и высотой 1,8...2 м.
Для улучшения вентиляции стены кабины не доводят до пола на 15...20 см.
Материалом стен кабин может служить тонкое железо, фанера, брезент, покрытые
огнестойким составом, или другие огнестойкие материалы. Дверной проем, как
правило, закрывается брезентовым занавесом на кольцах. Стены окрашивают в
светлые матовые тона. Полы должны иметь ровную нескользкую поверхность, без
выбоин и порогов. В помещениях с холодными полами, например, цементными на
рабочих местах под ноги укладывают деревянные решетки или настилы.
При ручной дуговой сварке в кабине сварщика устанавливают сварочный стол
или кондуктор, настенную полку для мелкого инструмента и приспособлений, стул
со спинкой и другое оборудование. Кабина оборудуется местной вентиляцией.
Для предохранения глаз и лица сварщика от вредного воздействия дуги
необходимо использовать щитки или маски со специальными светофильтрами в
зависимости от силы сварочного тока: Э-1 - при силе тока до 75 А,
Э-2 - при 75...200 А, Э-3 - 200...400 А, а также ЭС-100, ЭС-300, ЭС-500.
В целях исключения попадания под напряжение при замене электродов сварщик
обязан пользоваться сухими брезентовыми рукавицами, которые одновременно
защищают его руки от расплавленного металла и лучистой энергии дуги.
Большое значение для безопасности сварщика имеет проверка правильности
проведения проводов к сварочным постам и оборудованию. Прокладка проводов к
сварочным машинам по полу или земле, а также другим способом, при котором
изоляция проводов не защищена и провод доступен для прикосновения, не
разрешается. Ток от сварочных агрегатов к месту сварки передается гибкими
изолированными проводами. Для предупреждения поражения электрическим током все
оборудование должно быть заземлено.
Электроустановки, электрооборудование и проводку разрешается
ремонтировать только после отключения их от сети.
Перед началом работ электросварщик обязан надеть специальную одежду -
брезентовый костюм, ботинки и головной убор.
При сварке и наплавке деталей под флюсом режим работы должен быть таким,
чтобы сварочная дуга была полностью закрыта слоем флюса. Убирают флюс флюсоотсосами,
совками и скребками.
Сварочную дугу при вибродуговой наплавке и сварке закрывают специальными
устройствами, в которых должно быть предусмотрено смотровое окно со
светофильтром нужной плотности.
При выполнении газовой сварки соблюдаются те же правила безопасности, что
и при дуговой. Однако при газовой сварке необходимо следить, чтобы в радиусе 5
м от рабочего места отсутствовали горючие материалы.
В местах хранения и вскрытия барабанов с карбидом кальция запрещено
курить и применять инструмент, дающий при ударе искры. Барабаны с карбидом
хранят в сухих прохладных помещениях. Вскрытие барабана разрешается только
латунным ножом. Ацетилен при соприкосновении с медью образует взрывчатые
вещества, поэтому применять медные инструменты при вскрытии карбида и медные
припои при ремонте ацетиленовой аппаратуры нельзя. Ацетиленовые генераторы
располагают на расстояние не менее 10 м от открытого огня.
Баллоны с газами хранят и транспортируют только с навинченными на их
горловины предохранительными колпаками и заглушками на боковых штуцерах
вентилей. При транспортировании баллонов не допускаются толчки и удары.
Переносить баллоны на руках запрещается. К месту сварочных работ их доставляют
на специальных тележках или носилках.
Баллоны с газом устанавливают в помещении не ближе чем на 1 м от
радиаторов отопления и не ближе чем на 10 м - от горелок и других источников
тепла с открытым огнем.
Запрещено хранить баллоны с кислородом в одном помещении с баллонами
горючего газа, с барабанами карбида кальция, лаками, маслами и красками.
При обнаружении на баллоне или вентиле следов жира или масла баллон
немедленно возвращают на склад. Соседство масла и кислорода может привести к
взрыву.
В целях безопасности в обращении кислородные баллоны окрашивают в синий
цвет, ацетиленовые - в белый, а баллоны с пропанобутановыми смесями - в
красный.
Ацетилен с воздухом образует взрывоопасные смеси, поэтому нужно следить,
чтобы не было утечки газа и перед началом работы тщательно проветривать рабочее
помещение.
Подъемно-транспортное оборудование с механическим приводом обязательно
регистрируется в инспекции Гостехнадзора, которая проводит его техническое
освидетельствование.
Подъемные устройства с ручным приводом, цепи и канаты проходят
освидетельствование комиссией под руководством главного инженера ремонтного
предприятия. Техническая проверка содержит осмотр оборудования, поднятие груза,
масса которого превышает на 10% грузоподъемность подъемного устройства по
паспорту, на высоту 100 мм и выдержку в поднятом положении 10 мин. Цепи, канаты
и чал очные устройства испытывают под двойным грузом. Результаты испытания
заносятся в спецжурнал, а на кранах и других подъемных устройствах четко
наносят краской предельную грузоподъемность и срок последующего
освидетельствования.
К управлению кранами допускаются рабочие, имеющие специальные
удостоверения на право работы на грузоподъемных средствах.