Техническое обслуживание автомобиля

  • Вид работы:
    Курсовая работа (т)
  • Предмет:
    Транспорт, грузоперевозки
  • Язык:
    Русский
    ,
    Формат файла:
    MS Word
    1,54 Мб
  • Опубликовано:
    2015-05-21
Вы можете узнать стоимость помощи в написании студенческой работы.
Помощь в написании работы, которую точно примут!

Техническое обслуживание автомобиля

Содержание

Введение

1. Теоретическая часть

1.1 Указатель давления масла

1.2 Указатель температуры охлаждающей жидкости

1.3 Указатель уровня топлива в топливном баке

1.4 Амперметр

1.5 Спидометр

1.6 Звуковой сигнал

1.7 Система освящения

1.8 Сигнализация

2. Практическая часть

3. Экономическая часть

3.1 Организация заработной платы

3.2 Расчет себестоимости ремонта контрольно-измерительных приборов

4. Охрана труда

Заключение

Список используемой литературы

Введение


Для предупреждения повышенного и преждевременного изнашивания и других разрушений деталей, а также для обеспечения нормального технического состояния и высокопроизводительной экономичной работы машин в течение всего периода эксплуатации служит система технического обслуживания и ремонта машин. Система технического обслуживания и ремонта машин предусматривает комплекс работ, направленных на обеспечение или восстановление необходимого технического состояния и работоспособности машин в течение всего периода эксплуатации. Эта система включает в себя следующие элементы: техническое обслуживание, текущий и капитальный ремонт.

Техническое обслуживание - это комплекс обязательных, планомерно проводимых работ по поддержанию работоспособности или исправности машин в период их эксплуатации, хранения и транспортирования. Оно предусматривает обкаточные, очистные, контрольные, диагностические, регулировочные, смазочные заправочные, крепежные и монтажно-демонтажные работы, а также работы по консервации машин и их составных частей.

Текущий ремонт выполняют для обеспечения или восстановления работоспособности машин при эксплуатации. Он состоит в замене и (или) восстановлении отдельных составных частей машины. Содержание и организация проведения текущего ремонта зависят от вида машины, периода ее использования и технического состояния. Отдельные составные части машины, достигшие предельного состояния, при текущем ремонте можно заменять новыми или отремонтированными при условии, что другие основные составные части машины имеют запас ресурса до следующего ремонта.

техническое обслуживание автомобиль топливо

1. Теоретическая часть


1.1 Указатель давления масла


Как устроен и работает указатель давления масла?

Магнитоэлектрический указатель давления масла логометрического типа (рис. 1) состоит из реостатного датчика 1, расположенного на масляном фильтре и соединенного с масляной магистралью двигателя, и приемника (логометра) 8, установленного на щитке приборов. Между корпусом датчика и его крышкой зажата гофрированная диафрагма 2, с которой соединен ползун реостата 3. Реостат одним концом соединен с "массой". С увеличением давления в системе смазки двигателя диафрагма прогибается и перемешается ползун в сторону уменьшения сопротивления реостата, а в случае уменьшения давления она выпрямляется и перемещает его в сторону увеличения сопротивления. Корпус логометра представляет собой магнитный экран, в котором расположены неподвижные обмотки 7, 10 и 11, намотанные на капроновые колодки под углом 90° относительно друг друга и включенные в две параллельные ветви. На ось алюминиевой стрелки 9 установлен постоянный магнит 6, изготовленный в виде диска, который взаимодействует при выключении указателя с неподвижным постоянным магнитом 5 и тем самым удерживает стрелку в исходном положении. После включения он взаимодействует с равнодействующим магнитным потоком обмоток и поворачивается вместе с ней по часовой стрелке. При включенном включателе 13 по обмоткам 7, 10 и 11 пойдут токи в направлениях, указанных стрелками. Величины токов в обмотках и созданных ими магнитных потоков зависит от положения ползуна реостата датчика, т.е. от давления масла в системе смазки.

Рис. 1 Указатель давления масла

Если давления масла нет, то в результате увеличения сопротивления реостата до максимальной величины сила тока в обмотке 7 увеличится до наибольшего, а в обмотках 10 и 11, наоборот, уменьшится до наименьшего значения. В этом случае магнитные потоки обмоток 10 и 11 уменьшаются настолько, что дисковый магнит и связанная с ним стрелка логометра под действием магнитного потока обмотки 7 устанавливаются в нулевое положение. По мере увеличения давления масла сопротивление реостата уменьшается, что вызовет уменьшение силы тока в обмотке 7 и увеличение его в обмотках 10 и 11. Так как магнитные потоки обмоток 7 и 11 при этом вычитаются, а их магнитные потоки и магнитный поток обмотки 10 взаимодействуют под углом 90° относительно друг друга, то направление и величина равнодействующего магнитного потока изменяются так, что магнит и стрелка отклоняются в сторону больших давлении масла на шкале. Для уменьшения влияния т14

1.2 Указатель температуры охлаждающей жидкости


Как устроен и работает указатель температуры охлаждающей жидкости?


Магнитоэлектрический указатель температуры охлаждающей жидкости в двигателе (рис.2) состоит из датчика, ввернутого в головку блока цилиндров, и приемника (логометра) 5, установленного на щитке приборов автомобиля. В корпусе датчика 1 установлен термистор 2, изготовленный из окиси меди и марганца. Термистор является полупроводником, сопротивление которого изменяется в зависимости от температуры (уменьшается при нагревании и увеличивается при охлаждении). С одной стороны термистор соединен с корпусом датчика ("массой" автомобиля), а с другой - через пружину 3 с изолированным от корпуса зажимом 4 датчика. Внутри магнитного экрана 5 логометра имеются неподвижные обмотки 8, 9, 11, намотанные на капроновые колодки под углом 90° относительно друг друга и включенные в две параллельные ветви. Одну ветвь составляют обмотка 8 и термистор, другую - обмотки 9 и 11, резистор 12 температурной компенсации. Резистор изготовлен из константановой проволоки и служит для поддержания постоянства сопротивления этой ветви при изменении температуры обмотки. На оси алюминиевой стрелки 10 смонтирован постоянный магнит 7, изготовленный в виде диска, который взаимодействует при включении указателя с неподвижным магнитом 6 и таким путем удерживает стрелку на нулевом делении шкалы. С включением указателя он взаимодействует с равнодействующим потоком обмоток и поворачивается вместе со стрелкой по часовой стрелке. Магнитные потоки, создаваемые обмотками 8 и 11, направлены навстречу друг другу, т.е. вычитаются, а магнитный поток обмотки 9 действует под углом 90° к их равнодействующему магнитному потоку. При включении включателя 13 по параллельным ветвям логометра текут токи, направления которых показаны стрелками. Так как сила тока в обмотках 9 и 11 не изменяется, то созданные ими магнитные потоки остаются постоянными. Сила тока в обмотке 8, наоборот, зависит от температуры термистора (охлаждающей жидкости). Поэтому равнодействующий магнитный поток обмоток 8 и 11 зависит от силы тока в обмотке 8. В случае уменьшения температуры, например до 40°С, из-за резкого увеличения сопротивления термистора ток в обмотке 8 и созданный им магнитный поток настолько уменьшаются, что магнитный диск 7 поворачивается практически под действием равнодействующего магнитного потока обмоток 9 и 11, вследствие чего стрелка устанавливается против деления с цифрой 40 на шкале логометра. При температуре 80°С магнитные потоки обмоток 8 и 11 взаимно компенсируются и магнит 7 поворачивается в том же направлении под действием магнитного потока обмотки 9, а стрелка устанавливается против деления с цифрой 80 на шкале. В случае повышения температуры, например до 110°С, из-за резкого уменьшения сопротивления термистора ток в обмотке 8 и созданный им магнитный поток также резко увеличиваются, равнодействующий магнитный поток обмоток 8 и 11 изменяет свое направление, магнит 7 поворачивается в том же направлении под действием равнодействующего магнитного потока трех обмоток, а стрелка устанавливается против деления с цифрой 110 на шкале.

 

1.3 Указатель уровня топлива в топливном баке


Как устроен и работает указатель уровня топлива?


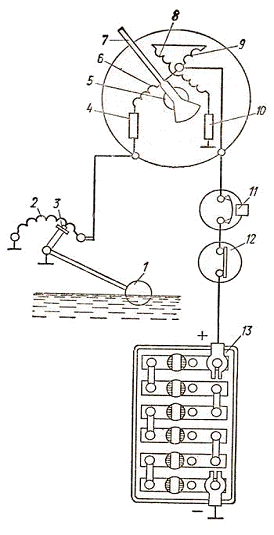
Указатель уровня топлива в топливном баке (рис.3) состоит из реостатного датчика, установленного на верхней стенке топливного бака, и указателя (логометра), смонтированного на щитке приборов автомобиля. В корпусе указателя находятся катушки, геометрические оси которых расположены под углом 90° друг к другу. Стрелка 7 жестко закреплена на общей оси с постоянным магнитом 5, изготовленным в виде диска. Обмотки б и 9 имеют взаимно противоположное направление витков, на другой катушке обмотка 8 через резистор 10 соединена с "массой" автомобиля. В корпусе датчика имеется проволочный реостат 2, по которому перемещается ползунок 3, соединенный с поплавком 1, плавающим на поверхности топлива. Ползунок 3 и реостат 2 одним концом соединены с "массой" автомобиля, что исключает их искрение. Датчик и указатель питаются током от аккумуляторной батареи 13 через выключатель 12 и предохранитель 11.

При включенном включателе ток поступает через указатель по двум параллельным цепям: в одну из них входят обмотка 6, резистор 4 и реостат 2 датчика; в другую - обмотки 9 и 8 и резистор 10. Ток, проходя по катушкам, создает два взаимно перпендикулярных магнитных потока, образующих результирующий поток, который определяет положение постоянного магнита 5, а с ним и стрелки 7 указателя. Когда бак полный, реостат полностью введен в цепь, поэтому через обмотку 6 проходит ток малой силы и магнитное поле катушки с обмотками 6 и 9 определяется главным образом силой тока, проходящего через обмотку 9. В этом случае результирующий магнитный поток обеих катушек удерживает стрелку около деления П на шкале. Это означает, что бак полный.

По мере расхода топлива и понижения его уровня в топливном баке поплавок опускается, перемещая ползунок 3 по реостату 2 в сторону уменьшения сопротивления, Сила тока в обмотке 6 увеличивается, вследствие чего магнитный поток обмоток 6 и 9 ослабевает, тогда как магнитный поток обмотки 8 не изменяется. При этом результирующий поток обмоток отклоняет стрелку в направлении нулевого деления шкалы и это будет тем больше, чем ниже уровень топлива в топливном баке. Шкала прибора проградуирована в долях вместимости топливного бака (0, ¼, ½, ¾, П).

 

1.4 Амперметр


Какое назначение амперметра, как он устроен и работает?


Амперметр (рис. 4) включается в цепь электрооборудования последовательно и служит для измерения силы зарядного тока при работающем двигателе, поступающего от генератора к аккумуляторной батарее, и разрядного тока, отдаваемого батареей к потребителям, когда двигатель не работает. Амперметр состоит из корпуса, в котором имеется изоляционная пластина 6, шкала 7, латунная шина 5 с постоянным магнитом 4, стальной намагниченный якорек 3 и стрелка 1, закрепленные вместе на оси 2. Если в цепи, в которую включен амперметр, тока нет, то якорек 3 устанавливается вдоль магнита 4, а стрелка 1 - против нулевого деления шкалы. Как только в цепи пойдет ток, созданное им вокруг шины 5 магнитное поле, взаимодействуя с полем магнита, отклоняет якорь 3 и стрелку 1 вправо или влево в зависимости от направления тока. Отклонение ее к знаку "+" соответствует зарядке, к знаку "-" - разрядке батареи.

1.5 Спидометр


Что представляет собой спидометр?


Спидометр представляет собой комбинированный прибор, показывающий скорость движения автомобиля (км/ч) и пройденное расстояние (км).

Он состоит из двух механизмов, установленных в общем корпусе: указателя скорости (рис. 5, а) и счетного узла - счетчика (рис. 5, б). Работа скоростного узла (рис. 5, а) основана на принципе магнитно-вихревого действия. Постоянный магнит 2, закрепленный на приводном валу 1 и приводимый во вращение с помощью троса от ведомого вала коробки передач, намагничен так, что его полюса располагаются по периферии диска. На оси 6, свободно вращающейся на двух скользящих подшипниках, закреплена картушка 3, изготовленная из алюминия (материал; что не намагничивается}. Картушка охватывает магнит с небольшим зазором, но не соприкасается с ним. При таком расположении магнита и картушки бо́льшая часть силовых линий магнита пронизывает картушку. Над ней также с зазором установлен экран 4, изготовленный из магнитномягкого материала, концентрирующего магнитное поле в рабочем направлении. Во время вращения вала 1 поле магнита наводит в картушке местные вихревые токи, создающие в свою очередь магнитное поле картушки. Взаимодействие поля магнита и поля картушки вызывает крутящий момент, стремящийся повернуть картушку в направлении вращения магнита. Величина этого момента пропорциональна частоте вращения магнита. Повороту оси картушки препятствует спиральная пружина 5, закручивающаяся с увеличением тягового момента и создающая противодействующий момент, величина которого пропорциональна углу поворота. При постоянной частоте вращения магнита картушка, повернувшись на определенный угол, остановится в положении, когда момент взаимодействия магнитных полей станет равным противодействующему моменту волоска 5. Угол поворота картушки 3 и стрелки 8 прямо пропорционален частоте вращения магнита, поэтому шкала 7 градуирована равномерно.

Счетный узел (рис. 5, б) приводится в действие однозаходным червяком, закрепленным на валу. Счетный барабан 12 со стороны привода имеет 20 зубьев, расположенных по периферии, а с другой стороны - два зубца 14 и впадину между ними. Грибка 13 имеет шесть зубьев, зацепляющихся с барабанчиками, причем на той стороне грибки, которая соединяется с двузуб кой барабанчика, три зубца 10 из шести укорочены через один, остальные зубцы 9 и 11 длинные. Барабанчики и трибки свободно посажены на своих осях, а крайний правый барабанчик (начальный) связан с входным валиком спидометра.

При вращении начального барабанчика его двузубка подходит к укороченному зубцу 10 трибки, поворачивает ее на 1/3 оборота и продолжает вращаться. В этом случае трибка повернет последующий барабанчик на два зубца, т.е. на 1/10 часть своего оборота. Пока двузубка начального барабанчика совершает полный оборот, грибка не может вращаться, так как два ее длинных зубца скользят по цилиндрической части барабанчика, где нет впадин. Такая конструкция обеспечивает поворот каждого последующего барабанчика на 1/10 часть оборота после того, как предыдущий сделает один полный оборот. Обычно на начальном барабанчике наносят красные цифры, показывающие пройденный путь в сотнях метров. Счетчик рассчитан на отсчет пройденного пути до 99999,9 км, после чего все цифры сбрасываются на нуль и начинается новый счет.

Крутящий момент к спидометру передается от ведомого вала коробки передач гибким валом, один конец которого соединяется со спидометром, другой - с винтовой шестерней ведомого вала коробки передач или раздаточной коробки. Гибкий вал состоит из троса с наконечниками, заключенного с зазором в гибкую оболочку с ниппелями, и гайками. Трос передает вращение, а оболочка укреплена неподвижно и защищает его от повреждений. Гибкий трос состоит из нескольких винтовых многозаходных пружин, навитых одна на другую в несколько слоев и имеющих общий внутренний сердечник из проволоки. Направления навивки слоев чередуются. В спидометре между приводным валом и начальным барабаном счетного узла применяют три понижающих ступени червячных передач с передаточным отношением 624.

1.6 Звуковой сигнал



Звуковой сигнал электромагнитный вибрационный прибор, создающий звук при пропускании тока через него. Весь механизм безрупорного сигнала состоит из следующих основных частей: корпуса с крышкой, электромагнита, якорька, контактов, мембраны и резонаторного диска.

На автомобилях ВАЗ установлены два звуковых сигнала шумового типа, т.е. сигналы, создающие звук широкого диапазона частот: С-304 низкого тона и С-305 высокого тона, отличающиеся только толщиной мембраны.

Сигналы имеют стальной корпус с приваренным сердечником и ярмом. Эти детали образуют магнитную систему электромагнита. Под ярмом находится обмотка, изолированная от корпуса. Мембрана зажата между корпусом и кольцом через прокладки. В центре мембраны закреплен стержень и резонаторный диск. Между стержнем и сердечником имеется зазор 0,35 - 0,45 мм, регулируемый подбором прокладок. Прерыватель, имеющий неподвижный контакт и подвижный контакт, укрепленный на пластине, установлен на мостике, который может перемещаться регулировочным винтом с пружиной.

1.7 Система освящения




Система освещения предназначена для обеспечения работы автомобиля в темное время суток. В нее входят фары (блок фары), подфарники, задние фонари, фонари освещения номерного знака и багажника, плафоны освещения салона кузова, подкапотная лампа, лампы освещения щитка приборов, главный и ножной (ручной) переключатели, включатели и предохранители. Фары предназначены для освещения пути перед автомобилем и обеспечивают получение ближнего и дальнего света. Фара состоит из корпуса, герметизированного оптического элемента с двух нитевой лампой, установленной в патроне, внутреннего и облицовочного ободков. Оптический элемент, в свою очередь, состоит из стального отражателя, покрытого тонким слоем алюминия, образующего зеркальную поверхность, и стеклянного рассеивателя. Двухнитевая лампа вставляется с тыльной стороны патрона. Оптический элемент установлен не прямо в корпус фары, а в держатель, который удерживается в корпусе фары пружинами. Такая установка дает возможность регулировки положения оптического элемента, а тем самым и пучка света, с помощью двух регулировочных винтов: верхнего и бокового. На автомобиле ВАЗ-2105 устанавливаются две блок фары, каждая из которых объединяет в себе фару (лампа 2,), боковой указатель поворота (лампа 8) и габаритный огонь (лампа 5). Блок-фара имеет пластмассовый корпус, к которому приклеен рассеиватель, сзади корпус закрыт съемным пластмассовым кожухом; таким образом внутренняя поверхность блок-фары изолирована от попадания пыли и влаги. Внутри корпуса установлен отражатель с лампами, провода от которых подведены к колодке (рис. б), удерживаемой пружинным фиксатором. Для создания зеркальной поверхности внутренняя часть стального отражателя покрыта лаком, а затем тонким слоем алюминия. Лампа 2 имеет две нити: одну 55 Вт для ближнего света и другую 60 Вт для дальнего света. Перед лампой установлен экран, который задерживает прямой свет от нитей лампы и обеспечивает более четкую границу пучка ближнего света. Благодаря выступам в отражателе ободок лампы устанавливает ее строго в определенном положении. Для регулировки направления пучка света фары предусмотрены два винта Л и Б.

Лампа автомобильных фар состоит из цоколя с фланцем, колбы, вольфрамовых нитей накаливания ближнего и дальнего света, а также экрана, который снижает ослепление водителей встречных транспортных средств. Колба заполняется инертным газом. Контакты обеспечивают подачу к каждой нити тока из соответствующей цепи. Вторые концы нитей через цоколь или третий контакт связаны с массой. Правильная установка лампы в оптический элемент обеспечивается вырезом на фланце. Двух нитевые лампы имеют обозначение: А12-45-1+40. Буква Л указывает, что лампа предназначена для автомобилей, цифра 12 означает напряжение в вольтах, а последние две пары цифр мощность в ваттах каждой нити накаливания. У однонитевых ламп последняя пара цифр отсутствует. Задний фонарь автомобилей ВАЗ-2105, ВАЗ-2108 включает в себя: лампу габаритного света и противо туманного освещения с красным рассеивателем, Выключатель стоп-сигнала механический, приводится в действие от тормозной педали. При нажатии на педаль тормоза шток выключателя освобождается и под действием пружины перемещается вместе с контактной пластиной, которая через контакты замыкает электрическую цепь ламп стоп-сигнала. Выключатель фонарей заднего хода служит для включения ламп задних фонарей с целью освещения дороги при движении автомобиля задним ходом Выключатель освещения приборов автомобиля ВАЗ-2105 имеет керамическое основание с переменным резистором. Скользящий контакт соединен с вращающейся рукояткой, поворотом которой (при включенном положении выключателя наружного освещения) можно регулировать яркость горения лампы освещения приборов. В крайнем левом положении скользящий контакт выходит из соприкосновения с обмоткой резистора и освещение приборов выключается. Предохранители служат для защиты электрических цепей и приборов от коротких замыканий и перегрузок. На изучаемых автомобилях устанавливаются термобиметаллические и плавкие предохранители.

1.8 Сигнализация


Световая сигнализация нужна для предупреждения водителей о предстоящем маневре автомобиля, его торможении и неисправности. Она включает указатели поворотов, стоп-сигнал и аварийную сигнализацию. Указатели поворотов устанавливаются на автомобилях для предупреждения водителей других средств транспорта и пешеходов о намерении водителя совершить маневр, связанный с изменением направления движения. Указатели поворотов состоят из переключателя, электронного релепрерывателя, сигнальных и контрольных ламп. Реле-прерыватель обеспечивает прерывистое горение сигнальных и контрольных ламп при включенном переключателе указателей поворотов, а также мигание всех ламп указателей поворотов при включении аварийной сигнализации. Аварийная сигнализация предназначена для подачи сигналов прерывистым светом с помощью всех ламп указателей поворотов. Контрольно-измерительные приборы - это спидометр, амперметр (или контрольная лампа заряда аккумуляторной батареи), вольтметр (ВАЗ-2105 и ВАЗ-2108), указатели температуры охлаждающей жидкости, давления масла, наличия топлива в баке, эконометр (ВАЗ-2108) и сигнализатор аварийного давления масла. Устанавливаются контрольные лампы указателей поворотов, габаритного освещения, дальнего света фар, задних противотуманных огней, стояночного тормоза, уровня жидкости в бачке гидропривода тормозов, резерва топлива в баке, обогрева заднего стекла и аварийной сигнализации.

2. Практическая часть


Приборы освещения, световой и звуковой сигнализации Приборы освещения, световой и звуковой сигнализации - потребители тока, отвечающие за безопасность и комфортабельность поездки. Они рассчитаны на ток напряжением 12 В.

Водитель управляет ими с помощью рычажных и кнопочных переключателей.

Приборы освещения автомобиля должны быть включены в темное время суток, в условиях недостаточной видимости, а также в светлое время суток на всех движущихся транспортных средствах с целью их обозначения должны включаться фары ближнего света или дневные ходовые огни, смотрите пп. 19.4 и 19.5 Правил дорожного движения.

К осветительным приборам относятся:

·        фары ближнего и дальнего света (у большинства современных автомобилей они совмещены в едином блоке);

·        передние и задние габаритные фонари (при наличии блока фар передние габаритные фонари обычно находятся в нем)

·        лампы освещения государственного регистрационного знака;

·        плафоны освещения салона автомобиля;

·        лампы освещения подкапотного пространства и багажника.

Возможно дооборудование автомобиля:

спереди - двумя противотуманными фарами (белыми или желтыми),

сзади - одним или двумя противотуманными фонарями красного цвета.

Блок-фары в настоящее время устанавливают на большинство отечественных и зарубежных легковых автомобилей. Они имеют прямоугольную или трапецеидальную форму и состоят из пластмассового корпуса, стеклянного рассеивателя с линзами и призмами, металлического отражателя с зеркальной поверхностью, корректирующего экрана и двух ламп:

малой - для обозначения наружных размеров автомобиля (лампа габаритного света);

большой - для освещения дороги (с нитями ближнего и дальнего света).

В едином корпусе блок-фары

Передняя блок-фара.

Водитель включает габаритные огни, указатели поворота, ближний и дальний свет фар специальными кнопочными и рычажными переключателями.

В заднем фонаре автомобиля расположены следующие лампы:

габаритного света (закрыта рассеивателем красного цвета и включается совместно с передними габаритными огнями);

стоп-сигнала с красным рассеивателем;

указателя поворота с оранжевым рассеивателем;

заднего хода с белым рассеивателем.

Задний фонарь.

Приборы сигнализации информируют участников дорожного движения о намерениях водителя: предстоящем изменении направления движения транспортного средства, маневрировании, торможении, прекращении движения, а также предупреждают об особенностях движения, ослеплении водителя, обозначают транспорт при вынужденной остановке в местах, где остановка запрещена, и при дорожно-транспортном происшествии.

Приборы сигнализации включают в себя:

указатели поворота (передние и задние);

повторители указателей поворота (боковые);

стоп-сигналы;

фонари заднего хода;

звуковой сигнал;

Указатели и повторители поворота включаются рычажком, расположенным на рулевой колонке слева, и автоматически выключаются при возвращении руля в положение прямолинейного движения. Это происходит при повороте руля на значительные углы. При незначительных углах поворота руля водитель должен выключить указатель поворота вручную.

Стоп-сигналы автоматически включаются при нажатии водителем педали тормоза и выключаются при ее отпускании. Подключение к штатным стоп-сигналам задних противотуманных фонарей запрещено.

Для включения аварийной сигнализации необходимо нажать кнопку с изображением треугольника.

При этом на транспортном средстве начнут одновременно мигать все указатели и боковые повторители поворотов. Водителю необходимо четко знать расположение этой кнопки и уметь ее включать с закрытыми глазами, вслепую, так как при ослеплении в соответствии с требованиями Правил дорожного движения водитель обязан включить аварийную сигнализацию и, не меняя полосы движения, снизить скорость и остановиться.

Звуковой сигнал поможет водителю предотвратить дорожно-транспортное происшествие. Кроме того, с его помощью водитель вне населенных пунктов сможет при обгоне привлечь

Указатели и повторители поворота включаются рычажком, расположенным на рулевой колонке слева, и автоматически выключаются при возвращении руля в положение прямолинейного движения. Это происходит при повороте руля на значительные углы. При незначительных углах поворота руля водитель должен выключить указатель поворота вручную.

Стоп-сигналы автоматически включаются при нажатии водителем педали тормоза и выключаются при ее отпускании. Подключение к штатным стоп-сигналам задних противотуманных фонарей запрещено.

Для включения аварийной сигнализации необходимо нажать кнопку с изображением треугольника.

При этом на транспортном средстве начнут одновременно мигать все указатели и боковые повторители поворотов. Водителю необходимо четко знать расположение этой кнопки и уметь ее включать с закрытыми глазами, вслепую, так как при ослеплении в соответствии с требованиями Правил дорожного движения водитель обязан включить аварийную сигнализацию и, не меняя полосы движения, снизить скорость и остановиться.

Звуковой сигнал поможет водителю предотвратить дорожно-транспортное происшествие. Кроме того, с его помощью водитель вне населенных пунктов сможет при обгоне привлечь.

3. Экономическая часть


3.1 Организация заработной платы


Заработная плата (разг. зарплата) - денежная компенсация (об ином виде компенсаций практически неизвестно), которую работник получает в обмен за свой труд. Тарифная система - совокупность нормативов, с помощью которых осуществляется дифференциация заработной платы работников различных категорий в зависимости от: сложности выполняемой работы, условий труда, природно-климатических условий, интенсивности труда, характера труда. Формами тарифной системы являются: сдельная и повременная. Основным различием между ними является лежащий в их основе способ учета затрат труда: при сдельной - учет количества произведенной продукции надлежащего качества, либо учет количества выполненных операций, при повременной - учет проработанного времени. Основная заработная плата считается та которую работник получает без премий, штрафов и т.д. Дополнительная заработная плата-это то что работник получил за премии, переработку и т.д. фонда оплаты труда - это основная и дополнительная заработная плата вместе.; доплаты (Компенсационные доплаты (за работу в вечернее и ночное время; за сверхурочную работу; за работу в выходные и праздничные дни; за разъездной характер работы; несовершеннолетним работникам в связи с сокращением их рабочего дня; рабочим, выполняющим работы ниже присвоенного им тарифного разряда; при невыполнении норм выработки и изготовлении бракованной продукции не по вине работника; до среднего заработка в условиях, предусмотренных законодательством; рабочим в связи с отклонениями от нормальных условий исполнения работы; за работу по графику с разделением дня на части перерывами не менее 2 ч; за многосменный режим работы; за работу сверх нормативной продолжительности рабочего времени в период массовой приемки и закладки на хранение сельскохозяйственной продукции и др.) Стимулирующие доплаты (за высокую квалификацию (специалистам); за профессиональное мастерство (рабочим); за работу с меньшей численностью работников; за совмещение профессий (должностей); за расширение зон обслуживания или увеличение объема выполняемых работ; за выполнение обязанностей отсутствующего работника; бригадирам из числа рабочих, не освобожденных от основной работы; за ведение делопроизводства и бухгалтерского учета; за обслуживание вычислительной техники и др.));

Форма оплаты труда - механизм начисления заработной платы, обеспечивающий учет количества труда, затраченного работниками.

Тарифная система оплаты труда

Тарифная система - совокупность нормативов, с помощью которых осуществляется дифференциация заработной платы работников различных категорий в зависимости от: сложности выполняемой работы, условий труда, природно-климатических условий, интенсивности труда, характера труда. Сдельная и повременная. Основным различием между ними является лежащий в их основе способ учета затрат труда: при сдельной - учет количества произведенной продукции надлежащего качества, либо учет количества выполненных операций, при повременной - учет проработанного времени.

Сдельная форма оплаты труда

Сдельная форма оплаты труда применяется в случаях, когда есть реальная возможность фиксировать количество показателей результата труда и нормировать его путем установления норм выработки и времени. Прямая сдельная оплата труда - при ней оплата труда рабочих повышается в прямой зависимости от количества выработанных ими изделий и выполненных работ исходя из твердых сдельных расценок, установленных с учетом необходимой квалификации.

3.2 Расчет себестоимости ремонта контрольно-измерительных приборов


Расчет себестоимости ремонта контрольно - измерительных приборов. Расчет затрат на материалы. В данной статье учитывается стоимость основных и вспомогательных материалов с учетом транспортно-зaготовительных расходов в размере 3% oт стоимости материалов. Пт-з = П (1 +dт-з/100) =1800 (1+5/100) =108 руб. Пт-з стоимость материалов с учетом транспортно-вспомогательных расходов П - стоимость материалов dт-з - процент транспортно-вспомогательных расходов 5% Расчет основной заработной платы производственных рабочих. Основная зарплата оплату операций и работ по сделанным расчетам.

3о = Tcm*tшт = 250*7,4 = 1850 руб.

- часовая тарифная ставка соответствующего разряда. Тшт - норма штучного времени (час).

Расчет основной заработной платы рабочих.

.        Наименование операции,

2.      разряд работы,

.        норма времени (час),

.        часовая тарифная ставка (руб.),

.        расценка (руб.),

2 3 4 5 = 3*4

4. Охрана труда


Техническое обслуживание и ремонт автомобилей выполняются, как правило, в помещениях, в предназначенных для этого местах (на постах), оборудованных необходимыми для выполнения работ устройствами (осмотровыми канавами, эстакадами, подъемниками и т.п.), а также подъемно-транспортными механизмами, приборами, приспособлениями и инвентарем.

Расположение рабочих мест в помещениях технического обслуживания автомобилей должно исключать возможность наездов автомобилей на работающих. Канавы и эстакады должны иметь направляющие предохранительные реборды для предотвращения возможности падения автомобиля в канаву или с эстакады во время его передвижения. Площадки эстакад, на которых работают рабочие, должны надежно ограждаться перилами.

В помещениях для обслуживания автомобилей запрещается оставлять порожнюю тару из-под топлива и смазочных материалов. По окончании каждой смены и после выхода автомобилей на линию необходимо убирать из помещений и осмотровых канав мусор, отходы и т.п. Разлитое масло или топливо необходимо немедленно удалять при помощи песка или опилок, которые после употребления следует ссыпать в металлические ящики с крышками, установленные вне помещения. Использованные обтирочные материалы (промасленные концы, тряпки и пр.) должны быть убраны в металлические ящики с плотными крышками, а по окончании рабочего дня удалены в безопасное в пожарном отношении место. Отработавшее масло разрешается хранить вне помещений в железных бочках, либо в специальном огнестойком помещении, либо в подземных цистернах.

Помещения для ремонта автомобилей должны обеспечивать нормальные санитарные условия труда.

В ремонтной зоне запрещается:

пользоваться открытым огнем, переносными горнами, паяльными лампами и т.п. в тех помещениях, где применяются легковоспламеняющиеся и горючие жидкости (бензин, керосин, краски, лаки разного рода и пр.), а также в помещениях с легковоспламеняющимися материалами (деревообделочных, обойных и других цехах);

мыть детали бензином и керосином (для этого должно быть специально приспособленное помещение);

хранить легковоспламеняющиеся и горючие жидкости в количествах, превышающих сменную потребность;

ставить автомобили при наличии подтекания топлива из бака (топливо необходимо сливать), а также заправлять автомобили топливом;

хранить чистые обтирочные материалы вместе с использованными;

пользоваться ломами при перекатывании бочек с горючими жидкостями;

загромождать проходы между стеллажами и выходы из помещений материалами, оборудованием, тарой и т.п.

Хранить в общих складах и кладовых краску, лаки, кислоты, карбид кальция (краски и лаки должны содержаться отдельно от кислот и карбида кальция) запрещается.

До направления на посты технического обслуживания или ремонта автомобили моют и очищают от грязи и снега. При постановке автомобиля на пост технического обслуживания или ремонта на рулевое колесо вывешивают табличку с надписью: "Двигатель не пускать - работают люди!". При обслуживании автомобиля на подъемнике любой конструкции на механизме управления подъемником вывешивают табличку с надписью: "Не трогать - под автомобилем работают люди!". В рабочем положении плунжер подъемника надежно фиксируют упором, гарантирующим самопроизвольное опускание подъемника. В помещениях технического обслуживания с поточным движением автомобилей устраивают световую или звуковую сигнализацию, своевременно предупреждающую работающих на линии обслуживания о моменте начала движения автомобиля с поста на пост.

При постановке автомобиля на пост технического обслуживания или ремонта без принудительного перемещения, когда не требуется регулировка тормозов, автомобиль затормаживают ручным тормозом и включают низшую передачу, выключают зажигание (подачу топлива) и под колеса подкладывают упоры. При работах, связанных с провертыванием коленчатого и карданного валов, дополнительно проверяют выключение зажигания или подачи топлива (для дизельных автомобилей), рычаг переключения передач ставят в нейтральное положение, а рычаг ручного тормоза - в нерабочее положение. После выполнения необходимых работ вновь включают низшую передачу и рукоятку ручного тормоза ставят в рабочее положение.

При ремонте автомобилей вне осмотровой канавы, эстакады или подъемника лиц, производящих ремонт, обеспечивают подкатными тележками (лежаками). В случае выполнения ремонтных операций, связанных со снятием колес, следует поставить под вывешенный автомобиль козелки, а под неснятые колеса - упоры (башмаки). Производить какие-либо работы на автомобиле со снятыми колесами, вывешенном только на одних подъемных механизмах (домкратах, талях и т.д.), запрещается. Категорически запрещается подкладывать под вывешенный автомобиль диски колес, кирпичи и прочие предметы.

При смене рессор на автомобилях всех конструкций и типов рессоры предварительно разгружают от массы кузова. Для этого кузова поднимают подъемным механизмом и ставят на козелки, конструкция которых должна гарантировать автомобиль от падения.

Техническое обслуживание и ремонт автомобиля с работающим двигателем не разрешается за исключением регулировки двигателя и опробования тормозов при условии отвода отработавших газов из помещения. Ремонтировать автомобиль-самосвал при поднятом кузове можно только после укрепления кузова прочными металлическими упорами (штангами), исключающими возможность его самопроизвольного опускания. Не разрешается использование вместо упора различных случайных подставок или подкладок (ключей, ломов, деревянных брусьев и т.д.). При замене подъемного механизма обязательна установка второго металлического упора. Работать под поднятым и неразгруженным кузовом без установки упора запрещается.

При ремонте и обслуживании автобусов и грузовых автомобилей с высокими кузовами рабочих обеспечивают лестницами-стремянками со ступенями шириной не менее 15 см. Применять приставные лестницы не разрешается.

В случае ремонта автомобиля-цистерны для перевозки легковоспламеняющихся и взрывоопасных грузов цистерну надежно заземляют. При спуске людей в цистерны и другие емкости из-под этилированного бензина, легковоспламеняющихся или ядовитых жидкостей для очистки и ремонта принимают следующие меры безопасности:

полностью удаляют пары,

выдают работающим спецодежду

применяют шланговые противогазы,

спасательные пояса с веревками,

непрерывно наблюдают за работающими и др.

Работу выполняют не менее двух человек один из которых находится сверху, наблюдает за работой, держит веревку, прикрепленную к спасательному поясу, страхуя работающего в цистерне.

Ремонт топливозаправочных колонок, насосов и другой заправочной аппаратуры без демонтажа производится на открытом воздухе с подветренной стороны или в хорошо вентилируемом помещении, чтобы максимально защитить работающих от вдыхания паров бензина. Во время работы руки следует периодически мыть керосином, а после работы - теплой водой с мылом.

В случае необходимости ремонта днища кузова легкового автомобиля на поворотном стенде, автомобиль надежно укрепляют, топливо из топливных баков и воду из системы охлаждения сливают, плотно закрывают маслозаливную горловину двигателя, аккумуляторную батарею снимают. Если снятие агрегатов и деталей связано с большим физическим напряжением, а также создает неудобства в работе (например, тормозные и клапанные пружины, барабаны, рессорные пальцы и т.д.), следует применять приспособления (съемники), обеспечивающие безопасность при выполнении этой работы. Применять съемник следует только для той операции, для которой он предназначен. При работе со съемником необходимо следить за правильной установкой съемника на детали. Захваты должны надежно и правильно держать деталь. При применении съемника не следует употреблять никаких дополнительных рычагов с целью удлинения воротка съемника.

Заключение


В данной курсовой работе в теоретическом разделе я подробно изложил, что такое контрольно-измерительные приборы, звуковые сигналы, приборы освящения и сигнализация. Так же их техническое обслуживание и текущий ремонт. Получил навыки в практической части. Освоил технику и методы технического обслуживания и текущего ремонта контрольно-измерительных приборов, звуковых сигналов, приборов освящения и сигнализации.

2.      Методические указания для выполнения курсового проекта по дисциплине ”Техническое обслуживание и ремонт автомобилей”;

.        Типовая инструкция по охране труда при выполнении шиномонтажных и вулканизационных работ ТОИ Р-07-32-2014;

.        Наумов В.И., Сидоров Н.Г., Сахаров В.К. “Эксплуатация, техническое обслуживание и ремонт автомобилей”

5.      Карагодин В.И., Шестопалов С.К. Слесарь по ремонту автомобилей: Практическое пособие. - 2-е изд., перераб. и доп. - М.: Высшая школа, 2012

6.      Грамолин А.В., Кузнецов А.С. Топливо, масла, смазки, жидкости и материалы для эксплуатации и ремонта автомобилей. - М.: Машиностроение, 1995.

Похожие работы на - Техническое обслуживание автомобиля

 

Не нашли материал для своей работы?
Поможем написать уникальную работу
Без плагиата!
Без нейросетей!