Основы обеспечения единства измерений

  • Вид работы:
    Реферат
  • Предмет:
    Физика
  • Язык:
    Русский
    ,
    Формат файла:
    MS Word
    234,3 Кб
  • Опубликовано:
    2014-08-30
Вы можете узнать стоимость помощи в написании студенческой работы.
Помощь в написании работы, которую точно примут!

Основы обеспечения единства измерений













Реферат

Основы обеспечения единства измерений

Содержание

. Сущность понятия "измерение"

. Единицы физических величин и их системы

. Воспроизведение единиц физических величин

. Эталон единицы длины

. Эталон единицы массы

. Эталон единиц времени и частоты

. Эталон единицы силы электрического тока

. Эталон единицы температуры

. Эталон единицы силы света

. Единица количества вещества

. Квантовая метрология

. Эталон вольта на эффекте Джозефсона

. Эталон ома на основе квантового эффекта Холла

. Передача размеров единицы ФВ от эталонов рабочим СИТ

Литература

измерение физический величина эталон

1. Сущность понятия "измерение"

Слово "метрология" произошло от двух греческих слов: "метрон" - мера и "логос" - учение, т.е. дословно - учение о мерах. В современном понимании метрология - это наука об измерениях, которая включает как теоретические, так и практические аспекты измерений во всех отраслях науки и техники. Для осмысления сущности понятия "измерение" вспомним, что окружение человека представляет собой совокупность физических объектов и явлений. Последние воспринимаются и характеризуются человеком с помощью физических величин (ФВ) и их размеров.

Физическая величина - это свойство, общее в качественном отношении многим физическим объектам, но индивидуальное в количественном отношении для каждого из них (ДСТУ 2681-94. Метрологія. Терміни та визначення).

Например, все тела обладают массой и температурой, но для каждого из них эти параметры различны.

Количественной характеристикой ФВ служит ее размер.

Размер ФВ - это количественное содержание физической величины в данном объекте.

В процессе практической деятельности человеку приходится сравнивать между собой размеры ФВ. Эти сравнения для различных ФВ могут осуществляться тремя различными способами, по трем различным шкалам: порядка, интервалов и отношений.

Сравнение по шкале порядка.

Это сравнение размеров ФВ по принципу "больше - меньше", без выяснения, на сколько или во сколько раз один размер больше другого. Расположенные в порядке возрастания (ранжира) разные размеры одной и той же ФВ образуют шкалу порядка.

Определенные точки на шкале порядка фиксируются в качестве опорных (реперных), выражаемых, как правило, в баллах.

По реперным шкалам сравниваются, например, интенсивность землетрясений, сила морского волнения, уровень знаний, чувствительность фотопленки и т.д.

Недостаток шкалы порядка - неопределенность интервалов между реперными точками. Поэтому с баллами нельзя производить математических операций (складывать, вычитать, делить, умножать).

Сравнение по шкале интервалов.

Шкала интервалов отличается от шкалы порядка тем, что она составлена из равных, строго определенных интервалов.

Примером шкалы интервалов является шкала времени, шкала температуры.

В первом случае время сравнивается по шкале, разбитой на интервалы, равные периоду обращения Земли вокруг Солнца (летоисчисление). Эти интервалы делятся на более мелкие (сутки), равные периоду обращения Земли вокруг своей оси. Сутки делятся на часы, часы - на минуты, минуты - на секунды и т.д.

При сравнении температур пользуются шкалами, получаемыми путем пропорционального деления интервала между двумя реперными точками. Так, в температурной шкале Цельсия один градус является сотой частью интервала между температурой таяния льда, принимаемой за начало отсчета, и температурой кипения воды.

По шкале интервалов можно уже судить не только о том, что один размер больше другого, но и о том, на сколько больше, т.е. для шкалы интервалов определены такие математические действия как сложение и вычитание.

Таким образом, для шкалы интервалов известным является масштаб шкалы, а начало отсчета может быть выбрано произвольно, поэтому недостатком шкал интервалов является то, что по ним невозможно определить отношение между различными размерами.

Сравнение по шкале отношений.

В шкалах отношений в качестве одной из реперных точек принимают такую, в которой размер ФВ равен нулю. Примером может служить температурная шкала Кельвина. В ней за начало отсчета принята температура, при которой прекращается тепловое движение молекул. Шкала отношений является наиболее совершенной из всех рассмотренных шкал. На ней определено наибольшее число математических операций: сложение, вычитание, деление, умножение.

Итак, от сравнения размеров ФВ по шкале порядка, мы перешли к сравнению их по шкалам интервалов и отношений, предполагающим разбиение шкалы на некоторые единичные интервалы.

В результате сравнения по шкалам интервалов и отношений мы получаем оценку размера ФВ в виде некоторого числа принятых для нее единиц, называемую значением ФВ.

Отображение ФВ их значениями с помощью эксперимента и вычислений с использованием специальных технических средств, называется измерением.

Таким образом, сущность измерения состоит в сравнении двух ФВ: измеряемой, которая выражает интересующую нас особенность исследуемого объекта и известной, которая присуща специально созданному объекту, называемому мерой. Операция сравнения производится с помощью средства измерительной техники (СИТ).

Средство измерительной техники - техническое средство, используемое при измерениях и имеющее нормированные метрологические характеристики.

Мера - измерительное устройство, реализующее воспроизведение и (или) хранение ФВ одного или нескольких размеров, значения которых известны с необходимой точностью.

Сущность измерения как процесса сравнения выражает основное уравнение измерения

Q=q[Q],

где Q - измеряемая величина;- числовое значение величины;

[Q] - единица измерения.

Результат измерения по ряду причин отличается от размера измеряемой ФВ. Это отличие называется погрешностью измерения.

Измерение одной и той же ФВ может производиться в различных местах и условиях, в различное время, различными методами и приборами в различных режимах. При этом будут получены разные результаты и погрешности измерения. Для того, чтобы результатам таких измерений можно было в одинаковой степени доверять, необходимо обеспечить единство измерений.

Под единством измерений понимают такое их состояние, при котором их результаты выражены в узаконенных единицах измерений, а погрешности измерений известны и с заданной вероятностью не выходят за установленные границы.

Для обеспечения единства измерений требуется решение триединой задачи:

)стандартизация системы единиц ФВ;

)воспроизведение размера единиц с помощью эталонов;

)передача размера единиц от эталонов рабочим СИТ.

2. Единицы физических величин и их системы


Из уравнения измерения видно, что числовые значения измеряемых величин зависят от того, какие используются единицы измерения.

Если допустить произвол в выборе единиц измерения, то это приведет к нарушению единства измерений. Поэтому стандартизации единиц измерений и их совокупности, называемой системой единиц, в метрологии придается первостепенное значение.

В вопросе выбора единиц ФВ все крупные области измерений в процессе своего развития проходили несколько этапов.

-й этап. Единицы ФВ появляются по мере их практической необходимости. Они плохо определены и еще хуже взаимосвязаны, часто находятся во взаимном противоречии.

-й этап. Появление абсолютных систем единиц, содержащих ограниченное число основных единиц и производные единицы, определяемые через основные.

Рисунок 1 - Сущность измерений

-й этап. Трансформация систем единиц таким образом, чтобы была возможность воспроизведения единиц с максимальной точностью с помощью эталонов и эталонных методов. В результате появляется современная метрическая система мер, определяемая через международные прототипы метра и килограмма. Аналогично определялись международные электрические единицы (через эталон - для ома и эталонный метод - для ампера), а также международная шкала температур, определяемая посредством реперных точек, т.е. точек кипения и затвердевания ряда веществ (кислород, сера, серебро, золото и др.).

-й этап. Создание универсальной системы естественных мер, базирующейся на макроскопических квантовых эффектах (сверхпроводимости, сверхтекучести, и квантовом эффекте Холла и т.д.).

Принципы формирования рациональной системы единиц сформулировал Гаусс в 1832 г.:

а) составление системы уравнений, выражающих зависимость между всеми величинами, для которых необходимо установить единицы измерения;

б) выбор основных единиц на основании анализа системы уравнений;

в) образование производных единиц;

По мере развития науки возникло огромное множество систем единиц, что тормозило научно-технический прогресс. Поэтому в 1960 г. XI-я Генеральная конференция по мерам и весам приняла Международную систему единиц ФВ, известную у нас как система СИ. Эта система введена в 1982 г. и законодательно закреплена в Украине в ДСТУ 3651. 0-2 - 97 "Метрология. Единицы физических величин".

В системе семь основных единиц (табл.1.1): единица длины - метр, единица массы - килограмм, единица времени - секунда, единица силы тока - ампер, единица термодинамической температуры - кельвин, единица силы света - кандела, единица количества вещества - моль.

В ДСТУ даны обозначения, наименования и определения перечисленных единиц (табл. 1), а также правила образования кратных и дольных единиц, их наименований и обозначений (табл. 2), производные и внесистемные единицы, физические постоянные и характеристические числа, их понятия, наименования и обозначения. Приведенные в ДСТУ физические величины их единицы, наименования, обозначение и правила применения соответствуют аналогичным требованиям международных стандартов ISO 31:1992 и ISO 1000:1992.

В системе СИ используются десятичные кратные и дольные единицы, которые образуются с помощью множителей, а их названия и обозначения - из названий и обозначений исходных единиц с помощью соответствующих приставок.

 

Таблица 1- Основные единицы международной системы СИ

Физическая величина

Единицы физических величин

Наименование

Размерность

Наименование

Обозначение




Международ.

Русское

Длина

L

метр

m

м

Масса

M

килограмм

kg

кг

Время

T

секунда

s

c

Сила тока

I

ампер

A

А

Сила света

J

кандела

cd

кд

Термодина- мическая температура

Q

кельвин

K

К

Количество вещества

N

 моль

mol

моль

 

Таблица 2 - Множители и приставки для образования десятичных кратных и дольных единиц и их наименование

Мно-житель

Приставка

Обозначение приставки

Множи-тель

Приставка

Обозначение приставки



Международное

Русское



Международное

Русское

1024

Йотта

Y

Й

10-1

Деци

d

д

1021

Зетта

Z

ЗТ

10-2

c

с

1018

Экса

E

Э

10-3

Милли

m

м

1015

Пета

P

П

10-6

Микро

m

мк

1012

Тера

T

Т

10-9

Нано

n

н

109

Гига

G

Г

10-12

Пико

p

п

106

Мега

M

М

10-15

Фемто

f

ф

103

Кило

k

к

10-18

Атто

a

а

102

Гекто

h

г

10-21

Зепто

z

зп

101

Дека

da

да

10-24

Йокто

y

й


При образовании кратных и дольных единиц необходимо придерживаться следующих правил:

) присоединение к наименованию единицы двух и более приставок подряд не допускается, например, вместо микромикрофарад следует писать пикофарад;

) приставка пишется слитно с наименованием единицы, к которой она присоединяется;

) если единица образована как произведение или отношение единиц, приставку следует присоединять к наименованию первой единицы, входящей в произведение или в отношение, например, килоампер/метр, а не ампер/ миллиметр;

) обозначения кратных и дольных единиц от единицы возведенной в степень, следует образовывать добавлением соответствующего показателя степени к обозначению кратной или дольной от этой единицы, причем показатель означает возведение в степень кратной или дольной единицы (вместе с приставкой), например, 5 км2= 5 (103м)2=5 ·106м2.

Производные единицы СИ следует образовывать из основных и дополнительных единиц СИ по правилу образования когерентных производных единиц, которое осуществляется следующим образом.

В общем случае производная величина Q может быть выражена через основные величины А, В, С,... как

=KAaBbCg...,

где a, b, g - показатели размерности, К - некоторый безразмерный коэффициент.

Выражая размеры производной и основных величин через их значения, можно записать

[Q]=Kaa [A]abb[B]bcg[C]g... ,

Поскольку справедливо выражение

q=K aa bb cg... ,

то с его учетом уравнения можно переписать в следующем виде:

[Q]= [A]a [B]b [C]g... .

Таким образом, когерентные производные единицы образуют при помощи простейших уравнений связи между величинами, в которых коэффициенты равны 1.

Пример. Если для образования единицы энергии используют уравнение

 ,

где Е - кинетическая энергия;- масса материальной точки;- скорость движения точки,

то когерентную единицу энергии в системе СИ образуют следующим образом

.

Следовательно, единицей энергии в системе СИ является джоуль. В приведенном примере он равен кинетической энергии тела массой 2 кг, движущегося со скоростью 1 м/с.

. Воспроизведение единиц физических величин

Второй задачей обеспечения единства измерений является задача воспроизведения размера единиц ФВ.

Размеры единиц могут воспроизводиться там же, где выполняются измерения, либо информация о них должна передаваться с места их воспроизведения. В зависимости от этого различают децентрализованное и централизованное воспроизведение единиц.

Централизованное воспроизведение осуществляется с помощью специальных технических средств, называемых эталонами.

Слово "эталон" означает мерило, образец. Эталон воспроизводит единицу ФВ с наивысшей достижимой точностью.

Эталон - СИТ, обеспечивающее воспроизведение и (или) хранение единицы измерений одного или нескольких значений, а также передачу размера этой единицы другим СИТ.

Классификация эталонов приведена на рис. 2.

По приоритету воспроизведения и хранения единицы разделяют первичные, вторичные и рабочие эталоны.

Первичный эталон - обеспечивает воспроизведение и (или) хранение единицы измерений в соответствии с ее определением и передачу ее размера с наивысшей в стране точностью. Пример - комплекс, состоящий из платино-иридиевого эталона кг в совокупности с эталонными весами.

Первичный эталон, официально признанный в качестве исходного для страны, называется государственным. Он утверждается Госстандартом, на него издается ГОСТ.

Основные единицы СИ воспроизводятся с помощью госэталонов, т.е. централизовано. В международной практике государственные эталоны называются национальными, а эталоны, хранимые в Международном бюро мер и весов, - международными.

Вторичный эталон - эталон, который получает размер единицы непосредственно от государственного эталона данной единицы и передает ее рабочим эталонам или рабочим СИТ. Он создается для уменьшения износа первичного эталона. По своему метрологическому назначению вторичные эталоны делятся на эталоны-копии и эталоны-сравнения.

Эталон-копия - эталон, получающий размер единицы непосредственно от государственного эталона данной единицы и может заменить в соответствии с поверочной схемой государственный эталон в случае его отказа. Он не всегда может быть физической копией госэталона.

Рисунок 2 - Классификация эталонов

Эталон сравнения - применяется для взаимного сличения эталонов, которые по тем или иным причинам не могут быть сличаемы непосредственно. Пример эталона-сравнения - группа нормальных элементов, применяемых для сличения госэталона вольта с эталоном вольта Международного бюро мер и весов.

Рабочие эталоны - применяются для поверки или калибровки рабочих СИТ. Например, рабочий эталон кг, изготовленный из нержавеющей стали.

Рабочий эталон, имеющий наивысшие метрологические свойства среди эталонов, имеющихся на предприятии или в организации, называется исходным эталоном.

Эталоны могут осуществляться в виде:

комплекса СИТ;

одиночных эталонов;

групповых эталонов;

эталонных наборов.

Госэталоны всегда осуществляются в виде комплекса СИТ и вспомогательных устройств, обеспечивающих воспроизведение единицы, ее хранение и передачу рабочим эталонам.

Одиночный эталон - состоит из одного СИТ, обеспечивающего воспроизведение и хранение единиц самостоятельно без участия других СИТ.

Групповой эталон - в состав которого входит группа СИТ одного типа, номинального значения или диапазона измерения, применяемых совместно для повышения точности воспроизведения единицы или ее хранения. Размер единицы, хранимой групповым эталоном, определяется как среднее арифметическое размеров СИТ. Отдельные СИТ, входящие в групповой эталон могут применяться в качестве одиночных эталонов.

Эталонные наборы - наборы СИТ, позволяющих хранить единицу или измерять величину в определенных пределах. Например, эталон единицы плотности жидкостей в виде набора денсиметров. Эталонные наборы и групповые эталоны могут быть постоянного и переменного состава.

Государственные эталоны хранятся в метрологических институтах в специальных условиях. Для проведения работ с госэталоном назначаются особые ответственные лица - ученые - хранители эталонов.

Кроме национальных эталонов существуют также международные, которые хранятся в Международных бюро мер и весов. Проводятся систематические сличения Международных эталонов с национальными. Эталоны метра и килограмма сличают 1 раз в 25 лет. Электрические и световые - 1 раз в 3 года.

. Эталон единицы длины

В конце ХVIII в., в период введения метрической системы мер, был принят первый эталон единиц длины - метр. За метр приняли одну десятимиллионную часть четверти Парижского меридиана. В 1799 г. на основе геодезических измерений (триангуляций) части дуги меридиана от Дюнкерка до Барселоны экспедициями ученых во главе с Мешеном и Деламбером был изготовлен эталон метра в виде платиновой концевой меры, переданной на хранение в национальный Архив Франции и получившей название "метра Архива". Метр Архива представляет собой платиновую линейку шириной около 25 мм, толщиной около 4 мм с расстоянием между концами, равным 1 м.

Повторные измерения длины дуги меридиана, выполненные в XIX в., показали, что длина принятого метра несколько короче подлинного "естественного" метра. Так как в дальнейшем, при более точных измерениях, вероятно, можно было получить различные значения основной единицы длины, Международная комиссия по прототипам метрической системы, созданная по инициативе Петербургской академии наук, в 1872 г. решила отказаться от естественного эталона метра и принять в качестве исходной меры длину метра Архива. В соответствии с решением этой комиссии был изготовлен 31 эталон метра в виде штриховой меры из сплава платины и иридия. Из них метр номер 6 оказался при 0 оС равным метру Архива и был принят в качестве международного прототипа метра. Остальные 30 эталонов были распределены между различными государствами.

Эталон метра представляет собой платино - иридиевый брусок длиной 102 см, имеющий в поперечном сечении форму X, как бы вписанную в воображаемый квадрат, сторона которого равна 20 мм. Платино - иридиевый эталон метра номер 28, полученный Россией в 1889 г., был в последующем утвержден в качестве Государственного эталона. Единица длины - метр определяется расстоянием между осями двух средних штрихов, нанесенных на бруске при 0 оС.

Хотя эталон был изготовлен из сплава иридия и платины, отличающегося значительной твердостью и большим сопротивлением к окислению, не было полной уверенности в том, что длина эталона с течением времени не изменится. Это объясняется тем, что металлические стержни, подвергшиеся ранее термической и механической обработке, получают внутренние упругие напряжения, которые вызывают медленные микрокристаллические изменения их структуры. При периодических сличениях национальных эталонов с международным прототипом нельзя обнаружить малых изменений их длины, т.к. все эталоны изготовлены из одного и того же сплава и, следовательно, претерпевают одни и те же изменения. Кроме того, штрихи, нанесенные на бруски имеют значительную ширину, что ограничивает погрешность сличения на уровне 10-7 м.

Поэтому необходимо было ввести новый естественный эталон метра. В 1895 г. II Генеральная конференция по мерам и весам признала, что естественным свидетелем размера метра может является длина волны монохроматического света. После изучения спектральных линий ряда элементов было найдено, что наибольшую точность воспроизведения единицы длины обеспечивает оранжевая линия изотопа криптона-86. ХI Генеральная конференция по мерам и весам (1960 г.) приняла выражение размера метра в следующем виде: "Метр - длина, равная 1 650 763,73 длин волн в вакууме излучения, соответствующего переходу между уровнями 2р10 и 5d5 атома криптона-86". Как известно, квант световой энергии излучается или поглощается атомом при переходе из одного стационарного состояния в другое. Частота излучения (поглощения) пропорциональна разности энергий состояний

f=(E2-E1)/h,

Если E2 > E1 происходит излучение электромагнитных волн, если E2 < E1 - поглощение. При распространении излучения в вакууме со скоростью с, длина волны монохроматического света равна

l=ch/(E2-E1).

При исследовании спектров различных веществ было обнаружено, что элементы с четным номером в таблице Менделеева и четной атомной массой (т.н. четно-четные элементы) имеют линии спектра с простым контуром. Наиболее тонкие и симметричные линии излучения соответствуют переходу между вышеупомянутыми уровнями атома криптона-86. Метр в длинах световых волн воспроизводится интерференционным методом на специальной установке с помощью лампы, заполненной изотопом криптона-86. Схема лампы с криптоном приведена на рис. 3.

1 - светящийся капилляр; 2 - газоразрядная трубка с криптоном; 3 - накаленный катод; 4 - манометр; 5 - сосуд Дьюара; 6 - герметически закрывающаяся камера; 7 - термопара; 8 - окуляр; 9 - мотор с лопаткой для перемешивания жидкого азота

Рисунок 3 - Схема лампы с криптоном-86

С целью получения необходимых условий для излучения линии криптон заключают в капилляр и охлаждают жидким азотом до 50-60 К. Возбуждение атомов криптона производят путем пропускания через него электрического тока (напряжения порядка 1500 В). Осуществление этого метода дало возможность снизить погрешность воспроизведения метра, примерно до 4×10 -9 м.

В 1983 г. XVII Генеральная конференция по мерам и весам приняла следующее определение метра: "Метр - единица длины, равная пути, проходимому в вакууме светом за 1/299792458 долю секунды". При таком определении метра длина не может считаться основной ФВ, так как выражается через скорость и время. Поэтому за этим решением XVII Генеральной конференции должно последовать изменение структуры Международной системы единиц.

Принятое новое определение позволило воспроизводить единицу длины с помощью единого эталона времени-частоты-длины. Минимальная погрешность, которая может быть достигнута в этом случае, равна погрешности современного эталона частоты-времени. В качестве источника колебаний в этом эталоне применяется высокостабильный лазер с известной относительно эталона времени частотой f. Он служит эталоном элементарной длины, равной l=c/f. С помощью такого лазера интерференционным путем удобно измерять расстояние порядка метра. Делается это путем подсчета числа полуволн, укладывающихся на измеряемой длине. Поэтому в состав эталона времени-частоты-длины введен высокоточный вакуумный модуляционный интерферометр Фабри-Перо, расположенный во ВНИИМ им. Менделеева (г. С. - Петербург). Кроме того, для измерения частоты лазерного излучения, принадлежащей к оптическому диапазону, с помощью эталона времени и частоты, работающего в радиочастотном диапазоне, необходимо было создание радиооптического частотного моста (РОЧМ), который решает эту задачу, используя принцип последовательного повышения частоты. Таким образом, на базе двух институтов был создан единый технический комплекс - эталон частоты-длины-времени. Территориальная разобщенность этих институтов потребовала введения в состав эталона перевозного He-Ne/CH4 лазера, длина волны которого устанавливается по выходному лазеру РОЧМ и служит для измерения длины волны He-Ne/I2-лазера, входящего в состав интерферометра.

Единица длины - метр воспроизводится со среднеквадратическим отклонением 2,5·10-11 м, а неисключенный остаток систематической погрешности составляет 1,2×10-11 , что на два порядка меньше погрешности результата воспроизведения метра по стандартному определению с помощью криптоновой лампы.

. Эталон единицы массы

Определение единицы массы - килограмма - было дано III Генеральной конференцией по мерам и весам 1901 г. в следующем виде:

"Килограмм - единица массы - представлен массой международного прототипа килограмма".

При установлении метрической системы мер в качестве единицы массы была принята масса 1 кг, равная массе 1 дм3 чистой воды при температуре ее наибольшей плотности (4 oС).

В этот период были проведены точные измерения массы известного объема воды путем последовательного взвешивания в воздухе и воде пустого бронзового цилиндра, размеры которого были тщательно определены.

Изготовленный на основе этих взвешиваний первый прототип килограмма представлял собой платиновую цилиндрическую гирю высотой 39 мм, равной его диаметру. Он был передан на хранение в Национальный Архив Франции.

Для того, чтобы при дальнейших, более точных взвешиваниях, не менять значения единицы массы, Международной комиссией по эталонам метрической системы в 1872 г. было решено за единицу массы принять массу прототипа килограмма Архива.

В 1883 г. были изготовлены 42 прототипа килограмма из платино-иридиевого сплава (90% платины и 10% иридия) фирмой Джонсон, Маттей и К° и копии №12 и №26 получены по жребию Россией в 1889 г. согласно Метрической конвенции. Эталон хранится на кварцевой подставке под двумя стеклянными колпаками в стальном шкафу особого сейфа, находящегося в термостатированном помещении ГП "ВНИИМ им. Д.И.Менделеева", г. С.-Петербург.

В состав государственного первичного эталона единицы массы кроме гири входят эталонные весы номер 1 (Рупрехта) и номер 2 (ВНИИМ) на 1кг с дистанционным управлением, служащие для передачи размера единицы массы от прототипа номер 12 эталонам-копиям и от эталонов-копий рабочим эталонам (2 эталонам 1 раз в 10 лет).

Погрешность воспроизведения массы эталоном килограмма не превышает 2·10-9. Таким образом, эталон килограмма позволяет записывать результат измерения массы в лучшем случае числом из девяти цифр. Несмотря на все предосторожности, как показывают результаты международных сличений, за 90 лет масса эталонной гири увеличилась на 0,02 мг. Объясняется это адсорбцией молекул из окружающей среды, оседанием пыли на поверхность гири и образованием тонкой коррозионной пленки.

В связи с развитием работ по созданию новых эталонов единиц ФВ, основанных на атомных постоянных, предлагается использование в качестве эталона массы нейтрона. Другое предложение основано на воспроизведении единицы массы через счетное число атомов какого-нибудь химического элемента, например изотопа кремния-28. Для этого необходимо повысить точность определения числа Авогадро, на что сейчас направлены усилия многих лабораторий мира.

. Эталон единиц времени и частоты

Еще в древности счет времени основывался на периоде обращения Земли вокруг своей оси. До недавнего времени секунду определяли как 1/86400 часть средних солнечных суток (т. к. продолжительность суток в течение года изменяется). Позднее было обнаружено, что вращение Земли вокруг своей оси происходит неравномерно. Относительная погрешность определения единицы времени в соответствии с этим определением составляла около 10-7 , что было недостаточно для метрологического обеспечения измерителей времени и частоты. Поэтому в основу определения единицы времени положили период вращения Земли вокруг Солнца - тропический год (т.е. интервал между двумя весенними равноденствиями). Размер секунды был определен как 1/31556925,9744 часть тропического года. Поскольку тропический год также изменяется (около 5 с за 1000 лет), то за основу был взят тропический год, отнесенный к 12 ч эфемеридного времени (равномерно текущее время, определяемое астрономическим путем) 0 января 1900 года, что соответствует 12 ч 31 декабря 1899 г. Это определение секунды было зафиксировано в Международной системе единиц 1960 г. Данное определение позволило на 3 порядка (в 1000 раз) снизить погрешность определения единицы времени.

Успехи квантовой физики позволили использовать частоту излучения или поглощения при энергетических переходах в атомах цезия и водорода для определения размера единицы времени. XIII Генеральная конференция по мерам и весам в 1967 г, приняла новое определение единицы времени - секунды: "Секунда - это время, равное 9192631770 периодам излучения, соответствующего переходу между двумя сверхтонкими уровнями основного состояния атома цезия-133".

Выбор количества колебаний произведен таким образом, чтобы привязать "цезиевую" секунду к "тропической".

В соответствии с определением единицы времени воспроизведение ее осуществляется цезиевым репером (рис. 4). Основой эталона является атомно-лучевая трубка. Атомы цезия-133 испускаются нагретым до температуры 100-150 0С источником 1. Пучок этих атомов попадает в область неоднородного магнитного поля, создаваемого магнитом 2. Угол отклонения атомов в таком магнитном поле определяется их магнитным моментом. Поэтому неоднородное магнитное поле позволяет выделить из пучка атомы, находящиеся на определенном энергетическом уровне. Эти атомы направляются в объемный резонатор 3, пролетая через который взаимодействуют с переменным электромагнитным полем СВЧ. Частота электромагнитных колебаний может регулироваться в небольших пределах.

- источник атомов цезия-133; 2, 4 - магниты; 3 - резонатор; 5 - детектор

Рисунок 4 - Структурная схема цезиевого репера

При совпадении ее с частотой, соответствующей энергии квантовых переходов, происходит поглощение энергии СВЧ-поля и атомы переходят в основное состояние. Отклоняющей магнитной системой 4 они направляются в детектор 5. Ток детектора при настройке резонатора на частоту квантовых переходов оказывается максимальным. Это служит основой стабилизации частоты в цезиевом репере, в котором электромагнитные колебания кварцевого генератора умножаются до частоты спектральной линии цезия, принятой за рабочую. В резонаторе атомно-лучевой трубки энергия высокочастотных колебаний поглощается атомами цезия.

При отклонении частоты кварцевого генератора (собственная нестабильность частоты равна 10-8 от номинального значения) интенсивность переходов атомов и, следовательно, плотность атомного пучка на выходе трубки резко сокращается.

Блок автоподстройки, связанный с трубкой, вырабатывает сигнал ошибки, возвращающий частоту кварцевого генератора к номинальному значению. Стабильность цезиевого репера составляет 1013. Делитель частоты, находящийся в кварцевых часах, позволяет получить на их выходе требуемые частоты и временные интервалы (в том числе и частоту 1 Гц).

Долговременная стабильность цезиевого репера частоты невелика. Поэтому для хранения единиц времени и частоты в состав государственного первичного эталона входит водородный мазер (рис. 5).

- стеклянная трубка; 2 - коллиматор; 3 - шестиполюсной осевой магнит; 4 - накопительная ячейка; 5 - резонатор; 6 - многослойный экран

Рисунок 5 - Мазер на атомарном водороде

В стеклянной трубке 1 под действием высокочастотного электрического разряда происходит диссоциация молекул водорода. Пучок атомов водорода через коллиматор 2, обеспечивающий его направленность, попадает в неоднородное магнитное поле шестиполюсного осевого магнита 3, где претерпевает пространственную сортировку. В результате последней на вход накопительной ячейки 4, расположенной в объемном резонаторе 5, попадают лишь атомы водорода, находящиеся на верхнем энергетическом уровне. Находящийся внутри многослойного экрана 6 высокодобротный резонатор настроен на частоту используемого квантового перехода. Взаимодействие возбужденных атомов с высокочастотным полем резонатора (в течение примерно 1 с) приводит к их переходу на нижний энергетический уровень с одновременным излучением квантов энергии на резонансной частоте 1420405751,8 Гц. Это вызывает самовозбуждение генератора, частота которого отличается высокой стабильностью (5×10-14). Значение этой частоты периодически поверяется по цезиевому реперу.

Наряду с водородным мазером для хранения шкал времени в состав государственного первичного эталона единиц времени и частоты и шкал времени входит группа квантово-механических часов. Общий диапазон временных интервалов, воспроизводимых эталоном, составляет 10-8 ¸108 с. Эталон расположен в ГП ВНИИФТРИ г. Москва.

. Эталон единицы силы электрического тока

Из определения силы тока как физической величины видно, что единица силы тока равна количеству электричества, проходящего через поперечное сечение проводника в единицу времени. Поэтому естественно было бы принять за основную электрическую единицу некоторый заряд, например равный заряду электрона или определенного числа электронов. Однако в настоящее время нет возможности осуществить с достаточной точностью эталон, опирающийся на такое определение. Вследствие этого пришлось отказаться от единицы количества электричества как основной электрической единицы и принять в качестве таковой единицу силы тока - ампер. Размер ампера можно было бы воспроизводить по следующим действиям, которые оказывает ток в окружающей среде:

по выделению теплоты при прохождении по проводнику;

по осаждению вещества на электродах при прохождении тока через электролит;

по пондеромоторным (механическим) действиям тока на магнит или проводник с током.

В 1893 г. Международный конгресс электриков в Чикаго принял первый эталон силы электрического тока - ампер, установив так называемый международный ампер. Ампер воспроизводился с помощью серебряного вольтметра и имел следующее определение: международный ампер - неизменяющийся ток, который проходя через водный раствор азотнокислого серебра, при соблюдении приложенной спецификации выделяет 0,001118 г серебра в 1 с.Генеральная конференция по мерам и весам в 1948 г. приняла следующее определение ампера: "Ампер - сила неизменяющегося тока, который, проходя по двум параллельным проводникам бесконечной длины и ничтожно малой площади круглого поперечного сечения, расположенным на расстоянии 1 м один от другого в вакууме, вызывал бы между этими проводниками силу взаимодействия, равную 2·10-7 Н на каждый метр длины". Это определение позволило получить наилучшую точность воспроизведения ампера.

Приведенная формулировка содержит понятие бесконечно тонких и бесконечно длинных проводников, которые на практике осуществить невозможно. Однако, на основе закона Ампера можно рассчитать с достаточной степенью точности силу взаимодействия токов, протекающих по проводникам конечных размеров.

В качестве эталона ампера были приняты токовые весы (рис. 6).

Токовые весы представляют собой рычажные равноплечие весы, в которых подвешенная слева подвижная катушка уравновешивается грузом, положенным на правую чашку весов. Подвижная катушка входит во вторую неподвижную коаксиально расположенную катушку. При прохождении по этим последовательно соединенным катушкам постоянного электрического тока подвижная катушка опускается, поэтому на правую чашку весов следует положить добавочный груз. В соответствии с законом Ампера сила взаимодействия токов в катушках будет равна

=kI1I2=kI2,

где I1=I2=I - сила тока в катушках; - коэффициент пропорциональности, зависящий от формы и размеров катушек, принятого значения относительной магнитной проницаемости среды и др.

С другой стороны, в соответствии со вторым законом Ньютона

F = mg,

где m - масса уравновешивающего груза;- ускорение свободного падения в месте расположения весов.

Приравнивая эти выражения, получаем расчетную формулу для силы Тока

.

Государственный первичный эталон ампера представляет собой комплекс измерительных средств в следующем составе.

Рисунок 6 - Токовые весы

. Токовые весы с гирей массой 8,16044 г и с дистанционным управлением.

. Аппаратура для передачи размера единицы, в которую входит катушка сопротивления Р342, получившая свое значение от первичного эталона Ома.

Погрешность воспроизведения размера единицы тока не превышает 0,001%. Эталон находится в ГП "ВНИИМ им. Д.И. Менделеева",  г. С.-Петербург.

В связи с успехами квантовой метрологии появилась возможность воспроизводить единицу силы тока более точно с помощью косвенных измерений в соответствии с выражением I = U/r. При этом размер единицы U электрического напряжения - вольт - воспроизводится с помощью квантового эффекта Джозефсона (пп. 1.4.1), а размер единицы r электрического сопротивления - ом - с помощью квантового эффекта Холла (пп. 1.4.2). Среднеквадратическое отклонение косвенного воспроизведения ампера составляет 5×10-8, а неисключенная систематическая погрешность - 2×10-7. Таким образом, погрешность воспроизведения ампера возросла более чем на два порядка.

8. Эталон единицы температуры

Измерения температуры Т с момента изобретения термометра основывались на применении того или иного термометрического вещества, изменяющего свой объем или давление при изменении температуры. Отсчет температуры в этих случаях осуществляется по равномерной шкале

,

где - соответственно отсчет по шкале термометра и положения реперных точек . В качестве реперных (опорных) точек выбирали точки калибровки термометра, соответствовавшие температурам перехода термометрического вещества из одного агрегатного состояния в другое (температуры плавления и кипения). В этих точках температура вещества остается постоянной все время пока осуществляется переход.

В 1715 г. Фаренгейт создал ртутный термометр и предложил для построения термодинамической шкалы две точки: температуру смеси льда с солью и нашатырем, которую он обозначил 0, и температуру тела человека, которую он обозначил числом 96. Шкала Реомюра (1736 г.) имеет две постоянные точки, более удобные для воспроизведения: точку таяния льда 0 и точку кипения воды 80 град. Шкала Цельсия имеет те же реперные точки, что и шкала Реомюра, только расстояние между ними делится на 100 градусов. Показания термометров зависели от рода термометрического вещества и условий его теплового расширения (рис. 7).

Томсон (Кельвин) показал, что можно установить температурную шкалу, которая не зависит от рода термодинамического вещества. Единственной реперной точкой в ней предлагалось сделать тройную точку воды, (точка равновесия воды в твердой, жидкой и газообразной фазах).


Рисунок 7 - Температурные шкалы

Эта точка может быть воспроизведена с точностью 0,0001 оС. Схема сосуда, воспроизводящего тройную точку воды, изображена на рис. 7. За температуру реперной точки была принята температура 273,16 К, что на 0,01 градус больше температуры таяния льда. Один кельвин это 1/273,16 части термодинамической температуры тройной точки воды. Остальная шкала должна была строиться на основании формулы

,

где Q1 - количество тепла, получаемого от нагревателя любым телом;2 - количество тепла, отдаваемого телом холодильнику при обратимом цикле Карно;1 и T2 - температуры нагревателя и холодильника, причем температуре T2 придают значение тройной точки воды. В этом случае для определения температуры Т1 необходимо знать лишь отношение количеств теплоты.

Воспроизведение термодинамической шкалы температур представляет большую трудность. Поэтому IX Генеральная конференция по мерам и весам в 1948 г. установила практическую температурную шкалу, воспроизводимую по определенным постоянным реперным точкам. Температура в реперных точках определяется газовым термометром, использующим соотношение между объемом, давлением и температурой идеального газа. Это наиболее точные, но очень трудоемкие измерения, выполняемые лишь в немногих ведущих метрологических лабораториях мира. Основная сложность их состоит в учете несоответствия реального газа идеальному.

В 1968 г. XIII Генеральная конференция по мерам и весам установила 12 реперных точек в диапазоне от 13,8 К - тройная точка водорода до 1337,58 K- точка затвердевания золота. В промежутках между реперными точками значения температуры воспроизводятся с помощью эталонных термометров, использующих свойства расширения тел или изменения их сопротивления и т.п. В 1990 г. международная практическая шкала температур (МТШ-90) была уточнена и расширена (от 0,65 К - давление насыщенных паров 3He и 4He до 1357,77 - точка плавления меди).

Рисунок 8 - Схема сосуда, воспроизводящего тройную точку воды

Среднеквадратическое отклонение воспроизведения кельвина в этом диапазоне составляет от 5×10-4 до 10-2 при неисключенной систематической погрешности 3×10-3. В Харьковском ГНПО "Метрология" создан государственный эталон для воспроизведения температуры на основе плазменных источников излучения в диапазоне 10000-150000 К со среднеквадратическим отклонением не более 3.10-2.

9. Эталон единицы силы света

Сила света источника видимого излучения определяется световым потоком, воспринимаемым глазом человека, с учетом различной его чувствительности к различным участкам частотного спектра. В различное время единица силы света определялась по-разному. В Германии с 1869 г. использовалась парафиновая свеча диаметром 20 мм и высотой пламени 50 мм. В 1893 г. Международным конгрессом электриков за единицу силы света была принята амил-ацетатная лампа с высотой пламени 40 мм при его ширине 8 мм. Поскольку на французском языке свеча - chandelle, то наименование "кандела" стало применяться к единице силы света.

Кандела - сила света в заданном направлении от источника, испускающего монохроматическое излучение частотой 540·1012 Гц, энергетическая сила света которого в этом направлении составляет 1/683 Вт/ср. Кандела воспроизводится при помощи эталонного устройства - полного излучателя (рис. 9).

Полный излучатель, называемый иногда абсолютно черным телом, представляет собой небольшую трубочку из окиси тория диаметром около 2,5 мм, погруженную в чистую платину. Платина, в свою очередь, находится в сосуде, спрессованном из порошка плавленой окиси тория, окруженном порошком из окиси тория. Все это помещено во внешний сосуд из плавленого кварца. Внешний сосуд окружен небольшим числом витков медной охлаждаемой водой трубки.

Рисунок 9 - Полный излучатель

По трубке пропускается ток высокой частоты (около 250 кГц), который нагревает платину до ее плавления. Вместе с платиной нагревается и трубочка из тория. Свет излучается из полости трубочки через отверстие в верхней ее части. Яркость полного излучения при температуре затвердевания платины сравнивается с помощью фотометра с яркостью особых ламп накаливания, используемых в качестве вторичных эталонов. Частота монохроматического излучения полного излучателя находится в зеленой области видимого света и соответствует максимальной чувствительности человеческого глаза.

Воспроизведению канделы приписана погрешность 0,5 % по результатам международных сличений.

. Единица количества вещества

Моль равен количеству вещества, содержащему столько же структурных элементов, сколько атомом содержится в 0,012 кг углерода - 12.

В указанной массе изотопа углерода-12 содержится 6,022·1023 атомов. Это число называется числом Авогадро. Если число структурных элементов, составляющих вещество, известно, то деление его на число Авогадро дает количество вещества в молях. Можно при необходимости воспроизвести 1 моль любого вещества как 6,022·1023 его структурных элементов. Масса 1 моля водорода составляет 2 г, кислорода 32 г, воды -18 г и т.д.


. Квантовая метрология

При создании системы единиц ФВ всегда стремились в качестве эталонов брать так называемые естественные константы, которые мало зависели от внешних условий и были бы максимально стабильными.

В начале XX в. немецкий физик М.Планк показал, что основные единицы могут быть составлены из фундаментальных физических констант: скорости света С, постоянной Планка ћ и гравитационной постоянной g. Значения этих констант фигурируют в виде коэффициентов в уравнениях основных физических теорий - классической и квантовой электродинамике и общей теории относительности. Зная эти константы, можно вычислить единицы длины


времени



и массы


Однако, планковские единицы лежат очень далеко от используемых на практике диапазонов. Кроме того, значение гравитационной постоянной, как и постоянной Планка, до сих пор известно с недостаточной точностью. Но самым главным недостатком планковских единиц является то, что они не воспроизводятся с помощью реальных физических объектов. Именно поэтому планковские единицы до сих пор не используются в метрологии.

Реальная возможность создания универсальной системы естественных мер появилась после открытия так называемых макроскопических квантовых эффектов: Джозефсона, Холла, Мейснера, Мёссбауэра.

. Эталон вольта на эффекте Джозефсона

Эффект Джозефсона возникает в контактах двух сверхпроводников, разделенных тонким слоем диэлектрика (рис. 10).

Рисунок 10 - Схематическое изображение джозефсоновского перехода

Как известно, в вакууме электроны отталкиваются друг от друга по закону Кулона. В твердом теле, помимо электронов, имеются положительно заряженные ионы решетки. Притягиваясь к электронам, они экранируют их заряд. В некоторых веществах при достаточно низких температурах суммарное взаимодействие электронов может соответствовать их слабому притяжению. В этом случае электроны образуют так называемые куперовские пары. Такие пары, в отличие от отдельных электронов, имеют нулевой спин (т.е. подчиняются статистике Бозе). Это позволяет большому числу пар скапливаться в одном и том же квантовом состоянии. Если средняя скорость куперовских пар отлична от нуля, т.е. существует незатухающий электрический ток, то говорят, что имеет место явление сверхпроводимости.

Если приложить к двум сторонам Джозефсоновского перехода разность потенциалов U, то при туннелировании куперовской пары электронов из одного сверхпроводника в другой избыток ее энергии 2eU излучается в виде кванта света - фотона. Частота n0 этого кванта определяется законом сохранения энергии:

hn0=2eU.

Это явление называется нестационарным эффектом Джозефсона.

Если наоборот, облучать джозефсоновский переход излучения частотой n, то при совпадении этой частоты с характерной для данного напряжения U частотой n0, возникает резонансное взаимодействие. Такой же резонанс наступает при n0=n/n, где n - любое целое число, в результате чего на вольт-амперной характеристике перехода появляются особенности (рис. 11) в виде ступенек при напряжениях



Рисунок 11 - Вольтамперная характеристика джозефсоновского перехода

Заряд электрона е является такой же фундаментальной физической константой, как и упоминавшиеся выше h, c, g. Величина h/2е, называемая квантом магнитного потока, значение которой определяется с большей точностью, чем значения h и е в отдельности. Поскольку частота в настоящее время является наиболее точно измеряемой величиной, точность воспроизведения напряжения с помощью эффекта Джозефсона ограничивается точностью значения h/2е. Стандартное отклонение при воспроизведении вольта составляет в настоящее время 5.10-9.

На основании эффекта Джозефсона выполнены эталоны единиц напряжения - вольта во всех промышленно развитых стран с начала 1980 г. В состав эталона обычно входит дискретный переход, возбуждаемый СВЧ- излучением на частоте 8...10 ГГц, Значение квантованного напряжения составляет при этом 4...10 мВ. Столь низкое значение воспроизводимого напряжения вынуждает включать в состав эталона масштабные преобразователи напряжения различной конструкции и нормальные элементы, приводящие к потере точности. В связи с этим, в самое последнее время были созданы интегральные схемы, включающие в себя порядка 1000 переходов Джозефсона и позволяющие воспроизводить напряжение непосредственно в 1 В и выше.

Из общефизических соображений и проведенных экспериментов следует, что стабильность эталонов на основе эффекта Джозефсона может достигать 1016, что открывает широкие перспективы для совершенствования естественного эталона вольта.

13. Эталон ома на основе квантового эффекта Холла

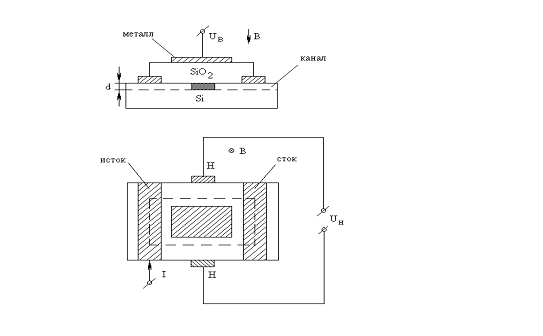
Квантовый эффект Холла был открыт в 1980 г. Фон-Клитцингом. Суть его состоит в том, что в специальных структурах типа металл-диэлектрик-полупроводник (рис 1.13) при температуре жидкого гелия и в сильном магнитном поле электрическое сопротивление принимает строго фиксированные дискретные значения


где m0- магнитная проницаемость вакуума;

- постоянная тонкой структуры.

Если на металлическую пластинку подается положительное напряжение Uв, тогда часть электронов из кремниевого полупроводника Si подтянется к границе диэлектрика SiO2 и окажется заключенной в тонком слое - канале, ограниченном на рис. 11 пунктиром, поскольку диэлектрик для электронов непроницаем, а обратно в полупроводник им не дает вернуться притяжение к металлической пластине.

Запертые в канале толщиной d электроны, согласно квантовой механике, будут занимать самый низкий из возможных дискретных энергетических уровней, соответствующих движению поперек слоя, а их волновые функции будут размазаны по толщине канала. Если подать напряжение на электроды "исток-сток", то между ними потечет ток I. Если, кроме того, приложить магнитное поле В перпендикулярно плоскости канала, то электроны, изгибая свои траектории в поле В начнут скапливаться у боковых краев структур, пока возникшая разность потенциалов между холловскими контактами не воспрепятствуют их дальнейшему накоплению. Это классический эффект Холла, характеризуемый холловским сопротивлением RH =UH/I. Как показано в курсе общей физики, величина RH обратно пропорциональна плотности электронов re в канале (рис. 12).

Однако, при учете квантового характера движения электронов в магнитном поле возникает другая ситуация. Согласно квантовой механике, энергия электронов в плоскости слоя может принимать только дискретные значения.

Рисунок 12 - Холловская структура типа металл-диэлектрик-полупроводник

Таким образом, движение электрона оказывается квантованным по всем трем координатам. Следствием этого является наличие на зависимости RH от плотности электронов в слое re плоских участков - плато с квантованными значениями согласно приведенной выше формулы (рис. 13). На практике величину re регулируют, изменяя UВ. Этот эффект называется квантовым эффектом Холла.

Полученные экспериментальные результаты делают этот метод воспроизведения сопротивления предпочтительным по сравнению с другими. Среднеквадратическое отклонение воспроизведения единицы сопротивления с помощью квантового эталона не превышает 3.10-8 при неисключенной систематической погрешности 3.10-7.

Рисунок 13 - Зависимость холловского сопротивления от плотности электронов в слое

. Передача размеров единицы ФВ от эталонов рабочим СИТ

Основные принципы

Как уже говорилось, третьей задачей обеспечения единства измерений является передача размера единицы ФВ от эталонов рабочим СИТ.

Известно, что информация о размерах единиц должна быть заложена в СИТ при его выпуске в обращение в виде номинального значения меры, шкалы СИТ или в градуировочных таблицах и графиках. Правильность и точность этой информации устанавливается на государственных испытаниях головных образцов СИТ, предназначенных для серийного производства, либо при метрологической аттестации нестандартизованных СИТ, т.е. выпускаемых в единичном экземпляре. Сохранность же информации контролируется при первичной и всех последующих поверках СИТ. Когда при непосредственной передаче информации о размере единиц мерам и отметкам шкал отсчетных устройств приписываются значения, выраженные в этих единицах, то эта процедура называется градуировкой.

Использовать для градуировки, аттестации и поверки рабочих СИТ непосредственно государственные первичные эталоны нельзя. Эти эталоны являются национальным достоянием и используются чрезвычайно редко, чтобы исключить их выход из строя. Поэтому, производительность их невелика и для передачи информации о размере единиц обширному парку рабочих СИТ приходится прибегать к многоступенчатой процедуре, схема которой показана на рис. 13.

Передача размеров единиц рабочим СИТ осуществляется посредством рабочих эталонов (РЭ).

РЭ, которые имеют наивысшие метрологические свойства среди эталонов на предприятии или в организации называются исходными. В зависимости от точности, РЭ подразделяют на разряды.

РЭ находятся в метрологических институтах или лабораториях Государственной метрологической службы.

Поверочные схемы

Для обеспечения правильной передачи информации о размере единиц ФВ во всех звеньях метрологической цепи должен быть установлен определенный порядок. Этот порядок приводится в поверочной схеме.

Поверочная схема представляет собой нормативный документ, регламентирующий метрологическое соподчинение СИТ, которые принимают участие в передаче размеров единицы ФВ от эталона к другим рабочим СИТ с указанием методов и погрешностей передачи.

В зависимости от области распространения, поверочные схемы подразделяются на государственные, ведомственные, локальные.

Государственные схемы распространяются на весь парк СИТ в стране и утверждаются в виде ГОСТов.

Поверочные схемы состоят из текстовой части и чертежа. На чертеже указываются:

наименования СИТ;

диапазон значений ФВ;

обозначения и оценки погрешностей СИТ;

наименования методов и погрешности передачи размера единицы.

Наименования эталонов и СИТ указываются в прямоугольниках, причем первичный эталон заключают в прямоугольник, образованный двойной линией.

Наименования методов передачи размеров единиц помещают в горизонтальные овалы между наименованиями поверяемого рабочего СИТ и соответствующего РЭ. Погрешность метода поверки указывается в том же овале.

Чертеж поверочной схемы состоит из полей, расположенных друг над другом и разделенных штриховыми линиями, число которых зависит от структуры поверочной схемы. Поля имеют наименования, указываемые в левой части чертежа, отделенной вертикальной сплошной линией. Пример компоновки элементов ведомственной (локальной) поверочной схемы показан на рис. 14.

Передача размера единиц от эталонов рабочим СИТ осуществляется путем поверки или калибровки.

Рисунок 14 - Схема многоступенчатой процедуры передачи информации о размере единицы от эталона СИТ

Поверка СИТ - установление пригодности СИТ, на которые распространяется государственный метрологический надзор, к применению на основании результатов контроля их метрологических характеристик.

Рисунок 15 - Поверочная схема для СИТ времени и частоты

Калибровка СИТ - определение в известных условиях или контроль метрологических характеристик СИТ, на которые не распространяется государственный метрологический надзор.

Различают первичную, периодическую, внеочередную, инспекционную и выборочную поверки.

Первичная поверка выполняется при выпуске СИТ из производства, или их ремонта, а также, в случае необходимости, при введении в эксплуатацию.

Периодическая поверка выполняется на протяжении эксплуатации через установленный промежуток времени, называемый межповерочным интервалом.

Инспекционная поверка осуществляется при проведении государственного метрологического надзора.

Выборочная поверка - поверка группы СИТ, отобранных из партии определенным образом, по результатам которой устанавливается пригодности всей партии.

Методы поверки (калибровки) подразделяются на:

непосредственное сличение поверяемого СИТ с РЭ того же вида;

- сличение поверяемого СИТ с однородным РЭ с помощью компаратора;

прямое измерение поверяемым СИТ величины, воспроизводимой эталонной мерой;

прямое измерение величины, воспроизводимой поверяемой мерой эталонным СИТ;

косвенное измерение величины, воспроизводимой мерой с помощью подвергаемым поверке СИТ;

независимая поверка, т.е. поверка СИТ относительных величин, не требующих передачи размера от эталонов;

поэлементная поверка, при которой метрологические характеристики СИТ устанавливают по метрологическим характеристикам его элементов или частей.

Литература

Димов Ю.В. Метрология, стандартизация и сертификация. Учебник для вузов. 2-е изд. - СПб.: Питер, 2009. - 432 с.

Допуски и посадки: Справочник в 2-х ч. - 7-е изд., перераб. и доп. - Л.: Политехника, 2007.

Кузнецов В.А., Ялунина Г.В. Основы метрологии: Учебное пособие - М.: Изд-во стандартов, 2008, - 280 с.

Сергеев А.Г., Латышев М.В., Терегеря В.В. Метрология, стандартизация и сертификация. Учеб. пособие. - Изд. 2-е, перераб. и доп. - М.: Логос, 2008. - 560 с. ил.

Федеральный закон РФ "О техническом регулировании" от 27.12.2002 № 184-ФЗ.

Закон РФ "Об обеспечении единства измерений" от 27.04.93 №4871-1 (в редакции 2003 г.)

ГОСТ 25346-89. Основные нормы взаимозаменяемости. ЕСДП. Общие положения, ряды допусков и основные отклонения.

Тартаковский Д.Ф. Ястребов А.С. Метрология, стандартизация и технические средства измерений: Учебник для вузов -.М.: Высш. шк., 2009

Нефедов В.И Метрология и радиоизмерения. М: Высш. шк., 2008

Похожие работы на - Основы обеспечения единства измерений

 

Не нашли материал для своей работы?
Поможем написать уникальную работу
Без плагиата!
Без нейросетей!