Робототехнические системы и комплексы
Министерство
образования и науки Российской Федерации
ФЕДЕРАЛЬНОЕ
ГОСУДАРСТВЕННОЕ БЮДЖЕТНОЕ ОБРАЗОВАТЕЛЬНОЕ УЧРЕЖДЕНИЕ
ВЫСШЕГО
ПРОФЕССИОНАЛЬНОГО ОБРАЗОВАНИЯ
«САНКТ-ПЕТЕРБУРГСКИЙ
ГОСУДАРСТВЕННЫЙ УНИВЕРСИТЕТ ТЕХНОЛОГИИ И ДИЗАЙНА»
Кафедра
машиноведения
КОНТРОЛЬНАЯ
РАБОТА
по
дисциплине РОБОТОТЕХНИЧЕСКИЕ СИСТЕМЫ И КОМПЛЕКСЫ
Санкт-Петербург
2014
Задание №1. Устройство и принцип работы
сбалансированных манипуляторов с ручным управлением
Сравнительно простые и надежные
робототехнические системы на базе сбалансированных манипуляторов с ручным
управлением получили широкое распространение для механизации тяжелых работ в
различных отраслях машиностроения, в частности, для загрузки и выгрузки тяжелых
заготовок и изделий (с массой в десятки и сотни килограммов) при их обработке
на станках и иных установках, а также для механизации операций сборки и др.
Общей конструктивной особенностью (см. рис. 1.1
[8]) сбалансированных манипуляторов является уравновешивание масс рычагов руки
с помощью специальных пружинных устройств и наличие одного приводного
двигателя. Такие манипуляторы управляются рукояткой, расположенной на его
конечном звене, которое приспособлено также для быстрой смены присоединяемых к
нему специализированных захватных устройств.
При повороте управляющей рукоятки в одну сторону
груз поднимается, при повороте в другую - опускается. Чем больше угол поворота
управляющей рукоятки, тем выше скорость подъема или опускания груза. При
освобождении рукоятки она возвращается в нейтральное положение, манипулятор в
этот момент автоматически останавливается, поднятый груз остается неподвижным.
Усилием оператора весь манипулятор легко поворачивается вокруг вертикальной
оси, благодаря чему достигается возможность позиционировать груз в любой точке
рабочего пространства.
В конструкции предусмотрены устройства,
предохраняющие систему от перегрузки, опрокидывания и падения груза при
отключении электросети или отказах. Источником энергии служит двигатель,
автоматически включающийся при наличии вертикальной составляющей усилия,
которое оператор прикладывает к управляющей рукоятке. Простота и удобство
управления подобными "усилителями" мышечной силы оператора
обусловливают их широкое распространение в различных отраслях.
Рис.1.1. Конструкция стационарного
сбалансированного манипулятора НВ-75: а - внешний вид; б - узел управления с
лицевой стороны; в - узел ручного управления с обратной стороны; 1 - опорная
плита; 2 - крюк для подвески груза; 3 - пульт управления; 4 - узел поворота крюка;
5 - «предплечье руки»; 6 - верхнее звено параллелограммного механизма
(«плечо»); 7 - пружина уравновешивающего механизма; 8 - нижнее звено
параллелограммного механизма; 9 - узел привода; 10 - шкаф системы управления;
11 - узел разворота корпуса; 12 - стойка; 13 - установочная опора; 14 - кнопка
управления подъемом груза; 15 - выключатель источника питания; 16 - кнопка
управления опусканием груза; 17, 19 - кнопки управления системой
балансирования; 18 - индикаторная лампа балансирования
Универсальность манипуляторов оценивается числом
степеней подвижности, определяющих их двигательные возможности, поэтому в
конструкциях манипуляторов предусматривается их возможность сгибаться в
«плече», «локте» и «кисти», вращаться вокруг разных осей, двигать «фалангами
пальцев». Этим обеспечивается маневренность манипуляторов, их более простая
приспосабливаемость к различным работам.
Для передачи движения используются такие
распространеннее детали, как зубчатые колеса, шкивы, рейки и т. п., которые
соединяются в звенья и кинематические пары.
Манипуляторы, звенья которых образуют
вращательные пары, могут быть шарнирно-рычажными,
поступательно-телескопическими. Сочетания этих элементов и последовательность
их соединения определяют, каким образом осуществляется перемещение заготовки
или рабочего инструмента, находящегося в захвате манипулятора, в любую точку
рабочего пространства.
Кинематическая схема каждого манипулятора
характеризуется типом, числом степеней подвижности, размерами, способом
соединения звеньев. Лучшим для конкретных условий считается манипулятор,
обеспечивающий выполнение данной операции при наименьшем числе движений.
В новых конструкциях манипуляторов перемещение
груза или рабочего инструмента в нужную точку пространства может производиться
не только с помощью крюков, но и с помощью специальных захватных устройств,
прикрепляемых к последнему звену манипулятора. При этом конструкция захватного
устройства и захватывающие движения определяются характеристиками удерживаемых
объектов.
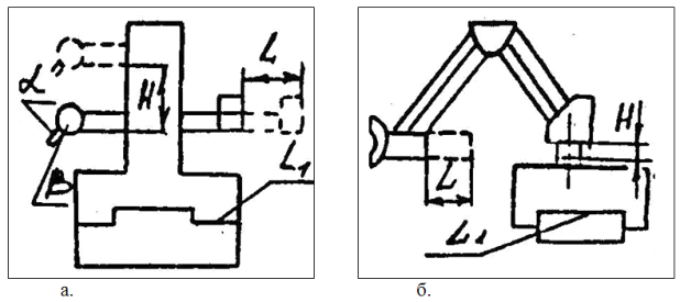
В качестве примеров на рисунке 1.2-а,б
представлены конструкции современных балансируемых манипуляторов, оснащенных
захватывающими устройствами.
Рис.1.2- Разновидности конструкции современных
балансируемых манипуляторов, оснащенных захватывающими устройствами
Задание №2. Робототехнические комплексы для
нанесения покрытий
Робототехнические комплексы (РТК) нашли самое
широкое применение на операциях нанесения различных покрытий: лакокрасочных,
защитных, упрочняющих, герметизирующих и т. п., которые являются для человека
не только физически тяжелыми, но очень часто вредными и опасными.
Окрашивание распылением было одним из первых
применений промышленных роботов. Основной целью применения РТК в данной сфере
является стремление минимизировать контакты человека с вредными и опасными
веществами. Поэтому покрасочные РТК должны обеспечивать полную герметичность
рабочих зон и быть устойчивыми к условиям окружающей среды даже в том случае,
когда работы выполняются с легковоспламеняющимися веществами или во взрывоопасной
среде. Существует два типа покрасочных РТК - взрывозащищенные и не
взрывозащищенные.
Взрывозащищенные покрасочные РТК представляет
собой герметичные системы, в рабочие зоны которых подается сжатый воздух во
избежание попадания в них взрывоопасных веществ. Для контроля герметичности
используются датчики давления.
Не взрывозащищенные покрасочные РТК обладают
всеми характеристиками взрывозащищенных РТК, за исключением системы подачи
сжатого воздуха.
Кроме того, способность роботов последовательно
производить повторяющиеся движения и создавать единообразные рисунки и узоры,
требуя меньших затрат и материалов, делает их идеальным инструментом для
окрашивания.
Особенностью покрасочных роботов является то,
что для них важна не столько грузоподъёмность, сколько хорошая досягаемость,
поэтому их манипуляторы обычно имеют узкие и относительно длинные запястья. Для
иллюстрации этого на рис. 2.1 представлен внешний вид промышленного
покрасочного робота Flex Painter IRB 5500 фирмы ABB грузоподъемностью 13 кг и
радиусом действия 2.6 м [10].
<#"805344.files/image004.gif">
Рис.2.2. упрощенная схема вальцового
краско-лаконаносящего РТК:
- транспортер; 2- окрашиваемое
полотно; 3- бачок с красителем (лаком); 4- струя краски; 5 - валики; 6 -
конвекционная сушильная камера; 7-возвратно-поступательный механизм
Система управления РТК High Velocity
построена на базе промышленного контроллера KOYO®. Управление процессом
напыления осуществляется с цветной сенсорной панели. Программа управления
позволяет оперативно отслеживать и корректировать параметры процесса. Возможно
запоминание параметров различных процессов.
Вся электроника выполнена во взрывозащищенном
исполнении. Установлены детекторы утечки горючих газов. Предусмотрен пульт
дистанционного управления.
Порошковый дозатор обеспечивает
точное дозирование и непрерывную подачу порошка в горелку. Дозирование
осуществляется с помощью изменения числа оборотов диска, снабженного
тарированными отверстиями. Подача порошка происходит под давлением
транспортирующего газа, в качестве которого могут выступать азот или аргон.
Рис.2.3. Внешний вид РТК High Velocity (HV)
отечественной компании ПЛАКАРТ
Питатель имеет цифровой дисплей, также
дополнительно поставляются колбы с подогревом порошка.
Технические
характеристики питателя
|
Фракция
порошка
|
1-53
µм
|
|
Расход
порошка
|
27
кг/ч (металлы)
|
|
Расход
порошка
|
30
кг/ч (карбиды)
|
|
Давление
транспортирующего газа
|
1,2
МПа
|
|
Расход
транспортирующего газа
|
20
л/мин
|
|
Объем
колбы
|
3360
см³
|
Питатель порошка может управляться с его
передней панели в ручном режиме, а также автоматически с панели оператора
установки для напыления.
Технические характеристики сверхзвуковых горелок
AK
|
Наименование
показателя
|
AK-07
|
AK-06
|
AK-05
|
|
Мощность,
кВт
|
200
|
130
|
80
|
|
Максимальная
производительность напыления, кг/час
|
30
|
15
|
5
|
|
Горючий
газ
|
Пропан,
сжиженный газ, пропилен, метан
|
|
Транспортирующий
газ
|
|
Охлаждение
|
Воздушное
|
Задание №3. Составить компоновочную схему
манипулятора, работающего в прямоугольной пространственной системе координат
Компоновочные схемы манипуляторов промышленных
роботов (ПР) - это схемы, на основании которых можно судить о расположения и
характере движения элементов робота. Эти схемы предопределяют кинематические и
функциональные возможности ПР.
В настоящее время действует стандартная система
классификации компоновочных схем ПР в зависимости от системы координат, в
которой происходит и описывается движение ПР. При этом различают следующие виды
координат [3, 4]:
• прямоугольная (декартова) плоская (код
01-07);
• прямоугольная (декартова)
пространственная (код 20-24):
• полярная плоская (код 30-31);
• цилиндрическая (код 40-49);
• сферическая (код 60-64);
• сложная полярная цилиндрическая (код
80-81)
• сложная полярная сферическая (код
90-94).
Кроме того, компоновочные схемы ПР различаются
еще и следующими признаками:
• формой линейных и угловых перемещений;
• мобильностью - стационарные и
передвижные системы;
• типом и конструкцией опорных систем;
• числом «рук»;
• величиной перемещений - линейных H и L
и угловых самого робота, а также его элементов.
Выбор компоновочной схемы для конкретного робота
проводится в зависимости от следующих факторов:
• компоновки роботизированной ячейки;
• особенностей обслуживаемого
оборудования;
• особенностей транспортирования объекта
манипулирования;
• числа и характера обслуживаемых позиций
в РТК;
• величины, виды и формы движения
элементов робота в РТК.
Выбор компоновочной схемы, исходя из указанных
выше факторов, осуществляется по таблицам соответствующих ГОСТов.
Необходимое (заданное) число степеней свободы и
характер каждого движения робота обеспечивается соответствующей кинематической
схемой его механизмов.
Кинематические структурные схемы манипуляторов
выбираются из таблиц соответствующих ГОСТов, исходя из необходимых размеров,
направлений и формы передвижений манипулятора или его «руки», а также вида
ориентации объекта на транспортных устройствах и обслуживаемом оборудовании
РТК.
Заданием (вариант №2) предписывается «составить
компоновочную схему манипулятора» только лишь на основании необходимости его
работы в заданной «прямоугольной пространственной системе координат».
Ниже на рисунках 3.1 и 3.2 представлены варианты
компоновочных схем манипуляторов, соответствующих указанному выше единственному
условию [3, 4]. На рис. 3.2 показана схема образования объема рабочей зоны
манипулятора.
На рисунках приняты следующие обозначения: L -
горизонтальное перемещение «руки»; H - вертикальное перемещение «руки»; L1-
горизонтальное перемещение корпуса (каретки) манипулятора; H1 - линейное
перемещение «кисти руки»; j - угол поворота манипулятора; j1,
j2
- углы поворота звеньев «руки»; a - угол поворота
«кисти руки»; b1, b2 - углы качания
«кисти руки».
Рис. 3.1. Варианты компоновочных схем
манипуляторов для прямоугольной пространственной системе координат
Рис. 3.1. Варианты компоновочных схем
манипуляторов для прямоугольной пространственной системе координат
(продолжение)
Рис. 3.1. Варианты компоновочных схем
манипуляторов для прямоугольной пространственной системе координат
(продолжение)
Рис. 3.2. Схема создания объема рабочей зоны
манипулятора
Задание № 4. Для заданной на рисунке 4.1
кинематической цепи манипулятора определить число степеней подвижности и
маневренность
Рис. 4.1. Кинематическая схема манипулятора
Решение
Обозначим арабскими цифрами стойку и все подвижные
звенья, а римскими цифрами - все кинематические пары (см. рис.4.2):
Рис. 4.2. Обозначение стойки, подвижных звеньев
(арабскими цифрами) и кинематических пар (буква «О» и римские цифры)
Установим виды кинематических пар (см. рис.
4.2):
|
Обозначение
на рис. 4.2
|
Наименование
вида кинематической пары
|
Класс
|
|
О
|
Вращательная
|
V
|
|
I
|
Вращательная
|
V
|
|
II
|
Вращательная
|
V
|
|
III
|
Сферическая
трехподвижная
|
III
|
|
IV
|
Вращательная
|
V
|
|
V
|
Поступательная
|
V
|
Количество степеней подвижности (количество
свобод движения) манипулятора W (сумма возможных движений захватного устройства
ПР, без учета движений захвата) определяем по формуле Малышева:
, (1)

Количество степеней подвижности
(количество свобод движения) для заданного случая:
Маневренность m манипулятора
определяется количеством свобод движения, которое дает возможность
манипулировать звеньями при жестком соединении губок схвата с неподвижным
предметом. Она определяет способность манипулятора к выполнению сложных
движений и обхода «рукой» препятствий в рабочей зоне.
Различают пространственную (общую) m
и базовую mб маневренность, которые могут быть определены по формулам Озола:
, (2)
, (3)
где Σ fкп
- сумма свобод движения всех кинематических пар, обеспечивающих
пространственную ориентацию схвата (общее число степеней свобод W);
Σ fб - сумма свобод
движения кинематических пар, обеспечивающих движение звеньев в базовой
плоскости (например, в плоскости YOX) при неподвижном схвате.
Определим пространственную (общую) маневренность
для заданного случая:
.
Задание 5. Объект манипулирования удерживается в
схвате рычажно-шарнирного типа (рис. 5.1). Определить усилие F, необходимое для
фиксации объекта манипулирования в губках схвата с заданной силой N. Считать
заданными размеры звеньев схвата l1, l2, l3, а и угол a
Для анализа возникающих в заданном механизме
усилий и определения характера движения его кинематических звеньев и схвата
преобразуем, с учетом симметричности механизма, схему рис. 5.1 к виду,
представленному на рис. 5.2.
Рис. 5.1. Способ удержания объекта двумя
рабочими элементами, рабочая поверхность которых представляет плоскость
Рис. 5.2.
Из рис. 5.2 следует, что под действием
вращающего момента Мвр схват, закрепленный на выходном конце звена 2
поворачивается вокруг опоры О по окружности с радиусом l3 (см. рис. 5.1).
Вращающий момент Мвр создается за счет вращающей силы Fвр, возникающей в
результате взаимодействия кинематических звеньев 1 и 2, и приложенной к противоположному
от хвата концу звена 2. Вращающая сила Fвр является одной из составляющих
усилия F1, действующего по оси звена 1 и в свою очередь являющегося одной из
составляющих усилия привода F.
Рассмотрим подробнее соотношения между
указанными выше параметрами.
Величина вращающего момента Мвр можно определить
из следующего соотношения:
Мвр = N . l3 (1)
Одновременно:
робототехнический
комплекс манипулятор
Мвр = Fвр . l2 (2)вр = Мвр / l2 (3)
или после подстановки в (5.3) значения Мвр из
(5.1) получим:
вр = N . l3 / l2 (4)
Из рис. 5.2. следует:
вр = F1. cosb, (5)
откуда:
= Fвр / cosb, (6)
или после подстановки в (5.6) значения Fвр из
(5.4) получим:
F1 = N . l3 /(l2 . cosb)
(7)= 0,5 . F . cos a (8)
= 2F1 /. cos
a,
(9)
или после подстановки в (5.9) значения F1 из
(5.7) усилие привода F по известному значению усилия захвата N будет
определяться следующим соотношением:
F = 2 . N . l3 /(l2 . cosb
. cos a)
(10)
Из соотношения (5.10) можно сделать следующие
выводы:
. Минимальное необходимое усилие привода
соответствует условию b = a = 0;
. Необходимое усилие привода можно
уменьшить за счет уменьшения длины плеча l3 и увеличения длины плеча l2 (при
этом, однако, приходится мириться с необходимостью либо уменьшения размаха
рабочих поверхностей хвата, либо увеличения рабочего хода привода.
Список литературы
1. Юревич, Е. И. Основы
робототехники: 3-е издание [Текст] : учеб. пособие для вузов / Е. И. Юревич. -
3-е изд., перераб. и доп. - СПб.: Изд-во: БХВ-Петербург, 2010.
. Борисенко, Л. А. Теория
механизмов, машин и манипуляторов: учеб. пособие / Л. А. Борисенко. - Минск:
Новое знание; М.: ИНФРА-М, 2011. - 285 с.
. Козырев, Ю. Г. Промышленные роботы
[Текст] : справочник / Ю. Г. Козырев. - 2-е изд., перераб. и доп. - М.:
Машиностроение, 1988. - 392 с.
. Козырев. Ю. Г. Применение
промышленных роботов [Текст] : учеб. пособие / Ю. Г. Козырев. - М.: КНОРУС,
2013. - 488 с.
. Козырев. Ю. Г. Захватные
устройства и инструменты промышленных роботов [Текст] : учеб. пособие / Ю. Г.
Козырев. - М.: КНОРУС, 2011. - 312 с.
. Егоров, О. Д. Конструирование
механизмов роботов [Текст] : учебник/ О. Д. Егоров. - М.: Абрис, 2012. - 444 с.
. Корендясев, А. И. Теоретические
основы робототехники. В 2 кн. / А. И. Корендясев, Б. Л. Саламандра, Л. И.
Тывес; отв. ред. С. М. Каплунов; Ин-т машиноведения им. А. А. Благонравова РАН.
- М.: Наука, 2006.
.
http://www.4ne.ru/stati/robotetxnika/manipulyatory-zaxvatnye-ustrojstva.html
.
http://alphajet.ru/content/robototekhnicheskie-kompleksy-dlya-pokraski
.
http://alphajet.ru/robots/abb/abb-irb-5500.html
.http://www.plackart.com/oborudovanie-dlya-pokrytiya/visokoskorosnoie_napilenie.html
. Каримов. И. Теоретическая
механика: Электронный учебный курс для студентов очной и заочной форм обучения.
- http://www.teoretmeh.ru/