Проектирование железобетонных конструкций с неполным каркасом и сборно-монолитными перекрытиями
Проектирование
железобетонных конструкций с неполным каркасом и сборно-монолитными
перекрытиями
Введение
В учебном пособии рассмотрена одна из новых
систем со сборно-монолитными перекрытиями «Радиус», разработанная ЦНИИЭП
реконструкции городов, НИИЖБ, при участии КГАСУ по всесоюзной программе
«Стройиндустрия 2000».
Компоновка конструктивной схемы здания
производиться по шифру индивидуального задания, которое выдается разработанной
программой.
После выполнения каждого этапа производится проверка
правильности выполнения по контрольным талонам (форма контрольных талонов
приведена в конце расчетов по каждому этапу).
После расчетов выполняется конструирование
основных элементов здания.
1. Общие сведения о
сборно-монолитном перекрытии
Вариант задания на курсовой проект №1109:
Казанский Государственный
Архитектурно-Строительный Университет.
Кафедра ЖБиКК
Задание № 1097на курсовой проект №1,
исполнитель: Загидуллин. Ст. группы 2ПГ307
Проектирование железобетонных конструкций здания
с неполным каркасом и сборно-монолитными перекрытиями.
.Задание на проектирование:
Требуется разработать проект железобетонных
конструкций многоэтажного здания с неполным каркасом и сборно-монолитными
перекрытиями, выполнить расчеты предварительно напряженной плиты перекрытия,
многопролетного неразрезного монолитного ригеля, колонны и фундамента;
выполнить рабочие чертежи проектируемых железобетонных конструкций и деталей
узлов сопряжений элементов.
. Исходные данные для выполнения проекта:
. Шаг колонн в продольном направлении l1,
м 6,1
. Шаг колонн в поперечном направлении l2,
м ,57
. Число пролетов в продольном направлении 5
4. Число пролетов в поперечном направлении 3
5. Высота этажа, м3.3
6. Количество этажей 5
. Тип конструкции пола (см. прил.2 м. у. [11]) 2
. Тип конструкций кровли (см. прил.2 м. у.
[11])4
. Врем, нормат. нагр. на перекрытие, кН/м2 3
. Высота полки монолитного ригеля, мм60
. Пролет плиты перекрытия, м5,4
. Класс бетона монол. констр. и фундамента В25
. Класс бетона для сборных конструкций В20
. Класс арм-ры монол. констр, и фундамента А400
. Класс арматуры сборных конструкций А400
. Класс предварит. напряг. арматуры Вр1200
. Способ натяжения арматуры на упоры эл. терм
. Глубина заложения фундамента, м2.05
. Усл. расчетное сопротивление грунта, МПа0.25
. Район строительства 5
. Влажность окружающей среды, % 80
. Уровень ответственности здания 2
2.Компоновка конструктивной схемы
здания
Сечение колонны назначается после
сбора нагрузок. Сечение ригеля назначается конструктивно. В соответствии с
заданием пролет плиты перекрытия (номинальный размер в соответствии сприл. 1
[11]) составляет
. Ширина
среднего монолитного ригеля при этом будет равна: b = l1-
, b=
6100-5380=720мм (см.рис.1.1, 1.2). Высота полки монолитного ригеля
по заданию
60мм.Тогда высота ригеля составит: h= 220 + 60 =
280мм (220 мм - высота сечения плиты, см. прил. 1 табл. 1 /11/). Ширина свесов
полок монолитного ригеля принимается не более 1/6 его пролета. Принимаем ширину
свеса
/6
5700мм/6
=950мм, окончательно примем 950мм. Ширина полки ригеля равна:
=720 +
2*950= 2220мм .Расчетная схема поперечного сечения монолитного ригеля
представлена на рис. 1.3.
Ширину площадки опирания плит перекрытия на
наружные стены принимаем 190мм (не менее 120мм).
Раскладку плит перекрытия производим
по их конструктивной ширине
, где
- номинальная ширина плиты (см.прил.
1 табл. 1 [11]). Для пролета между осями «А» и «Б», «В» и «Г» принимаем 3плиты
шириной 1500мм и 1 плиту шириной 1000мм. Для пролета между осями «Б» и «В»
принимаем 2 плиты шириной 1200мм и 2 плиту шириной 1500мм.Ширина монолитного
участка составит: 5700+5700-5*1500-1000-2*1200=500мм (размеры см. рис. 1.1).
По результатам компоновки
конструкций несущей системы здания выполняем чертежи схемы расположения
элементов несущей системы (рис. 1.1) и разрез (рис. 1) здания.
План на отметке 0.000м М 1:200
Рис. 1. Поперечный разрез 1-1.
Примечания:
. Ветровая нагрузка в курсовом
проекте не учитывается.
. Нагрузка на ригель прикладывается
равномерно распределенной.
. Разрез 1-1 см. рис. 1.3, сечение
2-2 - рис. 1.6.
3.Сбор нагрузок на элементы
перекрытия
По бланку задания район
строительства - 5, расчетное значение снеговой нагрузки (временной нагрузки на
покрытие) по п. 5.2 [4] составляет 320 кг/м2 (3.2 кН/м2),
нормативное значение, с учетом коэффициента надежности для снеговой нагрузки
, составляет
180/1.43=224кН/м2.
Значение временной нормативной
нагрузки на перекрытие по заданию - 300 кг/м2 (3 кН/м2).
В соответствии с п. 3.7 [4] значение коэффициента надежности для временной
нагрузки составит
Коэффициенты
надежности по нагрузке
указаны в
прил. 2 табл. 1 табл. 2 [11], коэффициент надежности по уровню ответственности
здания принимается в соответствии с прил. 7 [4], для уровня ответственности, 2
составляет
.
В соответствии с заданием тип
конструкций пола - 2, тип конструкций кровли - 4. Состав конструкций кровли и
пола указан в прил. 2 табл. 1 и табл. 2 [11] соответственно. Подсчет нагрузок,
в соответствии с требованиями [4], на плиты покрытия и перекрытия приводится в
табл. 1.1.
Согласно п. 3.8 [4] или прил. 7,
коэффициент сочетания, зависящий от грузовой площади, равен:
,где
,
- грузовая
площадь перекрытия;
- в
соответствии с п. 3.8 [4] или прил. 7 [11].
Коэффициент
,
учитывающий количество перекрытий, в соответствии с п.3.9 [4] или прил. 7 [11],
равен
,
, где
п=5-число перекрытий.
Коэффициент сочетания для кирпичного
простенка:

,
для кирпичного простенка.
Собственный вес 1м.п. ригеля
составляет:
где
- площадь сечения ригеля (0.72м -
ширина ригеля, 0.22м - высота ребра ригеля, 2,62м -ширина полки ригеля, 0.06м -
толщина полки ригеля), см. рис. 1.3;
- плотность железобетона ригеля;
- коэффициент надежности по нагрузке
для собственного веса железобетонного ригеля;
-коэффициент надежности по второму
уровню ответственности.
Таблица 1.1 Сбор нагрузок на покрытие и
междуэтажные перекрытия
|
Толщ.
|
Плотность
|
Нормативная
|
Коэффициент
|
Расчетная
|
|
Состав
|
t, мм
|
, кН/м3нагрузка,
кН/м2Надежн. нагрузка,
|
|
|
|
|
А.
Постоянные нагрузки
|
|
1.Слой
гравия вытопленный в мастику
|
|
|
0.16
|
1.3
|
0.208
|
|
2.
4 слоя гидроизол.
|
|
|
0.052
|
1.3
|
0.068
|
|
3.
Асфальтовая стяжка
|
20
|
21
|
0.42
|
1.3
|
0,546
|
|
4.
Утеплитель - мин.-ватные плиты
|
150
|
1.25
|
0.1875
|
1.3
|
0.244
|
|
5.
Пароизоляция-обмазочная пар.
|
|
|
0.03
|
1.3
|
0.065
|
|
6.
Круглопустоные пл.-ты покрытия.
|
120
|
25
|
3
|
1.1
|
3.3
|
|
Итого
|
|
|
3,87
|
1,17
|
4.43
|
|
Нагрузка
от междуэтажных перекрытий
|
|
1.Паркет
|
|
|
0.55
|
1.3
|
0.715
|
|
2.
Цементная стяжка 3 Круглопустотные пл.-ты перекрытия
|
50
120
|
18
25
|
0.9
3
|
1.3
1,1
|
1.17
3,3
|
|
Итого
|
|
|
4.45
|
1.13
|
5,19
|
|
Б.
Временные нагрузки
|
|
Временная
на междуэтажное перекрытие
|
|
|
3
|
1.2
|
3.6
|
|
Снеговая
|
|
|
2,24
|
1.43
|
3,2
|
|
Коэффициент
надежности по II (нормальному)
|
|
|
|
0,95
|
|
|
уровню
ответственности
|
|
|
|
|
|
|
1.
Нагрузка от круглопустотной плиты определяется по её приведенной толщине
-120мм.
|
Полная расчетная нагрузка на 1м2покрытия
с учетом нормального уровня ответственности здания будет равна:
(3,2-расчетная
снеговая нагрузка).
Полная расчетная нагрузка на 1м2перекрытия
с учетом нормального уровня ответственности здания II будет
равна:
(3,6-
временная расчетная нагрузкана перекрытие).
Полная расчетная нагрузка на 1м2перекрытия
для расчета плиты перекрытия с учетом нормального уровня:
Полная расчетная нагрузка на 1м2перекрытия
для определения изгибающего момента в кирпичном простенке с учетом нормального
уровня ответственности здания:
Полная расчетная нагрузка на 1м2перекрытия
для определения изгибающего момента в кирпичном простенке с учетом нормального
уровня ответственности здания II будет равна:
Расчетная нагрузка на 1м.п. ригеля
от покрытия с учетом собственного веса ригеля составит:
постоянная:
, где gP=8,25кН/м -
собственный вес 1м.п. ригеля;
-расчетная постоянна нагрузка на
покрытие;
=6.1м- шаг
колонн в продольном направлении (ширина грузовой площадки монолитного ригеля);
-коэффициент надежности по второму
уровню ответственности;
временная:
;
полная:
,
в т.ч. длительная:
, где 0,5 - коэффициент, учитывающий
долю длительной составляющей в полной снеговой нагрузке в соответствии с [4].
По аналогии расчетная нагрузка на
1м.п. ригеля от перекрытия с учетом собственного веса ригеля составит:
постоянная:
;
временная:
;
полная:
,
в т.ч. длительная:
,где 0,5 коэффициент, учитывающий
долю длительной составляющей во временной нагрузке в соответствии с [4].
Нормативная нагрузка на 1м.п. ригеля
от перекрытия с учетом собственного веса ригеля составит:
постоянная:
;
временная:
;
полная:
,
в том числе:
длительная:
,
кратковременная:
.
Для подбора сечения колонны
определяем продольную силу, воспринимаемую колонной первого этажа от полной
расчетной нагрузки:
(1.2),
где
- полная расчетная нагрузка на 1м2покрытия;
- полная расчетная нагрузка на 1м2перекрытия;
- шаг колонн в продольном
направлении;
- шаг колонн в поперечном
направлении;
- число перекрытий, передающих
нагрузку на колонну;
.
Назначаем размеры поперечного
сечения колонн из условия п. 6.2.17[1], когда 6<
<20, где
. Гибкость
колонны в любом случае должна быть:
<120. Отсюда требуемая
оптимальная высота поперечного сечения колонны (при
):
, где, в
соответствии с
требованиями п. 6.2.18 [1],
.
Требуемая оптимальная высота
поперечного сечения составляет:
.
Поскольку колонна воспринимает
только вертикальные нагрузки, предварительно принимаем ее поперечное сечение
квадратным со стороной 250мм.
Для окончательного назначения
размеров поперечного сечения с учетом полученных по расчету вертикальных
нагрузок, определяем собственный вес колонн всех возможных размеров поперечного
сечения (250x250, 300x300, 400x400).
Собственный вес 1м.п. колонны с
поперечным сечением 250x250 мм составит
(где 0,30м - сторона поперечного
сечения колонны; 25кН/м3 - объемный вес железобетона;
,
).
Определяем усилие в колонне первого
этажа с учетом ее собственного веса при размерах поперечного сечения 300x300мм:
, (где
1069,8-усилие в колонне от полной расчетной нагрузки; 3,3м - высота этажа; 5 -
число этажей).
Предварительно определяем несущую
способность колонн, приняв в первом приближении коэффициент продольного изгиба
, по формуле
3.97 [3]:
(1.3),
где
- расчетное сопротивление бетона по
прочности на сжатие;
Ah= 250•250
=62500
- площадь
поперечного сечения колонны;
- расчетное сопротивление арматуры
сжатию;
,03 - коэффициент, соответствующий
максимальному проценту армирования -3%.
Для колонны сечением 250x250 (для
класса бетона В20 по заданию,;
,
согласно п. 5.1.10в [1]) с
коэффициентом армирования 3% (по заданию для арматуры класса А400
) предельная
несущая способность составит:
>N=1096,8кНследовательно,
окончательно принимаем колонну с размерами поперечного сечения 250x250мм. После
выполнения расчетов по этапу 1, необходимо заполняем контрольный талон
проверки.
В случае если все значения
контролируемых параметров правильны или неправильным является один параметр,
программным комплексом в награду выдается значение усилия в колонне первого
этажа от полных нормативных нагрузок для расчета колонны и монолитного
фундамента. Если неправильными являются два и более параметров, то указанные
значения усилий для дальнейших расчетов необходимо определить самостоятельно.
Заполнение контрольного талона:
Таблица. Этап№1
|
Контрол.
параметр
|
   N, кН
|
|
|
|
|
|
|
|
Значение
|
0,3156
|
52,46
|
50,43
|
43,37
|
1069,87
|
1107,5
|
250
|
Обозначения контролируемых параметров:
- площадь сечения ригеля;
- полная расчетная нагрузка на 1м.п.
ригеля от покрытия с учетом собственного веса ригеля, кН/м;
- полная расчетная нагрузка на 1м.п.
ригеля от перекрытия сучетом собственного веса ригеля, кН/м;
-полная нормативная нагрузка на
1м.п. ригеля от перекрытияс учетом собственного веса ригеля, кН/м;- усилие в
колонне первого этажа от расчетных нагрузок с учетом
ее собственного веса, кН;
- предельная несущая способность
колонны, кН;
- высота сечения колонны, мм.
Дополнительные данные для
проектирования, полученные от программного комплекса:
Для расчета колонны и монолитного
фундамента:
1005,7- усилие в колонне первого
этажа от нормативных нагрузок с учетом ее собственного веса.
- усилие в колонне первого этажа от
расчетных длительных нагрузок с учетом ее собственного веса.
Этап 2. Статический расчет рамы.
Цель - определить усилия в элементах
рамы (в ригелях и колоннах). Задача - построить эпюры внутренних усилий М, N, Q в ригелях и
колоннах.
Расчет:
В курсовом проекте статический
расчет выполняем для монолитного железобетонного ригеля третьего этажа.
Поперечная рама здания имеет
регулярную расчетную схему; с равными пролетами монолитных ригелей и длинами
колонн. Сечение монолитных ригелей и колонн одинаково на всех этажах.
Монолитные ригели опираются на наружные стены шарнирно. При расчете инженерным
методом, с целью упрощения, такую многоэтажную раму расчленяют на одноэтажные,
при этом в точках нулевых моментов колонн (в середине высоты) условно размещают
опорные шарниры.
. Определяем геометрические
характеристики элементов поперечной рамы. Находим центр тяжести поперечного
сечения монолитного железобетонного ригеля, представляющего собой тавр (см. рис
1.3):
(2.1),
где
-статический момент ребра
относительно верхней грани полки.

-статический момент полки
относительно её верхней грани.

- площадь поперечного сечения
ригеля.
.
Момент инерции ригеля относительно
центра тяжести поперечного сечения:
(2.2)
=
Момент инерции поперечного сечения
колонны (см. рис. 1.6):
(2.3)
. Погонная жесткость ригеля (см.
рис. 2.1):
(2.4),
где
- начальный модуль упругости бетона,
для класса бетона В25 (по заданию для монолитных конструкций)
.
Погонная жесткость колонны (см. рис. 2.1):
(2.5),
где
- начальный модуль упругости бетона,
для класса бетона В20 (по заданию для сборных конструкций)
.
. Определяем соотношение погонных
жесткостей(
) средней
колонны и ригеля, пересекающихся в одной точке - см. расчетную схему рис. 2.1:
(2.6)
. Изгибающие моменты ригеля в
опорных сечениях М, вычисляем по формуле (схема расположения опорных элементов
показана на рис.2.2):
(2.7),
где
(
- в соответствии со схемой
загружения табл.2.1)- коэффициенты для вычисления опорных изгибающих моментов,
определяются по табл. 26 [5] в зависимости от схем загружения и коэффициента
.
Промежуточные значения коэффициентов
определяются по интерполяции между
значениями
в табл. 26
[5];
-постоянная
расчётная нагрузка на 1м.п. ригеля от перекрытия;
- временная расчетная нагрузка на
1м.п. ригеля от перекрытия;
-расчетная длина ригеля.
Варианты схем загружения
представлены в табл.2.1.
Рис. 2.2. Схема расположения опорных моментов
(цифрами обозначены номера опор)
. Вычисляем изгибающий момент ригеля в опорном
сечении для ригелей от постоянной нагрузки и различных схем загружения
временной нагрузкой. Вычисления выполняем в табличной форме, см. табл. 2.1.
Таблица 2.1 Определение расчетных изгибающих
моментов ригеля в опорных сечениях.
Временные
нагрузки. 

|
-14,73
|
|
|
|
|
Примечания.
1. При расположении временной нагрузки через пролет (схема загружения 2, 3)
определяется максимальный изгибающий момент в пролете. При расположении
временной нагрузки в двух крайних пролетах определяются максимальный
изгибающий опорный момент и перерезывающая сила. 2. Значения опорных моментов
принимать отрицательным.
|
Изгибающий момент ригеля в опорном
сечении
(изгибающий
момент М3 от 4 схемы загружения, см. рис.2.2) находим из уравнений
строительной механики (из уравнения трех моментов) по следующей формуле:
(2.8)
. Определяем изгибающие моменты
ригеля в пролетных сечениях ригеля:
в крайнем пролете - невыгодная
комбинация схем загружения «1 +2», изгибающий момент ригеля в опорном сечении:
.
Поперечные силы:
(2.9)
(2.10)
Максимальный изгибающий момент
ригеля в пролетном сечении равен:
(2.11)
В среднем пролете - невыгодная
комбинация схем загружения «1+3», изгибающий момент ригеля в опорном сечении
составит:
максимальный изгибающий момент
ригеля в пролетном сечении равен:
(2.12)
.
. Перераспределение моментов в
ригеле под влиянием образования пластического шарнира. В соответствии с [2, 5]
практический расчет заключается в уменьшении не более, чем на 30% опорных
моментов ригеля для комбинации схем загружения «1+4», при этом намечается
образование пластического шарнира на опоре.
К эпюре моментов комбинации схем
загружения «1+4» добавляют выравнивающую треугольную эпюру моментов так, чтобы
уравнялись опорные моменты для удобства армирования опорного узла.
Для комбинации схем загружения «1+4»
уменьшаем на 30% максимальный опорный момент
и вычисляем ординаты выравнивающей
треугольной эпюры моментов (см. рис.2.3):
;
.
К эпюре моментов для комбинации схем
загружения «1+4» прибавляем выравнивающую эпюру. Значения изгибающих моментов
ригеля в опорных сечениях на эпюре выровненных моментов определяем по формуле:
(2.13)
Изгибающие моменты ригеля в
пролетных сечениях ригеля на эпюре выровненных моментов составят:
в крайнем пролете - изгибающий
момент ригеля в опорном сечении для комбинации схем загружения»1+4»:
, поперечные
силы аналогично формулам (2.9) и (2.10):
Расстояние от опоры, в которой
значение перерезывающих усилий в крайнем пролете равно 0 (координата, в которой
изгибающий момент в пролете максимален), находим из уравнения:
(2.14)
Находим значение изгибающего момента
ригеля в пролетном сечении для комбинации «1+4» по формуле:
(2.15),
где
- перерезывающая сила на левой опоре
ригеля крайнего пролета;
х = 2,22м - координата, в которой
изгибающий момент в пролете максимален;
- постоянная расчетная нагрузка на
1м.п. ригеля от перекрытия;
- временная расчетная нагрузка на
1м.п. ригеля от перекрытия.
Определяем значение изгибающего
момента
на
выравнивающей эпюре в точке с координатой х = 1,75м:
(2.16)
Изгибающий момент ригеля в пролетном сечении на
эпюре выровненных моментов составит:
(2.17)
В среднем пролете - изгибающий
момент ригеля в опорном сечении на второй и третьей опорах (см. рис. 2.2 и
табл. 2.1) Для комбинации схем загружения «1+4» будут равны:
Аналогично формулам (2.9) и (2.10),
находим перерезывающие усилия в среднем пролете монолитного ригеля:
Изгибающий момент в пролетном
сечении среднего ригеля для комбинации схем загружения «1+4», который находится
в центре среднего пролета ригеля, определяем по формуле:
(2.18)
Значение момента на выравнивающей эпюре в центре
среднего пролета составляет:
(2.19)
Изгибающий момент ригеля в пролетном
сечении на эпюре выровненных моментов будет равен:
(2.20)
. Определяем изгибающие моменты
монолитного ригеля в опорных сечениях по грани колонны.
На средней опоре при комбинации схем
загружения «1+4» опорный момент ригеля по грани колонны не всегда оказывается
расчетным для подбора арматуры. Поэтому, опорные моменты ригеля по грани
колонны необходимо вычислять для всех комбинаций загружения.
Вычисляем изгибающие моменты ригеля
в опорном сечении по грани крайней колонны слева:
для комбинации схем загружения «1+4»
и выровненной эпюре моментов:
значения поперечных сил аналогично
формулам (2.9) и (2.10):
(2.21),
где hK - высота
сечения колонны, м.
Для комбинации схем загружения
«1+3»:
(2.22)
Для комбинации схем загружения «1+2»

для комбинации схем загружения «1+4»
и выровненной эпюре моментов:
перерезывающая сила на опоре равна:
(2.23)
изгибающий момент:
По остальным схемам загружения
действующие изгибающие моменты ригеля в опорном сечении справа меньше, чем
слева от колонны, следовательно, их можно не вычислять.
По результатам вычислений расчетный
(максимальный) изгибающий момент ригеля в опорном сечении по грани средней
колонны равен:
Расчетный (максимальный) изгибающий
момент ригеля в пролетном сечении в крайнем пролете:
в среднем
пролете:
Моменты в сечениях ригеля от
нормативной нагрузки, расчетных нагрузок продолжительного и непродолжительного
действия определяются в аналогичной последовательности.
После окончания расчетов по этапу 2,
необходимо заполнить контрольный талон. В случае, если все значения
контролируемых параметров правильны или неправильным является один параметр,
программным комплексом в награду выдаются значения расчетных изгибающих
моментов в среднем пролете монолитного ригеля, а также, значения изгибающих
моментов от нормативной кратковременной и длительной нагрузок для расчета
ригеля по второй группе предельных состояний. Если неправильными являются два и
более параметра, то указанные значения изгибающих моментов для дальнейших
расчетов необходимо определить самостоятельно.
Таблица
|
Заполнение
контрольного талона: Этап №2
|
|
Контролируемый
параметр
|
     
|
|
|
|
|
|
|
|
Значение
|
127,6
|
127,6
|
118,04
|
145,52
|
158,91
|
68,97
|
173,22
|
Обозначения контролируемых параметров:
- изгибающий момент на эпюре
выровненных моментов на второй опоре слева (см. рис.2.2);
- изгибающий момент на эпюре
выровненных моментов на второй опоре справа (см. рис.2.2);
- изгибающий момент на эпюре
выровненных моментов на третьей опоре слева (см. рис.2.2);
- расчетный (максимальный)
изгибающий момент ригеля в опорном сечении по грани средней колонны;
- расчетный (максимальный)
изгибающий момент в пролетном сечении ригеля крайнего пролета;
- расчетный (максимальный)
изгибающий момент в пролетном сечении ригеля среднего пролета;
-расчетная перерезывающая сила
ригеля крайнего пролета.
Дополнительные данные для
проектирования, полученные от программного комплекса: для крайнего ригеля:
- изгибающий момент ригеля в опорном
сечении по грани средней колонны от действия полной нормативной нагрузки (для
расчета ригеля по второй группе; предельных состояний);
- изгибающий момент ригеля в опорном
сечении по грани средней колонны от действия нормативной длительной нагрузки
(для расчета ригеля по второй группе предельных состояний);
- изгибающий момент ригеля в
пролетном сечении в крайнем пролете от действия полной нормативной нагрузки
(для расчета ригеля по второй группе предельных состояний);
- изгибающий момент ригеля в
пролетном сечении в крайнем пролете от действия нормативной длительной нагрузки
(для расчета ригеля по второй группе предельных состояний).
Этап 3. Расчет монолитного
железобетонного ригеля по предельным состояниям первой группы.
4. Расчет ригеля на прочность по
сечениям, нормальным к продольной оси
Цель расчета - обеспечить несущую
способность железобетонного монолитного ригеля таврового профиля.
Задача - подобрать необходимую
площадь сечения продольной сжатой и растянутой арматуры в опорном и пролетном
сечении крайнего ригеля второго этажа.
Расчёт:
В курсовом проекте на этапе 3
необходимо выполнить подбор продольной рабочей арматуры монолитного железобетонного
ригеля крайнего пролета второго этажа. Все необходимые усилия для расчета были
получены на этапе 2.
Диаметр стержней продольной
растянутой арматуры принимать не менее 12мм.
Определим площадь сечения
продольной арматуры в пролетном сечении монолитного ригеля. Расчет производим в
предположении, что сжатая арматура по расчету не требуется.
Расчет выполняем согласно блок-схеме
3.1 [6] (номера пунктов расчета соответствуют пунктам блок-схемы). Также расчет
может быть выполнен согласно п. 3.24 [3].
. Начало.
. Согласно результатам компоновки
сборно-монолитного перекрытия (см. этап 1), геометрические размеры поперечного
сечения изгибаемого железобетонного монолитного ригеля составляют: b=720мм, h=280мм,
,
(см. рис.
3.1). Толщину
Защитного слоя бетона назначаем с
учетом требований п.5.7 [3], величину а принимаем равной 35мм.
Характеристики бетона и арматуры:
бетон тяжелый, класс бетона монолитных конструкций по бланку задания (см. этап
1) В25, по табл. 1 прил. 5 [11] или табл. 2.2 [3] определяем расчетное
сопротивление бетона по прочности на сжатие:
.
Продольная рабочая арматура по
заданию - класса А-400, расчетное значение сопротивления арматуры для
предельных состояний первой группы определяем по табл. 2 прил. 4 [11] или по
табл. 2.6 [3]:
Расчетный (максимальный) изгибающий
момент в пролетном сечении ригеля крайнего пролета (см. результаты расчетов по
этапу 2):
По табл. 3.2 [3] или табл. 3 прил. 4
[11] находим
. Определяем рабочую высоту сечения
бетона:
. Проверяем условие:
.
- следовательно, граница сжатой зоны
проходит в полке монолитного ригеля. Согласно п. 3.25 [3], площадь сечения
растянутой арматуры определяем как для прямоугольного сечения шириной
согласно
блок-схеме 2.1 [6] или п.3.21 и 3.22 [3].
Расчет продолжаем по блок-схеме 2.1
[6] (номера пунктов расчета соответствуют пунктам блок-схемы).
. Вычисляем
по формуле:
(3.2)
.
.
- сжатая арматура по расчету не
требуется.
. Определяем относительную высоту
сжатой зоны бетона по формуле:
(3.3)
.
. Требуемую площадь растянутой
арматуры определяем по формуле:
(3.4)
По сортаменту (прил. 6 табл. 1 [11])
принимаем
(
-6 стержней
диаметром 18мм
-2 стержня
диаметром 14мм). Определяем, насколько процентов площадь поперечного сечения
фактически установленных стержней больше требуемой по расчету:
. Толщина защитного слоя составляет
.
Определим площадь сечения
продольной арматуры в опорном сечении монолитного ригеля.
На опоре растянутая зона располагается
в верхней части поперечного сечения монолитного ригеля, следовательно, рабочая
арматура также будет расположена в этой зоне. С целью обеспечения удобства
армирования опорного узла было произведено выравнивание изгибающих моментов в
опорных сечениях ригеля. Согласно п.8 расчетов по этапу 2, расчетным
(максимальным) изгибающим моментом ригеля в опорном сечении по грани средней
колонны является момент, полученный по комбинации схем загружения «1+2» (см.
табл. 2.1).
При подборе продольной арматуры растянутые
свесы полки монолитного ригеля в расчетах не учитываем. Однако, учитывая тот
факт, что сборные плиты перекрытия имеют арматурные выпуски, которые
замоноличиваются в ригель, можно сделать вывод о том, что бетон сжатой зоны
ригеля и плиты перекрытия работает совместно. В связи с этим, поперечное
сечение ригеля на опоре будем рассматривать как тавровое с полками в сжатой
зоне. Высота свесов полок поперечного сечения плиты перекрытия составляет
. Ширину
свесов полок принимаем равными
,где
- шаг колонн в поперечном
направлении.
Расчет выполняем согласно блок-схеме
3.1 [6] (номера пунктов расчета соответствуют пунктам блок-схемы). Также расчет
может быть выполнен согласно п. 3.24 [3].
. Начало.
. Геометрические размеры поперечного
сечения изгибаемого железобетонного монолитного ригеля на опоре составляют: b=720мм, h=280мм,
,
(см. рис.
3.2). Толщину защитного слоя бетона назначаем с учетом требований п.5.7 [3],
величину а принимаем равной 35мм.
Характеристики бетона и арматуры
(см. подбор продольной арматуры в пролетном сечении ригеля):
( класс
бетона В30).
Продольная рабочая арматура по
заданию - класса А-400:
Расчетный (максимальный) изгибающий
момент в опорном сечении ригеля (см. результаты расчетов по этапу 2):
По табл. 3.2 [3] или табл. 3 прил. 5
находим
Определяем
рабочую высоту сечения бетона:
. Проверяем условие 3.1:
следовательно, граница сжатой зоны
проходит в полке расчётного поперечного сечения ригеля на опоре. Согласно п.
3.25 [3], площадь поперечного сечения арматуры определяем как для
прямоугольного сечения шириной
согласно блок-схеме 2.1 [6] или п.
3.21 [3].
Расчет продолжаем по блок-схеме 2.1
[6] (номера пунктов расчета соответствуют пунктам блок-схемы).
. Вычисляем
по формуле
3.2:
7.
- сжатая арматура по расчету не
требуется;
.Определяем относительную высоту
сжатой зоны бетона по формуле 3.3:
. Требуемую площадь растянутой
арматуры определяем поформуле 3.4:
По сортаменту (прил. 6 табл. 1 [11])
принимаем
(
-8 стержней
диаметром 16мм)
Определяем, насколько процентов площадь
поперечного сечения фактически установленных стержней больше требуемой по
расчету:
. Толщина защитного слоя составляет
.
5. Расчет железобетонного
монолитного ригеля по сечениям, наклонным к продольной оси
Цель расчета - обеспечить несущую способность
изгибаемого железобетонного монолитного ригеля по сечениям, наклонным к
продольной оси. Задача - подобрать необходимую площадь сечения и шаг поперечной
арматуры в монолитном ригеле, проверить прочность элемента по сечениям,
наклонным к продольной оси, по полосе между наклонными трещинами.
Диаметр поперечных стержней назначается из
условия свариваемости. Поперечная арматура диаметром менее 6мм принимается
класса В500, диаметром 6мм и более - класса А240.
Шаг поперечной арматуры назначаем конструктивно
в соответствии с требованиями п.5.21[3] и принимаем кратно 50мм.
Расчет:
Расчет монолитного ригеля по полосе между
наклонными трещинами выполняем согласно блок-схеме 4.1 [6] (номера пунктов
расчета соответствуют пунктам блок-схемы). Также расчет может быть выполнен
согласно п. 3.30 [3].
. Начало.
.Исходные данные. Геометрические размеры поперечного
сечения изгибаемого железобетонного монолитного ригеля составляют:
b = 720мм, h = 280мм,
,
, а = 35мм
(см. рис. 3.2). Рабочая высота сечения бетона:
Характеристики бетона (см. пример
расчета этап 3.1):
(класс
бетона В30). Расчетная перерезывающая сила согласно результатам расчетов по
этапу
3.Определяем предельную поперечную силу в
сечении, нормальном к продольной оси ригеля по формуле:
(3.5)
4. Проверяем условие:
(3.6)
.Прочность элемента по полосе между
наклонными трещинами обеспечена.
. Требуется произвести расчет по
прочности на действие поперечной силы по наклонному сечению.
. Конец.
Проверку прочности ригеля по
сечениям, наклонным к продольной оси, на действие поперечной силы выполняем
согласно блок-схеме 4.2 [6] (номера пунктов расчета соответствуют пунктам
блок-схемы). Также расчет может быть выполнен согласно п. 3.31 -3.42 [3].
. Начало.
.Исходные данные. Геометрические
размеры поперечного сечения изгибаемого железобетонного монолитного ригеля см.
расчет по полосе между наклонными сечениями.
Характеристики бетона (см. пример
расчета этап 3):
. По табл. 1
прил. 5 или табл. 2.2 [3] определяем расчетное сопротивление бетона по
прочности на растяжение
.
Т.к. диаметр продольной растянутой
арматуры каркаса К-1 составляет 18мм, то, согласно табл.2 прил.6, наименьший
допустимый диаметр стержней другого (поперечного) направления из условия
свариваемости составляет 5мм.Класс поперечной арматуры назначаем В500,
- по табл.2
прил. 4. Количество поперечных стержней принимаем равным количеству продольных
- 8 шт. Тогда площадь сечения 8 стержней поперечной арматуры диаметром 5 мм, по
табл.1 прил. 6, составит
Шаг
поперечных стержней на опоре, согласно п. 5.21 [3], назначается из условий:
(3.7)
Принимаем шаг поперечных стержней на
опоре
-
кратно50мм.
Шаг поперечных стержней в пролете,
согласно п. 5.21 [3], назначается из условий:
(3.8)
Принимаем шаг поперечных стержней в
пролете
кратно 50мм.
Расчетная перерезывающая сила
согласно результатам расчетов по этапу 2
значение полной расчетной нагрузки
на 1м.п. ригеля от перекрытия с учетом его собственного веса равно
39,36кН/м
(см. результаты расчета этапа 1).
. Определяем значение
по формуле:
(3.8)
. Интенсивность установки поперечных
стержней на опоре
и в пролете
составляет:
(3.9)
5. Находим длину проекции наклонного
сечения по формуле:
(3.10)
. Проверяем условия:
(3.11)
условия не выполняются, и, согласно
п. 3.32 [3], значение сне корректируем.
. Проверяем условие:
(3.12)
- условие выполняется.
. Согласно блок-схеме 4.2 [6],
значение с принимаем равным
, с=735мм.
. Длину проекции наклонной трещины
принимается
равной с:
. Проверяем условие:
(3.13)
- условие выполняется.
.Согласно блок-схеме 4.2 [6],
значение
принимаем
равным
. Поперечную силу, воспринимаемую
хомутами в наклонном сечении, определяем по формуле:
(3.14)
. Поперечную силу, воспринимаемую
бетоном в наклонном сечении, определяем по формуле:
(3.15)
. Поперечная сила в наклонном
сечении с длиной проекции с от внешних сил принимается в сечении, нормальном к
продольной оси элемента, проходящем на расстоянии сот опоры, и определяется по
формуле:
(3.16)
. Проверяем условие:
(3.17)
- условие выполняется, согласно п.
17 блок-схемы 4.2 [6], прочность элемента по сечениям, наклонным к продольной
оси обеспечена.
При уменьшении интенсивности хомутов
от опоры к пролету с
до
, вызванным
увеличением шага поперечных стержней, длину участка с интенсивностью хомутов
следует
принимать не менее 1/4пролета монолитного ригеля и не менее значения
(не путать,
с обозначением шага колонн в продольном направлении), определяемого в
зависимости от
Так как
, то,
согласно п. 3.34[3], значение
определяем по формуле:
(3.18)
где
Проверяем условие:
- условие выполняется.
С учетом ширины площадки опирания
монолитного ригеля на наружные кирпичные стены (200мм - см. общие сведения о
сборно-монолитном перекрытии, этап 1), значение
составит:
Значение
необходимо
принимать не менее 1/4 пролета монолитного ригеля, что составляет:
Окончательно длину участка с
интенсивностью хомутов
назначаем
кратно шагу поперечных стержней на опоре. Принимаем окончательно
кратно
.
Заполнение контрольного талона:
Таблица. Этап №3
|
Контролируемый
параметр
|
     
|
|
|
|
|
|
|
|
Значение
|
1835,29
|
0
|
1573,11
|
0
|
157,1
|
100
|
2000
|
Обозначения контролируемых параметров:
- площадь сечения продольной
растянутой арматуры на правой опоре монолитного ригеля крайнего пролета,
требуемая по расчету;
- площадь сечения продольной сжатой
арматуры на правой опоремонолитного ригеля крайнего пролета, требуемая по
расчету;
- площадь сечения продольной
растянутой арматуры в пролетном сечении монолитного ригеля крайнего пролета,
требуемая по расчету;
- площадь сечения продольной сжатой
арматуры в пролетном сечении монолитного ригеля крайнего пролета, требуемая по
расчету;
- площадь сечения поперечной
арматуры монолитного ригеля;
- шаг поперечных стержней на опорах
монолитного ригеля;
- окончательная длина участка с
интенсивностью хомутов.
Этап 4. Расчет монолитного
железобетонного ригеля по предельным состояниям второй группы.
6. Расчет монолитного ригеля по
образованию и раскрытию трещин
Цель - обеспечить сопротивление
раскрытию трещин
.
Задачи:
определить момент образования трещин
с учетом неупругих деформаций растянутого бетона;
вычислить ширину раскрытия трещин,
нормальных к продольной оси элемента.
Расчёт:
Момент образования трещин с учетом
упругих деформаций определяем согласно блок-схеме 5.1 [6] (номера пунктов
расчета соответствуют пунктам блок-схемы). Также расчет может быть выполнен
согласно п. 4.4 - 4.8 [3].
. Начало.
. Геометрические размеры поперечного
сечения изгибаемого железобетонного монолитного ригеля составляют:
b = 720мм, h = 280мм,
,
, а = 35мм
Характеристики бетона и арматуры для
расчета ригеля по предельным состояниям второй группы: бетон тяжелый, класс
бетона монолитных конструкций по бланку задания (см. этап 1) В30, по табл. 1
прил. 5 или табл. 2.2 [3] расчетное сопротивление бетона по прочности на
сжатие:
Значение
начального модуля упругости бетона принимаем по табл. 3 прил. 5 или табл. 2.4
[3]:
Продольная рабочая арматура по
заданию - класса А-400, значение модуля упругости арматуры
принимаем
равным
(см. п.
2.20 [3] или прил. 5). Площадь фактически установленной продольной растянутой
арматуры в пролетном сечении составляет
, продольной сжатой:
.
За расчетный диаметр стержней
растянутой арматуры
принимаем
наибольший диаметр -
Изгибающий момент ригеля в пролетном
сечении в крайнем пролёте от действия полной нормативной нагрузки равен:
в т.ч.
изгибающий момент ригеля в пролетном сечении в крайнем пролете от действия
нормативной длительной нагрузки:
. Площадь поперечного сечения
монолитного ригеля в пролетном сечении равна:
- см. этап 1.
. Определяем коэффициент приведения
арматуры к бетону:
. Площадь приведенного сечения
монолитного ригеля определяем по формуле:
. Находим статический момент полного
приведенного сечения относительно растянутой грани:
где 
- статический момент стенки
монолитного ригеля относительно растянутой грани;

- статический момент полки
монолитного ригеля относительно растянутой грани;

- статический момент сжатой и
растянутой арматуры относительно растянутой грани.
. Расстояние от наиболее растянутого
волокна бетона до центра тяжести приведенного сечения монолитного ригеля
вычисляем по формуле:
. Момент инерции приведенного
сечения относительно его центра тяжести определяем по формуле:
где
моментинерции поперечного сечения
бетона монолитного ригеля относительно центра тяжести приведенного сечения;
- момент инерции растянутой арматуры
относительно центра тяжести приведенного сечения;
- момент инерциисжатой арматуры
относительно центра тяжести приведенного сечения.
. Момент сопротивления Wопределяем
по формуле:
. Согласно п.4.8 [3], для тавровых
сечений при определении момента образования трещин с учетом неупругих
деформаций растянутого бетона допускается заменять значение Wна
, где
-
коэффициент, зависящий от формы поперечного сечения элемента, определяемый по
табл. 4.1 [3].
. Момент образования трещин с учетом
неупругих деформаций бетона определяем по формуле:
12. Проверяем условие:
- условие выполняется, и, в
соответствии с п. 14 блок-схемы 5.1 [6], требуется произвести расчет по
раскрытию трещин.
Ширину раскрытия трещин, нормальных
к продольной оси монолитного ригеля, определяем согласно блок-схеме 5.2 [6]
(номера пунктов расчета соответствуют пунктам блок-схемы). Также расчет может
быть выполнен согласно п. 4.4 - 4.8 [3].
. Начало.
. Исходные данные см. расчет по
определению момента трещинообразования.
. Коэффициент приведения арматуры к
бетону определяем по формуле:
. Вычисляем приведенный коэффициент
армирования для растянутой арматуры
:
. Определяем высоту растянутой зоны
бетона:
где
- расстояние от наиболее растянутого
волокна бетона до центра тяжести приведенного сечения монолитного ригеля (см.
определение момента трещинообразования);
k -
поправочный коэффициент, равный 0,9 для элементов таврового сечения с полкой в
сжатой зоне.
. При определении площади сечения
растянутого бетона, высота растянутой зоны бетона y принимается
не менее 2а и не более 0.5h:
- условие выполняется, значение yне
корректируем.
. Также значение yне должно
превышать 0.5h:
- условие не выполняется, значение yнеобходимо
скорректировать.
. Окончательно значение yпринимаем
равным 0,5h:
. Определяем площадь сечения
растянутого бетона по формуле:
12. Значение базового расстояния
между трещинами
определяем
по формуле:
где
- см. исходные данные определения
момента трещинообразования.
. Значение
принимают
не менее
и 100мм:
-условия выполняются, значение
не
корректируем.
. Значение
принимают
не более
и 400мм:
-условие не
выполняется, значение
корректируем.
. Окончательно значение
принимаем
равным:
17. Значение напряжения в растянутой
арматуре монолитного ригеля определяем по формуле:
где
- к определению ширины раскрытия
трещин при действии полной нормативной нагрузки;
- к определению ширины раскрытия
трещин при действии нормативной длительной нагрузки.
- напряжения в растянутой арматуре
монолитного ригеля при действии полной нормативной нагрузки;
- напряжения в растянутой арматуре
монолитного ригеля при действии нормативной длительной нагрузки.
. Определяем значение коэффициента
,
учитывающего неравномерное распределение относительных деформаций растянутой
арматуры между трещинами:
где М - см. п. 17.
- при действии полной нормативной
нагрузки;
- при действии нормативной
длительной нагрузки.
. Определяем значения коэффициентов
, согласно
п.4.10 [3]:
- коэффициент, учитывающий
продолжительность действия нагрузки и принимаемый равным:
,0 - при непродолжительном действии
нагрузки;
,4 - при продолжительном действии
нагрузки;
- коэффициент, учитывающий профиль
продольной арматуры и принимаемый равным:
,5 -для арматуры периодического
профиля (классов А300, А400, А500, В500).
- коэффициент, учитывающий характер
нагружения и принимаемый равным:
,0 - для изгибаемых и внецентренно
сжатых элементов.
. Ширину раскрытия трещин определяем
по формуле:
при продолжительном действии
длительных нагрузок:
при непродолжительном действии
полной нагрузки:
при непродолжительном действии
длительных нагрузок:
Согласно п. 4.14 [3], ширина
продолжительного раскрытия трещин будет равна:
Ширину непродолжительного раскрытия трещин
принимаем равной:
. Проверяем условие:
где
- предельно допустимая ширина
раскрытия трещин, принимаемая равной:
,3мм - при продолжительном раскрытии
трещин;
,4мм - при непродолжительном
раскрытии трещин.
- условие выполняется;
.Расчет железобетонного монолитного
ригеля по деформациям (по прогибам)
Цель - обеспечить требования по
эксплуатационной пригодности железобетонного элемента по деформациям.
Задача - вычислить прогиб и сравнить
с предельно допустимым значением.
Расчёт:
Расчет монолитного ригеля по
прогибам с трещинами в растянутой зоне выполняем согласно блок-схеме 6.1 [6]
(номера пунктов расчета соответствуют пунктам блок-схемы). Также расчет может
быть выполнен согласно п. 4.17 - 4.25 [3].
. Начало
. Геометрические размеры
рассматриваемого поперечного сечения изгибаемого железобетонного монолитного ригеля
в пролете (см. рис. 3) составляют: b=720мм, h=280мм,
, h'f=60мм,а=35мм.
Геометрические размеры поперечного
сечения изгибаемого железобетонного монолитного ригеля на опоре составляют:
b=720мм, h=280 мм,
,
, а=35мм
Расчетный пролет монолитного ригеля
составляет: 
(
- высота сечения колонны, 250мм -
ширина площадки опирания монолитного ригеля на кирпичную стену).
Характеристики бетона и арматуры для
расчета ригеля по предельным состояниям второй группы см. расчет по определению
момента трещинообразования.
Площадь фактически установленной
продольной растянутой арматуры в пролетном сечении, согласно результатам
расчета по этапу 3.1,составляет:
, продольной сжатой:
.
Площадь фактически установленной
продольной растянутой арматуры в опорном сечении,
- площадь
растянутой арматуры, установленной по расчету в сечении на опоре;
Изгибающий момент ригеля в пролетном
сечении в крайнем пролете от действия полной нормативной нагрузки (см. этап 2
дополнительные данные) равен:
, в т.ч. изгибающий момент ригеля в
пролетном сечении в крайнем пролете от действия нормативной длительной
нагрузки:
. Изгибающий
момент ригеля в опорном сечении по грани средней колонны от действия полной
нормативной нагрузки равен:
- изгибающий момент ригеля в опорном
сечении по грани средней колонны от действия нормативной длительной нагрузки
равен
. Для определения кривизны
монолитного ригеля находим значения коэффициентов
, а также
значение коэффициента приведения сжатой арматуры к бетону
:
где
- для продолжительного действия
нагрузки при определении коэффициента
;
- для непродолжительного действия нагрузки
при определении коэффициента
и при определении коэффициента
.
Значения коэффициентов
для
определения кривизны сечения ригеля в пролете составят:
для продолжительного действия
нагрузок при определении коэффициента
:
для непродолжительного действия
нагрузок при определении коэффициента
и при определении коэффициента
:
Значения коэффициентов
для
определения кривизны сечения ригеля на опоре составят:
для продолжительного действия
нагрузок при определении коэффициента
:

для непродолжительного действия
нагрузок при определении коэффициента
и при определении коэффициента
:
Коэффициент
определяем
по табл. 4.5 [3], коэффициент
- по табл. 4.5 [3].
Находим кривизну монолитного ригеля
от непродолжительного действия всех нагрузок:
для сечения в пролете:
,
коэффициент
. Кривизну
вычисляем по формуле 4.26:
для сечения на опоре:
Определяем кривизну от
непродолжительного действия постоянных и длительных нагрузок: для сечения в
пролете:
для сечения на опоре:
Определяем кривизну от
продолжительного действия постоянных и длительных нагрузок: для сечения в
пролете:
для сечения на опоре:
. Полную кривизну монолитного ригеля
для участков с трещинами в растянутой зоне определяем по формуле:
где
- кривизна от непродолжительного
действия всех нагрузок, на которые производят расчет по деформациям;
- кривизна от непродолжительного
действия постоянных и длительных нагрузок;
- кривизна от продолжительного
действия постоянных и длительных нагрузок для сечения в пролете:
для сечения на опоре:
. Коэффициент Sпринимаем
как для свободно опёртой балки:
. Прогиб крайнего пролета
монолитного ригеля:
. Согласно п. 10.7 [4], находим

Проверяем условие:
- условие выполняется.
Заполнение контрольного талона:
Таблица. Этап №4
|
Контролируемый
параметр
|
   
|
|
|
|
|
|
Значение
|
2486516608
|
28,73
|
0.19
|
0.24
|
25,73
|
Обозначения контролируемых параметров:
- момент инерции приведенного
сечения относительно его центра тяжести;
- момент образования трещин с учетом
неупругих деформаций бетона;
- ширина продолжительного раскрытия
трещин;
- ширина непродолжительного
раскрытия трещин;
f - прогиб
крайнего пролета монолитного ригеля.
Этап 5. Расчет сборной
железобетонной колонны на действие сжимающей продольной силы со случайным
эксцентриситетом и монолитного центрально нагруженного фундамента.
8.Расчет сборной железобетонной колонны
на действие сжимающей продольной силы со случайным эксцентриситетом
проектирование
железобетонный колонна
Цель - обеспечить несущую способность
железобетонного элемента.
Задачи - подобрать необходимую площадь сечения
продольной сжатой и поперечной арматуры в сечении сборной железобетонной
колонны; сконструировать элемент.
В курсовом проекте на этапе 5
необходимо подобрать необходимую площадь сечения продольной сжатой и поперечной
арматуры в сечении сборной железобетонной колонны. При этом значение эксцентриситета
продольной силы принимаем равным случайному эксцентриситету
(определяется
согласно п. 3.49 [3]). Все необходимые усилия для расчета были получены на
этапе 2.
Сечение колонн рекомендуется
армировать симметричной арматурой. В расчетах количество стержней продольной
арматуры рекомендуется принимать равным четырем и размещать их в углах
поперечного сечения колонны. В соответствии с п. 5.17 [3], в колоннах с
размером меньшей стороны сечения 300мм и более диаметр продольных стержней
рекомендуется назначать не менее 16мм. При этом значения коэффициента
армирования должны быть не мене указанных в табл. 5.2 [3] и не более 3%.
Толщину защитного слоя бетона
следует принимать не менее значений, указанных в табл. 5.1 [3].
Диаметр стержней поперечной арматуры
следует назначать из условия свариваемости (см. табл. 2 прил. 6). Шаг
поперечных стержней у каждой грани колонны назначать кратно 50мм и принимать не
более 500мм и не более 20d, (d -
наибольший диаметр стержней продольной арматуры) что обеспечивает закрепление
сжатых стержней от их бокового выпучивания в любом направлении.
На концевых участках колонн следует применять
косвенное армирование в виде пакета поперечных сварных сеток. Для косвенного
армирования использовать арматурную сталь класса В500 диаметром 5мм. Размер
ячейки сетки назначать не менее 45мм, не более 1/4 меньшей стороны сечения
колонны и не более 100мм. Количество сеток устанавливать не менее четырех и
размещать на длине I0d,
при этом шаг сеток должен составлять не менее 60мм, не более 1/3 меньшей
стороны сечения колонны и не более 150мм (d
- наибольший диаметр стержней продольной арматуры). Первую сварную сетку
располагать на расстоянии 15-20мм от нагруженной поверхности. Расчет:
Подбор продольной арматуры выполняем
согласно блок-схеме7.1 [6] (номера пунктов расчета соответствуют пунктам
блок-схемы). Также расчет может быть выполнен согласно п. 3.49 - 3.58 [3]. .
. Начало.
. Сечение колонны принято на этапе 1
и составляет: b=h=300мм.
Величину защитного слоя назначаем в соответствии с требованиями п.5.6 -5.8 [3]
и принимаема = 40мм. Длина колонны первого этажа составляет l=3450мм (см.
рис. 1.5). Расчетную длину элемента принимаем согласно требованиям п. 6.2.18
[1]:
Характеристики бетона и арматуры:
бетон тяжелый, класс бетона для сборных конструкций по бланку задания (см. этап
1) В20, по табл. 1 прил. 5 или табл. 2.2 [3] определяем расчетное сопротивление
бетона по прочности на сжатие:
. Продольная рабочая арматура по
заданию - класса А-300, расчетное значение сопротивления арматуры для
предельных состояний первой группы определяем по табл. 2 прил. 5 или по табл.
2.6 [3]:
Расчетные усилия в колонне первого
этажа:
усилие в колонне первого этажа от
расчетных нагрузок с учетом ее собственного веса: N=1041,783кН.
усилие в колонне первого этажа от
расчетных длительных нагрузок с учетом ее собственного веса:
. Определяем рабочую высоту сечения
бетона колонны:
=300-40=260мм.
Так как
- расчет
допускается производить из условия:
(5.1)
Принимая
, вычисляем
требуемую площадь сечения по формуле:
(5.2)
где А- площадь поперечного сечения
колонны.
Принимаем минимальное конструктивное
армирование колонны сечением 300мм -
. Выполним проверку прочности
сечения колонны с учетом площади сечения фактически принятой арматуры.
При
по табл. 3.5 и 3.6 [3] находим
.
Фактическую несущую способность
колонны находим по формуле:
(5.4)
Проверяем условие:
(5.5)
.Диаметр стержней поперечной и
монтажной арматуры назначаем из условия свариваемости (см. табл. 2 прил. 6) и
принимаем равным 4мм. Шаг стержней принимаем равным 300мм, что не более
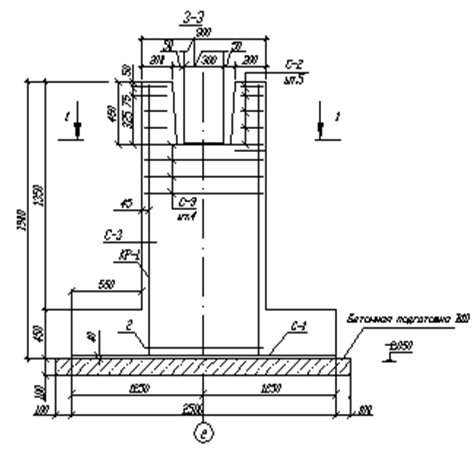
9.Расчет монолитного центрально
нагруженного фундамента
Цель - обеспечить прочность монолитного
железобетонного фундамента
Задача - определить размеры фундамента,
подобрать площадь сечения продольной рабочей арматуры в плитной части
фундамента.
Фундамент проектируем под колонну, рассчитанную
на этапе 5.1. Верх фундамента располагать на отметке -0.150 м. Характеристики
бетона и арматуры фундамента, а также глубину заложения и значение условного
расчетного сопротивления грунта, необходимо принимать по заданию. Все
необходимые усилия для расчета были получены на этапе 2.
Высоту ступеней фундамента принимать не менее
300 и не более 450 мм (кратно 50 мм). Количество ступеней - 2 или 3 в
зависимости от высоты фундамента. Минимальный вылет ступеней 150мм.
Величину заделки колонны в стакан
фундамента принимать равной
, толщину стенок стакана назначать
не менее
и не менее
150 мм (h - высота
сечения колонны). Глубину стакана принимать равной
. Ширину
стакана в уровне верха принимать равнойh+150мм, в
уровне низа h+100мм.
Рис. 5.2. К расчету монолитного фундамента
(сечениями I-I,
II-II
и III-IIIобозначены
места подбора рабочей арматуры в плитной части фундамента).
При вылете подошвы фундамента за грани
подколонника менее 600мм, плитная часть выполняется одноступенчатой. При вылете
750 - 900мм плитная часть может быть как одноступенчатой, так и
двухступенчатой, а при больших вылетах - двухступенчатой или трехступенчатой.
Минимальный диаметр стержней продольной арматуры
в плитной части фундамента 12мм. Шаг продольных стержней сеток назначать 200 мм
и, для удобства конструирования, размеры сторон квадратной подошвы фундамента
принимать нечетными (кратно 100мм без ограничений условиями унификации).
Если в процессе расчета происходит продавливание
плитной части фундамента, либо не выполняется условие прочности по поперечной
силе, то необходимо увеличить высоту плитной части или высоту первой ступени
фундамента соответственно.
Расчет
. Начало.
2.Геометрические размеры сечения
колонны приняты на этапе 1 и составляют: b = h= 300мм. По
заданию грунт основания имеет условное расчетное сопротивление
. Глубина
заложения фундамента составляет
Характеристики бетона и арматуры:
бетон тяжелый, класс бетона монолитных конструкций по бланку задания (см. этап
1) В25, по табл. 1 прил. 5 или табл. 2.2 [3] определяем расчетное сопротивление
бетона осевому растяжению:
.
Продольная рабочая арматура по
заданию - класса А400, расчетное значение сопротивления арматуры для предельных
состояний первой группы определяем по табл. 2 прил. 5 или по табл. 2.6 [3]:
Усилие в колонне первого этажа от
нормативных нагрузок с учетом ее собственного веса (см. этап 5.1):
, усилие в
колонне первого этажа от расчетных нагрузок с учетом ее собственного веса:
N=1041.783кН. Усредненный вес единицы объема бетона фундамента, и грунта
наегообрезах принимаем равным:
.Требуемую площадь подошвы
фундамента определяем по формуле:
(5.6)
Размер стороны квадратной подошвы
фундамента должен быть не менее
. Принимаем
(кратно10см,
нечетное), при этом площадь подошвы фундамента будет равна:
.
.Давление под подошвой фундамента от
расчетной нагрузки вычисляем по формуле:
(5.7)
. Высота фундамента составляет
, где 2,05 м
- глубина заложения фундамента, 0,15 м - расстояние от отметки 0,000 до уровня
верха фундамента. Расстояние от наиболее растянутой грани подошвы фундамента до
центра тяжести стержней продольной арматуры в плитной части принимаем
равныма=50мм.
Ширину стакана в уровне верха
назначаем 400мм, в уровне низа 350мм. Величину заделки колонны в стакан
фундамента принимаем равной
, при этом глубина стакана составит
. Толщину
стенок стакана назначаем равной 200мм. Тогда ширина подколонника составит:
.
Высота плитной части конструктивно равна
,
.
Уточняем требуемую рабочую высоту
плитной части по формуле:
(5.8)
где b=h=300мм -
размеры сечения колонны;
N=1041,783кН
- усилие в колонне первого этажа от расчетных нагрузок с учетом ее собственного
веса;
- коэффициент, принимаемый равным
0,85;
- расчетное сопротивление бетона
осевому растяжению;
р=0.3МПа - давление под подошвой
фундамента от расчетной нагрузки.
С учетома=50мм требуемая высота
плитной части составит:
Высоту плитной части окончательно
принимаем
Тогда
рабочая высота плитной части составит:
Вылет подошвы фундамента равен:
- плитную
часть фундамента выполняем одноступенчатой, высоту ступени назначаем равной
. Рабочая
высота первой ступени будет равна:
Высота подколенника составит:
6.Проверку прочности нижней ступени фундамента
по поперечной силе без поперечного армирования в наклонном сечении (для единицы
ширины этого сечения: b
=1мм) производим из условия:
(5.10)
где
- поперечная сила в наклонном
сечении (в случае, если
, то формула
принимает вид:
;
- поперечная сила, воспринимаемая
бетоном, в наклонном сечении.
,
следовательно поперечную силу в
наклонном сечении вычисляем по формуле:
- условие выполняется, т.к.
, т.е.
прочность нижней ступени фундамента по поперечной силе обеспечена.
. Продавливание плитной части от
низа колонны на действие продольной силы N=1041,783кН(если
, то расчет
на продавливание производится от низа подколонника):
Расчет на продавливание плитной
части от низа подколонника (от низа колонны граница продавливания находится за
пределами подошвы фундамента) производим из условия:
(5.11)
гдеF -
продавливающая сила, принимается равнойN;
- среднее арифметическое значение
периметров верхнего и нижнего оснований пирамиды продавливания (h = 300мм-
высота сечения колонны);
- рабочая высота плитной части
фундамента (в случае, если расчет на продавливание производится от низа
колонны, то вместо
необходимо
подставлять
).
- условие выполняется, продавливания
не происходит.
. Проверку плитной части фундамента
на раскалывание от действия продольной силы N=638.72производим из условия:
(5.12)
где
- коэффициент трения бетона по
бетону;
- коэффициент, учитывающий
совместную работу фундамента с грунтом;
- площадь вертикального сечения
фундамента в плоскости, проходящей по оси сечения колонны параллельно стороне
подошвы, для одноступенчатого фундамента
.
.72103< 2 0.75
1.31225000 =2388.7103 - условие выполняется, раскалывания не
происходит.
. Площадь сечения арматуры подошвы
фундамента в сечениях I-I, II-II и Ш-Ш (см.
рис. 5.2) определяем из условия:
, (5.13)
где М, - изгибающий момент в
расчетном сечении,
рабочая высота фундамента в
расчетном сечении,
Rs - расчетное
сопротивление арматуры на растяжение.
Изгибающие моменты вычисляем по
формуле:
для сечения
для сечения
(для
одноступенчатого фундамента
)
Определяем требуемую площадь
арматуры в сечениях I-I и Ш-Ш
(сечение II-II отсутствует
т.к. фундамент одноступенчатый):
Для ширины подошвы фундамента 2500
мм количество стержней
продольной арматуры в плитной части,
устанавливаемой с шагом 200 мм,
будет равно 13 шт. По максимальной
из требуемых площадей арматуры
определяем требуемую площадь сечения
одного стержня:
Так как минимальный диаметр стержней
продольной арматуры в плитной части фундамента 12 мм, окончательно принимаем
сетку с одинаковой в обоих направлениях рабочей арматурой
с площадью
сечения As = 1469,52мм
(см. рис. 5.3). После окончания расчетов по этапу 5, необходимо заполнить
контрольный талон.
Таблица
|
Пример
заполнения контрольного талона: Этап №5
|
|
Контролируемый
параметр
мм2
кН
мма,
мм
мм2
мм2
мм
|
мм2
|
|
|
|
|
|
|
|
|
|
Значение
|
804
|
1126,8
|
2500
|
50
|
1400
|
450
|
250
|
1469,5
|
Обозначения контролируемых параметров:
- площадь сечения продольной рабочей
арматуры;
- фактическая несущая способность
колонны;
- сторона подошвы фундамента;
а - расстояние от наиболее
растянутой грани подошвы фундамента до центра тяжести стержней продольной
арматуры в плитной части;
-окончательная высота плитной части
(найденная после проверки фундамента на продавливание, на действие поперечной
силы);
- высота
первой ступени фундамента;
s- шаг стержней
продольной рабочей арматуры в плитной части фундамента;
- площадь сечения стержней
продольной рабочей арматуры в плитной части фундамента.
10.Расчет кирпичного простенка с
сетчатым армированием
Цель - обеспечить прочность кирпичного
простенка.
Задачи - определить усилия в кирпичном простенке
первого этажа (см. рис. 1.13), исходя из конструктивных требований назначить
диаметр стержней, размер ячейки и шаг сеток по высоте, проверить прочность
кирпичного простенка.
Расчет производим для кирпичного простенка
первого этажа. Кирпичная кладка высшего качества.
Геометрические размеры кирпичных стен и площадок
опирания плит на стены принимать согласно плана и разреза здания (рис. 1.2,
1.13, 1.14). Опасным будет являться сечение простенка, расположенное на 2/3 его
высоты.
Сетку назначать из стержней арматуры класса В500
диаметром не менее 3 мм, размер ячейки сетки от 30 до 120 мм, шаг сеток не
реже, чем через 5 рядов кирпичной кладки. При этом процент армирования кладки
должен быть не менее 0,1%.
Расчет выполняем согласно п. 4.7 - 4.11, 4.30 -
4.31 [7].
Пример расчета
. Начало.
. На этапе 1 принята толщина наружных стен tпринята640
мм. Материал стен - кирпич керамический полнотелый одинарный марки по прочности
150, марки по морозостойкости F35,
марка цементно-песчаного раствора М50 (в процессе расчета марка кирпича и марка
раствора могут быть изменены).
Согласно рис. 6.1, высота кирпичной
стены за вычетом расстояния От низа стены до 2/3 высоты простенка первого этажа
составляет Н =15,2м. Расчетная ширина стены принимается равной шагу колонн в
поперечном направлении
. Ширина
оконных проемов по рис. 1.13 равна
. Ширина площадки опирания плиты
перекрытия на кирпичную стену составляет
(см. рис. 1.14). Расчетная высота
простенка равна высоте оконного проема
.Размеры поперечного сечения
простенка составят:
Согласно расчетам этапа 1, полная
расчетная нагрузка на 1м2 покрытия с учетом нормального уровня
ответственности здания II будет равна:
, полная
расчетная нагрузка на 1м2перекрытия с учетом нормального уровня
ответственности здания II будет равна
,
.Продольную силу в опасном сечении
простенка определяем по формуле:
где Н = 15,2 м - расчетная высота
кирпичной стены; •
- расчетная ширина стены;
t=640мм =
0,64м - толщина стены;
коэффициент проемности (
- суммарная
площадь оконных проемов в расчетном сечении стены);
- плотность кладки;
- коэффициент надежности по
нагрузке;
n=5- число
этажей в здании (см. бланк задания);
- ширина первого пролета в
продольном направлении.
Суммарную площадь оконных проемов в
расчетном сечении стены определяем по рис:
Тогда коэффициент проемности будет
равен:
Момент в расчетном сечении простенка
определяем согласно рис.
(6.2)
. Значение эксцентриситета
продольной силы будет равно:
(6.3)
Так как величина эксцентриситета
то,
согласно п. 4.31 [7], простенок можно проектировать с сетчатым армированием.
.Вычисляем максимальные напряжения в
кладке по формуле:
, (6.4)
где
- приняты ориентировочно в первом
приближении;
,
.
Расчетное сопротивление
неармированной кладки должно быть не менее
.
. По табл. 2 [7] или табл. 1 прил. 7
для марки кирпича 150 и марки раствора 50 определяем расчетное сопротивление
кладки
. В случае,
если расчетное сопротивление кладки менее
, то необходимо увеличить марку
кирпича и раствора.
. Исходя из конструктивных
требований назначаем сетку из стержней арматуры класса В500 диаметром 4 мм(
). Шаг сеток
назначаем через каждые пять рядов s= 385мм (при
толщине шва 14 мм, высоте кирпича 65 мм). Размер ячейки сетки принимаем 60 мм.
. Для определения коэффициентов
продольного изгиба гибкость простенка в плоскости действия изгибающего момента
будет равна:
.
Высота сжатой части сечения
составит:
и
соответствующая ей гибкость
. Расчетное сопротивление кладки при
внецентренном сжатии равно:
(6.5)
.
Упругую характеристику кладки с
сетчатым армированием определяем по формуле:
(6.6)
где
- по табл. 15 [7] для керамического
полнотелого кирпича;
По величинам гибкостей
и
, a также
значению
по табл. 18
[7] или табл.2 прил. 7 определяем значения коэффициентов продольного изгиба для
армированной кладки при внецентренном сжатии:
и
.Тогда
.При
по табл. 20 [7] определяем
, тогда
коэффициент, учитывающий влияние длительной нагрузки, определяемый по формуле
16 [7], будет равен
. Коэффициент
,
учитывающий повышение расчетного сопротивления кладки при внецентренном сжатии,
определяем по табл. 19 [7]:
. Фактическая несущая способность
кирпичного простенка при внецентренном сжатии будет равна:
(6.7)
прочность кирпичного простенка
обеспечена.
После окончания расчетов по этапу 6,
необходимо заполнить контрольный талон. В случае, если ручной расчет выполнен
правильно, программой проверки в награду будут выданы значения геометрических
характеристик приведенного сечения плиты перекрытия. Если ручной счет выполнен
неправильно, то указанные значения необходимо определить самостоятельно.
Заполнения контрольного талона:
Таблица. Этап №6
|
Контролируемый
параметр
|
N, кН
|
М,
кНм
|
 d,ммс, ммs, мм кН
|
|
|
|
|
|
|
Значение
|
1252,38
|
32,55
|
150
|
50
|
4
|
60
|
385
|
3731,5
|
Обозначения контролируемых параметров:-
продольная сила в опасном сечении простенка;
М - изгибающий момент в опасном сечении
простенка;
- принятая марка кирпича;
- принятая марка раствора;
d - диаметр
стержней сетки;
с - размер ячейки сетки;
s - шаг сеток
по высоте каменной кладки;
- фактическая несущая способность
кирпичного простенка при внецентренном сжатии.
11.Расчет предварительно напряженной
круглопустотной плиты перекрытия
Цель - обеспечить прочность и
эксплуатационную пригодность плиты перекрытия.
Задачи - подобрать предварительно
напряженную арматуру в плите перекрытия, определить прогиб плиты, ширину
раскрытия трещин.
В курсовом проекте рассчитываем
плиту перекрытия второго этажа крайнего пролета наибольшей ширины. Узел
сопряжения плиты с монолитным ригелем - жесткий, опирание плиты на кирпичную
стену -шарнирное, усилие распора в плите отсутствует. Сбор нагрузок на плиту
перекрытия см. этап 1 расчета.
Бетон плиты перекрытия подвергается
тепловой обработке при твердении. Минимальный класс бетона в зависимости от
вида напрягаемой арматуры определять по табл.1 прил. 8.
Передаточную прочность бетона
принимать как для бетона на 1 класс ниже заданного (для соответствия программе
проверки контрольных Талонов).
Расчет по раскрытию трещин в стадии
изготовления выполнять согласно п. 4.13 [9].
Расчет
. Начало.
2. По результатам компоновки
перекрытия здания (см. этап ,1)номинальная ширина плиты составляет
, пролет
плиты перекрытия
, высота
плиты
. Ширина
площадки опирания плиты на кирпичную стену составляет 140 мм, тогда расчетный
пролет плиты будет равен:
Полная расчетная нагрузка на 1м
длины перекрытия (см. табл. 1.1 этап 1) равна
.
Определяем изгибающие моменты в
пролетном и опорном сечениях плиты:
для расчета по первой группе предельных
состояний: изгибающий момент в опорном сечении плиты:
(7.5)
Поперечная сила в узле сопряжения
плиты с монолитным ригелем:
, (7.6)
, (7.7)
Расстояние от опоры, на котором
изгибающий момент плиты в пролетном сечении максимален:
(7.8)
Значение максимального изгибающего
момента плиты в пролетном сечении составит:
(7.9)
Рис.7.1 Геометрические размеры плиты перекрытия.
Продольная рабочая напрягаемая
арматура по заданию - класса Вр1200, расчетное значение сопротивления арматуры
для предельных состояний первой группы определяем по табл. 2 прил. 8 или по
табл. 2.8 [9]:
,
,
. Способна
тяжения арматуры - механический
Характеристики бетона и арматуры:
бетон тяжелый, класс бетона для сборных конструкций по бланку задания (см. этап
1) В30. По табл. прил. 8 минимальный класс бетона при классе напрягаемой
арматуры А400-В30, поэтому класс бетона плиты перекрытия не корректируем и
принимаем В25. По табл. 1 прил. 4 и табл. 1 прил. 5:


Значение начального модуля упругости
бетона составляет
.
. Согласно п. 2.25 [9], величину
предварительного напряжения арматуры назначаем равным:
Расчет плиты по предельным
состояниям первой группы
. Подбор предварительно напрягаемой
арматуры в пролетном сечении плиты. При расчете плиты по прочности учитываем
благоприятное влияние предварительного напряжения с учетом возможных отклонений
предварительного напряжения:
где
согласно п. 3.7 [9].
Расчетное сечение плиты - тавровое с
полкой в сжатой зоне, геометрические размеры см. рис. 7.1. Рабочая высота
сечения плиты составляет
.
Проверяем условие:
(7.10)
условие выполняется, следовательно,
граница сжатой зоны проходит в полке и площадь сечения напрягаемой арматуры
определяется как для прямоугольного сечения шириной
согласно п.
3.14 и 3.16[9].
Вычисляем значение
по формуле:
(7.11)
.
Значение
определяем
по табл. 3.1 [9] или табл. 5 прил. 8 взависимости от соотношения
где
-предварительное напряжение с учетом
всех потерь:

- сжатая ненапрягаемая арматура по
расчету не требуется.
Площадь сечения напрягаемой арматуры
в растянутой зоне определяем по формуле:
(7.12)
где 
- коэффициент условий работы
напрягаемой арматуры, при

(принимается не более 1,1):
принимаем
.
Количество стержней напрягаемой арматуры
принимаем согласно рис. 7.1. По сортаменту (табл. 3 прил. 8) принимаем 8
стержней диаметром 7 мм с расчетной площадью поперечного сеченияА,р=308мм2.
Заполнения контрольного талона:
Таблица. Этап №7
Контролируемый
параметр
кНм
МПа

МПа
кНм
мм
ммf,
|
мм
|
|
|
|
|
|
|
|
|
|
Значение
|
56,02
|
1080
|
308
|
0
|
0
|
0
|
0
|
0
|
Обозначения контролируемых параметров:
- значение изгибающего момента
плиты в пролетном сечении от расчетных нагрузок;
- площадь сечения напрягаемой
арматуры в растянутой зоне;
- напряжение в арматуре с учетом
всех потерь;
- момент образования трещин в стадии
эксплуатации;
- ширина раскрытия трещин при
продолжительном их раскрытии;
- ширина раскрытия трещин при непродолжительном
их раскрытии;
f - прогиб
плиты перекрытия.
Список литературы
.
СП 52-101-2003. Бетонные и железобетонные конструкции без предварительного
напряжения арматуры. - М: ГУП НИИЖБГосстроя России, 2003
.
Железобетонные конструкции. Общий курс. В.Н. Байков, Э.Е. Сигалoв.
-М: Стройиздат, 1991.
3.
Пособие по проектированию бетонных и железобетонных конструкций из тяжелого
бетона без предварительного напряжения арматуры (к СП 52-101-2003).
ЦНИИПромзданий, НИИЖБ.- М.: ОАО ЦНИИПромзданий
, 2005.-214 с.
.
СНиП 2.01.07-85*(с изм. 2003). Нагрузки и воздействия.
.
Железобетонные и каменные конструкции. Под редакцией В.М. Бондаренко. - М:
Высшая школа, 2007.
.
Примеры расчета и конструирования железобетонных конструкций по СП 52-101-2003.
Под ред. д-ра техн. наук, проф. Соколова Б.С, Казань, 2007.
.
СНиП П-22-81. Каменные и армокаменные конструкции. - М.: ЦНИИСК им. В.А.
Кучеренко Госстроя СССР.
.
Проектирование железобетонных конструкций: Справоч. пособие/А.Б. Голышев, В.Я.
Бачинский, В.П. Полищук и др.; Под ред. А.Б. Голышева; - К.: Будивельник,
1985.-496 с.
.
Пособие по проектированию предварительно напряженных железобетонных конструкций
из тяжелого бетона (к СП 52-102-2004). -М: ГУП НИИЖБ Госстроя России, 2004.
.
Компоновка сборно-монолитного железобетонного каркаса с использованием ЭВМ:
Методические указания. Сост. Соколов Б.С, Загидуллин М.Р. Казань: КГАСУ, 2006г.
.
Проектирование железобетонных и каменных конструкций здания с неполным каркасом
и сборно-монолитными перекрытиями: Учебное пособие. Сост. Соколов Б.С., Никитин
Г.П., Седов А.Н., Загидуллин М.Р.-Казань: КГАСУ, 2007 г.-116с.
1.