Расчет тонкопленочных элементов (резистора и конденсатора)
Содержание
Введение
1. Ответы на контрольные вопросы
1.1 Эпитаксия. Виды. Задачи, решаемые эпитаксией в технологическом
процессе
1.2 Многоэмиттерные транзисторные структуры
1.3 Функциональная микроэлектроника. Основные направления
1.3.1 Акустоэлектроника: типы устройств, их конструкция и параметры
1.3.2 Магнетоэлектроника
2. Расчет курсовой работы
2.1 Расчет тонкопленочного резистора (ТПР)
Расчет резистора прямоугольной формы
2.2 Расчёт тонкоплёночного конденсатора
Заключение
Список литературы
Введение
Развитие транзисторной электроники, совершенствование
технологии изготовления транзисторов привели к возникновению нового направления
в электронике - микроэлектроники. В 60-х годах были созданы интегральные схемы
(ИС), в которых все элементы разрабатываются в едином технологическом процессе,
нераздельно связаны и электрически соединены между собой как единое целое, что
позволило резко повысить надежность РЭА, еще более уменьшить габариты и массу
РЭА, повысить экономичность. Интегральные схемы в середине 60-х годов содержали
до 100 элементов на полупроводниковом кристалле при размере элементов около 100
мкм. В начале 70-х годов появились большие интегральные схемы (БИС),
содержавшие на кристалле от 100 до 104 элементов при размере
элементов от 3 до 100 мкм. В конце 70-х годов созданы сверхбольшие интегральные
схемы (СБИС), содержащие от 104 до 106элементов на
кристалле при размере элементов от 1 до 3 мкм. Дальнейшее развитие
микроэлектроники привело к освоению субмикронных размеров элементов микросхем.
Исследования показали, что пределом уменьшения размеров элементов является
значение 0,2 мкм. Однако достижение таких размеров связано с преодолением
определенных технологических трудностей. Иначе говоря, существуют физические
пределы развития интегральной микроэлектроники.
Параллельно с интегральной
микроэлектроникой в 80-е годы развивалась функциональная электроника,
позволяющая реализовать определенную функцию аппаратуры без применения
стандартных базовых элементов (диодов, резисторов, транзисторов и т.д.). базируясь
непосредственно на физических явлениях в твердом теле. В функциональной
электронике используются такие механизмы, как оптические явления
(оптоэлектроника), взаимодействие потока электронов с акустическими волнами в
твердом теле (акустоэлектроника) и ряд других.
1. Ответы на
контрольные вопросы
1.1
Эпитаксия. Виды. Задачи, решаемые эпитаксией в технологическом процессе
Эпитаксией называют ориентированное наращивание
слоев, кристаллическая решетка которых повторяет структуру подложки. Как
правило, материалы наращиваемой пленки и подложки одинаковы, но могут
применяться и разные материалы с близкой кристаллической структурой, например
пленка кремния на сапфировой подложке. Эпитаксиальный слой создается на всей
поверхности подложки, в него могут вводиться примеси. На границе раздела
эпитаксиального слоя с подложкой можно сформировать электронно-дырочный
переход.
Различают гетероэпитаксию и гомоэпитаксию.
Процесс гомоэпитаксии или автоэпитаксии
позволяет получать наращиваемые слои с составом, аналогичным подложке или
отличающимся от нее только примесными свойствами.
Процесс гетероэпитаксии позволяет
получать слои с различными относительно подложки свойствами как по химическому
составу, так и по кристаллической структуре. Процесс эпитаксии легко осуществляется,
если разность параметров решетки лежит в пределах 10%. В этом случае тонкий
эпитаксиальный слой продолжает структуру атомных плоскостей подложки.
Эпитаксиальное наращивание возможно из
любой фазы вещества: газовой - газофазная эпитаксия (ГФЭ); жидкой - жидкофазная
эпитаксия (ЖФЭ) и твердой - твердофазная эпитаксия (ТФЭ).
Методы газофазной эпитаксии делятся
на физические и химические. К физическим методам относятся методы термического
осаждения из молекулярных пучков в вакууме, методы катодного распыления и
осаждения, метод мгновенного расплавления.
тонкопленочный резистор конденсатор эпитаксия
Для получения эпитаксиальных слоев наиболее широко
применяется хлоридный метод (рис.1). Отшлифованные и тщательно очищенные
пластины кремния 1 закрепляют на графитовом держателе 2 и помещают в кварцевую
трубу 3 с высокочастотным нагревом 4. В трубе поддерживается температура около
1200±3°С. Затем камеру продувают водородом и заполняют смесью HCI и Н2, в
результате чего происходит дополнительная очистка поверхности кремниевых
пластин.
Рисунок 1.
После очистки пластин в трубу подается смесь газов
тетрахлорида кремния (SiCI4) и водорода (Н2). При этом на
поверхности пластин происходит реакция восстановления SiCl4 с Н2:
Атомы кремния, перемещаясь по поверхности, занимают места в
узлах кристаллической решетки, из-за чего растущая пленка продолжает
кристаллическую структуру подложки. При необходимости вырастить эпитакснальный
слой n
- типа в смесь газов добавляют фосфин РН3, а для создания пленок
р-типа - диборан В2Н6. Скорость роста пленки составляет
0,1-1.0 мкм/мин; она зависит от температуры, скорости потока газов и
кристаллической ориентации поверхности кристалла. Из-за высокой температуры
процесса атомы диффундируют из пленки в подложку и обратно, что затрудняет
получение очень тонких эпитаксиальных пленок. Толщина пленок лежит в пределах
от 1 до 15 мкм. Более тонкие пленки (0,1-0,2 мкм) можно получить на основе
реакции пиролитического разложения силана SiH4 при температуре 1000°С:
Сравнение химической и жидкостной эпитаксии. Химические методы
эпитаксии позволяют более просто и с большей точностью управлять составом
соединений, но при этом растущие пленки загрязняются примесями из реактора. При
жидкофазном методе возможно неконтролируемое изменение состава в процессе
роста, но скорости роста больше (широко применяется для получения толстых
слоев), а стоимость структур выше. В газофазном методе (пиролиз) расход Ga меньше и лучше
управляемость.
1.2
Многоэмиттерные транзисторные структуры
Многоэмиттерные транзисторы
Многоэмиттерные транзисторы (МЭТ) составляют основу
цифровых ИМС транзисторно-транзисторной логики (ТТЛ). Имея общий коллектор и
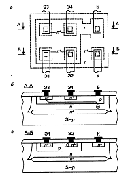
базу, МЭТ содержат до 8 эмиттеров. Структура МЭТ и его топология показана на
рис.2.
Рисунок 2.
Особенность работы МЭТ состоит в том, что в любом состоянии
схемы коллекторный переход всегда открыт, а эмиттерные переходы могут быть либо
открытыми, либо закрытыми. При этом возможны три комбинации состояний р-п переходов.
Если все эмиттерные переходы открыты, то в транзисторе существует режим
насыщения и токи протекают так, как это показано на рис 3, а, при этом Iк,
существенно меньше токов Iэ1 и Iэ2, так как последовательно с коллекторным
переходом включено сопротивление rк, которое больше
сопротивления r'э. Если на эмиттерные переходы поданы обратные
напряжения от источника управляющих сигналов, то транзистор работает в
инверсном режиме (рис.3, б). В этом случае возрастает ток Iк,
а суммарный ток всех эмиттеров в соответствии с уравнениями Эберса-Молла будет
равен
Рисунок 3.
Поскольку на открытом коллекторном переходе напряжение ик.
п. = 0,7 В, то в этом уравнении второе (отрицательное) слагаемое
оказывается существенно больше первого (положительного), поэтому в эмиттерных
цепях будут протекать сравнительно большие отрицательные токи, потребляемые от
источников управляющих сигналов. Чтобы уменьшить эти токи, необходимо уменьшить
инверсный коэффициент передачи транзистора
, что достигается путем искусственного
увеличения сопротивления пассивной базы. Для этого внешний вывод базы соединяют
с активной областью транзистора через узкий перешеек (см. рис.2, а), обладающий
сопротивлением 200-300 Ом. Протекая через этот перешеек, ток базы создает на
нем падение напряжения, вследствие чего прямое напряжение на коллекторном
переходе будет больше в области пассивной базы и меньше в области активной
базы. Поэтому инжекция электронов из коллектора в базу будет происходить
преимущественно в области пассивной базы (см. рис.2, б). При этом
возрастает длина пути, проходимого электронами через базу, в результате чего
инверсный коэффициент передачи а, уменьшается до 0,005-0.05.
Если один из соседних переходов открыт, а другой закрыт
(рис.3, в), то сказывается влияние горизонтальной паразитной структуры типа п-р-п
(см. рис.2. в), образованной соседними эмиттерами и разделяющей их р-областью.
Через эту структуру протекает ток, потребляемый от источника управляющих
сигналов, подключенного к закрытому переходу. Для ослабления паразитного
транзисторного эффекта приходится увеличивать расстояние между соседними
эмиттерами до 10-15 мкм.
1.3
Функциональная микроэлектроника. Основные направления
Современная микроэлектроника базируется на интеграции
дискретных элементов электронной техники, при которой каждый элемент схемы
формируется отдельно в полупроводниковом кристалле. При этом в основе создания
ИМС лежит принцип элементной (технологической) интеграции, сопровождающейся
микроминиатюризацией элементов (активных и пассивных) микросхемы. В
интегральной микроэлектронике сохраняется главный принцип дискретной
электроники, основанной на разработке электрической схемы по законам теории
цепей. Этот принцип неизбежно связан с ростом числа элементов микросхемы и
межэлементных соединений по мере усложнения выполняемых ею функций.
Сложными становятся проблемы топологии и теплоотвода. Поэтому
в отдаленной перспективе интегральная микроэлектроника уже не будет полностью
удовлетворять разработчиков сложной радиоэлектронной аппаратуры.
Функциональная микроэлектроника предполагает принципиально
иной подход, позволяющий реализовать определенную функцию аппаратуры без
применения стандартных базовых элементов, основываясь непосредственно на
физических явлениях в твердом теле. В этом случае локальному объему твердого
тела придаются такие свойства, которые требуются для выполнения данной функции,
и промежуточный этап представления желаемой функции в виде эквивалентной
электрической схемы не требуется. Функциональные микросхемы могут выполняться
не только на основе полупроводников, но и на основе таких материалов, как
сверхпроводники, сегнетоэлектрики, материалы с фотопроводящими свойствами и др.
Для переработки информации можно использовать явления, не связанные с
электропроводностью (например, оптические и магнитные явления в диэлектриках,
закономерности распространения ультразвука и т.д.).
Таким образом, функциональная микроэлектроника охватывает
вопросы получения специальных сред с наперед заданными свойствами и создания
различных электронных устройств методом физической интеграции, т.е.
использования таких физических принципов и явлений, реализация которых
позволяет получить приборы со сложным схемотехническим или системотехническим
функциональным назначением.
В функциональной микроэлектронике начинают использовать:
Оптические явления (когерентная и некогерентная оптика,
нелинейная оптика, электрооптика, магнетооптика) - на их основе зародилась
оптоэлектроника
Физические явления, связанные с взаимодействием потока
электронов с акустическими волнами в твердом теле (акустоэлектроника).
Новые магнитные материалы (слабые ферромагнетики и магнитные
полупроводники), в которых используются электромагнитные процессы на доменном
уровне.
Покоящиеся и движущиеся электрические неоднородности (домены
и шнуры) в однородных полупроводниках.
Явления, связанные с изменением структуры конденсированных
тел на молекулярном уровне (квантовая и молекулярная микроэлектроника).
Элементы на основе эффекта Ганна.
Явления холодной эмиссии, которые позволили создать
электровакуумные приборы в микроэлектронном исполнении с применением пленок.
Приборы на основе накопления и переноса зарядов.
Основные направления функциональной микроэлектроники можно
свести в таблицу (см. рис.4).
1.3.1 Акустоэлектроника:
типы устройств, их конструкция и параметры
Акустоэлектроника - направление функциональной
микроэлектроники, связанное с использованием механических резонансных эффектов,
пьезоэлектрического эффекта, а также эффекта, основанного на взаимодействии
электрических полей с волнами акустических напряжений в пьезоэлектрическом
полупроводниковом материале.
Акустоэлектроника занимается преобразованием акустических
сигналов в электрические и электрических сигналов в акустические.
На принципе электромеханического резонанса основано действие
прибора, называемого резонистором и представляющего собой транзистор с
резонирующим затвором (рис.5). Затвор З, представляющий собой часть
балки, противоположный конец которой закреплен на изоляторе, нависает над
каналом между стоком С и истоком И. Под балкой на изоляторе
расположен электрод, на который подается входной сигнал. Сила
электростатического взаимодействия сигнального электрода с затвором, на который
также подано постоянное напряжение смещения, раскачивает балку в случае, когда
частота сигнала совпадает с механическим резонансом балки. Вибрирующий затвор
модулирует канал, обусловливая наличие переменной составляющей тока в нагрузке Rн.
Консоль из золота имеет длину 0,25 мм. Такие резонисторы на частотах 1…45 кГц имеют
добротность 100…750. При обратной связи с выхода на вход резонистора можно
получить тональный генератор, подобный широко известному камертонному
генератору. Разработаны и применяются резонисторы и для более высоких частот,
приблизительно до 1 МГц.
На пьезоэлектрическом эффекте основана работа некоторых
радиотехнических функциональных приборов - кварцевых генераторов, фильтров,
ультразвуковых линий задержки, акустоэлектронных усилителей и преобразователей.
Простейшая ультразвуковая линия задержки, работающая на
объемных акустических волнах, представляет собой стержень твердого тела, к
противоположным концам которого прикреплены пьезоэлектрические преобразователи
(рис.6). На вход подается радиоимпульс с несущей частотой порядка нескольких
десятков мегагерц. Электрические колебания во входном пьезоэлектрическом
преобразователе превращаются в акустические и излучаются в звукопровод, где
распространяются со скоростью значительно меньшей, чем скорость распространения
электромагнитных волн. Кварцевые преобразователи работают на сжатие. Дойдя до
выходного преобразователя, акустические колебания вызывают появление в нем э.
д. с., которая после усиления и детектирования образует выходной задержанный
видеоимпульс. Задержка может достигать нескольких десятков миллисекунд.
Рис. 5. Устройство резонистора
Рис. 6. Ультразвуковая линия задержки: 1 - входной
преобразователь; 2 - звукопровод; 3 - выходной преобразователь
1.3.2
Магнетоэлектроника
Магнетоэлектроника - направление функциональной
микроэлектроники, связанное с появлением новых магнитных материалов, обладающих
малой намагниченностью насыщения, и с разработкой технологических методов
получения тонких магнитных пленок.
На перемагничивание тонкопленочного элемента, толщина
которого обычно не превышает толщины одного домена, требуется энергии в 10-20
раз и времени в 10-30 раз меньше, чем на перемагничивание ферритового
сердечника.
Наибольший интерес представляет использование тонкопленочных
металлических магнитных материалов в микроэлектронных запоминающих устройствах
(ЗУ), где в качестве элемента памяти применяются тонкие магнитные пленки. Эти
пленки позволяют создавать надежные быстродействующие ЗУ с малой мощностью
управления. Весьма перспективны устройства, памяти на цилиндрических магнитных
доменах. Плотность записи таких устройств достигает 105 бит/см2
при скорости обработки информации 3106 бит/с. Преимущество
этих устройств заключается также в том, что магнитные домены могут составить систему
идентичных элементов, реализующих функции логики, памяти и коммутации без
нарушения однородности структуры материала носителя информации. Следовательно,
кристалл на магнитных доменах является вычислительной средой, на поверхности
которой посредством системы внешних аппликаций можно размещать схемы,
реализующие различные комбинации логических и переключающих функций и функций
памяти.
Применение тонких магнитных пленок в качестве носителей
информации основано на том, что они обладают двумя устойчивыми состояниями. Эти
состояния пленки обеспечиваются благодаря одноосной магнитной анизотропии -
предпочтительной ориентации вектора намагниченности, которая создается в
процессе изготовления пленки или при ее последующей термической обработке с
помощью внешнего магнитного поля.
Это свойство используется в двух видах интегральной памяти:
элементе памяти с плоскими магнитными пленками (рис.7, б) и элементе памяти с
электролитическим магнитным покрытием, нанесенным на проволоку (рис.7, в).
Рис. 7. Использование тонких магнитных пленок для элементов
памяти ЭВМ: а - петля гистерезиса тонкой магнитной пленки; б -
элемент памяти с плоскими магнитными пленками; в - элемент памяти с
электролитическим магнитным покрытием, нанесенным на проволоку
При хранении информации пермаллойные элементы намагничены в
одном или другом направлении оси легкого намагничивания, которое совпадает с
продольным направлением в пленке и является окружностью для проволоки с
электролитическим покрытием. При записи ток слов делает направление
намагниченности почти совпадающим с направлением оси трудного намагничивания.
Ток чисел отклоняет направление намагниченности в ту или другую сторону, так
что после прохождения импульсов намагниченность устанавливается в направлении
ОЛН.
Третьим типом интегральной памяти на магнитных пленках
является плоская проволочная память (рис.8). Ее изготовляют путем
электролитического нанесения пленки пермаллоя на медно-бериллиевую проволоку.
Прямые параллельные отрезки такой проволоки образуют линии чисел; проводящие
ленты, протянутые в поперечном направлении, служат линиями слов. Запоминание
осуществляется намагничиванием по окружности пленки, нанесенной электролизом на
проволоку, причем это соответствует направлению оси легкого намагничивания,
которое устанавливается при электролизе за счет пропускания постоянного тока через
проволоку. Ток слов направляет поле по оси проволоки, т.е. в направлении оси
трудного намагничивания. Это индуцирует напряжения в линиях чисел, причем
небольшие токи чисел направляют поля вдоль оси легкого намагничивания.
Рис .8. Плоская проволочная память
На тонких магнитных пленках могут быть выполнены не только
элементы памяти ЭВМ, но также логические микросхемы, магнитные усилители и
другие приборы.
Широкие перспективы построения разнообразных функциональных
устройств открывают новые материалы - магнитные полупроводники. К ним относятся
магнетики, не обладающие металлической природой электропроводности и
представляющие собой соединения магнитных и немагнитных элементов. В настоящее
время известны такие магнитные полупроводники, как халькогениды европия,
халькогенидные шпинели хрома, сильно легированные ферриты (например,
железоиттриевый гранат, легированный кремнием) и т.д.
2. Расчет
курсовой работы
2.1 Расчет
тонкопленочного резистора (ТПР)
Исходными данными для расчета пленочных резисторов являются:
·
номинальное
значение сопротивления R =4кОм. =4000Ом.
с допустимой относительной погрешностью gR (20%)
·
значения
рассеиваемой мощности Р =20 mBт=0,02Вт.
·
максимальная
рабочая температура Tmax =60°С
минимальная рабочая температура Т
=-20
С;
время работы
10000 ч.;
1.
В
данном расчете предлагается в качестве материала пленки использовать хром с
удельным поверхностным сопротивлением rs=500 Ом
Рассчитать коэффициент формы Кф=
=4000/500=8 и определить его конструкцию.
1<Kф<10 рекомендуется резистор прямоугольной формы
. Определить допустимую относительную погрешность
коэффициента формы
Полная относительная погрешность ТПР состоит из суммы из
суммы относительных погрешностей:
gR = gКф + grs + gRт + gRст+ gRк=0,1+0,05+0,0096+0,02+0,02=0,
20
где gR - относительная погрешность сопротивления
(20%=0, 20);
gКф - относительная погрешность коэффициента формы
(10%=0,1);
grs - относительная погрешность
воспроизведения удельного поверхностного сопротивления, не превышает (5%=0,05);
gRт=aR (Тмах - Т0) = 1,2
(60- (-20)) =0,00012*80=0,0096;
aR - температурный
коэффициент сопротивления (для хрома 1,2
);
gRст =
= 2
*10000=0,02=2%
- относительная погрешность старения резистора (для хрома 2
);
gRк -
относительная погрешность переходного сопротивления контактов,равна (2%=0,02).
. Найти относительную погрешность коэффициента формы:
gКф = gR - (grs + gRт
+ gRст + gRк)
=0, 20- (0,05+0,0096+0,02+0,02) = 0,15-0,0896=0,104
Если значение gкф <0, то это значит, что изготовление
резистора заданной точности из выбранного материала не возможно. Нужно выбрать
другой материал, имеющий другие значения gRт, gRст,
Расчет резистора прямоугольной формы
1. Определить расчетное значение ширины резистора, которое
удовлетворяет условию:
bрасч ³ max (b0, bт, bp),
где b0 - минимальная ширина резистора, определяемая
технологическими ограничениями (100 мкм);
bp - минимальная ширина резистора, определяемая
допустимой мощностью рассеяния, которая рассчитывается по формуле:
bр=
Ро - максимальная удельная мощность рассеяния для выбранного
материала резистора (для хрома 10 мВт/мм
=0,01 Вт/мм
);
bт -
минимальная ширина резистора, обеспечивающая заданную точность его
изготовления, определяемая выражением:
где
=10мкм=0,01км абсолютная погрешность
линейных размеров резистора.
За расчетное значение b
принимаем наибольшее из трех (b0, bт, bp).
2. Определить длину резистора
из выражения:
=500*8=4000мкм=4 мм
2.2 Расчёт
тонкоплёночного конденсатора
Рисунок 2. Основные конструкции пленочных конденсаторов
1
подложка,
2 - нижняя обкладка, 3 - диэлектрик, 4 - верхняя обкладка, 5 - вывод верхней
обкладки, 6 - вывод нижней обкладки.
а) конденсатор 20-2000 пФ, б) конденсатор 10-90 пФ
Исходными данными для расчёта МДМ-конденсаторов являются:
Номинальное значение ёмкости С=320пФ;
относительная погрешность ёмкости γс (15%=0,15)
рабочее напряжение Uр =20В;
максимальная рабочая температура Тmax=60°С;
время работы t =1000 часов;
минимальная рабочая температура Т
=-20
С;
|
Материал
|
e, при частоте
1 кГц
|
aс a , % /10 ч.
|
|
|
|
3,5-45-60,8-11
|
|
|
|
|
. Рассчитываем минимальную толщину диэлектрика из
условия электрической прочности:
dmin ≥ Kпр
где Kпр= (2-3) - коэффициент запаса прочности;
Епр - электрическая прочность диэлектрика.
Если dmin лежит за пределами (0,1-1) мкм, то следует
выбрать другой материал. Оптимальной считается толщина (0,3-0,5) мкм.
2. Определяем максимальную удельную ёмкость С0 max1, которая обеспечит
необходимую электрическую прочность:
С0 max1=εε0/dmin=
определяем максимальную удельную ёмкость С0 max2, которая обеспечит требуемую точность изготовления конденсатора:
Где
Kф=L/B - коэффициент
формы конденсатора (L и B-размеры обкладки конденсатора. Обычно Kф =L=B=1, Т.о. Kф принимается равным единице.); ∆L=10 мкм, абсолютная погрешность линейных размеров конденсатора gSдоп - допустимая относительная погрешность активной площади
конденсатора, которая определяется как
gSдоп=γс- (γс0+γт+γст) =0,15- (0,05+0,008+0,01) =0,08
здесь γс0=0,05 относительная погрешность удельной
ёмкости, которая характеризует воспроизводимость технологического процесса
формирования диэлектрической плёнки и составляет 3-5%;
γт - относительная температурная погрешность
γт=aс (Тmax-Т0) =
(60- (-20)) =0,008
где aс - температурный коэффициент материала
диэлектрика;
γст=0,01 относительная погрешность, обусловленная старением
диэлектрика γст=a
, где a
- коэффициент
старения, t-время работы.
γст =
3. Из двух значений С0 max выбрать наименьшее С0.
4. Рассчитываем активную площадь конденсатора:
S=C/C0max1=
B=
B= LB/Кф=0,95/1=0,95мм
5. Рассчитываем размеры нижней обкладки конденсатора и
размеры диэлектрика:
Lн= LB+2q =0,95+0,4=1,35мм = Bн, LД= LН+2f =1,35+0,2=1,55 = BД
где q - расстояние между краями верхней и нижней обкладки
f - расстояние между краями диэлектрика и нижней обкладки
q=200мкм=0,2мм f=100мкм=0,1мм
Заключение
В ходе выполнения настоящей курсовой
работы были произведены расчеты тонкопленочного резистора (ТПР) и
тонкопленочного конденсатора, а так же закреплены теоретические знания и
практические навыки расчетов по дисциплине "Основы микроэлектроники".
Список
литературы
1. Основы
микроэлектроники: учебник / И.Е. Ефимов, И.Я. Козырь. - Изд.3-е, стер. - СПб.:
Лань, 2008. - 383 с (46 экз)
2. Степаненко
И.П. Основы микроэлектроники: [Учеб. пособие для вузов] / Игорь Павлович
Степаненко. - 2-е изд. - М.: Лаб. базовых знаний, 2005. - 488 с.: a-ил. -
(Технический университет)
. Технология
материалов микро - и наноэлектроники / Л.В. Кожитов [и др.]. - М.: МИСИС, 2007.
- 542с.
. Радиоматериалы,
радиокомпоненты и электроника: [Учеб. пособие для вузов] / Петров К.С. - СПб.:
Питер, 2003. - 512 с.