Магнетронное напыление
Содержание
Введение
Глава
1. Характеристики процесса ионного распыления
.1
Зависимость коэффициента распыления от энергии ионов
.2
Зависимость коэффициента распыления от угла падения ионов
.3
Ионная бомбардировка мишени
.4
Обратное рассеивание (отражение) ионов
.5
Особенности ионного распыления в присутствии реакционного газа
.6
Столкновительный характер движения атомных частиц (ионов) в газе
Глава
2. Вакуумное технологическое оборудование
Глава
3. Исследования поверхности Тi
.1
Освоить процесс магнетронного напыления тонких пленок Тi
.2
Измерения толщины тонких пленок Тi/Si
Заключение
Список
литературы
ВВЕДЕНИЕ
Получение высококачественных тонких пленок
титана является одной из актуальных задач технологии изготовления различных
элементов микроэлектроники.
В настоящее время наиболее перспективными
методами нанесения покрытий являются вакуумно-плазменные методы. Это
обусловлено их экологической безопасностью, высокой чистотой технологических
процессов и качеством продукции. Также известно, что в ионизованном или
возбужденном состоянии атомы и молекулы легче взаимодействуют друг с другом,
делая процесс нанесения покрытий более эффективным.
Существующие методы осаждения тонких пленок с
использованием ионного распыления и дают возможность получать пленки различных
материалов (в том числе тугоплавких и многокомпонентного состава), которые
практически невозможно получить термовакуумным методом. Ионный методы осаждения
пленок дают возможность создания установок и линий непрерывного действия и
позволяют осуществить полную автоматизацию всего цикла получения покрытия.
Развитие процессов получения тонких пленок идет в направлении повышения
качества пленок (снижение загрязнений) и повышения производительности
процессов.
Этот метод относится к области высоких технологий
и находит самое широкое применение в современном производстве.
На первый план курсовой работы выступает задача
получение высококачественных тонких пленок титана, а так же исследования
толщины пленки с помощью конфокальной микроскопии. Поэтому абсолютно очевидной
является важность изучения и применения модернизированной установке УВН-71-П3
Глава 1. Характеристики
процесса ионного распыления
Ионное распыление - это процесс кинетического
выбивания атомов с поверхности твёрдого тела (мишени) за счёт передачи
импульсов от ионов к атомам мишени при бомбардировке её поверхности ионами. В
чистом виде этот процесс изучают, помещая мишень в вакуум и подвергая её
бомбардировке ионами из специально сформованного ионного пучка.
Ионное распыление в условиях газового разряда -
более сложный процесс, поскольку поверхность мишени подвергается воздействию не
только ионов рабочего газа, но и других высокоэнергетичных частиц, включая
атомы после перезарядки ионов и фотоны из разрядной плазмы. На поверхности
мишени, находящейся в газовой среде, где имеются реакционно-активные добавки,
одновременно происходят химические реакции, влияющие на ход процесса
распыления. Примером может быть распыление в аргоне не очень высокой чистоты,
где примеси кислорода или паров воды окисляют поверхность мишени и изменяют
скорость распыления.
Когда речь идёт о системах, где мишень
одновременно является катодом газового разряда, часто используют термин
катодное распыление, имея в виду при этом, что распыление мишени есть результат
воздействия всех частиц, попадающих на катод.
Коэффициент распыления S определяется по формуле
= Na/Ni (1.1)
где Na - количество распылённых атомов, Ni
- количество ионов, бомбардирующих распыляемую поверхность.
Если поверхность бомбардируют различные ионы и
высокоэнергетичные нейтральные частицы (атомы после перезарядки ионов), то
следует определять коэффициенты распыления для отдельных видов бомбардирующих
частиц. В табл.1.1 приведено значение коэффициента S для иона Аr
+ с энергией εi
= 600 эВ.
Ионное распыление начинается, когда энергия εi
превышает пороговое значение ε
пор. Величина ε пор слабо зависит
от массы сталкивающихся частиц и находится в диапазоне 10- 30 эВ. При εi
< ε
пор распыление атомов мишени не происходит, но возможна десорбция поверхностных
загрязнений и химические реакции с ними. Коэффициент распыления зависит от
многих факторов. Коэффициенты распыления различных материалов
Ti=0,6
при εi=600эВ
1.1 Зависимость
коэффициента распыления от энергии ионов
Зависимость S от энергии ионов εi:
на рис. 1.1 приведена зависимость S(εi)
для энергий от десятых долей до десятков килоэлектронвольт. Как видно, при
энергиях до 70-80 эВ функция S(εi)
быстро нарастает, затем скорость роста постепенно снижается, и при 10-40 кэВ
наступает насыщение. Энергетическую эффективность процесса ионного распыления
можно оценить величиной η, равной
отношению массы материала, распыляемого в единицу времени с единицы площади, к
плотности мощности ионной бомбардировки. Последний параметр определяется
произведением плотности ионного тока на напряжение, ускоряющее ионы.
Максимальное значение я достигается при энергии ионов 300-450 эВ. При этой
энергии наибольшая её часть расходуется на процесс распыления материалов.
Рис. 1.1 Зависимости коэффициента ионного
распыления от энергии ионов Аr+
для разных металлов (а) и меди (б)
Зависимость S
от угла падения ионов φ: при
увеличении φ от 0 до 40-70°
наблюдается рост S в
соответствии с аппроксимационной формулой (1.2):
(φ)
= S(0)соs-1
φ, (1.2)
где S(0)
- коэффициент распыления при нормальном падении ионов на мишень. При дальнейшем
увеличении φ величина S
снижается и при φ = 90°
практически равна нулю. В магнетронном разряде, как правило, φ
= 0, поскольку граница разрядной плазмы, служащая эмиттером ионов, идёт
параллельно поверхности мишени (катода), а силовые линии электрического поля в
слое между катодом и плазмой представляют собой прямые, перпендикулярные
поверхности мишени.
1.2 Зависимость
коэффициента распыления от угла падения ионов
Зависимость S
от массы бомбардирующих ионов Мi
: коэффициент распыления S увеличивается с возрастанием Mi
и атомного номера иона в области энергий, характерных для магнетронного
разряда. На практике чаще всего в качестве рабочего газа, из которого образуют
ионы, используют аргон, который достаточно хорошо распыляет материалы и
относительно дешёвый.
Зависимость S от атомного номера распыляемого
материала имеет сложный периодический характер; в пределах периода таблицы Д.И.
Менделеева S возрастает по мере заполнения электронных d-оболочек.
Зависимость S
от температуры мишени отсутствует в диапазоне от нуля до нескольких сотен
градусов.
Распылённые частицы обладают
значительной кинетической энергией (~1-10эВ), благодаря которой они способны
перемещаться на большие расстояния от мишени. Если на пути частиц располагается
подложка, они конденсируются на ней, образуя слой из распылённого материала
мишени. Этот процесс, собственно, и лежит в основе ионной технологии нанесения
тонких плёнок.
На рис. 1.2 приведены
распределения по энергиям атомов алюминия и вольфрама, распылённых ионами
аргона. Энергия распылённых частиц значительно превосходит энергию частиц,
полученных путём термовакуумного испарения, которая порядка 0,1 эВ. Повышенная
энергия распылённых частиц приводит к энергетической активации процесса
конденсации частиц на подложке и существенно влияет на свойства получаемых
тонких плёнок. В частности, повышается адгезия плёнок к подложке и уплотняется
их структура.
При бомбардировке мишеней
сложного состава распылённые частицы могут быть не только в виде отдельных
атомов, из которых состоит вещество мишени, но и молекулярных образований. При
распылении оксидов и нитридов в инертном газе конденсат на подложке не будет
полностью соответствовать химическому составу мишени из-за частичной
диссоциации распылённых молекул и потери ими кислорода и азота. Чтобы
восстановить стехиометрию состава плёнок распыление проводят в смеси аргона с
соответствующим реакционным газом.
Ионная бомбардировка мишени
приводит к распылению материала не только в виде нейтральных атомов и молекул,
но и в виде ионов. Доля ионов весьма мала и в большинстве случаев ею можно
пренебречь, но распылённые нейтральные частицы могут ионизоваться в разрядном
промежутке, и в таком случае их доля в потоке вещества, прибывающем к подложке,
может достигать десятков процентов.[1]
1.3
Ионная бомбардировка мишени
Ионная бомбардировка мишени
приводит к вторичной ион-электронной эмиссии (её часто называют γ-эмиссией,
т.к. она определяется коэффициентом γ
в известной теории газового разряда Таунсенда). Коэффициент γ
определяется отношением тока вторичных электронов к току первичных ионов. Эта
эмиссия очень важна для поддержания самостоятельного разряда, если мишень
является катодом разряда, используемого для генерации ионов. Условие его
самоподдержания выражается уравнением (1.3):
γ
М = 1, (1.3)
где М - коэффициент генерации
ионов в газе, определяемый количеством ионов, приходящих на катод при выходе из
него одного γ -электрона. Этот
коэффициент характеризует процессы ионизации газа в объёме разряда и прихода
ионов на катод.
Вторичная ион-электронная
эмиссия имеет две составляющие - потенциальную и кинетическую эмиссии,
названные в соответствии с механизмом выхода электронов из твёрдого тела.
Первый вид эмиссии происходит под действием поля ионов, подошедших к
поверхности тела, и не зависит от энергии ионов. Кинетическая эмиссия
обусловлена передачей ионами части своей кинетической энергии электронам; эта
составляющая γ -эмиссии
пропорциональна εi
, в киловольтовом диапазоне энергий ионов.
На рис. 1.3 приведены
зависимости коэффициента у от энергии ионов Не+ и Аr+,
бомбардирующих молибденовую мишень.
Как видно, при εi
в диапазоне сотен электронвольт, соответствующих магнетронному разряду, γ
- эмиссия практически не зависит от энергии ионов, т.е. является потенциальной,
а для ионов аргона величина γ
~ 0,1.
На γ
-эмиссию влияют различные факторы: род ионов (см. рис. 1.3), химический состав
поверхности мишени (наличие окисных плёнок, диэлектрических включений и других
загрязнений) и геометрия её поверхности. Во время газового разряда в реальных
технологических устройствах, особенно, в реакционной среде, коэффициент
вторичной эмиссии непрерывно изменяется, поэтому литературные данные о величине
γ
могут использоваться только как ориентировочные.
Надо отметить, что не только
ионы вызывают вторичную эмиссию мишени. Она также происходит под воздействием
возбуждённых метастабильных частиц и фотонов из разрядной плазмы и вследствие
бомбардировки высокоэнергетичными нейтральными частицами. Однако, потенциальная
γ
-эмиссия играет наибольшую роль.[2]
Ионы, бомбардирующие
поверхность мишени, участвуют и в других процессах кроме вышеназванных: они
нагревают тело мишени, частью проникают (имплантируются) в него или
адсорбируются поверхностью, частью рассеиваются обратно.
Нагрев мишени: основная доля
первичной мощности бомбардирующих ионов (~ 80 %) выделяется в виде тепла,
поэтому мишени распылительных устройств требуют принудительного охлаждения.
Мощность, расходуемая непосредственно на распыление материала мишени, не
превышает 5 %, а расход остальной части мощности связан с внедрением ионов в
тело мишени, её радиационными повреждениями, обратным рассеиванием ионов,
вторичной электронной эмиссией и электромагнитным излучением. Таким образом,
энергетический КПД распылительных устройств не высок и составляет всего лишь
несколько процентов.
Имплантация ионов в мишень и их
адсорбция: поскольку энергия ионов в магнетронном разряде не превышает 1 кэВ,
ионы внедряются только в тонкий приповерхностный слой, затем они, а также
адсорбированные ионы, освобождаются в нейтрализованном состоянии (в виде
атомов) в процессе дальнейшего ионного распыления и десорбируются.[7]
1.4
Обратное рассеивание (отражение) ионов
Обратное рассеивание
(отражение) ионов: часть ионов при ударе о поверхность мишени рассеивается
обратно в виде нейтральных атомов рабочего газа. Доля же обратно рассеянных
ионов, которые сохранили свой заряд, составляет малую величину (~ 10-3),
поэтому их можно не принимать во внимание. Коэффициент отражения зависит от
энергии первичных ионов, рода ионов и материала мишени. Для ионов аргона в условиях
магнетронного разряда его величина может достигать 20 %, а в среднем она
порядка нескольких процентов. При нормальном падении ионов обратно рассеянные
атомы распределяются по углам вылета по закону косинуса, а спектр их энергий
простирается от нуля до энергии первичных ионов εi.
Средняя энергия отражённых частиц достигает 100 эВ. Обратно рассеянные атомы
летят в сторону подложки и могут передавать ей значительную энергию. Так, при
осаждении алюминия со скоростью 0,6 мкм/мин с помощью магнетронного разряда в
среде аргона плотности мощностей, передаваемых подложке, составляет:
за счёт конденсации
атомов Al около 1,7
Дж/(мин*см2),
за счёт кинетической
энергии распылённых атомов Al
примерно 4,4 Дж/(мин*см2),
за счёт кинетической
энергии обратно рассеянных атомов Аr
- около 1,5 Дж/(мин*см2).[3]
1.5
Особенности ионного распыления в присутствии реакционного газа
Распыление в присутствии
реакционного газа (кислорода, азота и др.) применяется для нанесения плёнок
оксидов, нитридов и других соединений газообразных химических элементов с
металлами и полупроводниками. Подобный процесс называют реакционным
распылением. Он необходим вследствие того, что из-за диссоциации распыляемых
соединений практически невозможно получить плёнки того же химического состава,
как и мишень, если в технологической камере отсутствует соответствующий газ.
Напуск газа в камеру и его
активировка в магнетронном разряде способствуют получению плёнок с химическим
составом, близком к стехиометрическому (Al2O3,
A1N, ТiO2, TiN, SiO2,
Si3N4 и т.д.), даже при распылении элементарных мишеней. Однако присутствие
реакционного газа сказывается на состоянии поверхности мишени и газовой среды в
камере - проявляются эффекты "отравления" мишени и геттерирования
(поглощения) реакционного газа. Эти эффекты существенно влияют на процесс
распыления мишени. Термин "отравление" означает, что на поверхности
мишени образуется слой (плёнка) из продукта реакции распылённого и обратно
рассеянного материала мишени (металла) с газом - оксида, нитрида и т.д.

На рис. 1.4 представлены
известные из многих работ зависимости парциального давления реакционного газа и
скорости распыления металлической мишени от величины потока реакционного газа,
подаваемого в камеру. Для примера в качестве такого газа взят кислород.
Зависимости имеют три характерных области или режима: режим распыления
металла (М), в котором металлическая мишень практически не
"отравлена"; режим (Р) явного реакционного распыления, в котором
мишень сильно "отравлена" и распыляется соединение металла с газом;
гистерезисная переходная область (П). В режиме М скорость распыления и
геттерирование реакционного газа - максимальные. Наоборот, в режиме Р они -
минимальные, поскольку коэффициент распыления оксидных и нитридных соединений
существенно ниже коэффициента распыления чистого металла. Состав осаждаемой
плёнки на подложке: в режиме М - близкий к материалу мишени, но с примесями
газового элемента; в режиме Р - близкий к стехиометрическому. Режим П -
нестабильный с сильно выраженным гистерезисом. Стрелки на графиках показывают,
как ведёт себя распылительная система при увеличении потока напускаемого
реакционного газа или его уменьшении. Реальные характеристики зависят от многих
факторов (рода газа, материала мишени, плотности тока, параметров откачки,
способа стабилизации рабочего режима).[4]
1.6
Столкновительный характер движения атомных частиц (ионов) в газе
Рассмотрение процесса ионного
распыления в газовом разряде не будет полным, если не упомянем о
столкновительном характере движения ионов в слое пространственного заряда около
мишени, а также распылённых частиц и отражённых атомов (нейтрализовавшихся
ионов) в газе в направлении подложки.
Ионы, попадающие на мишень,
т.е. на катод, ускоряются в прикатодном слое положительного пространственного
заряда. Этот слой также называют тёмным катодным пространством, поскольку газ в
нём светится намного слабее, чем в разрядной плазме. Слой автоматически
образуется около катода в любом разряде из-за малой подвижности ионов, и он
обеспечивает ускорение не только ионов, но и катодных электронов в обратном
направлении. Падение напряжения на этом слое примерно равно разрядному
напряжению U, и если ионы при своём движении не сталкиваются с газовыми молекулами,
их энергия на катоде равна qU,
где q - заряд иона. При встрече с молекулами газа ионы совершают упругие и
неупругие столкновения: первые приводят к их отклонению от первоначального
направления движения и потери части кинетической энергии; вторые при тех
условиях, которые имеют место в распылительных системах, связаны с перезарядкой
ионов, при которой ионы превращаются в нейтральные частицы с сохранением
вектора своей скорости, а газовые молекулы превращаются в ионы с начальной
энергией, соответствующей тепловой энергии молекул газа. Затем нейтральные
частицы летят к мишени-катоду по инерции, а ионы начинают ускоряться до нового
столкновения с газовой молекулой или мишенью. Для реакции перезарядки ионов Аr+
в собственном газе можно записать следующее уравнение
+ + Ar0 = Аr0
+ Аr (1.4)
Таким образом, движение ионов в
катодном слое носит эстафетный характер, а катодное распыление обусловлено
бомбардировкой ионами и нейтральными частицами. Чем ниже давление рабочего газа
и тоньше катодный слой, тем меньше роль этих эффектов.[6]
Рассмотрим движение распылённых
частиц и отражённых нейтрализовавшихся ионов через газ в направлении подложки.
Указанные частицы при движении в газе совершают столкновения с газовыми
молекулами и рассеиваются с потерей энергии направленного движения. При
достаточно больших значениях pdм-п a, где р - давление рабочего газа в
пространстве мишень-подложка, dм-п - расстояние между мишенью и подложкой, эти
частицы полностью теряют направленное движение и термализуются, т.е. замедлятся
до тепловых скоростей, соответствующих температуре газа. После этого
распылённые частицы будут двигаться в режиме диффузии по закону
"броуновского" движения. Величина pdм-п диф., при которой
устанавливается диффузионный режим с термализацией высокоэнергетичных частиц,
зависит от соотношения масс распылённых и отражённых высокоэнергетичных частиц
и молекул газа. Чем больше масса сталкивающихся частиц, тем быстрее
устанавливается такой режим. Ориентировочное значение pdм-п диф. для разных
газов и материалов мишени составляет 200-600 Па*см.
При значениях pdм-п < pdм-п
диф имеет место обратное рассеивание распылённых и отражённых частиц на газовых
молекулах с частичной потерей энергии. Обратное рассеивание с возвратом части
распылённых атомов на мишень приводит к уменьшению коэффициента распыления, и в
целом оно снижает скорость осаждения тонких плёнок на подложку. Иногда
столкновительный режим переноса распылённых атомов применяют для нанесения
относительно равнотолщинных слоёв на подложки со сложным рельефом, запыления их
обратной стороны, а также для получения нанокластеров из атомов мишени и
аэрозолей в газовой фазе. Термализацию высокоэнергетичных частиц применяют в
случаях, когда необходимо осаждать слои на структуры, чувствительные к таким
частицам.
ионный атомный магнетронный
вакуумный
Глава
2. Вакуумное технологическое оборудование
Вакуумные технологические
методы широко используются в производстве полупроводниковых материалов,
элементов и интегральных схем, поскольку позволяют изолировать технологические
процессы от неблагоприятного воздействия атмосферы и существенно улучшить
качество получаемой продукции, увеличить выход годных.
В данной работе использовали
модернизированную установку вакуумного напыления УВН-71-П3.
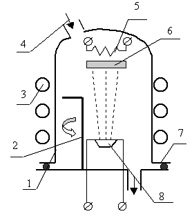
Основными элементами установки вакуумного
напыления, упрощенная схема которой представлена на рис. 1.5, являются: 1 -
вакуумный колпак из нержавеющей стали; 2 - заслонка; 3 - трубопровод для
водяного нагрева или охлаждения колпака; 4 - игольчатый натекатель для подачи
атмосферного воздуха в камеру; 5 - нагреватель подложки; 6 - подложкодержатель
с подложкой, на которой может быть размещен трафарет; 7 - герметизирующая
прокладка из вакуумной резины; 8 - магнетрон с размещённой на нём мишенью из
распыляемого материала.
Модернизация установки состояла в том, что
вместо двух испарителей были установлены магнетроны (рис. 1.6), Так же
претерпела изменения система газонапуска (теперь газ поступает на каждый
магнетрон в отдельности), усовершенствовалась система управления установкой и
конструкция механизма заслонки.[5]
Глава 3. Исследования
поверхности Тi
.1 Освоить процесс
магнетронного напыления тонких пленок Тi
Изготовление образцов выполнено в установке
вакуумного напыления УВН-2М Процесс проведения операции вакуумного напыления
включает в себя выполнение следующих действий. В верхнем положении колпака в
камеру помешается «карусель» с загруженными на нее подложками. Затем колпак
опускается и включается система вакуумных насосов (вначале для предварительного
разрежения, затем высоковакуумный). По достижении давления внутри камеры
порядка 4,7*10-3 Па включается нагреватель подложек в течение 5 , одновременно
с этим на колпак и магнетроны подается охлаждение. По окончанию времени
включается блок питания, производится газонапуск и зажигается плазменный
разряд. Вначале операция напыления производится на заслонку, что позволяет
удалить с поверхности мишени различные окислы и загрязнения. Затем заслонка
открывается, и напыление ведется непосредственно на пластины. Магнетронное
напыление Ti,
происходящее в среде аргона. Данный слой обладает хорошей адгезией с кремниевой
подложкой. Длительность процесса составляет от толщины напыляемой пленки для
выполнения курсовой необходима напылить 3 образца с разным временем 10,15,25
минутами при напряжении 480 В и токе 2 А
3.2 Измерения толщины
тонких пленок Тi/Si
Метод исследования поверхности твердых тел
является конфокальная микроскопия, которая позволяет резко увеличить точность
измерений неровности поверхности в вертикальном направлении, при этом
разрешение в горизонтальном направлении остается на уровне традиционных
оптических микроскопов. Такое соотношение в разрешении в двух взаимно
перпендикулярных направлениях позволяет получать новую, достаточно уникальную
информацию, которую невозможно получить даже при использовании сканирующей
электронной микроскопии с высоким разрешением.
В качестве примеров можно привести снимки
сечения границы раздела термически напыленного слоя Тi.
На рис. 1.7 и 1.8, видна граница напыленного
слоя, находящаяся на буртике, который представляет собой резкое поднятие
материала подложки вблизи этой границы. Толщина металлизации составляет примерно
5 мкм для 3-образца а для 2 образца 6мкм. Из рис. 1.9 2.1 видно, что перед
краем сплава имеется поднятие материала подложки (образуется буртик), одинаовой
длиной 0,6мм а после края (при Х в диапазоне 4 мкм ) имеется снижение уровня
поверхности подложки с напыленным слоем сплава.
Рис. 1.7 Сечение слоя сплава на подложке в
изометрии
Рис. 1.8 Характерные размеры напыления
Рис. 1.9 Высота буртика(3 образец)
Рис. 2.1 Высота буртика(3 образец)
Заключение
Метод магнетронного распыления различных
материалов для нанесения высококачественных тонких плёнок и покрытий является
одним из важнейших для электроники, оптики, машиностроения и других отраслей,
включая автомобилестроение и архитектуру. Метод хорошо освоен в промышленности
и часто применяется в научных исследованиях. Он является серьезной альтернативой
электронно-лучевому и вакуумно-дуговому испарению, а также экологически
вредному гальваническому осаждению. Имеется большой парк магнетронного
оборудования, который постоянно обновляется и совершенствуется. Многие
технологические установки полностью автоматизированы и являются системами
непрерывного действия. Из-за большой потребности в установках магнетронного
распыления их общемировой объём продаж составляет сотни миллионов долларов в
год.
Накоплена значительная информация о физических
процессах в магнетронном разряде и связи параметров технологического процесса с
характеристиками получаемых плёнок и покрытий. Созданы физические и
математические модели разряда и технологических процессов.
Однако, несмотря на большие успехи в
магнетронной технологии нельзя сказать, что решены все проблемы, которые
присущи этому методу. Например, в некоторых случаях применению магнетронного
распыления препятствует относительно неравномерное покрытие сложного профиля
подложки или невысокая скорость осаждения покрытий, далеко неполное
использование материала мишеней или присутствие распыляющего газа в составе
конденсатов. Для преодоления этих и других недостатков требуются дополнительные
исследования и разработки.
Также нельзя сказать, что уровень понимания
физики магнетронного разряда и его математическое описание полностью
удовлетворяют инженеров-разработчиков нового технологического оборудования.
Поэтому необходимо продолжать изучение этого вида разряда, главным образом, его
физики и химии на микроскопическом уровне. Макроскопические параметры и
характеристики уже известны. Актуальным является создание программного
обеспечения для проектирования МРС (расчётов электрических, газовых и тепловых
характеристик, переноса распылённого вещества на подложку, выработки мишеней).
Постоянно возникают новые направления в науке и
технике, которые нуждаются в новых технологиях. Так, сейчас на повестке дня
стоит задача разработки нанотехнологий для производства объектов с элементами
нанометрового размера. Анализ показывает, что магнетронное распыление является
потенциально эффективным и в этой области.
Оно позволяет получать одно-, двух- и трёхмерные
нанообъекты (нанослои, наноструктурные материалы и нанокомпозиты, наночастицы)
для наноэлектроники, нанофотоники, наносенсорной техники, создания
"умных" материалов и материалов с модулируемыми свойствами.
Это возможно благодаря высокому уровню
управляемости ионного распыления и воздействия на конденсат, неравновесности
процессов формирования плёнок и покрытий, возможности формировать импульсные
потоки вещества, ограниченные во времени, но имеющие большую плотность.
Таким образом, из всего сказанного можно сделать
вполне обоснованное заключение о перспективности магнетронного распыления и
важности его дальнейшего развития.
Список литературы
1. Кузьмичёв
А.И., Магнетронные распылительные системы, Киев: Аверс, 2008
2. Холлэнд
JI., Нанесение тонких плёнок в вакууме, М.: Госэнергоиздат, 1963.
3. Данилин
Б.С., Сырчин В.К., Магнетронные распылительные системы, М.: Радио и связь,
1982.
4. Берлин
Е., Двинин С., Сейдман Л., Вакуумная технология и оборудование для нанесения и
травления тонких пленок, М.: Техносфера, 2007.
. Жуков
В.В., Кривобоков В.П., Янин С.Н., Распыление мишени магнетронного диода в
присутствии внешнего ионного пучка, Журнал технической физики, 2006, том 76,
вып. 4.
. Майссел
Л., Глэнг Р., Технология тонких пленок. Справочник, пер, с англ, под ред,,
Елинсона М.И., Смолко Г.Г., М.: Советское радио, 1977.
. Моргулис
Н. Д., Катодное распыление, Успехи физических наук, 1946, т. 28.