|
Вид
древесных отходов
|
Теплота
сгорания, МДж/кг
|
|
Опилки
|
15,5
|
|
Кора
|
8,8
|
|
Отходы
распила
|
10,5
|
|
Отходы
тары
|
10,5
|
|
Сучья
|
8,4
|
|
Малоценовая
древесина (валежник, обломки)
|
8,4
|
9,6
|
|
Обрезки
фанеры, шпона
|
11,7
|
3. ОСОБЕННОСТИ СЖИГАНИЯ ДРЕВЕСНОЙ
БИОМАССЫ
В соответствии с видом сжигаемого топлива
различают топки для сжигания твердого, жидкого и газообразного топлива.
Существуют топки, в которых одновременно и разновременно можно сжигать
различные виды топлива: твердое с жидким, или газообразным, жидкое и
газообразное.
Существует четыре основных способа сжигания
топлива: в слое, факеле, вихре (циклоне) и в кипящем слое. Способ сжигания
зависит от вида топлива и производительности котлоагрегата. Жидкое и
газообразное топлива сжигаются факельным способом, для сжигания твердого
топлива используются все четыре способа.
Рис. 3.1 - Схемы организации
топочных процессов: а - слоевая; б - факельная; в - вихревая топки; г - топка с
кипящим слоем; 1 - подвод воздуха; 2 - колосниковая решетка;. 3 - слой горящего
топлива; 4- га-зообразные продукты сгорания; 5- горелка; 6-подача топлива; 7-факел;
8 - подвод смеси топлива и воздуха; 9 - подвод вторичного воздуха; 10 - вихрь
горящего то-плива; 11 -псевдоожиженный слой; 12 - отвод шлака
При слоевом сжигании (рис. 3.1а)
твердое топливо находится на колосниковой решетке, через которую продувается воздух.
Горючие составляющие топлива сгорают в слое и частично в объеме топки, куда они
попадают в газообразном виде после термического разложения топлива. Оптимальные
размеры кусков угля при слоевом сжигании 25 - 50 мм.
Для факельного сжигания (рис. 3.1б)
пылевидное твердое, жидкое или газообразное топливо предварительно смешивается
с воздухом в специальных устройствах (горелках) и затем поступает в топочный
объем. Хорошее перемешивание мелких частиц топлива с воздухом обеспечивает
большую площадь горения и высокую интенсивность процесса.
Вихревой процесс (рис. 3.1в)
применяется для сжигания твердого измельченного топлива. Он организуется путем
тангенциальной подачи топлива и воздуха в цилиндрическую камеру, что
обеспечивает многократную циркуляцию частицы топлива в зоне с высокой
температурой до полного ее сгорания. Вихревое сжигание позволяет использовать
более крупные, чем при факельном сжигании, частицы топлива (2...5 мм).
Процесс сжигания в псевдоожиженном
(кипящем) слое (рис. 3.1г) является в промежуточным между слоевым и камерным.
Используется для сжигания твердых частиц топлива с размерами меньше 20 мм.
Организуется продуванием воздухом со скоростью 0,1...0,5 м/с через слой,
состоящий из смеси мелких частиц топлива и инертных частиц (золы или специально
добавляемого измельченного шамота или известняка).
4. ВЫБОР ТИПА ОБОРУДОВАНИЯ И РАСЧЕТ
ОСНОВНЫХ ПАРАМЕТРОВ КОТЕЛЬНОЙ УСТАНОВКИ
Котлы на древесных отходах мод.
Прометей являются современным оборудованием, предназначенным для сжигания
сыпучих древесных отходов с грануляцией до 30 мм и кусковых отходов длиной до
0,7 м. Влажность топлива 6 - 60 %. В состав энергетической установки котла на
древесных отходах входят: бункер для сыпучего топлива, шнековый транспортёр
подачи топлива, газогенератор, водяной котёл и комплект оборудования системы
автоматики энергетической установки. Котлы на древесных отходах Прометей
предназначены для нагрева воды в системах теплоснабжения сушильных камер, а так
же для отопления жилых и производственных помещений и т.п. Опилки (стружка) или
щепа засыпаются в бункер, снабженный ворошителем, и далее поступают в шнековый
транспортер, работающий в автоматическом режиме "подача-пауза" в
соответствии с заданной на контроллере программой. Шнек осуществляет
дозированную подачу топлива в газогенератор, в котором происходит процесс
газификации, т.е. процесс практически полного превращения топлива в горючие
газы. Факел горящего газа направляется в камеру сгорания котла, в котором
происходит нагрев воды. Обрезки и кусковые отходы сжигаются непосредственно в
топке котла. Контроллер - программатор обеспечивает поддержание и регулировку
температуры теплоносителя с точностью ± 1 °С. Циркуляция воды в системе
обеспечивается насосом.
Принципиальным отличием котлов на
древесных отходах Прометей по сравнению с энергоустановками слоевого сжигания,
в которых топливо подаётся непосредственно в камеру сжигания водяного котла,
является наличие в составе установки газогенератора, имеющего систему
автоматического регулирования режима работы. В газогенераторе реализуется
простой, хорошо проверенный способ преобразования твёрдого топлива в
газообразное. На стадии газификации топливо, подаваемое в дозированном
количестве в камеру газообразования, нагревается раскалённым реактором,
разлагается на углерод, водяной пар, смолы я масла. Дальнейшая реакция между
углеродом и кислородом воздуха обеспечивает температуру, достаточную для
образования окиси углерода (СО) L главного горючего компонента вырабатываемого
газа. Смолы и масла разлагаются на газы, содержащие водород. Минимальная
теплотворная способность газа- 1100 ккал/м³.
Основные преимущества котлов на
древесных отходах:
Превращение опилок (стружки) в
горючий газ - газификация топлива обеспечивает практически полное сгорание
топлива, в результате чего достигается высокий КПД установки (80 - 85 %).
Автоматическая шнековая подача
опилок (стружки, щепы) обеспечивает их равномерное горение и поддерживает
высокую точность температуры воды (± 1 oС), что особенно важно при
использовании установок в системах теплоснабжения камер для сушки древесины.
Для достижения аналогичных результатов при использовании установок слоевого и
шахтного типа их необходимо дополнительно комплектовать дорогостоящими и
сложными в эксплуатации системами автоматического регулирования температуры воды.
Автоматический режим дозированной
подачи топлива не требует постоянного присутствия обслуживающего персонала.
Не требуется установка дымососов с
целью подачи в топку необходимого объёма воздуха (особенно при сжигании сырого
топлива). Оптимальное соотношение между количеством подаваемого топлива любой
влажности и объёмом воздуха обеспечивается в газогенераторе путём
автоматического управления подачей топлива и работой вентилятора наддува.
Не требуется установка систем
искрогашения и очистки дымовых газов в связи с практически полным сгоранием
топлива (образуется 1 % золы). Высокая степень сгорания топлива достигается
путём применения специальных режимов его газификации.
Принципиальная схема установки
представлена на рисунке 5.1
-Бункер.
-Транспортер шнековый механизма
подачи топлива.
-Газогенератор.
-Котел водяной.
-Вентилятор наддува.
-Контроллер, блок управления
двигателем редуктора.
-Датчик температуры воздуха в
шнековом транспортере.
-Насос водяной системы пожаротушения
в шнековом транспортере.
-Резервуар с водой.
-Дверца топки верхняя.
-Дверца топки нижняя.
-Дверца зольника.
-Люки для очистки дымоходов.
-Дверца очистки дымоходов.
-Измеритель-регулятор температуры
ИРТ.
-Датчик максимально допустимой
температуры воды в котле.
-Датчик измерителя- регулятора температуры
ИРТ.
-Ворошитель топлива.
-Ручка управления воздушной
заслонки.
-Ручки управления заслонками
вторичного воздуха.
-Выключатель концевой.
-Мотор-редуктор механизма подачи
топлива.
-Затвор шлюзовый.
Рис. 4.1 - Схема энергетического
комплекса Прометей
Рис. 4.2
|
Химический
состав генераторного газа
|
CO
|
CO2
|
CnOm
|
H2
|
O2
|
N2
|
|
Объёмные
%
|
14-12
|
8-15
|
1-4
|
10-17
|
Менее
5%
|
50-60
|
Технические характеристики котлов на древесных
отходах Прометей:
|
Модель
|
Прометей-60
|
Прометей-120
|
Прометей-250
|
Прометей-600
|
|
Номинальная
тепловая мощность, кВт
|
120
|
250
|
600
|
|
Температура
теплоносителя, Сº
|
до
95º
|
до
95º
|
до
95º
|
до
95º
|
|
Площадь
отапливаемого помещения (высота 3,5м)
|
400м²
|
800м²
|
1700м²
|
7000м²
|
|
Объем
сушильной камеры
|
До
15м³
|
До
30 м³
|
До
60 м³
|
До
150 м³
|
|
Потребляемое
количество топлива:
|
|
|
|
|
|
-насыпной
объем опилок (стружки), м³/сутки
|
2,5
÷ 3,0
|
5,0
÷ 6,0
|
10,0
÷ 12,0
|
25
|
|
-объем
кусковых отходов, м³/сутки
|
1,75
÷ 0,95
|
1,5
÷ 1,9
|
3,0
÷ 3,8
|
7
|
|
Потребляемая
мощность, кВт
|
0,55
|
0,75
|
1,1
|
2,5
|
|
Объем
бункера м³
|
0,6
|
1,5
|
1,5
|
1,5
|
|
Размеры
помещения для ЭК, м
|
4,0х5,0х2,5
|
4,5х5,5х2,5
|
4,5х6,0х3,0
|
5,5х7,0х3,0
|
Влажность топлива сжигаемого в котле колеблется
в широких пределах и при расчетах принимается Wр= 25 %.
Достоинством древесины является низкое
содержание внутренней золы. Для дуба зольность на сухую массу составляет 1,5 %.
Пересчет зольности на рабочую массу производится
по формуле (5.1)
Состав рабочего топлива. Состав
рабочего топлива определяются исходя из элементарного состава древесной
биомассы на горючую массу по следующим формулам
Для стволовой древесины: Cг=51 %,
Hг=6,1 %, Oг=42,3 %, Nг=0,6 %.
Теплота сгорания рабочего топлива.
Теплота сгорания стволовой древесины определяется по формуле:
где
- теплота сгорания, кДж/кг.
кДж/кг (3178,4 ккал/кг)
Калорийный эквивалент рабочего
топлива. Для практического использования древесных отходов как энергетических
ресурсов необходимо знать калорийный эквивалент.
Калорийный эквивалент древесного
топлива сжигаемого в котле определяется по формуле:
где ρW - плотность
древесины при Wр. Для простоты расчета возьмем дуб ρW=695 кг/м3.
т у. т./пл. м3
Калорийный эквивалент показывает,
что по теплоте сгорания одному плотному кубометру древесных отходов
эквивалентно 0,316 т у. т.
Характеристики топочного устройства.
Характеристиками топочных устройств
называют показатели интенсивности их работы. Одной из основных характеристик
топки является тепловая мощность топки.
где Q - тепловая мощность топки,
кВт;
В - расход топлива в секунду, кг/с;
- низшая теплота сгорания топлива,
кДж/кг.
=0,0563*13317,4=749,77 кВт
Расчет объемов воздуха и продуктов
сгорания. Если известен состав рабочей массы топлива, то можно подсчитать
количество воздуха, потребного для его сжигания.
Теоретически необходимым количеством
воздуха для сжигания топлива называют объем воздуха в кубометрах при нормальных
физических условиях, потребный для сжигания единицы массы древесного топлива
при условии, что в продуктах сгорания не будет содержаться свободного
кислорода.
Для обеспечения более полного
сгорания топлива в топку подводится больше воздуха, чем это требуется
теоретически для осуществления реакции горения.
Отношение объема воздуха,
действительно поданного в топку, к теоретически необходимому называется
коэффициентом избытка воздуха.
Коэффициент избытка воздуха является
одной из основных величин, характеризующих совершенство процесса сжигания
топлива. Чем меньше его величина при данном виде топлива, тем совершеннее
процесс его сжигания, если в дымовых газах не содержится горючих компонентов.
Величина коэффициента избытка
воздуха на практике зависит от вида сжигаемого топлива, совершенства топки и
ряда других факторов.
При тепловом расчете
водогрейногокотла определяются теоретические и действительные объемы воздуха и
продуктов сгорания.
Для стволовой древесины
теоретическое количество воздуха, необходимое для полного сгорания 1 кг
топлива, может быть подсчитано по формуле
где V0 - теоретическое количество
воздуха, м3/кг.
м3/кг
Теоретический объем азота
рассчитывается по формуле
где V0N - теоретический объем азота,
м3/кг.
м3/кг
Объем углекислого газа определяется
формулой
где VC02- объем углекислого газа,
образовавшийся при сгорании 1 кг рабочего топлива м3/кг.
м3/кг
Для стволовой древесины
теоретический объем водяных паров подсчитывается по формуле
где V0 - объем водяных паров,
образовавшихся при сжигании 1 кг рабочего топлива, м3/кг.
м3/кг.
Коэффициентом избытка воздуха α называется
отношение объема воздуха, действительно израсходованного на сжигание 1 кг
рабочего топлива, к теоретически необходимому.

С учетом этого коэффициента
действительный объем паров, приходящихся на 1 кг рабочего топлива, составит
м3/кг.
Объем дымовых влажных газов,
образовавшийся при сгорании 1 кг рабочего топлива, равен
м3/кг.
Объем сухих газов, образовавшихся
при сгорании 1 кг рабочего топлива, равен
м3/кг.
Состав сухих газов следующий:
Азот
Углекислый газ
Кислород
где N2, CO2, O2 - расчетное
содержание в сухих дымовых газах соответственно азота, углекислого газа и
кислорода по объему, %.
Содержание влаги во влажных дымовых
газах по объему в процентах составит

Срок окупаемости устанавливаемых в
котельных энергоустановок зависит от их мощности, режима использования и
местных условий. При удельной стоимости турбогенераторных установок $180-220 за
кВт и наиболее благоприятных условиях их эксплуатации (использование
номинальной электрической и тепловой мощности в течение 7000-8000 часов в год)
срок возврата капитала составит 2,5-3 года, а при менее благоприятных условиях
- 4-5 лет, что тоже вполне приемлемо для рыночных экономических условий.
5. МЕРОПРИЯТИЯ ПО ОХРАНЕ ТРУДА И
ОКРУЖАЮЩЕЙ СРЕДЫ
Организация нормирования
топливно-энергетических ресурсов. Нормирование является одним из методов
активного влияния на эффективное использование энергоресурсов.
Нормирование расхода топлива и
электрической энергии в котельной есть установление плановой меры их
потребления.
Нормированию подлежит весь расход
топлива и электрической энергии на котельной, потребляемых на производство
тепловой энергии.
Норма расхода - это максимально
допустимые количества топлива и электрической энергии для отпуска от котельной
единицы тепловой энергии (1 Гкал) требуемого качества с учетом технических
характеристик установленного оборудования, тепловой схемы, реальных режимов
работы и реализации запланированных энергосберегающих мероприятий.
Размерность нормы удельного расхода
топлива на отпуск тепловой энергии котельной - кг у. т./Гкал, электроэнергии -
кВт*ч/Гкал.
Организационное и методическое
руководство работой по нормированию расхода ТЭР в котельных республики
осуществляет Комитет по энергоэффективности при Совете Министров Республики
Беларусь через областные и Минское городское управления по надзору за
рациональным использованием топливно-энергетических ресурсов.
Нормирование расхода ТЭР в котельной
должно включать:
разработку технически обоснованных
норм расхода топлива и электрической энергии;
экспертизу и согласование разработанных
норм;
утверждение согласованных норм;
контроль за ходом нормирования и
соблюдением установленных норм, применение соответствующих санкций в рамках
действующего в республике законодательства.
Разработка технически обоснованных
норм расхода топлива и электроэнергии производится владельцем котельной
самостоятельно или с привлечением специализированных организаций.
Разработка норм производится не реже
одного раза в три года, а также независимо от срока предыдущего согласования и
утверждения в следующих случаях:
после проведения пусконаладочных
работ по завершении капитального ремонта или замены основного оборудования,
реконструкции котельной;
после перевода на другой вид топлива
или перехода на сжигание двух и более видов топлива;
Разработанные нормы представляются
на согласование в региональные управления Комэнергоэффективности.
Должностная инструкция начальника
котельной
. Настоящая должностная инструкция
определяет должностные обязанности, права и ответственность начальника
котельной.
. На должность начальника котельной
назначается лицо, имеющее высшее профессиональное образование и стаж работы по
специальности не менее 5 лет или среднее профессиональное образование и стаж
работы по специальности не менее 7 лет.
. Начальник котельной должен знать
постановления, распоряжения, приказы, другие руководящие и нормативные
документы вышестоящих органов, касающиеся теплоснабжения потребителей,
безопасной работы котельного оборудования, организации производственно
хозяйственной деятельности котельной; правила технической эксплуатации
электрических и тепловых станций и сетей; технические характеристики
оборудования котельной; технологический процесс выработки теплоэнергии и
теплоснабжения потребителей; электрические и технологические схемы котельной;
схемы тепло-, паро- и водопроводов и наружных теплосетей; схемы
топливоснабжения, принципиальные схемы и принципы работы релейных защит,
автоматических и регулирующих устройств, контрольно измерительных приборов,
средств сигнализации и связи; требования защиты окружающей среды; организацию
работы с персоналом, занятым в энергетическом производстве; положения и
инструкции по расследованию и учету несчастных случаев на производстве,
нарушений в работе тепловых сетей, энергосистем и энергообъединений; передовой
отечественный и зарубежный опыт в области теплоснабжения и эксплуатации
котельного оборудования; основы экономики, организации производства, труда и
управления; основы трудового законодательства; правила и нормы охраны труда.
. Начальник котельной назначается на
должность и освобождается от должности приказом руководителя учреждения в
соответствии с действующим законодательством РФ.
. Начальник котельной
непосредственно подчиняется руководителю вышестоящего органа управления
(учреждения, учреждения, организации).
Должностные обязанности
Осуществляет руководство
производственно-хозяйственной деятельностью котельной. Обеспечивает
бесперебойное теплоснабжение потребителей в соответствии с утвержденным графиком,
безопасную работу оборудования, соблюдение требований правил технической
эксплуатации, правил охраны труда и пожарной безопасности. Организует
разработку и внедрение организационно-технических мероприятий по повышению
надежности работы котельного оборудования, снижению потерь тепловой энергии,
рациональному использованию топливно-энергетических ресурсов, сокращению
простоев оборудования в период ремонта, подготовке его к работе с учетом
сезонных условий. Принимает меры по внедрению новой техники и прогрессивной
технологии производства, передовых приемов и методов труда. Участвует в
рассмотрении технических проектов реконструкции, в проведении экспериментальных
работ и испытании нового оборудования перед вводом его в эксплуатацию, в
приемке оборудования после капитального ремонта и монтажа, а также в работе
комиссий по расследованию причин отказов в работе котельного оборудования,
аварий, случаев производственного травматизма. Определяет текущие и
перспективные объемы работ котельной. Обеспечивает пересмотр действующих и
разработку новых нормативных документов, составление заявок на инструмент,
материалы, запасные части, защитные средства, необходимые для проведения работ
по техническому обслуживанию и ремонту котельного оборудования.
Контролирует сохранность и
рациональное использование материальных ценностей.
Организует учет и анализ работы
оборудования, обеспечивает своевременную подготовку отчетности о результатах
деятельности котельной.
Участвует в работе по повышению
квалификации персонала котельной, в работе аттестационных комиссий, в
организации и проведении противоаварийных и противопожарных тренировок
персонала. Руководит работниками котельной.
Права
Начальник котельной имеет право:
издавать приказы и отдавать
распоряжения, обязательные для исполнения всеми работниками котельной;
осуществлять подбор и расстановку
кадров котельной, производить их назначение и увольнение в установленном
порядке;
поощрять и налагать взыскания на
работников котельной;
в соответствии с действующим
законодательством решать вопросы финансового и материального обеспечения
котельной;
представлять учреждение в
государственных, судебных, страховых и арбитражных органах;
вносить на рассмотрение и обсуждение
вышестоящего органа управления (в зависимости от формы собственности)
предложения по развитию и совершенствованию деятельности учреждения;
пользоваться информационными
материалами и нормативно-правовыми документами, необходимыми для исполнения
своих должностных обязанностей;
повышать свою квалификацию.
Начальник котельной пользуется всеми
трудовыми правами в соответствии с Трудовым кодексом РФ.
Ответственность
Начальник котельной несет
ответственность за:
. своевременное и качественное
осуществление возложенных на него должностных обязанностей;
. организацию своей работы, своевременное
и квалифицированное выполнение приказов, распоряжений и поручений вышестоящего
руководства, нормативно-правовых актов по своей деятельности;
. развитие материально-технической
базы котельной, рациональное и эффективное использование материальных,
финансовых и кадровых ресурсов;
. соблюдение правил внутреннего
распорядка, санитарно-противоэпидемического режима, противопожарной
безопасности и техники безопасности;
. ведение документации,
предусмотренной действующими нормативно-правовыми актами;
. в установленном порядке
предоставление статистической и иной информации о деятельности учреждения;
. обеспечение соблюдения
исполнительской дисциплины и выполнения своих должностных обязанностей
подчиненных ему работников;
. готовность учреждения к работе в
условиях чрезвычайных ситуаций.
За нарушение трудовой дисциплины,
законодательных и нормативно-правовых актов начальник котельной может быть
привлечен в соответствии с действующим законодательством в зависимости от
тяжести проступка к дисциплинарной, материальной, административной и уголовной
ответственности.
. ВЫБОР И ОБОСНОВАНИЕ
ТЕХНОЛОГИЧЕСКОЙ СХЕМЫ ПРОИЗВОДСТВА
Котельная - это цех предприятия,
предназначенный для производства пара или горячей воды заданных параметров для
энергетических, технологических целей, отопления, горячего водоснабжения и
вентиляции помещений.
Оборудование котельной состоит из
котлоагрегата и вспомогательных механизмов и устройств.
Котлоагрегат состоит из котла с
топочным устройством, а также каркаса с лестницами и помостами для
обслуживания, обмуровки, газоходов, арматуры, контрольно-измерительных приборов
и оборудования, необходимого для его безопасной эксплуатации.
Вспомогательные механизмы и
устройства - это дымосос, дутьевой вентилятор, питательные,
водоподготовительные и золоулавливающие установки.
Котельная предприятия должна
обеспечивать непрерывное и надежное снабжение тепловой энергией
производственных цехов и административно-бытового корпуса. При работе котельной
на древесном топливе его поступление осуществляется периодически. Это вызывает
необходимость складирования и хранения определенного объема топлива.
Для обеспечения топливом котельной
предусмотрена организация автоматизированной системы хранения и топливоподачи в
составе следующих механизмов и сооружений:
приемно-разгрузочного бункера;
системы для автоматической загрузки
и выгрузки бункеров;
бункеров - накопителей (силосов).
Для приема топлива в
непосредственной близости от котельной сооружен приемно-разгрузочный . Система
выгрузки топлива из бункера представляет собой шнековый транспортер,
расположенный в лотке на дне воронки.
Транспортер оканчивается
распределительным устройством, из которого топливо передаточными шнековыми
механизмами загружается в силосы.
Бункеры-накопители для хранения
древесного топлива представляют собой два вертикальных металлических силоса,
расположенных в помещении котельной.
Внутри силос оборудован устройством
для перемешивания и подачи древесного топлива. Это устройство представляет
собой медленно вращающийся диск 2, с гибкими листовыми рессорами 1, которые при
движении постепенно прокладывают себе дорогу в топливе. Таким образом, они
гарантируют постоянную подачу на выгрузочный шнек 9, который смонтирован в
металлическом желобе. Шнек выгружает топливо из силоса регулярно и дозированно
через отверстие 9. Скорость шнека регулируется, поэтому требуемый расход
топлива задается в зависимости от потребности в энергии.
Над диском расположен конус 4,
который позволяет равномерно распределить вес топлива в силосе на большом
расстоянии. Этот конус приводится в действие извне 5, посредством длинной цепи
6, находящейся в защитном кожухе 7.
Бункер - накопитель для хранения
древесного топлива
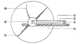
Рис. 6.1: 1 - листовые рессоры; 2 - круглый
диск; 3 - вогнутые листовые рессоры; 4 - конус; 5 - устройство управления
ротором; 6 - цепь; 7 - защитный кожух; 8 - отверстие в днище силоса; 9 - шнек;
10 - отверстие
Устройство топливоподачи.
Древесные отходы внутрь топки котельной
установки подаются при помощи шнека питания.
Размеры и шаг шнека выбраны с учетом
характеристик топлива. Шнек может быть заполнен только наполовину, чтобы
получить максимальный коэффициент полезного действия. Если шнек заполнен сверх
того, то все топливо, расположенное выше необходимого уровня, остается
неподвижным. Таким образом, есть риск образования пробки и потери мощности.
Привод шнека состоит из электродвигателя 2 и
редуктора 7. Передача между ними ременная. Кардан 4 производит гибкую связь
между приводом и шнеком, чтобы возможные блокировки и деформации могли быть без
проблем самортизированы.
Конец шнека сделан из огнеупорной стали, потому
что он время от времени контактирует напрямую с огнем.
Так как происходит прямой контакт с огнем и,
таким образом, присутствует опасность пожара, шнек имеет 2 системы
безопасности:
разделение между подачей и загрузкой топлива
посредством вращающегося шлюза 1;
Шлюз со своим собственным двигателем 3
обеспечивает герметичное разделение между силосом и топкой. Шнек содержит 6 лопастей,
которые плотно прилегают к корпусу, чтобы избежать возврата пламени из топки в
силос.
Схема устройства топливоподачи представлена на
рис. 6.2.
Устройство топливоподачи
древесный биомасса сжигание
котельная
Рис. 6.2: 1 - шлюз; 2 - двигатель шнека; 3 -
двигатель шлюза; 4 - кардан; 5 - шнек; 6 - наконечник шнека из огнеупорной
стали; 7 - редуктор скорости шнека; 8 - лопасти шлюза
Конструкция питающего шнека обеспечивает
надежную и дозированную подачу топлива внутрь топки.
Автоматизированная системы складирования и
топливоподачи обеспечивает надежную и бесперебойную работу котельной, а также
не требует затрат труда обслуживающего персонала.
ЗАКЛЮЧЕНИЕ
Хотя суммарный теоретический потенциал
возобновляемых источников энергии (ВИЭ) на несколько порядков превышает
современный уровень мирового потребления первичных топливно-энергетических
ресурсов (ТЭР), однако при существующем уровне технологического развития и
сложившейся в настоящий момент конъюнктуре на мировых энергетических рынках
лишь весьма незначительная часть теоретического потенциала ВИЭ может быть
эффективно использована. Такие очевидные преимущества установок, работающих на
ВИЭ, как неисчерпаемость, отсутствие затрат на топливо и экологическая
безопасность, пока не могут безоговорочно перевесить хорошо технически
отработанные и более дешевые методы получения энергии на базе органического
топлива.
Вместе с тем для РБ как государства, экономика
которого базируется преимущественно на импорте энергоресурсов, эффективность
использования или замены последних является одним из определяющих факторов
производства конкурентоспособной продукции и, в конечном итоге, благосостояния
общества.
СПИСОК ИСПОЛЬЗОВАННЫХ ИСТОЧНИКОВ
1. Никишов
В.Д. Комплексное использование древесины. - М.: Лесная промышленность, 1985. -
246 с.
2. Гоманай
М.В. Технология переработки древесины: Учебно-справочное пособие. - М.: МГУЛ,
2001. - 232 с.
. Мероприятия
по охране труда и безопасности жизнедеятельности в дипломных проектах. - Мн.:
БГТУ, 2004.
. Проекты
(работы) курсовые. Требования и порядок подготовки, представление к защите и
защита. - Мн., 2007.
. Головков
С.И., Коперин И.Ф., Найденов В.И. Энергетическое использование древесных
отходов. - М.: Лесн.пром-сть, 1897. -224 с.