Організація нового виробництва на заводі залізобетонних виробів в м. Рівне

  • Вид работы:
    Курсовая работа (т)
  • Предмет:
    Строительство
  • Язык:
    Украинский
    ,
    Формат файла:
    MS Word
    1,97 Мб
  • Опубликовано:
    2015-06-01
Вы можете узнать стоимость помощи в написании студенческой работы.
Помощь в написании работы, которую точно примут!

Організація нового виробництва на заводі залізобетонних виробів в м. Рівне















Курсова робота

Організація нового виробництва на заводі залізобетонних виробів в м. Рівне

Зміст

Вступ

. Характеристика і технічні вимоги до сировини і готової продукції

.1 Характеристика і технічні вимоги до труб напірних

.2 Характеристика і технічні вимоги до стінових блоків

. Матеріальний баланс виробництва

.1 Розрахунок складу товарного бетону В30

.2 Розрахунок складу напірних труб

.3 Розрахунок складу стінових блоків

.4 Розрахунок потреби в арматурній сталі

. Вибір та обґрунтування способу виробництва

.1 Виробництво напірних труб

.2 Виробництво стінових блоків

. Транспортно-технологічна схема виробництва

.1 Транспортно-технологічна схема виробництва напірних труб

.2 Транспортно-технологічна схема виробництва стінових блоків

. Розрахунок складського господарства

.1 Склад цементу

.2 Склад заповнювачів

.3 Склад добавок

.4 Склад арматури

. Розрахунок бетонозмішувального цеху

.1 Розрахунок бетонозмішувального цеху напірних труб та стінових блоків

.2 Розрахунок бетонозмішувального цеху товарного бетону

. Проектування арматурного цеху

. Проектування формувального цеху

.1 Розрахунок продуктивності ліній

.2 Основне технологічне обладнання формувального цеху

. Архітектурно-будівельне рішення та проектування генплану

.1 Проектування генплану

.2 Архітектурно-будівельне рішення

Висновок

Список використаної літератури

Додаток

залізобетон стінний блок арматура труба

Вступ

Промисловість збірного залізобетону України - це досить могутня, технічно озброєна галузь будівельної індустрії, яка поставляє будівництву 20 % матеріальних ресурсів.

Виробництво збірного залізобетону України базується в основному на потоково-агрегатних технологічних лініях, які випускають 55...58 % усіх виробів, обсяг продукції конвейєрних ліній не перевищує 15 %. Стендове виробництво становить 27...30 %.

На сучасному етапі і в осяжному майбутньому бетон та залізобетон у нашій країні й за рубежем залишаться найважливішими конструктивними матеріалами для будівництва. Затрати праці та енергії на монтаж металевих і збірних залізобетонних конструкцій приблизно однакові, але трудові та енергетичні затрати на виробництво 1 м3 збірного залізобетону значно нижчі за витрати на еквівалентну кількість металевих конструкцій і становлять: за трудовими затратами 75 %, за витратами умовного палива 50 %, за витратами електричної енергії 40 %, за капіталовкладеннями 67 %.

Заводська технологія збірного бетону і залізобетону дозволяє повністю механізувати і автоматизувати їх виготовлення, застосувати передові методи організації виробництва, економно витрачати матеріали, прискорювати процес твердіння бетону і, саме головне, виконувати роботи як на заводі, так і на будівельному майданчику на протязі року.

Із збірного залізобетону організовано масове виробництво виробів для інженерних споруд (т.з. спеціального залізобетону): пролітні будови мостів, опори, палі, водопропускні труби, лотки, блоки і тюбінги для оброблення тунелів, плити покриттів доріг і аеродромів, шпали, опори контактної мережі і ліній електропередачі, елементи обгороджувань, напірні і безнапірні труби і ін. Значна частина цих виробів виконується із заздалегідь напруженого залізобетону стендовим або потоково-агрегатним способом. Для формування і ущільнення бетону застосовуються вельми ефективні методи: вібропресування (напірні труби), центрифугування (труби, опори), віброштампування (палі, лотки).

Значні перспективи для подальшої індустріалізації житлового будівництва має спосіб зведення будівель з об'ємних блоків. Такі блоки на одну-дві кімнати або на квартиру виготовляються на заводі з повною внутрішньою обробкою і устаткуванням; збірка будинків з цих елементів займає всього декілька днів.

Технологічний процес виробництва залізобетонних виробів складається з ряду послідовно виконуваних операцій: приготування бетонної суміші, виготовлення арматури (арматурних каркасів, сіток, гнутих стрижнів і т. д.), армування виробів, формування виробів (укладання бетонної суміші і її ущільнення), тепловологісної обробки, що забезпечує необхідну міцність бетону, обробки лицьової поверхні виробів.

Широкий розвиток залізобетонні будівельні вироби набули завдяки великій розповсюдженості і також достатньо низькій ціні вихідної сировини, високим фізико-механічним показником, гігієнічним властивостям, довговічності.

Задовольнити попит на ці матеріали можливо будівництвом нових заводів, підвищення потужності діючих підприємств, а також розширенням асортименту продукції. Основним напрямком в подальшому розвитку виробництва є технічне переоснащення, механізація і автоматизація технологічних процесів.

Тому виходячи з вище сказаного є можливість випуску нової продукції на заводі залізобетонних виробів в м.Рівне, який випускає напірні труби, стінові вібропресовані блоки та товарний бетон. Річна продуктивність заводу - 50000 м³/рік.

1. Характеристика і технічні вимоги до сировини і готової продукції

1.1 Характеристика і технічні вимоги до труб напірних

Напірні труби, виготовлені із важкого бетону методом віброгідропресування і призначені для прокладання напірних трубопроводів, по яких транспортують рідину з температурою 40  ̊С і не агресивному степені впливу на залізобетону конструкцію і гумові кільця стикових з’єднань.

Якщо рідина, що транспортується, чи грунт є агресивними по відношенню до труб або гумовим кільцем, то необхідно передбачити їх захист від корозії. Труби використовують в трубопроводах в відповідності з вказаними матеріалом для проектування серії 3.901-1/85.

Основні розміри і параметри

Труби в залежності від значення внутрішнього тиску в трубопроводі розподіляється на чотири класи:

Ø 0 - на тиск 2,0 МПа (20 кгс/см2);

Ø  І - на тиск 1,5 МПа (15 кгс/см2);

Ø  ІІ- на тиск 1,0 МПа (10 кгс/см2);

Ø  ІІІ - на 0,5 МПа (5 кгс/см2).

Міцнісні характеристики труб забезпечують роботу трубопроводів під вказаними тисками при зовнішніх навантаженнях, що відповідають середнім умовам вказаним труб по ДСТУ Б.В.2.5-48:2010.

При умові укладання труб забезпечуючи зниження значення зовнішніх навантажень на трубопровід, по згоді споживача з підприємством-виробником і проектною організацією, допускається застосовувати труби І і ІІ класу при внутрішньому тиску, що перевищує розрахункове значення для кожного класу труб на 0,3 МПа (3 кгс/см2).

Труби слід виготовляти із важкого бетону по ДСТУ Б.В.2.7-43-96 класів по міцності на стиск:

Ø В30 - труби марок ТН50-ІІІ і ТН60-ІІІ;

Ø  В40 - труби всіх решта марок.

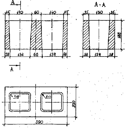
Отже, в даному курсовому проекті приймаємо виготовлення труб напірних ТН60-ІІІ (d=0,6 м) для бетону класу В30 (згідно завдання).

Форма і розміри труб повинні відповідати вказаним на рис.1 і табл.1.1.

По технічним умовам допускається змінювати форму переходу циліндричної частини труби в розтрубі без зміни кута нахилу зовнішньої поверхні розтрубу. Труби армують поздовжньою напруженою арматурою із дроту періодичного профілю класу Вр-ІІ і спіральної напруженої арматури із гладкого дроту класу В-ІІ, витки, що закріплюються в роздільних полосах із сталевої холоднокатаної стрічки. В випадку передбаченого проектом захисту трубопроводу від електрокорозії, що викликається блукаючими токами, на вимогу споживача, труби виготовляють зі спеціальними закладними виробами, що з’єднанні з арматурою труб. Труби необхідно виготовляти згідно діючого стандарту і технологічної документації, що затверджена в встановленому порядку по кресленнях приведених в ДСТУ Б.В.2.5-48:2010.


Таблиця 1.1

Діаметр умовного перерізу проходу труби, мм

Марка труби

Розміри труб

Маса труби, т



di

de

d1

d2

d3

l

l1

t

l2

l3

l4

a

b1

b2


600

ТН60-0 ТН60-І ТН60-ІІ ТН60-ІІІ

600

730

754

940

748

5185

5195

65

565

185

145

112

9

24

1,89


Труби повинні бути водонепроникні і витримувати внутрішній дослідний (випробувальний) гідростатичний тиск, МПа (кгс/см2):

Ø 2,4 (24) - для труб 0 класу;

Ø  1,8 (18) - для труб І класу;

Ø  1,2 (12) - для труб ІІ класу;

Ø  0,6 (6) - для труб ІІІ класу.

Труби, що призначені для трубопроводів з внутрішнім тиском, який перевищує розрахункове значення і обумовленні в замовленні на їх виготовлення, повинні витримувати дослідний тиск, котрий збільшений відповідно на 0,3 МПа (3кгс/см2).

Труби повинні бути тріщиностійкими. При внутрішніх дослідних гідростатичних тисках, що вказані, а в табл. 1.2, утворення тріщин в бетоні труб не допускається.

Таблиця 1.2

Діаметр умовного перерізу проходу труби, мм

Марка труби

Контрольний внутрішній гідростатичний тиск, МПа (кгс/см2), при провірці тріщиностйкості труб



При приймально-здавальних випробуваннях (у віці 2 доби)

При віці бетону з випробуваннях 100 діб

600

ТН60-0 ТН60-І ТН60-ІІ ТН60-ІІІ

2,7(27,5) 2,16 (22) 1,62 (16,5) 1,18 (12)

2,6(26,5) 2,11 (21,5) 1,62 (16,5) 1,18 (12)


Між закладними деталями труб, які призначені для експлуатації в умовах впливу блукаючих токів, повинен бути електричний контакт. Труби повинні задовольняти вимоги ДСТУ Б В.2.6-2-95:

Ø по показниках фактичної міцності бетону ( в проектному віці передаточної);

Ø  до якості арматурних і закладних деталей і їх положення в трубі;

Ø  до захисту корозії.

Значення нормованої передаточної міцності бетону труб (міцності бетону в момент передачі на нього зусилля стиску від спіральної арматури) повинно відповідати вказаним в табл. 1.3.

Таблиця 1.3

Діаметр умовного перерізу проходу труби, мм

Вид контролюючої міцності бетону

Нормативна передаточна міцність бетону, МПа (кгс/см2) труби класу



0

І

ІІ

ІІІ

600

На стиск

-

35,3(360)

31,4 (320)

23,5 (240)


На розтяг при розкалюванні

-

2,9 (30)

-



Постачання труб споживачам необхідно проводити після випробування їх на водонепроникність і тріщиностійкість. Якість матеріалів що використовуються для виготовлення бетону на труби, повинна забезпечити виконанні технічні вимоги до бетону, що встановленні діючим стандартом, і відповідати вимогам:

Ø цемент ДСТУ Б.В. 2.6-46:2010;

Ø  заповнювачі ДСТУ Б В.2.7-43-96, ДСТУ Б.В.2.7-32-95, ДСТУ Б.В.2.7-75-98;

Ø  вода ДСТУ ГОСТ 18294:2009.

Крупний заповнювач необхідно використовувати фракції: 5-10мм; 5-15мм; 10-20мм.

Бетон

Ø Бетон у виробi повинен вiдповiдати вимогам робочих креслень або замовлення на постачання.

Ø  В загальному випадку якiсть бетону визначають:

- вид;

мiцнiсть в проектному вiцi, передаточна (для попередньо напружених виробiв) та нормована вiдпускна;

середня густина легкого і нiздрюватого бетону;

теплопровiднiсть легкого бетону в сухому станi;

- водопоглинання, вiдпускна вологiсть, пористiсть, стiйкiсть проти дiї поперемiнного заморожування i вiдтавання (морозостiйкiсть), високої температури, хiмiчно агресивного середовища та стирання;

- водонепроникнiсть.

Ø Згiдно з робочими кресленнями або замовленням на поставку нормована вiдпускна мiцнiсть бетону виробiв може бути нижчою за його нормовану мiцнiсть у проектному вiцi.

Ø  Значення нормованої вiдпускної мiцностi бетону на стиск потрiбно встановлювати розрахунком з урахуванням технологiї виготовлення виробiв, їх транспортування i монтажу, можливостi подальшого зростання мiцностi бетону в рiзнi пори року та термiну навантаження конструкцiй повним розрахунковим навантаженням.

При цьому нормовану вiдпускну мiцность бетону на стиск не допускається встановлювати нижче: мiцностi в проектному вiцi для виробiв типу паль, шпунту, деталей крiплення тунелiв, а також для виробiв з бетону автоклавного тверднення; передаточної мiцностi для попередньо напружених виробів.

Арматурний дріт повинен задовольняти вимоги:

Ø класів В-ІІ і Вр-ІІ по ГОСТ 7348;

Ø  класів В-І і Вр-І по ГОСТ 6727.

Стальна холоднокатана стрічка із низьковуглецевої сталі (для роздільних полос) повинна задовольняти вимоги ГОСТ 503.

Форма і розміри арматурних і закладних деталей для труб повинні відповідати приведеним в ДСТУ Б.В.2.5-48:2010.

Армування напірної труби

При виробництві труб напірних ТН60-ІІІ використовуємо бетон В30, витрата сталі - 49,3 кг. (ДСТУ Б.В.2.5-48:2010)

Розріз по поздовжній осі труби

Деталь армування стінки труби

Рис.2

     =18 мм, =43 мм, =20 мм.

К1-К21 - вибираю К-6а для ТН60-ІІІ

Таблиця 1.4 Специфікація арматурних деталей на одну трубу

Марка труби

Каркас

Поздовжні арматури


Марка

Кількість

Марка

Кількість

ТН60-III

К6а

1

П1

14



Рис 3. Каркаси, розміри каркасів

Таблиця 1.5

Марка каркасу

Розміри в мм


m


К6а

687

900

5145

570

4575

3

18

30°


Таблиця 1.6

Позиція

S

h

b

Позиція

23

20,03

3,5

9,5

23




Характеристика підібраної арматурної сталі для труби ТН60-ІІІ наведена в таблиці1.7.

Таблиця 1.7

Марка деталі

Позиція

Ескіз стержня

Діаметр або розріз, мм

Довжина, мм

Кількість

Загальна довжина, м

Підбір сталі








Діаметр або розріз, мм

Маса, кг

Маса виробу, кг

К6а

3

566900

1

566,9

3BII

31,2

38,1


23

Див. рис. 3

20x0,7

5220

12

62,64

20x0,7

6,9


П 1

31

5

5193

14

5,19

5ВрІІ

0,8

0,8


Спіральна арматура арматурного каркасу марки К-6а повинна бути неперервною на всю довжину. Два витки спіральної арматури з двох кінців каркасу і в місці переходу циліндричної частини в конічну повинні розміщуватись щільно один до одного і зв’язуватись в’язальним дротом в 3-4 місцях, а кінці арматури довжиною 400-500 мм повинні бути відігнуті під кутом 130-150° і прикріплені до витків каркасу в’язальним дротом в 4-5 місцях.

Розріз по поздовжній осі труби та поздовжній розріз стінки наведений на рис. 2; арматурні елементи напірної труби ТН60-ІІІ показані на рис.4.

1.2 Характеристика і технічні вимоги до стінових блоків

Стінові блоки використовуються для зведення промислових та цивільних, опалюваних та неопалюваних будівель у відповідності із затвердженою проектною документацією.

Різновиди (технічна назва):

Ø Блоки стінові порожнисті рядові

СБ-Прн-Ц-Р-390х190х 190-1600-М75-Р25-1- ДСТУБВ.2.7-7:2008

Ø Блоки стінові порожнисті лицьові

СБ-Прн-Ц-Лрб-390х 190x190-1600-М100-Р25-1 - ДСТУБВ.2.7-7:2008

Ø Блоки стінові повнотілі лицьові

СБ-Пт-Ц-Лг-390х90х190-2100-М100-Р25-1- ДСТУБВ.2.7-7:2008 СБ-Пт-Ц-Лрб-390х90х 190-2100-М100-Р25-1 - ДСТУБВ.2.7-7:2008 СБ-Пт-Ц-Лрб-190х90х190-2100-М100-Р25-1- ДСТУБВ.2.7-7:2008 СБ-Пт-Ц-Лр-390х 190x190-2100-М100-Р25-1 - ДСТУБВ.2.7-7:2008

В даному курсовому проекті приймаємо виготовлення стінових блоків СБ-Прн-Ц-Р-390х190х190 згідно нормативного документу - ДСТУ БВ.2.7-7:2008 „Вироби бетонні стінові дрібно штучні. Технічні умови".

Технічні характеристики

Номінальні розміри виробів, допустимі відхилення наведені у табл.1.8, вимоги до зовнішнього вигляду - у табл. 1.9, фізико-механічні характеристики - табл.1.10.

Таблиця 1.8 Номінальні розміри виробів та допустимі відхилення

Форма виробів

Геометричні розміри та допустимі відхилення, мм



довжина

ширина

висота

1

2

3

4

5

СБ-Прн-Ц-Р-3 90x190x190 (СБ-Прн-Ц-Лрб-390 х 19С

1x190

1.

390±4

190±3

190±4


Рис.5

Колір і тон лицьових поверхонь лицьових виробів повинні відповідати зразкам-еталонам, затвердженим в установленому порядку. Плями на лицьових поверхнях не допускаються.

Фактура рельєфних лицьових поверхонь лицьових виробів повинна відповідати затвердженим зразкам-еталонам.

Таблиця 1.9 Вимоги до зовнішнього вигляду стінових блоків

Найменування показників

Значення відхилень


Рядових

лицьових

Відхилення від прямолінійності ребер і площинності граней, мм блока

6

4

Відбитості кутів завглибшки від 10 до 15 мм на щепи або камені, шт.

3

1

Відбитості і притуплення ребер завглибшки від 5 до 10 мм на цепи або камені, шт.

3

1

Відбитості і притуплення ребер і кутів на блоки, завглибшки до 20 мм і довжиною по ребру до 100 мм, шт.

3

2

Загальна кількість виробів з тріщинами, які перетинають ребро, і половняка, % від партії, не більше

10

4


Таблиця 1.10 Фізико-механічні властивості стінових блоків

Показник

Одиниці вимірювання

Значення показника

Нормативний документ

1.

Границя міцності при стиску

МПа

не менше 10 (М100)

ДСТУ БВ.2.7-7:2008


(марка)


не менше 7,5 (М75)


2.

Відпускна міцність

%

50 (для М100)





75 (для М75)


3.

Маса блока

кг

не більше 36


4.

Середня густина

кг/м3

не більше 1650


5.

Морозостійкість

ЦИКЛИ

15,25


6.

%

не менше 6% (для лицьових не більше 15)


7.

Ефективна сумарна питома активність природних радіонуклідів

Бк/кг

не більше 370 (1 клас)


 

Сировина

Як в'яжуче для виготовлення стінових блоків можна використовувати портландцемент I типу (бездобавочний), II типу, шлакопортландцемент тільки групи А (ДСТУ Б.В.2.7-46:2010), портландцемент білий (ГОСТ 965-89), портландцемент кольоровий (ГОСТ 15825-80) марок 400, 500.

Як заповнювачі можна використовувати: пісок природний за ДСТУ Б В.2.7-32-95, пісок з гірських порід (відсів) ГОСТ 26193-84, щебінь фракції 2,5- 5 1 5-10 мм за ДСТУ Б В.2.7-75-98.

Як добавки для бетонної суміші можна використовувати: золу-виносу згідно ГОСТ 25811-83, пластифікатори, суперпластифікатори, прискорювачі твердіння згідно ДСТУ Б В.2.7- 171, гідрофобізуючі добавки ГКЖ-10, ГКЖ- 11 (чи інших типів). При використанні хімічних добавок необхідно враховувати рекомендації ДБН В.2.7-64-97.

Виготовлення блоків різних кольорів, крім іншого, здійснюється за рахунок використання пігментів, котрі проявляють стійкість до лугів цементу: жовтого залізоокисного за ГОСТ 18172, сурику залізного червоного кольору за ГОСТ 8135, залізно синього кольору за ГОСТ 21121, окису хрому зеленого за ГОСТ 2912, пігменту зеленого органічного за ГОСТ 4579, а також інших пігментів на основі оксиду заліза.

Матеріали, що поступають на завод, повинні зберігатись в умовах, які виключають зволоження і забруднення. Тривалість зберігання цементу не повинна перевищувати 1 місяця. Змішування в одному силосі цементів різних марок і типів не допускається. Добавки повинні зберігатись у відповідності до вимог встановлених у документації на них.

2. Матеріальний баланс виробництва

Річний фонд часу роботи обладнання агрегатно-потокової лінії визначається за формулою, год:

 год,

де: Тн - номінальний фонд часу роботи обладнання, Тн = 260 діб/рік;

Трем - планові зупинки на ремонт, для агрегатно-потокової лінії Трем = 7 діб;

Тдоб - добовий фонд робочого часу, год:

 год,

де: nзм - кількість робочих змін на добу 2 (крім відділення ТВО), год; зм - тривалість робочої зміни, 8 год;

Квз - коефіцієнт внутрішньо змінного виробничого використання робочого часу, Квз=1.

Розрахункова годинна продуктивність лінії:

 шт/год.

де: Пріч - річна продуктивність 10 тис м3/рік;б - об`єм бетону на один виріб 0,76 м3.

2.1 Розрахунок складу товарного бетону В30

 

Цемент - для класів бетону В30 приймаю ПЦ ІІ виду, тому що він повністю задовільняє умови виробництва і має ряд переваг у порівнянні з іншими цементами. Він є більш дешевим та корозійно стійкішим за рахунок більшого вмісту мінеральних добавок. Постачається на підприємство за допомогою спеціалізованого автотранспорту. Цемент повинен відповідати ДСТУ Б В 2.7-46. За ДБН А. 3.1 - 8 - 96, ст.37 (усереднені витрати матеріалів) приймаю вид бетону - важкий, клас В30 - М400, марка цементу М500, витрата цементу 400 кг/м3, ρц=3,1 кг/м3.

Дрібний заповнювач - пісок місцевий дрібний, кварцевий, модуль крупності піску Мкр=2,1. Вміст пилуватих та глинистих домішок не більше 3%. Постачається з кар’єрного господарства за допомогою автотранспорту. Якість піску цього кар’єру задовольняє вимогам ГОСТ 4797-64 та ДСТУ Б.В. 2.7-32-95

Істина густина піску - 2600 кг/м3, насипна густина - 1450 кг/м3. Витрата піску складе П=0,45 м33 б.с.

Крупний заповнювач - в якості якого викоритовується щебінь з природного каменю, що постачається на підприємство залізничним транспортом. Фракції щебеню для приготування бетонної суміші приймаю 5 - 20 мм. Вміст голчастих і пластинчастих зерен не повинен перевищувати 35%.

Істина густина щебеню - 2650 кг/м3, насипна густина - 1420 кг/м3, міжзернова пустотність - 42 %. Вміст фракції 5-10 мм - 25-40%; 10-20мм - 60-76%. Витрата щебеню складе: Щ=0,9 м33 б.с.

Вода - питної якості, повинна відповідати вимогам ГОСТ 23732-79. Видобувається з місцевих джерел, або постачається з магістрального трубопрободу. Вміст органічних поверхнево-активних речовин не повинен перевищувати 10 мл/л; водневий показник повинен знаходитися в межах РН=4…12.5.

При легкоукладальності бетонної суміші Rб2 (5-9 см) та максимальній крупності заповнювача 20 мм, витрата води складе: В=200 л/м3 б.с. (за Шихненко, ст. 127). Суперпластифікатор С-3 - синтетична добавка до бетону, що додається з метою покращення легковкладальності при використанні мінімальної кількості води, що в свою чергу дозволяє влаштовувати економію цементу. Витрата С-3 складе 0,5% від маси цементу, концентрація робочого розчину - 5,0%, зменшиться витрата цементу і води до 15%.

Витрата води складе В1=В∙0,85=200∙0,85=170 л/м3,

Тоді, при

 

витрата цементу складе Ц=В/В/Ц=170/0,52=327 кг/м3.

Витрата С-3=0,005∙Ц=0,005∙327=1,635 кг/м3.

2.2 Розрахунок складу напірних труб

 

Цемент - для класів бетону В30 приймаю ПЦ ІІ виду, М500. Постачається на підприємство за допомогою спеціалізованого автотранспорту. Цемент повинен відповідати ДСТУ Б В 2.7-46. За ДБН А. 3.1 - 8 - 96, ст.37 (усереднені витрати матеріалів) приймаю вид бетону - важкий, клас В30 - М400, марка цементу М500, витрата цементу 400 кг/м3, ρц=3,1 кг/м3.

При

 

 

Дрібний заповнювач - пісок місцевий дрібний, кварцевий, модуль крупності піску Мкр=2,1. Вміст пилуватих та глинистих домішок не більше 3%. Постачається з кар’єрного господарства за допомогою автотранспорту. Якість піску цього кар’єру задовольняє вимогам ГОСТ 4797-64 та ДСТУ Б.В. 2.7-32-95

Істина густина піску - 2600 кг/м3, насипна густина - 1450 кг/м3.

Крупний заповнювач - в якості якого використовується щебінь з природного каменю, що постачається на підприємство залізничним транспортом. Фракції щебеню для приготування бетонної суміші приймаю 5 - 20 мм приймаються з умови армування виробу: найбільша величина зерен повинна бути меншою ⅓ найменшої товщини виробу та ¾ відстані між арматурними стержнями. Вміст голчастих і пластинчастих зерен не повинен перевищувати 35%.

Істина густина щебеню - 2650 кг/м3, насипна густина - 1420 кг/м3, міжзернова пустотність - 42 %. Вміст фракції 5-10 мм - 25-40%; 10-20мм - 60-76%.

Вода - питної якості, повинна відповідати вимогам ГОСТ 23732-79. Видобувається з місцевих джерел, або постачається з магістрального трубопрободу. Вміст органічних поверхнево-активних речовин не повинен перевищувати 10 мл/л; водневий показник повинен знаходитися в межах РН=4…12,5.

Жорсткість бетонної суміші для напірних труб Ж1 (5-10 с) за ДБН А 3.1-7-96, ст. 87.

Витрата води при Ж1 та максимальній крупності заповнювача 20 мм складе: В=175 л/м3 б.с. (за Шихненко, ст. 127).

При використанні С-3 зменшиться витрата цементу і води до 15%.

Витрата води складе В1=В∙0,85=175∙0,85=149 л/м3,

Витрата цементу складе Ц=В/В/Ц=149/0,52=287 кг/м3.

Витрата С-3=0,005∙Ц=0,005∙287=1,435 кг/м3.

Обов’язковою є повітровтягуюча добавка СНВ у кількості 0,02% від маси цементу з концентрацією робочого розчину 3% для забезпечення морозостійкості.

СНВ= 287∙0,0002=0,0574 кг/м3.

Вибираю α=1,3 за Шихненко, ст. 127.

Витрата щебеню складе:

щ=1-1420/2650=0,46 м3.

Витрата піску:


Остаточні витрати матеріалів на 1 м3 бетонної суміші:

Цемент - 287 кг;

Вода - 149 л;

Щебінь - 1253 кг;

Пісок - 743 кг.

2.3 Розрахунок складу стінових блоків

Згідно умов забезпечення прийнятого класу бетону В30, приймаю слідуючий склад бетонної суміші: («Бетони на основі наджорстких сумішей», ст.107)

Жорскість суміші - 20с.

Цемент - М500, ρц=3,1 кг/м3. Ц/В становить 2,2. Витрата цементу 303 кг/ м3.

Пісок - Мкр=2,1. Істина густина піску - 2650 кг/м3, насипна густина - 1450 кг/м3. Витрата піску становить 445 кг/м3.

Гранітний відсів - Мкр=3,4. Істина густина відсіву - 2650 кг/м3, насипна густина - 1500 кг/м3. Пустотність у сипкому стані 44,4%. Витрата становить 1335 кг/м3.

Вода - питної якості, повинна відповідати вимогам ГОСТ 23732-79. Витрата води 138 л/ м3.

Таблиця 2.1. Витрати матеріалів на виробництво 1 м3 бетону для стінових блоків

Матеріал

Витрати матеріалу на 1 м3

Цемент

0,303 т

Пісок

0,445 т

Вода

0,138 м3

Гранітний відсів

1,335 т


Таблиця 2.2 Зведені витрати матеріалів на виробництво 1м3 готової продукції

Матеріал

Одиниці вимір-я

Бетон В30 (напірні тр.)

Товарний бетон В30

Стінові блоки

Цемент

т/м3

0,287

0,327

0,303

Щебінь

м33

0,88

0,9

-

Пісок

м33

0,5

0,45

0,31

Вода

м33

0,149

0,170

0,138

Гранітний відсів

м33

-

-

0,89

С-3

т/м3

1,435·10-3

1,635·10-3

-

СНВ

т/м3

5,74·10-5

-

-

 

 

Таблиця 2.3 Матеріальний баланс представлений в табличній формі

Матеріал

Q

Одиниці вимірюв-я

Витрати матеріалів




на 1рік

на 1місяць

на 1добу

на 1 зміну

на 1годину

Цемент В30(нап.труби) В30 Стінові блоки М500 + втрати 2%

 10 тис 25 тис 15 тис

 т т т

 2870 8175 4545 Σ=15590 15902

 239 681 379 Σ=1299 1325

 11,34 32,3 18 Σ=61,64 63

 5,67 16,15 9 Σ=30,82 31,4

 0,71 2,02 1,12 Σ=3,85 4

Щебінь В30(нап.труби) В30  + втрати 2%

 10 тис 25 тис

 м3 м3

 8800 22500 Σ=31300 31926

 733 1875 Σ=2608 2654

 35 89 Σ=124 126,5

 17,5 44,5 Σ=62 63,3

 2,13 5,6 Σ=7,73 8

Пісок В30(нап.труби) В30 Стінові блоки  + втрати 2%

 10 тис 25 тис 15 тис

 м3 м3 м3

 5000 11250 4650 Σ=20900 21318

 417 937,5 387,5 Σ=1742 1777

 20 44,5 18,4 Σ=82,9 84,6

 10 22,25 9,2 Σ=41,45 42,3

 1,2 2,8 1,15 Σ=5,15 5,3

Вода В30(нап.труби) В30 Стінові блоки  + втрати 2%

 10 тис 25 тис 15 тис

 м3 м3 м3

 1490 4250 2070 Σ=7810 7966

 124,2 354,2 172,5 Σ=650,9 664

 5,9 16,8 8,2 Σ=30,9 31,5

 2,95 8,4 4,1 Σ=15,45 15,8

 0,37 1,05 0,5 Σ=1,92 1,96

Гранітний відсів Стінові блоки + втрати 2%

 15 тис

 м3

 13350 13617

 1112,5 1135

 52,8 54

 26,4 27

 3,3 3,4

С-3 В30(нап.труби) В30  + втрати 2%

 10 тис 25 тис

 т т

 14,35 40,88 Σ=55,23 56,3

 1,2 3,4 Σ=4,6 4,7

 0,06 0,2 Σ=0,26 0,27

 0,03 0,1 Σ=0,13 0,135

 0,004 0,01 Σ=0,014 0,0143

СНВ В30(нап.труби) + втрати 2%

 10 тис

 т

 0,574 0,59

 0,05 0,051

 0,0023 0,0024

 0,0015 0,00153

 0,00014 0,000143



2.4 Розрахунок потреби в арматурній сталі

Таблиця 2.4 Специфікація арматурної сталі на 1 елемент

№ поз.

Ескіз

, м

, мм

Клас

Кількість

Маса, кг

6

566,9

3

В ІІ

1

31,2

23

Ескіз 1

62,64

20х0,7

Прокатна сталь ГОСТ503

12

6,9

31

5,19

5

ВрІІ

14

0,8

36

Ескіз 2

0,1

25х5

Прокатна сталь ГОСТ503

2

0,1

40

0,45

4

ВрІ

1

0,064

 

Ескіз 2. Затиск

 шт/рік

Таблиця 2.5 Матеріальний баланс арматурної сталі

Клас

, мм

Потреба, кг




на1 рік

на 1 місяць

на 1 добу

на 1 зміну

на 1 годину

23

Прокатна сталь

20х0,7

1089482

90790

4306,3

2153,15

269,2


+ втрати 2%


1111272

92606

4392,4

2196,2

274,6

36

Прокатна сталь

25х5

2632

219

10,4

5,2

0,65


+ втрати 2%


2685

223,4

10,6

5,3

0,66

6

В ІІ

3

410530

34211

1622,6

811,3

101,4


+ втрати 7%


439267

36606

1736

868

108,5

31

ВрІІ

5

147370

12281

582,5

291,25

36,4


+ втрати 7%


157686

13141

623,3

311,6

39

40

ВрІ

4

842

70,2

3,3

1,65

0,21


+ втрати 7%


901

75,1

3,5

1,77

0,22



3. Вибір та обгрунтування способу виробництва

3.1 Виробництво напірних труб

Для напірної труби застосовую віброгідропресування, у зв’язку з довжиною конструкції (5145 мм) та діаметром 800 мм, а також специфічністю умов використання та технічних вимог.

Відповідно до способу віброгідропресування, бетон кільцевого перерізу труби обтискують попередньо-напруженими поздовжніми стержнями діаметром 5мм з високоміцного дроту Вр-ІІ. Обтиснення поздовжнього перерізу створюється за рахунок напруження спіральної арматури діаметром 3 мм з кроком 20 мм.

Труби формують у вертикальному положенні. У форму шнековим бетоноукладачем за допомогою конуса-розподільника та лійки подають бетонну суміш. Форма для виготовлення труби складається із зовнішньої та внутрішньої частин. Зовнішня частина - це дві півформи, з’єднані по боках болтами з пружинними компенсаторами, що допускає деяке розсунення форми під час пресування і забезпечує необхідне подовження спіральної арматури. Внутрішня частина - це нерозбірне металеве осердя - металевий циліндр, ня якому міститься перфорований металевий циліндр та гумовий чохол. Укладання та початкове ущільнення бетонної суміші відбувається під дією вібрації. Для труби ТН60-ІІІ доцільно використовувати віброплощадки з багатокомпонентними коливаннями вантажністю 25-27 т. Вібрація при цьому поширюється не тільки через зовнішній кожух та поздовжню напружену арматуру, закріплену на опорних кільцях форми, а й через внутрішнє осердя. Це дає змогу повністю витиснути втягнуте повітря й одержати рівномірну та щільну структуру бетону.

Тривалість першої стадії формування труби на багатокомпонентних віброплощадках та віброосердях в 3 рази менша, ніж при використанні навісних вібраторів.

На другій стадії ущільнення форма переміщується на пост гідропресування, де в порожнину між суцільним та перфорованим циліндрами внутрішньої форми подається гаряча вода (60-65оС). За 30 хв тиск досягає 3,0-3,5 МПа. Вода крізь отвори в перфорованому осерді досягає гумового чохла, розтягує його і таким чином створює пресуючий тиск на бетонну суміш. Наведене значення тиску забезпечує всебічне обтискування бетонної суміші з видаленням з неї 12…15% води. Тиск підтримується протягом 5-7 год, доки бетон не досягне проектної міцності. Одночасно з пресуванням здійснюється ТО.

Для скорочення тривалості формування до складу суміші додали суперпластифікатор поліпласт С-3, який збільшив рухливість суміші до 20…25 см і в 3-4 рази скоротив тривалість формування без зниження водонепроникності та міцності бетону.

3.2 Виробництво стінових блоків

Для виготовлення блоків обґрунтованим є вибір агрегатно-потокового способу виробництва. Весь процес виробництва полягає у підготовці сировинної суміші, формуванні виробів на конвеєрі вібропресування, пакетування виробів та їх витримка у стелажах для зростання міцності до проектної або відпускної.

Для виробництва стінових блоків використовуємо метод віброгідропресування, що сприяє кращому ущільненню бетонної суміші, згідно прийнятої жорсткості суміші Ж=30с. Вібропресування - це спосіб ущільнення напівсухої (жорсткої) бетонної суміші, полягає в тому, що бетонна суміш у прес-формі піддається впливу вібруючої сили знизу або збоку прес-форми при одночасному тиску зверху. Даний метод досить високопродуктивний, передбачає високий ступінь механізації й автоматизації, дає можливість використовувати жорстку бетонну суміш (жорсткість 30с і більше), що забезпечує високу міцність (М 100 і більше) і морозостійкість (MP3 200 і більше циклів) бетонних виробів. Приймання сировинних матеріалів. Основні сировинні матеріали (портландцемент, пісок, відсів) поступають на підприємство автотранспортом. Портландцемент за допомогою пневморозвантажувача подається в 2 сталеві силоси об'ємом 20 м3 кожен. Заповнювачі (пісок, відсів) подаються у штабельний склад. Змішування матеріалів у штабельному складі не допускається.

Приготування бетонної суміші. У бетонозмішувальну установку, яка являє собою змішувач примусової дії горизонтального типу, через вагові і об'ємні дозатори надходить сировина (цемент, відсів). Після сухого перемішування названих компонентів тривалістю 45 с, у змішувач об'ємним дозатором подається вода та хімічна добавка відповідно до прийнятого складу бетону та необхідного В/Ц. Для отримання бетонної суміші цемент, в кількості, необхідний для замісу, дозується за масою з точністю 1...2%. Заповнювачі дозуються по об'єму, з урахуванням їх фактичної об'ємної маси. Заповнювачі автонавантажувачем спочатку подаються відповідно у відсіки, звідки через живильники стрічковим конвеєром у змішувач. Точність дотримання запроектованого складу бетону, а також задані параметри і режим роботи контролюються оператором із центрального пульта управління. Вода дозується за об'ємом з точністю 1...2%. Тривалість перемішування - 180...240 с.

Бетонна суміш вважається готовою до видачі, якщо :

-фактичне водоцементне відношення суміші не відрізняється більш ніж на 0,01 від заданого ;

-однорідність бетонної суміші в пробах, узятих з будь-яких різних місць змішувача не розрізняються більш ніж на 5 %;

Втрати під час приготування бетонної суміші повинні становити не більше 1,6 % стосовно до готової продукції.

Готова суміш, стрічковим конвеєром надходить в бункер формувальної машини. Тривалість зберігання суміші в бункері не повинна перевищувати час початку тужавлення цементу (30...40 хв.).

Формування виробів. Попередньо очищені й змазані піддони, укладені в матриці та заповнені бетонною сумішшю, кроковий конвеєр подає на пост попереднього ущільнення, де суміш розрівнюють, струшуючи її, і частково ущільнюють з одночасним видаленням надмірного повітря. Потім на посту вібропресування виконують одночасне формування кількох блоків пуансонами, на які передають двохчастотну вібрацію і статичний тиск.

Твердіння виробів. Відформовані вироби в матрицях подають на пост негайного розпалублення, після чого вироби встановлюються на піддон і потрапляють у стелажі-наконичувачі для витримки, а матриці повертаються на пост формування. Твердіння виробів здійснюється у спеціальних камерах твердіння при температурі не нижче 15°С і вологості 80...90% Тривалість твердіння на піддонах повинна бути не менше 24 год. Для попередження випаровування вологи з виробів і збереження вологісного режиму у камерах по можливості передбачається їх закривання. Висихання виробів не допускається. При умові досягнення виробами за 24 год. міцності при стиску не менше 2...3 МПа може здійснюватись перекладання на транспортувальні піддони та відбракування виробів за зовнішніми ознаками.

Пакування та маркування продукції. Формування транспортувальних піддонів з готовими виробами здійснюється вручну на посту пакування. Підготовлений транспортувальний піддон горизонтально ув'язується поліетиленовою плівкою (4 верхніх ряди). Вертикальна ув'язка здійснюється ПВХ стрічкою - 4 крайні вертикальні ряди. На даному етапі крім візуального огляду здійснюється відбір проб для приймальних випробувань продукції. Упакована продукція зберігається на відкритому чи закритому складі в штабелях не більше ніж в 4 яруси, окремо по виду і кольору блоків. На кожен упакований піддон блоків наклеюється етикетка, що містить відповідне транспортне маркування. Можлива відбраковка продукції на стадії твердіння та упаковки становить не більше 1%.

4. Транспортно-технологічна схема виробництва

На схемах, за допомогою спеціальних символів представлені технологічні операції, операції переміщень і контролю, складування виробів. Вертикальні лінії, які з'єднують символи, показують зв'язок між операціями на одному посту, горизонтальні - поставки матеріалів, напівфабрикатів і транспортування готового виробу з поста на пост. Пунктирними лініями обмежені операції, які виконуються на окремих постах формувального цеху.

4.1 Транспортно-технологічна схема виробництва напірних труб

Виходячи із конструктивно-технологічних особливостей виробів, характеристики виробничого процесу і плану технологічної лінії в проекті запроектована транспортно-технологічна схема виробництва напірної труби ТН60-ІІІ, яка включає в себе зміст, склад і послідовність виконання операцій.

Для розробленого виробу на рис. 6 (напірна труба) запроектована транспортно-технологічна схема з прийнятим позначенням операцій:

1. Пост армування:

.2. - напруження високоміцного дроту Вр-ІІ та висаджування анкерних головок;

.3. - намотування і зварювання спірального арматурного каркасу;

2. Пост формування:

2.1. - встановлення внутрішньої та зовнішньої форм на віброплощадку з багатокомпонентними коливаннями;

.2. - армування форми та заклеювання швів;

.3. - насування зовнішньої форми на осердя;

.4. - центрування зовнішньої форми;

.5. - встановлення завантажувального конуса;

.6. - укладання бетонної суміші у форму та її попереднє ущільнення;

.7. - знімання форми з поста формування.

3. Пост гідропресування:

3.1. - встановлення заформованої труби на пост;

.2. - підключення до гідравлічної системи і заповнення порожнини між суцільним та перфорованим циліндрами внутрішньої форми гарячою водою;

.3. - пресування тиском (ІІ стадія ущільнення);

.4. - накривання форми брезентовим ковпаком;

.5. - ТО;

.6. - підключення до вакуум-системи.

4. Пост розпалублення, очищення і змащення:

4.1. - встановлення на пост РОЗ;

.2. - знімання зовнішньої форми з трубою з осердя;

.3. - розкривання фіксуючих скоб, передавання напруження на бетон;

.4. - розгвинчування болтів і знімання верхньої півформи;

.5. - виймання труби з нижньої півформи;

.6. - очищення і змазування півформ;

.7. - складання зовнішньої форми;

.8. - очищення та огляд гумових чохлів внутрішньої форми;

.9. - змазування чохлів мильною емульсією.

5. Пост випробування і складування готової продукції:

5.1. - встановлення труби на пост і підключення до гідросистеми;

.2. - випробування під тиском;

.3. - транспортування готової продукції на склад або складування труб у цеху в зимовий період.

6. Транспортні операції:

6.1. - транспортування арматурних елементів на пост формування;

.2. - транспортування заформованого виробу на пост гідропресування;

.3. - транспортування виробу після ТО на пост РОЗ;

.4. - транспортування підготовлених форм на пост формування;

.5. - транспортування на пост випробування готової продукції;

.6. - транспортування виробів на склад готової продукції.

.7. - транспортування осердя на пост армування.

4.2 Транспортно-технологічна схема виробництва стінових блоків

 

Транспортно-технологічна схема виробництва стінових блоків, зображена на рис.7, включає наступні пости та операції:

1. Пост приготування бетонної суміші:

1.1. - дозування компонентів суміші;

.2. - змішування у змішувачі примусової дії основних компонентів суміші;

2. Пост формування:

2.1. - встановлення піддона;

.2. - встановлення матриці на піддон;

.3. - заповнення форми матриці бетонною сумішшю;

.4. - введення пуансонів;

.5. - попереднє ущільнення суміші з одночасним видаленням надмірного повітря;

.6. - вібропресування виробів;

3. Пост розформування, очищення та змащення:

3.1. - встановлення заформованої форми-матриці на пост;

.2. - розформування виробу та встановлення на дерев’яний піддон для подальшого твердіння виробів;

.3. - очищення піддону та форм-матриць;

.4. - змащення піддону та форм-матриць;

4. Пост твердіння виробів:

4.1. - відкриття кришки спеціальної камери твердіння;

.2. - встановлення піддона на стелажі-накопичувачі для витримки розформованих виробів;

.3. - закриття кришки камери;

.4. - витримка виробів у спеціальній камері до набуття ними певної міцності;

.5. - відкриття кришки камери та виймання виробів;

5. Пост опорядження :

5.1. - встановлення піддону з виробами на пост;

.2. - пакування виробів;

.3. - маркування готових пакетів виробів;

6. Транспортні операції:

6.1. - транспортування компонентів бетонної суміші;

.2. - транспортування бетонної суміші на пост формування;

.3. - транспортування заформованих виробів до посту РОЗ;

.4. - транспортування підготовлених форм та піддонів на пост формування;

.5. - транспортування розформованих виробів на пост твердіння;

.6. - транспортування виробів на пост опорядження;

.7. - транспортування виробів на склад готової продукції.

5. Розрахунок складського господарства

З використанням матеріального балансу проводимо розрахунок об’ємів і площ складів для прийняття, зберігання і підготовки вихідних матеріалів і напівфабрикатів. Розрахунки проводжу в залежності від добової витрати і необхідного запасу матеріалів, норм зберігання, необхідних підходів у відповідності з нормами технологічного проектування підприємств збірного залізобетону.

 

5.1 Склад цементу

Склад цементу проектують у відповідності з технологічними нормами.

Потрібну місткість складу цементу визначаємо за формулою:


де ∑Цдоб - сумарна витрата цементу;- нормативний запас цементу на складі, днів роботи цеху;

,04 - коефіцієнт можливих втрат цементу при розвантажуванні;

,9 - коефіцієнт використання технологічного обладнання.

∑Цдоб = 63 т; n = 7 діб; Р = 253 доби

 (т)

Приймаємо висоту силосу 10 м.

Необхідний об’єм силосу при діаметрі 6 м буде складати:

т

Кількість силосів становитиме:


Для зберігання цементу приймаємо 2+1 (запасний) залізобетонних силосів з одночасним вмістом цементу в силосах 510 т, які розміщені у один ряд.

Прийом цементу з автоцементовозів (8 т) з пневматичним розвантаженням із силосів цементу проводиться пневматичним гвинтовим насосом ТА-14А.

Основні технічні характеристики технологічного обладнання наведені в табл.5.1-5.2.

Таблиця 5.1  Технічна характеристика пневмогвинтового насосу ТА-14А

Характеристики

Значення

Продуктивність, т/год

36

Дальність подачі, включаючи висоту зон, м

200

Витрата повітря, м/хв.

15

Діаметр цементопроводу, мм

140

Потужність двигуна, кВт

30

Габаритні розміри, м: довжина ширина висота

2,42 0,64 0,87

Маса, кг

930



Таблиця 5.2 Технічна характеристика автоцементовоза ТЦ-4

Характеристики

Значення

Вантажопідйомність, т

8

Відстань подачі: розвантаження: по горизонталі по вертикалі завантаження: по горизонталі по вертикалі

 50 25 10 10

Робочий тиск при розвантаженні, МПа

0,1

Робочий вакуум, Мпа

0,05

Продуктивність: завантаження розвантаження

 0,5...1,0 0,5

Габаритні розміри: довжина ширина висота

 8,89 2,36 2,95

Маса (без навантаження), кг

7,3


Вибір технологічного обладнання проводився у відповідності з продуктивністю.

Пневмогвинтовий насос ТА-14А був вибраний для того, щоб забезпечував продуктивність подачі і прийому цементу. Мінімально необхідна продуктивність насосу 10 т.

.1.     Склад заповнювачів

Тип складу заповнювачів, їх запас, а також обладнання, що застосовується, повинні забезпечити беззупинкову роботу заводу протягом року. Зберігання заповнювачів на складі слід по виду, фракціям і сортам в окремих ємностях або шляхом влаштування роздільних стінок. Використовуємо щебінь в діапазоні фракцій 5...20 мм. Запас заповнювачів приймаємо на 10 діб. Запас щебеню, гранітного відсіву та піску:

Q = 1,02×Qп×З×n/Тріч

 

ü для напірних труб: витрати заповнювачів на даний вид виробу: щебінь - 0,88 м33; пісок - 0,5 м33.щ = 1,02×10000×0,88×10/253 = 355 м3;п = 1,02×10000×0,5×10/253 = 202 м3;

ü для товарного бетону: витрати заповнювачів на даний вид виробу: щебінь - 0,9 м33; пісок - 0,45 м33.щ = 1,02×25000×0,9×10/253 = 907 м3;п = 1,02×25000×0,45×10/253 = 454 м3;

ü для стінових блоків: витрати заповнювачів на даний вид виробу: гранітний відсів - 0,89 м33; пісок - 0,31 м33.г.в. = 1,02×15000×0,89×10/253 = 539 м3;п = 1,02×15000×0,31×10/253 = 188 м3;

Приймаємо штабельний склад заповнювачів. щ = 355+ 907=1262 м3;п = 202+ 454 +188= 844 м3;г.в. = 539 м3;

Згідно з показниками норм проектування складів заповнювачів приймаємо, що склад повинен мати 8 відсіків, з них 4 - для щебеню 5-20 мм, 2 - для гранітного відсіву, 2 - для піску.

Об’єм одного штабелю щебеню 5-20 мм складає 1262/4 = 316 м3, об’єм одного штабелю гранітного відсіву складає 539/2 = 270 м3, а піску 844/2 = 422 м3. Об’єм штабельного складу у вигляді кругового конусу:


H - висота штабелю, м;  j = 40 - кут природного відкосу матеріалу, 0.

Тоді висота штабелю піску повинна бути:

м

Приймаємо висоту штабелю піску - 7 м, що відповідає технологічним нормам проектування складів.

Висота штабелю щебеню 5-20 мм повинна бути:

м

Приймаємо висоту штабелю щебеню 5-20 мм - 7 м, що відповідає технологічним нормам проектування складів.

Висота штабелю гранітного відсіву повинна бути:

м

Приймаємо висоту штабелю гранітного відсіву - 7 м, що відповідає технологічним нормам проектування складів.

Знаючи висоту кругового конусу визначаємо діаметр його основи:

м

Площа основи штабелів щебеню, гранітного відсіву та піску:

м2

Загальна корисна площа складу заповнювачів складає:

м2.

Загальна площа складу заповнювачів:

м2п = 1,5 - коефіцієнт, який враховує проїзди та проходи на складі.

Заповнювачі розвантажуються з відкритих платформ та на піввагонів за допомогою машини Т-182А, технічні характеристики якої наведені в табл.5.3.

Вантажо-приймальний пристрій обладнаний бурофрезерними розпушувачами для мерзлих матеріалів. Розвантажувач обладнаний ковшовими елеваторами з механізмами для піднімання і опускання, приймальним реверсивним і віддавальним стрічковим конвеєрами. При розвантаженні ковші елеваторів захоплюють заповнювач і подають його на горизонтальний подавальний конвеєр марки КРУ-350. потім відвальним стрічковим конвеєром марки КРУ-350 матеріал подається в штабель. Під усіма відсіками проходить підштабельна галерея зі стрічковим конвеєром марки КРУ-350. Кожний відсік має одну або декілька протічок з віброживильником, з під штабельної галереї заповнювач стрічковим конвеєром марки КРУ-350 подається на конвеєр похилої естакади у витратні бункери змішувального відділення.

Таблиця 5.3 Технічна характеристика розвантажувальної машини Т-182

Характеристики

Значення

Продуктивність, т/год

200

Висота підйому штовхача, мм

500

Потужність електродвигунів, кВт

17,5

Маса машини, т

34

Робочий орган розвантажування

штовхач скребковий



Таблиця 5.4 Технічна характеристика стрічкового конвеєру КРУ-350

Характеристики

Значення

Продуктивність, т/год

350

Ширина стрічки, мм

1200

Швидкість барабана, м/с

1,5

Діаметр барабана, мм: · приводного · натяжного

 800 800

Довжина, м: · горизонтальна · за наявністю кута нахилу

 1800 500

Потужність двигуна, кВт

385


5.3 Склад добавок

Смолу нейтралізовану повітрявтягувальну (СНВ) поставляють в дерев’яних бочках у вигляді порошку. Зберігають в закритому приміщенні, що виключає зволоження. Добавка СНВ в бочках зважується і подається в бак для приготування, де її змішують з гарячою водою і розбавляють до робочої концентрації 5%. У баці встановлено лопатеву мішалку, глухі регістри для підігрівання рідини до 80°С, трубопроводом стиснутого повітря для барботажу, покажчики верхнього і нижнього рівнів і щільномір. Приготовлений розчин насосом закачують у витратні баки, обладнанні верхнім і нижнім покажчиками рівня і щільноміром.

Місткість баку для приготування розраховуємо, виходячи із запасу добавки на одну зміну. Витрати добавки на одну зміну:

Розрахуємо ємність баку для приготування ( концентрація розведеної добавки в розчині води 5%). Загальна кількість складатиме:



Приймаємо ємність баку для приготування 32 л.

Кількість добавки, що буде підлягати складуванню складатиме:

Д=20∙2,4=48 кг

Суперпластифікатор типу С-3 поставляють на підприємство у вигляді порошку. Зберігають в закритому приміщенні, що виключає зволоження. Добавка С-3 в спеціальній тарі зважується і подається в бак для приготування, де її змішують з гарячою водою і отримують розчин робочої концентрації 5% концентрації. У баці встановлено лопатеву мішалку, глухі регістри для підігрівання рідини до 800С, трубопроводом стиснутого повітря для барботажу, покажчики верхнього і нижнього рівнів і щільномір. Приготований розчин насосом закачують у витратні баки, обладнані верхнім і нижчим покажчиками рівня і щільноміром. Місткість баків для приготування і витратних баків розраховуємо, виходячи із запасу добавки на одну зміну. Кількість добавки і робочу концентрацію вибираємо згідно таблиць.

З проведеного розрахунку матеріального балансу підприємства випливає що на 1 добу роботи підприємства потрібно 260 кг суперпластифікатору типу С-3 по сухій речовині.

Розраховуємо ємність баку для приготування розчину добавки (концентрація розведеної добавки в розчині води 5 %). Загальна кількість розчину складатиме:


Приймаємо ємність баку для приготування 6 м3.

С-3 постачається в порошкоподібному стані в мішках вагою 100 кг. Дану добавку згідно норм технологічного проектування запасають на складах на строк до 20 діб роботи бетонозмішувального відділення. Якщо згідно матеріального балансу на 1 добу роботи підприємства потрібно 260 кг С3-3 по сухій речовині, то кількість добавки, що буде підлягати складуванню складатиме:

Д=20∙260=5200 кг

Тоді кількість мішків буде:


Площа складу С-3 в мішках становитиме:


Приймаю 2 контейнери, об`ємом 26 шт. мішків в кожному.

Як склад добавок, приймаю закрите приміщення з розмірами в плані 5x6 м (з врахуванням проходів) і площею складу 30 м2.

5.4 Склад арматури

Умови зберігання арматурної сталі та арматурних виробів повинні виключати можливість їх корозії та забруднення. Зберігання бухт арматурної сталі, розсортованих за найменуванням прокату, марками та діаметром, передбачають у штабелях. Висота штабелів арматурної сталі у бухтах повинна бути не більше 1,5 м, а ширина проходу між ними - не менше їх висоти. Зберігання листової сталі та різновидів прокату чорного металу, що розсортовані за найменуваннями прокату, марками та товщиною, передбачають у штабелях та стелажах. Висота штабелів листової сталі повинна бути не більше 1,5 м. Слід передбачати обмежувачі для запобігання пошаровому зміщенню сталі. Зберігання пруткової арматурної сталі, розсортованої за найменуванням прокату, марками та діаметром, передбачають у пакетах на залізобетонних або дерев'яних підкладках. Зберігання готових арматурних виробів (зварені сітки, каркаси, петлі, закладні елементи і т. ін.) передбачають на спеціалізованих стелажах або у контейнерах.

При проектуванні складів арматурної сталі необхідно виконувати слідуючі вимоги: запас складу до 20-25 розрахункових робочих діб, склад повинен забезпечувати приймання арматурної сталі з напіввагонів і залізних платформ, зберігатися за видами і марками.

Площа складу:

А = Qдоб×Тзб×К/m,

де Qдоб - добова потреба в арматурі з урахуванням втрат, т;

Тзб - тривалість зберігання, діб;

К - коефіцієнт, що враховує проходи;- маса сталі, що розміщують на 1 м2, (т/м2);

При розрахунках використовуються норми технологічного проектування складів арматурної сталі, що наведені в таблиці 5.5.

 

Таблиця 5.5 Норми технологічного проектування складів арматурної сталі

№ п/п

Характеристики

Одиниці виміру

Норма проектування

1

Запас арматурної сталі

Доба

20…25

2

Маса металу, розміщеного на 1 м.кв. площі: · бухти · прокат

 т т

 1,2 3,2


Для сталі прокатного профілю:

А=4,4·20·3/3,2=82,5 ≈ 83 м2;

Для сталі у бухтах:

А=2,4·20·3/1,2=120 м2;

Враховуючи коефіцієнт на проїзди та проходи у складі kп= 3 приймаю критий склад площею А=83+120=203 м2, з розмірами 17×12 м.

 

5.5 Склад готової продукції

 

Напірні труби

Для зберігання напірних труб необхідно обрахувати площу складу з врахуванням норм технологічного проектування і умов зберігання виробів, забезпечення безпеки роботи.

Склади готової продукції на підприємствах залізобетонних виробів призначені для прийому і зберігання прийнятих відділом технічного контролю виробів до відвантаження їх споживачу залізницею або автотранспортом.

Склад готової продукції проектують як відкритий прямокутний майданчик, обладнаний підйомно-транспортними механізмами і розміщений біля торця виробничого корпусу. Складський майданчик повинен мати 1...2%-ні ухили у бік його зовнішнього контуру для стоку поверхневих вод.

З цеху на склад вироби подають у проектному положенні. Складська площадка має бетонне покриття і обладнана мостовими кранами. Зберігання готових виробів передбачається у штабелях. Для обпирання виробів під час зберігання передбачені інвентарні підкладки товщиною 100 мм, а поміж рядами виробів у штабелі - інвентарні прокладки. Напірні труби складуються у штабелі 6х4 (6 по довжині та 4 по висоті) у горизонтальному положенні.

Кількість виробів, що виготовляються на 1 годину складає:

Nвир/год= Qзб/Vв×Тріч×8×nзм

де Qзб - річна продуктивність цеху за завданням, м3/рік;в - кількість бетону в одному виробі, м3;

Тріч - річний фонд часу, діб;вир/год = 10000/ (0,76×253×8×2) = 3,25 ≈ 4 вироби

Площа складу готової продукції визначається за формулою:

А = k1×k2×k3×Qдоб ×Vвир×tзб/Qн ,

де k1 - коефіцієнт, що враховує браковану продукцію, яка зберігається на складі, k1=1,01 ;2 - коефіцієнт, який враховує збільшення площі складу на проходи, k1=1,5 ;3 - коефіцієнт, який враховує збільшення площі складу залежно від типу крана (для мостового крана 1,3);доб- кількість виробів, які надходять на склад за добу, шт ;зб - тривалість зберігання виробів на складі, діб (приймаю 7 діб);н - норма зберігання виробів на 1 м2, Qн =1,3 м3/ м2.

Vвир - об´єм виробу, Vвир=0,76 м3.

А = 1,01×1,5×1,3×64×0,76 ×7/1,3= 516 м2

Приймаю складський майданчик для напірних труб площею 516 м2 (22х24), додатково проектую майданчик для утилізації бракованих виробів площею 5х5 м2, розташований поблизу складованої бракованої продукції. Складський майданчик обладнаний мостовим краном.

Стінові блоки

Складський майданчик для стінових блоків приймаю згідно норм проектування.

Кількість виробів, що виготовляються на 1 годину складає:вир/год = 15000/ (0,0075×253×8×2) = 494 вироби

Площа складу готової продукції

А = 1,01×1,5×1,3×7904×0,0075 ×7/1,0= 816 м2

Приймаю складський майданчик для стінових блоків площею 816 м2 (34х24).

Загальна площа складу:

Загальна площа складу для труб та стінових блоків складає:

А=516+816=1332 м2

Приймаю складський майданчик площею 56х24 м2

6. Розрахунок бетонозмішувального цеху

6.1 Розрахунок бетонозмішувального цеху напірних труб та стінових блоків

Для приготування бетонної суміші за нормами технологічного проектування приймаємо бетонозмішувач примусової дії з автоматичним дозуванням складових. Вибір типу змішувача пояснюється використанням жорсткої бетонної суміші при виготовлені напірних труб (Ж=5-10с) та вібропресованих стінових блоків (Ж=30с). Число замісів в годину для даної суміші - 35, коефіцієнт виходу суміші - b = 0,67.

Об’єм готового замісу бетонної суміші визначаємо за формулою:


 - річний фонд часу;  год;= 1 - кількість бетонозмішувачів;= 0,8 - коефіцієнт використання змішувачів у часі;

 (л)

Вміст змішувального барабану по завантаженню:

 (л)

Приймаємо примусовий змішувач циклічної дії з вертикально розміщеними змішувальними валами СБ-35 з об’ємом готового замісу 375 л та вмістом при завантаженні 550 л, технічні характеристики якого наведені в таблиці 6.1.

Таблиця 6.1 Технічна характеристика циклічного змішувача примусової дії СБ-35

Характеристики

Значення

Об‘єм готового замісу, л

375

Місткість по завантаженню, л

550

Максимальна крупніють заповнювача, мм

40

Частота обертання робочого органу, хв-1

32

Потужність двигуна, кВт:

30

Габаритні розміри, м: · довжина · ширина · висота

 2,2 1,97 1,08

Маса, кг

2000


Річна потужність бетонозмішувального цеху буде складати :

 

що задовольняє вимогам вихідних даних.

Отже, для виготовлення бетонної суміші для напірних труб та стінових блоків проектую бетонозмішувальний цех, що включатиме 2 бетонозмішувачі СБ-35 - що забезпечать продуктивність виробництва, другий - на випадок ремонту.

Для визначення об’єму видаткових бункерів згідно норм технологічного проектування приймаємо по 2 відсіки для щебеню, піску, гранітного відсіву та цементу при їх запасі в бункерах на 2 години.

Витрати матеріалів на заміс бетонозмішувача складають:

 (кг);

 (м3);

 (м3);

 (м3).

Об’єм кожного відсіку для матеріалів складає:

 (м3);

 (м3);

 (м3);

 (м3).

Приймаємо для зберігання бункер у вигляді прямокутної призми.

Висота нижньої частини бункера у вигляді зрізаної піраміди становить:




Конструкційно приймаємо для цементу D = 2м, h1 = 2м, d = 1,5 м.

 (м);

Для піску приймаємо D = 3м, h1 = 1,5м, d = 1м і висота:

 (м).

Для щебеню приймаємо D = 4м, h1 = 1,5м, d = 1,5м і висота:

 (м).

Для гранітного відсіву приймаємо D = 4м, h1 = 1,5м, d = 2м і висота:

 (м).

Для дозування матеріалів приймаємо дозатори ДЦ-500, ДЖ-200, АВДИ-2400М технічні характеристики яких наведені в таблиці 6.2.

Таблиця 6.2 Технічна характеристика дозаторів

Характеристики

ДЦ-500

ДЖ-200

АВДИ-2400М

Доза, кг : найбільша найменша

500 100

200 40

1300 250

Цикл дозування, с

60

60

90

Похибка дузування,%

3

2

2

Місткість вагових бункерів, м3 , не менше

-

0,23

0,94

Розміри дозатора, мм : довжина ширина висота

1090 750 755

1090 750 935

1860 1850 1000

Маса дозатора, кг

135

140


Бетонозмішувальний цех запроектовано за вертикальною схемою. Він складається з п’яти відділень: надбункерного, бункерного, дозаторного, змішувального та видачі готової бетонної суміші. Зі складу щебінь та пісок подаються в надбункерне відділення за допомогою похило-горизонтального стрічкового конвеєру, а цемент подають в циклон пневматичним транспортом і потім розподіляють по відсікам гвинтовими конвеєрами. Видатковий бункер має шість відсіків - по 2 на цемент, щебінь, гранітний відсів і пісок. Для дозування цементу використовується дозатор ДЦ-500, для інертних- 3 дозатора АВДИ-2400М і для води - ДЖ-200. Цех обладнано бетонозмішувачем СБ-35. Готова бетонна суміш подається в розподільний бункер.

Враховуючи габаритні розміри устаткування в цеху, прийнято розміри цеху в плані 6х12 (72 м2) та висоту 26 м.

6.2 Розрахунок бетонозмішувального цеху товарного бетону

Для приготування бетонної суміші за нормами технологічного проектування приймаємо гравітаційний бетонозмішувач, число замісів в годину для суміші рухливістю 5-9 см, n=25, коефіцієнт виходу суміші b= 0,67. Об’єм готового замісу бетонної суміші :


Вміст змішувального барабану по завантаженню:

(л)

Приймаємо гравітаційний змішувач циклічної дії СБ-16 з об’ємом готового замісу 330 л та вмістом по завантаженню 500 л, технічні характеристики якого наведені в табл. 6.3.

Таблиця 6.3 Технічна характеристика циклічного гравітаційного змішувача СБ-16

Характеристики

Значення

Об’єм готового замісу, л

330

Місткість по завантаженню, л

500

Число циклів при виготовленні суміші, цикл/год

30

Найбільша крупність заповнювача, мм

70

Потужність двигуна обертання барабана, кВт

3

Габаритні розміри, мм : · довжина · ширина · висота

 2500 2700 2700

Маса, кг

1250


Річна потужність бетонозмішувального цеху буде складати :

3),

що задовольняє вимогам вихідних даних.

Для визначення об’єму видаткових бункерів згідно норм технологічного проектування приймаємо по 2 відсіки для щебеню, піску та цементу при їх запасі в бункерах на 2 години.

Витрати матеріалів на заміс бетонозмішувача складають:

(кг)

3)

3)

Тоді об’єм кожного відсіку для матеріалів складає:

3)

3)

3)


Приймаємо для зберігання бункер у вигляді прямокутної призми.

Конструкційно приймаємо для цементу D=2 м, h1=1,5 м, d=0,5 м.

Тоді висота h2 за формулою буде дорівнювати:

(м)

Конструкційно приймаємо для піску D=2 м, h1=2 м, d=1 м.

(м)

Конструкційно приймаємо для щебеню D=3 м, h1=2 м, d=1 м.

(м)

Для дозування матеріалів приймаємо дозатори ДЦ-500, ДЖ-200, АВДИ-2400М технічні характеристики яких наведені в таблиці 6.2.

7. Проектування арматурного цеху

Армування залізобетонних конструкцій - це відповідна стадія технологічного процесу виготовлення збірних залізобетонних конструкцій, від якості виконання якої залежить їхні несуча здатність і довговічність.

Бухти і прокатний профіль зберігаються на складі цеху, який розрахований на 20 - 25 діб запасу. Тут вони складуються і зберігаються. Склад атматурної сталі обладнаний мостовим краном для переміщення прутків та бухт дроту на пости армування. Між штабелями влаштовані проходи шириною 1,2 м для проходу робітників та стропальщиків мостового крана. При виготовленні напірних труб дріт змотують з бухт і механізмом подавання протягується крізь гальмівний пристрій, а потім проходить через систему блоків з вантажем, де здійснюється механічне натягання. Електроконтактами для нагрівання дроту є гальмівний пристрій та намотувальна каретка, яка пересувається вздовж виробу.

Рис.7.1. Схема намотування спіральної арматури на осердя труби 1 - передня бабка; 2 - осердя труби; 3 - пересувна каретка; 4 - задня бабка; 5 - натягувальний пристрій; 6 - гальмівний ролик; 7 - правильний пристрій; 8 - бухта з роликом

Річна продуктивність по залізобетонним виробам - 10000 м3 бетону/рік. Звідси кількість виробів на рік складає:

 шт/рік

Необхідно зазначити, з економічних міркувань варто відмовитись від арматурного цеху, оскільки всі операції по армуванню виробу виконуються на посту формування. Тому доцільно передбачити місце складування необхідної кількості арматури у формувальному цеху при транспортуванні її з арматурного складу. Дані про необхідну кількість арматурних елементів наведені в табл. 7.1.

Таблиця 7.1 Розрахунок площі складу

Вид арматури

Потреба з урах. втрат, т

норма зберіг ст. на 1м2, т

Показники складу


річна

добова

без урахування проходів

з урахуванням проходів

Площа складу на 1 добу, м2

Площа складу на 10 діб, м2.

Площа складу, м2

бухти

597,854

2,363

1,2

0,4

5,908

59,08

104

прокат

1113,957

4,403

3,2

1

4,403

44,03


всього





Σ=10,311

Σ=103,11



Таким чином, для складування арматурної сталі приймаємо складський майданчик розміром в плані 9´12 м, розміщений у формувальному цеху.

Обладнання, що використовується для підготовки арматурних елементів: установка СМЖ - 588А та МТМК 3х100-4. Установка СМЖ-588 А призначена для правки і різання арматурної сталі гладкого і періодичного профілю з границею текучості до 40 кгс/мм2 і тимчасовим опором до 60 кгс/мм2, що надходить в бухтах, на прутки довжиною від 1,5 до 6 м, діаметром від 4 до 8 мм гладкого і від 4 до 6 - періодичного профілю. Установка складається із снака, прийомного пристрою, електрообладнання з пристосуванням для заправки. Технічні характеристики СМЖ-588А на ведені в табл.7.2

Таблиця 7.2

Характеристики

Значення

Діаметр арматурної сталі, що перероблюється, мм · гладкого профілю · періодичного профілю

 4-8 4-6

Довжина заготівельних прутків, м

1500-6000

Точність різання прутків (при номінальній довжині 6000 мм), мм

± 2

Швидкість правки арматури, м/хв.

63;90

Потужність електродвигуна, кВт

13

Габаритні розміри, мм

12100х1500х1210

Маса, кг

1900


Станок СМЖ-88 призначений для виготовлення спіральних каркасів із напружуваної арматури для технологічної лінії по виготовленню залізобетонних напірних труб методом віброгідропресування.

На направляючі ротора вкладаються розділові смуги з виштампованими на спеціальному станку (СМЖ-94) язичками і закріпляються зажимами. Смуги вкладаються так, щоб язички були розміщені по гвинтовій лінії, що має крок, рівний кроку намотування спіралі. Після укладки і закріплення всіх смуг намотують спіраль.

Таблиця 7.3

Характеристики

Значення

Продуктивність станка, каркасів/зміну

7-10

Діаметр труб, мм арматури, що навивається

500,700,900,1000,1200 3;4;5;6

Довжина каркасу,мм

515-5165

Крок спіралі, мм

14,02-19,02

Швидкість подачі арматури, м/хв.

11-150

Встановлена потужність, к Вт

10,5

Габаритна розміри, мм Довжина Ширина Висота

 9490 3045 1080

Маса, кг

10436


Установка СМЖ-94-призначена для виготовлення розділових смуг для спіральних каркасів напірних залізобетонних труб. Сталева розділова смуга являється монтажною деталлю і слугує для незмінності кроку навивки спіральної арматури і просторової жорсткості спірального каркасу.

Технічні характеристики СМЖ-94 на ведені в табл. 7.4

Таблиця 7.4

Характеристики

Значення

Прес: Тип Номінальне зусилля, тс Хід повзуна, мм Частота обертання, об./хв.

 К-2320 10 18 170

Встановлена потужність, кВт

1,7

Швидкість подачі, м/хв.  найбільша найменша

 7,20 5,45

Тиск повітря, кгс/см2

5-6

Габаритна розміри, мм Довжина Ширина Висота

 2000 1275 1915

Маса, кг

1217


Машина 6873/1М призначена для холодної висадки кінців високоміцного дроту. Технічні характеристики машини 6873/1М наведені в табл. 7.5

Таблиця 7.5

Характеристики

Значення

Діаметр арматурного дроту, мм

4-6

Границя міцності арматурного дроту, кгс/мм2

180

Число ходів пуансона на хв.

20

Робочий хід пуансона, мм

6

Встановлена потужність, к Вт

2,8

Габаритна розміри, мм Довжина Ширина Висота

 1220 700 1254

Маса, кг

520


8. Проектування формувального цеху

8.1 Розрахунок продуктивності ліній

 

Напірна труба

На агрегатно-потоковій лінії виробництва залізобетонних конструкцій всі частини процесу здійснюються на спеціалізованих постах‚ обладнаних машинами для виконання відповідних робіт. При цьому забезпечується пропорційність і паралельність процесів. Бетонна суміш постачається до лінії бункерами, а арматурні вироби самохідними візками. Форми з виробом для виконання всіх стадій послідовно переміщуються мостовим краном з поста на пост. Готова продукція транспортується на склад.

При виготовленні напірних труб виконуються наступні стадії: розпалублення виробу‚ очищення і змащення форм; армування; формування виробу; прискорення тверднення бетону.

Визначимо ритм роботи лінії. Ритм лінії залежить від об’єму бетону в виробі‚ розмірів та складності його виготовлення. Приймаємо ритм роботи лінії, Тр=15 хв.,згідно з ДБН А.3.1-8-96, ст. 10, табл. 7.1. Тоді кількість труб‚ які формуються за годину при заданому ритмі роботи лінії 15 хв становить:

шт.

Кількість труб‚ які формуються за добу:

шт.

де Nз - кількість змін (2) ;

Тз - тривалість зміни (8 год.).

Річна продуктивність лінії:

 м³/рік‚

де Vб - об’єм бетону на виріб, м3.

Необхідна кількість ліній: n = Qз / Прл = 10000/12306 = 0,8

де Qз - плановий випуск напірних труб за рік.

Для випуску виробів заданої номенклатури приймаємо одну агрегатно-потокову лінію з середньорічним ритмом роботи 15 хв.

Тривалість теплової обробки, що відбувається у формі, кожух якої наповнюється гарячою водою, становить Тто=17,5 год, згідно ДБН А.3.1-8-96, с. 12, табл. 7.2.

Тривалість обороту форми враховує час‚ необхідний на виконання всіх стадій виготовлення виробу:

Т0рафто

Де Тр-тривалість стадії розпалублення труби, очищення і змащення форми,

Тр = Тr =15 хв;

Та - тривалість армування піддонів напружуваною арматурою. Значення Та приймається з умови тривалості нагрівання і охолодження стержнів: Та = 3∙Тr =45 хв

Тф - тривалість формування, Тфr = 15 хв;

Тто- тривалість ТО, Тто = 17,5 год = 1050 хв.

Т0 = Трафто = 15+45+15+1050 = 1125 хв.

Коефіцієнт оборотності форми: Кфо = Nт·Тз·60 ⁄ Т0=3·8·60 ⁄ 1125=1‚28об/добу.т - кількість змін роботи відділення ТО (3 зміни);

Тз - тривалість робочої зміни (8 год.).

Приймаємо Кфо = 1 об/добу.

Кількість форм‚ що знаходиться в експлуатації визначаються за залежністю:фе = Nз·Тз·60 /(Tr· Кфо) = 2·8·60/(15·1)=64 шт.

Стінові блоки

Стінові блоки виготовляються шляхом приготування жорсткої бетонної суміші, подачі її до вібропресу, формування блоків через матрицю за допомогою пуансонів.

За продуктивністю для стінових блоків підбираю вібропрес типу HZS25, продуктивністю 11 м3/год, при необхідній 3,7 м3/год . Технічні характеристики пресу подані нижче.

8.2 Основне технологічне обладнання формувального цеху

 

Напірні труби

Основний формівний агрегат для виготовлення напірних залізобетонних труб методом віброгідропресування складається із зовнішнього кожуха і внутрішньої серцевини із гумовим чохлом. Зовнішніх кожух представляє собою складений циліндр з поздовжнім роз’єднанням, що складений із 2 чи 4 сталевих зігнутих листів. До кожуха приварені ребра жорсткості.

Частини кожуха закріплюються за допомогою фланців болтів зі пружинами. Стики форм ущільнюють клеючою стрічкою. Внутрішня серцевина складається з двох сталевих циліндрів: площинного і дірчастого, а також гумового чохла, котрий одягнений на дірчастий циліндр. Між зовнішнім і внутрішнім циліндрами передбачений кільцевий зазор 6 мм, який при пресуванні бетонної суміші заповнюється водою.

Характеристики форми для напірної труби наведені в табл. 8.1.

Таблиця 8.1 Технічні характеристики форм для виготовлення віброгідропресованих труб

Характеристики

Значення

1

Діаметр умовного проходу труби, мм

600

2

Максимальний опресовочний тиск, МПа

3,8

3

Число роз'ємів зовнішньої форми

2

4

Маса, кг

4000


На зовнішній циліндр серцевини одягнений гумовий патрубкоутворювач в сталеве ущільнююче кільце. В патрубок встановлюється упорне патрубкове кільце, і крізь його отвори пропускають прутки повздовжньої арматури прив’язуючи їх дротом до спірального каркасу. Кільце прикріплюють до форми фіксаторами. Повздовжні прутки натягують за допомогою гідродомкрата. При цьому прутки центрують спіральний каркас. На підготовлену в вертикальному положенні серцевину встановлюють за допомогою крана зовнішній кожух форми. На кожух форми прикріплюють декілька пневматичних вібраторів в залежності від розмірів труби. Установка для приготування і нанесення мастила на форми приймається для забезпечення змащування усіх форм, що знаходяться в обороті. Технологічні характеристики на ведені в табл. 8.2.

Таблиця 8.2 Технічні характеристики установки СМЖ-18А

Характеристики

Значення

1

Продуктивність, м3/год

0,115

2

Корисний об’єм баку, м3

0,44

3

Потужність, кВт

6,8

4

Габаритні розміри, мм: довжина ширина висота

 2500 2100 2190

5

Маса, кг

2630


Технічні характеристики резонансної віброплощадки з горизонтально-направленими коливаннями наведені в таблиці 8.3

Таблиця 8.3 Технічні характеристики пневматичних віброплощадки СМЖ-280

№ п/п

Характеристики

Значення

1

Вантажопідйомність, т

0,45

2

Амплітуда коливань, мм


3

Число коливань за хв.


4

Статичний момент кг·см


5

Число вібролотків


6

Потужність, кВт

19

7

Привод кріплення форм

пневматичний

8

Час опрацювання б.с. - при жорсткості б.с 30 с - при Ж до 60с

 1-2 3

9

Розміри: - найбільших формівних виробів в плані, м х м - товщина для важкого бетону

 3,1х7,2 200

10

Габаритні розміри віброплощадки, мм: - довжина - ширина - висота

 9676 3206 1133

11

Маса, кг: - загальна - віброгрупи

 6800 675


Бетону суміш подають через завантажувальний конус за допомогою шнекового бетонороздавача СМЖ-306, технічні характеристики якого наведені в табл.8.4 Заповнену бетоном форму переносять мостовим краном на пост пресування, де її закріплюють в вертикальному положенні і підводять до водопроводу. В комплекс обладнання для гідропресування входить установка високого тиску, що складається з двох балонів тиску об’ємом 410 л кожен, двух насосів - високого і низького тиску, компресора, резервуару низького тиску і 4 електроконтактних манометрів.

Теплова обробка труб виконується шляхом накривання брезентовим ковпаком і пуску гострої пари в глиб внутрішньої частини форми.

Таблиця 8.4 Технічні характеристики шнекового бетонороздавача СМЖ-306

Характеристики

Значення

1

Продуктивність, м3/год

37,5

2

Швидкість руху, м/хв.: срічки живильника бетонороздавача

 70,8 11,7

3

Кут повороту стріли навкруги вертикальної осі, рад.

120

4

Ширина стрічки живильника, мм

500

5

Найбільша відстань від осі загрузки до осі вигризки, мм

4500

6

Потужність, кВт

4,5

7

Габаритні розміри, мм: довжина ширина висота

 9200 5700 2400

8

Маса,кг

7000


Для переміщення форми з виробом використовуємо мостовий кран К10т, вантажопідйомністю 10 тон.

Стінові блоки

Технічні характеристики вібропресу наведені в табл. 8.5.

Таблиця 8.5 Технічні характеристики вібропресу типу HZS25

Характеристики

Значення

1

Модель

4-20

2

Потужність, кВт

31,1

3

Розмір, мм

6920×1670×2740

4

Розмір піддона, мм

880х535

5

Продуктивність (на 8 год), м3

81

6

Кількість піддонів (на 8 год), max, шт

1440

7

Комплектація лінії

В, П, О1, Б

8

Маса,кг

6800


Комплектація: В - вібропрес, гідростанція, транспортер подачі піддонів, транспортер прийому піддонів, пульт керування; П - комплект піддонів на одну зміну, О1 - 1 комплект формоуворювального оснащення по вибору замовника,  Після вібропресу блоки в готовому вигляді виходять на дерев’яних піддонах, транспортуються передавальним візком у спеціальні камери витримування, без додаткової тепловологісної обробки.

Технічні характеристики передавального візка СМЖ-7 для поперечної передачі піддонів наведені в табл. 8.6

Таблиця 8.6 Технічні характеристики передавального візка СМЖ-7

№ п/п

Характеристики

Значення

1

Вантажопідйомність, кг

7000

2

Швидкість руху, м/с

0,15

3

Колія, мм

2200

4

Габаритні розміри, мм довжина ширина висота

 4415 2060 610

5

Маса, кг

2050

9. Архітектурно-будівельне рішення та проектування генплану

 

9.1 Проектування генплану


Проектування генплану здійснюється відповідно до СНиП ІІ-89-80. На розбивочному плані вказуються основні будівлі, асфальтовані площадки, автомобільні і залізничні дороги, озеленення на території підприємства.

·        здійснене максимально можливе блокування виробничих будівель і споруд (формувальний цех, арматурний цех, склад готової продукції, бетонозмішувальний цех, склад цементу,) і адміністративно-побутових;

·        групування усіх складських споруд по лінії залізниці;

·        коефіцієнт забудови території підприємства перевищує 50%, а коефіцієнт озеленення перевищує 15%;

·        передбачено автомобільні в´їзди і кільцеву розв´язку автомобільних шляхів;

·        максимально усунено перетин людських і матеріальних потоків, зменшена довжина шляхів їх протікання;

·        забезпечена наявність пожежних резервуарів на території;

На генеральному плані представлені наступні споруди:

- склад заповнювачів;

-        силосний склад цементу;

-        бетонозмішувальний цех;

-        склад арматурної сталі;

-        формувальний цех;

-        склад готової продукції;

-        трансформаторна підстанція;

-        компресорне відділення;

-        побутові приміщення;

-        адміністрація;

-        контрольно-вимірювальна лабораторія;

-        стоянка для автомобілів;

-        їдальня, кімнати для відпочинку;

-        підсобні приміщення;

-        КПП ;

-        медичний корпус ;

-        місце для відпочинку ;

-        склад горюче-змазуючих матеріалів;

-        пожежні резервуари.

 

9.2 Архітектурно-будівельне рішення

 

Виробничий корпус - одноповерхневий виробничий будинок, який складається з виробничого (масозаготівельного) відділення.

В будівлі розташовується лінія по виробництву напірних віброгідропресованих труб та стінових блоків, а також виготовлення товарного бетону В30. Лінія розрахована на випуск 10 тис.м3/рік напірних труб, 15 тис. т/рік стінових блоків, 25тис. м3/рік товарного бетону. Розміри прольоту в плані 500´300 м, висота до низу балочних конструкцій 13 м, крок колон 12 м. Також такий крок дозволяє раціонально розмістити обладнання в цеху. Розміри будівлі прийняті такими, що є достатніми і компактними для забезпечення необхідного технологічного процесу.

Несучі конструкції. Обґрунтування їх вибору.

Конструктивна схема будівля являє собою повний каркас. При проектуванні будівлі були обрані залізобетонні конструкції у зв’язку із такими перевагами: невеликий час монтажу, транспортні витрати при доставці елементів каркасу на будівельний майданчик, простота у влаштуванні, не піддаються корозії на відміну від металевих конструкцій, більш гігієнічний вигляд. Просторова жорсткість будівлі в повздовжньому напрямку забезпечується фундаментними балками, а також фермами і плитами перекриття, що утворюють просторовий жорсткий диск. В будівлі прийнято конструктивну схему з шарнірними з’єднаннями ригеля і рами, з колоною і жорсткою заробкою колон в фундаменті. При такому з’єднанні можлива незалежна типізація ригелів і колон , так як в цьому випадку навантаження прикладено до одного з елементів не виникає згинаючого моменту в другому.

В даній будівлі використовуємо збірні фундаменти. Параметри фундаментів визначаємо в залежності від навантаження і ґрунтових умов.

Колони приймаємо уніфіковані, суцільні, залізобетонні, одновиткові прямокутного перерізу. Заробка колон нижче нульового рівня - 0,5м.

В якості несучих конструкцій покриття використовуємо коротку циліндричну оболонку розміром 12´18 м. У конструкцію оболонки входить ферма-діафгафма прольотом 18 м, плити покриття 3´12 м. Конструкція ферми - діафрагми являє собою сегментну ферму, її різновид а плити покриття є ребристими.

До конструкції оболонки ще входять 2 добірні елементи - бортові елементи розміром 0,28´12 м.

Реально існуючий цех виробництва залізобетонних виробів має площу 150000м2, сітку колон 24´12 і висота до низу ферми 13 м. Тут використовуються: фундаменти - збірні залізобетонні блоки, цегляні стіни, збірні залізобетонні плити та покриття, рулонна покрівля.

Огороджуючі конструкції. Обґрунтування прийнятих конструкцій.

Враховуючи температурно-вологий режим і зовнішньо-кліматичні умови району будівництва , архітектурну композицію будівлі, техніко-економічну ефективність огороджуючих конструкцій доцільно використати арматурно-бетонні панелі товщиною 25мм, довжиною 12 м. В місцях де встановлюються ворота, дану ділянку виконують цегляною з утеплювачем товщиною 380 мм. Заповнення горизонтальних і вертикальних швів стінових панелей виконані цементно-піщаним розчином марки М 50 з прокладанням герметика на мастиці.

Цегляні вставки в торцевих і бокових частинах будівлі виконані з суцільної кладки з перев’язкою швів. Цегла керамічна глиняна марки М 75, розчин цементно-піщаний марки М 50. Проти напірну горизонтальну гідроізоляцію стін виконано із двох шарів руберойду та бітумній мастиці. В якості утеплювача використовуємо пінополіуретан товщиною 100 мм.

Фундаменти під колони - залізобетонні стовпчастого типу, глибина закладання фундаменту 1,8 м.

Колони - залізобетонні суцільні довжиною 8,4 м, переріз підкранової частини 400´600 мм, та квадратного перерізу 400´400 мм по серії 1.424.1.

В цегляних вставках шириною 380 мм в пройомах дверей та воріт перемички по серії 1.038.1-161.

Підлога в цеху виконана з бетону В 15 товщиною 150 мм на щебеневій підготовці.

Фундаментні балки - залізобетонні трапецоїдного перерізу довжиною 12м.

Існуючий завод складається з таких огороджуючих конструкцій: покриття - профільтрований настил (ГОСТ 24.04.5-86), стіни - панелі стінові трьохшарові з обшивкою із стальних профільованих листів товщиною 0,1 мм і мінераловатним утеплювачем. Стіни пропускного пункту - цегляні, покриття - збірні залізобетонні плити, покрівля - рулонна.

Вікна виконані з віконних блоків із розмірами 4820´3620 мм та 4820´1220 мм по ГОСТ 12.50.6-71.

Двері розмірами 2380х1020 мм по ГОСТ 14.62.4-84, ворота розміром 3,4х4,8 м по ГОСТ 18.85.3-73 та 3,6х3,6 м.

Висновок

В процесі проектування підприємств для виробництва бетонних і залізобетонних виробів необхідно керуватися вимогами чинних стандартів, норм і правил з техніки безпеки, пожежної та пожежно-вибухової безпеки і виробничої санітарії.

Основні вимоги охорони праці, які необхідно ураховувати під час проектування тієї чи іншої технологічної переробки або процесу, наведені у відповідних розділах даних норм.

Виробництво залізобетонних виробів необхідно розміщувати у приміщеннях, які відносяться до основних категорій вибухової, пожежовибухової та пожежної небезпеки з урахуванням класу приміщень за правилами улаштування електроустановок /ПУЕ/.

Санітарно-гігієнічні умови праці (температура, відносна вологість та рухливість повітря, його запиленість і загазованість, рівень вібрації (загальної і локальної) та освітлення на робочих місцях належить приймати у межах вимог.

Вимоги безпеки до допоміжних цехів, дільниць і відділень приймають за відповідними нормами, що затверджені в установленому порядку.

Витяжна вентиляція повинна бути місцевою і загальнообмінною. Місцеві відсмоктувачі повинні передбачатися для кожної одиниці обладнання або робочого місця, де є виділення шкідливих речовин.

Згідно з санітарними нормами проектування промислових підприємств, установлюють допустимі концентрації пилу у повітрі виробничих приміщень залежно від її токсичності. Для пилу цементу, глини, мінералів та їх сумішей, які не містять в собі вільного діоксиду кремнію, це величина встановлена в межах 6 мг/м3 . для пилу, який містить менше ніж 10 мг/м3 діоксиду кремнію, гранична концентрація встановлена 4 мг/м3 , понад 10% - 2 мг/м3 . Такий пил утворюють наприклад різні мінеральні додатки, цементи тощо. З метою зменшення пилоутворення, зменшують кількість пило утворювальних операцій, технологічні кожухи з отворами, які щільно закриваються, переходять на закриті силосні склади.

До найбільш ефективних апаратів для очищення відхідних газів агрегатів відносять горизонтальні трипольні фільтри. При оптимально підібраному режимі такі електрофільтри працюють зі ступенем очищення газів 99,3…99,5%. При цьому кількість газів і пилу, який викидається в атмосферу становить ≤5…10кг/год, а запилення газів на виході з електрофільтра знаходяться в межах 0,07…0,09г/м3 , що відповідає санітарним нормам.

Для утворення нормальних умов праці всі виробничі приміщення потрібно забезпечити системами штучної та природної вентиляції. Цьому, великою мірою, також сприяє відсмоктування повітря з бункерів, зсипників, подрібнювально-помельних механізмів та інтенсивності пило виділення рекомендують такі об’єми повітря, м3 /год, відсмоктуваної від:

·        бункерів 500…1000

·        місце завантаження матеріалів 300…3500

Місцеві відсмоктувачі залежно від своєї конструкції уловлюють 75-90 % виділень шкідливих речовин. 10-25 % виділень, що залишилися в приміщенні, повинні розбавлятися за допомогою загальнообмінної вентиляції до гранично допустимих концентрацій (ГДК), рівні яких представлені у ГОСТ 12.1.005.

Інтенсивність шуму, який виникає при роботі багатьох механізмів на підприємствах характеризуються інтенсивністю, яка перевищує допустиму норму (90 дБ). До заходів щодо зниження шуму біля робочих місць відносять застосування демпфірувальних прокладок ах, сталевих плит гумами, покриття шумоізолюючими матеріалами, кожухами.

Всі струмовивідні частини повинні бути ізольовані, а металеві частини механізмів і апаратів заземлені на випадок пошкодження ізоляції.

Умови безпеки праці повинні відповідати "Єдині правила техніки безпеки на підприємствах будівельної індустрії".

Основні положення: чищення і змащення форм повино проводитись в спецодязі. При супроводженні виробу робітники повинні знаходитись на відстані не менш 2 м від виробу. При роботі під час тепловологісної обробки потрібно дотримуватись правил безпеки праці з тепловими агрегатами.

Конструкція форм для труб повинна забезпечувати безпеку її експлуатації, технічного обслуговування і ремонту. Вона повинна передбачати застосування в процесі експлуатації захисних пристроїв для обслуговуючого персоналу, що оберігає його у разі обриву арматури. Кожухи пружинних болтів повинні бути надійно прикріплені до зовнішньої форми гнучким зв'язком, що виключає можливість травматизму персоналу при розриві штока. Збірка секцій зовнішньої форми без фіксації їх щодо один одного спеціальними штифтами категорично забороняється. З'єднання секцій зовнішньої форми слід проводити тільки пружинними болтами, відтаврованими для даного діаметру. При проведенні операцій кранів стропування форми допускається проводити тільки за пристрої, призначені для цієї мети. При виготовленні і експлуатації форми повинні виконуватися вимоги системи стандартів безпеки праці, інструкцій і документів, розроблених і затверджених в установленому порядку.

В проектуємому цеху з виробництва напірних труб і стінових блоків в результаті літературного огляду виявленні наступні групи небезпеки:

. небезпеки, пов’язані з завантажувально-розвантажувальними роботами;

. небезпеки, що можуть виникнути при роботі віброобладнання та інші.

Згідно з виявленними потенційними небезпеками запроектовані слідуючі заходи з охорони праці і технології бетону в проектуємому цеху:

майданчики для навантажувальних і розвантажувальних робіт повинні бути з ухилом не > 5о;

строповку вантажів слід виконувати тільки інвентарними стропами або спеціальними вантажозахватними пристроями, виготовленими по затвердженому проекту. Способи строповки повинні передбачати можливість падіння або ковзання застропованого вантажу;

укладання вантажів на транспортні засоби повинне забезпечувати їх стійке положення при транспортуванні і розвантаженні;

при виконанні робіт із заготовки арматури необхідно:

а). огородити місця, призначенні для розмотування бухт і виправлення арматури;

б). при різанні стержнів арматури правильно-відрізними станками довжиною менше 30 см застосовують засоби для попередження їх розлітання;

в). огородити робочі місця при обробці стержнів арматури, що виступають за габарити верстата;

г). закривати щитами торцеві частини стержнів арматури в місцях загальних проходів, що мають ширину менше 1 м.

при виконанні робіт з натягу арматури необхідно:

а). встановити в місцях проходів працюючих захисні огородження висотою не менше 1,8 м;

б). обладнати пристрої для натягу арматури звуковою сигналізацією, що починає працювати при включенні приводу натягуючого агрегата;

при виробництві з застосуванням бетонної суміші на хімічних добавках необхідно вживати заходи з попередження опіків шкіри та пошкодження очей робітників;

при роботі з вібромайданчиками необхідно:

а). періодично перевіряти працездатність вібромашин;

б). забороняється робітникам знаходитись і виконувати роботи на вологій бетонній масі з працюючими віброобладнаннями.

Відповідно до вимог СНиП 1.02.01-85 до складу проекту повинен входити розділ з охорони природного середовища, що містить дані, які характеризують природний стан водойм, атмосферного повітря та грунту. Цей розділ повинен розроблятися відповідно до вимог ГОСТ 17.2.3.02, СНиП ІІ-89-80. У розділі повинні бути представлені заходи щодо охорони атмосферного повітря у вигляді пояснювальної записки та графічних матеріалів. Увесь проект повинен пройти екологічну експертизу.

В ході розроблення проектів нових і розширення діючих підприємств та цехів необхідно комплексно вирішувати питання аспірації і знепилювання технологічного обладнання для усіх переробок виробництва, в тому числі уже існуючого, яке не зачіпається реконструкцією, з виконанням вимог нормативних документів.

Усі технологічні процеси виробництва виробів, котрі пов'язані з вивантаженням, транспортуванням, дробленням, дозуванням, помелом матеріалів, які пилять, та обробкою готових виробів, повинні бути максимально механізовані та автоматизовані, а обладнання оснащене герметичними укриттями з підключенням їх до системи аспірації та знепилювання.

При проектуванні підприємств слід дотримуватися вказівок щодо аспірації та знепилювання технологічного і транспортного обладнання.

метою забезпечення безстічного виробництва слід передбачати локальні очисні споруди для очищення води, що використовується для промивання технологічного обладнання та інших потреб, і вміщує різні домішки (частинки цементу, масла, мастила і т. ін.), до концентрацій, за яких вона знову може надходити для технологічних потреб.

Важливими екологічними завданнями виробництва матеріалів є комплексне використання сировини, широке застосування промислових відходів інших галузей промисловості, утилізація уловленого пилу.

Список використаної літератури

1. Дворкін Л.Й., Безусяк О.В., Дворкін О.Л., Гарніцький Ю.В. Технологія проектування підприємств збірного залізобетону: Навчальний посібник / За ред. проф., д.т.н. Л.Й. Дворкіна, - Рівне: РДТУ, 2011. - 153 с.

. Русанова Н.І., Пальчик П.П., Рижанкова Л.М. Технологія бетонних і залізобетонних конструкцій: Підручник. - К.: Вища шк., 1994. - ч.2. -334с.

. ДБН А.3.1-7-96. Виробництво бетонних і залізобетонних виробів. - К.: Держ. комітет України у справах містобудівництва та архітектури. - 2011.

. ДБН А.3.8-96. Проектування підприємств по виробництву збірних бетонних виробів. - К.: Держ. комітет України у справах містобудівництва та архітектури. - 1998.

. Посібник до ДБН А.3.1-7-96. Виробництво бетонних і залізобетонних виробів. - К.: НДІБВ. - 1998.

. Номенклатурный перечень оборудования технологических линий для производства сборного железобетона. - М.: Гипростоймаш, 2007. - 187 с.

. Справочник по производству сборных железобетонных изделий. Бердичевский Г.И., Васильев А.П., Иванов Ф.И. и др. / Под ред. Михайлова К.В., Коральова К.М. - М.: Стройиздат, 1982. - 400 с. школа, 1983. - 271 с.

8. ДСТУ Б.В.2.5.-48:2010 «Труби залізобетонні напірні віброгідропресовані»;

9. ДСТУ Б.В.2.7-7:2008 «Вироби бетонні стінові дрібно штучні. Технічні умови».

10. Шихненко И.В. Краткий справочник инженера-технолога по производству железобетона. Изд. 2-е перераб. и доп. - К.: Будівельник, 2011. - 296 с.

. Строительные машины. Справочник. В 2-х т. Под ред Баумана В.А. и Лапира Ф.А. Т. 2. Оборудование для производства строительных материалов и изделий. Изд. 2-е перераб. и доп. - М.: Машиностроение, 2007. - 496 с

ДОДАТОК

 

Техніко-економічні показники підприємства


Основні техніко-економічні показники підприємства, що проектується

№ з/п

Найменування показників

Одиниця виміру

Числові значення

1.  

Річний об’єм випуску продукції: Товарний бетон Стінові блоки Напірні труби

 м3/рік м3/рік м3/рік

 25 000 15 000 10 000

2

Кількість робітників

чол.

48

3

Виробнича площа

м2

2712

4

Випуск продукції на одного робітника

м3/чол∙рік

1041,66

5

Зйом продукції з 1 м2 :

м32∙рік

18,44

6

Загальна потужність потокоприймачів

кВт

594,9

7

Енергоємність з 1 м3 продукції:

кВт/м3

0,012


Техніко-економічні показники генплану

№ п/п

Показник

Значення

1

Площа підприємства, м2

27600

2

Площа забудови

17604

3

Площа озеленення, м2

4912,8

4

Коефіцієнт забудови, %

63,78

5

Коефіцієнт озеленення, %

17,8


Похожие работы на - Організація нового виробництва на заводі залізобетонних виробів в м. Рівне

 

Не нашли материал для своей работы?
Поможем написать уникальную работу
Без плагиата!
Без нейросетей!