Исследование динамики механической системы

  • Вид работы:
    Курсовая работа (т)
  • Предмет:
    Физика
  • Язык:
    Русский
    ,
    Формат файла:
    MS Word
    433,24 Кб
  • Опубликовано:
    2015-04-04
Вы можете узнать стоимость помощи в написании студенческой работы.
Помощь в написании работы, которую точно примут!

Исследование динамики механической системы

Министерство образования и науки Российской Федерации

Федеральное государственное бюджетное образовательное учреждение

высшего профессионального образования

Амурский государственный университет (ФГБОУ ВПО "АмГУ")









Курсовая работа

Исследование динамики механической системы

Задание к курсовой работе

. Тема работы: Исследование динамики механической системы

. Срок сдачи студентом законченной работы: до 20.12.2012 г.

. Исходные данные к работе "Исследование динамики механической системы": Схема 2, номер условия 7.

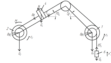
Механическая система состоит из однородных ступенчатых шкивов 1 и 2, обмотанных нитями, грузов 3 - 6, прикрепленных к этим нитям и невесомого блока. Система под действием сил тяжести приходит в движение из состояния покоя. Начальное положение системы показано на рисунке 1.=10, G2=20, G3=0, G4=40, G5=0, G6=30, M=0,6Hм. , , , , , , .

. Содержание работы (перечень подлежащих разработке вопросов): Необходимо определить законы, скорости, ускорения движения всех тел, силы натяжения в ветвях нити, силу трения, кинетическую энергию механической системы, работу сил при заданном перемещении, главный вектор сил инерции, скорость и ускорение центра масс системы, главный вектор внешних сил, действующих на систему, количества движения механической системы.

. Дата выдачи задания 25.09.2012 г.

Задание принял к исполнению 25.09.2012 г.

Реферат

Курсовая работа содержит 25 с., 5 рисунков, 17 таблиц, 5 источников.

Механическая система, дифференциальное, уравнение, сила инерции, кинетическая энергия, количество движения, возможное перемещение.

В работе представлено пять методов исследования движения механической системы:

) дифференциальные уравнения движения механической системы;

) теорема об изменении кинетической энергии в интегральной форме;

) общие уравнения динамики;

) уравнение Лагранжа II рода;

) теорема о движении центра масс и теорема об изменении количества движения.

Целью курсовой работы является исследование динамики механической системы различными методами.

Содержание

Введение

1. Применение дифференциальных уравнений к исследованию движения механической системы

. Применение теоремы об изменении кинетической энергии к исследованию движения механической системы

3. Применение принципа Лагранжа-Даламбера или общего уравнения динамики к исследованию движения механической системы

4. Применение уравнения Лагранжа второго рода к исследованию движения механической системы

5. Применение теоремы о движении центра масс и теоремы об изменении количества движения к исследованию движения механической системы

Заключение

Библиографический список

Введение

Изучение теоретической механики как одной из фундаментальных физико-математических дисциплин играет важную роль в подготовке специалистов по механико-математическим и инженерным механическим направлениям. Оно позволяет будущим специалистам не только получить глубокие знания о природе, но и вырабатывает у них необходимые навыки для решения сложных научных и технических задач, для которых требуется построение математических моделей разнообразных механических систем, развивает способности к научным обобщениям и выводам. Для закрепления навыков самостоятельного решения задач механики, выполняется курсовая работа, в которой проводится комплексный анализ движения системы.

. Применение дифференциальных уравнений к исследованию движения механической системы

Применяя дифференциальные уравнения механической системы необходимо определить скорость, ускорение и закон движения каждого тела, входящего в систему.

Для определения ускорения груза и сил натяжения нити необходимо механическую систему условно разрезать по нитям и показать задаваемые силы: силы тяжести G1 - блока 1, G2 - блока 2,  - груза 4, G6- груза 6, а также Fтр4 - силу трения четвёртого груза. Укажем направление ускорений системы ẍ6- ускорение груза 6 и ẍ4- ускорение четвёртого груза. По нитям покажем силы натяжения нити T2-4, T6-1, T4-1 Схема данной механической системы изображена на рисунке 1.

Рисунок 1 - Расчетная схема

Дано: G1=10 Н, G2=20 Н, G4=40 Н, G6=30 Н, M=0,6 H*м.

Запишем уравнения между кинетическими параметрами для данной системы и выразим всё через 4:


4=2* r2; (1)

1=4/R1 (2)

6= 1r1; (3)тр4=f∙N4=f G4cos30=0.1*40*0,866=3,464 H (4)

2=4/ r2=6,674; (5)

1=4/R1= 54; (6)

6= 1r1=54*0,1=0,54; (7)

I1=m1p=10/g*(0,1)2=0,1/g; (8)=m2p=20/g*(0,2)2=0,8/g; (9)

Записываем дифференциальное уравнение для блока 2:

; (10)

,8/g*6,67 ẍ4= -T2-4*0,15+0,6; (разделим обе части на 0,15) (11)

,5555ẍ4/g= -T2-4+4; (12)

Записываем дифференциальное уравнение для груза 4:

; (13)

; (14)

(40ẍ4)/g=40*0,5+T2-4-3,404-T4-1; (15)

(40ẍ4)/g=16,536+T2-4-T4-1;

Записываем дифференциальное уравнение для блока 1:

;

,1/g*5 ẍ4= T4-1*R1-T1-6 r1; (16)

,5/g* ẍ4= T4-1*0,2-T1-6 *0,1; (разделим обе части на 0,1) (17)

/g* ẍ4= T4-1*2-T1-6; (18)

Записываем дифференциальное уравнение для груза 6:

ẍ6= -G6+T6-1; (19)

(30*0,5/g)ẍ4=T6-1-30; (20)

(15/g)ẍ4=T6-1-30; (21)

Подставим уравнение (23) в уравнение (20) и получим

-1=15 ẍ4/g+30;  (22)

ẍ4/g =T4-1*2-15 ẍ4/g-30 ;  (23)


Получившееся уравнение подставляем в уравнение (17)

(40ẍ4)/g=16,536+T2-4-10 ẍ4/g-15;  (24)-4=(50ẍ4)/g-1,536 ;  (25)

Получившееся уравнение подставляем в уравнение (14)

35,555 ẍ4/g= -(50ẍ4)/g+1,536 +4; (26)

,555 ẍ4/g=5,536; (27)

ẍ4=5,536 g/85,555=5,536*9,81/85,555=0,635м/с2=a4; (28)

V4=0,635t(м/с); (29)=0,3175t2 (м); (30)

Из уравнений (28), (25) и (26) найдем натяжения всех нитей

-4=1,7 (H); (32)-1=30,97 (H); (33)-1=15,65 (H); (34)

дифференциальный уравнение движение механический

Найдём ускорение 6 груза:

=0,5a4=0,5*0,635=0,3175 (м/с2); (35)

Найдём скорость 6 груза;

=0,3175t (м/с); (36)

Найдём перемещение 6 груза:

=0,15875t2 (м); (37)

Найдем угловые ускорения блоков:

1=5ẍ4=3,175 (с-2); (38)

2=6,67ẍ4=4,235 (с-2);  (39)

Найдём угловые скорости блоков:

1= 3,175t (с-1); (40)

2=4,235t (с-1); (41)

Найдём углы поворота

φ1=1,5875t2 (c) (42)

φ2=2,1175t2 (c) (43)12

2. Применение теоремы об изменении кинетической энергии к исследованию движения механической системы

Рисунок 2 - Расчетная схема

Применяем теорему об изменении кинетической энергии в интегральном виде: "Изменение кинетической энергии при перемещении механической системы из одного положения в другое равно алгебраической сумме работ всех внешних и внутренних сил, действующих на систему на этом перемещении", т.е.:

 (44)

где - кинетическая энергия системы в момент времени после начала движения;

 - кинетическая энергия системы до начала движения;

 - сумма работ всех внешних сил, действующих на систему.

Так как кинетическая энергия системы до начала движения  равна нулю, то получаем:

 (45)

Найдём кинетическую энергию груза 4:

=(1/2)m4(V4)2=(1/2*40(V4)2)/g=20(V4)2/g; (47)

Найдём кинетическую энергию блока 2:

T2=(1/2)I2(ω2)2=1/2*0,8/g*(6,67V4)2=17,78/g*(V4)2; (48)

Найдём кинетическую энергию груза 6:

=(1/2)m6(V6)2=1/2*(30/g)*(0,5V4)2=3,75/g*(V4)2; (49)

Найдём кинетическую энергию блока 1:

T2=(1/2)I1(ω1)2=1/2*0,1/g*(5V4)2=1,25/g*(V4)2; (50)

Найдём полную кинетическую энергию:

=((17,78+20+1,25+3,75) (V4)2)/g=42,78(V4)2/g; (51)

Сумма работ всех внешних сил, действующих на систему равна:

(52)

Работы отдельных тел механической системы находим по формулам

A(G2)=0; (53)

A(N4)=0; (54)(G1)=0; (55)(M)=Mφ2=M*6,67S4=0,6*6,67S4=4,002 S4; (56)

A(G4)=G4sin30*S4=40*0,5S4=20 S4; (57)

A(Fтр4)=-Fтр4S4= -3,464 S4; (58)

A(G6)=-G6S6=-G6*0,5S4=-30*0,5S4= -15 S4; (59)

; (60)

; (61)

(42,78)/g=5,538S4; (62)

V4= (63)


Следуя из того, что начальная скорость равна нулю, получаем формулу для вычисления перемещения шестого груза:

=( ẍ5t2)/2; (64)=0,3175t2 (м); (65)

Решая уравнение (73) и (75) совместно, получим значение скорости:

=0,635t (м/с); (66)

Дифференцируя уравнение (76) находим ускорение 4 груза:

=0,635 (м/с2); (67)

Найдём скорость 6 груза;

=0,3175t (м/с); (68)

Найдём перемещение 6 груза:

=0,15875t2 (м); (69)

Найдем угловые ускорения блоков:

1=5ẍ4=3,175 (с-2); (70)

2=6,67ẍ4=4,235 (с-2); (71)


1= 3,175t (с-1); (72)

2=4,235t (с-1); (73)

Найдём углы поворота

φ1=1,5875t2 (c) (74)

φ2=2,1175t2 (c) (75)

Для наглядности целесообразно результаты представить в виде таблиц:

Таблица 5 - Результаты расчёта для блока 1

3,175

3,175t

1,5875t2


Таблица 6 - Результаты расчёта для груза 6

а, м/с2

V, м/с

S, м

0,3175

0,3175t

0,15875t2


Таблица 7 - Результаты расчёта для блока 2

4,235

4,235t

2,1175t2


Таблица 8 - Результаты расчёта для груза 4

а, м/с2

V, м/с

S, м

0,635

0,635t

 0,3175t2


3. Применение принципа Лагранжа-Даламбера или общего уравнения динамики к исследованию движения механической системы

Рисунок 3 - Расчетная схема

Используем общее уравнение динамики в следующей формулировке:

"Если механическая система, на которую наложены голономные стационарные идеальные связи, движется с ускорением, то добавляем к действующей на неё активным силам и моментам этих сил фиктивные силы инерции и моменты сил инерции, получим формально-уравновешенную систему сил, к которой можно применить принцип возможных перемещений".

Рассматривая движение, показываем на схеме (Рисунок 3) инерциальную нагрузку. Запишем общее уравнение динамики:

; (76)

Запишем общее уравнение динамики для данной системы:


; (77)

2- Mин2δ2- Mин1δ1+G4sin30δS4-Fин4δS4- Fтр4δS4- G6δS6-Fин6δS6=0; (78)

Найдём элементарные работы отдельных тел механической системы и выразим всё через δS4:

δ1=5δS4; (79)

δ 2=6,67δS4; (80)

δS6=0,5δS4; (81)

Уравнение примет вид:

M*6,67δS4-Mин2*6,67δS4+G4sin30δS4-Fин4δS4- Fтр4δS4- G60,5δS4- Mин1*5δS4-Fин6*0,5δS4=0; (82)

Разделим полученный многочлен на δS4:

M*6,67-Mин2*6,67+G4sin30-Fин4- Fтр4- G60,5- Mин1*5-Fин6*0,5=0; (83)

Найдём силы инерции:

Fин4=m4a4; (84)

Fин6=m6a6; (85)

Выразим все скорости через а5 в соответствии со скоростями:

ε1=5a4; (86)=0,55a4; (87)

Учтем, что G1=10 H, G2=20 H, G4=40 H, G6=30 H, Fтр4=3,464, I2=0,8/g, M=0,6 H*м

Общее уравнение примет вид:

,6*6,67-5,333a4/g*6,67+40*0,5-3,464-40/g*a4-05*5*a4/g-30*0,5-15*0,5a4/g=0; (88)

Умножим обе части на g и сгруппируем:

g(0,6*6,67+20-3,464-15)= a4(5,33*6,67+40+2,5+7,5); (89)*5,536=a4*85,535; (90)=g*5,536/85,555=9,81*5,536/85,555=0,635(м/с2); (91)=0,635(м/с2); (92)

v4=0,635(м/с); (93)=0,3175t2(м); (94)

Найдём скорость 6 груза;

=0,3175t (м/с); (95)

Найдём перемещение 6 груза:

=0,15875t2 (м); (96)

Найдем угловые ускорения блоков:

1=5ẍ4=3,175 (с-2); (97)

2=6,67ẍ4=4,235 (с-2) (98)


1= 3,175t (с-1); (99)

2=4,235t (с-1); (100)

Найдём углы поворота

φ1=1,5875t2 (c) (101)

φ2=2,1175t2 (c) (102)

Для наглядности целесообразно результаты представить в виде таблиц:

Таблица 9 - Результаты расчёта для груза 4

а, м/с2V, м/сS, м



0,635

0,635t

 0,3175t2


Таблица 10 - Результаты расчёта для блока 1

3,175

3,175t

1,5875t2



Таблица 11 - Результаты расчёта для груза 6

а, м/с2

V, м/с

S, м

0,3175

0,3175t

0,15875t2


Таблица 12 - Результаты расчёта для блока 2

4,235

4,235t

2,1175t2


. Применение уравнения Лагранжа второго рода к исследованию движения механической системы

Рисунок 4 - Расчётная схема

Система имеет одну степень свободы. Выберем в качестве обобщённой системы координат переменную груза (q=x5), пологая, что груз движется вниз и отсчитывая q в сторону движения.

Запишем уравнение Лагранжа II рода:

 (103)

где Q - это обобщённая сила.

Кинетическая энергия системы (возьмём из формулы (61))

=(42,76)/g=(42,76)/g; (104)

Т.к. здесь Т зависит только от ,то:

/=85,555/g; (105)

(d/dt)(/)=85,555/g; (106)

Рассчитаем правую часть уравнения Лагранжа II рода. Известно, что обобщённая сила равна частному суммы элементарных работ внешних сил и элементарного перемещения:

 (107)

Рассчитаем сумму элементарных работ. Будем считать, что.

; (108)

Выразим все переменные через :

; (109)

 (110)

; (111)

M*6,67+G4sin40-Fтр4-G6*0,5=(0,6*6,67+20-3,464-15)=5,536; (112)

Уравнение Лагранжа принимает вид:

 (5,536*9.8)/85,555=0,635 м/с2=a4; (113)

v5=0,635t (м/с); (114)=0,3175t2 (м); (115)

Найдём скорость 6 груза;

=0,3175t (м/с); (116)

Найдём перемещение 6 груза:

=0,15875t2 (м); (117)

Найдем угловые ускорения блоков:

1=5ẍ4=3,175 (с-2); (118)

2=6,67ẍ4=4,235 (с-2) (119)

Найдём угловые скорости блоков:

1= 3,175t (с-1); (120)

2=4,235t (с-1); (121)

Найдём углы поворота

φ1=1,5875t2 (c) (122)

φ2=2,1175t2 (c) (123)

Для наглядности целесообразно результаты представить в виде таблиц:

а, м/с2

V, м/с

S, м

0,635

0,635t

 0,3175t2


Таблица 14 - Результаты расчёта для блока 1

3,175

3,175t

1,5875t2


Таблица 15 - Результаты расчёта для груза 6

а, м/с2

V, м/с

S, м

0,3175

0,3175t

0,15875t2


Таблица 16 - Результаты расчёта для блока 2

4,235

4,235t

2,1175t2


. Применение теоремы о движении центра масс и теоремы об изменении количества движения к исследованию движения механической системы

Рисунок 5 - Расчетная схема

Определим ускорения центра масс механической системы:

m1+m2+m4+m6)/(m1+m2+m4+m6); (124)

/(м/с2); (125)

m1+m2+m4+m6)/(m1+m2+m2+m6); (126)

-0,635*sin30*40-0,635*0,5*30)/100=-0,22(м/с2); (127)

Определим скорость центра масс механической системы:

0,22t (м/с); (128)

(м/с); (129)

Определим координаты центра масс механической системы:

xc=0,11t2 (м); (130)

yc=-0,11t2 (м); (131)

Определим количество движения механической системы:

Qx=M; (132)

Qy=M; (133)

Q= ; (134)

Определим главный вектор внешних сил:

(H); (135)

 (H); (136)

(H); (137)

Определим реакции опор блока 1:

 (138)

 (139)

Подставим значения  и  из первого способа:

 (140)

 (141)

Определим реакции опор блока 2:

 (142)

 (143)

Подставим значения  из первого способа:

 (144)

 (145)

Таблица 17 - Результаты расчёта для остальных величин:

 

 Н

 



Заключение

В данной курсовой работе была исследована механическая система, под действием сил тяжести приходящая в движение из состояния покоя.

В результате, были достигнуты изначально поставленные цели, а именно: определены законы, скорости, ускорения движения всех тел, силы натяжения в ветвях нити, силы трения, кинетическая энергия механической системы, работа сил при заданном перемещении, главный вектор сил инерции, скорость и ускорение центра масс системы, главный вектор внешних сил, действующих на систему, количества движения механической системы.

Было доказано, что независимо от метода исследования механической системы, результат расчёта законов движения тел, образующих механическую систему одинаков.

Библиографический список

1.      Бутенин Н.В. Курс теоретической механики / Н.В. Бутенин. - СПб.: Лань, 2009. - 736 с.

.        Мещерский И.В. Задачи по теоретической механике / И.В. Мещерский. - СПб.: Лань, 2008. - 448 с.

.        Никитин Н.Н. Курс теоретической механики / Н.Н. Никитин. - М.: Высшая школа, 2002. - 719 с.

.        Тарг С.М. Краткий курс теоретической механики / С.М. Тарг. - М.: Высшая школа, 2006. - 416 с.

.        Яблонский А.А. Сборник заданий для курсовых работ по теоретической механике / А.А. Яблонский. - М.: Интеграл-Пресс, 2006. - 384с.

Похожие работы на - Исследование динамики механической системы

 

Не нашли материал для своей работы?
Поможем написать уникальную работу
Без плагиата!
Без нейросетей!