Монтажный проект систем отопления и вентиляции

  • Вид работы:
    Курсовая работа (т)
  • Предмет:
    Строительство
  • Язык:
    Русский
    ,
    Формат файла:
    MS Word
    261,63 Кб
  • Опубликовано:
    2014-07-08
Вы можете узнать стоимость помощи в написании студенческой работы.
Помощь в написании работы, которую точно примут!

Монтажный проект систем отопления и вентиляции

ВВЕДЕНИЕ


В данной курсовой работе необходимо спроектировать монтажный проект систем отопления и вентиляции пятиэтажного здания санатория. Стены выполнены из монолитного кирпича.

Заданная система отопления является вертикальной однотрубной с верхней разводкой, в качестве отопительного прибора в ней используется прибор 2КП90-500. При монтаже системы соединение трубопроводов производится на резьбе. Для их крепления используется планка радиаторная типа 4КС и кронштейн радиаторный типа 6КС. В системе используются водогазопроводные трубы.

Система вентиляции - вытяжная. Для крепления воздуховодов применяются тяги, хомуты и кронштейны. Воздуховоды монтируются способами, предусмотренными «Типовыми технологическими картами на монтаж систем вентиляции и кондиционирования воздуха» (серия ТТК 7.05.01). Способ монтажа выбирается в зависимости от их положения, расположения относительно строительных конструкций и от характера здания.

 

1. МОНТАЖНЫЙ ПРОЕКТ СИСТЕМЫ ОТОПЛЕНИЯ

 

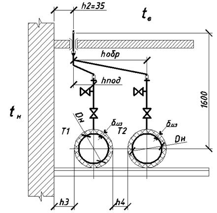
.1 Определение вылета уток на подводках к отопительным приборам и в местах присоединения подающего и обратного стояка к магистралям


Вылет утки в месте присоединения подающего стояка hпод, мм, определяется по формуле

 (1.1)

где h3 - отступ от штукатурки до поверхности изоляции, принимается равным 50 мм по /2/;

dиз - толщина изоляции магистральных трубопроводов системы отопления, мм, принимается в зависимости от параметров теплоносителя, для рассматриваемого примера составляет 30 мм;

Dн - наружный диаметр трубы, мм.

 мм.

Вылет утки в месте присоединения обратного стояка hобр, мм, определяется по формуле

 (1.2)

где h4 - расстояние между наружной поверхностью изоляционного слоя подающей и обратной магистрали, мм.

 мм.

Изображение 1 - Узел присоединения подающего и обратного стояков к магистралям

 

.2 Расчёт заготовительных длин деталей системы отопления


Производим разбивку стояка на монтажные узлы, выполняем нумерацию деталей в каждом монтажном узле и рассчитываем заготовительные длины трубных деталей каждого узла.

Эскиз узла 1


деталь: труба D=40мм; lзаг1= lм1=500мм, принимаем конструктивно,

деталь: труба D=32мм;


где xв=107мм - скид на вентиль запорный муфтовый при dу=32мм (приложение 16 /1/);

xтр=28мм - скид на тройник переходной при dу=40x32мм (приложение 15 /1/);


деталь: сгон длинный D=32мм; lзаг3= lм3=300мм,

деталь: труба гнутая D=32мм;


где xв=107мм - скид на вентиль запорный муфтовый при dу=32мм (приложение 16 /1/);

xм=7мм - скид на муфту короткую dу=32мм (приложение 15 /1/);

x90°=50мм - скид на поворот при угле гнутья 90° при dу=32мм (приложение 5 /1/);


Эскиз узла 2


деталь: труба D=32мм;


где xм=7мм - скид на муфту короткую dу=32мм (приложение 15 /1/);

xкрест=28мм - скид на крестовину переходную при dу=32x20мм (приложение 15 /1/);


деталь: труба D=32мм;


где xкрест=28мм - скид на крестовину переходную при dу=32x20мм (приложение 15 /1/);


деталь: труба D=32мм;


где xм=7мм - скид на муфту короткую dу=32мм (приложение 15 /1/);

xкрест=28мм - скид на крестовину переходную при dу=32x20мм (приложение 15 /1/);


деталь: сгон длинный D=20мм; lзаг8= lм8=300мм,

деталь: труба D=20мм;


где a - строительная длина секции отопительного прибора, мм;

n - число секций отопительного прибора;

хф=7мм - скид на футорку;

xкрест=20мм - скид на крестовину переходную при dу=32x20мм (приложение 15 /1/);


деталь: труба D=20мм;


где xкрест=20мм - скид на крестовину переходную при dу=32x20мм (приложение 15 /1/);

хкр=44мм - скид на кран двойной регулировки при dу=20мм (приложение 16 /1/);


деталь: труба D=20мм;


где хкр=44мм - скид на кран двойной регулировки при dу=20мм (приложение 16 /1/);


Эскиз узла 3


деталь: труба D=32мм;


где xм=7мм - скид на муфту короткую dу=32мм (приложение 15 /1/);


Эскиз узла 4


деталь: смотреть узел 2,

деталь: труба D=20мм;


где a - строительная длина секции отопительного прибора, мм;

n - число секций отопительного прибора;

хф=7мм - скид на футорку;

xкрест=20мм - скид на крестовину переходную при dу=32x20мм (приложение 15 /1/);

xм=6мм - скид на муфту короткую dу=20мм (приложение 15 /1/);


деталь: труба D=20мм;


где хкр=44мм - скид на кран двойной регулировки при dу=20мм (приложение 16 /1/);


деталь: труба D=20мм;


где a - строительная длина секции отопительного прибора, мм;

n - число секций отопительного прибора;

хф=7мм - скид на футорку;


Эскиз узла 5


деталь: смотреть узел 2,

деталь: смотреть узел 2,

деталь: смотреть узел 2,

деталь: смотреть узел 2,

деталь: смотреть узел 2,

деталь: труба D=20мм;


где a - строительная длина секции отопительного прибора, мм;

n - число секций отопительного прибора;

хф=7мм - скид на футорку;

xкрест=20мм - скид на крестовину переходную при dу=32x20мм (приложение 15 /1/);


деталь: труба D=20мм;


где хкр=44мм - скид на кран двойной регулировки при dу=20мм (приложение 16 /1/);


Эскиз узла 6


деталь: смотреть узел 2,

деталь: труба D=20мм;


где a - строительная длина секции отопительного прибора, мм;

n - число секций отопительного прибора;

хф=7мм - скид на футорку;

xкрест=20мм - скид на крестовину переходную при dу=32x20мм (приложение 15 /1/);

xм=6мм - скид на муфту короткую dу=20мм (приложение 15 /1/);


деталь: труба D=20мм;


где хкр=44мм - скид на кран двойной регулировки при dу=20мм (приложение 16 /1/);


деталь: труба D=20мм;


где a - строительная длина секции отопительного прибора, мм;

n -число секций отопительного прибора;

хф=7мм - скид на футорку;

 

Эскиз узла 1о


деталь: смотреть узел 2,

деталь: смотреть узел 2,

деталь: труба D=32мм; lзаг21= lм21=200мм, принимаем конструктивно,

деталь: сгон короткий D=32мм; lзаг22= lм22=130мм,

деталь: труба D=32мм;


где xв=107мм - скид на вентиль запорный муфтовый при dу=32мм (приложение 16 /1/);

xм=7мм - скид на муфту короткую dу=32мм (приложение 15 /1/);

xтр=28мм - скид на тройник переходной при dу=32x20мм (приложение 15 /1/);

у=0,414-коэффициент при угле гнутья 135°(приложение 5 /1/);

x135°=7мм - скид на утку при угле гнутья 135° при dу=32мм (приложение 5 /1/);

hобр =237мм-вылет утки в месте присоединения обратного стояка;

деталь: труба D=20мм; lзаг24= lм24=100мм, принимаем конструктивно.

1.3 Подбор средств крепления отопительных приборов


Количество средств крепления выбирается, исходя из двух условий:

)        одно крепление должно быть установлено на каждом м2 площади поверхности отопительного прибора F, м2, которая определяется по формуле

, (1.3)

где f-площадь поверхности секции, для прибора 2КП90-500

f=0,155 м2;

n - количество секций, шт.

Т. о. для 4-х секционных приборов

 м2;

для 5-ти секционных приборов

 м2

для 6-ти секционных приборов

 м2

2)      число креплений должно быть не менее трёх на каждый отопительный прибор.

Исходя из этих условий принимаем к установке по три крепления на каждый прибор:

планка радиаторная 4КС;

два кронштейна радиаторных 6КС.

) число креплений подводок отопительных приборов принимается из условия: одно крепление на 0,5м. длины подводки.

 

1.4 Определение коэффициентов унификации и индустриализации


Для определения коэффициентов унификации и индустриализации заполняется таблица 1, по которой находятся величины ån и nmax.

Таблица 1 - Определение величин ån и nmax

№ трубных деталей

Номер узлов

Итого деталей ∑n в узлах

Примечание


1

2

3

4

5

6




Количество деталей в узлах



1

2






2

4


2

1






1

2


3

1







1


4

1







1


5


2



3



5


6


2



3



5


7


2



3



5


8


4


2

6

3


15

nmax=15

9


2






2


10


2



3



5


11


2






2


12



4





4


13




2




2


14




2




2


15




4




4


16





3



3


17





3



3


18






3


3


19






3


3


20






6


6


21







1

1


22







1

1


23







1

1


24







1

1

N=24

Всего:∑n=81

отопление вентиляция деталь крепление

Коэффициент унификации характеризует сокращение до минимума числа типоразмеров и узлов системы отопления и определяется по формуле

, (1.4)

где N - число типоразмеров деталей;

y - поправочный коэффициент, учитывающий преобладание количества деталей одного из типов над другими:

, (1.5)

где ån - общее количество деталей, входящих в систему;

nmax - максимальное количество деталей одного из типов.

Коэффициент индустриализации характеризует сокращение до минимума числа типоразмеров деталей и общего количества деталей, приходящихся на единицу, удобную для сравнения:

, (1.6)

где П - количество характерных единиц, удобных для сравнения, для данной работы принимается равным 2.

;

;

.

2. МОНТАЖНЫЙ ПРОЕКТ СИСТЕМЫ ВЕНТИЛЯЦИИ

 

2.1 Расчёт количества нормализованных и ненормализованных деталей


Целью данного расчёта является определение длины прямых участков воздуховода (вычитанием из длины участка размеров фасонных деталей, расположенных на нём).

Принимаем воздуховод стандартной длины - 3000мм. Делением длины прямого участка на 3000 получаем число стандартных деталей, остаток от деления составляет воздуховод нестандартной длины.

Участок 1

На участке установлены: мягкая вставка, отвод 90°.

Длина прямого участка составит


где L1 - длина участка 1, L1=4000мм;

Lотв2 - длина отвода 90° D=1000мм (приложение 24 /1/), Lотв2=1000мм;

Lмв - длина мягкой вставки ВОО.ОО-10 (приложение 19 /1/), Lмв=120мм.

мм.

Принимаем к установке:

деталь: воздуховод D=1000мм, l1=2880мм;

деталь: отвод 90° D=1000мм, l2=1000мм.

Участок 2

На участке установлены: 2 отвода 90°.

Длина прямого участка составит

,

где L2 - длина участка 2, L2=9700мм;

Lотв2 - длина отвода 90° D=1000мм (приложение 24 /1/), Lотв2=1000мм;

мм.

мм.

Принимаем к установке:

2 деталь: отвод 90° D=1000мм, l2=1000мм;

3 деталь: воздуховод D=1000мм, l3=3000мм (2 шт);

4 деталь: воздуховод D=1000мм, l4=1700мм.

Участок 3

На участке установлены: крестовина, отвод 90°.

Длина прямого участка составит

,

где L3 - длина участка 3, L3=2000мм;

Lотв2 - длина отвода 90° D=1000мм (приложение 24 /1/), Lотв2=1000мм;

Lкр6 - длина крестовины, Lкр6=600мм (рисунок 1);

 мм.

Принимаем к установке:

 деталь: воздуховод D=1000мм, l5=700мм;

6 деталь: крестовина D (1000х500), lкр6=600мм.

Рисунок 1 - Крестовина

Участок 4

На участке установлены: крестовина, переход D (1000х900), переход D (900х630), отвод 90°.

Длина прямого участка составит

,

где L4 - длина участка 4, L4=6750мм;

Lотв11 - длина отвода 90° D=630мм (приложение 24 /1/), Lотв11=675мм;

Lкр6 - длина крестовины, Lкр6=600мм (рисунок 1);

Lпер7 - длина перехода D (1000х900), по таблице V.7 /2/, Lпер7=270мм;

Lпер8 - длина перехода D (900х630), по таблице V.7 /2/, Lпер7=600мм;

 мм.

мм.

Принимаем к установке:

деталь: переход D (1000х900), lпер7=270мм;

8 деталь: переход D (900х630), lпер8=600мм;

 деталь: воздуховод D=630мм, l9=3000мм;

 деталь: воздуховод D=630мм, l10=1905мм;

11 деталь: отвод 90° D=630мм, l11=675мм.

Участок 5

На участке установлены: отвод 90°.

Длина прямого участка составит:

,

где L5 - длина участка 5, L5=3000мм;

Lотв11 - длина отвода 90° D=630мм (приложение 24 /1/), Lотв11=675мм;

 мм;

Принимаем к установке:

12 деталь: воздуховод D=630мм, l12=2325мм.

Участок 6

На участке установлен: крестовина, переход D (500х355), переход D (355х250).

Длина прямого участка составит

,

где L4- длина участка 6, L6=4500мм;

Lкрест6 - длина крестовины, Lкрест6 =600мм;

Lпер13 - длина перехода D (500×355), по таблице V.7 /2/, Lпер13=270мм;

Lпер14 - длина перехода D (355×250), по таблице V.7 /2/, Lпер14=270мм;

 мм.

мм.

Принимаем к установке:

13 деталь: переход D (500х355)мм, lпер13=270мм;

4 деталь: переход D (355х250)мм, lпер14=270мм;

6 деталь: воздуховод D=250мм, l16=360мм.

Участок 7

На участке установлен: крестовина, переход D (500х450).

Длина прямого участка составит

,

крест6 - длина крестовины, Lкрест6 =600мм;

Lпер17 - длина перехода D (500×450), по таблице V.7 /2/, Lпер17=270мм;

 мм.

Принимаем к установке:

17 деталь: переход D (500х450)мм, lпер17=270мм;

8 деталь: воздуховод D=450мм, l18=1830мм.

2.2 Комплектовочная ведомость


Таблица 2 - Комплектовочная ведомость

№№ детали

Наименование

Размеры

Количество

Площадь

Фланцы



диаметр

длина

толщина d

градус


единицы

общая


1

2

3

4

5

6

7

8

9

10

1

прямой участок

1000

2880

1,0

-

1

3,14

9,04

Æ1000-2

2

отвод

1000

-

1,0

90

2

5,2

10,4

Æ1000-4

3

прямой участок

1000

3000

1,0

-

2

3,14

18,84

Æ1000-4

4

прямой участок

1000

1700

1,0

-

1

3,14

5,34

Æ1000-2

5

прямой участок

1000

700

1,0

-

1

3,14

2,2

Æ1000-2

6

воздуховод с двумя базовыми врезками

1000х500

600

1,0 0,7

-

1 2

3,14 0,211

1,88 0,42

Æ1000-2 Æ500-2

7

переход

1000×900

270

1,0

-

1

0,81

0,81

Æ1000-1 Æ900-1

8

переход

900×630

600

1,0

-

1

1,49

1,49

Æ900-1 Æ630-1

9

прямой участок

630

3000

0,7

-

1

1,98

5,94

Æ630-2

10

прямой участок

630

1905

0,7

-

1

1,98

3,77

Æ630-2

11

отвод

630

-

0,7

90

1

2,24

2,24

Æ630-2

12

прямой участок

630

2325

0,7

-

1

1,98

4,6

Æ630-1

13

переход

500×355

270

0,7

-

1

0,36

0,36

Æ500-1 Æ355-1

14

переход

355×250

270

0,7

-

1

0,26

0,26

Æ355-1 Æ250-1

15

прямой участок

250

360

0,6

-

1

0,79

0,28

Æ250-1

16

прямой участок

250

3000

0,6

-

1

0,79

2,37

Æ250-2

17

переход

500×450

270

0,7

-

1

0,41

0,41

Æ500-1 Æ450-1

18

прямой участок

450

1830

0,6

-

1

1,41

2,58

Æ450-1

 

Итого:   Всего: Фланцы:

d=1,0мм - 50м2; d=0,7мм - 18м2; d=0,6мм - 5,23м2. 73,23м2. Æ1000- 18 шт.; Æ900 - 2 шт.; Æ630 - 8 шт.; Æ500 - 4 шт.; Æ450 - 2 шт.; Æ355 - 2 шт.; Æ250 - 4 шт.

 

 

2.3 Ведомость крепёжных деталей


Таблица 3 - Ведомость крепёжных деталей

Наименование

Ед. изм.

Кол-во, шт.

Болты

Гайки, шт.

Материал

Длина, м




размер, мм

ед., шт.

общ., шт.



ед.

общ.

Фланец Æ1000 Фланец Æ900 Фланец Æ630 Фланец Æ500 Фланец Æ450 Фланец Æ355 Фланец Æ250

шт.

18 2 8 4 2 2 4

М8×25 М8×25 М8×25 М6×25 М6×25 М6×20 М6×20

16 16 12 10 10 8 6

144 16 48 20 10 8 12

144 16 48 20 10 8 12

Уголок 32×32×4 Уголок 32×32×4 Уголок 25×25×4 Уголок 25×25×3 Уголок 25×25×3 Уголок 25×25×3 Полоса 25×4

3,14 2,83 1,98 1,57 1,41 1,12 0,79

53,38 5,66 15,84 6,28 2,82 2,24 3,16

Хомут Æ1000 Хомут Æ630 Хомут Æ450 Хомут Æ250

шт.

5 3 1 1

М10×30 М10×30 М10×30 М8×25

1 1 1 1

5 3 1 1

5 3 1 1

Полоса 30×3 Полоса 30×3 Полоса 30×3 Полоса 25×2

3,21 2,05 1,5 0,85

16,05 6,15 1,5 0,85

Тяга Тяга

шт.

9 1

М10×30 М8×25

1 1

9 1

9 1

Круг Æ10 Круг Æ10

0,1 0,1

0,9 0,1


Итого:

Болты и гайки Болты и гайки Болты и гайки Болты и гайки

М10×30 мм М8×25 мм М6×25 мм М6×20 мм

- 18 пар; - 210 пар; - 30 пар; - 20 пар;


Уголок Уголок Уголок

32×32×4 25×25×4 25×25×3

- 59,04 м; - 15,84 м; - 11,34 м;


Полоса Полоса Полоса

30×3 25×4 25×2

- 23,7 м; - 3,16 м; - 0,85 м;


Круг

Æ10

- 1 м.


Резина профилированная 7,444×0,73=5,45 кг.

3. ТЕХНИКА БЕЗОПАСНОСТИ


3.1 Производственная санитария и гигиена труда

Всегда, когда это возможно, для строительных целей необходимо использовать постоянные или существующие на момент начала строительства здания, сооружения, дороги, линии водо- и электроснабжения. Кроме этого на строительной площадке размещаются временные здания, сооружения и дороги.

При проектировании временных дорог следует исходить из условий обеспечения свободного проезда транспортных средств к объекту, складам и механизмам, работающим на объекте. Дороги, по возможности, должны быть кольцевыми, исключающими необходимость разворота автотранспорта в пределах стройплощадки. Основные дороги при двустороннем движении и дороги в местах разгрузки автотранспорта должны иметь ширину не менее 6м, позволяющую объезжать стоящие транспортные средства. Дороги с односторонним движением должны быть шириной не менее 3,5м.

Бытовые помещения желательно располагать около входа на строй- площадку таким образом, чтобы рабочие могли попасть в раздевалку, а после работы - на улицу, минуя рабочую зону.

Важным видом вспомогательных помещений являются санитарно-бытовые помещения, к которым относятся: гардеробные, умывальные, уборные, душевые, здравпункты, помещения для обогрева и сушки одежды. К устройству и размещению помещений предъявляется ряд санитарных требований. Нормируется высота помещений, уровень пола над землей, отделка санитарно-бытовых зданий, устройство душевых и т.п.

При проведении электросварочных работ возможно поражение слизистых оболочек глаз и отравление вредными газами. Поэтому сварщики должны быть обеспечены средствами индивидуальной защиты лица.

Освещение в производственных зданиях и на открытых площадках обеспечивается естественным и искусственным светом. В местах монтажа и сварки средняя освещенность составляет 15лк. Вдоль границ территории, охраняемой в ночное время, предусматривается охранное освещение. Оно обеспечивает среднюю освещенность 0,1лк.

3.2 Техника безопасности

Безопасность производственных процессов обеспечивается целым комплексом проектных и организационных решений. Большое значение имеет правильное распределение функций между человеком и оборудованием в целях уменьшения тяжести труда, а также организация профессионального обучения работающих.

Грузоподъемные механизмы, используемые при монтаже оборудования, должны находиться под постоянным контролем проматомнадзора. Перед эксплуатацией грузоподъемные механизмы должны быть подвергнуты частичному и полному освидетельствованию, которые включают в себя осмотр и испытание механизмов.

Строительно-монтажные работы при монтаже систем отопления должны вестись согласно проекта производства работ взаимосвязано с общестроительными и другими специальными работами. Газовые баллоны хранятся в металлических шкафах. Сварочные аппараты занулены или заземлены, а в нерабочее время обесточены. При заполнении систем теплоносителем и его пуске, при испытании и наладке необходимо пользоваться переносимыми светильниками напряжением не выше 12А. Рабочие места газосварщиков должны содержаться в чистоте и оборудоваться переносимыми первичными средствами пожаротушения.

При монтаже систем вентиляции при работе с подмостей или у проемов, расположенных над землей или перекрытием на высоте 1,3м и более, рабочие места должны иметь ограждения. Оно должно состоять из поручня, расположенного на высоте 1м от рабочего настила, стоек и бортовой доски высотой не менее 150мм, которая предотвращает падение какого-либо предмета на работающего внизу, который должен иметь на голове каску.

Во время пуска вентиляционных агрегатов следует находиться в стороне от вентиляторов и ременных передач. Слесарю-вентиляционщику по монтажу категорически запрещается включать электродвигатели вентиляционного оборудования и присоединять к электросети.

В период осмотра колес вентиляторов и при работе внутри вентиляционных воздухоотводов и вентиляционных камер дежурный электромонтер должен полностью обесточить систему и повесить табличку “Не включать, работают люди”.

При обнаружении ударов, подозрительного шума, подогрева электродвигателя, вибрации оборудования или прекращении подачи электроэнергии необходимо об этом сообщить дежурному электромеханику. Работы, связанные с пуском и регулированием систем вентиляции, разрешается производить при исправном оборудовании.

3.3 Электробезопасность

Электробезопасность обеспечивается соответствующей конструкцией электроустановок, применением технических способов и средств защиты, организационными и техническими мероприятиями.

Основными техническими способами и средствами защиты от поражения электрическим током являются: защитное заземление, зануление, выравнивание потенциалов, малое напряжение, электрическое разделение сетей, защитное отключение, изоляция токоведущих частей (рабочая, дополнительная, усиленная, двойная), компенсация токов замыкания на землю, оградительные устройства, предупредительная сигнализация, блокировка, знаки безопасности, изолирующие защитные и предохранительные приспособления.

3.4 Меры безопасности при проведении электросварочных работ

Перед началом работы электросварщик обязан проверить состояние сварочной аппаратуры, проводов и инструмента с точки зрения безопасности производства работ. Провода, проводящие ток от питающей сети к трансформатору сварочного аппарата, должны быть проложены на безопасной высоте для проходящих людей. Расстояние от проводов до поверхности земли должно быть не менее 5м.

Провода, проводящие ток от трансформатора сварочного аппарата к месту сварки, должны быть хорошо изолированы и защищены от действия высокой температуры и механических повреждений.

Корпуса электросварочных аппаратов должны быть надежно заземлены и защищены от пыли и дождя брезентовыми, или изготовленными из кровельной стали чехлами.

Рубильники и предохранители должны быть ограждены кожухами.

Во время сварки сварщик должен быть изолирован от земли резиновыми галошами, резиновым ковриком и т.п. Освещение места работ должно производится прожекторами, установленными снаружи или переносными лампами с напряжением не выше 12В.

В случае поражения сварщика током наблюдающий рабочий должен после выключения тока уложить пострадавшего на сухое место, расстегнуть ему ворот и делать искусственное дыхание до прибытия врачей помощи.

Если повод от сварочного аппарата к сварочному посту пересекает железнодорожные пути или другие проезжие дороги, то он прокладывается в деревянных подземных коробах или на столбах на высоте не ниже 5м, считая от головки рельса.

Напряжения на зажимах генератора в момент зажигания дуги не должно превышать 110В для машин постоянного тока и 70В для трансформаторов переменного тока.

Все сварочные установки должны быть снабжены измерительными приборами, обеспечивающими возможность непрерывного контроля их работы.

По окончании работы сварщик обязан:

·        выключить ток;

·        снять провода, и сдать их на место хранения в кладовую или спрятать в ларь для инструментов;

·        закрыть сварочный аппарат чехлами

·        выключить рубильник

В целях профилактики профессиональных заболеваний предусмотрены медосмотры работников - один раз в год.

3.5 Меры безопасности при работе с механизированными инструментами

К работе с электрифицированным и пневматическими инструментами допускаются лица, прошедшие производственное обучение.

Работа с неисправным механизированным инструментом запрещается.

Работа с механизированным инструментом с приставных лестниц запрещается.

При перерывах в работе или при переносе механизированного инструмента на другое место питание двигателя необходимо отключить.

Запрещается во время работы натягивать или перегибать шланги пневмоинструментов и кабели электроинструментов, не допускается пересечение их с тросами, электрокабелями и электросварочными проводами, находящимися под напряжением.

Во время дождя работа с электроинструментами на открытых площадках допускается только при наличии на рабочем месте навесов и с обязательным применением диэлектрических перчаток.

Корпуса электроинструментов, работающих при напряжении выше 36В, должны быть заземлены.

3.6 Пожарная безопасность

Комплекс технических и организационных мероприятий, направленных на предупреждение возникновения пожара, обеспечение безопасной эвакуации людей и создание условий для успешного тушения пожара.

Основными документами являются: СНиП 2.01.02-85* (издание 1991г.) “Противопожарные нормы”, а также “Правила пожарной безопасности при производстве строительно-монтажных работ”. Его основные положения:

         для эвакуации людей со строительных лесов предусматриваются лестницы из расчета 1 лестница на 40 метров периметра лесов, но не менее двух по периметру здания.

         приготовлять и хранить огнеопасные вещества в отдельном помещении, выполненном из несгораемых конструкций и оборудованного вытяжной вентиляцией, варка и разлив мастик и битумов на расстоянии не менее 50 метров от деревянных строений и складов;

         на новостройках прокладывают пожарный постоянный водопровод и устанавливают гидранты. В противном случае устанавливают временные пожарные водоемы, емкость и размер которых оговаривают с МЧС. Минимальный объем такого водоема 50 м3.

         при возникновении пожара нужно использовать первичные и стационарные средства пожаротушения и принять меры к его ликвидации. Если источник пожара не удается ликвидировать и пожар продолжает развиваться, немедленно сообщить об этом пожарной команде по телефону 01 и дать сигнал тревоги. Дать по связи команду сбора добровольной пожарной дружины. До прибытия пожарных следует продолжить тушение пожара и применять меры к эвакуации людей и спасению ценного имущества.

ЛИТЕРАТУРА


1.       Задания и рекомендации к курсовой работе по дисциплине «Технология строительных и монтажных работ» для студентов специальности 70 04 02 - Новополоцк: Изд-во ПГУ, 2004.

2.      Монтаж вентиляционных систем. Справочник монтажника/ Под ред. И.Г. Староверова. - М.: Стройиздат, 1978. - 591 с.

3.       Методические указания «Монтажное проектирование систем отопления» к курсовой работе по дисциплине «Технология строительных и монтажных работ» для студентов специальности 70.04.02. часть 1 - Новополоцк: Изд-во ПГУ, 2001.

4.      Методические указания «Монтажное проектирование систем вентиляции» к курсовой работе по дисциплине «Технология строительных и монтажных работ» для студентов специальности 70.04.02. часть 2 - Новополоцк: Изд-во ПГУ, 2003.

Похожие работы на - Монтажный проект систем отопления и вентиляции

 

Не нашли материал для своей работы?
Поможем написать уникальную работу
Без плагиата!
Без нейросетей!