Системы вентиляции и воздушного отопления

  • Вид работы:
    Реферат
  • Предмет:
    Сельское хозяйство
  • Язык:
    Русский
    ,
    Формат файла:
    MS Word
    888,96 Кб
  • Опубликовано:
    2013-02-04
Вы можете узнать стоимость помощи в написании студенческой работы.
Помощь в написании работы, которую точно примут!

Системы вентиляции и воздушного отопления

Содержание

Введение

. Системы вентиляции и воздушного отопления

. Оборудование для вентиляции воздушного отопления

. Оборудование для освещения, излучения и облучения

Список используемой литературы

Введение

Микроклимат животноводческих помещений - это совокупность физических, химических и биологических факторов внутри помещения, оказывающих определенное воздействие на организм животных. К ним относятся: температура, влажность, скорость движения и химический состав воздуха (содержание в нем вредных газов, наличие пыли и микроорганизмов), ионизация, излучение и др. Сочетание этих факторов может быть различным и влиять на организм животных и птиц как положительно, так и отрицательно.[1]

Зоотехнические требования к содержанию животных и птицы сводятся в основном к поддержанию внутри помещения нормируемых параметров микроклимата, к которым относятся температура, относительная влажность, подвижность воздуха, концентрация газов (углекислого, аммиака, сероводорода) и пыли.

Параметры микроклимата различны для холодного (отапливаемого), переходного и теплого (летнего) периодов года. К важнейшим параметрам микроклимата относятся: температура и относительная влажность воздуха, скорость его движения, химический состав, а также наличие взвешенных частиц пыли и микроорганизмов. При оценке химического состава воздуха прежде всего определяют содержание вредных газов: углекислого, аммиака, сероводорода, окиси углерода, присутствие которых снижает сопротивляемость организма заболеваниям. Важными факторами, влияющими на формирование микроклимата, являются также освещенность; температура внутренних поверхностей ограждающих конструкций, определяющая точку росы (точку выпадения конденсата); величина лучистого теплообмена между этими конструкциями и животными; ионизация воздуха и др.

Устанавливают их на основе технико-экономического обоснования, которое исходит из того, что затраты на улучшение микроклимата окупаются повышением производительности труда, увеличением продуктивности животных, повышением сохранности оборудования и другими факторами. Установленные таким образом параметры называют оптимальными.

Создание оптимального микроклимата предусматривает комплекс мероприятий, в который входят использование эффективных систем отопления и вентиляции, рациональная планировка объемов здания, применение строительных конструкций с соответствующими теплотехническими свойствами и прогрессивных технологий кормления, поения и удаления навоза. В этом комплексе мероприятий по созданию заданного микроклимата большое значение имеют отопление и вентиляция. Если в регионах расчетная температура воздуха позволяет поддерживать заданные условия в помещении за счет биологической теплоты, выделяемой животными, и этой теплоты достаточно для подогрева необходимого количества свежего наружного воздуха, то следует стремиться к обеспечению требуемого микроклимата средствами естественного воздухообмена. Отопление применяют в тех случаях, когда тепловыделений от животных недостаточно для компенсации теплопотерь через ограждающие конструкции, а также для нагрева приточного и фильтрующегося воздуха для испарения влаги со смоченной и открытой водной поверхности, а дальнейшее утепление экономически нецелесообразно по сравнению с подачей искусственной теплоты. Это относится к районам с низкими наружными температурами, где животноводческие помещения рекомендуется оборудовать системами искусственного обогрева и механической вентиляцией (с искусственным побуждением тяги).[2]

В животноводческих помещениях, как правило, применяют воздушное отопление, совмещенное с приточной вентиляцией. Это прежде всего относится к помещениям большого объема - коровникам с привязным содержанием животных и свинарникам с откормочным поголовьем. Совмещение систем воздушного отопления и приточной вентиляции обеспечивает уменьшение приведенных затрат.

В родильных отделениях помещений для крупного рогатого скота в качестве основной может быть также рекомендована система воздушного отопления. В этих помещениях целесообразно предусматривать дополнительную систему водяного отопления с отопительными приборами, температура поверхности которых может быть до 130 °С, и электрообогрев полов с целью повышения температуры поверхности пола и температуры воздуха припольной зоны.

Помещения для содержания и выращивания молодняка характеризуются значительными колебаниями тепло- и влаговыделений (по мере роста молодняка). В связи с этим в таких помещениях рекомендуется использовать комбинированные системы отопления, состоящие из систем воздушного и водяного (парового) отопления. В этих же помещениях наряду с воздушным отоплением часто дополнительно используют локальные источники теплоты в виде ламп или газовых горелок инфракрасного излучения. Системы локального обогрева предназначены для создания более высокой температуры, необходимой по зоотехническим соображениям в местах пребывания молодняка.

В свинарниках-маточниках также используют совмещенную систему воздушного отопления и приточной вентиляции. Кроме того, в этих помещениях дополнительно устраивают системы локального обогрева или электроподогрев пола в местах расположения поросят.[2]

Отклонение параметров микроклимата в помещениях от установленных пределов приводит к снижению удоев на 10-20 %, уменьшению приростов массы на 20-30 %, увеличению отходов молодняка до 5-40 %, снижению яйценоскости кур на 30- 35 %, к расходу дополнительного количества кормов, сокращению срока службы оборудования, машин и самих зданий, снижению устойчивости животных к разным заболеваниям. Нормативы микроклимата для различных видов помещений приведены в таблице 1, а предельно допустимые концентрации вредно действующих газов - в таблице 2.

Таблица 1. Параметры микроклимата животноводческих помещений


Таблица 2. Предельно допустимые концентрации вреднодействуюших газов в воздухе животноводческих и птицеводческих помещений


В поддержании параметров микроклимата на уровне зоотехнических и санитарно-гигиенических требований большую роль играют конструкции дверей, ворот, наличие тамбуров, которые открываются при раздаче кормов мобильными кормораздатчиками и при уборке навоза бульдозерами как в летнее, так и в зимнее время. Помещения часто переохлаждаются, и животные страдают от простудных заболеваний.

животноводческий помещение вентиляция отопление

1. СИСТЕМЫ ВЕНТИЛЯЦИИ И ВОЗДУШНОГО ОТОПЛЕНИЯ

Вентиляция - это регулируемый воздухообмен, в процессе которого загрязненный воздух удаляется из помещения, а взамен подается и равномерно распределяется в зоне обитания животных чистый атмосферный или обработанный воздух.

Система вентиляции - это комплекс устройств и оборудования для создания регулируемого воздухообмена в помещениях. По способу перемещения воздуха вентиляционные системы делят на два типа: с естественным (гравитационная) и механическим (с помощью вентилятора) побуждением. При гравитационной вентиляции необходимый воздухообмен в помещении осуществляется с помощью приточных и вытяжных каналов за счет разности плотностей холодного наружного и теплого внутреннего воздуха, а также под влиянием ветра.

Преимущества гравитационной системы - простота конструкции, небольшая стоимость, надежность в эксплуатации, бесшумность в работе. Однако такая вентиляция не может обеспечить достаточный воздухообмен в течение года. Так, при разности температур внутреннего и наружного воздуха, равной нулю, действие вентиляции прекращается, а при значительной разнице температур (зимой) - чрезмерно велико. В этом случае тепловыделений животных или птицы недостаточно для покрытия теплопотерь через наружные ограждения, поэтому приточный воздух необходимо подогревать.

Более совершенной является искусственная вентиляция (с механическим побуждением тяги), установки которой принудительно создают воздушный поток и позволяют удалять из помещения строго определенное зоотехническими нормативами количество воздуха, заменять его свежим и повторять такой воздухообмен заданное число раз. Кроме того, свежий воздух можно обрабатывать (очищать, подогревать, увлажнять) с целью обеспечения условий для максимальной продуктивности животных.

На рисунке 1 дана классификация систем вентиляции с естественным и механическим побуждением, предложенная ученым Л. И. Бронфманом. Из классификации видно, что по назначению вентиляционные системы в животноводческих помещениях делят на общеобменные и комбинированные, хотя в практике известна еще и местная система, которая может удалять воздух из зоны загрязнения или подавать его на рабочие места. Однако в чистом виде местная система неприменима в животноводческих помещениях, так как не позволяет вентилировать все помещение, вследствие чего нарушается важное зоогигиеническое требование.[2]

Рисунок 1- Классификация систем вентиляции животноводческих помещений

Механическая нагнетательная система вентиляции для коровника на 200 голов привязного содержания показана на рисунке 2. Теплоснабжение осуществляется от котельной, расположенной в молочном блоке и оборудованной паровым котлом КВ-300М или Д-721А.

- молочный блок; 2 - вентиляционная камера; 3 - дроссель клапаны; 4 - воздуховоды; 5 - калорифер КФБ-7; 6 - центробежный вентилятор

Рисунок 2- Нагнетательная вентиляционная система в четырехрядном коровнике

Приточный воздух нагнетается вентилятором Ц4-70 № 8 с подогревом в калорифере КФБ-7, после чего распределяется через перфорированные воздуховоды в верхней части стойлового помещения. Вытяжная часть вентиляции естественная, с удалением загрязненного воздуха через щель, устроенную между плитами по коньку крыши вдоль всего помещения.

В качестве самостоятельной вытяжная система применяется редко. Она принудительно с помощью осевых вентиляторов удаляет загрязненный воздух из помещения. При этом давление воздуха в последнем снижается, и наружный воздух устремляется внутрь через вентиляционные отверстия в щели. Такая система обслуживается комплектом оборудования «Климат-4» без применения теплогенератора.

Воздухообмен, необходимый для животноводческих помещений, значительно превышает возможности естественной вентиляции, что требует установки нагнетательно-вытяжных систем с искусственным подогревом приточного воздуха в зимнее время (особенно в свинарниках-маточниках и птичниках клеточного содержания с высокой концентрацией поголовья).

Нагнетательная механическая система подает на 15-20 % воздуха больше, чем его проходит через вытяжную систему. Она способна обеспечить свежим воздухом в требуемом количестве любое место помещения. Промышленность выпускает специальные комплекты оборудования под общим названием «Климат», а также вентиляционно-отопительные агрегаты серии КПС и калориферные установки разной мощности для обслуживания специальных ферм и комплексов промышленного типа.

В зависимости от требуемого направления основного потока воздуха в помещении системы вентиляции бывают вертикальные и горизонтальные. Самой рациональной считается вертикальная подача воздуха по схеме сверху вниз. На рисунке 3 показаны принципиальные схемы устройства системы регулирования микроклимата в животноводческих помещениях.

Нагнетают воздух центробежные вентиляторы Ц4-70 № 7 или № 8, а удаляют его по этой схеме осевые вентиляторы серии ВО комплекта оборудования «Климат-4», расположенные в стенах нижней части здания. Для аварийной вентиляции последние оборудуются вытяжными шахтами, снабженными утепленными клапанами.


а - коровники при привязном и беспривязном содержании; б - помещения с подпольным хранением навоза; в- комплексы на 24 тыс. свиней в год; г - комплексы на 108 тыс. свиней в год; 1 - калорифер; 2 - приточный вентилятор; 3 - воздуховод; 4 - вытяжная шахта; 5 - окно; 6 вытяжной канал; 7 - вытяжной вентилятор; 8 - верхний воздуховод в системе вытяжки; 9 - вытяжная шахта с вентилятором; 10- вытяжные каналы; 11 - вентиляционно-отопительные агрегаты

Рисунок 3- Схемы систем обеспечения заданного микроклимата в различных животноводческих помещениях

Основные требования к работе систем вентиляции для животноводческих и птицеводческих помещений сводятся к следующим:

. Приточные каналы (шахты) следует располагать в верхней или в средней части помещения, так как при значительных скоростях движения воздуха их близкое расположение к животным может стать причиной простудных заболеваний. Каналы оборудуют дефлекторами или насадками, отклоняющими поток наружного воздуха от животных.

. Вытяжные каналы следует выполнять в нижней части помещения, в зоне расположения животных или птицы и дополнительно под полом - для вытяжки загрязненного воздуха из каналов навозоудаления. Воздухозаборные тумбы вытяжных каналов или отверстия в стенах нельзя располагать против приточных каналов или на малом расстоянии от них (менее 2,5 м).

При несоблюдении этого требования в помещении могут образоваться застойные зоны («воздушные мешки»),

3.     Распределительные приточные воздуховоды рекомендуется делать из более экономичных синтетических материалов (пленки).

4.     Для повышения температуры приточного воздуха в зимнее время рекомендуется применять средства локального обогрева как менее металлоемкие и позволяющие автоматизировать систему. К таким средствам относятся электрокалориферы серии СФО или ОКБ, водяные калориферы серии КФС или КФБ, а также теплогенераторы типа ТГ-2,5, ТГ-10 и др. Особый интерес представляют новые конструкции автоматизированных при- точно-вентиляционных установок серии ПВУ, которые работают в сочетании с электронагревательными элементами (ТЗН) и не требуют распределительных воздуховодов.

5.     В разные периоды года - холодный, переходный (при температуре наружного воздуха до 283 К) и теплый - система вентиляции должна работать по различным схемам и в разных режимах, так как потребность в воздухообмене изменяется в широких пределах. Так, в птичниках она может варьироваться в 5- 10 раз. Это значит, что такие пределы перестройки системы в зависимости от сезона должны быть предусмотрены в ее конструктивном решении.[3]

2. Оборудование для вентиляции и воздушного отопления

При большой плотности размещения животных в помещении требуемый воздухообмен можно обеспечить только с помощью вентиляторов, которые делят на радиальные (центробежные) и осевые.

Радиальные вентиляторы бывают правого и левого вращения. В первом случае рабочее колесо вращается по ходу часовой стрелки (если смотреть со стороны всасывающего патрубка), во втором - против хода часовой стрелки. Наиболее широко применяют вентиляторы В-Ц4-70, В-Ц4-70А, В-Ц4-75, В-Ц4-76, В-Ц14-46.

Осевые вентиляторы бывают общего (В-06-300-6/25, В-2,3-130) и специального (ВО-Ф и BO-МУЗ) назначения. Они входят в комплект отопительно-вентиляционного оборудования «Климат»(рисунок 4)[1] .

- станция управления; 2- регулирующий клапан; 3- вентиляционно-отопительные агрегаты; 4- электромагнитный клапан; 5- напорный бак для воды; 6- воздуховоды; 7- вытяжной вентилятор; 8- датчик

Рисунок 4- Оборудование «Климат-3»

Известны крышные вентиляторы КЦЗ-90 и КЦ4-84, а также крышные вытяжные вентиляторы ЦЗ-0,4.

При совмещении воздушного отопления и вентиляции животноводческих помещений источники нагрева воздуха выбирают в зависимости от конкретных условий. Экономически оправдано, к примеру, будет использование водяных (паровых) калориферов и тепловентиляторов в случае сосредоточения на малой площади большого числа сельскохозяйственных зданий с центральной котельной. На малых фермах, когда отапливаемых животноводческих помещений мало или они находятся на значительных расстояниях друг от друга, целесообразно использовать теплогенераторы. Если имеются запасы электроэнергии, которые можно реализовать для отопления, то рациональнее применять электрокалориферы.

В животноводстве обычно используют калориферы КВС-П и КВБ-П, теплоносителем в которых является горячая вода. Эти пластинчатые ребристые калориферы изготовляют многоходовыми по горячей воде. Конструктивные размеры и технические данные их зависят от номера (типоразмера) калорифера. Модели КВБ-П и КВС-П различаются шириной.

Промышленность поставляет электрокалориферы типов СФО и ОКБ, а также электрокалориферные установки СФОА, в состав которых входят электрокалорифер, вентилятор и электродвигатель.

Для отопления и вентиляции животноводческих помещений широко применяют теплогенераторы типов ГТГ и ТГ, работающие на газе или жидком топливе (ТГ-1,0А, ТГ-1,5 и др.).

В качестве тепловентиляторов для животноводства используют установки типа ТВ(рисунок 5), состоящие из водяного калорифера и двухско- ростного центробежного вентилятора. Типоразмерный ряд их включает модификации ТВ-6, ТВ-9, ТВ-12, ТВ-18, ТВ-24 и ТВ-36, рассчитанные на подачу воздуха от 6 до 36 тыс. м3/ч.

- температурное реле; 2 - калорифер; 3 - обводной канал; 4 - поворотная ось; 5 - всасывающий патрубок; 6 - жалюзи; 7 - исполнительный механизм; 8 - тяга; 9 - панель; 10 - вентилятор; II - каркас; 12 - нагнетательный патрубок; 13 - натяжное устройство; 14 - электродвигатель; 15 - клиноременная передача

Рисунок 5- Схема тепловентилятора ТВ

Кроме того, в сельском хозяйстве применяют комплекты автоматизированного вентиляционно-отопительного оборудования «Климат-45М» и «Климат-8», а также приточно-вытяжные установки ПВУ-4М, ПВУ-6М, особенностью которых является совмещение притока и вытяжки воздуха в одном агрегате, что исключает необходимость устройства распределительных воздуховодов в помещениях. Объемный расход воздуха ПВУ на притоке 4...9 тыс. м3/ч, а на вытяжке 3,4...8 тыс. м3/ч.

Технические характеристики оборудования системы вентиляции и воздушного отопления приведены в справочниках по отоплению и вентиляции.

3. Оборудование для освещения, излучения и облучения

Помимо температурно-влажностного режима, создание оптимального микроклимата включает и такие операции, как освещение, очистку воздуха от пыли и микроорганизмов, дезодорацию, ионизацию и ряд других.

Освещенность. Посредством зрения человек получает до 90 % всей информации, необходимой для выполнения работы. Между такими факторами, как свет, качество работы, несчастные случаи на производстве и продуктивность животных, существует определенная взаимозависимость. В связи с переводом животноводства на промышленную технологию потребовалось значительно повысить нормативы на освещенность помещений, наполненных механизмами. Влияние света на продуктивность животных определяется тем, что он вместе с другими факторами среды в значительной мере влияет на обмен веществ. При этом важна, особенно для овец и птицы, не только сама освещенность, но и продолжительность светового дня.

Освещенность внутри помещений оценивается коэффициентом естественной освещенности (КЕО), который представляет собой выраженное в процентах отношение освещенности внутри помещения к освещенности на горизонтальной плоскости снару жи. КЕО помещений для животных при верхнем освещении должен быть не менее 0,8, а при боковом - не менее 0,5.

Для оценки искусственной освещенности подсчитывают число ламп в помещении, суммируют их мощность в ваттах, затем с помощью переводного коэффициента выражают ее в люксах и делят на площадь пола в квадратных метрах. В качестве источников искусственного света в помещениях применяют лампы накаливания общего назначения, люминесцентные ртутные лампы низкого или высокого давления.[3]

Для автоматического управления искусственным освещением по заданной программе применяется, прибор управления светом ПРУС-1 и более совершенная конструкция его - ПРУС-2. Прибор позволяет имитировать утреннюю и вечернюю зори. Имитация рассвета и сумерек осуществляется двухступенчатым включением и отключением освещения. В состав прибора входят блок управления, показанный на рисунке 6, и блок магнитных пускателей. Вал пружинного двигателя вращает программный барабан с частотой один оборот в сутки. Длительность светового дня определяется размером невырезанной части барабана. Форма выреза соответствует световому режиму. При вращении барабана рычаги микровыключателей скользят по его поверхности. Когда контакты замкнуты, освещение включено. Когда же они попадают в вырез, то происходит размыкание, и свет в помещении гаснет. Программа может быть задана на 400 сут.

- двигатель пружинный с часовым механизмом; 2 - минутная шкала; 3 - суточная шкала; 4 - программный барабан; 5, 9, 10 - шестерни; 6 - фрикцион; 7- рычаг установки неизменяющейся программы; 8 - корпус; 11 - шкала программы; 12 - гайка с плитой; 13 - микровыключатели; 14 - винт; 15 - рукоятка винта

Рисунок 6- Блок управления прибора ПРУС-l

Оптическое излучение. Излучение - это один из видов выделения телом накопленной в нем энергии. Оптическим называют излучение с длиной волны от 10 нм до 340 мкм. В оптическую область спектра входят следующие виды излучения: ультрафиолетовое- УФ (от 10 до 380 нм), видимое (от 380 до 760 нм) и инфракрасное - ИК (от 760 нм до 340 мкм). Наиболее сильно и многосторонне влияет на микроклимат помещений и организм животных ультрафиолетовое излучение, оказывающее эритемное и бактерицидное воздействия.

Наибольшую часть оптической области спектра занимает инфракрасное излучение, которое делится на коротковолновое (от 760 нм до 25 мкм), средневолновое (от 25 до 250 мкм) и длинноволновое (от 250 до 340 мкм). Оно оказывает преимущественно тепловое воздействие и используется для локального обогрева животных и птицы. Источниками инфракрасного излучения для обогрева молодняка животных и птицы служат специальные электрические зеркальные лампы типа ИКЗ-220-500, КИ-220-1000 и др., называемые «светлыми излучателями». Кроме «светлых.», применяются и «темные излучатели», или ТЭНы, мощностью 250-1200 Вт типа ОКБ-3295, ОКБ-3296Т и другие.

Для ультрафиолетового облучения животных и птицы применяют люминесцентные эритемные лампы типа ЛЭ и ртутно- кварцевые лампы типа ДРТ.


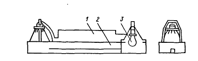
- дроссель; 2 - лампа ультрафиолетового излучения ЛЭ-15; 3 инфракрасная лампа ИКЗК-220-250

Рисунок 7- Облучатель ИКУФ-1

Инфракрасный ультрафиолетовый облучатель ИКУФ-1, изображенный на рисунке 7, состоит из корпуса коробчатой формы, в котором установлены две инфракрасные лампы типа ИКЗК-220- 250; между ними находится ультрафиолетовая лампа типа ЛЭ-15 с отражателем.

Управление облучателем автоматическое и ручное. Продолжительность работы и длительность отключения ламп регулируются реле времени типа 2РВМ, настроенным на заданный цикл работы.[3]

Список используемой литературы

1. Тарасенко А. П. «Механизация и электрификация сельскохозяйственного производства», - М.: КолосС,2002. - 552 с.

2. Коба В. Г. «Механизация и технология производства продукции животноводства», - М. Колос, 1999-528 с.

3. Мельников С. В. «Технологическое оборудование животноводческих ферм и комплексов», - Л. Агропромиздат, 1975-580 с.

Похожие работы на - Системы вентиляции и воздушного отопления

 

Не нашли материал для своей работы?
Поможем написать уникальную работу
Без плагиата!
Без нейросетей!