Монтаж рулонной кровли

  • Вид работы:
    Контрольная работа
  • Предмет:
    Строительство
  • Язык:
    Русский
    ,
    Формат файла:
    MS Word
    76,19 Кб
  • Опубликовано:
    2015-05-14
Вы можете узнать стоимость помощи в написании студенческой работы.
Помощь в написании работы, которую точно примут!

Монтаж рулонной кровли

 

 

 

 

 

 

 

 

 

 

 

 

 

 

Контрольная работа

Монтаж рулонной кровли

Содержание

 

1. НАЗНАЧЕНИЕ И ВИДЫ КРОВЕЛЬ

. УСТРОЙСТВО РУЛОННОЙ КРОВЛИ

.1 Материалы для выполнения кровельных работ

.2 Устройство основания кровли

.3 Подготовка и укладка рулонного материала

.4 Наклейка рулонной кровли из наплавляемых материалов

Литература



1. НАЗНАЧЕНИЕ И ВИДЫ КРОВЕЛЬ

Верхняя ограждающая часть здания, обеспечивающая его защиту от механических и атмосферных воздействий (осадков, резких колебаний наружной температуры, солнечной радиации и пр.), а также вредных выбросов промышленных предприятий, называется крышей. Крыша является наиболее характерной частью внешнего облика здания, поэтому она определяет в историческом плане общий вид застройки населенных пунктов в различных регионах мира. Архитектурный стиль, конфигурация здания в плане и его назначение обеспечили появление различных по форме и конструктивному решению типов крыш: плоских, скатных, шатровых, сводчатых, куполообразных, сферических, шпилеобразных и т.п.

 Любая крыша состоит из несущих и ограждающих элементов. Несущие элементы (сборные и монолитные плиты, стропила, прогоны, профнастил, своды и т. п.) воспринимают нагрузки от собственной массы, снега, ветра и передают их на стены, колонны или столбы.

Ограждающие элементы обычно состоят из деревянного настила или обрешетки, стяжки, паро- и теплоизоляционного слоев, по которым устраивается кровля.

Кровля - верхняя часть крыши, представляющая собой водонепроницаемый гидроизоляционный слой (оболочку). Для устройства кровельных покрытий используются различные виды рулонных, мастичных, листовых и штучных материалов, выбор которых определяется климатическими условиями, архитектурными требованиями, защитными функциями, степенью капитальности сооружения, принятой конструкцией и уклонами крыши, эстетическими требованиями и др.

Первыми кровельными материалами являлись ветки деревьев и шкуры животных, которыми первобытный человек защищал свои шалаши и хижины от атмосферных воздействий. К наиболее древним кровельным и изоляционным материалам относятся природный битум и смола, которые использовались при строительстве египетских и вавилонских сооружений. Огромные шумерские храмы (2200 г. до н. э.) возводили с террасами из обоженного кирпича и заливали асфальтом.

Примечательно, что уже две тысячи лет назад жилища и другие постройки покрывались плоскими крышами, на которых можно было уединяться и совершать прогулки. Так в Евангелии от Матфея, повествующем о событиях начала новой эры, в предсказании о разрушении Иерусалима и путях спасения его жителей есть слова: «И кто на кровле, тот да не сходит взять что-нибудь из дома своего … да бегут в горы».

Применяемые кровельные материалы можно разделить на мягкие и твердые.

Мягкие материалы для кровли использовались с древних времен. Такими материалами покрывались не только жилища, но и дворцы, храмы, спортивные площадки и цирковые арены. Образцом строительного искусства античного мира является возведенный в 75-80 гг. н. э. римский амфитеатр Колизей, вмещавший 50 тыс. зрителей. Эллиптическое в плане сооружение с размерами 189х156 м и высотой 48 м было перекрыто без промежуточных опор навесным тентом, который защищал зрителей от атмосферных осадков и солнца [13].

Листовые кровельные материалы появились в конце XVII в., когда полосы бумаги прибивали к обрешетке и покрывали горячим древесным дегтем. Позже начал использоваться листовой толь, а затем и длинные ленты картона, пропитанные каменноугольным дегтем и свернутые в рулон. В начале XX в. наряду с толем стал применяться битумный рулонный материал - рубероид.

Современные здания и сооружения с плоскими крышами покрывают мягкими рулонными и мастичными материалами на основе битума, синтетического каучука и полимеров. Достоинством таких покрытий является меньшая по сравнению с кровлями из твердых материалов трудоемкость за счет механизации отдельных процессов, но срок их службы составляет не более 5-10 лет. К твердым относятся разные виды листовых и штучных материалов, которые укладываются по чердачным покрытиям с уклоном скатов более 10 %. Наиболее древними кровлями из твердых материалов являются черепичные кровли, так как исходное сырье для их изготовления (глина) широко и издавна добывалось и использовалось в гончарном производстве. В местностях, богатых лесом, с разделкой древесины появились деревянные кровли из драни, гонта и досок.

В настоящее время кровли из штучных материалов устраиваются как из традиционных асбестоцементных листов и плиток, глиняной черепицы, листовой стали, так и из новых кровельных изделий: металлочерепицы, листов Ондулин, профилированного настила, цементно-песчаной и битумной черепицы и пр.

Заслуживает внимания покрытие из кровельной меди. Технология его возведения аналогична устройству металлической кровли, но срок службы в 4-6 раз больше и равен 100-150 годам. Кровля из меди не требует ухода. Первое время медь будет иметь золотистый блеск, примерно через год появится характерный бронзовый отлив, и, в конце концов, медная кровля превратится в бирюзово-изумрудную, как на объектах средневековой архитектуры. Преимуществом кровель из штучных материалов перед рулонными и мастичными кровлями является их долговечность (черепичные кровли служат 60 лет и более, асбестоцементные - 30 и более, металлические - до 25 лет). Но их устройство требует больших затрат труда, так как работы по их возведению мало механизированы.

рубероид мастика кровля рулонный материал

2. УСТРОЙСТВО РУЛОННОЙ КРОВЛИ

2.1 Материалы для выполнения кровельных работ

Для наклейки рулонной кровли по традиционной технологии потребуется: рулонный кровельный материал, мастика для его приклеивания, грунтовка для пропитки основания кровли, материалы для устройства защитного слоя.

Рулонные кровельные материалы классифицируются:

по структуре полотна:

- с основой (рубероид, пергамин, гидроизол, стеклорубероид, фольгоизол и др.);

без основы (изол, бризол, бикапол);

по виду основы на:

- картонной основе;

асбестовой основе;

стекловолокнистой основе;

основе из полимерных волокон;

комбинированной основе;

по типу покровного компонента на:

- битумные;

полимерные;

битумно-полимерные;

по виду защитного слоя:

- материалы с посыпкой;

материалы с фольгой;

материалы с пленкой.

Рулонные материалы на картонной основе с битумным вяжущим (рубероид, пергамин, рубемаст и др.) рекомендуется применять в кровлях зданий и сооружений со сроком службы до 5 лет. Ограниченная долговечность указанных выше материалов объясняется высокой водопоглощающей способностью картона, который набухает и загнивает, а также коробится при изменении климатических условий.

В рулонных материалах нового поколения используется неорганическая основа (стеклоткань, асбест, металлическая фольга и др.), а в качестве пропитки - окисленный битум и полимерные мастики. Потенциальный срок службы таких материалов (гидроизол, стеклорубероид, фольгоизол, армобитеп и др.) от 8 до 25 лет.

Кровельный рубероид изготавливается в соответствии с ГОСТ [5].
В зависимости от назначения, вида посыпки и типа основы он подразделяется на марки, например: РКК-400, РКК-350, РКП-350, РКЦ-400, РПП-300 и др. Первые две буквы в обозначении марки указывают на область применения: РК - рубероид кровельный, РП - рубероид подкладочный. Индексы К, П и Ц определяют вид посыпки: крупнозернистая, пылевидная и цветная. А цифра в марке рубероида отражает массу 1 м2 основы в г.

ООО Хабаровский завод кровельных материалов «Далькровля» отпускает потребителям следующие виды своей продукции:

Стекломаст и стеклобит - новейшие виды наплавляемых кровельных и гидроизоляционных материалов на биостойкой основе. Они изготавливаются путем нанесения на стеклоткань, стеклохолст или полиэфирное полотно утолщенного слоя битумной мастики, а также крупнозернистой и пылевидной посыпки.

Рубемаст РНК-350-1,5 и РНП-350-1,5 - наплавляемый материал, производимый посредством обогащенной пропитки битумом кровельного картона с крупнозернистой и пылевидной посыпкой. Используется для наклейки способом наплавления нижних и верхних слоев кровли.

Рубероид РКК-350 и РКК-400 - используется в верхних слоях кровли, имеет крупнозернистую посыпку с верхней стороны и пылевидную с нижней стороны полотна.

Рубероид РКП-350 - применяется для верхнего слоя кровельного ковра с последующим устройством защитного слоя, а также для укладки нижних слоев кровли и гидроизоляции строительных конструкций. Имеет пылевидную или мелкозернистую посыпку с обеих сторон полотна.

Рубероид РПП-300 - укладывается в нижних слоях кровельного ковра, имеет с обеих сторон пылевидную посыпку.

Пергамин П-350 - вырабатывается путем пропитки кровельного картона битумом. Применяется как подкладочный и упаковочный материал.

Указанные выше кровельные материалы выпускаются в рулонах массой от 16 до 40 кг. Ширина полотна - 1 м, а длина - 10, 15 или 20 м.

Мастики должны соответствовать требованиям ГОСТ [6]. Они представляют собой искусственные смеси вяжущих веществ с минеральными наполнителями и добавками, улучшающими свойства материала. В качестве наполнителей используется асбест, минеральная вата, торфяная крошка, древесные опилки, порошки извести, мела, талька, золы и т. п. Наполнители повышают теплостойкость и твердость мастик, уменьшают их хрупкость при низких температурах, сокращают расход вяжущего вещества. Волокнистые наполнители, армируя материал, повышают его сопротивление изгибу.

Мастики кровельные подразделяются:

по типу вяжущего на:

- битумные;

дегтевые;

полимерные;

битумно-полимерные;

битумно-эмульсионные;

битумно-резиновые;

по способу применения на:

- горячие с температурой до 160-180 °С;

холодные с подогревом до температуры 90 °С.

Обозначение марки мастики (МБК-Г-55, МБК-Г-65, МБР-90 и т. п.) состоит из буквенных символов, указывающих ее вид и назначение - «мастика битумная кровельная горячая» или «мастика битумно-резиновая», и цифры, определяющей ее теплостойкость в градусах Цельсия.

Горячие мастики обеспечивают большую долговечность и прочность кровли, но технология их приготовления и использования более сложная.

С целью повышения качества приклейки рулонных материалов цементно-песчаную стяжку или поверхность железобетонных плит покрытия перед укладкой кровельного ковра грунтуют холодными битумными грунтовками.

Для предохранения кровли с уклоном до 10 % от механических, атмосферных и биологических воздействий устраивается защитный слой, состоящий из мелкого гравия, песка или каменной крошки, которые втапливаются в слои мастики. При уклонах более 10 % защитный слой может быть выполнен в виде окрасочного покрытия.

2.2 Устройство основания кровли

Любое кровельное покрытие имеет небольшую толщину, поэтому его качество зависит от основания, на которое оно уложено.

Основанием рулонных кровель могут служить ровные поверхности:

монолитных стяжек из цементно-песчаного раствора и асфальтобетона;

железобетонных несущих плит покрытий;

монолитной и сборной теплоизоляции без устройства по ним стяжек.

При ремонте и реконструкции без снятия покрытия и утеплителя основанием служит водоизоляционный ковер существующей кровли.

Выравнивающая цементно-песчаная стяжка толщиной 10-30 мм выполняется из раствора марок 50-100, а асфальтовая толщиной 15-20 мм - из горячего асфальтобетона с прочностью на сжатие не менее 0,8 МПа. Стяжки из асфальтобетона не допускаются при уклонах кровель  более 25 %, по сжимаемым и засыпным утеплителям, а также при наклейке рулонных материалов с помощью холодных мастик.

Пластичный цементно-песчаный раствор доставляют на строительную площадку автосамосвалами или автобетоновозами, выгружают в приемный бункер штукатурной станции или установки СО-165, подают по стояку и наносят на основание с помощью сжатого воздуха. На кровли с уклоном более 15 % раствор поднимают краном в бадьях, перевозят в емкостях на колесном ходу и наносят вручную, так как при больших уклонах жидкий раствор растекается, снижая качество основания.

Асфальтобетон для образования стяжки подают краном или подъемником, развозят мототележками или мотороллерами, разравнивают граблями и уплотняют катком массой 80-100 кг. В стесненных местах разравнивание и уплотнение асфальтобетонной смеси производят гладилками. Песчаный асфальтобетон, укладываемый для получения стяжки, должен иметь температуру 160-180 °С. При более низких температурах смеси поверхность стяжки становится шероховатой с раковинами и трещинами, которые снижают сцепление кровельного ковра с основанием.

Перед устройством стяжки по нивелиру устанавливают маячные рейки, которые образуют полосы шириной не более 2-3 м. Полосы заполняют раствором или асфальтобетоном через одну и с помощью правила или виброрейки выравнивают их поверхность. После набора прочности уложенным материалом рейки убирают и заполняют пропущенные полосы по описанной выше технологии. Работы по устройству стяжки выполняет звено в составе 2 рабочих: 3-го и 2-го разрядов.

Для уменьшения деформаций монолитные основания разрезают температурно-усадочными швами шириной до 5 мм, которые разделяют цементно-песчаную стяжку на участки размером не более 6х6 м, а асфальто-бетонную стяжку - на участки размером не более 4´4 м [2]. Швы создают путем установки реек, которые удаляют после твердения материала стяжки с последующим заполнением борозд герметиком и односторонней наклейкой на шов полосок рулонного материала шириной 150-200 мм.

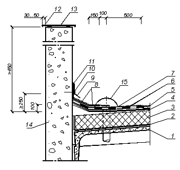
Рис. 1. Примыкание кровли к парапету высотой более 450 мм:  1 - сборная железобетонная плита; 2 - пароизоляция; 3 - теплоизоляция; 4 - стяжка; 5 - грун-товка; 6 - кровельный ковер;  7 - защитный слой; 8 - дополнительные слои ковра; 9 - фартук из оцинкованной стали; 10 - крепежный элемент (дюбель); 11 - герметик; 12 - покрытие парапета оцинкованной сталью; 13 - костыли из стальных полос 400´40 мм;  14 - cтена; 15 - воронка внутреннего водостока

При выполнении стяжек места примыканий к стенам и другим конструктивным элементам закругляются или притупляются под углом 45о путем устройства бортиков из раствора или легкого бетона (рис. 1). Вертикальные поверхности конструкций, выступающие над кровлей, должны быть оштукатурены на высоту не менее 250 мм. Для закрепления на примыканиях верхнего края рулонного ковра и фартуков из оцинкованной стали могут заделываться деревянные рейки или пробки на высоте, предусмотренной проектом.

При высоте парапета до 450 мм слои водоизоляционного ковра заводят на его верхнюю грань и защищают от затекания атмосферных осадков оцинкованной кровельной сталью или парапетными плитами.

Поверхность основания из раствора и бетона должна быть огрунтована холодными составами, приготовленными из битума и растворителя (керосина, солярки, уайт-спирита и др.). Для получения 10 кг битумной грунтовки ориентировочно требуется 3 кг битума и 7 кг растворителя. При приготовлении грунтовочного состава вначале расплавляют и обезвоживают битум. После остывания до 700 его вливают небольшими порциями в растворитель с перемешиванием деревянной мешалкой. Полученная грунтовка должна быть жидкой, однородной и без посторонних включений.

Огрунтовка цементно-песчанных стяжек с уклоном поверхности  до 5 % должна производиться не позднее чем через 4 ч после укладки раствора. Стяжки с уклоном поверхности более 5 % огрунтовываются после их твердения раствором битума в быстро испаряющемся растворителе.

Грунтовку наносят полосами шириной 3-4 м без пропусков и разрывов с помощью окрасочного распылителя или кисти. Толщина слоя для кровель из обычных рулонных материалов должна составлять  0,3-0,6 мм при расходе 200 г грунтовочного состава на 1 м2 стяжки, а для кровель из наплавляемых материалов - 0,7 мм. Время высыхания грунтовки на свежеуложенных стяжках - до 48 ч, на затвердевших - 12 ч. Признаком готовности основания кровли является прекращение «отлипа» грунтовочных составов. Свежеогрунтованная стяжка не требует защиты от воздействий солнца и ветра, так как созданная на поверхности пленка препятствует испарению воды.

В процессе устройства основания систематически проверяют качество используемых материалов и соблюдение технологии выполнения строительных процессов. Основание должно быть прочным, жестким и ровным. Особенно тщательно следует контролировать качество поверхности основания и отсутствие обратных уклонов. Прочность и жесткость основания под кровлю считаются достаточными, если оно не пылит и не прогибается при перемещении работников по скату.

Допускаемые отклонения при контроле рейкой длиной 3 м вдоль уклона и на горизонтальной поверхности не должны превышать ±5 мм, а при контроле поперек уклона и на вертикальной поверхности - ±10 мм.

2.3 Подготовка и укладка рулонного материала

Рулонные кровли устраивают с уклоном от 0 до 25 %. Величина уклона определяет количество слоев кровельного покрытия и направление укладки полотнищ. При уклоне ската до 15 % полотнища наклеивают перпендикулярно стоку воды, а при уклоне 15 % и более - в направлении стока. Перекрестная наклейка рулонов не допускается.

Для устранения волн и складок, образующихся при хранении, кровельные материалы до употребления выдерживают в раскатанном состоянии не менее 20-24 ч при положительной температуре или, как минимум, перематывают на обратную сторону. Перед наклейкой ковра на горячих битумных мастиках необходима очистка нижней поверхности и кромок лицевой стороны полотнищ от посыпки. Механизированную перемотку и очистку выполняют на машине СО-98А. Вручную защитный слой можно снять путем смачивания поверхностей соляркой, которая размягчает мастику, с последующим механическим удалением посыпки щетками.

Горячие битумные и битумно-резиновые мастики в условиях массового строительства готовят централизованно в специальных битумоплавильных установках и доставляют на строительную площадку машинами, предназначенными для транспортирования, подогрева, перемешивания и подачи к месту их нанесения.

При приготовлении мастики у объекта строительства используют битумоварочные котлы, оборудованные нагревательными элементами и перемешивающими устройствами. Варку мастики начинают с загрузки в котел дробленого битума. После расплавления и вспенивания с его поверхности снимают всплывшие посторонние примеси с помощью натянутой на толстую проволоку металлической сетки или консервной банки с пробитыми в дне отверстиями, которые прикрепляются к длинной ручке. Повышать температуру битума можно до 200о и не более чем на 1 ч. В случае появления желтых паров температура мастики сразу же должна быть снижена. По окончании варки масса становится однородной, а поверхность зеркальной. Заключительным этапом в приготовлении мастики является добавление наполнителя, который предварительно просеивают через сито с размерами ячеек не более 3 мм и тщательно высушивают. Влажность асбеста не должна превышать 5 %, других заполнителей - 3 %. Наполнитель засыпают небольшими порциями при постоянном перемешивании мастики. Каждую новую дозу материала вводят после оседания пены.

Битумную мастику применяют в горячем виде, поэтому ее готовят непосредственно перед началом кровельных работ и в количестве, достаточном для одноразового использования. Для получения в построечных условиях 10 кг мастики необходимо 8,2-8,5 кг битума и 1,2-1,5 кг наполнителя (асбеста).

Перед наклейкой рулонного ковра основание тщательно проверяют, очищают сжатым воздухом от компрессора и при необходимости высушивают. Если цементная стяжка не была огрунтована, то перед устройством первого слоя ее поверхность покрывают битумной грунтовкой, приготовленной на быстроиспаряющихся растворителях. К наклейке ковра приступают после установки воронок водостока, покрытия оцинкованной сталью кровельных свесов и устройства ендов. Для усиления кровли места примыкания скатов, свесы, коньки и воронки оклеивают дополнительными полотнищами. В летнее время кровельные материалы начинают приклеивать по асфальтобетонной стяжке через одну смену после ее устройства, а по цементной - через 3-4 дня.

При наклейке рулонной кровли выполняются следующие операции: доставка рулона, его примерка с раскаткой, разметкой, нарезкой (в случае необходимости) и обратным скатыванием в рулон, нанесение мастики, приклеивание полотнища с его разглаживанием и шпаклевкой швов в местах выступившей мастики, прикатка рулона.

Кровельные работы могут производиться вручную, с использованием простейших приспособлений (удочек для нанесения мастик, тележек для доставки материалов и др.) и с помощью самоходных средств механизации для наклеивания рулонов (машина СО-99 и др.).

Ручная наклейка кровель выполняется по захваткам звеном в составе 2 или 3 рабочих. Звено из двух кровельщиков 4-го и 2-го разрядов вначале на скате шнуром, натертым мелом, намечает положение продольных кромок приклеиваемых рулонов и вдоль разметки раскатывает первое полотнище. Если его кромка совпадает с нанесенной меловой линией, то полотнище скатывают в обратном направлении, и кровельщик 4-го разряда отгибает конец длиной 0,5-0,7 м. В это время кровельщик 2-го разряда перемешивает в бачке или термосе мастику и щеткой промазывает основание и отвернутый конец. После нанесения мастики кровельщик 4-го разряда, сохраняя положение рулона, наклеивает промазанную его часть и разглаживает руками в брезентовых рукавицах в направлении от середины к краям, удаляя воздух.

В дальнейшем кровельщик 2-го разряда наносит мастику двумя продольными полосами длиной 0,5-0,6 м перед раскатываемым рулоном, а затем поперечными движениями щетки промазывает ровным слоем без пропусков поверхность между полосами. Кровельщик 4-го разряда, стоя на коленях, раскатывает рулон на промазанную часть основания и притирает его вручную от середины к краям. Если край рулона отклоняется от меловой линии, рабочий сильнее нажимает на ту кромку, которая привела к отклонению от разметки. При невозможности исправления положения рулона его разрезают и начинают наклеивать в нужном направлении с поперечной нахлесткой не менее 100 мм на первую часть полотнища.

Выявленные вздутия кровельщик 4-го разряда прокалывает и для удаления воздуха плотно прижимает их до появления из прокола нанесенной ранее мастики. Дальнейшая наклейка ковра ведется в описанном выше порядке.

В процессе наклейки перед раскатываемым рулоном должен образовываться непрерывно перемещающийся валик излишней мастики высотой 5-10 мм, который сглаживает все неровности. При отсутствии такого валика могут образовываться непроклееные участки, которые со временем приведут к появлению пузырей, заполненных воздухом или водой.

При выполнении работ звеном из трех рабочих (один кровельщик  4-го разряда и два - 2-го разряда) разделение труда следующее. Кровельщик 4-го разряда и первый кровельщик 2-го разряда примеряют рулон, скатывают его обратно и приклеивают верхний конец полотнища к основанию. После этого первый кровельщик 2-го разряда переставляет бачок или термос, перемешивает и ковшом разливает мастику перед наклеиваемым рулоном. Второй кровельщик 2-го разряда гребком или шпателем разравнивает мастику тонким сплошным слоем толщиной 2 мм, а кровельщик 4-го разряда раскатывает и приклеивает вручную полотнище, устраняет воздушные мешки и притирает выступившую у кромок мастику. После наклейки кровельщик 2-го разряда прикатывает рулонный материал катком массой 80-100 кг.

Рулонные полотнища во всех слоях ковра нужно укладывать в одном направлении и следить за тем, чтобы нахлестки смежных слоев не располагались одна над другой. Для выполнения этого требования наклейка нижних слоев ведется с использованием неполномерных по ширине полотнищ. Так в трехслойном ковре первый слой начинается с полотнища шириной в одну треть рулона, второй слой - с полотнища шириной в две трети рулона, а верхний слой - с полномерного рулона (рис. 2, а).

Особенностью устройства рулонной кровли с уклоном более 15 % является то, что наклеиваемые полотнища перепускаются через конек на противоположный скат не менее чем на 1000 мм и наклейка ведется сверху вниз. Горячие мастики должны иметь температуру не ниже 160 °С и наноситься на основание или нижний слой ковра непосредственно перед раскатыванием рулона, а холодные мастики - заблаговременно. При наклейке смежные полотнища укладывают с продольной и поперечной нахлесткой на 100 мм. В нижних слоях кровли с уклоном более 1,5 % допускается нахлестка по ширине на 70 мм [2].

Существуют различные способы устройства ковра: послойный, ступенчатый, ступенчато-послойный (рис. 2). Послойный способ применяют тогда, когда погодные условия требуют скорейшего укрытия основания кровли от дождя и снега. Он позволяет вести тщательный контроль за устройством кровли. При ступенчатом способе существенно сокращается перемещение рабочих и механизмов по уложенным слоям.

Рис. 2. Способы наклейки ковра при трехслойном покрытии: а - послойный; б - ступенчатый; в - ступенчато-послойный; а - величина сдвижки смежных рулонов; b - ширина рулона

Механизированная наклейка кровельных материалов осуществляется с помощью машин, которые наносят мастику, разравнивают ее, разматывают рулон, производят его наклейку и прикатку. При выполнении работы моторист следит за направлением наклейки полотнища, регулирует количество подаваемой мастики, обеспечивает необходимый прижим рулона катком. Плохо наклеенные кромки притирают шпателем с мастикой. В случае образования складок или отклонения рулона машину останавливают, рулон разрезают, некачественную часть полотнища удаляют и процесс продолжают вновь.

Холодные мастики применяются для наклейки покровных кровельных материалов только по огрунтованной цементно-песчаной стяжке. Подогретую до 60-70 °С мастику наносят вручную или способом распыления слоем толщиной не более 1 мм. Излишняя мастика ухудшает качество приклейки. Завершив укладку первого слоя его прикатывают катком три-четыре раза. Следующий слой наклеивают не ранее чем через 12 ч.

Завершающим этапом кровельных работ является устройство защитного слоя механизированным способом или вручную. Для этого поверх кровли наносится слой горячей битумной мастики. Распыление мастики можно произвести с помощью средств механизации (СО-100А, СО-122А и др.). На неостывшую мастику по мере ее заливки рассыпают каменную крошку, состоящую из гравия, известняка или других материалов светлых тонов с крупностью зерен от 5 до 10 мм. Разбрасывание материала может выполняться из передвижных бункеров. После остывания мастики неприклеившуюся посыпку сметают. Если проектом предусмотрен второй слой, то его устраивают таким же способом. Общая толщина защитного слоя должна составлять не менее 10 мм.

Качество кровельного покрытия на всех этапах выполнения строительных процессов можно контролировать по операциям на основании таблицы, приведенной в прил. 1. Перед составлением акта приемки-сдачи кровли проверяется прочность приклейки полотнищ, отсутствие вздутий и отслоений, потеков мастики и обратных уклонов. Обнаруженные воздушные мешки устраняются путем прокола шприцом с растворителем или разрезкой вздутия в виде конверта и приклейкой отогнутых кромок с их обжатием.

Готовая кровля принимается после ее проверки на водонепроницаемость после сильного дождя.

2.4 Наклейка рулонной кровли из наплавляемых материалов

В последнее время на ряде рубероидных заводов России организован выпуск наплавляемых кровельных материалов, при изготовлении которых в заводских условиях наносят утолщенный мастичный слой. Так у обычного рубероида масса покровного слоя составляет 800 г на 1 м2 полотнища, а, к примеру, у выпускаемого Хабаровским заводом «Далькровля» рубемаста общая масса покровного слоя - 2,1 кг/м2 (1,5 кг/м2 с нижней стороны и 0,6 кг/м2 - с верхней). В результате для приклеивания полотнищ к основанию и склеивания их между собой не требуется мастика, а наклейка производится после соответствующей обработки поверхностей (расплавлением или размягчением). Отечественной промышленностью выпускается широкая номенклатура наплавляемых материалов: армобитеп, бикрост, изопласт, ластобит, левизол, линокром, рубемаст, стекломаст, фольгобит и др.

Наплавляемые рулонные материалы предпочтительно применять на кровлях с уклоном 1,5-10 %.

В настоящее время существует два способа наклейки наплавляемых материалов при устройстве рулонных кровель: горячий (огневой) и холодный (безогневой).

Сущность огневого (горячего) способа заключается в расплавлении с помощью высоких температур мастичных слоев склеиваемых поверхностей и их прикатке катком. Температура разогретых мастик должна составлять не менее 140-160 °С. Для оплавления покровного слоя используют агрегаты, работающие на жидком топливе (соляровом масле), газообразном топливе (пропан-бутане) или электрической энергии (инфракрасные излучатели). В общем случае последовательность операций следующая. По подготовленному основанию раскатывают 5-7 рулонов, примеряют каждый рулон по отношению к смежному и обеспечивают необходимую нахлестку в 70-100 мм. Концы раскатанных и примеренных полотнищ с помощью однорожковой газовой горелки приклеивают с одной стороны на длину 0,3-0,5 м. Затем полотнища поочередно снова скатывают, и начинается процесс наклейки основной части рулона.

Кровельщик зажигает горелку и маятниковыми движениями вдоль рулона оплавляет мастику. Одновременно производится раскатка полотнища и его прижатие, которое следует выполнить не позже чем через 5-6 с после нанесения мастики. Прочность приклейки наплавляемых материалов должна составлять не менее 0,5 МПа [2].

При наклейке очень важна синхронность расплавления мастики и раскатывания рулона. Скорость раскатывания определяется временем, необходимым для разогрева мастичного слоя на ранее наклеенном и приклеиваемом полотнище. Этот момент определяется визуально по началу образования валика мастики перед раскатываемым рулоном. Вытекание мастики более чем на 5 мм свидетельствует о нарушении режима прогрева покровного слоя. Признаком нормальной наклейки кровли является отсутствие почернений и пузырей на нижней стороне раскатываемого полотнища.

Укладку наплавляемых материалов целесообразно производить по захваткам звеном рабочих в составе трех человек. Один кровельщик 2-го разряда доставляет рулоны, раскатывает для определения направления и величины нахлестки, размечает их положение и снова скатывает в обратном направлении. Второй кровельщик 4-5 разряда с помощью горелки разогревает покровный слой, регулирует скорость и контролирует качество наклейки полотнищ. Третий кровельщик 3-го разряда закрепляет рулон в катке-раскатчике, разматывает его и следит за соблюдением величины нахлестки. Разогрев материалов огневым способом приводит к прямому контакту между открытым пламенем с температурой 600-800 °С и наклеиваемым рулоном, покровный слой которого при температуре выше 250 °С начинает разлагаться. Слишком длительное воздействие огня на наклеиваемое полотнище приводит к вытеканию мастики из-под рулона и ее разрушению из-за испарения и сгорания легких фракций, что в конечном итоге снижает качество и срок службы кровельного покрытия [12].

Поэтому более эффективным является способ склеивания материалов с использованием установок инфракрасного излучения, которые обеспечивают равномерный и регулируемый тепловой поток, исключающий перегрев и разрушение мастики.

В последние годы значительно большее распространение получает способ устройства рулонных кровель из наплавляемых материалов путем разжижения покровной битумной мастики растворителем: уайт-спиритом, керосином и др.

При холодном способе наклейки наплавляемых материалов на склеиваемые поверхности с помощью распылителя наносят растворитель в количестве 45-60 г на кв. м и через 7-15 мин после укладки наклеиваемое полотнище несколько раз прикатывают катком. Безогневой способ обладает более высокой производительностью, лучшими условиями труда и техники безопасности по сравнению с горячим способом, исключает местные пережоги полотнищ и увеличивает долговечность кровли на 30-35 %.

После устройства кровельного гидроизоляционного ковра из наплавляемых материалов огневым или безогневым способами приступают к нанесению защитного слоя так же, как и при обычных рулонных кровлях.

Литература

1. Инженерные сооружения в транспортном строительстве. В 2 книгах. Книга 1; Академия - Москва, 2008. - 352 c.

. Техническая эксплуатация жилых зданий; Высшая школа - Москва, 2008.

. Физико-химические основы строительного материаловедения; Издательство Ассоциации строительных вузов - Москва, 2004. - 192 c.

. Алексеев Ю. В., Сомов Г. Ю. Градостроительное планирование поселений. В 5 томах. Том 1. Эволюция планирования; Издательство Ассоциации строительных вузов - Москва, 2003. - 336 c.

. Антуфьев Б.А., Горшков А.Г., Егорова О.В., др. Сборник задач по сопротивлению материалов с теорией и примерами; ФИЗМАТЛИТ - Москва, 2003. - 632 c.

. Баженов Ю. М., Коровяков В. Ф., Денисов Г. А. Технология сухих строительных смесей; Издательство Ассоциации строительных вузов - Москва, 2011. - 112 c.

. Белевич В. Б. Справочник кровельщика; Высшая школа - Москва, 2002. - 464 c.

. Белецкий Б. Ф., Булгакова И. Г. Строительные машины и оборудование; Феникс - Москва, 2005. - 608 c.

. Бурлаков И. Р., Неминущий Г. П. Специальные сооружения для игровых видов спорта; СпортАкадемПресс - Москва, 2001. - 184 c.

. Васильев А. П. Эксплуатация автомобильных дорог. В 2 томах. Том 1; Академия - Москва, 2010. - 320 c.

. Волшаник В. В., Суздалева А. А. Классификация городских водных объектов; Издательство Ассоциации строительных вузов - Москва, 2008

. Каменев П. Н., Тертичник Е. И. Вентиляция; Издательство Ассоциации строительных вузов - Москва, 2008. - 624 c.


Не нашли материал для своей работы?
Поможем написать уникальную работу
Без плагиата!
Без нейросетей!