Материалы и покрытия систем теплогазоснабжения и вентиляции
Министерство образования Украины
Донбасская государственная академия
строительства и архитектуры
Конспект лекций
Материалы и покрытия систем
теплогазоснабжения и вентиляции
Составитель В.П. Демешкин
Макеевка 2011
Содержание
Введение
1. Металлы и неметаллические материалы, используемые в системах ТГВ
1.1 Общие сведения о металлах и сплавах
1.2 Способы испытания металлов и сплавов
1.3 Черные и цветные металлы и сплавы
1.3.1 Чугун, его получение, виды и марки
1.3.2 Сталь, её получение, виды и марки
1.3.3 Цветные металлы и сплавы
1.3.4 Конструкционная листовая сталь, алюминий и титан
1.4 Пластические массы и др неметаллические конструкционные
материалы
1.4.1 Общие сведения о пластических массах
1.4.2 Виды пластических масс и область их применения
1.4.3 Асбестоцемент, его свойства и применение
1.5 Защитные покрытия и изоляционные материалы
1.5.1 Виды коррозии в санитарно-технических устройствах
1.5.2 Защитные покрытия систем ГВС, отопления и вентиляции
1.5.3 Материалы и покрытия для изоляции теплопроводов
1.5.4 Материалы и покрытия для изоляции газопроводов
2. Основные изделия и материалы, применяемые в системах ТГВ
2.1 Трубы
2.1.1 Общие сведения о трубах
2.1.2 Стальные водогазопроводные трубы
2.1.3 Стальные бесшовные трубы
2.1.4 Стальные сварные трубы
2.1.5 Трубы из цветных металлов и сплавов
2.1.6 Трубы из неметаллических материалов
2.1.6.1 Пластмассовые трубы
2.1.6.2 Асбестоцементные трубы и воздуховоды
2.1.7 Особенности использования труб в системах газоснабжения
2.1.8 Определение толщины стенки магистральных трубопроводов
2.1.9 Особенности использования труб в системах теплоснабжения
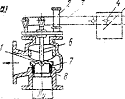
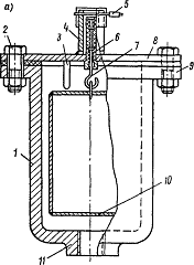
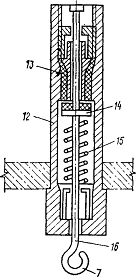
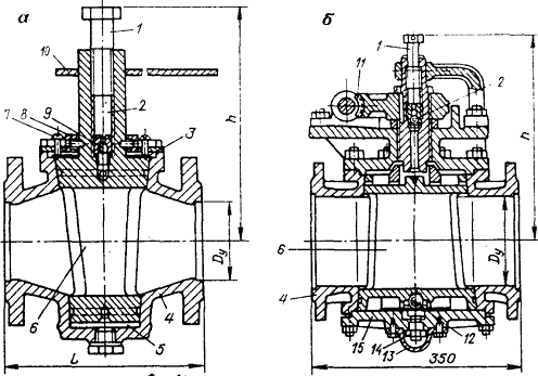
2.2 Арматура
2.2.1 Общие сведения об арматуре
2.2.2 Классификация арматуры
2.2.3 Способы присоединения арматуры
2.2.4 Условные обозначения арматуры
2.2.5 Характеристика основных видов арматуры
2.2.51 Запорная арматура
2.2.5.2 Особенности применения запорной арматуры в газоснабжении
2.2.5.3 Регулирующая арматура
2.2.5.4 Предохранительная арматура
2.2.5.5 Вспомогательная арматура
2.2.6 Приемка, транспортирование и хранение арматуры
3. Вспомогательные материалы
3.1 Прокладочные и уплотнительные материалы
3.2 Набивочные материалы
3.3 Смазочные материалы, олифы и краски
3.4 Приводные ремни
3.5 Приемка, транспортирование и хранение вспомогательных
материалов
Введение
К основным системам ТГВ относятся системы отопления,
вентиляции и кондиционирования воздуха, горячего водоснабжения, газоснабжения,
теплоснабжения. Для устройства данных систем применяются главным образом
металлы и металлические изделия. В основном в санитарно-технических устройствах
используются черные металлы - сталь и чугун, т.к. они достаточно прочны и
дешевле других металлов.
Задача данного курса - изучение материаловедения и технологии
изготовления изделий систем ТГВ для обеспечения правильного (рационального)
подбора материалов для санитарно-технических изделий, экономного расходования
металлов при проектировании и монтаже систем ТГВ.
Наряду с металлами в санитарно-технических устройствах
используются пластические массы, керамика и др. материалы. Пластические массы
значительно легче металлов и находят все более широкое применение в системах
ТГВ.
Цель курса - ознакомление с основными свойствами материалов и
изделий, применяемых в системах ТГВ, выработка правильной ориентации в
многообразии материалов, рационального использования их в практической работе.
арматура металл теплогазоснабжение вентиляция
1. Металлы и
неметаллические материалы, используемые в системах ТГВ
1.1 Общие
сведения о металлах и сплавах
Металл находит самое широкое применение в строительстве. Из
металла изготавливаются основные элементы санитарно-технических устройств:
трубы, соединительные и фасонные части трубопроводов, вентиляционные
воздуховоды, арматура, котлы, вентиляторы, отопительные приборы и т.д.
Металлы имеют характерный металлический блеск в изломе,
обладают пластичностью, высокой электро- и теплопроводностью. Чистые металлы
вследствие низкой прочности и твердости в производстве используются редко. В
системах ТГВ применяются в основном сплавы металлов с металлами или неметаллами
(металлоидами), например кремнием, углеродом.
Сплавом называется вещество, состоящее из двух или более
элементов (металлов или металлов и металлоидов) и обладающие металлическими
свойствами. Приготовляют сплавы способом сплавления, а иногда спеканием,
электролизом или возгонкой. Наиболее распространены в системах ТГВ изделия из
стали и чугуна, являющихся сплавами на основе железа.
Все металлы и сплавы делятся на две большие группы: черные
(железо и его сплавы, главным образом сталь и чугун) и цветные.
Цветные металлы в зависимости от их физико-механических
свойств подразделяются на следующие группы: тяжелые - никель, медь, цинк,
олово, свинец; легкие - литий, бериллий, натрий, магний, алюминий, калий,
кальций, титан, рубидий, стронций, цезий, барий; благородные - рутений, родий,
палладий, серебро, осмий, платина, золото); редкие - ванадий, цирконий, ниобий,
молибден, тантал, вольфрам.
1.2 Способы
испытания металлов и сплавов
Сталь и сплавы при подборе их для определенных изделий и
конструкций выбирают с учетом их механических свойств, из которых согласно
требованиям стандартов на металлопродукцию (лист, фасонный прокат, сортовая
сталь и т.д.) проверяют по следующим основным показателям: временному
сопротивлению разрыву sв, МПа (кГс/мм2), условному пределу
текучести s0,2, МПа (кГс/мм2), относительному удлинению d, %, или относительному
сужению y,
% ударной вязкости КС, Дж/м2 (кГс м/см2). Испытание
данных свойств металлов выполняется на образцах, размеры которых, порядок
операций и методы подсчета результатов регламентируются соответствующими
стандартами: sв, s0,2, d, % или y, % - по ГОСТ 1497-73 с
помощью разрывных машин, КС - по ГОСТ 9454-78 на маятниковых копрах.
Временное сопротивление sв в МПа (кГс/мм2),
- это напряжение, соответствующее наибольшей нагрузке Р max, Н, кГс,
предшествующей разрушению образца и определяется по формуле:
sв= Р max/ Fo (1.1.)
где Fo - начальная площадь
Условным пределом текучести s0,2, МПа (кГс/мм2)
называют напряжение, при котором остаточное удлинение расчетной части образца Lo
от приложенной нагрузки, достигает 0,2% и определяется по формуле:
s0,2= Р0,2/ Fo (1.2.)
где Р0,2 - нагрузка, при которой у образца
получено остаточное удлинение 0,2%, Н, кГс.
Относительным удлинением после разрыва d, % называют отношение
приращение расчетной длины после разрыва к её первоначальной величине и
определют по формуле:
d = Lк - Lo / Lo
х 100 % (1.3.)
где Lк - конечная длина расчетной части образца
после разрушения.
Ударной вязкостью КС, Дж/м2 (кГс м/см2)
называется полная работа удара, затраченная на разрушение образца, отнесенная к
площади его начального сечения под надрезом и определяется по формуле:
КС = К/So, Дж/м2 (кГс м/см2)
(1.4.)
где К - работа удара, Дж (кгс м);o - начальная
площадь поперечного сечения образца, м2 (см2).
1.3 Черные и
цветные металлы и сплавы
1.3.1 Чугун,
его получение, виды и марки
Чугуном называют сплав железа с углеродом и некоторым
количеством кремния, марганца, серы, фосфора. Содержание углерода в чугуне
составляет более 2%. Исходные материалы для получения чугуна - железные руды,
флюсы и топливо. Флюсы - это такие материалы, как известняк, кварц, песчаник,
применяемые для отделения от руды пустой породы и золы топлива, с которыми они
образуют легкоплавкие химические соединения, называемые шлаками.
Основным способом получения чугуна является доменный,
осуществляемый в доменных печах.
В зависимости от состояния и формы углерода в чугуне
различается - белый, серый, ковкий и высокопрочный чугун.
В белом чугуне весь углерод находится в химически связанном
состоянии. Излом данного чугуна имеет матово-белый цвет. Такой чугун тверд,
хрупок и применяется для отливки деталей с последующим отжигом на ковкий чугун.
В сером чугуне весь углерод содержится в свободном состоянии
в виде отдельных включений графита. Излом данного чугуна имеет серый цвет и
крупнозернистое строение. Серый чугун хорошо поддается обработке режущим
инструментом, имеет высокую износоустойчивость. Недостатки: большая хрупкость и
малая пластичность. Из серого чугуна изготовляются котлы, радиаторы,
водопроводные и канализационные трубы, фасонные части, арматура, санитарные
приборы - ванны, раковины, мойки.
Ковкие чугуны получаются из отливок белого чугуна путем
длительного отжига при высоких температурах. В зависимости от структуры делится
на ферритный и перлитный. Такой чугун обладает повышенной прочностью на
растяжение, низкой пластичностью и высоким сопротивлением удару. Из ковкого
чугуна изготовляют детали сложной формы: соединительные части для
трубопроводов, детали арматуры.
Высокопрочный чугун получают из серого чугуна
модифицированием: в жидкий металл перед разливкой добавляют модификаторы в
количестве 0,01 - 0,03% массы жидкого металла. Это - важный конструкционный
материал.
Маркировка серого чугуна по ГОСТ 1412-79* состоит из сочетания
букв "СЧ" и двузначного числа, соответствующего величине предела
прочности при растяжении в кгс/мм2 (СЧ-25, ГОСТ 1412-79*).
Обозначение марки высокопрочного чугуна по ГОСТ 7203-79* состоит из сочетания
букв "ВЧ" и двух чисел, записанных через тире, из них первое -
величина временного сопротивления разрыву (кГс/мм2), а второе -
относительное удлинение, %. (ВЧ 60-2 (ГОСТ 7293-79*)) - высокопрочный чугун,
предел прочности при разрыве 600 МПа (60 кГс/см2), относительное
удлинение - 2%.
Ферритный и перлитный ковкий чугун маркируется - отливка КЧ
30-6-Ф, ГОСТ 1215-79, отливка КЧ 60-3П, ГОСТ 1215-79, где 30 и 60 - временное
сопротивление разрыву, соответственно 30 и 60 кГс/ мм2 (300 и 600
МПа),6 и 3 - относительное удлинение при разрыве 6 и 3%. В технике используются
следующие марки чугуна: СЧ 12-28, СЧ 15-32 и т.д. до СЧ 44-64; КЧ 30-6, КЧ 33-8
и т.д. до КЧ 63-2; ВЧ 38-17, ВЧ 42-12 и т.д. до ВЧ 120-4.
1.3.2 Сталь,
её получение, виды и марки
Сталь - деформируемый (ковкий) сплав железа с углеродом (0,01
- 2%). Кроме того, в небольших количествах сталь содержит полезные (кремний,
марганец, хром, никель, титан, медь, алюминий) и вредные (серу, фосфор)
примеси.
Сталь выплавляется конвертерным способом (бессемеровский и
томасовский) и в мартеновских и электрических печах.
По характеру застывания в изложнице (специальных формах, в
которые разливается сталь из ковшов) различается спокойная, полуспокойная и
кипящая сталь. Поведение металла при кристаллизации обусловлено степенью его
раскисления: чем полнее удален из стали кислород, тем спокойнее протекает
процесс затвердевания. Кипящей называется сталь, которая при разливке в
изложницу кипит с выбросом окиси углерода, вследствие наличия в ней свободного
кислорода воздуха, окисляющего углерод.
Полуспокойной называют сталь, характеризующуюся умеренным
процессом кипения, так как для уменьшения остатка кислорода в ковш с жидким
металлом вводится концентрированный ферросилиций и алюминий, которые связывают
часть кислорода и ослабляют кипение. Спокойной называют сталь, которая при
разливке в изложницу выделяет мало газов и не кипит, т.к. из неё быстро
удаляется кислород за счет введения большого количества ферромарганца, алюминия
и концентрированного ферросилиция.
Кипящая сталь хорошо штампуется и сваривается, но по
прочностным свойствам уступает спокойной стали. Из кипящей стали изготавливают
сварные трубы. Параметры полуспокойной стали занимают промежуточное положение.
Степень раскисления стали определяют по процентному содержанию в ней кремния:
0,14-0,30% - спокойная, 0,05 - 0,1% - полуспокойная; менее 0,05% - кипящая.
По химическому составу сталь подразделяется на углеродистую,
основные свойства которой определяются присутствием в ней углерода, и
легированную, свойства которой обусловливаются специально введенными в нёё
наряду с углеродом легирующими элементами, такими как вольфрам, ванадий, хром.
Углеродистую сталь по назначению делят на конструкционную (с
содержанием углерода до 0,7%) и инструментальную (с содержанием углерода
0,8-1,3%). Углеродистая конструкционная сталь в свою очередь подразделяется на
сталь углеродистую обыкновенного качества, выплавляемую в мартеновских печах
или конвертерах, и сталь углеродистую качественную, изготовляемую в
мартеновских и электрических печах.
Сталь углеродистая обыкновенного качества (ГОСТ 380-71*)
делится на три группы в зависимости от гарантируемых характеристик качестве
металла.
Сталь группы А имеет гарантированные механические свойства
(предел прочности, предел текучести, относительное удлинение) и маркируется
буквами Ст, за которыми следует цифра (марка или условный номер стали): 0; 1; 2
и т.д. до 6. Чем больше цифра, тем больше содержание углерода, тем выше предел
прочности и тем ниже относительное удлинение. Если сталь кипящая, то после
цифры добавляются буквы кп, полуспокойная пс, спокойная - сп. Например, Ст0,
Ст1кп, Ст6сп и т.д.
Сталь группы Б поставляется с гарантией химического состава и
маркируется буквами Ст, за которыми следует цифра, характеризующая химический
состав стали, затем следуют буквы кп, пс, сп. Буква Б перед обозначением марки
указывает группу стали, например Б Ст0, БСт2кп, БСт6сп (группа А в обозначении
марки стали не указывается). Из стали группы Б изготовляются резервуары,
пружины.
Благодаря известному химическому составу сталь группы Б можно
подвергать горячей механической обработке, а изготовленные из неё детали -
термической обработке.
Сталь группы В имеет гарантированные механические свойства и
химический состав; эта сталь маркируется буквой В, затем следуют те же
обозначения, что и у сталей групп А и Б. Например, ВСт2, ВСт3пс, ВСт5сп. Из
стали группы В изготовляют сварные конструкции, неответственные детали машин.
Сталь всех групп с номерами марок 1,2,3,4, изготовляют - кп, пс, сп,5,6 -
только пс, сп.
В зависимости от нормируемых показателей сталь каждой группы
по ГОСТ 380-71* подразделяется на категории: группы А - 1,2,3; группы Б - 1,2;
группы В - 1,2,3.4,5,6. Чем больше номер категории стали, тем большему числу
нормируемых показателей она должна соответствовать. К обозначению марки стали
добавляют в конце номер соответствующей категории: 1-ю категорию в обозначении
не указывают.
Примеры обозначения марки стали:
Сталь 3, группы А, полуспокойная, 2-й категории - Ст3пс2
Сталь 2, группы В, спокойная, 6-й категории - ВСт2сп6.
Для маркировки стали с повышенным содержанием марганца после
номера стали ставится буква Г, например Ст3Гпс, ВСт3Гпс3.
Сталь углеродистая качественная (ГОСТ 1050-74*) поставляется
с гарантированными механическими свойствами (твердость после прокатки и отжига,
предел прочности, удлинение образцов, изготовленных из нормализованных
заготовок, и уменьшение площади их поперечного сечения) и химическим составом.
По сравнению с углеродистой сталью обыкновенного качества она содержит меньше
вредных примесей (серы и фосфора). Данная сталь по химическому составу
выплавляется следующих марок: а) сортовой прокат - 08,10,15. через 5.55,58,60;
б) прочий прокат в том числе и листовой - 05кп,08, 08пс,
08кп,10,10пс,10кп,11кп,15,15пс,15кп,18кп, 20, 20пс, 20кп,25,30 через 5 до 60.
Марка стали (2-значные цифры) определяет среднее содержание углерода в сотых
долях процента. Марка без индекса кп, пс означает, что данная сталь спокойной
плавки. В зависимости от требований, предъявляемых к механическим свойствам,
сортовая сталь делится на 5 категорий. Для большинства категорий предусмотрено
механическое испытание на нормализованных заготовках размером 25-100 мм или на
термически обработанных заготовках до 100 мм, для сортовой стали 1-й категории
механические испытания не предусмотрены. Углеродистая качественная конструкционная
сталь применяется для изготовления ответственных деталей машин и механизмов.
Для изготовления сварных труб широко применяется
тонколистовой горячекатанный и холоднокатанный прокат из качественной стали
(ГОСТ 16523-70*) Сталь тонколистовая углеродистая качественная в зависимости от
нормируемых характеристик качества выпускается по 3-м из 5-ти предусмотренным
стандартом категориям (1,4,5-я). Для стали категории 1 нормируется только
испытание на изгиб на 180о в холодном состоянии и на вытяжку, стали
категории 4 - химический состав, предел прочности, относительное удлинение,
испытание на изгиб, а стали категории 5 - по всем перечисленным показателям.
Углеродистые инструментальные стали маркируются таким
образом: впереди ставится буква У, за ней число, показывающее среднее
содержание углерода в десятых долях. Например У8. Если сталь
высококачественная, то справа от числа ставится буква А. Например У8А.
Высококачественная сталь отличается от качественной пониженным содержанием
кремния, марганца, серы и фосфора. При повышенном содержании марганца в стали
после числа в марке ставится буква Г. Например У8ГА. Из углеродистых
инструментальных сталей, изготовляются инструменты, подвергаемые термической
обработке.
Легированная сталь по назначению делится на конструкционную,
инструментальную и специальную, обладающую особыми физическими свойствами. К
специальной относится сталь магнитная, нержавеющая, жаропрочная и др.
Конструкционные легированные стали используются для
изготовления ответственных деталей машин и металлических конструкций: валов
двигателей, зубчатых колес и т.д. К таким сталям относятся хромистая марок 15Х,
20Х,38ХА,45ХА.
-значное число показывает среднее содержание углерода в сотых
долях%, а буквы - легирующие примеси (хром, алюминий, никель).
Инструментальные легированные стали применяются для
изготовления 3-х основных групп инструмента: режущего, измерительного и
штампов. Наиболее распространены из рассматриваемых сталей хромистая сталь
марки Х и хромокремнистая сталь марки 9ХС.
К специальным легированным сталям относятся стали
высоколегированные нержавеющие, обладающие стойкостью против коррозии в
атмосферном воздухе, кислотостойкие, обладающие коррозионной стойкостью в
условиях действия агрессивных сред, жаростойкие (окалиностойкие), жаропрочные, сохраняющие
достаточную прочность при высокой температуре. Нержавеющие легированные стали
используются для изготовления арматуры и в системах вентиляции, работающих в
агрессивных средах.
1.3.3 Цветные
металлы и сплавы
Медь - вязкий металл красноватого цвета, плотность 8,92 г/см3,
температура плавления 1083 оС. Весьма пластичен. Медь в чистом виде
в технике как правило не применяют. Используются сплавы меди с др. металлами, в
основном с цинком. Содержание цинка в технических сплавах составляет от 10 до
45%. Сплав меди с цинком называют латунью. По сравнению с чистой медью латунь
прочнее, пластичнее, тверже, устойчивее против коррозии, более жидкотекуча.
Кроме простой латуни существуют специальные с добавками
железа, марганца, никеля, олова, кремния. Доля легирующим элементов в
специальных латунях не превышает 7-8%. Данные латуни по прочности не уступают
некоторым конструкционным сплавам. Различаются латуни литейные (применяемые для
фасонного литья) и обрабатываемые давлением. Из литейной латуни изготовляется арматура
для санитарно-технических систем - краны, смесители и др.
Медно-цинковые сплавы (латуни) согласно ГОСТ 15527-70
выпускаются 7 марок: Л96, Л90, Л85, Л80, Л70, Л68, Л62. Число показывает
средний процент меди в сплаве.
Сплав меди с различными элементами (кроме цинка) называют
бронзой. Основные бронзы: оловянные (6-20% Sn), алюминиевые (5-11%
AL), кремнистые (4-5% SI), бериллиевые (1,8-2,3 % Be) и кадмиевые
(до 1% Cd). Бронзы маркируют буквами Бр, справа от
которых пишут буквы, обозначающие элементы, входящие в состав бронзы (О -
олово, А - алюминий, ц - цинк, Ф - фосфор, С - свинец) а затем числа,
показывающие среднее содержание добавок в бронзе (% содержание меди в бронзе не
указывается). Например, Бр. ОЦС4-4-2,5 - марка бронзы, содержащей 4% олова, 4% цинка,
2,5% свинца.
Свинец - металл синевато-серого цвета r = 11,34 г/см3,
t = 327,4оС, ковок, легко прокатывается в лист и проволоку. Быстро
окисляется на воздухе, но образовавшаяся на его поверхности пленка окиси
препятствует дальнейшему окислению металла. В санитарной технике свинец
используется для заделки особо ответственных соединений водопроводных и
канализационных труб.
Олово - не окисляющийся металл серебристо-белого цвета,
плавится при t =232,1 оС, кипит при t = 2200 оС, r = 7,3 г/см3.
Характеризуется малой электропроводностью, теплопроводностью, низкой
температурой плавления, малой твердостью, высокой пластичностью, высокой
коррозионной и химической стойкостью. Данный металл устойчив в органических
кислотах и кипящей воде, что дает возможность применять его в качестве
антикоррозионного покрытия.
Цинк - металл синевато-белого цвета, r = 7,14 г/см3,
tплавл = 419,6 оС, tкип = 907 оС.
На воздухе цинк покрывается тонким слоем окиси, хорошо предохраняющим металл от
дальнейшего окисления. Цинк применяется для создания защитного покрытия
стальных труб, нагревательных элементов калориферов и кровельной стали,
используемых при устройстве санитарно-технических систем.
Никель - металл серебристо-белого цвета, твердый, прочный,
пластичный, тугоплавкий, стойкий против коррозии, хорошо поддающийся обработке.
r
= 8,9 г/см3, tплавл = 1455 оС. Используется в
качестве декоративного и защитного покрытия смесительной и водоразборной
арматуры, металлических деталей санитарных приборов и предметов оборудования
санитарных узлов.
Хром - металл серебристого цвета с синеватым отливом,
обладающий большой твердостью и высокими антикоррозионными свойствами. r = 7,1 г/см3,
tплавл = 1800 оС. Применяется для гальванопрокрытия
санитарно-технической арматуры и гарнитуры. Используется в верхнем слое
покрытия (по никелю), благодаря чему увеличивается долговечность покрытия.
Алюминий - легкий металл r = 2,7 г/см3,
tплавл = 659,7 оС,. tкип = 2327 оС.
Отличается химической стойкостью, прочностью, высокопластичен, имеет высокую
электро- и теплопроводность. На воздухе быстро покрывается тонкой и прочно
связанной с основным металлом пленкой окиси, которая защищает его от дальнейшей
коррозии. В технике широко применяются сплавы алюминия с медью и магнием
(дюралюминий) и с кремнием (силумин). Дюралюминий вследствие специальной
термической обработки - закалки и старения (дополнительного нагрева закаленного
сплава с соответствующей выдержкой) имеет высокую прочность и твердость.
Дюралюминий используется для изготовления воздуховодов и кожухов вентиляторов,
функционирующих в агрессивной или взрывоопасной среде.
Титан - лёгкий металл с r = 4,5 г/см3,
tплавл = 1660 оС. Образует очень твердые сплавы с
углеродом, обладает высокой стойкостью против коррозии в пресной и морской
воде, а также в кислотах. Титановые сплавы используются для изготовления
санитарно-технического оборудования и воздуховодов, работающих в агрессивных
средах.
1.3.4
Конструкционная листовая сталь, алюминий и титан
Листовую сталь получают при пропуске стальной заготовки
(слитков) в валках прокатных станов. Существует 2 вида прокатки листовой стали:
горячая, когда заготовку предварительно нагревают в печах и холодная, без
предварительного подогрева заготовки. Листовую сталь поэтому подразделяют на
горячекатанную и холоднокатанную. Толщина стальных листов колеблется от 0,25 до
160 мм. В зависимости от толщины листов сталь делится на толстолистовую -
толщиной 4 мм и более и тонколистовую - толщиной до 3,9 мм. Тонколистовая сталь
толщиной от 0,35 до 0,8 мм называется кровельной.
Сталь листовая горячекатанная по ГОСТ 19903-74 изготовляется
в листах толщиной от 0,5 до 160 мм и рулонах толщиной от 1,2 до 12 мм. Данная
сталь имеет ширину листов 600-3800 мм при длине 1200-12000 мм. Ширина стали,
поставляемая в рулонах, 500-2200 мм. По характеру кромки подразделяется на
необрезную НО и обрезную О. -
Сталь рулонная горячекатанная по ГОСТ 8597-57 изготовляется
шириной от 200 до 480 мм и толщиной от 1,2 до 10 мм. - Подразделяется по
состоянию поверхности (травленная и нетравленная - черная), по характеру кромки
(обрезная и необрезная) и по точности прокатки (повышенная и нормальная).
Сталь листовая холоднокатанная изготовляется в листах
толщиной от 0,5 до 5 мм и рулонах толщиной от 0,5 до 3 мм. Подразделяется по
точности прокатки, по характеру кромки.
Сталь кровельная по ГОСТ 17715-72 изготовляется методом
горячей и холодной прокатки в листах шириной от 510 до 1000 мм, длиной 710-2000
мм и толщиной 0,35-0,8 мм. Кровельную сталь по состоянию поверхности делят на 2
группы СТК-1 и СТК-2. Для стали группы СТК-2 допускается большее число дефектов
поверхности, чем для стали группы СТК-1.
Толстолистовая сталь используется при изготовлении фланцев
для трубопроводов, станин под вентиляторы, площадок под тяжелое оборудование,
сварных труб.
Тонколистовая сталь применяется при изготовлении
вентиляционных устройств (вентиляторов, воздуховодов и фасонных частей к ним,
дефлекторов, зонтов, жалюзийных решеток), а также различных емкостей
(расширительных и конденсационных баков и др.). Кровельная сталь широко
используется для изготовления вентиляционных возддуховодов.
Сталь кровельная оцинкованная отличается от обычной
кровельной стали двусторонним цинковым покрытием, предохраняющим сталь от
коррозии. Цинкование листов стали производится горячим способом. Оцинкованная
кровельная сталь идет на изготовление воздуховодов, работающих в условиях
повышенной влажности.
Сталь тонколистовая оцинкованная с непрерывных линий,
изготовляемая по ГОСТ 14918-69 - холоднокатанная тонколистовая сталь,
оцинкованная с обеих сторон горячим способом в агрегатах непрерывного
цинкования. Выпускается толщиной 0,5-1,5 мм в листах и рулонах. Ширина листов и
рулонов от 710 до 1500 мм. В зависимости от назначения бывает трех групп: А -
для штамповки; Б - для профилирования холодного; В - общего назначения.
Сталь декапированная - отожженная сталь с протравленной от
окалины поверхностью. Очень пластична, хорошо поддаётся обработке на штампах.
Из неё штампуют детали вентиляционного оборудования, санитарных приборов,
приборов газоснабжения.
Сталь листовая рифленая предназначается для изготовления
настила и ступенек площадок обслуживания санитарно-технического оборудования
(котлов, вентиляционных камер, кондиционеров и т.п.) Рифы на листах металла
могут иметь вид ромбов или чечевицы. Выпускаются листы стальные рифленные по
ГОСТ 8568-77 шириной 600-1400 мм, длиной 2000-6300 мм и толщиной 2,5-8 мм.
При работе вентиляционной установки в цехах, воздух которых
насыщен парами кислот или других агрессивных веществ, а также при перемещении
по воздуховодам горячих газов, её изготовляют из нержавеющей, кислотостойкой
или стойкой к окаливанию стали. Для данных целей используется листовой металл
соответствующей марки толщиной 0,8-3,9 мм, например нержавеющую сталь марок
1Х13, 2Х13,3Х13,4Х13. Кислотостойкая сталть марок 1Х18Н9, 1Х18Н9Т, применяемая
для изготовления воздуховодов, характеризуется повышенным содержанием хрома и
др. добавок, стойких к кислотам. Окалиностойкая сталь марок Х23Н13, Х12Н18
отличается повышенным содержанием хрома и никеля.
В системах вентиляции, работающих во взрывоопасных условиях,
некоторые детали или всю конструкцию изготовляют из листового алюминия. Для
этого применяются выпускамые по ГОСТ 21631-76 листы алюминиемые толщиной
0,3-10,5 мм, длиной 200-7000мм, шириной 600-2000мм.
Всё более широкое применение в системах вентиляции находит
титан и его сплавы. Высокая коррозионная стойкость в большинстве газовоздушных
сред делает титан универсальным металлом. Из него изготовляют воздуховоды и
оборудование вентиляционных систем, работающих в агрессивных средах. Наибольшее
распространение имеют марки титана ВТ1-00, ВТ1-0 и его сплавы ОТ4-0, ОТ4-1.
Листы из сплавов титана толщиной 0,8 - 1,8 мм изготовляют
шириной до 800 и длиной 1500-2000 мм, а толщиной до 10 мм - шириной до 1000 и
длиной 1500-2000 мм.
1.4 Пластические
массы и др неметаллические конструкционные материалы
1.4.1 Общие
сведения о пластических массах
Пластическими массами называются материалы, получаемые на
основе природных и синтетических полимеров и перерабатываемые в изделия
методами пластической деформации. К полимерам относятся природные и
искусственные смолы. Искусственные смолы производятся из продуктов переработки
каменного угля, нефти и др. сырья.
Пластические массы состоят из следующих компонентов:
связующих (природные или искусственные смолы), наполнителей, пластификаторов,
красителей и специальных добавок.
Смолы являются основой пластических масс, определяющей их
основные свойства.
Наполнители используются для придания пластическим массам
прочности, твердости и других свойств. Подразделяются на органические
(древесная мука, целлюлоза, бумага, хлопчатобумажная ткань, древесный шпон) и
неорганические (асбест, графит, стекловолокно, стеклоткань, слюда, кварц).
Пластификаторы служат для увеличения пластичности и текучести
пластических масс, повышения их морозостойкости. Это - спирты, камфора.
Красители окрашивают пластические массы и изделия из них в
определенный цвет. Используются как минеральные красители (охра, умбра), так и
органические.
Кроме того, в состав пластических масс вводятся специальные
добавки, такие как стабилизаторы - вещества, предотвращающие разложение
полимерных материалов во время их переработки и эксплуатации под действием
атмосферных воздействий и повышенных температур.
Пластмассы обладают значительно меньшей плотностью, чем
металлы (1,1-1,8 т/м3), при этом их прочность приближается к
прочности металла. Пластмассы характеризуются очень высокой пластичностью, что
позволяет значительно снизить трудоемкость изготовления сложных деталей из
пластмасс в сравнении с другими материалами. Пластические массы не подвержены
коррозии, многие из них стойки к агрессивным средам, вследствие чего срок
службы изделий из них длительнее, чем из металла. Многие пластмассы обладают
электро- и теплоизоляционными свойствами. Однако пластмассы имеют низкую
теплостойкость от - 600 до + 2000С, что ограничивает
область применения.
1.4.2 Виды
пластических масс и область их применения
К пластическим массам, используемым в санитарно-технических
устройствах или изделиях из них относятся полиэтилен, поливинилхлорид
(винипласт), полипропилен, полиизобутилен, полибутилен, полистирол, капрон,
фторопласты.
Полиэтилен - твердый, белого цвета, жирный на ощупь,
термопластичный материал, обладающий высокой химической стойкостью.
Исходным сырьем для производства полиэтилена является газ
этилен (мономер) СН2=СН2, источником сырья для которого
является нефтяной газ, получаемый при крекинге и пиролизе нефтяного сырья. Из
этилена путем его полимеризации в различных условиях получают полиэтилен. По
способу производства различается полиэтилен низкого, среднего и высокого
давления.
Раскрытие в этилене 2-ной связи между атомами углеводородов
впервые было достигнуто при высоком давлении 100-350 МПа и температуре 200-300 0С
в расплаве в присутствии инициаторов полимеризации (кислорода, органических
перекисей). Такой полиэтилен называют полиэтиленом высокого давления (ПВД) или
полиэтиленом низкой плотности (ПНП).
Полиэтилен, получаемый при давлении 0,5-4 МПа и температуре
80 0С при полимеризации в суспензии в присутствии катализаторов
называют полиэтиленом низкого давления (ПНД) или высокой плотности (ПВП). Здесь
образуются менее разветвленные и более длинные макромолекулы.
Полиэтилен, получаемый при давлении 3-4 МПа и температуре 1500С
с использованием окислов металлов переменной валентности называют полиэтиленом
среднего давления (ПСД) или средней плотности (ПСП). Наиболее часто
используется полиэтилен ПНП и ПВП.
Под действием нагрузки полиэтилен претерпевает деформацию,
возрастающую с повышением температуры. Изделия из ПНП следует применять при
температуре не выше 60-700С, из ПВП - не выше 80-90 0С.
При старении полиэтилена повышаются его жесткость и хрупкость. Наибольшее
старение в атмосферных условиях вызывает солнечная радиация. Для замедления
процесса старения к полиэтилену добавляются различные стабилизаторы (газовая
канальная сажа, ароматические амины). Недостатком полиэтилена является его
склонность к растрескиванию под действием ПАВ.
Однако он обладает рядом очень ценных свойств: эластичность,
высокая ударная прочность, температуростойкость. Полиэтилен - основной материал
для строительства неметаллических газопроводов. Из него изготовляют трубы,
соединительные части для них, систем ТГВ, детали санитарных приборов.
Поливинилхлорид ПВХ (винипласт) - жесткий термопластичный материал.
- Это продукт полимеризации мономера - винилхлорида. Основным компонентом ПВХ
является поливинилхлоридная смола - продукт полимеризации винилхлорида.
Винилхлорид (хлористый этилен) - бесцветный газ с эфирным запахом. В
промышленности винилхлорид получают из ацетилена, этилена и дихлорэтана.
Поливинилхлорид (-СН2 - СНСL) n - твердый продукт белого цвета -
полимер линейного строения.
В промышленности ПВХ получают суспензионным, блочным и
эмульсионным способом. ПВХ суспензионный (ГОСТ 14332-76) выпускается 10 марок.
Например ПВХ марок С63Ж и ПВХ С61 предназначен для листов и труб.
Винипласт обладает высокой химической стойкостью к
воздействию агрессивных сред, вызывающих коррозию не только черных, но и
цветных металлов, высокой твердостью, что позволяет применять этот материал для
изготовления труб и других изделий, работающих под нагрузкой. Он легко
поддается механической обработке и склеиванию, сварке.
Кроме труб из винипласта изготовляются баки, гальванические
ванны, вентили, фланцы и другие изделия, эксплуатируемые в агрессивных средах.
Пленкой из винипласта оклеивают поверхности металлических деталей химической
аппаратуры, вентиляторов и воздуховодов для защиты от действия агрессивных
веществ.
Прочность изделий из винипласта снижается с течением времени
при длительно действующих нагрузках и повышении температуры (появляется
ползучесть). Изделия из винипласта рекомендуется применять при температуре не
выше 60-70 0С. Удельная ударная вязкость винипласта резко снижается
при наличии на поверхности изделий надрезов и царапин. При температуре ниже 00С
(особенно при - 200С) изделия из винипласта становятся хрупкими.
Полипропилен - бесцветный, блестящий термопластичный
материал, который получают способом, аналогичным полиэтилену. Полипропилен
обладает более высокой механической прочностью и теплостойкостью по сравнению с
полиэтиленом. На него почти не действуют многие химические реагенты, кроме
сильных окислителей. Изделия из полипропилена можно эксплуатировать при
температуре до 1200С. Большим преимуществом является его низкая водо
- и газопроницаемость. Старение полипропилена замедляют введением в него
специальных стабилизаторов, например сажи.
Из полипропилена изготовляют трубы, трубопроводную и
водозаборную арматуру.
Полиизобутилен - эластичная пластическая масса, хорошо
противостоящая действию кислот. Используется в виде листов и пленки для
футеровки вентиляторов, воздуховодов, предназначенных для транспортирования
агрессивных паров и газов.
Полибутелен - пластическая масса, выпускаемая в ФРГ. Обладает
рядом весьма ценных свойств: плотностью полипропилена (0,91 г/см3),
жесткостью полиэтилена средней плотности, исключительно низкими
характеристиками ползучести в сочетании с очень высокой стойкостью к разрушению
под воздействием внутреннего давления при температурах до 900С.
Величина разрушающего напряжения при 600С для полибутилена превышает
аналогичную характеристику полипропилена и полиэтилена высокой плотности. Трубы
из полибутилена выпускаются в Англии, ФРГ и др. европейских странах.
Полистирол - бесцветный прозрачный материал, имеющий высокую
водостойкость. Изделия из полистирола стойки к различным агрессивным жидкостям,
- в т. ч. к растворителям нефтяного происхождения. Полистирол обладает высокой
прочностью, легко перерабатывается в различные изделия методом прессования,
литья под давлением и экструзии при t = 200-2200С.
Ударопрочный полистирол является перспективным материалом для
изготовления санитарно-технических приборов.
Капрон - рогоподобный термопластичный материал от белого до
желто-коричневого цвета. Сырьем для его получения служат полиамидные смолы,
часто используется вторичная капроновая смола, являющаяся продуктом переработки
капроновых отходов.
Полиамидные смолы обладают стойкостью к действию кислот,
щелочей, не подвержены гниению, достаточно теплостойки и термостабильны.
Полиамиды отличаются высокой ударной прочностью, упругостью, прочностью к
истиранию и твердостью. Температура плавления полиамидов высока, для капрона
она составляет 220-250 0С. В расплавленном состоянии полиамиды
текучи. Изделия из них изготовляются литьем под давлением. Из капрона
изготовляют детали санитарно-технических устройств.
Фторопласт - высокомолекулярные соединения на основе фторо -
и хлоропроизводных этилена. Наибольшее распространение получил фторопласт-4,
обладающий высокой химической стойкостью. На него оказывают действие только
расплавы солей щелочных металлов и фтор при высоких температурах. Плотность
фторопласта - 2,2 г/см3 - самая высокая из всех полимеров. Он
является прочным и теплостойким материалом. Температурные пределы эксплуатации
- 250 - 2600С. Из фторопластов изготовляют химически стойкие
прокладки, уплотнения для резьбовых соединений и сальников.
1.4.3
Асбестоцемент, его свойства и применение
Асбестоцемент - это цементный камень, армированный тонкими волокнами
асбеста. Высокая прочность волокон асбеста повышает предел прочности цементного
камня при растяжении, изгибе и ударных нагрузках.
Основным сырьем для производства асбестоцемента являются
портландцемент - 80-90% и асбест - 10-20% общей массы.
Асбест - минерал, обладающий свойством при ударе распадаться
на тончайшие прочные волокна. Введением волокон асбеста в цемент изменяют
физические и химические свойства цементного камня. Изделия, сформированные из
такой смеси, не только хорошо воспринимают сжимающие нагрузки, но и хорошо
сопротивляются растягивающим нагрузкам и изгибу.
Асбест обладает высокой теплостойкостью, в связи с чем его
используют в качестве термоизоляции для снижения потерь теплоты горячими
поверхностями тепловых установок и аппаратов. Асбест - не сгораем.
Асбестоцементная промышленность выпускает изделия из
асбестоцемента, которые используются при прокладке трубопроводов различного
назначения. В санитарно-технических системах асбестоцементные трубы
используются для устройства водопровода, вентиляционных каналов и газопроводов.
1.5 Защитные
покрытия и изоляционные материалы
1.5.1 Виды
коррозии в санитарно-технических устройствах
Коррозия ежегодно приводит в негодность 10-13% черных
металлов, из которых в основном изготавливаются системы ТГВ. Коррозия - это
процесс разрушения материалов, в частности металлов и сплавов, в результате
воздействия на них окружающей среды. Все металлы (за исключением благородных) и
сплавы под влиянием окружающего воздуха, влаги, газов, растворов кислот и щелочей,
высоких температур подвергаются химическим изменениям.
В зависимости от характера взаимодействия со средой,
вызывающей коррозию различаются 2 её вида: химическая и электрохимическая
коррозия.
Химическая коррозия происходит в среде неэлектролитов (нефть,
газ, бензин, масло и др.) Например, действию химической коррозии подвергаются
металлические дымовые трубы при высокой температуре отходящих газов при
отсутствии конденсации влаги на поверхности.
Электрохимическая коррозия происходит в среде электролитов (вода,
пар, водные растворы солей, щелочей, кислот). К электрохимической относится
также атмосферная коррозия, т.к. воздух всегда содержит некоторое количество
влаги, обволакивающей тонкой пленкой металлические изделия. Атмосферной
коррозии подвержены наружные трубопроводы, арматура, воздуховоды,
вентиляционное оборудование. На трубопроводы подземной прокладки действует
почвенная коррозия, а также электрокоррозия, вызываемая блуждающими токами.
Одним из способов борьбы с коррозией является нанесение защитных покрытий.
1.5.2
Защитные покрытия систем ГВС, отопления и вентиляции
Наиболее подвержены коррозии трубы систем горячего
водоснабжения. Срок службы коммуникаций из стальных труб без защитных покрытий
в таких системах составляет 1-10 лет.
Защитные покрытия подразделяются на металлические и
неметаллические.
Металлическое покрытие создается путем нанесения на
поверхность защищаемого металлического изделия коррозионноустойчивого металла.
Для этой цели применяют олово, никель, хром, цинк и другие металлы.
Металлическое покрытие наносится следующими способами:
погружением изделия в расплавленный металл (горячий способ); гальванческим
(электролитическим процессом); диффузионной металлизацией; металлизацией
распылением, плакированием.
Горячий способ покрытия состоит в нанесении на поверхность
изделия тонкого слоя защитного металла, находящегося в расплавленном состоянии,
путем погружения детали в этот металл. В зависимости от вида наносимого металла
горячий способ называют цинкованием, свинцеванием и др. Цинкование широко
используется для покрытия кровельной и тонколистовой стали, из которых
изготавливаются воздуховоды систем вентиляции, водогазопроводные трубы,
нагревательные элементы калориферов.
Сущность электролитического способа состоит в том, что на
поверхности детали, погруженной в раствор электролита, через который протекает
электрический ток, происходит отложение частиц защитного металла,
присутствующего в этом же растворе. Толщина слоя покрытия регулируется
изменением величины тока и продолжительности его действия. Таким путем получают
никелированные, хромированние и омедненные изделия, например смесители холодной
и горячей врды.
Металлизация распылением заключается в покрытии поверхности
изделия тонким слоем распыленного в расплавленном состоянии металла. Мелкие
частицы металла приобретают при распылении значительную скорость и вследствие
удара о защищаемую поверхность закрепляются на ней. Данные способ дает
возможность наносить металлические покрытия на детали из любых материалов,
любых форм и размеров.
Плакирование - покрытие одного металла другим, более стойким
к коррозии, путем их совместной прокатки. Таким образом можно получить сталь,
защищенную слоем нержавеющей стали или меди, дюралюминий, плакированный
алюминий и др. биметаллы.
Наиболее часто в системах горячего водоснабжения и отопления
используется горячее цинкование труб при температуре 430-4600С.
Покрытие состоит из нескольких слоев железоцинковых сплавов и чистого цинка.
Выпускаемые у нас в стране стальные трубы по ГОСТ 3262-75* должны иметь толщину
цинкового покрытия не менее 30 мкм, в британском стандарте толщина цинкового
покрытия принимается 65-85 мкм. Эксплуатация труб показала, что толщина 3 - мкм
явно не достаточна. С целью повышения коррозионной стойкости оцинкованных труб
применяются легирующие добавки. Для легирования расплава цинка применялись
магний, алюминий, титан. Исследования показали, что наибольшей коррозионной
стойкостью обладают цинковые покрытия, легируемые алюминием (0,1-0,12% масс) и
никелем (0,1-0,4%). Несколько ниже коррозионная стойкость цинка легированного
алюминием (0,1-0,12%) и магнием (0,014-0,085%). Так как магний менее дефицитен
налажен промышленный выпуск труб с добавкой алюминия и магния. Долговечность
легированных оцинкованных труб в 1,5 раза выше обычных.
В последнее время у нас и за рубежом получили распространение
алюминиевые покрытия. Они обладают следующими преимуществами по сравнению с
цинковыми: более высокой коррозионной стойкостью при повышенных температурах,
меньшей стоимостью при одинаковой толщине покрытия, меньшей дефицитностью.
Промышленное применение получили 2 способа нанесения алюминиевых покрытий:
газотермическое напыление и горячее алюминирование.
Газотермическое напыление используется только для нанесения
алюминиевых покрытий только на наружную поверхность труб, а также на внутреннюю
поверхность баков-аккумуляторов. Для нанесения алюминиевых покрытий на
внутреннюю и наружную поверхность труб применяется горячее алюминирование. При
этом сталь подвергается травлению, предварительному флюсованию, затем
погружается в ванну с расплавленым алюминием, во время реакции с которым
образуются слои сплавов алюминия с железом, а при удалении из ванны - слой
чистого алюминия. Температура в ванне поддерживается на уровне 7000С.
Высокая коррозионная стойкость алюминия в воде объясняется
образованием на его поверхности окисной пленки. Алюминий в отличие от цинка с
повышением температуры сохраняет коррозионную стойкость. Наиболе перспективно
применение алюминированных труб при температуре более 600С.
Неметаллические покрытия - покрытия, создаваемые за
счет нанесения на поверхность защищаемых металлических изделий масляных красок,
лаков, эмалей, пластической массы, смазки и др.
Масляные краски наносятся на поверхность изделия
краскораспылителями различной конструкции, кистью, окунанием. Окрашенные
поверхности просушивают в специальных сушильных шкафах или в естественных
условиях. Масляной краской окрашивают стальные трубы (для систем отопления и
горячего водоснабжения, газоснабжения (при отсутствии других покрытий), неэмалированные
поверхности чугунных санитарных приборов (стальные неоцинкованные воздуховоды,
вентиляторы, кожухи калориферов, отопительно-вентиляционные агрегаты,
резервуары) и др. изделия из чугуна и стали, применяемые во внутренних
санитарно-технических устройствах.
Эмали - прочное стеклообразное покрытие, наносимое на
поверхность изделия тонким слоем и закрепляемое там путем обжига в специальных
печах.
Эмали очень стойки против атмосферной коррозии, воздействия
воды, минеральных и органических кислот, растворов солей. Однако они хрупки.
Эмалированию подвергаются рабочие поверхности ванн, раковин и др.
санитарно-технических приборов.
Стеклоэмалевые покрытия. У нас в стране освоен
промышленный выпуск труб со стеклоэмалевым покрытием, применяемых в системах горячего
водоснабжения. Покрытие на основе эмали 20Н, наносимой без грунта обладало
невысокой водостойкостью (высокой выщелачиваемостью). Для повышения
водостойкости в состав эмали были введены оксиды. Выщелачиваемость эмали новой
марки 20 Ц (при добавлении 10% окислов циркония) в 20 раз ниже, чем у эмали
20Н. При толщине однослойного покрытия 250-300 мкм оно обеспечит защиту
основного металла в течение 35-40 лет.
Кроме того, для улучшения технологических свойств эмали 20Н
(увеличение её растекаемости, придания большей гладкости и блеска) в её состав
введены СаО, щелочные окислы, полифосфат.
Разработана новая технология скоростного обжига однослойных
стеклоэмалевых покрытий на основе эмали 20Ц в печах непрерывного обжига,
которая позволяет получать высококачественное однослойное покрытие толщиной до
400 мкм без технологической выдержки в печах. По данной технологии действует
цех в Донецке, производительностью 200 км эмалированных труб ø 57-159 мм в год.
Для эмалирования труб используется также эмаль ЭМ-25. Она
наносится в 2 слоя общей толщиной не менее 300 мкм, причем 1-ый слой эмали
является грунтовым, а 2-й покровным.
Органические покрытия. Для покрытия стальных
труб в системах горячего водоснабжения используются покрытия на основе
эпоксидной и фенольной смол.
Эпоксидно-фенольные смолы обладают хорошей теплостойкостью и
водонепроницаемостью. Используются для изоляции внутренней поверхности труб в
системах горячего водоснабжения. Высокая противокоррозионная защита
синтетических смол обеспечивается только при тщательной подготовке поверхности,
необходимой для хорошей адгезии покрытия к металлу. С этой целью выполняют
дробе - или пескоструйную очистку. Наносят несколько слоев смолы. После
нанесения каждого слоя его сначала высушивают, а затем обжигают.
Трубы с органическими покрытиями 117 SP, 117 SД используются
в ряде европейских стран и в Японии.
Покрытие из пластических масс. Пластическую массу
наносят на поверхность изделия распылением в расплавленном состоянии в
специальных установках. Расплавленные частицы пластической массы сцепляются с
поверхностью изделия и создают прочный и плотный защитный слой.
В последнее время в качестве антикоррозионного покрытия
применяются тонкие рулонные пластические полиэтиленовые пленки, которыми
покрывают листы или отдельные детали вентиляционных систем. Для защиты
воздуховодов, работающих в агрессивных средах, используются пластмассовые
листы, например листы полиизобутилена толщиной до 3 мм.
Смазочные покрытия применяются при хранении
изделий на складе и при транспортировании.
1.5.3
Материалы и покрытия для изоляции теплопроводов
Для изоляции теплопроводов систем теплоснабжения применяются
следующие материалы: асфальтокерамзитобетон, битумоперлит, асфальтоизол,
гидрофобный керамзитобетон, армопенобетон, пенокерамические блоки, газосиликат,
цементнопесчаная засыпка, пенобетон, фенольный поропласт.
Асфальтокерамзитобетон - монолитный материал, получаемый в
результате остывания отформованной горячей асфальтокерамзитобетонной массы,
которая состоит из органического вяжущего и сыпучих минеральных материалов -
керамзитового гравия, керамзитового песка, золы ТЭЦ. В качестве вяжущего
материала для теплостойкого керамзатобетона применяется специальный битум
рубракс с температурой размягчения 125-150оС, битум нефтяной марки
БН-V с температурой размягчения 90 оС и каменноугольный пек с
температурой размягчения 90 оС. В состав вяжущего вводится резиновая
крошка и машинное масло.
Для улучшения физико-механических свойств
асфальтокерамзитобетона, применяемые для его изготовления минеральные материалы
подвергаются предварительной гидрофобизации, что повышает водоустойчивость,
механическую прочность и морозостойкость монолитного материала и позволяет
снизить расход органического вяжущего на 13-17%.
Асфальтокерамзитобетон обладает повышенной теплоустойчивостью,
не размягчается, не оплывает при максимальной эксплуатационной температуре
теплопровода, + 150 оС. Имеет небольшой объемный вес (700-1200 кг/м3),
высокую механическую прочность, высокую водонепроницаемость, коррозионную
стойкость, обладает высокими теплоизоляционными и электроизоляционными
свойствами.
Асфальтокерамзитобетон является комплексным
теплогидроизоляционным антикоррозионным материалом для изоляции теплопроводов
подземной бесканальной прокладки.
Битумоперлит-теплоизоляционный материал, изготовляемый на
основе органических вяжущих битумов и вспученного перлитового песка. В качестве
вяжущего применяется нефтяной битум марки БН-1V. Разогретый и обезвоженный
битум смешивается в барабане асфальтосмесителя с вспученным перлитовым песком в
объемном соотношении 1: 8 - 1: 9. На 1 м3 битумоперлита расходуется
битума 180-200 кг и вспученного перлитового песка 1,5-2 м3.
Горячая битумоперлитовая масса употребляется для формования
теплоизоляционной оболочки на поверхности стальных труб или изготовления
скорлуп, а также для укладки непосредственно в траншею при формовании
монолитной изоляции на смонтированном трубопроводе. Изоляция трубопроводов
состоит из антикоррозионного покрытия, наносимого на наружную поверхность труб,
монолитного слоя теплоизоляции из бимумоперлита толщиной 50-65 мм;
гидроизоляции из 2-3 слоев бризола с защитным слоем в виде асбестоцементной
штукатурки, армированной проволочной сеткой. Недостаток: низкая механическая
прочность и повышенное водопоглощение.
Поэтому был разработан улучшенный вариант битумоперлита,
отличающийся тем, что для приготовления битумоперлитовой массы используется
предварительно гидрофобизированный перлитовый песок и изготовление изделий
(скорлуп) выполняется с уплотнением. Таким образом полученный битумоперлит
отличается высокой прочностью, высокой степенью водонепроницаемости,
коррозионной стойкостью, и может быть использован для однослойной оболочки
труб, одновременно служащей тепло - и гидроизоляцией и антикоррозионной защитой
трубы.
А.А. Скворцов разработал для бесканальной прокладки
теплопроводов сыпучий теплогидроизоляционный материал на основе природных
асфальтитов (продуктов естественного отвердения нефти) - асфальтоизол. При
изготовлении асфальтоизола асфальтит расплавляется в битумоварочном котле с добавкой
мазута. Готовый сплав после остывания размалывается в зерна размером 1-2 мм.
Асфальтоизол размолотый в зерна засыпается с тщательным уплотнением в бортовую
опалубку, установленную вдоль смонтированных труб. При нагревании
смонтированных теплопроводов происходит частичное спекание асфальтоизола.
Полученная в процессе спекания оболочка состоит из 3-х слоев: 1-й слой у трубы
- прочно спекшийся водонепроницаемый, толщиной 10-20 мм, 2-й - пористый,
толщиной 40-50 мм (основной теплоизоляционный; 3-й - сыпучий неспекшийся
асфальтит, являющийся дополнительным гидроизоляционным слоем.
Рис. 1.1 Схема изолированного асфальтоизолом теплопровода
бесканальной прокладки: 1 - плотный спекшийся слой асфальтоизола; 2 - пористый
спекшийся слой; 3 - неспекшийся сыпучий слой.
Применение асфальтоизола упрощает технологию изоляции
теплопроводов. Засыпной слой асфальтоизола является гидрофобным
водонепроницаемым слоем. Однако асфальтоизол не образует плотного сплошного
антикоррозионного слоя на поверхности труб.
Для изоляции теплопроводов применяются искусственные сыпучие
гидроизоляционные и теплогидроизоляционные материалы - гидрофобные порошки. Это
- мелкодисперсные минеральные материалы, поверхность частиц которых покрыта
тончайшей не смачиваемой водой пленкой гидрофобизирующего ПАВ. Для
гидрофобизации пригодны любые минеральные порошки - гидрофобный известняковый
порошок, гидрофобная зола ТЭЦ, гидрофобный перлитовый песок. В качестве
гидрофобизаторов минеральных порошков используются нефтяные битумы, асидол,
каменноугольный пек, асидол и др. ПАВ. Приготовление гидрофобных порошков
производится путем перемешивания исходных минеральных материалов с
гидрофобизирующей жидкостью. Данный вид изоляции применяется как для канальной,
так и бесканальной прокладки трубопроводов.
Рис. 1.2 Схема засыпной гидроизоляции канала теплосети: 1 -
уплотненный щебнем грунт; 2 - железобетонная плита; 3 - гидрофобный порошок; 4
- теплопровод; 5 - сборный железобетонный канал; 6 - простилка толем; 7 -
обратная засыпка грунтом.
Данный способ весьма прост и надежен.
Во ВНИИГ разработан конструктивно-теплогидроизоляционный
гидрофобный керамзитобетон. Наполнителями и заполнителями являются керамзитовый
песок, керамзитовый гравий и зола ТЭЦ.
В воду затворения бетонной смеси вводятся ПАВ
гидрофобизирующие и воздухововлекающие вещества (ГКЖ-10, СНВ,
кремнийорганическая жидкость). В качестве вяжущего - портландцемент. Область
применения - бесканальная прокладка. Изоляция теплопровода состоит из
однослойной оболочки.
Армопенобетонная теплоизоляция теплопроводов канальной и
бесканальной прокладки разработана в Ленинграде под руководством А.Н.
Крашенникова. Конструкция изоляции представляет собой нанесенную на трубу в
заводских условиях армопенобетонную оболочку с автоклавной термообработкой и
последующей оклейкой в 2-3 слоя рулонными битумными материалами. Защитный слой
в виде асбоцементной штукатурки, армированной проволочной сеткой, предохраняет
оклеечную гидроизоляцию от механических повреждений. Основные достоинства -
индустриальность работ (все основные операции - в условиях завода); высокое
качестве армопенобетонной изоляции. Недостаток - низкая надежность оклеечной
гидроизоляции.
Поликерамика - комплексный материал для изоляции
теплопроводов бесканальной прокладки. Поликерамические элементы изготовляются
на основе кирпичных глин в виде цилиндрических блоков с отверстиями по оси. В
качестве оболочки для блоков поликерамики используются отформованные из
тугоплавкой глины необожженные керамические канализационные трубы, которые
заполняются сырыми стержнями из вспучивающейся глины. Эти заготовки
подвергаются обжигу при t до 1400оС. После обжига заполненного блока
в результате вспучивания получают пористую структуру, затем у блоков опиливают
концы и по оси их высверливают сквозное отверстие по наружному диаметру
изолируемых труб. Поликерамические блоки надеваются на трубу теплопровода с
заделкой стыков гидрофобными цементными растворами. Пенокерамические блоки
изоляции рационально применять для изоляции трубопроводов, прокладываемых над
землей и внутри зданий.
Теплоизоляция из газосиликата для бесканальной прокладки
выполняется следующим образом. Изолируемая труба укладывается в форму, куда
закладывается арматурный каркас и газосиликатная масса. Данное изделие
подвергается термовлажностной обработке в автоклавах. Для приготовления
газосиликатной массы используется молотая известь и кварцевый песок. После
термовлажностной обработки изолированные трубы высушиваются и поверхность
газосиликатной изоляции покрывается слоем гидроизоляции с использованием
горячих смесей нефтяных битумов марок БН-III и БН-1У. На слой горячего битума
наклеивается слой бризола, а на него слой защитный листового асбеста на горячей
битумной смеси. Недостатки - те, же, что и у армопенобетона.
При монолитной изоляции теплопровода цементно-песчаной
засыпкой трубопровода вначале покрывается антикоррозионным составом, затем
изолируется матами из минеральной ваты, предварительно прошитыми шпагатом,
которые закрепляются на поверхности труб проволокой. Поверхность теплоизоляции
покрывается слоем горячей битумной мастики. Затем параллельно трубопроводу
устанавливается 2-сторонняя опалубка и промежуток между нею заполняется влажной
цементно-песчаной смесью марок М-200-М250.
Конструкция изоляции в монолитном пенобетоне, применяемая для
бесканальной прокладки, представляет собой - монолит, ограниченный снизу
бетонной подготовкой, а с боков асбестоцементными листами, служащими в процессе
укладки пенобетонной смеси опалубкой, а затем защитным ограждением. Сверху
монолит литого пенобетона защищается слоем асбестоцементной штукатурки.
Стальная поверхность труб защищается антикоррозионным слоем.
А.Н. Крашенниковым разработан для изоляции теплопроводов
новый материал - фенольный поропласт (вспененная пластмасса). Фенольный поропласт
наносится в виде монолитной оболочки на поверхность труб. Наиболее пригодными
являются жесткие ячеистые пластмассы - термопласты - полиуретановые и фенольные
поропласты. Для изоляции наиболее оптимален состав: смола ВИАМ-Б, соляная
кислота, алюминиевая пудра, мочевина. Вяжущей основой состава является
фенольная смола ВИАМ-Б с названием ФЛ-фенольная ленинградская. Изоляция из
фенольного поропласта покрывается гидроизоляционным покрытием из горячей
резино-битумной мастики, армированной 2-мя слоями стеклоткани.
1.5.4
Материалы и покрытия для изоляции газопроводов
Основным компонентом изоляционных покрытий являются битумы.
Это - остаточные продукты переработки нефти, представляющие собой твердую,
плавкую или вязкожидкую смесь углеводородов и их производных. Компонентами
грунтового состава битумов служат минеральные масла, смолы и асфальтены (Марки
битумов БНИ-1У, БНИ-У, БН)
На основе битумов изготавливают битумные мастики. Они
представляют собой смесь битума с наполнителями и пластификаторами и бывают 3-х
типов: битумно-минеральные, битумно-резиновые и битумно-полимерные.
Широкое применение имеют битумно-минеральные мастики. В
качестве наполнителей данных мастик используют доломитизированный известняк,
асфальтовый известняк или доломит, а в качестве пластификатора - зеленое масло.
Мастики приготовляют следующим образом. Битумный котёл загружают кусками битума
и нагревают до 150оС. Затем при перемешивании добавляют наполнитель
и повышают температуру до 180оС. Мастика готова.
Битумно-резиновые мастики должны удовлетворять требованиям
ГОСТ 15836-76 и иметь более высокие технические свойства, чем
битумно-минеральные. В качестве наполнителей в них используют резиновую крошку,
получаемую дроблением старой амортизированной резины. Пластификаторами могут
служить кроме зеленого масла, веретенное и трансформаторное, полидиен.
Для противокоррозионных покрытий трубопроводов широко
используются битумно-резиновые мастики заводского изготовления типа МБР.
(МБР-65,75,90,100). Мастику МБР-90 используют в летнее время, МБР-100 в летнее
время в южных районах, МБР-65,75 - в зимнее время.
Из битумно-полимерных мастик наибольшее распространение
получили битумно-полидиеновая (битудиен), битумно-полиэтиленовая, (битулен),
битумно-полидиено-полипропиленовая (БПП). При выполнении изоляционных работ при
температурах до - 15 оС применяется зеленое масло, при t до - 25оС
- полидиен или низкомолекулярный полиизобутилен марок П-8 и П-20 или 5% раствор
полиизобутилена, П-200 в зеленом масле. Мастики битудиен-3 (tраз -
70 оС) и битулен - 80 используются в зимнее время, а мастики
битудиен-Л и битудиен-90 в летнее.
Битумно-полиэтиленовую мастику (битулен) приготовляют с
добавкой к битуму порошкообразного нестабилизированного полиэтилена высокой
плотности в количестве 5%. Мастики приготовляют в полевых и заводских условиях
термомеханическим способом путем смешения полиэтилена высокой плотности при t =
140оС.
По сравнению с битумно-резиновыми мастиками битулены имеют
большую вязкость и устойчивость, меньше деформируются под действием сжимающих
напряжений, меньше растворяются в ароматических углеводородах.
Битумную грунтовку (праймер), представляющую собой раствор
битума в бензине, наносят на поверхность труб для улучшения прилипаемости
изоляционных мастик с металлической поверхностью трубопровода. Для
приготовления грунтовки применяется битум марок БНН-1У-3, или БН-1У, который
подогревают до температуры 100оС и тонкой струей вливают в бензин с
перемешиванием.
Для усиления изоляции применяются армирующие обертки из
бризола, гидроизола или стекловолокнистого материала. Бризол приготовляют на
основе битума и дробленной старой вулканизированной резины с добавлением
асбеста и пластификаторов. Бывает 3-х марок: БР-С (средней термостойкости) для
работ при температуре воздуха - 5 ? +30оС; БР-М
(морозостойкий) для работ при температуре воздуха - 10 ?
+20оС без подогрева, а при температуре воздуха - 10 ?
- 25оС с подогревом; БР-Т (термостойкий), применяемый в южных
районах при t воздуха 5 ? 45оС. Кроме того, применяется бризол
БР-П с повышенным сопротивлением разрыву.
Недостатки бризола: слипаемость при 30оС,
хрупкость при отрицательных температурах ниже - 15оС (без
подогрева), недостаточно высокая водостойкость и прочность.
Гидроизол - беспокровный материал, изготовленный пропиткой
асбестовой бумаги нефтяными битумами. Из-за высокой водонасыщаемости его
полностью вытеснил бризол.
Стеклохолст - стекловолокнистый рулонный материал, состоящий
из штапельных стеклянных волокон, скрепленных синтетическим связующим. В
качестве связующего используют поливинилацетатную эмульсию,
мочевиноформадегильную смолу. Стеклохолст обладает хорошими диэлектрическими
свойствами, малой гигроскопичностью и высокой химической стойкостью. Его
применяют при температурах воздуха от - 30оС до 30 оС.
Обладает высокой прочностью и меньшей стоимостью по сравнению с бризолом.
Изоляционные покрытия на трубы наносятся в заводских
условиях. Для изоляции газопроводов применяют поливинилхлоридные и
полиэтиленовые пленки, покрытые с одной стороны слоем клея. Защита пленок от
механических повреждений обеспечивается наложением оберток из бризола,
пленочного материала ПДБ (полимерно-дегтевобитумный материал, состоящий из
битума, полиэтилена высокого давления, полиэтилена низкого давления,
полизобутилена, газогенераторной смолы.
Из пластифицированного поливинилхлорида используются
следующие изоляционные ленты: в осенне-летний период - ПИЛ и ПВХ - СЛ, - 20оС,
в зимнее время - ЛМЛ (морозостойкая - 60оС); для изоляции горячих
участков газопровода в условиях жаркого климата - теплостойкие ленты ЛТЛ.
Данные ленты обладают высокими антикоррозионными свойствами, химической
стойкостью к растворителям, влагоустойчивы.
Применяют также полимерные композиции, наносимые на трубы в
порошкообразном или жидком виде, обладающие высокой химической стойкостью.
Наносят их на трубы методом горячего напыления в виде сплошного покрытия
требуемой толщины. Применяется напыление порошка полиэтилена высокой плотности.
Перспективным методом является индустриальный способ
нанесения полимерных покрытий на трубы в заводских условиях из порошков
полимеров в псевдосжиженном состоянии на основе электронной технологии. Толщина
покрытия 1 мм - время нанесения 35-60с. К порошкообразному полиэтилену
добавляется стабилизатор (тилкофен), антистаритель (сажа), наполнитель (окись
хрома).
Широкое применение получили порошкообразные эпоксидные
полиэфирные, виниловые, фенольные и др. смолы в сочетании с антикоррозионными
добавками. Такие покрытия толщиной 0,15-0,25 мм наносят на нагретую поверхность
труб методом электростатического напыления.
Используются и жидкие полимерные композиции на основе
эпоксидных и фурановых смол, модифицированных каменноугольными, полиэфирными,
полиамидными смолами. Наиболее распространены 2 вида полимерных композиций:
эпоксидно-каменноугольная (ЭКК) и фурило-каменноугольная (ФКК). Данные покрытия
имеют высокую адгезию к металлу, химическую стойкость, термо - и
морозостойкость, технологичность. Их толщина 0,5-1 мм при наружной изоляции и
0,3 мм - при внутренней изоляции труб.
Лакокрасочные материалы. Применяются для защиты трубопроводов
от коррозии. Обладают способностью после нанесения на поверхность изделия
образовывать прочную эластичную пленку. В состав лакокрасочных материалов
входят: пленкообразующее вещество, наполнитель, пигмент, растворитель. В
качестве пленкобразующих веществ используются высыхающие масла, синтетические и
натуральные каучуки и смолы, клеи, белки, олифы и лаки (растворы природных
высокомолекулярных и синтетических полимерных веществ в легколетучем
растворителе).
Лакокрасочные материалы применяют в виде грунтовок, покровных
эмалей и лаков, наносимых на наружную и внутреннюю поверхности трубопроводов.
Для покрытия наружной поверхности труб используют грунтовки
на основе фенолформальдегидной смолы, с растворителем - сольвент
каменноугольный (грунтовки марок ФЛ-103к, ФЛ-013), сополимера хлорвинила и
винилиденхлорида с растворителем Р-4 (грунтовки марок ХС-010),
поливинилбутиралевой смолы (грунтовка ВЛ-08). Покровные лаки и эмали
изготовляют на основе перхлорвиниловой смолы (эмали ПХВ-714, ПХВ-715, лак ХСЛ),
пентафталевой смолы с растворителем Р-4.
Для защиты газопроводов от коррозии также применяют лак
этиноль, являющийся полупродуктом производства синтетического каучука. Это -
маслянистая жидкость коричневого цвета. На его основе приготовляют эмали.
В настоящее время широко применяются защитные лакокрасочные
покрытия, наносимые на внутреннюю поверхность трубопроводов. При этом
уменьшается шероховатость поверхности труб и их гидравлическое сопротивление,
что приводит к увеличению пропускной способности труб на 10%. Для данной цели
используют бакелитовый лак марки А в сочетании с алюминиевой пудрой и
растворителем, а также грунтовки и эмали на основе синтетических смол:
перхлорвиниловой, поливинилбутиралевой, эпоксидной. Широко используются
покрытия на основе эпоксидных смол (ЭД-5 и ЭД-6) и эпоксидных лаков (Э-4100 и
Э-4001), обладающих высокой адгезией к металлу, термо-и химической стойкостью.
2. Основные
изделия и материалы, применяемые в системах ТГВ
2.1 Трубы
2.1.1 Общие
сведения о трубах
Трубой называется полое цилиндрическое тело, частично или
полностью заполненное движущейся жидкой или газообразной средой.
В зависимости от материала, из которого изготовлены трубы, их
подразделяют на металлические (стальные, чугунные и др.) и неметаллические
(керамические, асбестоцементные, пластмассовые и др.)
Основной характеристикой размера труб является их внутренний
диаметр. Номинальный внутренний диаметр или его округленное значение называется
диаметром условного прохода или просто условным проходом. Ду, мм. Он
регламентируется ГОСТ 355-67. По необходимому проходу подбираются трубы и
другие элементы трубопроводов.
Трубопроводы санитарно-технических систем могут работать как
под давлением, так и без давления. В зависимости от этого различают трубы для
напорных трубопроводов - напорные, и для безнапорных трубопроводов -
безнапорные.
Для нормальной работы трубопроводов и его элементов
устанавливается определенное давление в Па, называемое рабочим давлением.
Рабочим давлением Рраб называют фактическое избыточное давление в
трубопроводе. Рабочей температурой считается наивысшая длительная температура
среды без учета кратковременных повышений, допускаемых техническими условиями.
Для стандартизации и унификации принята система условных давлений. Условное
давление соответствует давлению среды в Па, на которое рассчитано данное
изделие при расчетной температуре среды 20оС. Его указывают в ТУ на
каждый вид труб.
Для проверки надежности арматуры, труб и др. элементов
трубопроводов их испытывают на пробное давление Рпр, которое всегда
выше рабочего.
2.1.2
Стальные водогазопроводные трубы
Их изготовляют на установках непрерывной печной сварки труб
встык. Исходным материалом служит горячекатанный штрипс, представляющей собой
стальную полосу различной ширины в зависимости от диаметра изготавливаемой
трубы. Штрипс обычно изготовляется из малоуглеродистой стали Ст1кп2 или Ст2
кп2.
Водогазопроводные трубы изготовляются диаметром от 6 до 150
мм по ГОСТ 3262-90. Эти трубы применяются для газо-, воздухо и водопроводов и
систем центрального отопления. По толщине стенки трубы разделяются на
обыкновенные, усиленные и легкие. Промышленность выпускает 2 вида труб: черные
и оцинкованные. Оцинкованные трубы предназначены для монтажа питьевых
водопроводов холодного и горячего водоснабжения. По стандарту водогазопроводные
трубы выпускаются с резьбой на концах, по требованию потребителя легкие трубы
выпускаются с гладкими концами. Они предназначаются под накатку резьбы.
Водогазопроводные трубы выпускаются длиной от 4 до 12 м (немерной длины), а по
заказу потребителя - мерной или кратной мерной длины от 4 до 8м.
На концах труб нарезают цилиндрическую резьбу по ГОСТ
6357-73. Прочность всех видов водогазопроводных труб проверяется внутренним
гидравлическим давлением: пробное давление Рпр - для обыкновенных и
легких труб - 2,5 Па, для усиленных - 3,2 МПа.
Правила обозначения водогазопроводных труб:
Труба 1-2-3х3х4х5, ГОСТ 3262-91, где
- если оцинкованная, то ставится индекс "Ц"; 2 -
если с резьбой, то ставится индекс "Р"; 3 - условный проход; 4 -
толщина стенки; 5 - мерная длина.
Для усиленных труб после слова "труба" пишут букву
У, для легких труб - букву Л.
Пример: цинковое покрытие, с резьбой, мерная, длина 4000 мм.
Труба Ц-Р-20х2,8х4000 ГОСТ 3262-91.
2.1.3
Стальные бесшовные трубы
По методу их изготовления делятся на 2 вида: трубы стальные
бесшовные горячекатанные и трубы стальные бесшовные холоднотянутые и
холоднокатанные.
Горячекатанные (горячедеформированные) трубы. При
изготовлении горячекатанные труб для повышения пластичности стали и уменьшения
усилия, необходимого при деформации, трубную заготовку перед прокаткой или
прессованием нагревают до высокой температуры.
Технические требования, предъявляемые к горячедеформированным
бесшовным трубам определяются ГОСТ 8731-87. Согласно этому стандарту в
зависимости от назначения различают трубы 5 групп: А - с гарантией механических
свойств; Б - с гарантией химического состава, но без контроля механических
свойств; В - с гарантией механических свойств и химического состава; Г - с
гарантией химического состава и механических свойств после специальной
термообработки; Д - без гарантии механических свойств и химического состава, но
с гарантией гидравлических испытаний.
Горячедеформированные трубы подвергают следующим испытаниям:
изгибу, раздаче, сплющиванию, бортованию, исследованию микроструктуры.
Сортамент стальных бесшовных горячедеформированных труб
определяется по ГОСТ 8732-78. Стандартом предусматривается изготовление труб
диаметром 25-820 мм с толщиной стенки 2,5-75 мм в зависимости от диаметра трубы
и её назначения. Трубы выпускаются либо немерной длины, либо мерной длины в
пределах от 4 до 12,5 м, либо длиной кратной мерной.
Холодно - и теплодеформированные трубы. Заготовками для
получения холодно и теплодеформированных труб служат горячедеформированные
трубы. Холоднодеформированные трубы получают путём холодного волочения, а
теплодеформированные подобно горячедеформированным путём холодной прокатки в
станах. Оба процесса ведутся без специального подогрева заготовки.
Холодно - и теплодеформированные трубы получают из углеродистых
и легированных сталей и применяют для изготовления трубопроводов и деталей
конструкций.
Технические требования, предъявляемые к холодно - и
теплодеформированным трубам, регламентируются ГОСТ 8733-87*, согласно которому
различают трубы 5 групп: Б - с гарантией химического состава; В - с гарантией
химического состава и механических свойств; Г - с гарантией химического состава
и контролем механических свойств на образцах, подвергнутых термической
обработке; Д - без нормирования механических свойств и химического состава, но
с гарантией гидравлических испытаний; Е - со специальной термической
обработкой.
Холодно- и теплодеформированные трубы подвергают тем же
испытаниям, что и горячедеформированные.
Сортамент стальных холодно- и теплодеформированных труд
определяется ГОСТ 8734-75, согласно которому трубы могут выпускаться наружным
диаметром от 5 до 250 мм с толщиной стенки от 0,3 до 24 мм.
Холодно- и теплодеформированные трубы выпускаются немерной
длины в пределах от 1,5 до 11,5 м, мерной длины от 4,5 до 9 м и длиной кратной
мерной от 1,5 до 9. В зависимости от отношения наружного диаметра Дн к толщине
стенки S трубы делятся на особотонкостенные (при Дн/ S >40), тонкостенные (при Дн/ S= 12,5?40), толстостенные (при
Дн/ S = 6 ?12,5) и особотолстостенные (при Дн/ S< 6). Находят всё более широкое применение по сравнению с
бесшовными, т.к. они проще в изготовлении, имеют меньшую толщину стенок и
дешевле бесшовных труб.
2.1.4
Стальные сварные трубы
При изготовлении сварных труб применяется электрическая и печная
сварка (кузнечная). Заготовкой для труб, получаемых печной сваркой является
стальная лента (штрипс), изготовленная из кипящей или химически закупоренной
стали марок БСт1кп, БСт1кп2, БСт2кп, БСт2кп2.
В зависимости от формы шва трубы делятся на прямошовные,
свариваемые из мерного стального листа, и на спирально-шовные, изготовленные из
рулонной заготовки или листов, предварительно сваренных встык.
Формование трубной заготовки, т.е. сварачивание плоской
заготовки (листа, ленты, штрипса) в трубную цилиндрическую может происходить
при обычных температурах металла и с предварительным нагревом. В соответствии с
этим различают холодное и горячее формование. Холодное применяется во всех
процессах электросварки труб, горячее - при печной сварке труб.
В последние годы все большее распространение получает способ
изготовления труб большого диаметра путем свертывания под углом рулонной полосы
в цилиндрическую трубную заготовку с одновременным наложением 2-стороннего
сварного спирального расположенного шва. Такая дуговая автоматическая
электросварка со спиральным швом имеет следующие преимущества перед
прямошовной: позволяет при изготовлении труб одного и того же диаметра
применять менее широкий лист; спиральный шов при одинаковом рабочем давлении в
трубопроводе имеет меньшую удельную нагрузку, чем прямой, а труба в целом имеет
большую жесткость; наличие спирального шва вследствие повышения конструктивной
прочности трубы позволяет применять относительно меньшую толщину стенки при
равных эксплуатационных условиях.
Сортамент и технологические требования к электросварным
трубам со спиральным швом определяются ГОСТ 8696-74 и ГОСТ 20295-85 (единые
стандарты на сортамент и технические требования). Согласно единым стандартам
трубы со спиральным швом выпускаются наружным диаметром от 159 до 2500 мм с
толщиной стенки от 4 до 15 мм и длиной от 18м из углеродистых и
низколегированных свариваемых сталей (до 0,4%С и до 1,65% Mn).
Сортамент стальных электросварных прямошовных и
спирально-шовных труб, а также их длина определяются ГОСТ 10704-92, согласно
которому они могут выпускаться наружным диаметром 8 ?
1620 мм с толщиной стенки 1-16 мм.
Трубы выпускаются немерной, мерной и кратной мерной длины от
2 до 18 м. Технические требования к данным трубам устанавливаются ГОСТ
10706-92.
В зависимости от назначения и гарантируемых характеристик
различаются 4 группы труб, нормируемые показатели, которых приведены в таблице
1.1.
Таблица 1.1 Нормируемые показатели электросварных
труб
|
Группы
|
|
Наименование, №
стандарта
|
А
|
Б
|
В
|
Д
|
|
нормируемые
показатели
|
|
Электросварные,
прямошовные и спиральношовные ГОСТ 10705-80 и ГОСТ 10704-92
|
Механические
свойства
|
Химический
состав
|
Механические
свойства, химический состав
|
Гидроиспытания
|
|
Электросварные
прямошовные ГОСТ 10706-92 и ГОСТ 10704-92
|
Механические
свойства, гидроиспытания
|
Химический
состав, гидроиспытания
|
Механические
свойства, гидроиспытания, химический состав
|
Гидроиспытания
|
|
Электросварные
со спиральным швом ГОСТ 8696-74
|
-
|
Химический
состав, гидроиспытания
|
Механические
свойства, гидроиспытания, химический состав
|
Гидроиспытания
|
|
Электросварные
прямо-шовные и спирально-шовные по ГОСТ 20295
|
По группам не
делятся, но контролируются по химическому составу, механическим свойствам и
подвергаются гидроиспытаниям
|
Электросварные трубы с продольным швом применяются для
устройства тепловых сетей с рабочим давлением горячей воды до 1,6 МПа и
температурой до 300оС, а также для изготовления магистральных
трубопроводов, сетей газоснабжения.
Электросварные трубы со спиральным швом применяются для
устройства тепловых сетей с рабочим давлением пара до 1,3МПа и воды до 1,6 МПа,
а также трубопроводов систем газоснабжения.
На практике применяется условное обозначение труб 2-х видов:
вид 1 применяют для труб, имеющих отдельно стандарт на сортамент и стандарт на
технические требования; вид 2 применяют для труб имеющих один стандарт с
разделами по сортаменту и техническим требованиям.
Вид 1: Труба 1 2х3х4х5-6, ГОСТ сортамента труб/ 7-8 ГОСТ
технических требований труб
где 1 - буква Т (термообработанные), если трубы выпускаются с
термической обработкой или без неё. Если не термообработанные, то буква Т
опускается; 2 - наружный диаметр; если указывается внутренний, то перед цифрой,
обозначающей диаметр, стоит "вн"; 3 - толщина стенки; 4 - длина
мерной или кратной трубы; 5 - если длина трубы кратная определенному размеру,
то стоит индекс "кр"; 6 - класс точности по длине; 7 - группа трубы;
8 - марка стали.
Если труба немерной длины, то п.4,5,6 не заполняются. В
обозначении труб группы Д п.8 не указывается. В обозначении трубы, имеющей класс
точности по диаметру торца и овальности, перед п.2 проставляется через тире
класс точности по диаметру и овальности.
Пример обозначения:
Термообработанная труба группы В с Дн = 159 мм, S = 4,5 мм
немерной длины из стали ВСт3сп3
Труба Т 159х4,5 ГОСТ 10704-92/В-ВСт3сп3 ГОСТ 10705-80
-го класса точности по наружному диаметру, 3-го класса по
овальности группы Б сДн = 1020, S = 9 из стали БСт3сп2 без термической
обработки
Труба К2-03-1020х9, ГОСТ 10704-92/Б-БСт3сп2 ГОСТ 10706-92
труба группы Б с Дн = 70, S = 3,5 длиной кратной 1250 мм из
стали марки 10 без термической обработки
Труба 70х3,5х1250кр ГОСТ 8732-78/Б-10 ГОСТ 8731-87
Вид 2: Труба 1-2х3-4-5 ГОСТ на трубу, где 1 - указание о
термической обработке Т: если труба без термической обработки, то 1 опускается;
2 - наружный диаметр; 3 - толщина стенки; 4 - группа трубы, если трубы делятся
на группы; 5 - марка стали.
Если марка стали не оговаривается, то п.5 не заполняется; в
трубах, где вместо марки стали указывается класс прочности, он заменяет марку
стали.
Примеры: труба термообработанная, класса прочностиК50
Труба Т 530х6-К50ГОСТ 20295-85
Труба немерной длины без термообработки группы В
Труба 630х7-ВСт3сп2 ГОСТ 8696-74
тоже, но группы Д
Труба 630х7-Д ГОСТ 8696-74.
2.1.5 Трубы
из цветных металлов и сплавов
Находят широкое применение в теплообменных аппаратах
(бойлерах), а также для изготовления труб для подключения импульсных
газопроводов для присоединения КИП и приборов автоматики.
Трубы латунные для теплообменных аппаратов изготовляют из
латуни марок Л68 по ГОСТ 21646-76. Их диаметр 14-19 мм, толщина стенки 0,8-2
мм.
Для подключения приборов КИП и автоматики к импульсным
газопроводам используются медные круглые тянутые, холоднокатанные трубы общего
назначения, соответствующие требованиям ГОСТ 617-72* из меди марок М1, М1р, М2,
М2р, М3, М3р по ГОСТ 859-78, томпака марки Л96 по ГОСТ 15527-70*. Наружный
диаметр данных труб 3-30 мм, толщина стенок 0,5-5,0мм. Также применяют катанные
и тянутые трубы из алюминия марок АДО, АД1 и алюминиевых сплавов марок АМц, АМГ
2,3.5, АМГ6, АВ, Д1, Д16 по ГОСТ 18475-82 с наружным диаметром 6-120 мм и
толщиной стенки 0,5-5,0 мм.
2.1.6 Трубы
из неметаллических материалов
2.1.6.1
Пластмассовые трубы
Общая характеристика труб
Трубы из термопластов получают все более широкое применение в
строительстве. Основные свойства труб, определяющие их преимущество перед
металлическими: стойкость к действию реагентов-кислот и щелочей;
неподверженность электрохимической коррозии, благодаря чему трубопроводы из них
долговечнее металлических, более низкие потери давления (на 10-30%) в сравнении
с металлическими при транспортировании жидкостей и газов, вследствие гладкой
внутренней поверхности пластмассовых трубопроводов; высокая влагостойкость.
Основные недостатки: малая теплостойкость и большой коэффициент линейного
расширения; более низкая стойкость к внутренним и внешним нагрузкам.
Наиболее широко применяются винипластовые (ПВХ),
полиэтиленовые, полипропиленовые трубы. Кроме того используются полибутиленовые
трубы, стеклопластиковые трубы.
Пластмассовые трубы соединяют с помощью фасонных частей,
изготовленных из того же термопласта, что и трубы.
Напорные трубы изготовляют в основном способом шнековой
экструзии - непрерывным выдавливанием вязкопластичного материала через
отверстие заданного профиля. Фасонные части изготовляют литьем под давлением.
Винипластовые напорные трубы
Изготавливаются по нормалям машиностроения МН 1427-61 с
Ду=6?150 мм длиной 5-8 м. Рассчитаны на условное давление 0,25; 0,6; 1 МПа.
Используются для транспортирования неагрессивных жидкостей, к которым винипласт
стоек (вода и др. среды), температурой до 60оС. При температуре ниже
0оС винипласт становится хрупким, а при температуре выше 60оС
начинает разлагаться, что ограничивает область применения винипластовых труб.
Кроме того выпускаются трубы из непластифицированного
поливинилхлорида (НПВХ) по ТУ 6-05-1573-72, ТУ 6-05-164-73, ТУ 6-19-99-78). По
ТУ 6-05-1573-72 выпускаются легкие (Ру=0,25 МПа) и средние трубы) Ру=0,6 Мпа) с
Ду=6-240 мм и толщиной стенки 2-8,5 мм. ТУ 60-5-164-73 предусматривает
изготовление труб 4-х типов: легких, средне-легких, средних и тяжелых наружным
диаметром 10-400 мм и толщиной стенки 1-11,9 мм.
В газоснабжении нашли применение трубы по ТУ 6-19-99-78 из
ПВХ-100 длиной 5,5 м. Выпускаются 5-ти классификационных рядов 1-Ру=0,25 МIIа;
II-Ру=0,4 Мпа; III-Ру=0,6 МПа; 1У - Ру = 1,0МПа; У - Ру = 1,6 МПа. Средний
наружный диаметр 10 - 450 мм, толщина стенки 1-29,7 мм. Используются только для
подземной прокладки газопроводов в сельской местности.
Полиэтиленовые трубы
Напорные трубы из полиэтилена высокой плотности (ПВП), низкой
(ПНП), низкого давления (ПНД) изготовляют по ГОСТ 18599-73*.
Из ПВП выпускаются трубы диаметром Дн = 10-630 мм, толщина
стенки 2-25,5 мм, из ПНП выпускаются трубы диаметром Дн=10?160 мм и толщиной
стенки 2-20,8мм. Трубы напорные из ПВП и ПНП изготовляют следующих типов:
легкого Л, рассчитанного на условное давление Ру= 0,25 МПа;
среднелегкого СЛ - на Ру = 0,4 МПа; среднего С - на Ру =
0,6 МПа; тяжелого Т - на Ру= 1 МПа. В последнее время выпускаются трубы из
гранулированного полиэтилена низкого давления (ПНД) согласно ТУ 6-05-1870-79
наружным диаметром 63=200мм толщиной стенки 3,6-46,2 мм. Трубы ПНД представлены
4-мя типами: Л, СЛ, С, Т.
Пример обозначения трубы, изготовленный из ПВП наружным диаметром
315 мм типа С-труба ПВП З15С ГОСТ 18599-73* трубы из полиэтилена ПНП наружным
диаметром 40 мм типа С - труба ПНП 40 С ГОСТ 18599-73*.
Полиэтиленовые трубы в 8-10 раз легче стальных и поэтому
очень эластичны. Поэтому трубы из ПВП диаметром до 40 мм, из ПНП диаметром до
63 мм, из ПНД диаметром 63-160 мм изготовляются смотанными в бухты или
намотанными на барабаны. Однако обычно напорные полиэтиленовые трубы
поставляются длиной 6,8,10 и 12 м.
Полиэтиленовые трубы предназначаются для устройства трубопроводов,
транспортирующих воду, воздух, газ и др. вещества, к которым полиэтилен
химически стоек. Трубы типов СЛ, С, Т рекомендуются к применению для подземных
газопроводов природного газа. Полиэтиленовые трубы - основной материал для
строительства неметаллических газопроводов.
Однако полиэтиленовые трубы используются и в системах
горячего водоснабжения. Для этих целей в Швеции был разработан новый полимерный
материал, способный работать при температуре 93оС и давлениии1,05
МПа. Материал представляет собой полиэтилен с поперечными связями (химически
сшитый сетчатый полиэтилен). Благодаря обработке полиэтилена при высоком
давлении и температуре в присутствии катализатора, образуется такая структура,
которая позволяет сохранить конструкционную прочность при гораздо более высоких
температурах и давлениях, чем способен выдержать обычный полиэтилен.
Полипропиленовые трубы
Для изготовления труб используется гранулированный
полипропилен, стабилизированный сажей. Он обладает высокой химической
стойкостью. На него почти не действуют химические реагенты, кроме сильных
окислителей. Пропилен весьма водостоек и теплостоек, очень жёсток. Недостатки
полипропиленовых труб: низкая стойкость к ароматическим углеводородам (бензин,
бензол), хрупкость при низких температурах.
Полипропиленовые напорные трубы изготовляют по ТУ 38-2-54-69
Ду=20-250 мм 2-х типов: легкого Л на Ру=0,32 МПа, толщиной стенок 2-8,7 мм и
среднего С на Ру=0,6 МПа толщиной стенки 2-15,9 мм.
Согласно ТУ 6-05-1045-67 выпускаются трубы с наружным
диаметром 20-160 мм трех типов: средние С, тяжелые Т и очень тяжелые ОТ.
Полипропиленовые трубы используются в основном для устройства
напорных трубопроводов, транспортирующих нетоксичные жидкости, к которым
пропилен химически стоек, а также природный газ. Для транспортировки
газоконденсата - не применяются, т.к. нестойки по отношению к нему.
Полибутиленовые трубы
Используются в системах горячего водоснабжения. Трубы из
полибутилена выпускаются в Англии, ФРГ и др. европейских странах. Срок службы
данных труб в системах горячего водоснабжения составляет 25 лет. Величина
разрушающего напряжения при 60оС для полибутилена превышает
аналогичную характеристику полипропилена и полиэтилена высокой плотности и
примерно такая, как у полиэтилена с поперечными связями при 20оС.
Полибутиленовые трубы характеризуются высокой надежностью и полной
безвредностью для питьевой воды. Имеется тенденция к расширению применения
данных труб в коммунальном водоснабжении.
Стеклопластиковые трубы
Трубы из термореактивных пластмасс, армированные
стекловолокном, пока не получили широкого распространения, т.к. из изготовление
довольно сложно. Однако эти трубы перспективны для использования в нефтегазовой
промышленности. Стеклопластиковые трубы изготавливаются способом центробежного
литья или способом намотки.
У нас изготовляют трубы из стекловолокнистого анизотропного
материала (СВАМ), которые рассчитаны на давление 2,5 МПа.
Кроме того выпускаются трубы, состоящие из стекловолокна
(70-70%) на связующей полиэфирной смоле ПН-1 с отвердителем - гидроперекисью
изопропилбензола и ускорителем твердения - нафтенатом кобальта. Их диаметр
составляет 50-300 мм длина 6 м. Трубы подвергаются контрольному гидравлическому
испытанию на внутреннее давление в 4,5 МПа. Трубы предназначены для
использования в нефтепромысловой технике и в газоснабжении.
Воздуховоды из винипласта и полиэтилена
Из винипласта, полиэтилена изготовляют листы, стержни, прутки
и пленку, используемые при устройстве воздуховодов для систем вентиляции
промышленных зданий и сооружений.
Винипласт в виде листов выпускается по ГОСТ 9639071*. Листы
винипласта изготовляются прессованием или экструзией из непластифицированной
поливинилхлоридной композиции с добавками вспомогательных веществ
(стабилизаторы, смазки).
В зависимости от назначения и метода изготовления выпускаются
листы из винипласта следующих марок: ВН - непрозрачные, неокрашенные или
окрашенные, изготовленные прессованием; ВНЭ - то же, изготовленные экструзией;
ВП - прозрачные, бесцветные или окрашенные, изготовленные прессованием или
экструзией; ВД - декоративные (для изготовления воздуховодов не
применяются).
Длина листов должна составлять не менее 1300 мм, ширина - не
менее 500 мм, допускаемое отклонение по длине и ширине листов 100 мм. Толщина
листов марки ВН колеблется от 1 до 8 мм - с интервалом 0,5мм и далее
9,10,12,15,18 и 20 мм; листы марок ВНЭ и ВП выпускаются толщиной 1?5мм.
В некоторых промышленных и сельскохозяйственных зданиях и
сооружениях воздуховоды систем вентиляции выполняются из полиэтиленовой пленки
толщиной 0,06-0,1мм. Прочная полиэтиленовая пленка позволяет транспортировать
воздух при температуре 0?50оС. Однако такие воздуховоды
недолговечны. Изготовляют их путем сварки пленки или использования бесшовных
пленочных рукавов диаметром 150,300 и 400 мм.
2.1.6.2
Асбестоцементные трубы и воздуховоды
Асбестоцементные изделия изготовляют следующими способами:
мокрым - из асбестоцементной суспензии (жидкой смеси асбеста, цемента и воды);
полусухим - из асбестоцементной массы (полужидкой смеси асбеста, цемента,
воды); сухим - из сухой смеси асбеста и цемента. Наиболее распространён мокрый
способ.
Промышленность выпускает асбестовые водопроводные трубы по
ГОСТ 539-80, которые в зависимости от величины рабочего давления делятся на 4
класса; ВТ6, ВТ9, ВТ12, ВТ15 (цифра показывает наибольшее рабочее давление в
кг/см2, при котором можно применять трубу). Ду таких труб составляет
100-500 мм, толщина стенки 9-46 мм, длина 3000-6000 мм.
Трубы, предназначенные для строительства газопроводов,
изготовляют по МРТУ 7-1-69 2-х типов: для газопроводов низкого давления
(ГАЗ-НД) и среднего давления (ГАЗ-СД). Диаметр условного прохода 100-500 мм,
причем для обоих типов труб сохраняется одинаковым наружный диаметр, а именно
от 122 (Ду=100мм) до 528 мм (Ду=500мм). Длина труб составляет 3,4,6 м.
Производство асбестоцементных труб измеряется в километрах
условных труб. За условную трубу принимается труба с рабочим давлением 0,9 МПа,
внутренним диаметром 200 мм и толщиной стенки 16 мм со стандартной массой 21
кг. Достоинство: высокая коррозионная стойкость. Недостатки асбестоцементных
труб: низкая ударная вязкость, большая хрупкость, повышенная ползучесть,
газопроницаемость их стенок.
Наиболее целесообразным способом предотвращения утечки газа
через стенки труб является создание на стенках труб пленочного
газонепроницаемого покрытия, состоящего из композиции на основе высокополимеров.
Предложено 2-сторонее пленочное покрытие, включающее
композицию из резольной фенолформальдегидной смолы с дисперсным наполнителями,
обладающее низкой стоимостью, но требующее обязательного горячего отвердения
под давлением. Наряду с этим способом предложено покрытие на основе
термореактивной смолы холодного отвердения. Такие покрытия можно изготовлять на
основе эпоксидных, полиэфирных и фурановых смол.
Асбестоцементные короба.
Асбестоцементные короба прямоугольного сечения применяются
для устройства систем вентиляции и кондиционирования воздуха производственных,
вспомогательных и бытовых помещений.
Различают короба 2-х видов: бесшовные без раструбов и
раструбные. Короба бесшовные без раструбов изготовляют из свежесформованных на
формовочных машинах тонкостенных труб.
Тонкостенные трубы выполняют из асбестоцементной суспензии
того же состава, что и водопроводные трубы.
Внутренние размеры бесшовных коробов могут быть от 100х100 до
300х300 мм. Длина коробов сечением до 150х150 мм составляет 2-3 м, а большего
сечения - 4 м. В зависимости от размеров коробов толщина их стенок колеблется
от 8 до 10 мм.
Короба раструбные формуют из снятых с формовочных машин
листов, разрезанных на форматы требуемых размеров, на деревянных разборных
формах. Концы, образующие продольный шов, склеивают. Короба изготовляют
внутренними размерами 300х300,300х400,300х500, 400х400,400х500,500х600 мм, а в
раструбной части внутренними размерами от 336х336 мм до 536х636 мм. Толщина
стенок короба и раструба колеблется от 8 до 10 мм в зависимости от размера их
сечения. Длина раструбных коробов 1600 мм (из них 80 мм приходится на его
раструбную часть).
Для уменьшения потерь давления воздуха, проходящего через
вентиляционную систему, листы асбестоцемента располагают гладкой стороной внутрь
короба.
2.1.7
Особенности использования труб в системах газоснабжения
Из всего многообразия выпускаемых в стране труб для
газоснабжения можно использовать такие, которые наряду с обеспечением
требований надежности, являются экономичными и доступными в приобретении.
Требования, предъявляемые к стальным трубам, применяемым в
газоснабжении:
1
следует
применять трубы, изготовленные из углеродистой стали обыкновенного качества по
ГОСТ 380-71* или качественной стали по ГОСТ 1050-74, содержащей не более 0,25%
углерода, 0,056% серы и 0,046% фосфора;
2
стальные
трубы для внутренних и наружных газопроводов следует использовать групп В и Г,
изготовленные из спокойной малоуглеродистой стали группы В по ГОСТ 380-71* не
ниже 2-й категории марок Ст2, Ст3, Ст4 (при содержании в ней углерода не более
0,25%; стали марок 08,10,15,20 по ГОСТ 1050-74*; низколегированной стали марок
09Г2С,17ГС,17Г1С по ГОСТ 19281-73* не ниже 6-й категории; стали 10Г2 по ГОСТ
4543-71*;
3
трубы
из полуспокойной и кипящей стали допускается применять:
4
для
подземных газопроводов в районах с расчетной температурой наружного воздуха до
- 30оС включительно;
5
для
надземных газопроводов в районах с расчетной температурой наружного воздуха
до - 10оС (из полуспокойной и кипящей стали) и -
20 оС включительно (из полуспокойной стали);
6
для
внутренних газопроводов давлением не более 0,3 МПа с наружным диаметром не
более 159 мм и толщиной стенки трубы до 5 мм, если температура стенок труб в
процессе эксплуатации не будет ниже 0оС;
7
для
наружных газопроводов трубы диаметром не более 820 мм (из полуспокойной стали)
и 530 мм (из кипящей стали) и толщиной стенок не более 8 мм;
8
в
районах с расчетной температурой наружного воздуха до - 40оС для
наружных подземных газопроводов допускается использовать трубы из полуспокойной
стали диаметром не более 325 мм и толщиной стенки до 5 мм, а для наружных
подземных и надземных газопроводов - из полуспокойной и кипящей стали диаметром
не более 114мм и толщиной стенки до 4,5мм;
9
для
наружных и внутренних газопроводов низкого давления допускается использовать
трубы групп А-В из спокойной, полуспокойной и кипящей стали марок СТ1, Ст 2,
Ст3, Ст4 1-3-й категории групп А-В по ГОСТ 380-71* и 08,10,15,20 по ГОСТ
1050-74**;
10для строительства участков газопроводов всех давлений, испытывающих
вибрационные нагрузки. Применяются стальные трубы групп В и Г, изготовленные
только из спокойной стали с содержанием углерода не более 0,245;
11трубы электросварные спиральношовные следует принимать только для
прямых участков газопроводов;
12для газопроводов жидкой фазы СУГ следует применять, как правило,
бесшовные трубы;
13трубы для строительства газопроводов, прокладываемых в пучинистых
грунтах и на подрабатываемых территориях должны быть длинномерные (длиной не
менее 10м) и толщиной стенки не менее 3 мм для труб диаметром до 80 мм
включительно и для труб больших диаметров на 2-3 мм больше расчетной величины;
14трубы водо-газопроводные по ГОСТ 3262-75 допускается принимать при
сооружении наружных и внутренних газопроводов низкого давления с условным
диаметром до 80 мм, эти же трубы высшей категории качества с условным диаметром
до 32 мм - для импульсных газопроводов давлением до 0,6 МПа.
Полимерные трубы в системах газоснабжения применяются для
газоснабжения поселков и сельских населенных пунктов, куда подают природные
газы газовых и газонефтяных месторождений, не содержащие ароматических и
хлорированных углеводородов. Их изготовляют из полиэтилена низкого давления с
маркировкой "ГАЗ" по ТУ 6-19-352-87 с основными размерами по наружному
диаметру 63,110, 160, 225 мм.
Полиэтиленовые трубы не допускается применять для
газопроводов, строящихся в районах с расчетными зимними температурами ниже - 40оС,
в просадочных грунтах, в скальных грунтах, в районах подрабатываемых территорий
и в районах с сейсмичностью более 6 баллов.
Не допускается прокладка газопроводов из полиэтиленовых труб
d коллекторах и каналах, а также для надземной и подземной прокладки
газопроводов.
Тип полиэтиленовых труб принимается в зависимости от рабочего
давления в проектируемом газопроводе:
при давлении до 0,005 МПа - СЛ (среднелегкий);
свыше 0,005 до 0,3 МПа - С (средний);
свыше 0,3 до 0,6 МПа - Т (тяжелый).
Полиэтиленовые трубы допускается применять при строительстве
газопроводов на территории поселков и сельских населенных пунктов с малой
насыщенностью инженерными коммуникациями и небольшим числом ответвлений от
полиэтиленового газопровода при давлении в нем до 0,3 МПа.
При давлении в газопроводе от 0,3 до 0,6 МПа полимерные трубы
для строительства газопровода допускается применять только при его расположении
вне территорий городов, поселков и сельских населенных пунктов.
2.1.8
Определение толщины стенки магистральных трубопроводов
Расчетная толщина стенки трубопровода определяется по формуле
d = 
(2.1.)
При наличии продольных осевых сжимающих напряжений толщину стенки
необходимо определять из условия
d =
2.2
где
- коэффициент надежности по нагрузке -
внутреннему рабочему давлению в трубопроводе) табл.13 СНиП 2.05.06-85);
- рабочее (нормативное) давление, МПа;
- наружный диаметр трубы, см;1 - расчетное
сопротивление растяжению
= R1н
m/ R1 Rн
где R1н - нормативное сопротивление
растяжению (сжатию) металла труб, принимаемое по ГОСТ и ТУ на трубы;-
коэффициент условий работы (табл.1 СНиП);1 - коэффициент надежности
по материалу (табл.9,10 СНиП);н - коэффициент надежности по
назначению трубопровода (табл.11 СНиП);
j1 -
коэффициент, учитывающий 2-х осное напряженное состояние труб. определяемый по
формуле
(sпр. N / R1) 2 - 0,5 (sпр. N) / R1 2.3
где sпр. N - продольное осевое сжимающее напряжение
МПа, определяемое от расчетных нагрузок и воздействий с учетом
упругопластической работы материала труб в зависимости от принятых
конструктивных решений.
Толщину стенки труб, определенную по формулам необходимо принимать
не менее 1/140
, но не менее 3 мм для труб с условным
диаметром 200 мм и менее, и не менее 4 мм - для труб условным диаметром свыше
200 мм.
Полученное расчетное значение толщины стенки трубы округляется до
ближайшего большего значения, предусмотренного ГОСТ или ТУ.
2.1.9
Особенности использования труб в системах теплоснабжения
Требования, предъявляемые к трубам, применяемым для
теплопроводов:
достаточная механическая прочность и герметичность при
давлениях и температурах теплоносителя, которые имеют место в системах
теплоснабжения;
эластичность и устойчивость по отношению к термическим
напряжениям при переменном тепловом режиме;
постоянство механических свойств;
устойчивость по отношению к внешней и внутренней коррозии;
малая шероховатость внутренних поверхностей;
отсутствие эррозии внутренних поверхностей;
малый коэффициент температурных деформаций;
высокие теплоизолирующие свойства стенок трубы;
простота, надежность и герметичность соединения отдельных
элементов;
простота хранения, транспортировки и монтажа.
В настоящее время для сооружения тепловых сетей применяются,
как правило, стальные трубы из спокойной стали. Для подбора сортамента стальных
труб для тепловых сетей используется шкала давлений по ГОСТ 356-80.
В основу построения шкалы давлений положено деление всех
трубопроводов на 8 групп в зависимости от температуры транспортируемой среды.
Шкала составлена таким образом, что одна и та же труба может применяться для
транспорта теплоносителя с любой температурой от 0оС до
установленной для трубы из данной марки стали предельной температуры tпр
445 оС, но при различных
давлениях.
В качестве критерия давлений в шкале установлено "условное
давление". Труба, рассчитанная на какое-либо условное давление, может быть
использована для рабочего давления.
Рраб = ?Ру
где ? - коэффициент,
принимаемый в зависимости от температуры транспортируемой среды. Изменяется от
1,0 при tсреды = 200 оС, до 0,45 при tсреды =
445 оС.
Пробное давление для гидравлических испытаний трубопроводов
определяется по формуле:
Рпр = 1,5 Ру (2.4.)
Основными типами стальных труб, применяемых для тепловых сетей
являются:
при диаметрах до 400 мм включительно - бесшовные
горячекатанные;
при диаметрах выше 400 мм - электросварные с продольным швом
и электросварные со спиральным швом.
Трубы для тепловых сетей изготовляются в основном из стали
следующих марок: Ст2сп, Ст3сп, стали 10, 20,10Г2с1, 15гс, 16ГС.
Минимальная толщина стенок бесшовных труб составляет от 2 мм
при Ду = 15 мм до 9 мм при Ду = 400 мм. Трубы с данной толщиной стенки могут
применяться при условном давлении Ру = 4Мпа при изготовлении из стали Ст2 и Ст3
при температуре теплоносителя до 300 оС, а при изготовлении из
сталей 10 и 20 - при температуре теплоносителя - до 425 оС.
Сортамент электросварных труб для сооружения тепловых сетей
выбирается с учетом условного давления, максимальной температуры теплоносителя,
диаметра трубопровода и марки стали, из которой он изготовлен.
Для водяных тепловых сетей при избыточном давлении Ру
2МПа и t
200 оС рекомендуются к преимущественному применению
трубы из Ст2сп, Ст3сп, сталей 10,10 следующего сортамента: при d
400 мм - группы А горячекатанные и
холоднокатанные по ГОСТ 8731-87 и 8733-87; при d ? 400 мм - группы А и В электросварные с
двусторонним прямым или спиральным швом по ГОСТ 10706-76 и 8696-74.
При изготовлении из сталей 10Г2С1, ВМСт2сп, ВМСт3сп трубы стальные
электросварные с 2-сторонним прямым или спиральным швом при d > 400 мм по ГОСТ 10706-76 применяются при Ру
? 2,5 МПа и t ? 200 оС.
Стальные водогазопроводные трубы для тепловых сетей применять t не
рекомендуется.
2.2 Арматура
2.2.1 Общие
сведения об арматуре
Арматурой называются устройства, предназначенные для управления
потоками
рабочей среды (жидкой, газообразной,
газожидкостной и т.п.), транспортируемой по трубопроводу. Применение арматуры
позволяет включать, отключать подачу, изменять давление или направление
газового или жидкостного потоков; с помощью арматуры указывают и регулируют
уровни жидкостей, производят автоматическое удаление газов и жидкостей.
Как правило, арматура состоит из запорного или дроссельного
устройства и привода. Данные устройства представляют собой закрытый крышкой
корпус, внутри которого перемещается затвор. Корпус имеет присоединительные
концы, которые служат для его герметичного закрепления на трубопроводе. При
перемещении затвора внутри корпуса относительно его седел изменяется площадь
прохода для среды, вследствие чего изменяется гидравлическое сопротивление.
Седлом называется часть внутренней поверхности корпуса или специальная деталь,
с которой сопрягается затвор при закрытом проходе.
В зависимости от назначения устройство называется запорным, если
его назначение - герметичное разобщение одной части трубопровода от другой, и
дроссельным, назначение которого состоит в точном регулировании площади прохода
- гидравлического сопротивления. В запорных устройствах поверхности затвора и
седла, соприкасающиеся во время отключения частей трубопровода, называются
уплотнительными. В дроссельных устройствах поверхности затвора и седла,
образующие регулирующий орган для среды, называются дроссельными.
2.2.2
Классификация арматуры
В соответствии с ГОСТ 356-80 арматура и соединительные части
трубопроводов характеризуются условным, пробным и рабочим давлением. Основным
параметром, гарантирующим прочность арматуры и учитывающим как рабочее
давление, так и температуру, является условное давление. Условное давление
соответствует допустимому для данного изделия рабочему давлению при нормальной
температуре. При повышении температуры механические свойства конструкционных
материалов ухудшаются. Давления, указываемые для арматуры являются избыточными
(оговариваются только абсолютные). Рабочей температурой называется наивысшая
длительная температура рабочей среды без учета кратковременных повышений,
которые допускаются техническими условиями. Допускается повышение фактического
рабочего давления над указанным в стандарте или каталоге на 5%.
Основной размерный параметр арматуры - диаметр условного
прохода или просто условный проход Ду. Это - номинальный внутренний диаметр
трубопровода, на котором располагается данная арматура. Различные типы арматуры
при одном и том же условном проходе могут иметь разные проходные сечения.
В зависимости от назначения трубопроводная арматура
подразделяется на следующие классы:- запорная, назначение которой заключается в
полном перекрытии потока среды, применяется для выключения отдельных участков
трубопроводов или систем;- регулирующая, предназначенная для регулирования
давления проходного сечения;- предохранительная, осуществляющая частичный
выпуск среды в случае необходимости или полное прекращение её подачи с целью
предотвращения повышения давления, угрожающего прочности системы, а также
предотвращения недопустимый по технологическим соображениям обратный поток
среды;- резервуарная, контрольная и пробная арматура различного назначения.
Каждый из классов в зависимости от принципа действия арматуры
подразделяется на две группы: А - приводная, которая приводится в действие с
помощью привода (ручного, механического, электрического, пневматического); Б -
автоматическая (самодействующая), которая приводится в действие автоматически,
непосредственно потоком рабочей среды или изменением его параметров.
К I классу (запорной арматуре) группы А (приводной) относятся
следующие типы арматуры - краны, вентили, задвижки, поворотные затворы.
Ко II классу (регулирующей) группы А (приводной) относятся
вентили регулирующие; группы Б (автоматической) - клапаны регулирующие,
регуляторы уровня, конденсатосборники.
К III классу (предохранительной арматуре) группы Б
(автоматической) относятся предохранительные клапаны и обратные клапаны.
К IV классу (резервуарной, контрольной арматуре) группы А
(приводной) относятся пробно-спускные краны; группы Б (автоматической) -
указатели уровня, скоростные клапаны, незамерзающие клапаны.
Арматура бывает универсальной, т.е. способной работать в
условиях применения любой среды или предназначенной только для одной среды
(воды, пара, газа).
2.2.3 Способы
присоединения арматуры
По способу соединений арматура подразделяется на фланцевую,
муфтовую, цапковую и сварную. Все соединения, кроме сварного разъемные.
Наибольшее распространение получила фланцевая арматура. Её
основные преимущества - возможность многократного монтажа и демонтажа на
трубопроводе, обеспечение надежности герметизации стыков и возможности их
подтяжки, высокая прочность и пригодность для широкого диапазона давлений и
проходов. Её основные недостатки - возможность ослабления затяжки и потеря
герметичности со временем, высокая трудоемкость сборки и разборки, большие
габаритные размеры и масса.
Область применения муфтовой арматуры - это мелкая арматура с
условными проходами до 50 мм. В данном случае концы арматуры представляют собой
муфты с внутренней резьбой. Муфтовое соединение применяется в литой арматуре. В
основном муфтовое соединение используется в арматуре низких и средних давлений.
Цапковое соединение применяется для мелкой арматуры высоких
давлений, которая как правило выполняется из поковок или проката. Цапковое
соединение имеет наружную резьбу под накидную гайку.
В последнее время все более часто используется арматура с
концами под сварку, т.е. сварной способ соединения. Его достоинства -
абсолютная и надежная герметичность соединения, отсутствие необходимости
подтяжки, высокая экономия металла, низкая масса арматуры и
трубопровода. Недостаток сварных соединений - сложность демонтажа и замены
арматуры. Наиболее часто данные соединения арматуры применяются на таких
трубопроводах, где сам трубопровод монтируется целиком при помощи сварки.
2.2.4
Условные обозначения арматуры
Государственными стандартами предусмотрены условные
обозначения арматуры, которые включают в себя наименование, номер (номер типа
арматуры, например, 1 - кран, 2 - вентиль, 3 - задвижка и т.д.), конструктивный
тип (римские цифры I, II, III), исполнение (буквы А, Б, В), условный проход
(мм), условное давление (МПа), ГОСТ.
Однако в ведомостях для заказа арматуры, в прейскурантах
широко используются не стандартные, а отраслевые условные обозначения.
Поэтому для удобства учета, заказов, хранения Центральным
конструкторским бюро арматуростроения (ЦКБА) разработан каталог
(классификатор), в котором приняты условные обозначения выпускаемой арматуры,
не отраженные в стандартах на арматуру, но относительно широко используемые на
практике. Условные обозначения (ЦКБА) арматуры состоят из последовательно
располагаемых цифр и букв.
Первые две цифры соответствуют виду арматуры (группе), которая
имеет следующее обозначение:
Краны:
пробково-спускные - 10
для трубопроводов - 11.
Запорные устройства указателей уровня - 12
Вентили - 14.15
Клапаны:
обратные подъемные - 16
предохранительные - 17
редукционные - 18
обратные поворотные - 19
Регуляторы давления - 21
Клапаны:
запорный и отсечной - 22
регулирующий - 25
смесительные - 27
Задвижки - 30,31
Затворы - 32
Инжекторы - 40
Конденсатоотводчики 45
Далее идут одна или две буквы, обозначающие материал,
применяемый для изготовления корпуса:
Сталь:
углеродистая - с
легированная - лс
коррозионностойкая (нержавеющая) - нж
Чугун:
серый - ч
ковкий - кч
Латунь, бронза - б
Алюминий - а
Монель-металл - мн
Винипласт - вп
Прочие пластмассы - п
Титан - тн
Стекло - ск
Первая цифра после буквенного обозначения указывает вид
привода:
Механический с червячной передачей - 3
То же, с цилиндрической передачей - 4
То же, с конической передачей - 5
Пневматический - 6
Гидравлический - 7
Электромагнитный - 8
Электрический - 9
Последние одна-две буквы обозначают материал уплотнительных
поверхностей запорного элемента:
Латунь, бронза - бр
Монель-металл - мн
Сталь нержавеющая (коррозионностойкая) - нж
Нитрированная сталь - нт
Баббит - бт
Стеллит - ст
Сормайт - ср
Кожа - к
Эбонит - э
Резина - р
Винипласт - вп
Прочие пластмассы - п
Уплотнительные поверхности без вставных колец, т.е. с
уплотнительными поверхностями выполненными непосредственно на самом корпусе или
затворе - бк
Внутреннее покрытие уплотнительных поверхностей имеет
следующее обозначение:
Гуммирование - гм
Эмалирование - эм
Свинцование - см
Футерование пластмассой - п
То же, нейритои - н
Пример обозначения:
Задвижка параллельная с выдвижным шпинделем фланцевая
чугунная с уплотнением поверхности без вставных колец - 30ч7бк
Здесь 30 - группа изделия - задвижка; "ч" - материал
корпуса - чугун серый; цифра 7 характеризует разновидность задвижки;
"бк" - запорный элемент уплотняется без вставных колец.
На лицевой стороне корпуса арматуры или на фирменной
табличке, приклепанной к арматуре, наносят товарный знак завода-изготовителя,
условное давление, диаметр условного прохода, стрелку - знак направления потока
(арматура, предназначенная для подачи среды в любом направлении. А также
имеющая выпускные концы, не должна иметь стрелки-указателя). Для арматуры,
изготовляемой на определенное рабочее давление, вместо условного должны
указываться рабочее давление и температура.
На арматуре, изготовленной из стали со специальными
свойствами (жаростойкой, кислотостойкой) дополнительно указывается марка
материала корпуса.
В зависимости от материала корпуса арматура окрашивается в
определенный цвет по ГОСТ 4666-75:
Чугун серый и ковкий - черный
Сталь:
углеродистая - серый
легированная - синий
кислотостойкая и нержавеющая - голубой
Цветные сплавы - не окрашивается
В зависимости от материала уплотнительных деталей затвора
применяются следующие дополнительные отличительные окраски приводного
устройства (маховика (рычага)
Бронза, латунь - красный
Сталь кислотостойкая и нержавеющая - голубой
Нитрированная - фиолетовый
Баббит - желтый
Пластмасса - серый с синими полосками по периметру
Эбонит, фибра - зеленый
без колец - цвет окраски корпуса и крышки.
2.2.5
Характеристика основных видов арматуры
2.2.51
Запорная арматура
Назначение запорной арматуры заключается в перекрытии потока
или пуске его в соответствии с требованиями технологического процесса. Кроме
того, при помощи запорной арматуры производится переключение направления потока
и изменение его расхода, давления, скорости.
Главная задача при конструировании запорной арматуры -
обеспечение герметичности как в запорном элементе, так и по отношению ко
внешней среде (сальник, соединения корпуса с крышкой и с трубопроводом).
Особенно важно обеспечить герметичность в запорном элементе, так как небольшой
пропуск рабочей среды в запорном элементе может оказать решающее влияние на
технологический процесс. Герметичность запорного элемента регламентируется ГОСТ
9544-75, который разделяет запорную арматуру по степени герметичности на 3
класса.
Наиболее распространена запорная арматура 4-х типов:
задвижки, вентили, краны и затворы. Данные типы различаются характером
перемещения запорного элемента и формой этого элемента.
Задвижка - запорное устройство, в котором перекрытие потока
осуществляется поступательным перемещением запорного элемента (затвора) в
направлении, перпендикулярном направлению потока (см. рис.2.1а).
Рис. 2.1 Схемы перекрытия потока запорной арматурой
а - задвижкой; б - вентилем; в - краном.
Принципиальная особенность задвижек заключается в том, что при их
закрывании запорный элемент не преодолевает существенные усилия от давления
среды, т.к. он двигается поперек потока. В задвижках при закрывании необходимо
преодолеть только трение. Площадь уплотнительных поверхностей задвижек
невелика: два узких кольца вокруг прохода, вследствие чего в задвижках
обеспечивается относительно надежная герметичность.
Достоинства задвижек: незначительное гидравлическое сопротивление
при полностью отрытом проходе: отсутствие поворота потока рабочей среды;
простота обслуживания; относительно незначительная строительная длина;
возможность подачи среды в любом направлении; возможность использования для
перекрытия потоков среды большой вязкости.
Недостатки задвижек: невысокая скорость срабатывания запорного
элемента; большая высота; трудности замены изношенной уплотнительной
поверхности запорного элемента при эксплуатации; невозможность их применения
для сред с кристаллизирующимися включениями; невысокий допускаемый перепад
давления на затворе (в сравнении с вентилями); возможность возникновения
гидравлического удара в конце хода; невозможность применения постоянной смазки
уплотняющих поверхностей седла и затвора.
Строительная длина задвижек, т.е. расстояние между наружными
плоскостями фланцев, должна соответствовать ГОСТ 3706-67, а технические условия
на их изготовление - ГОСТ 5762-74*. Основные параметры задвижек нормированы
ГОСТ 9698-67.
По конструкции запорного элемента задвижки бывают параллельные и
клиновые. В свою очередь параллельные задвижки подразделяются на однодисковые
(шиберные) и двухдисковые; клиновые задвижки подразделяются на задвижки с
цельным, упругим и составным клином.
По конструкции шпинделя задвижки делятся на задвижки с выдвижным и
не выдвижным шпинделем, по типу привода - задвижки с ручным (маховик, цепное
колесо, конический редуктор) и электрическим приводом. Задвижки с не выдвижным
шпинделем должны иметь указатели степени открытия.
В некоторых задвижках, предназначенных для работы при высоких перепадах
давления на затворе, с целью уменьшения усилий, необходимых при открывании и
закрывании прохода, полная площадь прохода выполняется несколько меньше, чем
площадь сечения входных патрубков. На основании данного признака задвижки
подразделяются на полнопроходные и с суженым проходом. В полнопроходных
задвижках диаметр прохода равен диаметру патрубков, в задвижках с суженным
проходом он меньше диаметра патрубков.
В параллельных задвижках уплотнительные поверхности параллельны
друг другу и расположены перпендикулярно к направлению потока рабочей среды.
Затвор в них называется диском или шибером. Преимущества параллельных задвижек:
простота изготовления затвора, легкость сборки ремонта, отсутствие заедания
затвора в полностью закрытом положении. Недостатки данных задвижек: высокий
расход энергии на закрывание и открывание, в связи с тем, что на всем пути
движения привод преодолевает трение между уплотнительными поверхностями седел и
затвора, а также значительный износ уплотнительных поверхностей.
Параллельная задвижка с выдвижным шпинделем (рис.2.2.) состоит из
чугунного корпуса 4, его крышки 8, шпинделя с червячной резьбой 7, маховика 14
с гайкой 13, в которую входит шпиндель. В нижней части шпинделя закреплен
шибер, состоящий из двух параллельных дисков 3 с обоймой 5. Между дисками
располагается распорный клин 2. При вращении маховика вправо шпиндель вместе с
дисками и клином опускается вниз. Клин касается низа корпуса задвижки и при
дальнейшем движении шпинделя вниз раздвигает диски и прижимает их к бронзовым
кольцам 1, закрывая проход. Чтобы задвижка не пропускала рабочую среду, диски
плотно прижимаются к кольцам. При вращении маховика влево шпиндель вместе с
дисками поднимается вверх и открывает проход. В верхней части шпинделя ниже
резьбы находится крышка сальника 12, а под ней в кольцевом канале крышки
корпуса 8 имеется сальниковая набивка 10. Крышка сальника, притянутая к крышке
корпуса двумя болтами сжимает сальниковую набивку, которая плотно схватывает
шпиндель и препятствует проникновению рабочей среды через крышку корпуса вдоль
шпинделя. Крышка соединяется с корпусом болтами с гайками.
Рис. 2.2 Параллельная задвижка с выдвижным шпинделем: 1 - кольцо; 2 - клин; 3 - диск; - корпус; 5 - обойма
диска; 6 - прокладка; 7 - шпиндель; 8 - крышка корпуса; 9 - болт
с гайкой; 10 - сальниковая набивка; II - болт; 12 - крышка
сальника; 13 - гайка; 14 - маховик.
Основные размеры параллельных задвижек с выдвижным шпинделем на Ру
£ 1 МПа должны соответствовать ГОСТ
8437-75. Задвижки с латунным уплотнением запорного элемента 30ч6 бр применяются
для воды и пара с температурой до 225оС, а с чугунным уплотнением
запорного элемента 30ч6 бк - для нефти и масел температурой до 90 оС.
Такие задвижки изготавливаются условным проходом от 50 до 400 мм. В
газоснабжении применяют задвижки 30ч7 бк.
Параллельная задвижка с не выдвижным шпинделем представлена на
рисунке 2.3 (чугунная задвижка с латунными уплотнительными кольцами на Ру £ 1 МПа для воды температурой не более 50
оС). Особенности конструкции задвижки следующие. В верхней части шпинделя
имеется кольцевой выступ 1, который, защемляясь между корпусом задвижки и
фланцем 2, препятствует перемещению шпинделя вдоль его оси. На нижней части
шпинделя нарезана прямоугольная резьба, которая входит в такую же резьбу в
отверстии верхнего клина 3. С верхним клином соединен нижний клин 4, сцепленный
с дисками 5 и 6. При вращении маховика вправо верхний клин и соединенный с ним
нижний клин задвижки опускаются вниз. Когда нижний клин упрется в корпус задвижки,
скошенная плоскость верхнего клина начнет скользить по скошенной плоскости
нижнего клина. В итоге клинья прижмут диски к кольцам корпуса, герметично
закрывая проход.
Задвижка данного типа обеспечивает более плотное закрытие прохода
по сравнению с задвижкой с выдвижным шпинделем, однако последняя имеет
следующее достоинство - по положению шпинделя можно определить, достигнута ли
заданная величина прохода. Параллельно задвижки с не выдвижным шпинделем
изготавливаются условным проходом от 50 до 300 мм.
Клиновые задвижки - задвижки, у которых затвор имеет вид
плоского клина. В клиновых задвижках седла или уплотнительные поверхности,
параллельные уплотнительным поверхностям затвора, расположены под некоторым
углом к направлению перемещения затвора. Затвор в данных задвижках носит
наименование клина. Достоинства клиновых задвижек: повышенная герметичность
прохода в закрытом положении. Незначительность усилия, необходимого для
обеспечения уплотнения. Т.к. угол между направлением усилия привода и усилиями,
действующими на уплотнительные поверхности затвора, близок к 90о, то
даже небольшая сила, передаваемая шпинделем, может вызвать значительные усилия
в уплотнении. Недостатки таких задвижек: необходимость применения направляющих
для перемещения затвора, повышенный износ уплотняющих кромок затвора,
технологические трудности получения герметичности в затворе.
Рис. 2.3 Параллельная задвижка типа
"Москва"
Задвижка клиновая дисковая с выдвижным шпинделем фланцевая с
электроприводом изображена на рис.2.4 Она изготовлена из стали, что дает
возможность использовать её при Ру £ 1 МПа для воды и пара
температурой до 300оС. Задвижка имеет затвор в виде сплошного клина
с направляющим и связанный с ним выдвижной шпиндель. В задвижке имеется верхнее
уплотнение для разгрузки сальника при поднятом до отказа затворе, которое даёт
возможность при необходимости заменить сальниковую набивку, не прекращая подачу
газа.
Рис. 2.4 Задвижка клиновая дисковая с выдвижным
шпинделем, с электроприводом: 1 - корпус; 2 - клин запорного элемента; 3
- шпиндель; 4 - крышка задвижки; 5 - электропривод.
Тип и основные размеры задвижки регламентированы ГОСТ
10738-76. Обозначение задвижки 30с964нж. Цифры 964 показывают, что задвижка
имеет электропривод. Электропривод позволяет облегчить обслуживание задвижек и
автоматизировать управление ими.
Электропривод состоит из трех узлов: электродвигателя, редуктора
и конечных выключателей. Редуктор применяется для уменьшения числа оборотов при
передаче движения от электродвигателя к шпинделю. Используются обычно червячные
редукторы. Конечные выключатели обеспечивают автоматическое отключение
электродвигателя при достижении запорным элементом задвижки крайних положений,
размыкая электрическую цепь электродвигателя. Реверсивные магнитные пускатели
или контакты, используемые для управления электроприводом, позволяют пускать
электродвигатель с вращением по часовой или против часовой стрелки.
Задвижка клиновая двухдисковая с не выдвижным шпинделем
30ч47бкч (см рис.2.5.) применяется для газопроводов. Запорный элемент задвижки
состоит из двух дисков и вкладыша. При вращении маховика по часовой стрелке
затвор раздвигает диски, прижимая их к уплотняющим поверхностям корпуса. При
этом обеспечивается плотное прилегание дисков за счет распора дисков,
осуществляемого благодаря наличию сферического элемента внутри запорного
устройства. Указатель положения затвора состоит из стержня и диска
перемещающегося по резьбе шпинделя. На стержне имеются красные отметки
"0" (открыто) и "З" (закрыто). При износе уплотнительных
поверхностей плотность затвора восстанавливают при помощи регулировочных
прокладок. В качестве сальниковой применяют набивку марки ЛП (по ГОСТ 5152-84)
и уплотнительное кольцо из маслобензостойкой резины. Конструкция и размеры
задвижки нормированы ГОСТ 11933-66*. Задвижки изготовляют на Ру £ 0,6 МПа и Ду = 50.600 мм
для температуры рабочей среды до 100оС.
Рис. 2.5 Задвижка клиновая с невыдвижным шпинделем 30ч47бк4.
- регулировочная прокладка; 2 - вкладыш; 3 - диск клинового
затвора; 4 - шток; 5 - уплотнительное кольцо; 6 - стержень; 7 - диск; 8 -
выступ сальниковой гайки.
Вентиль - запорное устройство с поступательным перемещением
запорного элемента (затвора) в направлении, совпадающем с направлением потока
транспортируемой среды. (см. рис.2.1 б). Перемещение затвора осуществляется
вследствие ввинчивания шпинделя в ходовую гайку. Вентили в основном применяются
для перекрытия потоков газообразных и жидких сред, когда к надежности и
герметичности запорного устройства предъявляются высокие требования. Однако на
базе вентилей достаточно просто могут быть созданы дросселирующие устройства с
любой расходной характеристикой.
Достоинства вентилей: возможность работы при высоких
перепадах давления на золотнике и при больших рабочих давлениях; простота
конструкции, обслуживания и ремонта в условиях эксплуатации; малый ход
золотника (затвора), необходимый для полного перекрытия прохода (по сравнению с
задвижками), обычно 0,25 Ду; сравнительно небольшие габаритные размеры и масса;
герметичность перекрытия затвора; возможность использования в качестве
регулирующего органа и установки на трубопроводе в любом положении
(вертикальном или горизонтальном); исключение опасности возникновения
гидравлического удара; возможность изготовления уплотнения золотника из резины
или пластмассы, что снижает усилие, требуемое для герметизации, повышая при
этом коррозионную стойкость уплотнения.
Недостатки вентилей: высокое гидравлическое сопротивление;
невозможность использования для сильно загрязненных сред и сред с высокой
вязкостью; большая строительная длина в сравнении с задвижками; подача среды
только в одном направлении, определенном конструкцией вентиля; большие в
сравнении с другими видами арматуры габаритные размеры и стоимость.
В то же время для управления потоками с высокими рабочими
давлениями, а также низкими или высокими температурами рабочей среды вентили
являются единственным экономически целесообразным видом запорной арматуры.
Многочисленные конструкции вентилей классифицируются по
нескольким признакам. По конструкции корпуса различаются проходные, угловые,
прямоточные и смесительные вентили. По конструкции крышки корпуса - вентили с
крышкой на резьбе и с крышкой на шпильках. По способу уплотнения шпинделя -
сальниковые и сильфонные вентили, по способу присоединения корпуса к
трубопроводу - фланцевые и муфтовые вентили, по конструкции запорного элемента -
тарельчатые и диафрагмовые. По назначению вентили подразделяются на запорные,
запорно-регулирующие и специальные. Регулирующие в свою очередь делятся по
конструкции дроссельных устройств на вентили с профилированными золотниками и
игольчатые.
Конструкция наиболее распространенного проходного вентиля
представлена на рис.2.6 Он состоит из корпуса, в котором смонтирован узел
запорного элемента, верхней крышки с сальниковым устройством и шпинделя.
Внутренние поверхности корпуса и крышки образуют рабочую полость вентиля.
Корпус вентиля представляет собой литую конструкцию, симметричную относительно
продольной плоскости сечения, и имеет два соосных патрубка с резьбой для
присоединения к трубопроводу.
Узел запорного элемента включает клапан и кольцевое седло.
Клапан (золотник) затвора крепится на шпинделе с помощью гайки и шайбы. Вверху
шпинделя расположен маховик. В средней части шпинделя и в крышке корпуса
имеется резьба.
При вращении маховика вправо шпиндель опускается по резьбе
крышки корпуса и клапан закрывает седло. При обратном вращении маховика клапан
поднимается и открывает проход.
Крышка присоединяется к корпусу на резьбе. Шпиндель вентиля
проходит через крышку корпуса, сальниковую втулку и накидную гайку. Во
избежание просачивания среды вдоль шпинделя применяется сальниковая набивка,
уплотняемая при необходимости вращением накидной гайки. Вентиль устанавливается
таким образом, чтобы рабочая среда поступала под клапан; движение среды должно
совпадать с направлением стрелки на корпусе.
Основные параметры вентилей регламентируются ГОСТ 9697-67*.
ГОСТ 5761-74* устанавливает технические требования на изготовление вентилей с
Ру £ 2,5 МПа.
Рис. 2.6 Вентиль проходной: 1 - гайка; 2 - шайба; 3 - седло;
4 - корпус; 5 - крышка корпуса; 6 - шпиндель; 7 - сальниковая набивка; 8 -
втулка сальника; 9 - накидная гайка; 10 - маховичок; 11 - клапан; 12 -
прокладка.
Вентили проходные запорные латунные муфтовые (рис.2.7.),
рассчитанные на Ру = 1 МПа и Ру = 1,6 МПа, по своей конструкции, размерам и
исполнению должны соответствовать ГОСТ 9086-74. Согласно данному стандарту
вентили выпускаются в трех исполнениях: 1,2,3 с уловным проходом Ду = 15.50 мм.
Исполнения 1и 2 полностью идентичны, отличаясь лишь материалом уплотнительной
поверхности запорного элемента в золотнике: для исполнения 1 применяется
резина, для исполнения 2 - специальная масса. Золотник в вентилях исполнения 3,
как и корпус изготовлен из латуни.
Рис. 2.7 Вентиль проходной муфтовый: 1 - корпус; 2 -
золотник; 3 - шпиндель; 4 - крышка; 5 - кольцо подбивочное; 6 - гайка
накидная; 7 - втулка сальника; 8 - маховик; 9 - гайка; 10 - шайба;
11 - набивка сальниковая; 12 - прокладка; 13 - кольцо
уплотнительное: 14 - гайка; 15 - шайба.
Вентили исполнения 1 рассчитаны на Ру=1 МПа и температуру
среды не более 50оС, вентили исполнения 2 и 3 рассчитаны на Ру=1,6
МПа и температуру среды не более соответственно 200оС и 225оС.
Диаметр маховика у вентиля исполнения 3 больше, чем у вентилей исполнения 1 и2.
Пример обозначения вентиля в техдокументации. Вентиль
исполнения 1 на Ду = 32 мм и Ру=1 МПа - 15БЗр на Ру 1 МПа и Ду 32 мм.
Вентиль фланцевый изображен на рис.2.8 Основание плунжера
вентиля имеет уплотнительное кольцо, изготавливаемое из металла, резины или
фторопласта. При вращении маховика против часовой стрелки шпиндель с плунжером
поднимается и открывает затвор для прохода среды. Вентили должны
устанавливаться на трубопроводе так, чтобы поток газа был направлен под тарелку
клапана (плунжера). При подаче газа в обратном направлении увеличивается
гидравлическое сопротивление и для больших типоразмеров открытие вентиля
затрудняется вследствие давления на клапан.
Данный вентиль применяется в системах газоснабжения. Его
обозначение вентиль 15 кч 16 п.
Вентили проходные запорные из серого чугуна изготовляются по
ГОСТ 18722 - 73* четырех видов: муфтовые с крышкой на резьбе или на шпильках и
такие же фланцевые. Все указанные виды вентилей из серого чугуна выпускаются в
различных исполнениях (5 исполнений) в зависимости от материала уплотнения,
применяемого в запорном элементе. Вентили исполнений 1-5 с материалом
уплотнения фторопластом - 4 применяются для рабочей среды воды и пара с температурой
не более 225оС. Вентили исполнений 1-4, в которых материалом
уплотнения является резина кислотощелочестойкая используются только для воды с
температурой не выше 50 оС. Вентили исполнения 1,2 изготавливаются
диаметром Ду = 15-80 мм и имеют муфтовое присоединение к трубопроводу. Вентили
исполнения 3,4 выпускаются диаметром Ду = 25-50 мм, а исполнения 5 Ду = 65-200
мм. Вид присоединения к трубопроводу - фланцевый.
Рис. 2.8 Вентиль 15кч1бп.: 1 - маховик; 2 - резьбовая
стойка; 3 - шпиндель; 4 - откидные болты; 5 - сальник; 6 -
плунжер; 7 - корпус.
Вентили проходные запорные из ковкого чугуна выпускаются трех
видов: муфтовые с крышкой на резьбе по ГОСТ 18161-72*, с Ду=15-50 мм и Ру = 1,6
МПа, фланцевые с крышкой на резьбе по ГОСТ 18162-72*, с Ду=25-50 мм и Ру = 1,6
МПа, с крышкой на шпильках по ГОСТ 18163-72* с Ду=32-80 мм и Ру = 2,5 МПа.
Вентили каждого вида имеют два исполнения. Вентили первых двух видов исполнения
1 в качестве уплотнительной поверхности запорного элемента имеют материалом
резину кислотощелочестойкую средней твердости и применяются для воды
температурой не выше 50оС, в исполнении 2 в качестве материала
уплотнительной поверхности запорного элемента используется фторопласт-4,
область применения - пар с температурой до 225оС. Вентили фланцевые
с крышкой на шпильках исполнения 1 применяются для воды и пара с температурой
225 оС, материал уплотнительной поверхности запорного элемента -
фторопласт - 4; исполнения 2 используются для пара с температурой 300оС,
материал уплотнительной поверхности запорного элемента - коррозионностойкая
сталь.
Краны - это запорные устройства, в которых запорный
элемент (пробка) имеет форму тела вращения с отверстием для пропуска потока и
при перекрытии потока поворачивается вокруг своей оси (рис.2.1в.) Каждый кран
имеет две основные детали: вращающуюся - пробку и неподвижную - корпус.
В зависимости от геометрической формы уплотнительной
поверхности запорного элемента различаются краны конические, цилиндрические и
шаровые, или со сферическим затвором. Кроме того, краны классифицируются по
способу создания удельного давления на уплотнительных поверхностях, по форме
окна прохода пробки, по числу проходов, по наличию или отсутствию сужения
прохода, по типу управления и привода, по материалу уплотнительных
поверхностей.
Для санитарно-технических систем в основном используются
краны с конической пробкой (в газоснабжении и шаровые).
Поверхность уплотнения конических кранов имеет форму конуса.
Конусность пробки (конуса) обычно принимается в зависимости от антифрикционных
свойств применяемых материалов равной 1: 6 или 1: 7. Краны, выполненные из
хорошо притирающихся материалов (чугун, латунь, бронза), имеют конусность 1: 7,
так как в данном случае легче создается необходимое давление на уплотнительной
поверхности и проще получить требуемую герметичность. Конусность 1: 6 принята
для кранов из стали и пластических масс.
В зависимости от способа создания удельного давления между
корпусом и пробкой краны с коническим запорным элементом подразделяются на
натяжные, сальниковые со смазкой и с прижимом пробки.
Натяжные краны различаются только по способу создания
удельного давления между корпусом и пробкой. Наиболее распространены муфтовые
краны с резьбовой затяжкой. Их достоинства: простота конструкции, удобство и
простота регулировки усилия, затяжки.
Отличительная черта сальниковых кранов не наличие сальника
вообще, а то, что требуемые для герметичности удельные давления на конических
уплотнительных поверхностях корпуса и пробки создаются при затяжке сальника.
Усилие затяжки передается на пробку, прижимая ее к седлу. Сальниковые краны со
смазкой используются, когда необходимо уменьшить усилия управления при средних
и больших диаметрах условного прохода, удельные давления на уплотнительных
поверхностях и возможность задирания контактирующих поверхностей, а также
защитить уплотнительные поверхности от коррозии.
Отличие кранов с прижимом пробки от обычных кранов состоит в
том, что перед поворотом пробка отрывается от корпуса, а после поворота
прижимается к нему. Такие краны также носят наименование кран-задвижка. Данное
конструктивное исполнение дает возможность решить сразу несколько задач:
уменьшить крутящий момент, требуемый для поворота пробки; выполнять поворот при
отсутствии контакта пробки с корпусом, что исключает опасность задирания
уплотнительных поверхностей; возможность регулирования в очень широких пределах
усилия прижатия пробки к корпусу и удельные давления на уплотнительных
поверхностях, независимо от затяжки крана.
Конические краны представляют собой проходной кран, который
имеет входной и выходной патрубки на общей оси. В то же время, в отличие от
вентилей и задвижек, они дают возможность легко осуществлять управление
потоками сразу через несколько патрубков, число которых доходит до 6-8.
Наиболее распространены трехходовые краны. Они бывают двух основных типов: с L
и Т - образными проходами в пробке.
Достоинства конических кранов: простота конструкции,
прямоточность, низкое гидравлическое сопротивление, постоянство взаимного
контакта уплотнительных поверхностей.
В последнее время широко используются (особенно за рубежом)
шаровые краны, которые обладая всеми преимуществами конических кранов,
отличаются от них следующими достоинствами: пробка и корпус вследствие
сферической формы, имеют меньшие габаритные размеры и массу, а также большую
прочность и жесткость; при небольшом совпадении радиусов сферы пробки и
уплотнительного кольца теоретический контакт между ними происходит по
окружности вокруг прохода, т.е. даже при точном изготовлении поверхность
контакта уплотнительных поверхностей корпуса и пробки полностью окружает проход
и герметизирует затвор крана; меньшую трудоемкость в изготовлении, что
объясняется отсутствием очень трудоемкой механической обработки и притирки
уплотнительных поверхностей корпуса и пробки; в шаровых кранах с кольцами из
пластмассы вообще отпадает необходимость в притирке уплотнительных
поверхностей, пробку обычно хромируют и полируют.
Все конструктивные разновидности шаровых кранов можно
разделить на два типа: краны с плавающей пробкой и краны с плавающими кольцами.
Строительная длина и основные параметры пробковых кранов
нормируются ГОСТ 14187-69* и ГОСТ 9702-67, а технические требования к ним при
Ру £ 1МПа - ГОСТ 7520-66*.
Краны натяжные (рис.2.9) - простейшие конические краны.
Плотность в данных кранах достигается тщательной притиркой пробки к корпусу и
натяжением ее при помощи гайки. На квадратной головке пробки под ключ имеется
риска, указывающая положение крана (открыт или закрыт). Краны натяжные из
латуни муфтовые изготовляются по ГОСТ 6223-67*.
Рис. 2.9 Кран натяжной муфтовый Рис.2.10. Кран натяжной
пробковый для газопроводов: 1 - корпус; 2 - конусная пробка са - корпус; б -
шайба; в - пробка с резьбой внизу и квадратной головкой вверху; 3 - шайба;
4 - гайка
Краны для газопроводов (рис.2.10) несколько отличаются от
ранее рассмотренных. Выпускаются эти краны по ГОСТ 19612-74 из латуни с
ниппелем (исполнение 1) или без него (исполнения 2 и 3) и по ГОСТ 12154-74 из
чугуна.
По условиям эксплуатации систем газоснабжения пробковый кран,
установленный на газопроводе должен обеспечивать два жестко фиксированных
положения - "открыт" и "закрыт", т.е. поворот пробки на 90о.
Это требование достигается при помощи следующего устройства:
на нижней части корпуса имеется два выступа, а на шайбе имеется язычок.
Хвостовая часть пробки в том месте, где на нее надевается шайба и отверстие в
шайбе выполнено таким образом, что шайба жестко фиксируется на хвосте пробки.
Когда кран собран, то язычок шайбы при повороте пробки упирается в выступы
корпуса, ограничивающие ее вращение. Так как угол раскрытия выступов на корпусе
и угол язычка на шайбе составляют в сумме 90о, то для свободного
поворота пробки также остается угол в 90о. Краны из латуни
выпускаются Ду = 15 и 20 мм трех исполнений. Рабочее давление для исполнений
1,2 составляет Рраб = 0,01 МПа, а для исполнения 3 условное давление
- Ру = 0,1 МПа.
На рис.2.11 представлен пружинный муфтовый кран для
газопроводов 11Б12бк. В этом кране давление между корпусом 1 и пробкой 3
создается пружиной 5, расположенной в его верхней части между крышкой 4 и
пробкой 3. Крышка крана имеет резьбу и ввертывается в тело корпуса с помощью
отвертки, вставляемой в прорезь (шлиц). На теле корпуса отлиты упоры,
ограничивающие поворот пробки ручкой на 90о. Пространство между
крышкой и пробкой заполняется смазкой. Для смазки уплотнительных поверхностей
крана без разборки достаточно нажать на ручку - пробка прижмется к крышке, и
смазка поступит в образовавшийся зазор, покрывая уплотнительные поверхности.
Выпускают краны по ГОСТ 16155-70 на давление Рраб =0,01МПа диаметром
Ду = 15 мм и Ду = 20 мм. Краны предназначены для
установки на внутренних газопроводах природного и сжиженного газа с
температурой до 50о.
Сальниковые краны обеспечивают более надежную защиту от
утечки рабочей среды в атмосферу за счет сальника. Их используют при более
высоких параметрах среды. Сальниковые краны находят применение при жидких и
газообразных средах и давлении 0,6-4 МПа. Недостаток данных кранов - наличие
быстроизнашивающегося элемента - мягкой набивки сальника, что влечет
необходимость частого обслуживания крана (подтяжка сальника, смена его
набивки).
Рис. 2.11. Кран пружинный муфтовый 11Б12бк: 1 - корпус; 2
- ручка; 3 - пробка; 4 - крышка; 5 - пружина.
Герметизация запорного элемента и сальникового узла
производится затяжкой накидной гайки сальника. В сальниковых кранах с Ду
³ 32 мм применяют отжимной болт, т.к. при сильной затяжке сальника
пробку трудно повернуть, и для облегчения поворота её надо слегка отжать,
используя для этого болт. Гайка обеспечивает фиксацию отжимного болта в
требуемом для работы крана положении. Отжимной болт используется для отжима
пробки в случае заклинивания или "прикипания", что происходит, когда
кран долго не работает. Кран сальниковый муфтовый латунный на Ру £ 1 Мпа выпускается по
ГОСТ 2704-77 с Ду = 10-50 мм.
Кроме кранов муфтовых по ГОСТ 2704-77 промышленность
выпускает латунные краны с фланцами по ГОСТ 16394-70. Крышка сальника у них
соединяется с корпусом болтами. Изготовляются данные краны диаметром Ду
= 25,40,50,80 мм на Ру £1 МПа для рабочих сред с
температурой до 100 оС.
По ГОСТ 19193-73 выпускаются чугунные сальниковые краны на Ру
= 1 МПа для рабочих сред с температурой до 100 оС; муфтовые Ду =
15-80 мм и фланцевые Ду = 25-100 мм.
В газоснабжении применяется кран шаровой сальниковый муфтовый
11ч 38п1 (рис.2.12.) состоящий из чугунных корпуса и пробки сферической формы с
круглым отверстием диаметром, приблизительно равным внутреннему диаметру
газопровода. Плотность затвора обеспечивается двумя уплотнительными
фторопластовыми кольцами со сферической уплотнительной поверхностью и
резиновыми прокладками. Корпус состоит из двух частей, соединенных болтами.
Кран имеет ручку и ограничитель поворота, характеризуется невысоким
гидравлическим сопротивлением, может устанавливаться в любом рабочем положении.
Рис. 2.12. Кран шаровой сальниковый муфтовый 11ч38п1: 1 -
корпус; 2 - фторопластовое кольцо; 3 - шаровая пробка; 4 - соединительные
болты; 5 - сальниковая набивка; 6 - рукоятка; 7 - сальниковая гайка; 8 -
резиновая прокладка.
Кран шаровой сальниковый муфтовый 11Б24п (рис.2.13) по
конструкции аналогичен крану 11ч38п1, но имеет меньший диаметр проходного
отверстия в сферической пробке по сравнению с условным диаметром.

Рис. 2.13. Кран шаровой сальниковый муфтовый 11 Б24п
Кран с устройством для спуска воды сальниковый муфтовый выпускается
для систем отопления с температурой теплоносителя до 100оС. Их
изготовляют в соответствии с ГОСТ 16549-71 на Ру £ 1 МПА и Ду =
15.50 мм. Данные краны устанавливаются на стояках систем отопления в местах их
подключения к магистрали. Применение этих кранов дает возможность не делать
специальные устройства для выпуска воды из стояка при его отключении. Краны
выпускаются в исполнениях I II. В исполнении I используется трубная
цилиндрическая резьба, а уплотнением служит лён, пропитанный суриком или белилами,
разведенными на натуральной олифе. В исполнении II применяется метрическая
резьба, а в качестве уплотнения используется паронит или другие уплотнительные
материалы.
Пробно-спускные краны являются разновидностью кранов
сальниковых, их используют для контроля уровня воды в резервуарах и котлах для
отбора проб воды. Изготавливаются данные краны из латуни в соответствии с ГОСТ
8730-67* трех типов: с изогнутым спуском, с прямым спуском, с прямым спуском и
ниппелем. Промышленность производит краны на Ру £ 1МПа условным проходом
6,10,15,20 мм. Пробно-спускной кран имеет цапковый конец с трубной резьбой
1/4,3/8,1/2,3/4. Ручки пробно-спускных кранов должны изготовляться из
теплопроводных материалов (дерево, фенопласт). Направление ручки соответствует
направлению прохода в пробке.
Кран фланцевый со смазкой КС (рис.2.14) по конструкции
идентичен обычному сальниковому крану. Новым элементом является система смазки.
На пробку крана действуют большие усилия, прижимающие ее к уплотнительной
поверхности корпуса, вследствие чего при больших давлениях и диаметрах для
управления краном необходимы значительные усилия. Данное обстоятельство, а
также стремление защитить уплотнительную поверхность от коррозии обусловливают
необходимость смазки контактирующих поверхностей кранов. Кран называется
самосмазывающийся, что достигается следующим образом: в систему канавок,
расположенных в пробке и в корпусе, при ввертывании болта 1 подается смазка из
верхней полости 2 в полость 5, под нижний торец пробки. Под давлением смазки
пробка немного приподнимается, а образующаяся пленка смазки между пробкой и
корпусом обеспечивает плотность затвора и уменьшает трение при повороте пробки.
Для смазки используется специальная кальциевая паста на касторовом масле.
Уплотнительная мембрана изготовляется из листовой латуни или белой жести.
Рис. 2.14. Кран фланцевый со смазкой КС.: а - с ручным
управлением; б - с червячной передачей; 1 - болт для подачи смазки; 2,5 -
полости для смазки; 3 - уплотнительная мембрана; 4 - корпус; 6 - пробка;
7 - регулировочный винт; 8 - ограничитель поворота; 9 - шариковый
обратный клапан; 10 - рукоятка; 11 - червячная передача; 12 - опорный
шарик; 13 - колпак; 14 - регулировочный болт; 15 - крышка.
Краны КС-80 и КС-100 (рис.2.14а) имеют накидные ключи, с
помощью которых пробка поворачивается на 90о и фиксируется
ограничителем поворота. На выступе пробки нанесена стрелка, а на верхней крышке
корпуса приводятся отметки: 0 (открыто) и З (закрыто). Направление стрелки
относительно букв указывает положение отверстия пробки.
Кран КС-150 (рис.2.14б) имеет червячную передачу, которая
дает возможность поворачивать пробку на 90о. Регулирование зазора
между пробкой и корпусом крана осуществляется при помощи болта 14, который
через мембрану и шарик изменяет положение пробки.
Выпускаются краны на Ру = 0,6 МПа, наиболее широкое
применение находят в системах газоснабжения, в частности на газопроводах
среднего и высокого давления.
Краны газовые лабораторные пробковые выпускаются на Ру = 0,1
МПа и предназначаются для подключения газовых горелок резиновыми шлангами к
газопроводу. Корпус крана изготавливается из алюминиевого сплава, пробка - из
латуни. Направление ручки соответствует направлению прохода в пробке.
Выпускаются данные краны двух типов:- однорожковый, П - двухрожковый.
Кран трехходовой муфтовый с фланцем (рис.2.15) используется
для отсоединения манометра и при необходимости его замены, продувки сильфонной
трубки, при помощи которой манометр присоединен к котлу, трубопроводу или
другому устройству, и переключения давления на контрольный манометр,
присоединяемый во время проверки к фланцу 3 для сравнения его показаний с
показаниями рабочего манометра.


Рис. 2.15. Трехходовой кран для манометра: а - кран в
сборе; б - пробка крана; в - положения пробки при работе крана; 1 - корпус; 2
- пробка; 3 - контрольный фланец; 4 - штуцер для присоединения к
сильфонной трубке; 5 - штуцер для ввинчивания манометра; 6 - шайба; 7 - гайка; 8
- сквозной канал; 9 - короткий канал; 10 - Т-образная метка.
В конической пробке трехходового крана просверлены 2 канала:
один сквозной, а второй лишь до центра первого канала. Пробка вставляется в
корпус крана, один конец которого 4 навинчивается на соединительную трубку. В
другой конец 5 ввинчивается манометр. На ручке для вращения крана имеется
Т-образная метка, указывающая положение каналов. Корпус крана и пробка
выполняются из латуни.
2.2.5.2
Особенности применения запорной арматуры в газоснабжении
При проектировании и сооружении систем газоснабжения, а также
при газооборудовании аппаратов и агрегатов на промышленных предприятиях выбор
арматуры производится проектной организацией с учетом как физико-химических
свойств, давления и температуры рабочей среды и окружающего воздуха, так и
требований правил Госнадзорохрантруда, СНиПов, ГОСТов.
Конструкция используемой арматуры и материалы, из которых
изготавливаются ее детали, должны обеспечивать надежную и безопасную
эксплуатацию систем газоснабжения, так как взрыво - и пожароопасность горючих
газов предъявляют к запорной арматуре повышенные требования. Таким образом
арматура, применяемая на газопроводах, должна быть предназначена для газовой
среды. В то же время в системах газоснабжения может использоваться арматура
общего назначения при условии выполнения дополнительных работ по притирке и
испытанию запорного устройства (затвора) на герметичность. При этом
электрооборудование приводов и других элементов трубопроводной арматуры должно
отвечать требованиям взрывобезопасности, изложенным в Правилах устройства
электроустановок (ПУЭ).
К запорной арматуре, устанавливаемой на газопроводах,
предъявляются следующие требования: прочность и герметичность отключения
независимо от направления движения газов согласно требованиям ГОСТ 9544-75*,
что достигается выбором класса герметичности в зависимости от назначения
арматуры (1-й класс - арматура для взрывоопасных и токсичных сред; 2-й класс -
арматура для пожароопасных сред; 3-й класс - арматура для прочих сред);
коррозионная стойкость; взрывобезопасность; надежность работы в эксплуатации и
простота обслуживания; быстрота открывания и закрывания; минимальное
гидравлическое сопротивление проходу газа; возможность регулирования расхода
газа; незначительная строительная длина; невысокая масса и небольшие габаритные
размеры. Необходимая прочность арматуры зависит главным образом от рабочего
давления и температуры.
При выборе материала арматуры в зависимости от условий
применения следует руководствоваться следующими соображениями: серый и ковкий
чугун используется при температуре не ниже - 35оС., при этом
применение серого чугуна ограничивается давлением газа не более 0,6 МПа,
ковкого - 1,6 МПА; углеродистая и легированная сталь используется при
температуре не ниже - 40 оС и давлении газа не более 1,6 МПа; бронза
и латунь применяется при температуре не ниже 35оС., и давлении газа
не выше 1,6 МПа.
При использовании чугунной арматуры особенно важно исключить
условия при которых ее фланцы работали бы на изгиб, т.е. требуется тщательный
монтаж и расположение компенсаторов в нужных местах. Кроме того, Правила
Госнадзорохрантруда ограничивают применение чугунной арматуры во взрывоопасных
условиях.
Не рекомендуется использовать арматуру с бронзовыми
уплотнительными поверхностями (кольцами) при транспортировке газов, содержащих
значительные количества сероводорода, т.к. они негативно воздействуют на бронзу
и другие сплавы. Однако, когда уплотнительные поверхности седла и затвора
проточены на соответствующих деталях из черных металлов (т.е. без вставных
колец из нержавеющей стали и цветных металлов), данные поверхности подвержены
быстрому износу в рабочих условиях и коррозии в процессе складского хранения.
При концентрации сероводорода не более 2 г на 100 м3
газ весьма слабо воздействует на медные сплавы, вследствие чего арматуру для
квартирных газовых приборов выпускают из медных сплавов.
Для ответственной дорогостоящей арматуры рекомендуются
вставные уплотнительные кольца из нержавеющей стали, т.к. нержавеющие стали
стойки в среде газа и обладают большой стойкостью от коррозии при складском
хранении.
Уплотнительные кольца из баббита рекомендуются при
транспортировке горючих газов для арматуры вентильного типа на низкие температуры.
Уплотнительные кольца из резины используются в арматуре
вентильного типа лишь при температурах до 50оС и давлении до 1,0МПа.
Корпус арматуры должен иметь невысокую металлоемкость при
относительно высокой прочности.
С учетом изложенного в газоснабжении рекомендуется
использование следующей запорной арматуры: задвижек клиновых с не выдвижным
шпинделем фланцевых 30ч47бк4 при Ру £ 0,6 МПа, с выдвижным
шпинделем фланцевых 30с41нж, 30с541 нж, 30с941нж при Ру £ 1,6 МПа; задвижек
параллельных с выдвижным шпинделем фланцевых 30ч7бк при Ру £ 0,4 МПа, а также
задвижек 30ч36бк, 30ч536бк, 30ч936бк, 30ч6бк,31с12нж, 30с14нж1,
30с914нж1б,30с64нж, 30с564нж, 30с964нж;
кранов пробковых пружинных муфтовых 11Б12бк при Ру £ 0,01 МПа, натяжных
газовых муфтовых 11ч3бк при Ру £ 0,1 МПа, шаровых сальниковых муфтовых 11ч38п1
при Ру £ 0,6 МПа, 11Б24п при Ру £ 1,0 МПа, пробковых
фланцевых со смазкой КС при Ру £ 0,6 МПа, сальниковых муфтовых со смазкой
11ч6бк11, сальниковых фланцевых 11ч8бк при Ру £ 1,0 МПа, трехходовых
натяжных муфтовых с фланцев для контрольного манометра 14М1 при Ру £ 1,6 МПа, а также кранов
11Б10бк1, 11Б1бк, 11Ббк, 11с20бк, 11с320бк, 11с321бк,11с722бк,11с723бк;
вентилей фланцевых 15кч16п при Ру £ 25 МПа, игольчатых с
внутренней соединительной резьбой на присоединительных концах 15с54бк при Ру £ 160 МПа, игольчатых с
наружной соединительной резьбой 15с54бк при Ру £ 160 МПа, цапковых 15с9бк
при Ру £ 100 МПа, фланцевых 15кч12п,15с12п2,15с18п при Ру £ 25 МПа.
Перед установкой запорной арматуры ее проверяют: реконсервируют
смазку, проверяют сальники и прокладки и испытывают на герметичность согласно
требованиям ГОСТ.
Арматуру общего назначения, устанавливаемую на газопроводах
низкого давления, подвергают следующим испытаниям:
а) краны на прочность и плотность материала деталей водой или
воздухом давлением 0,2 МПа; на герметичность затвора, сальниковых и
прокладочных уплотнений воздухом, давлением, составляющим 1,25 рабочего. Краны,
рассчитанные на рабочее давление не менее 0,04 МПа, испытываются давлением 0,05
МПа;
б) задвижки на прочность и плотность материала водой
давлением 0,2МПа, а также дополнительно на плотность воздухом давлением 0,1
МПа; на герметичность затвора заливкой керосина, причем результаты испытаний
должны соответствовать требованиям для арматуры 1-го класса герметичности.
Арматуру общего назначения, устанавливаемую на газопроводах
среднего и высокого давления. Подвергают следующим испытаниям:
а) краны на прочность и плотность материала водой давлением,
равным 1,5 максимального рабочего, но не менее 0,3 МПа; на герметичность
затвора, прокладочных и сальниковых уплотнений воздухом давлением, равным 1,25
максимального рабочего;
б) задвижки и вентили на прочность и плотность материала
водой давлением, равным 1,5 максимального рабочего, но не менее 0,3 МПа с
дополнительным испытанием на плотность воздухом, с одновременной проверкой
герметичности сальниковых и прокладочных уплотнений; на герметичность затвора
заливкой керосина.
Результаты испытаний должны соответствовать требованиям для
арматуры 1-го класса герметичности.
Испытания арматуры должны проводиться при постоянном
давлении, каждое испытание должно длиться не менее 1 мин. "Потение"
металла, а также пропуск среды через него, сальниковые и прокладочные
уплотнения не допускается.
2.2.5.3
Регулирующая арматура
Назначение регулирующей арматуры - изменение давления или
расхода потока в трубопроводе. В санитарной технике наиболее распространены
редукционные клапаны и регулирующие краны систем водяного отопления.
Редукционный клапан (рис.2.16.) предназначен для понижения
давления пара и поддержания его на определенном уровне.
Пар входит в камеру А, сообщающуюся трубой 7 с цилиндром 9.
Давление пара передается одновременно на золотник 6 и на поршень 3. При
перемещении поршня вниз или вверх золотник соответственно опускается или
поднимается, изменяя количество, а следовательно, и давление пара, который
поступает в камеру Б. Площадь золотникового отверстия равна площади поршня,
вследствие чего изменение давления пара в камере А никак не влияет на степень
открытия золотникового отверстия. При повышении давления за редуктором в камере
Б давление на золотник сверху увеличивается и передается через поршень на
шпиндель 11. Положение шпинделя в траверсе 2 регулируется маховиком 12.
Траверса 1 жестко скреплена болтами 10 с траверсой 5, вследствие чего при
опускании траверсы 1 опускается и траверса 5, что приводит к сжатию пружины 8.
Если давление пара за редуктором снижается, пружина
разжимается и поднимаются траверса 5 и золотник 6. В результате этого приток
пара в камеру Б увеличивается и давление за редуктором восстанавливается.
Пружина устанавливается на заданное давление пара в системе отопления вращением
маховика. Для выпуска конденсата в корпусе цилиндра предусмотрена пробка 2.
Диапазон настройки регулируемого давления 0,1-1МПа. В
зависимости от значения регулируемого давления в клапанах применяются две
сменные пружины: на давление до 0,4МПа и до 1 МПа. Корпус клапана выполняется
из чугуна, золотник и некоторые другие детали изготавливаются из бронзы.
Клапаны выпускаются для присоединения на фланцах Ду = 25,50,80,100,125 и 150 мм
на условное давление Ру = 1,6 МПа и температуру рабочей среды до 225 оС.
Рис. 2.16. Редукционный клапан пружинный фланцевый: 1
и 5 - траверсы; 2 - пробка; 3 - поршень; 4 - шток; 6 - золотник;
7 - труба; 8 - пружина; 9 - цилиндр; 10 - болты; 11 - шпиндель; 12 - маховик.
Краны регулирующие для нагревательных приборов систем
водяного отопления предназначены для регулирования теплоотдачи данных приборов
при температуре теплоносителя до 150 оС и условном давлении до 1
МПа. Выпускаются такие краны в соответствии с ГОСТ 10944-75 трех типов: краны
регулирующие двойной регулировки КРД, краны регулирующие проходные КРП и краны
регулирующие трехходовые КРТ. В зависимости от конструкции регулирующего
устройства краны подразделяются на шиберные Ш, вентильные В, пробковые П и
дроссельные Д.
Кран регулирующий двойной регулировки с шиберным регулирующим
устройством КРДШ располагается у отопительных приборов дувухтрубных систем
отопления. Конструкция крана дает возможность производить два вида регулировки
теплоотдачи прибора - монтажную и потребительскую. Монтажная регулировка - это
регулировка, осуществляемая слесарем во время монтажа, при которой
устанавливается максимально допустимый расход поступающего в отопительный
прибор теплоносителя на весь период его эксплуатации. Монтажная регулировка
достигается путем изменения положения втулки в корпусе, прикрывающей на
определенную величину проход в теле крана. После установки втулки в нужное
положение ее жестко фиксируют гайкой. Для установления степени перекрытия
прохода (гидравлического сопротивления крана) на корпусе крана нанесена
градуировка, а на втулке - риска. Потребительской называется регулировка,
осуществляемая при эксплуатации системы отопления, при которой уменьшается или
увеличивается теплоотдача прибора по желанию потребителя. В процессе
регулировки при вращении специальной ручки шибер совершает поступательное
движение, перемещаясь в пазах втулки монтажной регулировки вверх и вниз по
шпинделю. В опущенном положении шибер перекрывает оставленное после монтажной
регулировки отверстие для прохода теплоносителя; и отопительный прибор начинает
остывать, его теплоотдача прекращается.
На входе в кран отверстие в корпусе выполнено не круглым, а
серповидным, что дает возможность выравнивать поток, поступающий в кран.
Кран регулирующий проходной с шиберным регулирующим
устройством КРПШ и такой же кран с ниппельным присоединительным концом
устанавливается у отопительных приборов однотрубных систем отопления. Кран
применяется только для потребительской регулировки. Его конструкция аналогична
крану КРД, но у него отсутствует втулка монтажной регулировки и градуировка на
корпусе крана. Регулировка теплоотдачи прибора производится перемещением
шибера, т.е. большим или меньшим открытием проходного отверстия.
Кран регулирующий проходной с дроссельным регулирующим
устройством КРДП устанавливается у отопительных приборов двухтрубных систем
отопления в случае, если перед прибором необходимо создать значительное
гидравлическое сопротивление. Дроссельное регулирующее устройство состоит из
седла и подвижного клапана, получающего поступательное движение при вращении
шпинделя крана. В зависимости от диаметра отверстия в седле и диаметра клапана
коэффициент гидравлического сопротивления данного крана составляет 300-500.
Изготавливаются такие краны на Ду = 15 мм по номерам от 1 до 6. Каждому номеру
соответствует определенный диаметр отверстия в седле и диаметр клапана. В
проектах систем отопления с такими кранами приводятся указания, какой номер
крана следует устанавливать у каждого отопительного прибора.
Кран регулирующий трехходовой с пробковым регулирующим
устройством КРТП используется в однотрубных системах отопления только для
потребительской регулировки. Регулировка производится в пределах от полного
прекращения циркуляции теплоносителя в нагревательном приборе и пропуска всей
воды из стояка по замыкающему участку до пропуска всей воды из стояка через
отопительный прибор. Краны КРТ изготовляются правого, левого и универсального
исполнения. Краны типов КРП и КРД являются универсальными, т.е. могут
устанавливаться и на левой и на правой подводке к отопительному прибору.
Регулирующие краны всех трех типов могут выпускать с
Ду=10,15,20 мм с муфтовыми или ниппельными присоединительными концами. У кранов
типов КРП и КРД с Ду =10мм присоединительные концы со стороны нагревательного
прибора должны быть ниппельными. Присоединительные концы кранов всех трех типов
имеют трубную дюймовую резьбу - 3/8,1/2 и 3/4. Корпуса кранов и детали,
соприкасающиеся с теплоносителем, изготавливаются из латуни, ручки кранов - из
пластмасс.
Все краны должны быть прочными и герметичными, выдерживать
испытательное гидравлическое давление 1,5 МПа. Пропуск воды через корпус крана
и уплотнительные поверхности не допускается. Пропуск воды через запорный
элемент крана при полном его закрытии и при разности давлений до и после него в
1 КПа не должен превышать 0,02 л/мин при Ду = 10 и 15 мм.0,03 л/мин при Ду=20
мм. В собранных кранах необходимо обеспечивать легкость и плавность поворота
регулирующего устройства. Краны должны иметь ограничители крайних положений
регулирующего устройства.
2.2.5.4
Предохранительная арматура
Предохранительным клапаном называется устройство,
обеспечивающее предотвращение аварии оборудования, работающего в условиях
повышенных давлений. При повышении давления в системе сверх допустимого предела
предохранительный клапан автоматически открывается и давление снижается.
Клапаны предохранительные рычажно-грузовые фланцевые
малоподъемные устанавливаются на стационарных паровых и водогрейных котлах,
резервуарах или трубопроводах для воды, пара и других жидких и газообразных
неагрессивных сред. Их выпускают из чугуна или стали двух типов - однорычажные
и двухрычажные, или одинарные и двойные (рис.2.17). Принцип действия клапанов
состоит в следующем. В корпус 8 запрессовано гнездо 7, к которому плотно
притерта тарелка клапана 1, которая прижимается грузом 5 при помощи рычага 3 и
штока 6. Направляющая вилка 2 предотвращает поворот рычага вокруг шарнира либо
перекос его. Чем дальше от центра передвигают груз по рычагу, тем больше должно
быть давление для подъема тарелки клапана. Величина груза отрегулирована таким
образом, чтобы могла поднять эту тарелку и пройти через клапан, как только
давление превысит допустимый предел. Для того, чтобы груз самопроизвольно не
смещался, его закрепляют на рычаге при помощи болта 4.


Рис. 2.17. Клапаны предохранительные рычажно-грузовые: а -
однорычажный; б - двухрычажный
Клапаны чугунные согласно ГОСТ 5335-75 выпускают на Ру = 1,6
МПа и температуру среды до 300оС одинарные Ду = 25,40,50,80 и 100
мм, двойные Ду = 80 (50х2), 125 (80х2) и 150 (100х2) мм (числа в скобках
обозначают условные проходы каждого из двух встроенных клапанов) Для клапанов,
функционирующих при температуре среды до 225 оС, уплотнительная
поверхность запорного элемента изготавливается из бронзы или латуни, а при температуре
среды до 300оС - из чугуна.
Клапаны стальные выпускают на Ру = 2,5МПа и температуру среды
425оС согласно ГОСТ 9132-75 - одинарные Ду - 50,80 и 100 мм, двойные
Ду = 80 (50х2), 125 (80х2) и 150 (100х2). Уплотнительная поверхность запорного
элемента изготовляется из высоколегированных сталей и коррозионностойких
сплавов.
Технические требования к клапанам нормируются стандартом ГОСТ
9131-75. В соответствии с данным стандартом клапаны должны обеспечивать
плавный, без перекосов и заеданий ход рычага и штока. Чугунные корпуса и крышки
окрашиваются в черный цвет, стальные - в серый. Рычаги чугунных клапанов
окрашиваются в красный цвет, а рычаги стальных клапанов, предназначенных для
работы при температуре среды 425оС, отмечают на конце и по периметру
полоской голубого цвета. Каждый клапан испытывается на прочность и плотность
материала, а также на герметичность запорного элемента и работоспособность.
Самопритирающийся безрычажный полноподъемный
предохранительный клапан (рис.2.18) устанавливается на паровых котлах,
работающих под давлением не более 0,07 МПа.
Рис.2.18. Безрычажный самопритирающийся предохранительный
клапан
Большая часть деталей клапана изготовлена из стали, некоторые
из чугуна; клапан прост по конструкции и надежен в эксплуатации. Путем
изменения количества грузов можно отрегулировать клапан таким образом, чтобы от
срабатывал при лбом избыточном давлении до 0,07 МПа.
Клапаны обратные являются самодействующими предохранительными
устройствами для предотвращения обратного тока среды в трубопроводе, например
при внезапной остановке насоса в системе. Основной элемент обратного клапана -
это запорный элемент, пропускающий среду только в одном направлении и
перекрывающий проход в случае ее движения в обратном направлении. Запорные
элементы клапана по конструкции подразделяются на подъемные и поворотные,
откуда происходит и название клапанов - подъемные и поворотные.
Обратный подъемный клапан (рис.2.19) состоит из корпуса 1 с
седлом 2, закрываемым золотником 3. Нижняя поверхность золотника притерта к
седлу, что препятствует протеканию воды. В верхней части золотника находится
шток 4, входящий в гнездо 6 крышки клапана 5. Данное устройство обеспечивает
правильное движение штока при открывании и закрывании клапана.
Обратные клапаны изготавливаются из латуни или чугуна, они
бывают муфтовые и фланцевые.
Клапаны обратные подъемные муфтовые из латуни выпускаются
согласно ГОСТ 12677-75 на Ру=1,6МПа для установки на трубопроводах,
транспортирующих жидкие и газообразные среды температурой до 225оС.
Корпус, крышку и золотник клапана изготавливают из латуни, прокладку под крышку
вырезают из паронита. Выпускаются клапаны Ду= 15, 20, 25, 40, 50 мм. Клапаны
располагаются на горизонтальных участках трубопроводов крышкой вверх с
движением среды под золотник. Если установит клапан в ином положении, он не
сможет работать.
Рис. 2.19. Обратный подъемный клапан
В клапанах необходимо обеспечение перемещения золотника без
заеданий и правильной посадки его на уплотнительную поверхность в корпусе.
Каждый клапан подвергается после изготовления испытаниям на прочность и
плотность материала деталей, работающих под давлением, на герметичность
запорного элемента и прокладочного соединения. При гидравлическом испытании
пропуск воды через запорный элемент клапанов среды не должен превышать 0,001
л/мин.
Клапаны обратные подъемные из серого чугуна изготовляют по
ГОСТ 19500-74 на Ру= 1,6 МПа восьми исполнений в зависимости от типа
присоединения к трубопроводу, способа присоединения крышки клапана к корпусу и
материала уплотнительной поверхности запорного элемента. Клапаны исполнений
1,2,3,4 имеют муфтовое присоединение к трубопроводу и Ду = 15-80 мм, клапаны
исполнений 5,6,7.8 - фланцевое присоединение к трубопроводу и Ду = 25-150 мм.
При этом клапаны исполнений 1,2,5,6 рассчитаны на применение в трубопроводах,
транспортирующих воду температурой не более 50 оС, уплотнительная
поверхность их запорного элемента изготовлена из резины кислотостойкой средней
твердости. Клапаны исполнений 3.4,7,8 используются в системах, транспортирующих
воду или пар температурой не более 225оС, уплотнительная поверхность
их запорного элемента выполнена из фторопласта - 4 или латуни.
Клапаны обратные подъемные из ковкого чугуна выпускаются в
соответствии с ГОСТ 19501-74 на Ру=1,6 и 2,5 МПа пяти исполнений в зависимости
от типа присоединения к трубопроводу, способа крепления крышки клапана к
корпусу и материала уплотнительной поверхности запорного элемента. Клапаны
исполнений 1,2 имеют муфтовое присоеденение к трубопроводу и Ду =15-50 мм,
клапаны исполнений 3,4,5 - фланцевое присоединение к трубопроводу и Ду =32-80
мм. Клапаны исполнения 1 используются в рабочей среде - воде с температурой до
50оС; исполнения 2,4 - для воды и пара с температурой до 225оС;
исполнения 3 - для пара с температурой до 300оС; исполнения 5 - для
жидкого и газообразного аммиака с температурой от - 30оС до + 150оС.
Материал уплотнительной поверхности запорного элемента солледующий: исполнение
1 - резина кислотощелочностойкая средней твердости; исполнения 2,4 - фторопласт
- 4 или латунь; исполнение 3 - коррозионностойкая сталь; исполнение 5 -
фторопласт - 4.
Технические требования к клапанам обратным подъемным муфтовым
и фланцевым из серого и ковкого чугуна регламентируются ГОСТ 11823-74.
Клапаны устанавливаются на трубопроводах крышкой вверх,
подача среды предусматривается под золотник.
Для клапанов с мягким уплотнением запорного элемента пропуск
рабочей среды через него не допускается. Для клапанов с металлическим уплотнением
запорного элемента пропуск среды через него не должен превышать:
Ду, мм £ 50 80 - 100 150
Допустимый пропуск, л/мин 0,001 0,002 0,003
Клапаны приемные (рис.2.20) также относятся к подъемным
клапанам. Они располагаются на конце всасывающего вертикального трубопровода
насосов, перекрывающих воду, нефть и другие жидкие неагрессивные среды с
температурой до 50 оС, для предотвращения обратного тока жидкости, а
также для предварительной заливки жидкой средой всасывающего трубопровода перед
началом работы насоса. Принцип действия клапана следующий. При работе насоса в
камере клапана над захлопкой создается разрежение, и находящаяся под захлопкой
жидкость, на которую действует атмосферное давление, поднимается и начинает
поступать во всасывающий трубопровод. Крестовина 8 своими выступами
предотвращает полный выход захлопки из гнезда, а своими боковыми частями при
выключении насоса обеспечивает обязательный возврат захлопки на сове место,
причем достигается ее вертикальное перемещение в гнезде без перекосов. Клапаны
устанавливаются на конце всасывающей трубы сеткой вниз. Сетка 9 предохраняет
клапан от засора.
Корпус клапана и захлопка изготавливается из серого чугуна,
сетка - из стали, уплотнительное кольцо - из резины.
Клапаны приемные выпускаются на Ру = - ,25 МПа в соответствии
с ГОСТ 10371-71, который предполагает присоединение их к трубопроводу при
помощи фланца.
Рис. 2.20. Клапан обратный приемный: I - болт
крепления сетки; 2 - корпус; 3 - гайка; 4 - шайба пружинная; 5 - захлопка; 6
- уплотнительное кольцо; 7 - шпилька; 8 - крестовина; 9 - сетка
Клапаны рассчитаны на Ду = 50,80,100,150, 200,250,300,400,500
мм. Клапаны на Ду = 50-200 мм имеют одну захлопку, наДу =250 и 300 мм - две
захлопки, а на Ду = 400 и 500 мм - 4 захлопки.
Клапаны обратные поворотные однодисковые чугунные с фланцевым
присоединением к трубопроводу (рис.2.21) применяются для воды и пара на Ру = 1
и 1,6 МПа и выпускаются согласно ГОСТ 19827 - 74 на Ду от 50 до 1000 мм. Во
внутренних санитарно-технических системах используются клапаны Ду= 50-400мм.
Рис. 2.21. Клапан обратный поворотный: 1 - диск; 2 - рычаг; 3
- ось: 4 - крышка; 5 - прокладка; 6 - корпус
Клапан обратный поворотный состоит из корпуса бочкообразной формы,
в который вмонтировано устройство типа захлопки, шарнирно укрепленное в верхней
части корпуса при входе в него. Среда, поступающая во входной патрубок, своим
давлением поднимает захлопку и свободно движется в заданном направлении. Как
только движение среды в заданном направлении прекращается, захлопка под
действием собственного веса опускается и закрывает входной патрубок,
препятствуя противотоку среды.
Уплотнение запорного элемента клапанов изготовляют в
зависимости от рабочей среды: для воды с температурой не более 50оС
применяют резину; для горячей воды и пара с температурой не более 225оС
- латунь.
Для клапанов с уплотнением запорного элемента из резины
пропуск среды через него не допускается. Для клапанов с металлическим
уплотнением запорного элемента пропуск среды через него не должен превышать:
Ду, мм 50 80 и 100 150 200 и 250 300 и 400
Допустимый пропуск, л/мин 0,001 0,004 0,007 0,015 0,025
Клапаны на горизонтальном трубопроводе устанавливаются
крышкой вверх. При установке клапана на вертикальном трубопроводе среда
подается под затвор снизу.
2.2.5.5
Вспомогательная арматура
Конденсатоотводичики предназначены для отвода конденсата из
систем парового отопления, паровых теплообменников и калориферов. Данные
устройства запирают систему отопления и теплообменники, предупреждая утечку
пара в конденсатопровод и атмосферу. Конденсатотводчики повышают эффективность
работы установки, обеспечивая конденсацию пара в системе и теплообменных
аппаратах.
В соответствии с ГОСТ 15112-69 конденсатоотводчики выпускаются
на Ру £ 10 МПа и Ду = 10-80 мм. По принципу действия они подразделяются
на поплавковые, термостатические и термодинамические.
Конденсатоотводчик 45 и 4бр с открытым поплавком чугунный
фланцевый на Ру = 1,6 МПа представлен на рис.2.22а. Принцип его работы состоит
в следующем. Конденсат, собирающийся внутри корпуса 1, переливается через край
открытого поплавка 2, вследствие чего поплавок тонет. Соединенный с ним
шпинделем 3 игольчатый клапан 5 открывает отверстие в крышке
коденсатоотводчика, и конденсат из поплавка по направляющей трубке 4
вытесняется паром через данное отверстие в конденсатопровод, после чего
облегченный поплавок всплывает и игольчатый клапан закрывает отверстие.


Рис. 2.22. Конденсатоотводчик: а - с открытым поплавком; 6
- с опрокинутым поплавком; в - термостатический; г - термодинамический.
В процессе эксплуатации автоматического конденсатоотводчика
необходимо следить за тем, чтобы его обратный клапан 6 не пропускал пар, т.к.
это приводит к значительным потерям тепла.
Для проверки работы конденсатоотводчика периодически
открывается кран 7 для спуска конденсата и продувки. Кроме того проверка
правильности работы конденсатоотводчика может быть произведена на слух - при
нормальной работе внутри слышится шум, в случае засорения клапанного отверстия
накипью или окалиной, а также при заедании подвижных частей шум снижается или
полностью прекращается. Правильность работы может быть также проверена по
нагреву дренажной трубы: если труба горячая, конденсатотводчик функционирует
нормально.
Конденсатоотводчик 45 и 4бр промышленностью производится 6
номеров: № 0 на Ду = 20 мм, № 1 на Ду = 25 мм, № 2 на Ду = 32 мм, № 3 на Ду =
40 мм, № 4 на Ду = 50 мм, № 5 на Ду = 80 мм.
Корпус и крышка конденсатоотводчика выполняются из чугуна,
поплавок и клапаны из латуни или бронзы.
Конденсатоотводчик 45ч9нж с опрокинутым поплавком чугунный
муфтовый на Ру = 1,6 Мпа (рис.2.22б) функционирует следующим образом. Конденсат
поступает под опрокинутый поплавок 1, который заполняется им и вследствие
собственного веса перемещается вниз. Одновременно связанный с поплавком рычаг 2
передвигается и отводит клапан 3 от седла 4. В результате конденсат,
собравшийся в конденсатоотводчике, начинает поступать через проходное отверстие
5 в конденсатопровод. Попадающий в конденсатоотводчик пар вытесняет воду из
поплавка, который вновь поднимается; отверстие 5 перекрывается клапаном,
создающим препятствие для пара. Пробка 6 в крышке корпуса используется для
заливки конденсатоотводчика водой при первом спуске. Пробка 7 в нижней части
корпуса применяется для слива конденсата при длительном прекращении работы
системы.
Конденсатотводчик 45ч9нж производится пяти присоединительных
размеров Ду 20,25,32,40, 50 мм.
Конденсатоотводчик термостатический 45кч6бр с муфтовым и
цапковым присоединением на Ру = 0,6 МПа и Ру =1 МПа (рис.2.22в) состоит из
корпуса 1 с входным ниппелем 4, снабженным соединительной гайкой 5 и с выходным
штуцером 8. В нижней части корпуса расположено седло 7, закрываемое золотником
6, который присоединяется к сильфону 3, припаянному к крышке 2. Сильфон
представляет собой гофрированную латунную трубку, заполненную небольшим
количеством легкоиспаряющейся жидкости.
При монтаже конденсатоотводчика его соединяют с прибором
ниппелем 4, а с конденсатопроводом выходным штуцером 8.
В процессе подачи горячего конденсата в отводчик сильфон
нагревается вместе с находящейся в нем жидкостью. Образовавшиеся при этом пары
жидкости повышают давление в сильфоне, вследствие чего возрастает его длина и
связанный с ним золотник закрывает седло. При понижении температуры конденсата
на 2-3оС длина сильфона сокращается, за счет чего золотник открывает
отверстие седла и конденсат выходит из прибора в конденсатопровод. Затем в
конденсатоотводчик вновь поступает горячий конденсат, и цикл его работы
повторяется.
Корпус конденсатоотводчика выполняется из ковкого чугуна:
крышка, седло и золотник выполняются из латуни.
Конденсатоотводчик 45кч6бр изготавливается на Ду 10,15, 20,25
мм.
Конденсатоотводчик термодинамический муфтовый из серого
чугуна 45ч12нж на Ру 1,6; 4; 6,4; 10 МПа и температуру среды до 200 оС
(рис.2.22г) имеет корпус 2, диск 3 из нержавеющей стали и крышку 4. При подаче
конденсата через входное отверстие 1 диск приподнимается и конденсат через
кольцевую камеру корпуса проходит к выходному отверстию 7. Скорость поступления
пара выше скорости поступления конденсата, вследствие чего при поступлении
конденсата в конденсатоотводчик под диском образуется разрежение и диск
опускается (за счет давления пара в верхней камере 6 и собственного веса). Диск
3 должен быть пришлифован к торцам седла 8.
Корпус и крышка конденсатоотводчика изготавливаются из серого
чугуна, седло и диск (тарелка) - из нержавеющей стали.
Производятся конденсатоотводчики 45ч12нж на Ду 15,25,32,40 и
50 мм.
Воздухоотводчиком называется устройство для автоматического
удаления воздуха из систем водяного отопления, воздуховодов и прочих сетевых
устройств, транспортирующих воду, имеющую температуру не выше 95 оС.
Наиболее широко распространены воздухоотводчики конструкции
ВНИИГС и ВНИИСТО, изображенные на рис.2.23.
На рис.2.23а представлен автоматический воздухооотводчик
ВНИИГС, состоящий из чугунного цилиндрического корпуса 1, в днище которого
расположен прилив 11, имеющий трубную резьбу. Верхняя часть корпуса оборудована
фланцем 9, к которому болтами 2 прикрепляется стальная крышка 8 с
клапаном-затвором 6 для удаления воздуха, упорами 3 и защитным устройством 4
для предотвращения засорения и механического повреждения клапана. Защитное
устройство пломбируется пломбой 5. Внутри корпуса располагается груз,
подвешенный на крюке 7 тяги клапана. Груз представляет собой пустотелый
герметичный цилиндр из нержавеющей стали. Клапан-затвор состоит из корпуса 12,
седла 13, золотника 14, пружины 15 и тяги 16, заканчивающейся крюком 7. Корпус
клапана приваривается к стальной крышке воздухоотводчика.
Клапан-затвор


Рис. 2.23. Воздухоотводчики: а - конструкции ВНИИГС; б
- конструкции ВНИИСТО.
Основными деталями, в автоматическом режиме удаляющими воздух
из воздухоотводчика, являются груз 10 и пружина 15. Для того чтобы
клапан-затвор открылся, к тяге должно быть приложено усилие, превосходящее силу
сопротивления пружины. Вследствие накопления в корпусе воздухооотводчика
достаточного количества воздуха груз опускается и сжимает пружину. В результате
клапан открывается, воздух выходит наружу, а воздухоотводчик заполняется водой.
Когда вес груза, погружающегося в воду, окажется меньше силы сопротивления
пружины 15, она поднимет груз и вместе с ним золотник клапана-затвора -
сообщение пространства внутри воздухоотводчика с атмосферой прекратится.
Воздухоотводчики автоматические ВНИИСТО (рис.2.23б)
производятся на Ру = 0,5 МПа и Ру = 1,6 МПа; конструктивно они идентичны,
однако обладают разными габаритными и присоединительными размерами.
Воздухоотводчик ВНИИСТО имеет корпус 11 и крышку 7, которые соединяются на
болтах. Корпус и крышка данного воздухоотводчика изготавливается из серого
чугуна, а остальные детали - из латуни. Все основные детали прикрепляются к
крышке. Крышка имеет отверстие, в которое вмонтировано клапанное устройство,
состоящее из клапана 6 с прижатым к нему седлом 5. Клапан 6, рычаг 1 и поплавок
10 соединяются между собой и совместной работой позволяют автоматически
отводить воздух из системы водяного отопления. По мере накопления воздуха в
камере воздухоотводчика уровень воды в ней понижается, за счет чего опускается
поплавок, жестко зафиксированный с рычагом 1. Происходит поворот рычага в оси
9, укрепленной в шайбе с проушинами 8, и рычаг также перемещается вниз, увлекая
за собой клапан 6. Клапан опускается и открывает выход воздуху через каналы 2 и
3. После выпуска воздуха камера воздухоотводчика вновь заполняется водой,
поплавок всплывает и приводит в движение рычаг и клапан, который плотно
закрывает выходное отверстие в седле 5. Вверху клапанного устройства
расположена пробка 4 для прочистки, регулировки и контроля работы клапана.
Наряду с автоматическими воздухоотводчиками для удаления
воздуха из систем водяного отопления используются краны конструкции Н.Б.
Маевского. Данные краны предназначены для отвода воздуха непосредственно из
отопительных приборов, располагается кран в верхней пробке отопительного
прибора. При вывертывании конусной части иглы из тела корпуса открывается
отверстие, соединяющее пространство внутри отопительного прибора с атмосферой,
и воздух через боковое отверстие в корпусе выходит в атмосферу. После выпуска
воздуха иглу за счет поворота возвращают в исходное положение и она перекрывает
входное отверстие. Благодаря конструкции резьбы и большому числу ниток в ней
обеспечивается необходимая плотность, которая не позволяет проникать воде через
резьбу в корпусе крана.
Воздухоуказатель применяется для наблюдения за уровнем воды в
котле. Его принцип действия базируется на законе сообщающихся сосудов. На
паровых котлах с давлением пара до 0,07 МПа применяются, как правило, воздухоуказатели
с цилиндрическим стеклом. Водоуказатель оборудуется тремя кранами, из которых
верхний соединяет его с паровым пространством котла, нижний - с водяным
пространством, а третий располагаемый в самой нижней точке водоуказателя,
служит для его продувки. Между кранами и размещается стекло, сквозь которое
можно наблюдать за уровнем воды. В рабочем состоянии водоуказателя паровой и
водяной краны открыты, а продувочный кран закрыт. Цилиндрическое стекло
защищено от повреждений предохранительной гильзой из металла или небьющегося
стекла (гильза не затрудняет проведение наблюдений за уровнем воды).
Запорные устройства указателей уровня воды в котлах
производятся согласно ГОСТ 9652-68*. Для котлов низкого давления запорные
устройства выполняются из латуни с присоединением на фланцах или с помощью цапк
(наружная резьба).
Стекла цилиндрические для указателей уровня должны
соответствовать ГОСТ 8446-74.
2.2.6
Приемка, транспортирование и хранение арматуры
При приемке арматуры осуществляется проверка соответствия ее
данным, приведенным в паспорте или в другом сопроводительном документе. В
случае обнаружения отклонений от паспортных данных или механических повреждений
арматуры следует составить дефектный акт.
При упаковке, транспортировании и хранении задвижек и вентилей
их запорный элемент должен быть закрыт, а все обработанные детали и поверхности
покрыты антикоррозионной смазкой. Если арматура поставляется без упаковки, что
допускается только с согласия потребителя, проходные отверстия и уплотнительные
поверхности фланцев должны закрываться заглушками. Арматура диаметром до 500 мм
поставляется упакованной в тару или контейнеры. При упаковке мелких изделий
масса брутто каждого листа не должна превышать 80 кг. Крупные изделия должны
быть установлены на прочное основание и надежно закреплены. Электроприводы
должны быть сняты и упакованы в ящики. Маховики и редукторы могут быть сняты и
упакованы в те же или отдельные ящики.
В процессе упаковки, транспортирования и хранения кранов их
пробки должны быть открыты, а присоединительные концы (при поставке тары с
согласия потребителя) должны закрываться заглушками. Остальные требования
аналогичны требованиям для задвижек и вентилей.
Крупная арматура хранится в заводской таре в закрытых
складах, укомплектованной приводами и подобранной по типоразмерам. Мелкая
арматура хранится на стеллажах в закрытых складах также рассортированной по
типоразмерам. Периодически необходимо проверять наличие заглушек на открытых
концах и состояние смазки.
Рычажные предохранительные клапаны необходимо хранить в
условиях, гарантирующих их от повреждений. Обработанные поверхности деталей
следует смазывать антикоррозионным составом. Грузы должны быть сняты с рычагов,
проходные отверстия закрыты заглушками, рычаги и золотники неподвижно
закреплены распорками в закрытом положении.
Наряду с маркировкой изделий, на каждую партию арматуры
одного типоразмера выдается документ, в котором указывается завод-изготовитель,
наименование и обозначение изделия и его параметры, материал основных деталей,
число и массу изделий, результаты испытаний, год выпуска, номер стандарта.
Всю арматуру следует транспортировать в заводской таре до
места ревизии или монтаж с соблюдением всех требований по сохранности изделия,
отдельных его узлов, уплотнительных и присоединительных поверхностей. На месте
ревизии и монтажа все данные требования также должны соблюдаться.
3.
Вспомогательные материалы
3.1
Прокладочные и уплотнительные материалы
Прокладочные и уплотнительные материалы применяются для
герметизации фланцевых, раструбных и иных соединений санитарно-технических
устройств.
Нити и шнуры асбестовые используются для уплотнения фланцевых
соединений в воздуховодах. Асбестовый шнур применяется для соединения секций
котла на безрезьбовых ниппелях., а также для заполнения щелей между ребрами
секций. Асбестовый шнур, пропитанный антифрикционным составом, используется в
качестве сальниковой набивки. Асбестовые нити и шнуры, пропитанные графитом,
замешанным на натуральной олифе, применяются для уплотнения резьбовых
соединений при температуре теплоносителя более 105оС. Нити
выпускаются диаметром 0,5-2,5 мм, а шнур толщиной 3-25 мм согласно ГОСТ
1779-72.
Картон асбестовый (ГОСТ 2850-75) используется как
прокладочный материал в соединениях аппаратов, приборов и коммуникаций, а также
в качестве огнезащитного, термоизоляционного и электроизоляционного материала.
Выпускается картон а виде листов толщиной 2; 2,5; 3; 3,5; 4; 4,5; 5, 6,8 и 100
мм, размерами 900х900, 800х100, 900 х 1000, 1000 х 1000 и 980 х 740 мм. Картон
толщиной 2-6 мм применяется для уплотнения фланцевых соединений в воздуховодах.
Листы картона должны быть ровными, не иметь трещин, вдавленных мест, а также
посторонних механических включений.
Картон прокладочный и уплотнительные прокладки из него (ГОСТ
9347-74) изготавливаются в листах и рулонах марок А и Б толщиной: марка А
(пропитанный) - 0,3; 0,5; 0,8; 1; 1,5 мм; марка Б (непропитанный) - 0,3; 0,5;
0,8; 1; 1,25; 1,5; 1,75; 2; 2,25; 2,5 мм. Объемная масса картона составляет 0,7
- 0,75 г/см3.
Поверхность картона должна быть ровной, без короблений,
складок, морщин, пузырей, не волокнистых включений и давленных пятен. В
процессе изготовления прокладок картон не должен расслаиваться.
Картон прокладочный используется для прокладок, используемых
для уплотнения фланцевых соединений трубопроводов с температурой воды до 100 оС.
Перед установкой картонные прокладки следует смочить в воде и проварить в
натуральной олифе.
Резина техническая листовая, используемая для изготовления
прокладок, клапанов, уплотнителей амортизаторов и других деталей, производится
пяти типов: кислотощелочностойкая, теплостойкая, морозостойкая,
маслобензостойкая и пищевая длиной 0,25-10 м, шириной 200-1750 мм и толщиной
0,5-60 мм. Теплостойкая техническая резина сохраняет работоспособность при
эксплуатации в среде воздуха температурой до + 90оС и в среде
водяного пара температурой до + 140 оС. Морозостойкая техническая
резина остается работоспособной в условиях эксплуатации при температуре до - 45
оС. Техническая резина всех типов остается термостойкой при
эксплуатации в пределах температур от - 30 оС до + 50 оС.
Листовая техническая резина толщиной 3-4 мм используется в
качестве уплотнительных прокладок для фланцевых соединений трубопроводов,
транспортирующих холодную воду. Резину с тканевой прокладкой применяют также при
транспортировании горячей воды температурой до 100 оС.
В качестве уплотнения фланцевых соединений вентиляционных
систем широко используется листовая и профилированная резина, а также
эластичные жгуты ПМЖ-1 и ПМЖ-2.
Прокладки из профилированной резины производятся в виде ленты
любой длины, шириной 19 мм и 27 мм, толщиной 2 мм с утолщением по краям
соответственно до 3 мм и 4 мм.
Жгут ПМЖ-1 - полимерный эластичный жгут круглого сечения
диаметром 8-10 мм, для изготовления которого используется полиизобутилен, битум
нефтяной, парафин, асбест и масло нейтральное.
Жгут ПМЖ-2 по химическому составу аналогичен жгуту ПМЖ-1 и
выпускается в виде ленты шириной 20 мм и толщиной 2 мм с утолщением по краям до
4 мм.
Вследствие эластичности жгуты хорошо прилегают к плоскости
фланца. Жгуты перевозятся и хранятся намотанными на катушки и пересыпанными
тальком. Общая масса катушки не должна превышать 20 кг.
Паронит (ГОСТ 481-71) - прокладочный материал, изготовляемый
из асбеста, каучука и наполнителей. Выпускается в виде листов толщиной 0,4;
0,5; 0,8; 1,5; 3; 4; 5 и 6 мм, размерами 300 х 400; 400 х 500; 500 х 500; 750 х
1000; 1000 х 1500; 1500 х 1500; 3000 х 1500 мм.
Листы паронита должны иметь ровную слегка глянцевую
поверхность лицевой стороны; поверхность второй стороны может быть матовой.
Паронит следует хранить в помещении при температуре не более
30 оС на расстоянии не менее 1 м от приборов, излучающих тепло. Его
необходимо защищать от действия прямых солнечных лучей, масел, бензина и других
разрушающих его веществ.
Паронит или паронитовые кольца применяются в качестве
прокладок для фланцевых соединений трубопроводов горячей воды и пара с
температурой теплоносителя выше 100 оС. Перед употреблением
прокладку из паронита необходимо смочить в горячей воде и смазать графитом, замешанным
на натуральной олифе.
Фибра листовая (ГОСТ 14613-69) выпускается нескольких марок.
Фибра марки ФПК (прокладочная кислородостойкая), изготовляемая толщиной от 0,6
до 5 мм, применяется в качестве прокладок для нейтральных газовых сред
(кислорода, углекислота) при высоких давлениях и нормальных температурах. Перед
употреблением фибра должна быть тщательно обезжирена. Фибра марки ФТ
(техническая) используется в качестве уплотнителя в вентилях и кранах систем
горячего водоснабжения.
Кожа техническая используется для изготовления прокладок,
приводных ремней. Лицевая сторона кожи имеет блестящую поверхность, внутренняя
- негладкую и неблестящую поверхность, называемую бахтармой.
Лен трепанный (ГОСТ 10330-76) в виде пряди, пропитанной
суриком или белилами, разведенными на натуральной олифе, применяется в качестве
уплотнителя в резьбовых в соединениях трубопроводов, по которым
транспортируется вода температурой до 105 оС.
ФУМ - фторопластовые уплотнительные материалы, изготовляемые
в виде ленты шириной 10-25 мм и толщиной 0,08-0,12 мм и шнура. Лента
используется для уплотнения резьбовых соединений трубопроводов Ду £ 65 мм, шнур - для
уплотнения контргаек, а также в качестве сальниковой набивки в арматуре
вентильного и кранового типов. Они должны иметь белый или какой-либо другой
светлый цвет. Допускается наличие небольших пятен и отдельных включений.
Поверхность ленты и шнура должна быть равной без разрывов и вздутий.
Изготовляют ФУМ из фторопласта - 4Д (80-83%), смягченного
вазелиновым маслом (17-20%). Фторопласт - 4Д не растворяется ни в одном из
известных растворителей, стоек ко всем щелочам и другим агрессивным средам.
Уплотнение из ФУМа водостойко и выдерживает температуру от - 60оС до
+ 200оС.
Лента и шнур поставляются в бухтах массой 300-600 г,
упакованных в полиэтиленовые мешки, пленки или пропитанную упаковочную бумагу.
Олифа натуральная льняная и конопляная (ГОСТ 7931-76)
используется для приготовления суриковой замазки, разведения грунтовки и
густотертых красок, а также для пропитывания картонных уплотнительных
прокладок.
Вязкость олифы (при 20 оС) должна быть в пределах
26 - 320 по вискозиметру ВЗ-4. После отстаивания в течение 24 ч олифа должна
иметь полную прозрачность, а отстой не должен составлять более 1% по объему.
Время полного высыхания тонкого слоя олифы, нанесенного кистью на пластинку,
при температуре окружающего воздуха 18-22оС и относительной
влажности воздуха 60-70 % не более 24 ч.
Белила свинцовые густотертые (ГОСТ 12287-77) представляют
собой пасту, состоящую из смеси свинцовых белил, тяжелого шпата и олифы или
сырого льняного или подсолнечного масла, и выпускаются трех марок: МА-011, МА -
011 - Н - 1 и МА - 011 - Н - 2. Белила свинцовые, разведенные на натуральной
олифе, могут служить для пропитывания льняной пряди, используемой в качестве
уплотнителя в резьбовых соединениях трубопроводов отопления с температурой
теплоносителя до 105 оС и трубопроводов горячего водоснабжения.
Белила цинковые густотертые (ГОСТ 482-77) представляют собой
пасту из сухих цинковых белил, затертых на натуральной льняной олифе или на
растительных маслах с добавкой сиккатива, выпускаются 7 марок: М-00 спец; М-00;
М-0; В-2-00; В-2-0; В-4-00; В-4-0.
Данные белила предназначены для окраски различных
поверхностей и используются после разведения натуральной или полунатуральной
олифой до малярной консистенции.
Белила цинковые, разведенные натуральной олифой, применяются
для пропитывания льняной пряди, используемой в качестве уплотнителя в резьбовых
соединениях трубопроводов холодной воды.
Сурик свинцовый (ГОСТ 19151-73) - тяжелый порошок яркого
красно-оранжевого цвета, выпускается пяти марок: М-1, М-2, М-3, М-4, М-5.
Сурик, разведенный на натуральной олифе (2 массовых части сурика и 1 массовая
часть олифы), служит для пропитывания льняной пряди, используемой в качестве уплотнителя
в резьбовых соединениях трубопроводов отопления с температурой теплоносителя до
105 оС, трубопроводов горячего водоснабжения и газоснабжения.
3.2
Набивочные материалы
Для обеспечения плотности отдельных узлов запорной арматуры и
различных конструкций используются сальниковые набивки (ГОСТ 5152-77),
рассчитанные на работу в широком диапазоне давлений и температур воды, пара,
газов, горючих и агрессивных сред.
В зависимости от условий работы используются набивки 3-х
видов: плетеные, скатанные и кольцевые.
Плетеные набивки изготавливаются из хлопчатобумажных,
пеньковых, джутовых, льняных, асбестовых шнуров различного плетения - с
сердечником, армированные или неармированные, сухие иди пропитанные
антифрикционным и другими составами (тальк, графит, резина, фторопласт). Они
рассчитаны на максимальную температуру 100 оС - 400 оС,
давление 4,5-20 МПа и на использование в следующих средах: воздух, вода
промышленная и питьевая, растворы солей, водяной пар, инертные пары и газы.
Скатанные набивки изготавливаются путем скатывания шнуров из
хлопчатобумажной, прорезиненной, асбестовой ткани. Они рассчитаны на
максимальную температуру 100 оС - 400оС, давление 10-20
МПа и применение для промышленной воды и перегретого и насыщенного пара.
Кольцевые набивки представляют собой кольца цельноскатанные
или разрезные многослойные фигурного сечения из асбестовой прорезиненной ткани,
вулканизированные и графитизированные. Они рассчитаны на температуру 300 оС,
давление 20 МПа, применяются для воздуха, промышленной воды и пара.
Графит (ГОСТ 4596-75) - кристаллическое вещество
серо-стального цвета, мягкое и жирное на ощупь, производится в виде
токноразмолотого порошка и в виде чешуек. Чешуйчатый графит используется для
пропитки сальниковых набивок и паронитовых прокладок. Графит, замешанный на
натуральной олифе, называется графитовой пастой. Данная паста применяется для
смазки ниппелей и ниппельных гнезд при сборке секционных чугунных котлов.
3.3 Смазочные
материалы, олифы и краски
Смазочные материалы применяются для обеспечения нормальной
работы, снижения трения и предотвращения износа движущихся и вращающихся частей
санитарно-технического оборудования, приборов и арматуры, в частности
самосмазывающейся, а также для временной защиты металлических поверхностей от
коррозии.
Смазочные материалы подразделяются на смазочные масла (жидкие
материалы) и консистентные смазки.
Смазки и смазочные масла выпускаются универсального и
специального назначения, при этом область и условия их применения
регламентируются соответствующими стандартами и техническими условиями.
Масло индустриальное (веретенное) марок 12 и 20 по ГОСТ
20799-75 применяется для смазывания трущихся частей механизмов и смачивания
фильтрующих поверхностей масляных фильтров. Масло компрессорное марки 12 (М) по
ГОСТ 1861-73 применяется для смазывания частей компрессоров и воздуходувок.
Масла висциновое и парфюмерное используются для поглощения пыли в фильтрах
систем вентиляции.
Консистентные смазки (солидолы) представляют собой густую
мазь и применяются в случае невозможности или затруднения подвода жидкой смазки
для смазывания узлов и деталей. Эти смазки подразделяются на три вида:
синтетические (из искусственных жиров), жировые (из натуральных растительных и
животных жиров), эмульсионные (из масел, смешанные с канифолью). Солидолы
используются для смазки шариковых и роликовых подшипников, для защиты от
коррозии и для консервации обработанных металлических поверхностей. Жировой
солидол марки УС по ГОСТ 1033-73 используется для смазки вентиляторов и других
механизмов при температуре не более 60 оС. Графитная смазка БВН-1 по
ГОСТ 5656-60 применяется для смазки сопрягаемых поверхностей стальных труб,
подвергающихся в процессе эксплуатации температурным изменениям. Технический
вазелин и консервационные смазки К-17 используются с целью консервации и защиты
от коррозии металлических поверхностей санитарно-технического оборудования.
Назначение лакокрасочных материалов - защита изделий от
коррозии и придание им декоративного вида.
К лакокрасочным материалам предъявляются следующие требования:
способность прочно удерживаться на поверхности окрашиваемого изделия, наличие
необходимой механической прочности, твердости и эластичности, стойкость по
отношению к воздействию воды, нефтепродуктов, солнечных лучей, сохранение своих
качеств при низких и высоких температурах, водонепроницаемость, способность
быстро высыхать и обеспечивать требуемый цвет.
В зависимости от назначения лакокрасочные материалы
разделяются на три группы: грунтовки, предназначенные для обеспечения прочной
связи между окрашиваемой поверхностью и лакокрасочным покрытием; шпаклевки,
предназначенные для выравнивания окрашиваемой поверхности; краски (лаки,
эмали), предназначенные для образования наружного слоя покрытия.
Грунтовки представляют собой либо специально изготовляемые составы
(суспензии из пигментов, растворителя и наполнителей), либо смесь краски с
олифой. Грунтовка наносится тонким слоем, поэтому ее вязкость (густота) должна
быть значительно ниже вязкости самого покрытия.
Шпаклевки представляют собой густую жидкость или пасту,
являющуюся смесью грунтовки, растворителя, пигмента и заполнителя (мел, гипс,
каолин).
Краски подразделяются на масляные краски, лаки и эмали.
Масляные краски представляют собой пасту, состоящую из
красителя, небольшого количества растворителя и специальных примесей. Перед
употреблением масляные краски необходимо разводить олифой или растворителем.
Лаки представляют собой раствор смолы в масле или легко испаряющемся
растворителе с добавлением специальных примесей. Эмали - это тонко растертые
красители, разведенные на лаке.
Олифа оксоль (ГОСТ 190-68) - заменитель натуральной олифы,
изготовленной уплотнением льняного масла с продуванием его воздухом в
присутствии сиккатива и последующим добавлением растворителя (уайт спирита).
Применяется для разведения густотертых красок.
Грунтовка ГС-2020 (ГОСТ 4056-63*) представляет собой
суспензию пигментов (сурика железного и цинковых белил) и наполнителя (талька)
во фталиевом лаке с добавлением растворителей, сиккатива и стабилизатора.
Используется для грунтования металлических поверхностей. Пленка грунтовки
устойчива к изменению температур от - 40 оС до + 60 оС.
Время высыхания при температуре 100-110 оС составляет не более 35
минут, при температуре 18-23 оС - не более 48 часов. Наносится
краскораспылителем, кистью, окунанием. С целью получения рабочей вязкости
грунтовку разбавляют сольвентом, ксилолом или смесью одного из указанных
растворителей с уайт-спиритом.
Сурик железный сухой (ГОСТ 8135-74) представляет собой
естественный минеральный пигмент, состоящий в основном из окиси железа. В
зависимости от назначения производится двух марок: А - для изготовления
грунтовок, эмалей и масляных красок; Б - для изготовления клеевых красок,
цветной асбофанеры и асбестотехнических изделий.
Краски масляные цветные густотертые (ГОСТ 8292-75) и
специальные (ГОСТ 18596-73) представляют собой пасту из смеси сухих пигментов и
наполнителя, затертых на натуральной олифе или ее заменителях. Применяются
после разведения олифой до рабочей вязкости для покрытия наружных поверхностей
изделий в целях предохранения их от коррозии и придания им отличительной
окраски. Данные покрытия являются атмосферостойкими. Наносятся
краскораспылителем, кистью, окунанием, струйным обливом или распылением в
электростатическом поле. В последнем случае в краску добавляется уайт-спирит
или скипидар. Сушка краски при температуре 18-22 оС осуществляется в
течение 24 часов, при температуре 100оС - в течение 2 часов.
Лак БТ-577 и краска БТ-177 изготавливается по ГОСТ 5631-70*.
Лак БТ-577, представляющий собой раствор черных смол и растительных масел в
органических летучих растворителях, используется для покрытия металлических
поверхностей, а также при изготовлении краски БТ-177. Последняя является
суспензией алюминиевой пудры в лаке БТ-577.
Приготовляется она непосредственно перед нанесением на
поверхность путем введения 15-20% алюминиевой пудры в лак БТ-577. Краска
предназначена для антикоррозионного и декоративного покрытия металлических
поверхностей, на которые ее наносят при помощи краскораспылителя. Время практического
высыхания при температуре 18-23 оС лака БТ-577 24 часа, краски
БТ-177 - 16 часов, а при температуре 100 оС соответственно не более
20 и 30 мин. Покрытия из лака имеют пониженную атмосферостойкость, однако
стойки к длительному воздействию температуры до 20оС. Введение
алюминиевой пудры повышает атмосферостойкость и теплостойкость покрытия. С
целью улучшения защитных свойств рекомендуется горячая сушка.
Для разбавления олифы используется скипидар, для разбавления
грунтовки и масляных красок - сольвент, уайт-спирит, ксилол.
Для обезжиривания металла перед покрытием лакокрасочным
материалом рекомендуется очищать его уайт-спиритом или смесью едкого натра с
тринатрийфосфатом, жидким стеклом.
Для покрытия воздуховодов систем вентиляции, функционирующих
в агрессивных средах, используются перхлорвиниловые эмали, стойкие к
воздействию паров кислот, щелочей и других агрессивных сред. Марки эмалей
выбираются в зависимости от условий работы воздуховодов.
3.4 Приводные
ремни
Приводные ремни применяются для передачи движения от привода
(электродвигателя) к рабочему механизму (вентилятору, насосу) и изменения числа
оборотов механизма по отношению к приводу.
В зависимости от материала, из которого они изготовлены,
приводные ремни подразделяются на текстильные, кожаные и резинотканевые.
В санитарно-технических устройствах, как правило,
используются резинотканевые клиновые ремни.
Ремни приводные клиновые (ГОСТ 1284-68**) состоят из
кордткани или кордшнура, оберточной ткани и резины, соединенных в одно целое
путем вулканизации. Расчетная длина ремня соответствует длине окружности на
уровне расчетной ширины ремня, измеряемой под натяжением, составляет 400-18000
мм. Клиновые ремни выпускаются в виде колец. В поперечном сечении имеет форму
трапеции.
3.5 Приемка,
транспортирование и хранение вспомогательных материалов
Приемка вспомогательных материалов осуществляется согласно с
правилами, приведенными в соответствующих стандартах на каждый материал, там же
излагаются рекомендации по их хранению и транспортированию.
Материалы для уплотнения резьбовых соединений целесообразно
хранить в мелкотарной расфасовке (0,5-1 кг), а прядь - в специальных
металлических или деревянных коробах. Данные условия обеспечивают сохранность и
качество используемых материалов и надежность соединений. Упаковка,
транспортирование и хранение уплотнительных материалов должны обеспечивать
предотвращение загрязнения и увлажнения всех материалов и замораживания
некоторых материалов (олифы, густотертых наполнителей) сохранность поверхности;
предотвращение загибов, складок и слипания, что обеспечивается промазкой
графитом, листовых материалов и готовых прокладок; предохранение паронита и
резины от воздействия прямых солнечных лучей и теплового излучения отопительных
приборов. При этом не должно происходить скручивание и узлообразование
волокнистых материалов.
Т.к. смазочные материалы, олифа и краски огнеопасны, их
следует хранить в отдельных помещениях, оборудованных средствами пожаротушения.