Привода вагонных генераторов

  • Вид работы:
    Дипломная (ВКР)
  • Предмет:
    Транспорт, грузоперевозки
  • Язык:
    Русский
    ,
    Формат файла:
    MS Word
    841,83 Кб
  • Опубликовано:
    2014-07-30
Вы можете узнать стоимость помощи в написании студенческой работы.
Помощь в написании работы, которую точно примут!

Привода вагонных генераторов

Введение

Ориентиры инновационного развития ОАО "РЖД" предполагают ускоренную модернизацию существующей материально - технической базы железнодорожного транспорта к 2015 году; ликвидация барьерных мест с ограничениями провозных способностей и создание технологических резервов; полная замена подвижного состава и технических средств с истекшими сроками службы на новую технику с высокой производительностью и низкой ремонтоёмкостью; внедрение инновационных технологий в области эксплуатации и ремонта объектов железнодорожного транспорта; увеличение маршрутных скоростей пассажирских поездов на основных направлениях от 12 до 15%; повышение коэффициента эксплуатационной готовности инфраструктуры и подвижного состава до технически обоснованного уровня; снижение уровня отказов технических средств на 20 %.

Система управления безопасности железнодорожных перевозок пассажиров должна учитывать положения закона "О техническом регулировании", особенности реформирования железнодорожного транспорта, а также необходимость обеспечения нормативных значений показателей безопасности перевозок при минимальном объеме затрат.

Основной целью обеспечения безопасности движения поездов является кардинальное сокращение случаев браков и аварий при повышении скоростей движения поездов, пропускных способностей участков и направлений и снижении непроизводительных расходов за счет создания многофункциональной системы управления и обеспечения безопасности движением поездов с использованием новых технических средств и технологий управления, цифровых систем связи и новых методов технической диагностики.

Объектом исследования дипломного проекта является работа участка по ремонту текстропно-редукторно-карданных приводов (ТРКП) подвагонных генераторов пассажирских вагонов.

В дипломном проекте будут приведены назначение и конструкция текстропно-редукторно-карданного привода подвагонных генераторов, характеристика производственного участка вагонного депо по ремонту приводов подвагонных генераторов. Будут представлены требования к приводам генераторов в эксплуатации, на основании которых будет составлена карта эскизов.

Будет рассчитана годовая программа участка по ремонту текстропно-редукторно-карданных приводов. Будет рассчитана списочная численность рабочих участка, на основании этого - составлено штатное расписание и произведен расчет годового фонда заработной платы всех работников участка.

При составлении план по труду будет учтена годовая заработная плата работников с учетом фонда материального поощрения, среднемесячная заработная плата работников участка и производительность труда.

Экономические расчеты по статьям расхода будут сведены в таблицу плана эксплуатационных расходов на участке. После расчетов экономической части дипломного проекта будет рассчитана себестоимость ремонта одного текстропно-редукторно-карданного привода на участке.

В графической части будет представлена схема участка по ремонту ТРКП, карта эскизов дефектации деталей привода генератора и схема стенда гидравлического пресса.

1. Общая часть

1.1 Назначение и конструкция текстропно-редукторно-карданного привода подвагонных генераторов

Генератор с приводом служит источником электроэнергии в вагоне при движении поезда и расположен на тележке тормозного конца вагона.

Характеристика одного из основных узлов электроснабжения вагона - генератора, диапазон его рабочих скоростей определяют схему и исполнение механической части его привода.

Привод предназначен для передачи крутящего момента от торца шейки оси колесной пары якоря генератора. Для увеличения передаточного отношения в клиноременную передачу введен одноступенчатый редуктор, шарнирно подвешенный к раме тележки. Применяются клиновые ремни типа В2360Т, изменены диаметры шкивов. Применение редуктора с передаточным отношением 1:4,1 позволяет включаться генератору при скоростях движения от 37до 42 км/ч. Такой привод называется текстропно-редукторно-карданный привод (ТРКП).

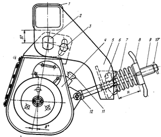
Привод ТРКП (рисунок 1) смонтирован на раме тележки модели 68-876 с котловой стороны кузова вагона. Он состоит из ведущего шкива 9, установленного на торце шейки колесной пары, ведомого шкива 6 с редуктором 5 натяжного приспособления 4, карданного вала 11 и генератора 10, смонтированных на консольной части рамы тележки 1. На ведущий и ведомый шкивы надет комплект кордшнуровых ремней 8.

На случай обрыва узлов крепления генератора, редуктора, карданного вала и предотвращения падения их на путь имеются предохранительные устройства: скобы 3, 2, улавливающая корзинка 12.

Рисунок 1 - Текстропно-редукторно-карданный привод: 1 - рама тележки; 2,3 - скобы; 4 - натяжное приспособление; 5 - редуктор; 6 - ведомый шкив; 7,8 - ремни; 9 - ведущий шкив; 10 - генератор; 11 - карданный вал; 12 - улавливающая корзинка.

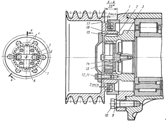
Крепление большого шкива на торце оси колесной пары показано на рисунке 2. В комплект его входят следующие детали: ведущий шкив 16, гайка 3 с внутренними шлицами и шпонкой 2, два зубчатых сегмента 4, крестовина с трапециевидными выступами 8 и 14, два клина 13, вставляемые в паз оси. Клинья 13, крестовина и зубчатые сегменты поджимаются двумя болтами 6. Под болты подкладываются тарельчатые пружины 5. Болты контрятся стопорной планкой 7 с отгибом концов на грань болта. Ведущий шкив 16 крепится на гайке 3 крышкой 15 и шестью болтами 11, которые контрятся пружинными шайбами 12. Болты изготавливаются из стали 40Х.

Рисунок 2 - Ведущий шкив, установленный на торце шейки оси с помощью зубчатых сегментов: 1 - крепительная крышка буксы; 2 - шпонка; 3 - гайка с внутренними шлицами; 4 - зубчатые сегменты; 5 - тарельчатые пружины; 6, 10 - болты; 7 - планка стопорная; 8 - наружный выступ крестовины; 9 - шайба упругая; 11, 12 - болт с шайбой: 13 - клинья; 14 - внутренний выступ крестовины; 15 - крышка; 16 - шкив ведущий; 17 - лабиринтное кольцо крышки

Передача вращающего момента с ведущего шкива на ведомый производится при помощи ремней. Их натяжение от 315 до 330 кг обеспечивается натяжным приспособлением (рисунок 3) и массой редуктора 4, который подвешивается на раме тележки 1 с наклоном 8° в сторону оси колесной пары. Регулировка натяжения осуществляется путем сжатия пружины 7 до высоты от 95 до 105 мм при помощи рычажной гайки 8.В натяжное устройство (рисунок 3) введены вторая пружина 2 и индикаторное устройство 4 для определения ее контакта с рычажной гайкой 3 и опорной шайбой 5, а также установлен ограничитель сжатия первой пружины 1, усилен валик подвески.

Рисунок 3 - Натяжное устройство: 1 - рама тележки; 2 - валик; 3,6 - предохранительные болты; 4 - индикаторное устройство; 5 - опорная шайба; 7 - пружина, 8 - рычажная гайка; 9 - винт, 10 - ограничитель; 11 - масломерная пробка; 12 - зашплинтованный валик

На случай обрыва валика подвески редуктора и предотвращения его падения на путь в кронштейне натяжного устройства (рисунок 4) укреплен предохранительный болт 5, а в щечках прилива редуктора сделаны пазы в виде секторов.

Рисунок 4 - Сечение пружинного механизма натяжного устройства: 1, 2 - пружины; 3 - гайка; 4 - индикаторное устройство; 5 - опорная шайба

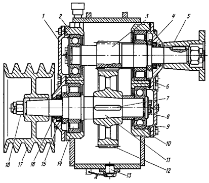
Редуктор (рисунок 5) увеличивает скорость вращения вала генератора в 2,9 раза. Он состоит из пары 12, 3 цилиндрических косозубых шестерен, изготовленных из стали 40Х. Ступица большой шестерни посажена на коническую часть ведущего вала 11 и закреплена шпонкой 7. Вал вращается на цилиндрическом роликовом подшипнике 14 и шариковом 10. Наружные кольца этих подшипников вставлены в корпус редуктора 2 на скользящей посадке и закреплены крышками 1. Внутренние кольца этих подшипников установлены с натягом. Передача вращающего момента производится с большой шестерни 12 на малую 3, изготовленную за одно целое с валом.

Возникающие осевые и радиальные нагрузки на валу малой шестерни передаются двум таким же подшипникам.

Рисунок 5 - Редуктор: 1 - крышка; 2 - корпус редуктора; 3 - малая ведомая шестерня; 4 - гайка со стопной шайбой; 5 - соединительный фланец; 6 - уплотнения; 7 - шпонка; 8 - болт с прижимной шайбой; 9 - маслоотбойное кольцо; 10 - подшипник; 11 - ведущий вал; 12 - ведущая шестерня; 13 - болт маслосливного отверстия; 14 - подшипник; 15 - самоподвижной каркасный сальник; 16 - уплотнение фетровое; 17 - ведомый шкив; 18 - корончатая гайка с шайбой и шплинтом

Слив масла из редуктора производится через сливное отверстие, закрываемое при работе редуктора маслосливной пробкой 13 и уплотнительной прокладкой, изготовленной из меди.

На конусной части выходного вала 3 редуктора при помощи шпонки, корончатой гайки и шайбы крепится соединительный фланец.

Редуктор шарнирно подвешен на валике 3 натяжного приспособления подвески редуктора (рисунок 6). Модернизированный шарнир подвески редуктора упругий, здесь установлены резиновые конические втулки 2, снижающие ускорения генератора и не пропускающие высокочастотные колебания на балку тележки 1.

Рисунок 6 - Подвеска редуктора: 1 - балка тележки; 2 - конические втулки; 3 - валик; 4 - регулировочные шайбы

Положение ведомого шкива, жестко укрепленного на валу редуктора, должно быть строго параллельно ведущему шкиву: допускается смещение боковых граней шкивов друг относительно друга не более 5 мм. Для создания такой точности установки шкивов между втулками подвески, редуктора и втулками приливов кронштейнов устанавливаются регулировочные шайбы 4 в количестве 10 шт. (из них восемь шайб толщиной по 3 мм и две шайбы по 1,4 мм).

Карданный вал (рисунок 7) представляет собой тонкостенную трубу 2. Он снабжен двумя карданными шарнирами "а" и "б". Карданный шарнир состоит из крестовины 11 и двух вилок 8 и 13. В отверстие вилок вставлены игольчатые подшипники, внутрь которых входят цапфы крестовины. Подшипники удерживаются в вилках кольцевыми пружинами 12. Для удержания смазки в игольчатых подшипниках и предотвращения попадания в них грязи, пыли и воды на цапфах крестовины имеются пробковые сальники 10. В центре крестовины имеется клапан, через который при смазке шарниров выходит избыток масла, благодаря чему предотвращается пробивание пробковых сальников.

Рисунок 7 - Карданный вал: а и б - карданные шарниры; 1 - фланец якоря генератора; 2 - тонкостенная труба; 3 - втулка; 4 - сальник; 5 - уплотнение; 6 - шлицевой вал; 7 - чехол; 8, 13 - вилки; 9 - игольчатые подшипники; 10 - сальники; 11 - крестовина; 12 - пружины; 14 - масленки

Тонкостенная труба карданного вала размером 31x2,1 мм изготовлена из ст15 непрерывного волочения. С одного конца труба приварена к вилке карданного шарнира, соединенного с фланцем 1 якоря генератора, а с другого - к шлицевой втулке 3. В шлицевую втулку вставлен полый шлицевой вал 6, изготовленный заодно с вилкой карданного шарнира. Допускаемый перекос карданного вала относительно оси генератора возможен не более 2°.

С целью предохранения шлицевого соединения от загрязнения установлен защитный 7 металлический или резиновый чехол. Внутри полого шлицевого вала и втулки поставлены заглушки. Для удержания смазки в шлицах на конце шлицевой втулки имеется пробковый сальник 4 шлицы защищены от пыли уплотнением 5. Вращение от карданного вала привода передается валу для генератора через фланцевое соединение.

Генератор 8 подвешивается упруго к опорной плите 7 рамы тележки при помощи четырех блоков (рисунок 8).

Рисунок 8 - Узел крепления генератора на раме тележки: 1 - гайка; 2, 3 - тарели; 4 - шайба; 5 - болт; 6 - амортизатор; 7 - опорная плита; 8 - лапа генератора; 9 - шплинт

Такая подвеска снижает ускорения на корпусе генератора и не пропускает высокочастотные колебания на плиту рамы тележки. Блок подвески генератора состоит из амортизаторов 6, зажатых между тарелями 2 и 3. Нижние тарели приварены к плите тележки. Весь блок подвески генератора зажимается болтом 5 через лапу генератора 8 и крепится специальной гайкой 1 с буртом. Гайка стопорится шплинтом 9, а под головку поставлена шайба 4. Сила предварительной затяжки болтов в 2,0 кН обеспечивается за счет сжатия амортизаторов на величину 13,5 мм. Степень затяжки блока подвески генератора контролируется размером от 37,5 до 39 мм между плитой и основанием тарели.

1.2 Требования к приводам генераторов в эксплуатации

Уход за приводом предусматривает периодический контроль за состоянием крепления шкивов и подвески генератора, своевременную смазку трущихся частей, наблюдение за состоянием ремней и их натяжением.

При подготовке вагона в рейс в пункте формирования, оборота или в депо, а также в пути следования поездов производится наружный осмотр привода. Обстукиванием болтов гаек определяют надежность крепления фланцев карданного вала, крышек подшипников валов натяжного устройства, валика и подвески, генератора и предохранительных устройств. Ослабшие болты подтягивают, пружинные шайбы, потерявшие упругость, заменяют. Новые болты и шпильки должны быть изготовлены из стали марки 40Х. Особое внимание обращается на плотность посадки шкивов и надежность их крепления. Наличие люфта ведущего шкива, обнаруженного усилием руки или приспособлением, при ослабленном натяжении ремней, требует монтажа узла для выяснения причин его появления. Ослабшие болты крепления крышки шкива привода ТРКП заворачивают с моментом затяжки от 50 до 60 Н·м, одновременно контролируя, чтобы зазор между торцом шкива и лабиринтом (рисунок 5) был не менее 2 мм. Осмотр подвески генератора начинают с проверки плотности затяжки резинометаллических блоков. Нижний амортизатор и тарель не должны перемещаться от усилия руки. При наличии в резиновых элементах амортизаторов осевых разрывов они заменяются. Зазор между предохранительной скобой и корпусом генератора должен быть от 5 до 10 мм. Отсутствие такого зазора нарушает амортизацию генератора и приводит к разрушению предохранительных скоб.

При осмотре редуктора необходимо очистить сапун от грязи и налипшей смазки, продуть отверстия, смазать через масленки шарнирную подвеску. Проверить уровень масла по рискам щупа в строго вертикальном свободном положении редуктора, т. е. когда натяжение ремней ослаблено. При осмотре карданного вала проверяют наличие люфта во фланцевых соединениях с генератором и редуктором. Люфт устраняют перемонтажом вала.

Появление износа в карданных шарнирах и шлицевом соединении определяется наличием осевого и углового зазоров. При радиальном зазоре шарнира более 1 мм, осевом более 0,5 мм, а также при зазоре между шлицами более 0,5 мм карданный вал необходимо демонтировать и отправить в ремонт. Уменьшить осевой зазор до номинального значения можно, заменив подшипники или путем восстановления изношенных стенок отверстия вилок. При радиальном зазоре в шарнирах крестовины свыше 0,5 мм его уменьшают за счет постановки регулировочных прокладок между наружным дном подшипника и упругим стопорным кольцом. Прокладки ставят толщиной 0,1; 0,2 и 0,3 мм на дно двух подшипников диаметрально расположенных на цапфах крестовины. Указанную регулировку выполняют в том случае, если корпуса подшипников имели ранее плотную посадку в отверстиях вилок.

Проверяется наличие полного комплекта ремней. До прибытия в пункт формирования передача эксплуатируется на трех ремнях. Не допускаются расслоения их с отрывом и разрывы на рабочих поверхностях. Перед установкой на вагон клиновые ремни подбираются по длине в комплекты. Разница по длине не должна превышать: для новых не более 4 мм, а для бывших в употреблении 7,5 мм в одной группе. Новые клиновые ремни перед установкой на вагон предварительно вытягивают, так как нерастянутые будут отличаться неровным ходом и потребуют частого подтягивания натяжного приспособления.

По возможности ремни выдерживают под натяжением в течение суток, однако можно допускать и выдержку в течение нескольких часов.

Перед отправлением вагона в рейс ремни необходимо натянуть.

В приводе ТРКП рычажной гайкой 8 (рисунок 6) следует поджать основную пружину 7 до рабочей высоты от 95 до 105 мм. Момент касания опорной поверхности гайки 3 (рисунок 7) через шайбу 5 опорной поверхности пружины 2 определяется индикаторным устройством. При этом штифт 4 этого устройства будет выступать над поверхностью гайки от 2,5 до 3,5 мм.

Единая техническая ревизия ТО-3 текстропно-редукторно-карданных приводов подвагонных генераторов выполняется через 150 000 километров пробега, но не реже чем через 6 месяцев после постройки или планового ремонта приводов.

С вагонов снимают карданные валы, редукторы, ремни. Большой шкив с узлом крепления его на торце шейки оси снимается. При этом колесная пара выкатывается из-под вагона. Натяжное приспособление привода ТРКП, подвеска генератора и его предохранительные скобы осматриваются на месте.

Редуктор промывается керосином, обтирается насухо. Если при предварительном осмотре дефектов в редукторе не обнаружено, то дальнейшую техническую ревизию производят без разборки.

Проверяется боковой зазор зубчатого зацепления шестерен при жестко зажатом ведомом валу. Линейные перемещения рычага, установленного на ведущем валу на радиусе 93 мм, не должны превышать 0,2 мм. Далее замеряется осевой зазор в подшипниках ведомого (от 0,2 до 0,6 мм) и ведущего (не более 0,3 мм) валов.

Если величина бокового зазора более допустимой, значит более нормы изношены подшипники, зубья шестерни или имеется люфт в шпоночном соединении зубчатого колеса. Износ зуба замеряют штангензубомером на высоте 2,24 мм и по толщине он должен быть не более 1,38 мм (1/3 толщины зуба). Выкрашивание металла на поверхности зуба может быть не более 20 % от общей площади зуба.

В таких случаях производится разборка редуктора с заменой изношенных деталей и последующей обкаткой их на стенде для испытаний. Ревизия ведомого шкива привода состоит в регулировке при помощи шайб 4 (рисунок 9) осевого перемещения узла ведомого шкива в кронштейне подвески и в шарнире подвески редуктора ТРКП, которое должно быть не более 1 мм. Шарнир, подвеска смазываются через масленки при ослабленном натяжении ремней.

Карданный вал проверяется от руки на легкость качания фланца и вилки относительно крестовины, и при исправности через масленки смазываются шлицевое соединение и подшипники крестовины. При отсутствии свободного, без заеданий качания вал разбирается. Ведущий шкив с деталями узла крепления осматривается, неисправные детали заменяются.

2. Технологическая часть

.1 Характеристика производственного участка

В вагонных депо выполняют плановый деповской ремонт вагонов и их узлов.

Участок пассажирского вагонного депо по ремонту редукторно-карданных приводов предназначен для ремонта редукторов от средней части оси, от торца шейки оси.

Участки ремонта редукторно-карданных приводов организуются в вагонных депо, производящих деповской ремонт приводов подвагонных генераторов. Установлено на преддипломной практике, что в деповской ремонт процентном соотношении поступают около 70 % приводов типа ТРКП и около 30 % приводов от средней части оси типа ВБА.

Ремонтный цех размещается вблизи роликового, колесного и тележечного цехов. Рядом с ним должно находиться также отделение по ремонту и испытанию электродвигателей и генераторов пассажирских вагонов. Взаимное расположение цехов должно предусматривать поточного технологических процессов и сокращение пути транспортировки деталей, а оборудование и организация работ в цехах должно обеспечивать полную разборку приводов в депо.

Участок по ремонту приводов состоит из демонтажного, комплектовочного и монтажного отделений.

Производственный участок ремонта приводов можно разбить на следующие рабочие позиции: демонтажа и промывки редуктора, ремонто- комплектовочную со складом отремонтированных и неисправных деталей, монтажа, ремонта карданных валов и муфт; так же имеется путь для производства демонтажных и монтажных работ.

2.2 Технология деповского ремонта ТРКП

При плановых ремонтах вагонов приводы ТРК должны быть демонтированы с вагона, их узлы разобраны, осмотрены и отремонтированы.

Демонтаж приводов начинают разборкой натяжного устройства. Для этого необходимо отвернуть контргайку и рычажную гайку, снять последовательно шайбу, пружины, втулку и опору пружины, а затем отсоединить болт от корпуса редуктора в приводе ТРКП. Для снятия ремней редуктор с ведомым шкивом отклонить в сторону колесной пары и вручную удалить ремни из канавок шкивов. Затем снимают предохранительные скобы карданного вала и предохранительный болт. Далее снимают карданный вал, разбирают его шарниры.

Для снятия редуктора или узла ведомого шкива необходимо вывесить их для разгрузки валика подвески и выбить валик легкими ударами молотка через латунную оправку или выпрессовать, используя съемник. При этом следует сохранить регулировочные шайбы подвески. Для демонтажа ведомого шкива к его ступице крепят съемник, винт которого упирается в торец вала. Наносить удары по боковым граням канавок и закреплять на них съемные устройства не допускается.

Вал узла ведомого шкива выпрессовывают из корпуса ударами молотка через латунную оправку после предварительного снятия подшипниковых крышек и пружинных колец. Для разборки узла ведущего шкива необходимо отвернуть болты крепления крышки и снять крышку. Шкив снимают вывертыванием двух диаметрально расположенных болтов крепления буксовой крышки. Для защиты шкива от деформации между болтами и шкивом установить прокладку толщиной 12 мм. Далее надо отвернуть болты и снять крышку. Затем следует отогнуть стопорную пластину и вывернуть два болта. Для удаления зубчатого сегмента следует ввернуть болты в его резьбовые отверстия до упора и выпрессовать первый сегмент. Второй сегмент снимется свободно. Далее необходимо снять крестовину и клиновые планки. Гайка снимается с использованием рычажного или инерционного ключа. Отворачивать и заворачивать гайку ударами молотка или зубилом по ее граням не разрешается.

Разборку редуктора начинают со слива масла через нижнюю пробку, затем снимают смотровую крышку, сапун, маслоуказатель, подшипниковые крышки и разбирают торцовое крепление подшипников. Валы редукторов выпрессовывают ударами молотка через латунную оправку по торцу вала или легким прессом.

У корпуса редуктора, крышки и маслоотбойных колец не допускаются забоины и заусенцы, которые зачищают шлифовальной шкуркой с маслом. Чтобы избежать перекосов при монтаже валов в корпусе, индикаторным нутрометром в двух взаимно перпендикулярных направлениях проверяют диаметр и овальность посадочных отверстий корпуса. Размеры диаметров отверстий в корпусе должны соответствовать указанным в таблице 1.

Таблица 1 - Размеры диаметров отверстий в корпусе редуктора

Тип редуктора

Место измерения

Диаметр, мм



Номинальный

Допустимый в эксплуатации

Допустимый в ремонте

ТРКП

Отверстие корпуса редуктора:


Для малой шестерни

120,035

120,05

120,3


Для большой шестерни

100,035

100,05

100,3


При несоответствии размеров корпус редуктора ремонтируют наплавкой. Корпуса редукторов, имеющих трещины и отколы, не выходящие на поверхности фланцев, разрешается ремонтировать сваркой. Длина завариваемой трещины может быть не более 50 мм. По концам трещина засверливается диаметром от 3 до 5 мм и разделывается на всю глубину. После сварочных работ корпус нормализуют подогревом. При необходимости резьба в отверстиях для налива и слива масла прогоняется метчиком. Разрешается заварка отверстий с последующей рассверловкой и нарезкой новой резьбы. Маслонакопители, каналы подачи и отвода масла в корпусе очищают и продувают воздухом.

После снятия ремней внимательно проверяют состояние их рабочих поверхностей, которые не должны иметь трещин, складок, тканевых заусенцев и срывов резины. Если выбраковывают хотя бы один ремень, весь комплект следует заменить. Ставить в один комплект ремни, бывшие в употреблении и новые не допускается. Разница по длине ремней в одном комплекте - не более 2 мм. Шкивы с износами канавок протачивают на токарном станке, если оставшаяся толщина обода не менее 6 мм. После разборки детали крепления узла ведущего шкива осмотреть и выявить на рабочих поверхностях гаек, крестовин, зубчатых сегментов и клиновых планок наличие забоин и задиров, которые следует запилить. Гайки и сегменты с трещинами, отколами, вмятинами глубиной более 1,5 мм подлежат замене. Высота резьбовой части гайки должна быть не менее 33 мм. Состояние резьбы гайки проверяют на вытяжку. Для этого пластилином снимают слепок участка резьбы и замеряют профиль резьбовым щупом. При несимметричном расположении резьбового щупа по отношению к профилю слепка гайку следует заменить.

Валы редукторов подвергают магнитопорошковому контролю. Трещины в деталях не допускаются. После заварки трещин валы подвергают динамической балансировке. В подшипниках замеряют радиальные и осевые зазоры, которые не должны превышать соответственно 0,05 и 0,065 мм.

У валов проверяют износ в месте установки уплотнений. Износ по диаметру вала не должен превышать 0,5 мм, а поверхность должна иметь чистоту полирования. Если одновременно разбирают несколько редукторов, не допускается обезличивать зубчатые пары, они должны быть установлены в свой корпус. Тщательно проверяется износ и состояние рабочих поверхностей зубчатых колес. Если на поверхности их зубьев обнаружены трещины, выкрашивание металла на кромках более 20% рабочей поверхности, шестерни заменяют комплектно. Штангензубомером Ш3-18 определяют равномерный износ поверхности зуба, который не должен превышать 20% его первоначальной толщины.

Призматические шпонки должны входить в пазы валов и колес плотно. Размеры отверстий под подшипники в корпусе редуктора и узла ведомого шкива должны соответствовать чертежным. Разбивка и развальцовка отверстий не разрешается. При повреждении в корпусе редуктора резьбовых отверстий для болтов подшипниковых крышек допускается один раз рассверлить и нарезать резьбу до ближайшего большего стандартного размера.

Износ валика в подвеске редуктора и узла ведомого шкива допускается не более 0,6 мм. При большем износе или при обрыве резьбы валика разрешается наплавка поврежденных мест с предварительным подогревом валика до температуры от 250 до 300˚ С.

Износ втулок подвески по диаметру допускается не более 0,3 мм.

Наиболее характерными дефектами карданного вала являются износ или излом подшипников крестовины, износ отверстий под подшипники в вилках, шлицев втулки и наконечника вала, а также люфт в соединении вилок с крестовинами. Игольчатые подшипники после промывки не разбирают, чтобы не выпадали ролики. При осмотре выявляют поломанные ролики проворачиванием подшипника. Микрометров измеряют величину износа стаканов подшипников по наружному диаметру. При поломке хотя бы одного ролика подшипник заменяют полностью, т.к. ролики подобраны между собой с точностью до 0,005 мм. В крестовине карданного вала прочищают каналы для подачи смазки и зачищают заусенцы шкуркой с маслом. При ремонте карданного вала особое внимание следует обратить на состояние подшипников и крестовин. Иголки подшипников должны свободно проворачиваться в наружной обойме и не иметь выкрашивания металла.

Цапфы крестовин должны иметь гладкие поверхности без следов наминов иголками. Отремонтированный карданный вал подвергают динамической балансировке на специальном стенде. Допускаемый дисбаланс не более 0,5 Н•см.

Монтаж узла ведущего шкива приводов ТРКП начинают с установки гайки, резьбовую часть которой покрывают смазкой ЛЗ-ЦНИИ. Гайку следует навернуть с предварительным натягом 150 Н•м без применения ударных нагрузок. Проверка положения гайки и ее окончательная затяжка производятся с применением специального шаблона, укрепленного на торце оси. После предварительной затяжки ось симметрии одного из зубьев гайки должна располагаться на шаблоне между рисками от 13˚ до 19˚. Если положение гайки не соответствует этому требованию, то регулировку производят подбором упорного кольца подшипника или заменой гайки. Применение регулировочных прокладок не допускается, так как это приводит к ослаблению узла крепления шкива. Окончательно затягивают гайку рычажным или инерционным ключом так, чтобы ось симметрии зуба располагалась напротив нулевой риски, что соответствует усилию затяжки от 4 до 6 кН•м.

При переходе оси симметрии контрольного зуба нулевой риски монтаж производится заново. Смазывают и устанавливают клиновые планки прямым углом в паз оси, крестовину и зубчатые сегменты. Наклонные грани сегментов должны прилегать к крестовине. Детали закрепить болтами с тарельчатыми пружинами и стопорной пластиной. Болты следует затягивать поочередно усилием 60 Н•м до полного сжатия тарельчатых пружин. При этом ударами молотка через медную прокладку дважды поджимают крестовину, а затем зубчатые секторы. Для закрепления болтов края пластины отгибают на грани болтов. В буксу закладывают смазку ЛЗ-ЦНИИ, устанавливают крепительную крышку, ставят шпонку, шкив и закрепляют его крышкой с болтами и шайбами.

Плотную посадку шкива обеспечивают ударами молотка через медную прокладку по торцу шкива и окончательно затягивают болты. Зазор между торцом гайки и шкива, а также зазор между торцом лабиринта и шкива должен быть не менее 2 мм. Для проверки качества сборки буксу необходимо провернуть на оси и убедиться в отсутствии заеданий в лабиринтном уплотнении.

Монтаж узла ведомого шкива начинают с напрессовки на вал шарикового подшипника и внутреннего кольца роликового подшипника.

Их необходимо застопорить пружинными кольцами, а затем в корпус запрессовать наружное кольцо цилиндрического подшипника и вал с шариковым подшипником. Подшипники смазать специальной смазкой в количестве 0,55 кг и установить крышки с уплотнениями, закрепив их болтами с пружинными шайбами. На конусные поверхности вала устанавливают ведомый шкив и фланец, закрепив их гайками и шплинтами.

Сборку редуктора начинают с запрессовки в его корпус наружного кольца роликового подшипника, а на ведущий вал - внутреннего кольца. При запрессовке колец следует применять втулочные оправки для защиты посадочных поверхностей от задиров. Далее в корпус редуктора через смотровое окошко вводят ведущую шестерню и напрессовывают её на вал, предварительно надев маслоотбойное кольцо и дистанционную втулку.

Затем на вал и в корпус запрессовывают шариковый подшипник и закрепляют его плоской шайбой и болтами. После установки подшипниковых крышек в корпус редуктора вводят шестерню-вал и собирают его подшипниковые узлы. При сборке редуктора все свободные полости и поверхности смазывают консистентной смазкой.

Далее на корпус редуктора ставят сапун, крышку смотрового окна с резиновой прокладкой, сливную пробку и напрессовывают на конусные поверхности валов ведомый шкив и фланец. В завершение редуктор заправляют маслом типа ТС-10-ОТП в количестве 1,8 л до уровня, который определяют щупом по рискам в вертикальном положении редуктора. Не следует допускать избыток масла, что приводит к его утечкам через уплотнения крышек и сапун.

Шарнир подвески узла ведомого шкива смазывают шприцеванием солидолом до появления смазки между регулировочными шайбами.

На срок службы клиновых ремней в большой степени влияет правильное взаимное расположение шкивов. Отклонение от одноплоскостного расположения шкивов и взаимное смещение их торцов не должно превышать 5 мм.

Регулировку производят постановкой шайб между кронштейном рамы тележки и втулкой, приваренной к корпусу редуктора или корпусу узла ведомого шкива. Осевое перемещение узла ведомого шкива в кронштейне подвески и редуктора ТРКП в шарнире подвески не должно превышать 1 мм.

При сборке шарниров карданного вала на крестовину одевают уплотнения и вводят ее в кардан и фланец, а затем попарно запрессовывают игольчатые подшипники и крепят их крышками. Затем карданный вал собирают по шлицевому соединению. В процессе сборки в игольчатые подшипники крестовин закладывают специальную смазку, а в шлицевое соединение - солидол Ж.

Собранный карданный вал устанавливают между генератором и редуктором или узлом ведомого шкива, крепят болтами с корончатыми гайками и шплинтуют. Под гайки следует устанавливать пружинные шайбы. Зазоры между фланцами соединяемых узлов не допустимы. На редуктор, узел ведомого шкива и карданный вал должны быть установлены предохранительные устройства.

Клиновые ремни устанавливают в последнюю очередь, вручную, без применения каких-либо приспособлений. Регулировку натяжения выполняют поджатием пружины натяжного устройства до рабочей высоты от 95 до 105 мм.

Редукторы до постановки на вагон испытывают на стенде в течение 5 мин в каждую сторону на холостом ходу и по 20 мин под нагрузкой 8,5 кВт при частоте вращения ведущего вала 1380 мин-1. Исправное состояние определяют по отсутствию посторонних шумов и течи масла. Допустимый нагрев корпуса редуктора - не более 70˚ С.

.3 Расчет программы производственного участка

Программа производственного участка по ремонту текстропно-редукторно-карданных приводов подвагонных генераторов определяется из условия, что из поступающих в деповской ремонт пассажирских вагонов около 70 % имеют привод ТРКП. Согласно заданию, годовая программа ремонта депо составляет 1570 пассажирских вагонов.

На ремонтный участок поступают приводы ТРКП, снятые с вагонов, поступивших в деповской ремонт

Nу = Nд Í n , (1)

где Nд - годовая программа депо, вагонов;

n - количество узлов на вагоне, приводов.

Nу = 1570 Í 0,7 = 1099 приводов.

Дополнительно 15 % приводов от годового объема поступают на производственный участок с вагонов, поступивших из текущего отцепочного ремонта

Í 0,15 = 165 приводов.

Тогда полная годовая программа работы производственного участка вагонного депо составит

1099 + 165 = 1264 приводов.

.4 Определение фондов времени работников и оборудования

Режим работы отделения, согласно заданию, двухсменный.

Фонд времени работы оборудования - это количество часов его работы в течение определенного периода (год, квартал, месяц). Различают номинальный и действительный фонд времени работы оборудования.

Номинальный фонд времени работы оборудования определяется по формуле

Fноб = [(Дк - Дп) ´ tс - Д¢п × (tс ¯ t)] ´ mсм , (2)

где Дк - количество календарных дней в году, дней;

Дп - количество праздничных и выходных дней в году, дней;

Д¢п - количество праздничных дней в году с сокращенной продолжительностью рабочий смены, дней;

tс - продолжительность рабочей смены, час;- продолжительность рабочей смены в праздничные дни, час;

mсм - количество смен, штук.

Fноб = [(365-1130)Í8-8Í(8-7)] Í2 = 4016 час.

Действительный фонд времени работы оборудования рассчитывается по формуле

Fgоб = Fноб ´ hоб, (3)

где h - коэффициент, учитывающий остановку оборудования по техническим неисправностям и в ремонте, 0,95.

Fgоб = 4016 Í 0,95 = 3815 час

Фонд времени работы одного работника рассчитывается на основании среднемесячной нормы часов, принятой на железнодорожном транспорте.

Fр = 166,08 Í 12 = 1992 часа

где 166,08 - среднемесячная норма, часов;

- срок работы, месяцев.

.5 Расчет и выбор технологического оборудования

Расчет технологического оборудования ведется из расчета годовой программы ремонта участка и нормы на ремонт одной единицы продукции.

Расчет технологического оборудования ведется по формуле

 (4)

где N - годовая программа работы производственного участка, приводов;

Hоб - норма на ремонт единицы продукции, станкочас;

Fgоб- действительный годовой фонд времени работы оборудования, час;

Коб- коэффициент использования оборудования во времени, 0,8.

Ооб=единиц оборудования

В таблицу 2 сводим выбранное основное оборудование и рассчитываем его общую стоимость и мощность.

Остальное малоценное оборудование принимаю согласно технологического процесса ремонта текстропно-редукторно-карданного привода (ТРКП) подвагонного генератора.

Таблица 2- Основное оборудование участка ремонта ТРКП

Наименование оборудования

Количество, штук

Стоимость, рублей

Мощность, кВт

Дефектоскоп 12 ПШ

1

115000

3,5

Плоскодоводочный станок ПДС

2

320000

1,5

Стенд для испытания редукторов

2

230000

3,5

Стенд для вибродиагностики редукторов

1

122000

2,5

Гидравлический пресс

1

120000

-

Стенд для ремонта редукторов

1

130000

2,5

Приспособление для подборки ремней привода

1

98000

-

Настольно-сверлильный станок

1

380000

2,8

Стенд для балансировки муфт

2

245000

-

Стенд-стеллаж для разборки и сборки карданных валов

1

95000

-

Стенд для балансировки карданных валов

1

132000

-

Итого

14

2782000

21,3


.6 Определение габаритных размеров производственного участка

К размерам участка относятся: длина, ширина, высота, площадь, объем. Размеры определяются с учетом проходов и проездов согласно строительным нормам. Площадь производственного участка принимаю равной 216 м².

В соответствии со строительными нормами принимаю ширину участка 12 м, высоту участка принимаю равной 5,5 м.

Тогда длина производственного участка составит

, (5)

м

Объем производственного участка составит

V = S × h, (6)

V = 216 × 5,5 = 1188 м3

Рассчитанные размеры производственного участка свожу в таблицу 3.

Таблица 3- Параметры производственного участка

S, м²

b, м

L , м

h, м

V, м3

216

12

18

5,5

1188



3. Экономическая часть

Прямые расходы, связанные с производством и реализацией по вагонному хозяйству учитывают заработную плату работников и затраты на запасные части и материалы. Это статьи 6004 и 6607.

К расходам, общим для всех мест возникновения затрат и видов работ относят расходы на дополнительную заработную плату, отчисления на социальные нужды, расходы на охрану труда, технику безопасности, обслуживание производственных зданий и сооружений и прочих расходов. Эти расходы планируются с 6757 по 6765 статьи.

Общехозяйственные расходы, связанные с организацией и управлением производства, учитываются с 6758 по 6833 статьи.

.1 Расчет численности производственных рабочих

Для расчета заработной платы производственных рабочих необходимо рассчитать количество работников производственного участка. Расчет численности производственных рабочих ведется из учета программы ремонта вагонов в депо и трудоемкости ремонтных работ.

Явочная численность рабочих определяется по формуле

Rяв =, (7)

где N - годовая программа ремонта на участке, приводов;

- трудоемкость ремонта одного узла на участке, чел/часов;

Fp - годовой фонд времени работы одного рабочего, час;

- коэффициент выполнения норм выработки, 1,15.

Rяв= человек

Списочная численность рабочих определяется по формуле

Rсп=Rяв´Kз , (8)

где Kз- коэффициент учитывающий отсутствие работников по уважительным причинам, принимается равным от 1,07 до 1,10.

Rсп=9´1,1=10 человек

Численность административно-управленческих работников (АУР) определяется штатным расписанием депо. Для ориентировочных расчетов можно принять численность АУР не более от 4 до 5% от общей численности основных производственных рабочих.

человек

R сп об = Rсп + Rаур , (9)

где Rсп - списочная численность рабочих, человек;

Rаур - административно- управленческих работников, человек.

Rсп об = 10 + 1 = 11 человек

В таблицу 4 свожу контингент работников производственного участка с распределением по профессиям, разрядам и количеству человек.

Таблица 4 - Распределение работников по профессиям

Наименование профессии

Количество работников, чел

Разряд

Мастер

1

10

Бригадир

1

7

Слесарь

4

5

Слесарь

5

4

Итого

11



3.2 Прямые расходы, связанные с производством и реализацией по вагонному хозяйству

Статья 6607 "Деповской ремонт пассажирских вагонов"

Заработная плата основных производственных рабочих. Оплата труда рабочим связана с ремонтом и эксплуатацией вагонов и производится по повремённо-премиальной и сдельно-премиальной системам.

В состав среднемесячной заработной платы входит: тарифная ставка, сдельный приработок (при сдельной оплате труда), премии и доплаты.

По таблице 5 рассчитываем месячную и годовую заработную плату всех работников производственного участка. На основании фонда заработной платы составляем план по труду в таблице 6.

Таблица 6 - План по труду

Наименование измерения

Единица измерения

Величина измерения

Расчет

Годовой фонд заработной платы

рублей

Фз/пл

2455411,38

Контингент

человек

Rсп

11

Фонд материального поощрения

рублей

Фз/пл×10%=ФМП

245541,13

Средняя заработная плата с учетом ФМП

рублей

Фз/пл+ФМП 12×Rсп

20461,76

Средняя заработная плата без учета ФМП

рублей

Ф з/пл 12× Rсп

18601,6

Производительность труда

приводов/ человек

П=

115


Оптовые цены на материалы и запасные части устанавливаются на основании прейскурантов. Затраты на материалы и запасные части, этими документами нормируется для деповского ремонта из расчета на один вагон или группу вагонов; для текущего ремонта на один миллион вагоно-километров.

Зная заданную программу ремонта вагонов можно определить количество и стоимость необходимых материалов и запасных частей.

В таблицу 7 свожу основные материалы и запасные части ТРКП и рассчитываю норму на заданную программу ремонта и общую стоимость материалов.

Таблица 7- Основные запчасти и материалы

Наименование материалов и запчастей

Норма на 1 вагон, штук

Стоимость единицы, рублей

Норма на программу, штук

Общая стоимость, рублей

Ведомый шкив

0,05

639,00

63,25

40416,75

Ведущий шкив

0,01

23,04

12,65

291,45

Карданный вал

0,25

748,00

316,25

236555,00

Вал шестерни

0,02

378,24

25,30

9569,47

Итого




286832,67


Необходимо принять неучтенные материалы, которые принимаются в размере 15 % от их стоимости

рублей

Общая стоимость расходов на материалы и запчасти составляет

,67 + 43024,9 = 329857,57 рублей

Прочие расходы принимаются в размере 9% от заработной платы основных производственных рабочих и составляют

рублей

3.3 Расходы, общие для всех мест возникновения затрат и видов работ

Статья 6757 "Дополнительная заработная плата и отчисления на социальное страхование рабочих"

Эти расходы составляют 7% от фонда заработной платы основных производственных рабочих

рублей

Расходы на оплату прочих невыходов, на работу по уважительным причинам составляют 3% от фонда заработной платы основных производственных рабочих с учетом доплат на отпуск

 рублей

Отчисления на социальное страхование рабочих составляет 5,4% от фонда заработной платы основных производственных рабочих и всех доплат

 рублей

Статья 6759 "Отчисления на социальные нужды производственного персонала". Общая сумма отчислений на социальные нужды составляет 31,1% от годового фонда заработной платы основных производственных рабочих

 рублей

Статья 6758 "Расходы по форменной одежде"

В таблицу 8 свожу данные по форменной одежде с указанием сроков ее ношения и рассчитываю сумму износа.

Таблица 8 - Расходы по форменной одежде

Спецодежда

Количество работников, получающих одежду

Стоимость форменной одежды

Срок ношения, годы

Сумма износа одежды в год, руб



Единицы

Общая



Рукавицы

11

30,65

337,15

0,1

3371,50

Костюм "Механик-Л"

11

1462,00

16082,0

1

16082,0

Ботинки юфтевые

11

2650,00

29150,0

1

29150,0

Итого





48603,5


Статья 6761 "Расходы по технике безопасности и производственной санитарии". По этой статье планируются расходы по содержанию дезинфекционных камер, умывальников, душевых на производстве, сушилок для спецодежды и другого, связанного с охраной труда, оборудования.

Расходы планируются в размере 5% от заработной платы основных производственных рабочих.

рублей

Прочие расходы некапитального характера, связанные с охраной труда, определяются в размере 1% от фонда заработной платы основных производственных рабочих

рублей

Статья 6768 "Обслуживание производственных зданий и сооружений"

Расходы по этой статье состоят из заработной платы подсобных рабочих, затрат на электроэнергию, на освещение, топливо, материалы на содержание зданий и сооружений и прочие расходы.

Стоимость электроэнергии на освещение рассчитывается исходя из площади производственного участка по формуле

Эосв = Сэл ´ Hав ´ К ´ qав ´ S, (10)

где Сэл - стоимость 1 кВт/час электроэнергии, рублей;

Hав - число часов работы осветительных устройств в год при двухсменной работе, часов;

К - коэффициент спроса электроэнергии, 0,8;

Qав - расход электроэнергии на освещение 1 м3 здания, кВт/м2;

S - площадь производственного участка, м2.

Эосв=рублей

Стоимость топлива для отопления помещения рассчитывается по формуле

Эт = , (11)

где Стоп - стоимости 1 тонны пара, рублей; qт - удельный расход тепла на 1 м3 здания, ккал/м3; Hот - число часов отопительного сезона, часов; Vзд - объем здания, м3; i - теплота испарения, ккал/кг.

Эт =  рублей

Расходы на материалы по содержанию зданий и сооружений принимаю в размере 10% от суммы расходов на топливо и электроэнергию на освещение

 рублей

По элементам затрат "Прочие расходы" планируют стоимость воды на бытовые и хозяйственные нужды, учитывая расход на одного рабочего, по формуле

Эвод=, (12)

где Свод - стоимость 1 м3воды , рублей;

Rяв - явочное число рабочих участка, человек;

Т - число рабочих дней в году, день;

q - удельные расходы воды на одного работающего, литр.

Эвод= рублей

Статья 6766 "Ремонт зданий и инвентаря"

Расходы на текущий ремонт зданий принимаются в размере 1,5% от их стоимости, которая определяется по формуле

Сзд = а ´ Vзд , (13)

где а - стоимость 1 м3 здания, рублей;

Сзд = рублей

Тогда расходы составят

рублей

Расходы на текущий ремонт инвентаря принимают в размере 1% от заработной платы основных производственных рабочих

 рублей

Статья 6771 "Амортизация основных производственных средств"

По этой статье учитывают амортизационные отчисления на капитальный ремонт и полное восстановление основных средств, непосредственно участвующих в процессе производства (зданий, оборудования). Годовая сумма амортизационных отчислений на полное восстановление и капитальный ремонт зданий и оборудования определяется

А=, (14)

где Сзд, Соб-балансовая стоимость соответственно здания, оборудования;

Hзд, Hоб-нормы амортизации; соответственно 2,6% и12,5%

А= рублей

Статья 6765 "Содержание и ремонт оборудования"

По этой статье учитывают стоимость силовой электроэнергии для производственных целей, а также расходы на обмывку вагонов и деталей перед постановкой в ремонт. Стоимость силовой электроэнергии определятся по формуле

Эсил.эл´1,2´Ксп.эл´SРуст´Fоб´ hз , (15)

где Сэл - стоимость 1 кВт/час электроэнергии, рублей;

,2 - коэффициент, учитывающий потери электроэнергии в сети;

Ксп.эл. - коэффициент спроса электроэнергии;

уст- суммарная установленная мощность оборудования, кВт;

Fдоб- действительный годовой фонд времени работы оборудования, часов; hз- коэффициент загрузки оборудования.

Эсил =  рублей

Стоимость воды составляют расходы на обмывку вагонов, узлов и деталей. Зная план ремонта вагонов или узлов, сначала подсчитываем расходы технической воды по каждой операции обмывки по норме на одну колесную пару 0,025,на одну тонну в моечной машине от 0,12 до 0,15 м3.

При годовой программе ремонта 1264 привода общий расход воды на обмывку составит 126,4 х 0,12 = 15,2 м3. Полученный результат суммируется, и общая стоимость воды определяется по формуле

эвод = Свод ´ SQвод ´ Ксп ´ 1,1 ´ Fн , (16)

где Свод - стоимость 1 м3 воды, рублей;

SQвод - общий расход воды, м3;

Ксп - коэффициент спроса воды;

,1 - коэффициент, учитывающий утечку воды;

Fн - годовой фонд времени работы насосов, часов.

Эвод=12,8´15,2´0,75´1,1´2000=312840 рублей

.4      Общехозяйственные расходы

Статья 6797 "Изобретательство и рационализация" По этой статье учитываются вознаграждения авторов изобретений и рационализаторских предложений принимаются в размере 1 % от заработной платы общего фонда работников участка.

рубля

Статья 6798 "Подготовка кадров" Расходы по этой статье принимаются в размере 0,1 % от общего фонда заработной платы работников

рублей

Статья 6830 "Затраты аппарата управления"

По этой статье учитывается заработная плата месячная и годовой фонд заработной платы мастера.

Месячная заработная плата мастера составляет 26390 рублей, годовая заработная плата мастера составляет 316680 рублей

Дополнительная заработная плата аппарата составляет 2% от годового

фонда заработной платы мастера.

 рублей

Статья 6831 "Командировки аппарата управления"

Расходы по этой статье учитывают в размере 2,5% от фонда заработной платы мастеров

 рублей

Статья 6833 "Прочие расходы"

Расходы по этой статье принимаются в размере 0,5 % от суммы основных расходов

рублей

3.5    Составление плана эксплуатационных расходов

Все рассчитанные выше затраты на ремонт годовой программы депо сводим в таблицу плана эксплуатации по статьям расходов и соответствующим элементам затрат.

После расчета всех статей они складываются по элементам затрат в строке "всего".

План эксплуатации сводим в таблицу 9.

3.6    Расчет себестоимости ремонта

Плановая себестоимость продукции определяется по формуле

, (17)

где Э - общая сумма расходов производственного участка, рублей;

N - годовая программа производственного участка, приводов.

 рублей

В таблицу 10 свожу калькуляцию себестоимости ремонта узла.

Таблица 10 - Калькуляция себестоимости единицы продукции

Наименование работы

Измеритель

Объём работ

Основные расходы, рублей

Основные расходы общие для всех отраслей хозяйства, рублей

Общехозяйственные расходы, рублей

 Всего, рублей

Себестоимость, рублей

Деповской ремонт пассажир-ских вагонов

ТРКП

1264

2661074,77

1689480,15

371245,5

4612654,74

3735,6


В таблицу 11 свожу технико-экономические показатели работы производственного участка по ремонту текстропно-редукторно-карданных приводов подвагонных генераторов пассажирских вагонов.

Таблица 11 - Технико-экономические показатели работы участка

Вид работ

Измеритель

Объём работ

Число работников списочное, человек

Среднемесячная заработная плата, руб

Годовой фонд заработной платы, руб

Производительность труда, приводов/человек

Себестоимость, руб/привод

Деповской ремонт пассажир-ских вагонов

ТРКП

1264

11

18601,6

2455411,38

115

3735,6



4. Охрана труда и окружающей среды

Организация ремонта вагонов предусматривает применение безопасных приемов работ и соответствующее санитарно гигиеническое содержание рабочих участков для высококачественного выполнения всех технологических операций. Это достигается благодаря внедрению комплексной механизации к автоматизации производственных процессов, применению поточно-конвейерных линий, механизированных приспособлений и инструмента. Все работники участков ремонта вагонов должны твердо знать и соблюдать требования технических документов, регламентирующих условия организации и выполнения ремонтных работ по восстановлению узлов и деталей вагонов: для этого предусмотрены различные виды инструктажа и экзаменов по технике безопасности и санитарии.

Например, вводный инструктаж проводит представитель администрации вагонного депо при приеме на работу, первичный инструктаж дает работнику руководитель участка ремонта (например, тележек) перед началом его работы в качестве ученика. Периодический инструктаж проводится через определенный (смену, месяц, квартал), а внеочередной проводят для всех работников по указанию руководителя предприятия (например, при выявлении нарушений правил охраны труда, при введении нового технологического процесса, оборудования, механизмов и приспособлений). Экзамены для проверки знаний по охране труда и промышленной санитарии проводят в сроки, установленные действующими приказами и инструктажами.

На отдельных ремонтных позициях и рабочих местах вывешивают технологические карты, в которых указаны меры безопасности выполнения работ. Особое внимание уделяют ликвидации и загрязнения и загазованности воздуха местной или общеобменной приточно-вытяжной вентиляцией. Обеспечивают также достаточную освещенность рабочих мест.  При ремонте вагонов запрещается использовать материалы, не соответствующие техническим требованиям государственных стандартов, действующих правил и инструкций по охране труда и промышленной санитарии. В процессе решения отдельных технических вопросов, с регламентированных действующей документацией, начальник депо и приемщик вагонов обязательно должны учитывать условия соблюдения требований охраны труда. При организации рабочего места следует установить оптимальное количество соответствующей технологической оснастки, механизмов и приспособлений, использование которыми не требовало бы излишнего напряжения физических сил рабочих, а также выполнения затруднительных движений. Техническое состояние механизмов и приспособлений должно быть таким, чтобы необходимость применения средств индивидуальной защиты была минимальной.

Похожие работы на - Привода вагонных генераторов

 

Не нашли материал для своей работы?
Поможем написать уникальную работу
Без плагиата!
Без нейросетей!