Автоматизация системы водоснабжения
Липецкий
государственный технический университет
Кафедра
электропривода
ОТЧЕТ
о
производственной практике в ООО «Эрегион Энерго Сервис»
Липецк
2014г.
Введение
Ускорение научно-технического прогресса и
интенсификация производства невозможны без применения средств автоматизации.
Характерной особенностью современного этапа автоматизации состоит в том, что
она опирается на революцию в вычислительной технике, на самое широкое
использование микропроцессорных контроллеров, а также на быстрое развитие
робототехники, гибких производственных систем, интегрированных систем
проектирования и управления.
Применение современных средств и систем
автоматизации позволяет решать следующие задачи:
• вести процесс с производительностью,
максимально достижимой для данных производительных сил, автоматически учитывая
непрерывные изменения технологических параметров, свойств исходных материалов,
изменений в окружающей среде, ошибки операторов;
• управлять процессом, постоянно учитывая
динамику производственного плана для номенклатуры выпускаемой продукции путем
оперативной перестройки режимов технологического оборудования,
перераспределения работ на однотипном оборудовании и т. п.;
• автоматически управлять процессами в
условиях вредных или опасных для человека.
Решение поставленных задач предусматривает целый
комплекс вопросов по проектированию и модернизации существующих и вновь
разрабатываемых систем автоматизации технологических процессов и производств.
В данном отчёте рассматривается автоматизация
системы водоснабжения.
1. Водонапорная
башня системы Рожновского
Водонапорные башни предназначены для
регулирования неравномерности водопотребления, хранения ограниченных резервного
и противопожарного запасов в системах сельскохозяйственного водоснабжения и водоснабжения
небольших предприятий и жилых застроек.
Для эксплуатации водонапорных башен в районах с
расчётной зимней температурой от минус 20 до минус 30°С необходимо обеспечить,
как минимум, двукратный водообмен в сутки.Водонапорные башни предназначены для
эксплуатации при температуре поступающей воды не менее 6°С преимущественно из
буровых скважин.
Водонапорные башни представляют собой сварную
листовую конструкцию, состоящую из цилиндрической обечайки с коническими крышей
и днищем, цилиндрической водозаполняющейся опорой. Опора закрепляется на
монолитном железобетонном фундаменте посредством закладных и соединительных
деталей. Рядом с башней устраивается колодец, обслуживания, служащий для
размещения водопроводной арматуры. Многолетний опыт (с 1954г) эксплуатации
неутеплённых водонапорных башен системы Рожновского с теплоизолирующей ледяной
рубашкой, не требующих сложных, дорогих и неэффективных работ по утеплению,
показал надёжность их круглогодичной эксплуатации при морозах до минус 30°С.
Объём воды, содержащийся в опоре, при
необходимости может использоваться для пожаротушения. На отводящей трубе
предусмотрен отвод с задвижкой и головкой муфтовой для сброса воды при
производстве пробных откачек, а также, при необходимости для непосредственной
подачи воды в передвижные ёмкости.
Для наполнения водонапорной башни служит
подводящая труба, по которой вода от насосной станции поступает в верхнюю часть
опоры башни.
Питание водопроводной сети осуществляется с
помощью отводящей трубы из нижней части опоры.
Рисунок 1 - Система водоснабжения с башней
Рожновского
Недостатки водонапорной башни:
трудности использования в зимний период
(t<0°), особенно возрастающие при уменьшении водопотребления;
достаточно большая поверхность окисления - вода
заполняет водонапорную башню, а затем сливается из нее. При этом смачивается
большая, иногда несколько кв.м., внутренняя поверхность накопительной емкости.
Смоченная водой металлическая поверхность, в присутствии воздуха вызывает
интенсивное появление ржавчины, попадающей в воду, а водонапорные башни в
большинстве своем изготавливаются из черного металла;
ограниченное давление воды на выходе из башни,
определяющееся высотой водонапорной башни.
Принцип работы водонапорной башни:
Погружной насос, опущенный в скважину, подает
воду в водонапорную башню. Когда вода поднимается до верхней отметки в
водонапорной башне, датчик уровня дает команду насосу на отключение. Включением
и отключением насоса занимается простейшая автоматика, размещенная в павильоне.
По мере разбора воды из башни по магистрали, уровень поверхности понижается, и
по достижении нижней отметки, датчик уровня (ДУ) дает команду на включение
насоса. Таким образом, в башне постоянно находится запас воды, определяющийся
объемом башни от нулевой отметки до верхнего уровня.
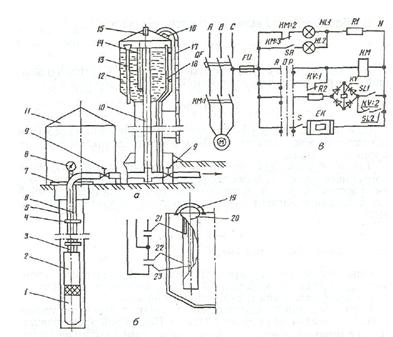
Рисунок 2 - Башенная водонасосная установка с
погружным электродвигателем (а), схема датчика уровня воды (б) и принципиальная
электрическая схема управления (в): 1- погружной электродвигатель; 2 -
многоступенчатый насос; 3 - водоподъемные трубы; 4- хомуты; 5- скважина; 6-
кабель; 7- плита; 8- манометр; 9- задвижки; 10- напорно-разводящий трубопровод;
11 - санитарно-техническое помещение; 12 - бак; 13 - водосливная труба; 14 -
датчик уровня; 15-вентиляционный клапан; 16 - люк; 17 и 18- внешняя и
внутренняя лестницы; 19- скоба; 20 - защитный корпус; 21, 22 и 23-электроды
соответственно верхнего, нижнего и общего уровней
При всей простоте конструкции и широком
распространении башни Рожновского обладают рядом существенных недостатков:
трудности использования в зимний период,
особенно возрастающие при уменьшении водопотребления, отказы датчиков уровня,
протечки;
неисправность датчиков уровня и автоматики
приводит к переливу воды и замерзание ее в зимний период, что является причиной
разрушения конструкции и падения водонапорной башни;
интенсивное появление ржавчины в воде из-за
большой поверхности окисления накопительной емкости башни;
высокая стоимость, сложность ремонта и
восстановления конструкции водонапорной башни, а также ее обслуживания,
устранение течей, чистка, дезинфекция, покраска;
ограниченное и непостоянное давление воды на
выходе из башни, которое определяется её высотой;
работа насоса в импульсном режиме с частыми
включениями и отключениями приводит к ускоренному износу электродвигателя и
самого насоса;
высокая стоимость новой башни, её доставки,
монтажных работ и ввод в эксплуатацию;
основной недостаток изношенных водонапорных башен
Рожновского - их аварийное состояние.
С увеличением новых застроек и подводом
водопровода к домам, появилась проблема нехватки воды из-за отсутствия
постоянного высокого давления в системе. Подключение подачи воды из скважины
напрямую в сеть решало данную проблему. При этом использовалась водонапорная
башня нижнего наполнения, а автоматизация происходила по сигналам
электроконтактного манометра.
Рисунок 3 - Электроконтактный манометр (ЭКМ)
В такой системе можно было установить
минимальное и максимальное давление, при этом в башне также находился
необходимый запас воды. Однако частые включения и выключения двигателя
приводили не только к быстрому износу глубинного насоса, но и разрушению всей
системы из-за постоянных гидроударов.
В системе водоснабжения требовалось найти
решение возникших проблем.
2. Современное решение для
водоснабжения
ООО «РЕГИОН ЭНЕРГО СЕРВИС» (ООО «РЭС») одна из
организаций работающих в Липецкой области с сельскими поселениями в сфере
автоматизации водоснабжения. ООО «РЭС» предлагает альтернативное решение
возникшим проблемам.
Рисунок 4 - Схема перехода на преобразователь
частоты
Водонапорные башни долгое время являлись
основным элементом локального водоснабжения, но на сегодняшний день их
установка экономически нецелесообразна, в то время как применение частотного
преобразователя для управления насосом скважины снижает расходы по
реконструкции башни и имеет ряд неоспоримых технических преимуществ:
• стабильность создаваемого давления за счет
автоматического регулирования производительности насоса в зависимости от
текущего расхода воды;
• исключение громоздкой водонапорной башни: все
необходимое оборудование может быть смонтировано в обычном помещении или специализированном
внешнем контейнере, что резко снижает затраты по доставке оборудования и
монтажу;
• повышенная надежность оборудования,
стабильность работы в зимний период;
• повышение ресурса насоса скважины за счет
плавного регулирования и ряда защит;
• отсутствие периодически смачивающихся участков
водопроводной системы и, соответственно, отсутствие коррозии, и лучшее качество
подаваемой воды;
• возможность интеграции систем учета по
расходуемой воде и потребляемой электроэнергии.
Если в «башенной» системе водоснабжения главным
элементом была башня, обеспечивающая необходимый напор, то в современных
прямоточных «безбашенных» системах главным является преобразователь частоты.
Именно он обеспечивает возможность плавного пуска, останова и регулирования производительности
насоса для поддержания стабильного напора в зависимости от текущего потребления
воды.
3. Существо проекта
Центробежные вентиляторы, насосы и компрессоры
объединяются в один класс нагрузочных механизмов для электропривода, так как их
характеристики с точки зрения требований и условий работы электропривода имеют
много общего. Большая часть электроприводов указанных механизмов является
нерегулируемыми.
Традиционные способы регулирования подачи
насосных и вентиляторных установок состоят в дросселировании напорных линий и
изменении общего числа работающих агрегатов по одному из технологических
параметров - давлению втрубопроводе или в диктующей точке сети, уровня в
приёмном или регулирующем резервуаре и др. Эти способы регулирования направлены
на решение поставленных технологических задач (поддержание заданного давления)
и практически не учитывают энергетических аспектов транспортировки воды.
Вместе с тем, гидравлическое и
электротехническое оборудование насосных станций обычно выбирается по максимальным
техническим параметрам (подаче, напору и др.) системы водоснабжения и
водоотведения. Однако в реальной жизни оказывается, что вновь вводимые в
эксплуатацию насосные установки выходят напроектные режимы в течение многих
лет, либо не выходят вообще. Поэтому существующие станции, как правило,
работают в режимах, существенно отличающихся от расчётных. Кроме того, имеют
место суточные, недельные и сезонные колебания расходов и напоров,
обусловленные переменным водопотреблением, в результате этого рабочие режимы
насосов оказываются далеко от рабочих зон их характеристик (как правило, в
меньшую сторону).
Поэтому с появлением надёжного регулируемого
электропривода создались предпосылки для разработки принципиально новой
технологии транспортировки воды с плавным регулированием рабочих параметров
насосной установки без непроизводительных затрат электроэнергии и с широкими
возможностями повышения точности и эффективности технологических критериев
работы систем подачи.
4. Частотные преобразователи
Преобразователи частоты - это электронные
устройства для плавного бесступенчатого регулирования скорости вращения вала
асинхронного двигателя.В простейшем случае частотного регулирования управление
скоростью вращения вала осуществляется с помощью изменения частоты и амплитуды
трехфазного напряжения, подаваемого на двигатель.
Большинство современных преобразователей частоты
построено по схеме двойного преобразования. Они состоят из следующих основных
частей:
звена постоянного тока;
силового трехфазного импульсного инвертора;
системы управления.
Рисунок 5 - Схема частотного преобразователя
Звено постоянного тока состоит из неуправляемого
выпрямителя и фильтра. Переменное напряжение питающей сети (L1, L2, L3)
преобразуется в нем в напряжение постоянного тока (+, -).
Силовой трехфазный импульсный инвертор состоит
из шести транзисторных ключей соединенных по схеме приведенной выше. Каждая
обмотка двигателя подсоединяется через соответствующий ключ к положительному и
отрицательному полюсу звена постоянного тока. Инвертор осуществляет
преобразование напряжения постоянного тока в трехфазное переменное напряжение
изменяемой частоты и амплитуды (U, V, W), управляющее двигателем.
Система управления осуществляет управление
силовым инвертором, используя Широтно Импульсную Модуляцию (сокращенно ШИМ),
импульсно прикладывая к обмоткам двигателя напряжение звена постоянного тока,
таким образом, что эффект оказывается практически эквивалентен, приложению
синусоидального напряжения, требуемой частоты и амплитуды. ШИМ характеризуется
периодом модуляции, внутри которого вывод обмотки подключается, по очереди, к
положительному и отрицательному полюсам звена постоянного тока. Длительность
этих состояний, внутри периода ШИМ, модулируется по синусоидальному закону. При
высоких (обычно 2 … 15 кГц), тактовых частотах ШИМ, в обмотках двигателя,
вследствие их фильтрующих свойств, протекают синусоидальные токи. Их частота и
амплитуда определяются соответствующими параметрами модулирующей функции.
Подобное импульсное управление позволяет получить очень высокий КПД
преобразователя (до 98 %) и практически эквивалентно, аналоговому управлению с
помощью частоты и амплитуды напряжения.
Меняя параметры питающего напряжения (частотное
управление) можно делать скорость вращения двигателя как ниже, так и выше
номинальной.
5. Принцип действия преобразователя
частоты
В основу метода преобразования частоты заложен
следующий принцип. Как известно, частота промышленной сети 50 Гц. При такой
частоте двигатель насоса, к примеру, имеющий 2 полюса, вращается со скоростью
3000 (50 Гц х 60 сек) оборотов в минуту и дает на выходе насосного агрегата
номинальный напор и производительность (т.к. это его номинальные параметры,
указанные в паспорте). Если при помощи преобразователя частоты (ПЧ), понизить
частоту подаваемого на него переменного напряжения, то соответственно понизятся
скорость вращения двигателя, а значит измениться напор и производительность
насосного агрегата.
Если момент вращения - квадратическая функция
частоты вращения, то
мощность на валу двигателя уменьшается в
кубической зависимости при снижении частоты вращения. Другими словами,
уменьшение частоты вращения ротора на 1 единицу снижает мощность двигателя на
13, что влечет за собой соответствующее снижение расходов на электроэнергию.
Именно это свойство используется в насосах, вентиляторах и турбокомпрессорах с
асинхронными двигателями, которые питаются от статических преобразователей
частоты.
При соединении ПЧ с расходомером, получается
система, которая будет поддерживать расход с точностью до долей процента.
Причем в этом случае исчезают нежелательные явления, связанные с прямым пуском
двигателя насоса от сети, как при старт-стопном регулировании - отсутствуют
броски напряжения, гидравлические удары, нет разрушения обмоток двигателя от
рывков, пуск происходит плавно. Самое главное - двигатель затрачивает ровно
столько энергии, сколько ему необходимо для обеспечения заданных показателей
технологического процесса (давление воды и ее расход), а значит идет прямая
экономия электроэнергии, по сравнению со старт-стопным (или любым другим
рассмотренным выше) регулированием.
Необходимая информация о давлении в сети
поступает в блок ПЧ от специального датчика (например, датчика давления),
установленного на трубопроводе после работающего насоса и сообщающего
соответствующую информацию (о падении или увеличении давления в трубопроводе в
ПЧ, после его последний соответствующим образом изменяет частоту, подаваемую на
двигатель и изменяя таким образом его рабочие характеристики.
В таком случае происходит экономия
электроэнергии, воды, увеличивается ресурс оборудования.

Кривая 1 соответствует номинальной (при
номинальной частоте вращения привода) напорной характеристике, а кривые 2 - 4
напорным характеристикам при пониженной частоте вращения. Если организовать
работу привода насосного агрегата таким образом, чтобы он при изменении
параметров технологического процесса (расхода в сети и давления на входе
агрегата) изменял частоту вращения, то в итоге можно без существенных потерь
энергии стабилизировать давление в сети потребителей. При таком способе
регулирования исключаются потери напора (нет дроссельных элементов), а значит,
и потери гидравлической энергии. Способ регулирования давления в сети путем
изменения частоты вращения привода насосного агрегата снижает энергопотребление
ещё и по другой причине. Собственно насос как устройство преобразования энергии
имеет свой коэффициент полезного действия - отношение механической энергии,
приложенной к валу, к гидравлической энергии, получаемой в напорном
трубопроводе насосного агрегата. Характер изменения коэффициента полезного
действия насоса hн в зависимости от расхода жидкости
Q при различных частотах вращения представлен на рисунке 7.
водоснабжение башня частота
преобразователь
Рисунок 7 - Изменение КПД насосного агрегата с
частотным регулированием при изменении производительности
В соответствии с теорией подобия максимум
коэффициента полезного действия с уменьшением частоты вращения несколько
снижается и смещается влево. Анализ требуемого изменения частоты насосного
агрегата при изменении расхода в сети показывает, что с уменьшением расхода
требуется снижение частоты вращения. Если рассмотреть работу агрегата для
расхода меньше номинального (вертикальные линии А и В), то для этих режимов
рационально работать на пониженной частоте вращения. В этом случае кпд насоса
выше, чем при работе на номинальной частоте вращения. Таким образом, снижение
частоты вращения в соответствии с технологической нагрузкой позволяет не только
экономить потребляемую энергию на исключении гидравлических потерь, но и
получить экономический эффект за счет повышения коэффициента полезного действия
самого насоса - преобразования механической энергии в гидравлическую.
Заключение
Применение частотно-регулируемых приводов для
насосов и вентиляторов в технологических процессах позволяет снизить
энергопотребление технологическим оборудованием. Перед началом внедрения
рекомендуется провести технико-экономическое обоснование, позволяющее
определить не только сроки окупаемости от внедрения, но и правильно
организовать технологический процесс с учетом возможностей приводов с частотным
регулированием. Целесообразно использование преобразователей частоты не в
качестве элементов системы управления конкретного агрегата, а как составляющих
комплексных системных решений с подключением широкого набора средств
автоматизации технологического процесса. Такие решения позволят получить
дополнительный эффект, который заведомо больше простой экономии электрической
энергии.