|
Наименование
ЭО
|
тип.
|
Iна
|
Iнр
|
Kу(тр)
|
|
Токарно-револьверные
станки
|
ВА
51-25
|
25
|
25
|
1.35
|
|
Кран-балки
|
ВА
51-25-3
|
25
|
10
|
1.35
|
|
Токарные
станки с ЧПУ
|
ВА
51-25-3
|
25
|
20
|
1.35
|
|
Сверлильно-фрезерные
станки
|
ВА
51-25-3
|
25
|
16
|
1.35
|
|
Кондиционер
|
ВА
51-25-3
|
25
|
|
1.35
|
|
Токарные
станки с ЧПУ повышенной точности
|
ВА
51-25-3
|
25
|
3
|
1.35
|
|
Координатно-сверлильные
горизонтальные станки
|
ВА
51-31-3
|
25
|
25
|
1.35
|
|
Строгальный
станок
|
ВА
51-25-3
|
25
|
40
|
1.35
|
|
Шлифовальный
станок
|
ВА
52-31-3
|
25
|
40
|
1.35
|
|
Наждачный
станок
|
ВА
51Г-31-3
|
25
|
20
|
1.35
|
|
Токарные
многоцелевые прутково-патронные модули
|
ВА
51-25-3
|
25
|
8
|
1.35
|
|
Токарные
вертикальные полуавтоматы с ЧПУ
|
ВА
51Г-31-3
|
100
|
50
|
1.35
|
|
Координатно-сверлильные
вертикальные станки
|
ВА
51Г-31-3
|
100
|
80
|
1.35
|
Защита должна обладать необходимой
селективностью (избирательностью), т.е. в системе аппаратов защиты должен
срабатывать ближайший к месту аварии аппарат.
По таблице А.6. по методическому пособию В.П.
Шеховцов стр.184 выбираем автоматические выключатели серии ВА и заносим их в
Таблицу 6
Для нашего КП выбираем вводной шкаф с
выключателями ВА55-37-3 на вводе. Для 10-и линейных 3-х полюсных выключателей
подходит схема № 114. Для крана и РП с малочисленными оборудованиями подходит
схема № 099 с 4-я линейными 3-х полюсными выключателями.
10-и линейные 3-х полюсные выключатели
(ПР-7-114-21-У3);
4-я линейные 3-х полюсные выключатели
(ПР-7-099-21-У3);
7. Расчет токов короткого замыкания
Рассчитать токи короткого замыкания (КЗ) - это
значит:
по расчетной схеме составить схему замещения,
выбрать точки КЗ;
рассчитать сопротивления;
определить в каждой выбранной точке 3-фазные,
2-фазные, 1-фазные токи КЗ, заполнить “Сводную ведомость токов КЗ”.
Схема замещения представляет собой вариант
расчетной схемы, в которой все элементы заменены сопротивлениями, а магнитные
связи - электрическими. Точки КЗ выбираются на ступенях распределения и на
конечном электроприемнике. Точки КЗ нумеруются сверху вниз, начиная от
источника. Расчет токов КЗ производится приближенно. Для внутрицеховых сетей
промышленных предприятий предполагают, что в режиме КЗ напряжение на шинах 10
кВ остается неизменным. Каждый элемент из электрической сети представляет собой
активно-индуктивную нагрузку. КЗ происходит на ступенях распределения и как
сказано выше на конечном электроприемнике. Для подключения устройств релейной
защиты и приборов учета электрической энергии применяются измерительные
трансформаторы тока, первичная обмотка которых включена последовательно в цепь
тока КЗ.

где: Vk - линейное
напряжение в точке КЗ, кВ;
Zk - полное
сопротивление до точки КЗ, кВ.
б) 2-фазного, кА:

в) 1-фазного, кА:

где: Vкф - фазное
напряжение в точке КЗ, кВ;
Zn - полное
сопротивление петли до точки КЗ, Ом;
ZT(1) - Полное
сопротивление трансформатора однофазному КЗ, Ом.
г) ударный ток, кА

где: Ky - ударный
коэффициент.
д) действующие значения ударного
тока, кА:

где: q -
коэффициент действующего значения ударного тока,


где: ∑Rk - общие
сопротивление R, мОм;
∑Xk - общее
сопротивление X, мОм.
Рисунок 3.
Рассчитаем токи КЗ для своего
варианта.
I = 
;
I = 
= 172,7 А
Для трансформатора:
Хтт - 0.67; Rтт - 0.42;
Ктт - 200/5;
Для автоматов по таблице 1.9.3:
BA-51-35 SF2
- Ra=0.15; Xa=0.17; Rпа
= 0.4
Для кабельных линий:
ro = 0.03;
xo = 0.014;
Rкаб.
= ro *L= 0.03*12.7= 0.381;каб. = хо *L=
0.014*12.7= 0.177;
Для шинопровода ШМА 1600
ro = 0.03; xo = 0.014; roп = 0.06; xоп = 0.06.
Rш = ro * Lш = 0.03 *
30 = 0.9;
Хш = хo * Lш = 0.014 *
30 = 0.42;
Для ступеней распределения по таблице
1.9.4
Rст. = 20 мОм
Упрощается схема замещения,
вычисляются эквивалентные сопротивления на участках между точками КЗ.
Rэ1 = Rт +Rтт +Ra+Rп +Rст =
31.5+0.42+0.15+0.4+20=52.47мОм; Хэ1 = Хт +Хтт +Хa =
64.7+0.67+0.17= 65.54мОм;
Rэ2 = Rш +Rкаб. +Rа +Rп +Rст =
0.9+0.381+0.15+0.4+20= 21.831;
Хэ2 = Хш +Хкаб. +Хa =
0.4+0.18+0.17= 0.75;
Rэ = Rэ1+Rэ2=
52.47+21.831= 74.301; Xэ = Xэ1+Xэ2=
65.54+0.75=66.29;
Zк =
99.6мОм;
Ку = 
,
Где Ку - ударный коэффициент;
Ку = 
= 1.12;
q= 
1.014,
где q -
коэффициент действующего значения ударного тока;
Определяются 3- фазные, 2- фазные,
1- фазные токи КЗ.
Iк(3)
= = 
= 
= 2.3 кА;
iу= 
Ky*Iк(3)
= 1.41* 1.12*2.3= 3.6 кА;
Iк(2)
= 0.87* Iк(3)=
0.87*2.3= 2.001 кА;
Iк(1)=
= 
,
где 
- полное сопротивление петли до
точки КЗ;

- полное сопротивление
трансформатора однофазного КЗ;
Zп = = 
,
где 
= 15 мОм/м в трубах;

=2
;

= 
,
где 
- 50 м/(Ом*мм)2 для
меди;

= 
= = 
= 2 Ом;

=2
= 2*2 = 4 Ом;
Zп = 
= 
= 16.9 мОм;
Iк(1)=
= 
= 
= 0.8 кА;
Проверка Элементов цеховой цепи
Аппараты защиты проверяют:
) на надежность срабатывания,
согласно условиям
Проверим аппараты защиты
наиболее мощного Электра приемника :
на надежность срабатывания;


;
Аппараты защиты подходят на
надежность срабатывания.
на отключающею способность;

;

;
Аппараты защиты подходят по
отключающей способности.
8. Расчет заземляющего устройства
Заземления предназначено для обеспечения
безопасности людей и безаварийной работы электроустановок.
Заземления могут быть: - естественная
искусственная
Для обеспечения хорошего контакта с землей на
промышленных предприятиях уральского региона применяют искусственное заземление
установки.
Искусственные заземления бывают вертикальные и
горизонтальные.
Вертикальное заземления выполняют из круглой или
угловой стали, определенной длены (длину рассчитывает проектировщик).
Вертикальные электроды вдавливают, ввинчивают,
вбивают в грунт. предварительно в месте установки вертикального заземлителя
снимают растительный слой 0,6-0,8 м. «В»
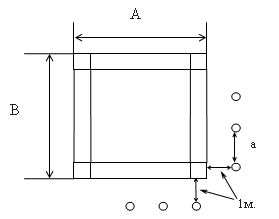
Рисунок 4 - Заземляющее устройство
Одного вертикального заземлителя не достаточно
для обеспечения хорошего контакта с землей заземлитель поэтому выполняют в
соответствие с расчетом несколько заземлителей, которые между собой соединяют с
помощью сварки.
На промышленных предприятиях мы находим в
естественных условиях. Поэтому заземлитель располагают либо ряд вдоль стены
цеха либо в виде контура вокруг цеха.
Из исходных данных определим габаритных размеров
цеха 48х28 метров.
На основание исходных данных по таблицам 1.13.2;
1.13.3; 1.13.4 определим: 1.13.3 - удельное сопротивление грунта с=300(Ом*м)
Коэффициенты сезонности Ксез = 1,5;
Электроды стальной уголок 50х50х5 мм. L=2,5
м. t = 0,5 м.
Определим сопротивление 1 вертикального
электрода:
R = 0,3*
300*1,5 = 135 Ом;
Для электрических установок U= 380 В
принимается согласно ПУЭ:
Определим количество вертикальных
электродов без учета экранирования
;
Определяем реальное сопротивление
всего заземляющего устройства:
;
Rзу = 0,04 *300 = 12;
Задаемся значением а -Расстояние
между электродами; а = 2,5;
Рисунок 5 - Контурное заземление
устройства
Рассчитываем количество вертикальных
электродов с учетом экранирования.
;
где:
- количество вертикальных электродов
без учета экранирования;
- коэффициент использование
электродов,
.
NB = 
26;
Все вертикальные электроды
электрически связаны, определим длину горизонтального электрода.
Горизонтальный электрод может
выполнятся из полосовой либо круглой стали отдельные отрезки между собой
соединяют внахлест.
Полоса - длина нахлеста 4 ширины
полосы. Горизонтальный электрод также участвует в создание общего сопротивления
заземляющего устройства.
Возьмем для изготовления
горизонтального электрода полосу
шириной - 50 мм
длиной - 5 мм
Рассчитаем общею длину полосы
Определим уточненное значение
сопротивления вертикального и горизонтального сопротивления.
Rг =
;
Rг = 33,6 Ом;
где: Ln - Длина
полосы, м;
Ксез - Коэффициент
сезонности, учитывающий промерзание и просыхание грунт;
- удельное сопротивления грунта, Ом∙м.
где: Ln - Длина
полосы, м;
Ксез - Коэффициент
сезонности, учитывающий промерзание и просыхание грунт;
- удельное сопротивления грунта, Ом∙м.
Проверяем выбранное ЗУ на
эффективность.
RВ < Rзу.факт.;
RB=
; RB= 11,1 Ом;
Rзу.факт.=
;
Rзу.факт.= 
8,3 Ом;
,3 < 11,1;
ЗУ эффективно, в случае если
неравенство не выполняется необходимо увеличить количество вертикальных
электродов и повторить расчет.
Молниезащита зданий и сооружений
Атмосферное электричество может
создать аварийную ситуацию в работе электрического оборудования. В разных
районах РФ продолжительность гроз составляет от 10 часов в год.
Молниезащита состоит из 3 основных
частей:
молния приемник
молния отвод
заземляющий контур
Рисунок 6 - Молния защиты
Молния отвод выполняется из
проводников имеющие достаточные сечения (круглая, полосовая сталь). На всем
протяжении отвода выполняют антикоррозийную защиту. Молния приемник может быть
выполнен:
1 стержень (круглая, угловая сталь, трубы)
2 в виде троса (подвешенный над защищаемым
объектом)
молния приемная сетка (круглая проволока
диаметром 8 мм с размером ячейки до 6 м)
Для одиночного молния приемника можно изобразить
шатер, в котором размещаются объекты, защищаемые этим приемником. В случае
одиночного или тросового приемника высота шатра (конуса) получается
значительной, т. е. молния приемник необходимо помещать на большую высоту
несколько десятков метров.
В курсовом проекте выполним расчет для
одиночного стержневого молния приемника, т.е. определим размеры конуса
защищающего наш объект рисунок 7.
Рисунок 7 - Зона защиты одиночного стержневого
молниеприемника
где hx
- высота здания
h o - высота
вертикального конуса стержневого молния приемника примечание: принято разделять
конусы по надежной степени защиты(А зона
99,5 %, зона В от 95-95,5%)
h - полная высота
молния приемника
r0
- радиус защиты на уровне земли
rx
-
радиус защиты на высоте здания
Зона А: ro
= (1,1-2∙10-3∙h)∙h;
rx
=(1,1-2∙10-3∙h)(h-1,2∙hx);
ho
=
0.85*h;
Произведем расчет габаритных размеров зоны
защиты для этого зададимся исходными данными. h
= 48 м, средние число грозовых часов в год 50 часов, tср
= 50 ч.
Для этой продолжительности гроз определим средне
годовое число ударов молний на 1 км2 поверхности.
Для tср.год.
=>
n = 4 количество
ударов.
ho = 0.85*48 = 40,8 м;в.o
= (1.1 - 2*10-3*50)*48 = 48,2 м;x=
48,2*(48-1,2*8) = 38,5 м;
Рисунок 8 - Корпус защищаемого объекта


0,36;21є = 0,36
|ОС|
= 
* cos21є
|ОС|
= 0,93*38,5 = 35,9
|DA| =
2*35,9 = 71,8
Зона Б:
ho =
0,92h;
ro
= 1,5h;
rx
= 1,5(h-1,1hx);
o =
0,92∙48 = 44,16o = 1,5∙48 = 72 м;
rx
= 1,5(48-1,1∙9) = 57,15 м;

|OC| =
58,8*0,97 = 57 м;
|DA| =
2*|OC|; (8.16)
|DA| = 2*57
= 114 м;
Определим возможную порожаемость
защищаемого объекта в зонах при отсутствие моление защиты.
А:
NB =
(28+6*8)*(71,8+6*8)-7,7*8*4*10-6 = 0,034;
В:
NB =
(28+6*8)*(114+6*8)-7,7*82)*4*10-6 = 0,047;
В зоне молниезащиты В количество
поражений в год больше. Из этого можно сделать вывод, что гораздо надежнее
является зона А. Для своего КП выбираем зону А.
. Мероприятия по безопасному
выполнению работ
Общие требования безопасности:
. Правила имеют целью обеспечить
надежную, безопасную и рациональную эксплуатацию электроустановок и содержание
их в исправном состоянии
. Правили распространяются на
организации, независимо от форм, индивидуальных предпринимателей, а также
граждан-владельцев электроустановок напряжение выше 1000 В
. Расследование и учет нарушений в работе
электроустановок Потребителей производится в соответствии с установленными
требованиями
. Расследование несчастных случаев,
связанных с эксплуатацией электроустановок и происшедших на объектах,
подконтрольных госэнергонадзору, проводится в соответствии с действующим
законодательством
. Эксплуатация электрооборудования,
в том числе бытовых электроприборов, подлежащих обязательной сертификации,
допускается только при наличии сертификата соответствия на это
электрооборудование и бытовые электроприборы
Требования безопасности до начала выполнения
работ
. Перед началом работы электромонтер обязан:
а) предъявить руководителю удостоверение о
проверке знаний безопасных методов работ, а также удостоверение о проверке
знаний при работе в электроустановках напряжением до 1000 В или свыше 1000 В,
получить задание и пройти инструктаж на рабочем месте по специфике выполняемой
работы;
б) надеть спецодежду, спецобувь и каску
установленного образца
. После получения задания у руководителя работ и
ознакомления, в случае необходимости, с мероприятиями наряда-допуска
электромонтер обязан:
а) подготовить необходимые средства
индивидуальной защиты. проверить их исправность;
б) проверить рабочее место и подходы к нему на
соответствие требованиям безопасности;
в) подобрать инструмент, оборудование и
технологическую оснастку, необходимые при выполнении работы, проверить их
исправность и соответствие требованиям безопасности;
г) ознакомиться с изменениями в схеме
электроснабжения потребителей и текущими записями в оперативном журнале.
. Электромонтер не должен приступать к
выполнению работ при следующих нарушениях требований безопасности:
а) неисправности технологической оснастки,
приспособлений и инструмента, указанных в инструкциях заводов-изготовителей,
при которых не допускается их применение;
б) несвоевременном проведении очередных
испытаний основных и дополнительных средств защиты или истечении срока их
эксплуатации, установленного заводом-изготовителем;
в) недостаточной освещенности или при
загроможденности рабочего места;
г) отсутствии или истечении срока действия
наряда-допуска при работе в действующих электроустановках.
Обнаруженные нарушения требований безопасности
должны быть устранены собственными силами до начала работ, а при невозможности
сделать это электромонтер обязан сообщить о них бригадиру или ответственному
руководителю работ
Требования безопасности при выполнении работ.
Электромонтер обязан выполнять работы при
соблюдении следующих требований безопасности:
а) произнести необходимые отключения и принять
меры, препятствующие подаче напряжения к месту работы вследствие ошибочного или
самопроизвольного включения коммутационной аппаратуры;
б) наложить заземление на токоведущие части;
в) оградить рабочее место инвентарными
ограждениями и вывесить предупреждающие плакаты;
г) отключить при помощи коммутационных аппаратов
или путем снятия предохранителей токоведущие части, на которых производится
работа, или те, к которым прикасаются при выполнении работы, или оградить их во
время работы изолирующими накладками (временными ограждениями);
ж) на временных ограждениях вывесить плакаты или
нанести предупредительные надписи «Стой - опасно для жизни!»;
з) проверку отсутствия напряжения производить в
диэлектрических перчатках
и) зажимы переносного заземления накладывать на
заземляемые токоведущие части при помощи изолированной штанги с применением
диэлектрических перчаток;
к) при производстве работ на токоведущих частях,
находящихся под напряжением, пользоваться только сухими и чистыми изолирующими
средствами, а также держать изолирующие средства за ручки-захваты не дальше
ограничительного кольца.
Перед пуском оборудования, временно отключенного
по заявке неэлектротехнического персонала, следует осмотреть его, убедиться в
готовности к приему напряжения и предупредить работающих на нем о предстоящем
включении.
Присоединение и отсоединение переносных
приборов, требующих разрыва электрических цепей, находящихся под напряжением,
необходимо производить при полном снятии напряжения.
При выполнении работ на деревянных опорах
воздушных линий электропередачи электромонтеру следует использовать когти и
предохранительный пояс.
При выполнении работ во взрывоопасных помещениях
электромонтеру не разрешается:
а) ремонтировать электрооборудование и сети,
находящиеся под напряжением;
б) эксплуатировать электрооборудование при
неисправном защитном заземлении:
в) включать автоматически отключающуюся
электроустановку без выяснения и устранения причин ее отключения;
г) оставлять открытыми двери помещений и
тамбуров, отделяющих взрывоопасные помещения от других;
д) заменять перегоревшие электрические лампочки
во взрывозащищенных светильниках лампами других типов или большей мощности;
е) включать электроустановки без наличия
аппаратов, отключающих электрическую цепь при ненормальных режимах работы;
ж) заменять защиту (тепловые элементы,
предохранители, расцепители) электрооборудования защитой другого вида с другими
номинальными параметрами, на которые данное оборудование не рассчитано.
При работе в электроустановках необходимо
применять исправные электрозащитные средства: как основные (изолирующие штанги,
изолирующие и электроизмерительные клещи, указатели напряжения, диэлектрические
перчатки), так и дополнительные (диэлектрические галоши, коврики, переносные
заземляющие устройства, изолирующие подставки, оградительные подставки,
оградительные устройства, плакаты и знаки безопасности).
Работы в условиях с повышенной опасностью
следует осуществлять вдвоем в следующих случаях:
а) с полным или частичным снятием напряжения,
выполняемого с наложением заземлений (отсоединение и присоединение линий к
отдельным электродвигателям, переключения на силовых трансформаторах, работы
внутри распределительных устройств);
б) без снятии напряжения, не требующего
установки заземлений (электрические испытания, измерения, смена плавких вставок
предохранителей и т.п.);
в) с приставных лестниц и подмостей, а также
там, где эти операции по местным условиям затруднены;
г) на воздушных линиях электропередачи.
Измерение сопротивления изоляции мегаомметром
следует осуществлять только на полностью обесточенной электроустановке. Перед
измерением следует убедиться в отсутствии напряжения на испытываемом
оборудовании.
При обслуживании осветительных сетей
электромонтеры обязаны выполнять следующие требования:
а) замену предохранителей и перегоревших ламп
новыми, ремонт осветительной арматуры и электропроводки осуществлять при снятом
напряжении в сети и в светлое время суток;
б) чистку арматуры и замену ламп, укрепленных на
опорах, осуществлять после снятия напряжения и вдвоем с другим электромонтером;
в) установку и проверку электросчетчиков,
включенных через измерительные трансформаторы, проводить вдвоем с
электромонтером, имеющим квалификационную группу по технике безопасности не
ниже IV;
г) при обслуживании светильников с автовышек или
других перемещаемых средств подмешивания применять пояса предохранительные и
диэлектрические перчатки.
При регулировке выключателей и разъединителей,
соединенных с проводами, электромонтерам следует принять меры, предупреждающие
возможность непредвиденного включения приводов посторонними лицами или их
самопроизвольного включения.
Для проверки контактов масляных выключателей на
одновременность включения, а также для освещения закрытых емкостей
электромонтерам следует применять напряжение в электросети не выше 12 В.
В процессе работы электромонтеру запрещается:
а) переставлять временные ограждения, снимать
плакаты, заземления и проходить на территорию огражденных участков;
б) применять указатель напряжений без повторной
проверки после его падения;
в) снимать ограждения выводов обмоток во время
работы электродвигателя;
г) пользоваться для заземления проводниками, не
предназначенными для этой цели, а также присоединять заземление путем скрутки
проводников;
д) применять токоизмерительные клещи с
вынесенным амперметром, а также нагибаться к амперметру при отсчете показаний
во время работы с токоизмерительными клещами;
е) прикасаться к приборам, сопротивлениям,
проводам и измерительным трансформаторам во время измерений;
ж) производить измерения на воздушных линиях или
троллеях, стоя на лестнице;
з) применять при обслуживании, а также ремонте
электроустановок металлические лестницы;
и) пользоваться при работе под напряжением
ножовками, напильниками, металлическими метрами и т.п.;
к) применять автотрансформаторы, дроссельные катушки
и реостаты для получения понижающего напряжения;
л) пользоваться стационарными светильниками в
качестве ручных переносных ламп.
Для прохода на рабочее место электромонтеры
должны использовать оборудование системы доступа (лестницы, трапы, мостики). При
отсутствии ограждения рабочих мест на высоте электромонтеры обязаны применять
предохранительные пояса с капроновым фалом. При этом электромонтеры должны
выполнять требования «Типовой инструкции по охране труда для работников,
выполняющих верхолазные работы».
Требования безопасности при аварийной ситуации
При появлении неисправности в
работе электроустановки, искрении, нарушении изоляции проводов или обрыве
заземления, прекратить работу и сообщить администрации учреждения. Работу
продолжать только после устранения неисправности электриком.
При обнаружении оборванного
электрического провода, свисающего или касающегося пола (земли), не
приближаться к нему, немедленно сообщить администрации учреждения, самому
оставаться на месте и предупреждать других людей об опасности.
В случае загорания
электроустановки, немедленно отключить ее от электрической сети, а пламя тушить
только песком, углекислотным или порошковым огнетушителем.
При поражении электрическим
током, немедленно отключить напряжение и при отсутствии дыхания и пульса у
пострадавшего сделать ему искусственное дыхание или провести непрямой
(закрытый) массаж сердца до восстановления дыхания и пульса, сообщить о
несчастном случае администрации учреждения, при необходимости отправить
пострадавшего в ближайшее лечебное учреждение.
Требования безопасности по окончании работ
По окончании работы электромонтер обязан:
а) передать сменщику информацию о состоянии
обслуживаемого оборудования и электрических сетей и сделать запись в
оперативном журнале;
б) убрать инструмент, приборы и средства
индивидуальной защиты в отведенные для них места;
в) привести в порядок рабочее место;
г) убедиться в отсутствии очагов загорания;
д) о всех нарушениях требований безопасности и
неисправностях сообщить бригадиру или ответственному руководителю работ.
Заключение
В данном курсовом проекте был рассмотрен расчет
сети электроснабжения на примере ЭСН и ЭО токарного цеха. Были рассмотрены
основные вопросы электрического снабжения.
Для правильного расчета необходимо было
определить назначение проектируемого объекта, характер его нагрузки, количество
электроприемников и их категория для правильного выбора количества
трансформаторов на ЦТП, охарактеризовать помещение по категориям безопасности.
Был определен центр нагрузок, характеризующийся
тем, что при максимальном приближении ЦТП к нему нагрузки будут наименьшими.
В соответствии с нагрузкой цеха была выбрана
мощность трансформатора.
В заключении был произведен расчет заземление
нейтрали обмотки низшего напряжения трансформаторов ЦТП.
Все рассчитанные параметры системы
электроснабжения удовлетворяют всем требованиям, поэтому система может
считаться пригодной для применения на производстве с высокой гибкостью,
экономичностью и надежностью.
электроснабжение трансформатор ток
замыкание
Список использованных источников
1. Попов В.С., Николаев С.А.
Электротехника. - М.: Энергия, 1966. - 600 с.
. Васин В.М. Электрический привод:
Учеб пособие для техникумов.- М.: 1984. - 231с.
. Алиев И.И. Справочник по
электротехнике и электрооборудованию.- Ростов: Феникс, 2004.- 480с.
. Электрооборудование промышленных
предприятий и установок Е.Н. Зимин, В.И. Преображенский, И.И. Чувашов: Учебник
для техникумов. - М.: Энергоиздат, 1981. - 552 с.
5. Алиев И.И. Справочник по
электротехнике и электроаборудованию: Учеб. Пособие для вузов/ Алиев И.И.- М.:
Высшая школа, 2007. - 255 с.
. Москаленко В.В. Электрический
привод: - М.; Высшая школа, 2001. - 368 с.
. Кацман М.М. Элетрический привод: -
М.; Высшая школа, 2006. - 398 с.
. Правила технической эксплуатации
электроустановок потребителей, - СПб.; ДЕАН, 2003
. ПОТ РМ - 016 2001. -СПб.; ДЕАН,
2003