Характеристика нефтедобывающего предприятия 'Сургут-нефтегаз'

  • Вид работы:
    Отчет по практике
  • Предмет:
    Физика
  • Язык:
    Русский
    ,
    Формат файла:
    MS Word
    3,11 Мб
  • Опубликовано:
    2015-07-21
Вы можете узнать стоимость помощи в написании студенческой работы.
Помощь в написании работы, которую точно примут!

Характеристика нефтедобывающего предприятия 'Сургут-нефтегаз'

МИНИСТЕРСТВО ОБРАЗОВАНИЯ И НАУКИ РОССИЙСКОЙ ФЕДЕРАЦИИ

Федеральное государственное бюджетное образовательное учреждение

высшего профессионального образования

«Тюменский государственный нефтегазовый университет»

Филиал в г.Сургуте

Кафедра Нефтегазовое дело







ОТЧЕТ

О ПЕРВОЙ УЧЕБНОЙ ПРАКТИКЕ










Сургут, 2014 г.

1. Знакомство с предприятием

История нефтедобывающего предприятия «Сургут-нефтегаз» берет свое начало в октябре 1977 года, когда ему был присвоен статус многопрофильного производственного объединения, а в 1993 году оно было преобразовано в акционерное общество открытого типа. В качестве вертикально-интегрированной компании ОАО «Сургутнефтегаз» присутствует на рынке немногим более 20 лет.

У предприятий, входящих в состав Сургутнефтегаза, достаточно богатая история: полувековой опыт добычи нефти, свыше 40 лет работы в сфере нефтепереработки, от 50 до 100 лет деятельности по нефтепродуктообеспечению.

Старейшему нефтегазодобывающему управлению «Сургутнефть» в 2014 году исполняется 50 лет. С его именем связано начало освоения Большой нефти Западной Сибири.

Нефтепромысловое предприятие создавалось практически на пустом месте, единственной артерией, связывавшей Сургут с внешним миром, была река Обь. В регионе не существовало ни одного здания в капитальном исполнении, ни одного километра дорог с твердым покрытием, а самым распространенным средством передвижения до начала 70-х годов здесь являлся вездеход.

Добыча нефти в первые годы разработки месторождений была сезонной - в теплое время года добытую нефть отправляли баржами по реке на Омский нефтеперерабатывающий завод. На зиму скважины останавливались.       
 С пуском в 1967 году нефтепровода Усть-Балык - Омск промыслы стали работать круглогодично. Климат и ландшафт не позволяли использовать здесь традиционные способы прокладки дорог, бурения скважин, строительства трубопроводов, обустройства месторождений. Фактически нефтепромысловое управление «Сургутнефть» стало полигоном, где создавались и опробовались способы и методы разработки месторождений в сложных горно-геологических и климатических условиях - и своего рода кузницей кадров для всех нефтегазодобывающих предприятий Западной Сибири.

В конце 70-х годов Сургут стали называть «нефтяной столицей Сибири», он становится центром развития Севера Тюменской области. К этому времени в городе была создана самая мощная в Европе база электроэнергетики - Сургутская ГРЭС-1, работающая на попутном нефтяном газе, основана крупнейшая в регионе база стройиндустрии, проложена железная дорога, автомагистрали, построен аэропорт.

Добывающие мощности компании ОАО «Сургутнефтегаз» сконцентрированы в Ханты-Мансийском, Ямало-Ненецком автономных округах и Республике Саха (Якутия). ОАО «Сургутнефтегаз» имеет в своем составе семь нефтегазодобывающих управлений, которые, по состоянию на 01.05.2013 г., разрабатывают 55 нефтяных, нефтегазовых и нефтегазоконденсатных месторождений.

НГДУ «Нижнесортымскнефть» в котором я проходил учебную практику разрабатывает Нижнесортымское, Алехинское, Камынское, Биттемское, Мурьяунское, Лукъявинское, Тромъеганское, Восточно-Тромъеганское, Айпимское, Хорлорское, Ульяновское, Третьяковское, Западно-Чигоринское, Северо-Лабатъюганское, Юкъяунское, Верхненадымское, Новонадымское, Южно-Соимлорское, Восточно-Мытаяхинское, Ватлорское и Жумажановское месторождения.

. Вводный инструктаж и инструктаж по технике безопасности на рабочем месте

Вводный инструктаж.

Все принимаемые на работу лица, а также командированные в структурные подразделения Общества работники и работники сторонних организаций, выполняющие работы на выделенном участке, обучающиеся образовательных учреждений соответствующих уровней, проходящие производственную практику проходят в установленном порядке вводный инструктаж. После прохождения вводного инструктажа и медицинской комиссии работники направляются на работу в производственное подразделение, на участок, бригаду для прохождения инструктажа на рабочем месте.

Инструктажи на рабочем месте.

После прохождения вводного инструктажа все рабочие должны пройти первичный инструктаж на рабочем месте.

Первичный инструктаж

Первичный инструктаж на рабочем месте проводится до начала самостоятельной работы.

При этом в службу охраны труда предоставляются копии документов о прохождении стажировки, первичной и последней проверки знаний требований охраны труда с прежнего места работы.

Цель первичного инструктажа на рабочем месте:

обучение каждого рабочего или обучающегося образовательных учреждений соответствующих уровней, проходящими производственную практику (практические занятия) правильным и безопасным методам и приемам выполнения работ;

основные его обязанности и ответственность за соблюдение требований инструкций по охране труда и других, в том числе локальных, нормативных документов (проектов производства работ, технологических регламентов, инструктивных карт и т.п.);

правила поведения на рабочем месте, на территории структурного подразделения, цеха, общие сведения о производственном процессе и применяемом оборудовании, машинах и механизмах, основные опасные и вредные производственные факторы.

Проведение первичного инструктажа на рабочем месте возлагается на руководителя производственного подразделения в непосредственное подчинение, которого направлен вновь принятый на работу, прошедшего в установленном порядке обучение по охране труда и проверку знаний требований охраны труда.

Продолжительность проведения первичного инструктажа на рабочем месте определяется инструктирующим с учетом предъявляемых к персоналу требований безопасности до полного осознанного усвоения им изучаемых материалов.

Инструктирующий по окончании инструктажа должен убедиться в том, что рабочий усвоил безопасные методы и приемы выполнения работы и практически знает и понимает требования инструкций по охране труда, а также требования безопасности, относящиеся к его работе и конкретному рабочему месту.

Рабочий, показавший неудовлетворительные знания, к самостоятельной работе или практическим занятиям не допускается и обязан вновь пройти инструктаж.

нефть газ скважина призабойный

3. Противопожарные мероприятия. Меры оказания первой помощи

Пожарная профилактика - это совокупность основных противопожарных мероприятий, направленных на исключение возникновения пожара. Мероприятия по пожарной безопасности разделяются на четыре основные группы:

предупреждение пожаров, т.е. исключение причин их возникновения;

ограничение сферы распространения огня;

обеспечение успешной эвакуации людей и материальных ценностей из сферы пожара;

создание условий эффективности тушения пожара.

Обеспечение мер пожарной безопасности достигается выполнением основных мероприятий по предупреждению пожаров:

знание технологического процесса производства и выполнение правил пожарной безопасности;

недопущение применения открытого огня (сварочные работы, разогрев трубопроводов открытым огнем и т.д.) на временных местах без соответствующего оформления наряда-допуска;

разработка подготовительных мероприятий, направленных на недопущение пожаров при проведении огневых работ в пожароопасных и взрывопожароопасных зонах;

применение технологического оборудования, имеющего исправные системы предотвращения и ликвидации пожароопасных ситуаций;

недопущение применения неискробезопасного инструмента и оборудования во взрывопожароопасных зонах;

выполнение требований инструкций о мерах пожарной безопасности как для всего предприятия, так и для отдельных объектов;

организация обучения противопожарного инструктажа и пожарно-технического минимума;

применение исправного электрооборудования и эксплуатация его в соответствии с требованиями технических паспортов, правил устройства электроустановок.

ИОТВ-93. Порядок действий при обнаружении задымления, загорания, пожара на производственном объекте.

Каждый гражданин при обнаружении пожара или признаков горения (задымление, запах гари, повышение температуры и т.п.) обязан:

немедленно сообщить об этом по телефону в пожарную охрану (службу спасения) - 01, 18-1-01 (при этом необходимо назвать адрес объекта, место возникновения пожара, а также сообщить свою фамилию);

включить систему оповещения людей о пожаре (нажав кнопку или повернув ручку ручного пожарного извещателя установленного в здании или на территории);

принять по возможности меры по эвакуации людей, тушению пожара и сохранности материальных ценностей.

Меры оказания первой помощи.

ИОТВ-09. Действия работающего при несчастном случае.

О каждом происшедшем несчастном случае, пострадавший или очевидец должен немедленно сообщить непосредственному руководителю. Состояние рабочего места и оборудования должно оставаться до расследования таким, каким оно было в момент происшествия, если это не угрожает жизни и здоровью окружающих и не ведёт к развитию аварийной ситуации.

ИОТВ-22. Виды кровотечений и их признаки.

Артериальное кровотечение возникает при глубоких рубленных или колотых ранах. Яркая красная (алая) кровь изливается пульсирующей струёй (в такт с сокращениями сердечной мышцы), а иногда бьет фонтанчиком. При ранении крупных артерий (сонной, подключичной, плечевой, бедренной, подколенной) возникает очень сильное кровотечение, а если его вовремя не остановить, пострадавший может погибнуть в течение нескольких минут.

Венозное кровотечение возникает при ранении вен. Кровь вытекает медленно, ровной струёй, имеет темно-вишневый цвет.

Капиллярное кровотечение бывает при повреждении мельчайших кровеносных сосудов (капилляров) при обширных ссадинах и поверхностных ранах. Кровь сочится по всей поверхности раны, вытекает медленно, по каплям. Капиллярное кровотечение легко остановить с помощью стерильной повязки, предварительно смазав кожу вокруг раны йодом, или примочки (повязки) из 3-х % раствора перекиси водорода.

ИОТВ-22 Виды переломов и оказание первой помощи при них.

При открытых переломах вначале останавливают кровотечение и накладывают стерильную повязку. Для иммобилизации (создания покоя) используются стандартные шины или изготовленные из подручных материалов (фанеры, досок, палок и т.п.).

При закрытых переломах не следует снимать с пострадавшего одежду - шину нужно накладывать поверх нее.    К месту перелома, для уменьшения боли, необходимо приложить холодный компресс (резиновый пузырь со льдом, снегом, холодной водой или холодные примочки).

ИОТВ-22. Первая помощь пострадавшему при травмах грудной клетки, позвоночника и костей нижнего пояса.

При переломе или вывихе костей конечностей наложением шины следует обеспечить неподвижность двух суставов - одного выше, другого ниже перелома, а при переломе крупных костей - даже трех. Центр шины должен находиться на месте перелома. Шинная повязка не должна сдавливать крупные сосуды, нервы и выступы костей. При отсутствии шины следует прибинтовать поврежденную верхнюю конечность к туловищу, а поврежденную нижнюю конечность - к здоровой.

При переломе или вывихе бедренной кости нужно укрепить больную ногу шиной с наружной стороны так, чтобы один конец шины доходил до подмышки, а другой - достигал пятки. Вторую шину накладывают на внутреннюю сторону ноги от промежности до пятки. Шины следует накладывать по возможности не приподнимая ногу, а придерживая ее на месте и прибинтовывать в нескольких местах, но не рядом и не в месте перелома.

При повреждении позвоночника осторожно, не поднимая пострадавшего, подсунуть под его спину широкую доску, дверь, снятую с петель или повернуть пострадавшего лицом вниз и строго следить, чтобы при переворачивании его туловище не прогибалась (во избежание повреждения спинного мозга).

При переломе ребер необходимо туго забинтовать грудь или стянуть ее полотенцем во время выдоха.

При переломе костей таза под спину пострадавшего необходимо подсунуть широкую доску, уложить его в положение "лягушка", т.е. согнуть ноги в коленях и развести в стороны, а стопы сдвинуть вместе, под колени подложить валик из одежды.

ИОТВ-22. Первая помощь пострадавшему при тепловых ожогах.

При тяжелых ожогах необходимо осторожно снять с пострадавшего одежду и обувь, лучше разрезав их. Нельзя касаться руками обожженного участка кожи или смазать его какими-либо мазями, маслами, вазелином или растворами. Не следует вскрывать пузыри приставшую к обожженному месту мастику или другие смолистые вещества. Нельзя также отрывать обгоревшие и приставшие куски одежды. Обожженную поверхность следует перевязывать также, как и любую рану. Покрыть стерильным материалом или чистой глаженной поверхностью тряпочкой, а сверху положить слой ваты и все закрепить бинтом.

ИОТВ-22. Первая помощь пострадавшему при отравлении метанолом и нефтяными испарениями.

Пары углеводородов (попутный нефтяной газ). При возникновении признаков удушья, немедленно вынести пострадавшего на свежий воздух, освободить от стесняющей дыхание одежды, по возможности произвести ингаляцию кислородом. Пострадавшему дать обильное питье (молоко, вода, сладкий чай).

При отравлении метанолом немедленно вынести пострадавшего на свежий воздух, освободить от стесняющей дыхание одежды, произвести ингаляцию кислородом. При попадании в желудок - произвести промывку желудка.

ИОТВ-22. Наружный массаж сердца.

Для проведения наружного массажа сердца необходимо уложить пострадавшего спиной на жесткую поверхность, обнажить грудную клетку. Определив положение нижней трети грудины, оказавший помощь кладет на нее верхний край ладони разогнутой до отказа руки, а затем поверх первой руки кладет вторую руку, и накладывает на грудную клетку пострадавшего, слегка помогая при этом наклоном своего корпуса.

Надавливать на грудину следует примерно один раз в секунду быстрым толчком так, чтобы продвинуть нижнюю часть грудины вниз в сторону позвоночника на 3-4 см, а полных людей 5-6 см. После толчка руки остаются в достигнутом положении примерно одну треть секунды, затем снимают с грудной клетки, давая ей возможность расправиться. Одновременно с массажом сердца должно выполняться искусственное дыхание. Вдувание надо производить в промежутках между надавливаниями или же во время специальной паузы, через каждые 4-6 надавливаний.

Если оказавший помощь один, то он обязан чередовать операции: по 2-3 вдувании воздуха должен производить 4-6 надавливаний на грудную клетку.

О восстановлении деятельности сердца у пострадавшего судят по появлению у него собственного, не поддерживаемого массажом регулярного пульса. Для проверки пульса на 2-3 секунды прерывают массаж.

. Знакомство со скважиной, способы бурения, обустройства. Буровая установка. Освоение скважин

 

Рис. 1. Элементы конструкции скважины

Скважиной называется цилиндрическая горная выработка, сооружаемая без доступа в нее человека и имеющая диаметр во много раз меньше ее длины.

Основные элементы буровой скважины (Рис. 1):

Устье скважины (1) - пересечение трассы скважины с дневной поверхностью. Забой скважины (2) - дно буровой скважины, перемещающееся в результате воздействия породоразрушающего инструмента на породу. Стенки скважины (3) - боковые поверхности буровой скважины. Ось скважины (6) - воображаемая линия, соединяющая центры поперечных сечений буровой скважины. Ствол скважины (5) - пространство в недрах, занимаемое буровой скважиной. Обсадные колонны (4) - колонны соединенных между собой обсадных труб. Если стенки скважины сложены из устойчивых пород, то в скважину обсадные колонны не спускают.

В нефтегазовой отрасли бурят скважины следующего назначения:

Эксплуатационные - для добычи нефти, газа и газового конденсата. Нагнетательные - для закачки в продуктивные горизонты воды (реже воздуха, газа) с целью поддержания пластового давления и продления фонтанного периода разработки месторождений, увеличения дебита эксплуатационных скважин, снабженных насосами и воздушными подъемниками. Разведочные - для выявления продуктивных горизонтов, оконтуривания, испытания и оценки их промышленного значения. Специальные - опорные, параметрические, оценочные, контрольные - для изучения геологического строения малоизвестного района, определения изменения коллекторских свойств продуктивных пластов, наблюдения за пластовым давлением и фронтом движения водонефтяного контакта, степени выработки отдельных участков пласта, термического воздействия на пласт, обеспечения внутрипластового горения, газификации нефтей, сброса сточных вод в глубокозалегающие поглощающие пласты. Структурно - поисковые - для уточнения положения перспективных нефтегазоносных структур по повторяющим их очертания верхним маркирующим (определяющим) горизонтам, по данным бурения мелких, менее дорогих скважин небольшого диаметра.

В результате бурения ствола, его последующего крепления и разобщения пластов создается устойчивое подземное сооружение определенной конструкции.

В скважину спускают обсадные колонны определенного назначения: направление, кондуктор, промежуточные колонны, эксплуатационная колонна.

Способы бурения скважин.

По способу воздействия на горные породы различают механическое и немеханическое бурение. При механическом бурении буровой инструмент непосредственно воздействует на горную породу, разрушая ее, а при немеханическом разрушение происходит без непосредственного контакта с породой источника воздействия на нее. Немеханические способы (гидравлический, термический, электрофизический) находятся в стадии разработки и для бурения нефтяных и газовых скважин в настоящее время не применяются. Механические способы бурения подразделяются на ударное и вращательное.

Ударное бурение скважин.

При ударном бурении разрушение горных пород производится долотом 1, подвешенным на канате (рис. 2). Буровой инструмент включает также ударную штангу 2 и канатный замок 3. Он подвешивается на канате 4, который перекинут через блок 5, установленный на какой-либо мачте (условно не показана). Возвратно-поступательное движение бурового инструмента обеспечивает буровой станок 6. По мере углубления скважины канат удлиняют. Цилиндричность скважины обеспечивается поворотом долота во время работы. Для очистки забоя от разрушенной породы буровой инструмент периодически извлекают из скважины, а в нее опускают желонку, похожую на длинное ведро с клапаном в дне. При погружении желонки в смесь из жидкости (пластовой или наливаемой сверху) и разбуренных частиц породы клапан открывается и желонка заполняется этой смесью.

Рис. 2. Схема ударного бурения: 1 - долото; 2 - ударная штанга; 3 - канатный замок; 4 - канат; 5 - блок; 6 - буровой станок

При подъеме желонки клапан закрывается и смесь извлекается наверх. По завершении очистки забоя в скважину вновь опускается буровой инструмент и бурение продолжается. Во избежание обрушения стенок скважины в нее спускают обсадную трубу, длину которой наращивают по мере углубления забоя.

В настоящее время при бурении нефтяных и газовых скважин ударное бурение в нашей стране не применяют.

Нефтяные и газовые скважины сооружаются методом вращательного бурения. При данном способе породы дробятся не ударами, а разрушаются вращающимся долотом, на которое действует осевая нагрузка. Крутящий момент передается на долото или с поверхности от вращателя (ротора) через колонну бурильных труб (роторное бурение) или от забойного двигателя (турбобура, электробура, винтового двигателя), установленного непосредственно над долотом.

Турбобур - это гидравлическая турбина, приводимая во вращение с помощью нагнетаемой в скважину промывочной жидкости.

Электробур представляет собой электродвигатель, защищенный от проникновения жидкости, питание к которому подается по кабелю с поверхности.

Винтовой двигатель - это разновидность забойной гидравлической машины, в которой для преобразования энергии потока промывочной жидкости в механическую энергию вращательного движения использован винтовой механизм.

В обустройство скважины входят:

) подготовительные работы;

) монтаж вышки и оборудования;

) подготовка к бурению;

) процесс бурения;

) крепление скважины обсадными трубами и ее тампонаж;

) вскрытие пласта и испытание на приток нефти и газа.

В ходе подготовительных работ выбирают место для буровой, прокладывают подъездную дорогу, подводят системы электроснабжения, водоснабжения и связи. Если рельеф местности неровный, то планируют площадку.

Монтаж вышки и оборудования производится в соответствии с принятой для данных конкретных условий схемой их размещения. Оборудование стараются разместить так, чтобы обеспечить безопасность в работе, удобство в обслуживании, низкую стоимость строительно-монтажных работ и компактность в расположении всех элементов буровой (рис. 3).

Рис. 3. Типовая схема размещения оборудования, инструмента, запасных частей и материалов на буровой: 1 - буровая вышка; 2 - лебедка; 3 - ротор; 4 - бурильные трубы; 5 - стеллажи; 6 - инструментальная площадка; 7 - площадка отработанных долот; 8 - хозяйственная будка; 9 - площадка глинохозяйства; 10 - площадка ловильного инструмента; 11 - площадка горюче-смазочных материалов; 12 - приемные мостки; 13 - верстак слесаря; 14 - стеллаж легкого инструмента; 15 - очистная система; 16 - запасные емкости; 17 - глиномешалка; 18 - силовой привод; 19 - насосы

Подготовка к бурению включает устройство направления и пробный пуск буровой установки. В ходе пробного бурения проверяется работоспособность всех элементов и узлов буровой установки.

Крепление скважины обсадными трубами и ее тампонаж осуществляются согласно схемы, приведенной на рис. 3. Целью тампонажа затрубного пространства обсадных колонн является разобщение продуктивных пластов. Хотя в процессе бурения продуктивные пласты уже были вскрыты, их изолировали обсадными трубами и тампонированием, чтобы проникновение нефти и газа в скважину не мешало дальнейшему бурению. После завершения проходки для обеспечения притока нефти и газа продуктивные пласты вскрывают вторично перфорационным способом. После этого скважину осваивают, т. е. вызывают приток в нее нефти и газа.

Освоение скважины, в зависимости от конкретных условий, может занимать от нескольких часов до нескольких месяцев.

После появления нефти и газа скважину принимают эксплуатационники, а вышку передвигают на несколько метров для бурения очередной скважины куста или перетаскивают на следующий куст.

Буровые установки.

Буровая установка - это комплекс наземного оборудования, необходимый для выполнения операций по проводке скважины. В состав буровой установки входят (рис. 4):

буровая вышка;

оборудование для механизации спуско-подъемных операций;

наземное оборудование, непосредственно используемое при бурении;

силовой привод;

циркуляционная система бурового раствора;

привышечные сооружения.

Буровая вышка - это сооружение над скважиной для спуска и подъема бурового инструмента, забойных двигателей, бурильных и обсадных труб, размещения бурильных свечей (соединение двух-трех бурильных труб между собой длиной 25-36 м) после подъема их из скважины и защиты буровой бригады от ветра и атмосферных осадков.

Рис. 4. Буровая установка: 1 - долото; 2 - наддолотная утяжеленная бурильная труба; 3 - переводник; 4 - центратор; 5 - муфтовый переводник; 6, 7 - утяжеленные бурильные трубы; 8 - переводник; 9 - предохранительное кольцо; 10 - бурильные трубы; 11 - предохранительный переводник; 12, 14 - переводники штанговые нижний и верхний; 13 - ведущая труба; 15 - переводник вертлюга; 16 - вертлюг; 17 - стояк; 18 - шланг; 19 - крюк; 20 - талевый блок; 21 - вышка; 22 - кронблок; 23 - редуктор; 24 - лебедка; 25 - ротор; 26 - шламоотделитель; 27 - буровой насос

Различают два типа вышек: башенные и мачтовые. Их изготавливают из труб или прокатной стали.

Башенная вышка представляет собой правильную усеченную четырехгранную пирамиду решетчатой конструкции. Ее основными элементами являются ноги, ворота, балкон верхнего рабочего, подкронблочная площадка, козлы, поперечные пояса, стяжки, маршевая лестница.

Вышки мачтового типа бывают одноопорные и двухопорные (Л-образные). Последние наиболее распространены. А-образные вышки более трудоемки в изготовлении и поэтому более дороги. Они менее устойчивы, но их проще перевозить с места на место и затем монтировать.

Оборудование для механизации спуско-подъемных операций включает талевую систему и лебедку. Талевая система состоит из неподвижного кронблока (рис. 5), установленного в верхней части буровой вышки, талевого блока (рис. 6), соединенного с кронблоком талевым канатом, один конец которого крепится к барабану лебедки, а другой закреплен неподвижно, и бурового крюка. Иногда применяют крюкоблоки - совмещенную конструкцию талевого блока и бурового крюка.

Рис. 5. Кронблок: 1 - шкивы; 2 - ось; 3 - рама; 4 - предохранительный кожух; 5 - вспомогательные шкивы

Рис. 6. Талевый блок: 1 - траверса; 2 - шкивы; 3 - ось; 4 - предохранительные кожухи; 5 - щеки; 6 - серьга

На крюке подвешивается бурильный инструмент: при бурении - с помощью вертлюга, а при спускоподъемных операциях - с помощью штропов и элеватора (рис. 7).

Рис. 7. Схема подвешивания бурильной трубы при СПО: а - схема (1 - бурильная труба; 2 - элеватор; 3 - штроп); б - элеватор

Буровая лебедка предназначена для выполнения следующих операций:

) спуска и подъема бурильных и обсадных труб;

) удержания на весу бурильного инструмента;

) подтаскивания различных грузов, подъема оборудования и вышек в процессе монтажа установок и т. п.

Для механизации операций по свинчиванию и развинчиванию замковых соединений бурильной колонны внедрены автоматические буровые ключи АКБ-ЗМ и подвесные ключи ПБК-1, пневматический клиновой захват ПКР-560 для механизированного захвата и освобождения бурильных труб.

Наземное оборудование включает в себя: вертлюг, буровые насосы, напорный рукав и ротор.

Вертлюг - это механизм, соединяющий не вращающиеся талевую систему и буровой крюк с вращающимися бурильными трубами, а также обеспечивающий ввод в них промывочной жидкости под давлением.

Буровые насосы служат для нагнетания бурового раствора в скважину. При глубоком бурении их роль, как правило, выполняют поршневые двухцилиндровые насосы двойного действия. Напорный рукав (буровой шланг) предназначен для подачи промывочной жидкости под давлением от неподвижного стояка к перемещающемуся вертлюгу.

Ротор передает вращательное движение бурильному инструменту, поддерживает на весу колонну бурильных или обсадных труб и воспринимает реактивный крутящий момент колонны, создаваемый забойным двигателем. Во время работы вращательное движение от лебедки с помощью цепной передачи сообщается валу и преобразуется в поступательное вертикальное движение ведущей трубы, зажатой в роторном столе зажимами.

Силовой привод обеспечивает функционирование всей буровой установки - он снабжает энергией лебедку, буровые насосы и ротор.

Циркуляционная система буровой установки служит для сбора и очистки отработанного бурового раствора, приготовления новых его порций и закачки очищенного раствора в скважину.

К привышечным сооружениям относятся:

) помещение для размещения двигателей и передаточных механизмов лебедки;

) насосное помещение для размещения буровых насосов и их двигателей;

) приемные мостки, предназначенные для транспортировки бурового технологического оборудования, инструмента, материалов и запасных частей;

) запасные резервуары для хранения бурового раствора;

) трансформаторная площадка для установки трансформатора;

) площадка для размещения механизмов по приготовлению бурового раствора и хранения сухих материалов для него;

) стеллажи для размещения труб.

Освоение скважин.

Освоение скважины - комплекс технологических операций по вызову притока и обеспечению ее продуктивности, соответствующей локальным возможностям пласта.

Цель освоения - восстановление естественной проницаемости коллектора и получения продукции скважины, соответствующей ее потенциальным возможностям. Все операции по вызову притока и освоению скважины сводятся к созданию на ее забое депрессии, т. е. давления ниже пластового. Причем в устойчивых коллекторах эта депрессия должна быть достаточно большой и достигаться быстро, в рыхлых коллекторах, наоборот, небольшой и плавной.

Способы освоения добывающих скважин.

Тартание - это извлечение из скважины жидкости желонкой, спускаемой на тонком (16 мм) канате с помощью лебедки. Тартание - малопроизводительный, трудоемкий способ с очень ограниченными возможностями применения, так как устьевая задвижка при фонтанных проявлениях не может быть закрыта до извлечения из скважины желонки и каната.

Поршневание - спуск поршня (сваба) на канате в НКТ. При спуске поршня под уровень жидкость перетекает через клапан в пространство над поршнем. При подъеме клапан закрывается, а манжеты, распираемые давлением столба жидкости над ними, прижимаются к стенкам НКТ и уплотняются. За один подъем поршень выносит столб жидкости, равный глубине его погружения под уровень жидкости. Устье при поршневании также остается открытым, что связано с опасностями неожиданного выброса.

Замена скважинной жидкости. Перевод скважины на облегченную жидкость путем промывки водой или дегазированной нефтью. Заменой скважинной жидкости осваиваются скважины с высоким пластовым давлением и при наличии коллекторов, хорошо поддающихся освоению. Замена жидкости в скважине проводится с помощью насосных агрегатов, а иногда и буровых насосов.

Освоение скважин закачкой газированной жидкости - закачка в межтрубное пространство смеси газа с жидкостью (обычно вода или нефть). Плотность такой газожидкостной смеси зависит от соотношения расходов закачиваемых газа и жидкости, что позволяет регулировать параметры процесса освоения.

Освоение скважинными насосами. На истощенных месторождениях с низким пластовым давлением, когда не ожидается фонтанных проявлений, скважины могут быть освоены откачкой из них жидкости скважинными насосами, спускаемыми на проектную глубину в соответствии с предполагаемыми дебитом и динамическим уровнем. При откачке из скважины жидкости насосами забойное давление уменьшается, пока не достигнет величины РС < РПЛ, при которой устанавливается приток из пласта. Такой метод эффективен в тех случаях, когда по опыту известно, что скважина не нуждается в глубокой и длительной депрессии для очистки призабойной зоны от раствора и разрушения глинистой корки.

Компрессорный способ освоения нашел наиболее широкое распространение при освоении фонтанных, полуфонтанных и частично механизированных скважин. В скважину спускается колонна НКТ, а устье оборудуется фонтанной арматурой. К межтрубному пространству присоединяется нагнетательный трубопровод от передвижного компрессора.

При нагнетании газа жидкость в межтрубном пространстве оттесняется до башмака НКТ или до пускового муфты в НКТ, установленной на соответствующей глубине. Газ, попадая в НКТ, разгазирует жидкость в них. В результате давление на забое сильно снижается. При снижении забойного давления ниже пластового начинается приток и скважина переходит на фонтанный, или газлифтный режим работы. Освоение ведется с непрерывным контролем параметров процесса при герметизированном устье скважины. Этот способ позволяет быстро получить значительные депрессии на пласт, что особенно важно для эффективной очистки призабойной зоны скважины. Чтобы оттеснить уровень жидкости до башмака НКТ, особенно при больших глубинах, нужны компрессоры, развивающие давление в несколько десятков мегапаскалей. Это осложняет освоение. Поэтому в колонне труб на заранее определенную глубину спускают пусковые муфты. Опускающийся в межтрубном пространстве уровень жидкости обнажает пусковую муфту, нагнетаемый газ поступает через нее в НКТ и разгазирует столб жидкости выше отверстия.

При освоении скважины компрессором должно быть проведено несколько циклов освоения (до получения ожидаемой продуктивности скважины), во время проведения которых проводятся исследовательские работы по определению притока из пласта - КВУ (кривая восстановления уровня) и КВД (кривая восстановления давления).

После остановки компрессирования необходимо:

не стравливая давления, произвести отбивку уровня жидкости в скважине;

стравить давление до 5,0 атм и приступить к отбивке уровней.

Замеры уровней при исследованиях методом КВУ производятся через 1, 2, 3, 5, 10, 15, 30 минут, в дальнейшем - через каждые 60 минут.

5. Методы добычи нефти и газа. Фонтанный, насосный (ЭЦН, ШСНУ, ШВНУ, УЭДН, ГПНУ и др.)

Фонтанный способ эксплуатации скважины.

При фонтанном способе жидкость и газ поднимаются по стволу скважины от забоя на поверхность только под действием пластовой энергии, которой обладает нефтяной пласт. Этот способ является наиболее экономичным, так как не требует дополнительных затрат энергии на подъем жидкости на поверхность. Кроме того при этом способе не требуется закупка дорогостоящего оборудования, требующего к тому же регулярного обслуживания.

Оборудование фонтанных скважин состоит из колонной головки, фонтанной арматуры и выкидной линии (рис. 8). Это оборудование относится к наземному. Подземное оборудование состоит из колонны насосно-компрессорных труб (НКТ), которые, как правило, спускают до глубины верхних дыр перфорации.

Рис. 8. Устьевая арматура фонтанной скважины

Насосно-компрессорные трубы (НКТ) в фонтанных скважинах служат для подъема жидкости и газа на поверхность, регулирования режима работы скважины, проведения исследовательских работ, борьбы с асфальтосмолопарафиновыми отложениями, осуществления различных геолого-технических мероприятий (ГТМ), предохранения эксплуатационной колонны от коррозии и эрозии, предупреждения и ликвидации песчаных пробок, глушения скважин перед подземным или капитальным ремонтами, предохранения эксплуатационной колонны скважины от высокого давления при различных геолого-технических мероприятиях.

Газлифтный способ эксплуатации скважины.

Газлифтная эксплуатация является продолжением фонтанной эксплуатации, когда пластовая энергия уменьшается настолько, что подъем жидкости на поверхность ею не обеспечивается и возникает необходимость в дополнительной энергии. В качестве дополнительной энергии используется газ высокого давления.

В результате смешивания дополнительно поступающего в скважину газа с пластовой жидкостью образуется газожидкостная смесь пониженной плотностью, что снижает давление на забое скважины. Пониженное забойное давление обеспечивает приток продукции из пласта и подъем газожидкостной смеси на поверхность.

Различают компрессорный газлифт и бескомпрессорный газлифт. Если для сжатия газа до необходимого давления и закачки его в скважину применяются компрессоры, то такой способ эксплуатации называется компрессорным газлифтом. Если в качестве рабочего агента для газового подъемника применяется газ из газовых пластов высокого давления, то в этом случае эксплуатация скважин называется бескомпрессор-ным газлифтом.

Преимущества газлифтной эксплуатации:

все оборудование располагается на поверхности, что упрощает его ремонт и обслуживание;

простота конструкций оборудования;

возможность отбора больших объемов жидкости (до 1800 т/сут) независимо от глубины скважины и диаметра эксплуатационной колонны;

простое регулирование дебита нефти скважины (увеличивая или уменьшая подачу газа в скважину);

возможность эксплуатации пескопроявляющих и обводненных скважин;

простота исследования скважин.

Недостатки газлифтной эксплуатации:

необходимость частой замены НКТ, особенно в обводненных скважинах и в пескопроявляющих скважинах;

низкий КПД подъемника и всей системы компрессор-скважина (при низких динамических уровнях КПД подъемника часто не превышает 5%);

большая стоимость затрат на строительство компрессорных станций, газораспределительных будок и сети газопроводов в начале обустройства месторождений;

большой расход электроэнергии на добычу 1 т нефти при эксплуатации малодебитных скважин с низкими динамическими уровнями.

Насосные способы эксплуатации скважин.

Существуют следующие виды насосной эксплуатации скважин:

установкой штангового глубинного насоса (УШГН);

установкой электроцентробежного насоса (УЭЦН);

установкой электропогружного винтового насоса (УЭВН);

установкой гидропоршневого насоса (ГПНУ) и др.

Установка штангового глубинного насоса (УШГН).

Добыча нефти при помощи штанговых насосов - самый распространенный способ искусственного подъема нефти, что объясняется их простотой, эффективностью и надежностью. Как минимум две трети фонда действующих добывающих скважин эксплуатируются установками ШГН.

Перед другими механизированными способами добычи нефти УШГН имеют следующие преимущества:

обладают высоким коэффициентом полезного действия;

проведение ремонта возможно непосредственно на промыслах;

для первичных двигателей могут быть использованы различные приводы;

установки ШГН могут применяться в осложненных условиях эксплуатации - в пескопроявляющих скважинах, при наличии в добываемой нефти парафина, при высоком газовом факторе, при откачке коррозионной жидкости.

Есть у штанговых насосов и недостатки. К основным недостаткам относятся:

ограничение по глубине спуска насоса (чем глубже, тем выше вероятность обрыва штанг);

малая подача насоса;

ограничение по наклону ствола скважины и интенсивности его искривления (неприменимы в наклонных и горизонтальных скважинах, а также в сильно искривленных вертикальных).

Глубинный штанговый насос (рис. 9) состоит из плунжера, движущегося вверх-вниз по хорошо подогнанному цилиндру. Плунжер снабжен обратным клапаном, который позволяет жидкости течь вверх, но не вниз. Обратный клапан, называемый также выкидным, в современных насосах обычно представляет собой клапан типа шар-седло. Второй клапан, всасывающий, - это шаровой клапан, расположенный внизу цилиндра также позволяет жидкости течь вверх, но не вниз.

Штанговый насос относится к объемному типу насоса, работа которого обеспечивается возвратно-поступательным перемещением плунжера с помощью наземного привода через связующий орган (колонну штанг). Самая верхняя штанга называется полированным штоком, она проходит через сальник на устье скважины и соединяется с головкой балансира станка-качалки с помощью траверсы и гибкой канатной подвески.

Рис. 9. Глубинный штанговый насос

Основные узлы привода УШГН (станка-качалки): рама, стойка в виде усеченной четырехгранной пирамиды, балансир с поворотной головой, траверса с шатунами, шарнирно подвешенные к балансиру, редуктор с кривошипами и противовесами, комплектуются набором сменных шкивов для изменения числа качаний. Для быстрой смены и натяжения ремней, электродвигатель устанавливают на поворотной салазке.

Штанговые насосы бывают вставные (НСВ) и невставные (НСН).

Вставные штанговые насосы спускают в скважину в собранном виде. Предварительно в скважину на НКТ спускается специальное замковое приспособление, а насос на штангах спускают в уже спущенные НКТ. Соответственно для смены такого насоса не требуется лишний раз производить спуск-подъем труб.

Невставные насосы спускаются в полуразобранном виде. Сначала на НКТ спускают цилиндр насоса. А затем на штангах спускают плунжер с обратным клапаном. Поэтому при необходимости замены такого насоса приходится поднимать из скважины сначала плунжер на штангах, а потом и НКТ с цилиндром.

И тот и другой вид насоса имеет как свои преимущества, так и недостатки. Для каждых конкретных условий применяют наиболее подходящий тип. Например, при условии содержания в нефти большого количества парафина предпочтительно применение невставных насосов. Парафин, откладываясь на стенках НКТ, может заблокировать возможность поднятия плунжера вставного насоса. Для глубоких скважин предпочтительнее использовать вставной насос, чтобы снизить затраты времени на спуск-подъем НКТ при смене насоса.

Установка электроцентробежного насоса (УЭЦН).

УЭЦН - установка электроцентробежного насоса. По количеству скважин, в которых работают такие насосы, они уступают установкам ШГН, но зато по объемам добычи нефти, которая добывается с их помощью, УЭЦН вне конкуренции. С помощью УЭЦН добывается порядка 80% всей нефти в России.

В общем и целом УЭЦН - обычный насосный агрегат, только тонкий и длинный. И умеет работать в среде отличающейся своей агрессивностью к присутствующим в ней механизмам. Состоит он из погружного насосного агрегата (электродвигатель с гидрозащитой и насос), кабельной линии, колонны НКТ, оборудования устья скважины и наземного оборудования (трансформатора и станции управления) (рис. 10).

Основные узлы УЭЦН:

ЭЦН (электроцентробежный насос) - ключевой элемент установки, который собственно и осуществляет подъем жидкости из скважины на поверхность. Состоит он из секций, которые в свою очередь состоят из ступеней (направляющих аппаратов) и большого числа рабочих колес собранных на валу и заключенных в стальной корпус (трубу). Основные характеристики ЭЦН - это дебит и напор, поэтому в названии каждого насоса присутствуют эти параметры. Например, ЭЦН-60-1200 перекачивает 60 м3/сут жидкости с напором 1200 метров.

Рис. 10. Установка погружного электроцентробежного насоса: 1 - ПЭД; 2 - гидрозащита; 3 - вх. модуль; 4 - насос; 5 - кабель; 6 - станция управления; 7 - трансформатор

ПЭД (погружной электродвигатель) - второй по важности элемент. Представляет собой асинхронный электродвигатель, заполненный специальным маслом.

Протектор (или гидрозащита) - элемент, расположенный между электродвигателем и насосом. Отделяет электродвигатель, заполненный маслом от насоса заполненного пластовой жидкостью и при этом передает вращение от двигателя к насосу.

Кабель, с помощью которого к погружному электродвигателю подводится электроэнергия. Кабель бронированный. На поверхности и до глубины спуска насоса он круглого сечения (КРБК), а на участке погружного агрегата вдоль насоса и гидрозащиты - плоский (КПБК).

Дополнительное оборудование:

Газосепаратор - используется для снижения количества газа на входе в насос. Если необходимости в снижении количества газа нет, то используется простой входной модуль, через который в насос поступает скважинная жидкость.

ТМС - термоманометрическая система. Градусник и манометр в одном лице. Выдает нам на поверхность данные о температуре и давлении той среды, в которой работает спущенный в скважину ЭЦН.

Вся эта установка собирается непосредственно при ее спуске в скважину. Собирается последовательно снизу вверх не забывая про кабель, который пристегивается к самой установке и к НКТ, на которых все это и висит, специальными металлическими поясами. На поверхности кабель запитывается на устанавливаемые вблизи куста повышающий трансформатор (ТМПН) и станцию управления.

Помимо уже перечисленных узлов в колонне насосно-компрессорных труб над электроцентробежным насосом устанавливаются обратный и сливной клапаны.

Обратный клапан (КОШ - клапан обратный шариковый) используется для заполнения насосно-компрессорных труб жидкостью перед пуском насоса. Он же не позволяет жидкости сливаться вниз при остановках насоса. Во время работы насоса обратный клапан находится в открытом положении под действием давления снизу.

Над обратным клапаном монтируется сливной клапан (КС), который используется для спуска жидкости из НКТ перед подъемом насоса из скважины.

Электроцентробежные погружные насосы имеют значительные преимущества перед глубинными штанговыми насосами:

Простота наземного оборудования;

Возможность отбора жидкости из скважин до 15000 м3/сут;

Возможность использовать их на скважинах с глубиной более 3000 метров;

Высокий (от 500 суток до 2-3 лет и более) межремонтный период работы ЭЦН;

Возможность проведения исследований в скважинах без подъема насосного оборудования;

Менее трудоемкие методы удаления парафина со стенок насосно-компрессорных труб.

Электроцентробежные погружные насосы могут применяться в глубоких и наклонных нефтяных скважинах (и даже в горизонтальных), в сильно обводненных скважинах, в скважинах с йодо-бромистыми водами, с высокой минерализацией пластовых вод, для подъема соляных и кислотных растворов. Кроме того, разработаны и выпускаются электроцентробежные насосы для одновременно-раздельной эксплуатации нескольких горизонтов в одной скважине со 146 мм и 168 мм обсадными колоннами. Иногда электроцентробежные насосы применяются также для закачки минерализованной пластовой воды в нефтяной пласт с целью поддержания пластового давления.

Установка электропогружного винтового насоса УЭВН.

Установка винтового погружного электронасоса состоит из электродвигателя, гидрозащиты, насоса, кабеля, оборудования устья скважины, автотрансформатора и станции управления. Установка винтового погружного насоса состоит из тех же узлов, что и установка погружного центробежного насоса. Вместо центробежного насоса здесь используется винтовой насос. В установках погружных винтовых электронасосов (УЭВН) применяются четырехполюсные погружные электродвигатели с частотой вращения 1500 об/мин.

Погружной винтовой насос (рис. 11) состоит из следующих основных узлов и деталей: пусковой муфты 1, с помощью которой вал насоса через вал протектора соединяется с валом погружного электродвигателя; эксцентриковых муфт 2 и 5; правых и левых обойм 3 и 6 с винтами 4 и 7; предохранительного клапана 8 и трубы 9. Рабочими органами винтового насоса являются однозаходные стальные винты и резинометаллические обоймы, внутренняя полость которых представляет собой двухзаходную винтовую поверхность с шагом, в 2 раза большим шага винта. Жидкость на прием насоса поступает через фильтровые сетки. Винты соединены между собой эксцентриковой муфтой. Между винтом и обоймой образуются свободные полости, или камеры. При вращении винта они заполняются перекачиваемой жидкостью, которая при последующем вращении винта герметически замыкается и поступает вдоль оси винта в насосно-компрессорные трубы.

При вращении винта непрерывно открываются и замыкаются полости, образуемые винтом и обоймой.

Во время работы насоса винт совершает сложное движение. Винтовой насос объемного действия, и его теоретическая подача прямо пропорциональна частоте вращения винта. При условии, что винт, вращаясь в осевом направлении, не перемещается, жидкость, заполняющая впадины винтовой полости обоймы, будет поступать из одной впадины в другую в соответствии с шагом винта. За один оборот винт два раза перекроет камеры в обойме, т.е. вытеснит из нее две определенные порции жидкости. На промыслах погружные винтовые насосы применяются для скважин со 146 мм и 168 мм обсадными колоннами производительностью 40, 80 и 100 м3/сут.

Рис. 11. Схема установки гидропоршневого насоса

Один и тот же погружной винтовой насос позволяет эффективно эксплуатировать скважину при различных динамических уровнях.

Погружной винтовой электронасос, сочетая в себе положительные качества центробежного и поршневого насосов, обеспечивает плавную, непрерывную подачу жидкости без пульсации, с постоянным высоким к.п.д. при большом диапазоне изменения давления. Особенностью винтовых насосов является значительное улучшение параметров с увеличением вязкости перекачиваемой жидкости. Эти насосы наиболее эффективны при добыче вязкой нефти.

Большим преимуществом винтового насоса является то, что он обеспечивает стабильные параметры при добыче нефти с высоким газовым фактором и попадание свободного газа на прием насоса не приводит к срыву подачи насоса.

При работе погружного винтового насоса не происходит интенсивного эмульгирования жидкости.

Установка гидропоршневого насоса (ГПНУ).

Установка гидропоршневого насоса (рис. 12) состоит из погружного оборудования и силового насоса 2, емкости для отстоя жидкости 1 и трапа 3 для очистки. Погружное оборудование состоит из насосной установки, представляющей собой гидравлический двигатель и насос 6, поршни которого жестко соединены штоком.

Для эксплуатации скважины гидропоршневым насосом в нее спускают два ряда концентрически расположенных насосно-компрессорных труб 4 и 5 диаметрами 63 и 102 мм, на концах которых находится седло, плотно посаженное в посадочный конус 7.

Насос спускают в трубу диаметром 63 мм, прижимают к посадочному седлу струей жидкости, нагнетаемой сверху силовым насосом, и приводят в действие при помощи золотникового устройства, расположенного между двигателем и самим насосом. Вместе с поршнем двигателя возвратно-поступательное движение совершает поршень насоса и откачивает жидкость из скважины, которая вместе с рабочей жидкостью по кольцевому пространству поднимается на поверхность.

Смена погружного агрегата производится без подъема насосно-компрессорных труб. Поднимают агрегат из скважины под действием рабочей жидкости, которая подается в кольцевое пространство под агрегат и выдавливает его, поднимая до устьевой головки, где его захватывает ловитель. С помощью гидропоршневого насоса можно поднимать жидкость с больших глубин (до 4000 м) с дебитом до 20 м3/сут. К.п.д. гидропоршневой установки достигает 0,6.

К недостаткам гидропоршневых установок относится необходимость около каждой скважины устанавливать емкости для рабочей жидкости и специального силового насоса.

Рис. 12. Схема установки гидропоршневого насоса

6. Замерные установки АГЗУ «Спутник А»

Автоматизированные групповые замерные установки предназначены для автоматического измерения дебита скважин, газового фактора и содержания воды в добываемой продукции при однотрубной системе сбора нефти и газа, для контроля за работой скважин и насосного оборудования по наличию подачи жидкости, а также для контроля за герметичностью нефтесборного трубопровода от куста до ДНС по величине давления в АГЗУ.

Наиболее распространены автоматизированные групповые замерные установки «Спутник АМ-40-400» и массоизмерительные установки типа «ОЗНА-Массомер Е (К)», которые, главным образом, отличаются количеством подключаемых скважин.

Блочная установка типа «Спутник АМ-40-400» предназначена для автоматического измерения количества нефти и газа и контроля за работой скважин по подаче жидкости, выдаче через контроллер системы телемеханики на диспетчерский пункт сигнала максимального и минимального давления в нефтесборном трубопроводе от куста до ДНС.

Оборудование групповой установки рассчитывается на подключение и сбор продукции с 8-14 скважин.

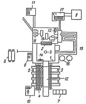
Продукция, поступающая со скважины, замеряется периодически для каждой скважины (рис. 13).

Рис. 13. Схема измерения дебита скважины на групповой установке

Продукция скважин по сборным коллекторам (11) через обратные клапаны (8) и линии задвижек (18) поступает в переключатель (1) ПСМ (переключатель скважин многоходовой). При помощи переключателя ПСМ продукция одной из скважин направляется через задвижку (28) в сепаратор (5), а продукция остальных скважин направляется в общий трубопровод (12) через задвижку на нефтесборном коллекторе (на схеме условно не показана).

В сепараторе происходит отделение газа от жидкости. Режим работы замерной установки может быть с циклическим или непрерывным сливом жидкости из замерного сепаратора. Жидкость поступает в сепаратор через задвижку (28). Ее уровень контролируется поплавком (2), который через рычажную систему связан с заслонкой (17). При низком уровне жидкости в сепараторе заслонка открыта и выделившийся газ через газовую линию через расходомер газа (при его наличии) поступает в общий трубопровод, а жидкость накапливается в нижней емкости сепаратора. При достижении уровня жидкости в сепараторе настроенного значения заслонка (17) закрывается и в сепараторе начинает возрастать давление.

Регулирование расхода жидкости в замерной установке обеспечивает регулятор расхода РР.

Регуляторы применяются двух основных видов: регулятор расхода типа Ха 2.573 с импульсными трубками, соединяющими клапан с сосудом и линией после заслонки (17), и регуляторы расхода типа МПК-10В или РПД-1 без импульсных трубок. В обоих случаях при достижении перепада давления на клапане настроенного значения (обычно от 0,7 до 1,2 кг/см2), происходит открытие клапана и слив жидкости из сепаратора через расходомер жидкости. При снижении уровня жидкости до открытия заслонки (или падении давления в сепараторе вследствие снижения уровня и малого поступления газа) перепад давления уменьшается (обычно до 0,2-0,3 кг/см2), клапан закрывается и происходит следующий цикл набора уровня жидкости в сепаратор или повышения давления (если заслонка не открылась) для следующего слива жидкости.

Если поступление жидкости в сепаратор велико (обычно более 150 м3/сут), уровень может не успевать снижаться до открытия заслонки, в этом случае установка работает в режиме непрерывного слива жидкости из замерного сепаратора, что является штатным режимом при обеспечении минимального мгновенного расхода через расходомер ТОР-1-50 5 м3/ч (120 м3/сут).

Для предотвращения превышения давления в сосуде (5) на нем установлен предохранительный клапан СППК (4). СППК срабатывает при давлении в сосуде выше допустимого, и жидкость из сосуда (5) поступает в дренажную линию.

Эксплуатируемые в ОАО «Сургутнефтегаз» замерные установки оснащены расходомерами ТОР (классические АГЗУ) и массовыми кориолисовыми расходомерами Micro Motion (массоизмерительные установки).

Счетчик ТОР выдает на контроллер телемеханики импульсы, которые суммируются контроллером и передаются на диспетчерский пункт.

Управление переключателем скважин осуществляется по системе телемеханики, через кустовой контроллер (КП). При срабатывании реле управления ГП включается электродвигатель гидропривода (3) и в системе гидравлического управления ГП повышается давление. Привод переключателя ПСМ, под воздействием давления гидропривода ГП, перемещает поворотный патрубок переключателя, и на замер подключается следующая скважина.

Время измерения дебита каждой скважины задается путем записи значения в кустовой контроллер с диспетчерского пункта через систему телемеханики. Оно определяется инженером-технологом ЦДНГ в зависимости от дебита скважин, способов добычи, состояния разработки месторождения и др. с учетом рекомендаций, приведенных в методике выполнения измерений (МВИ) замерной установки и OCT 39-114-80.

Замерные установки оборудованы электрическим освещением, обогревателями и принудительной вентиляцией (или дефлекторами для естественной вентиляции). Помещение БМА или ПКУ имеет естественную вентиляцию и электрические обогреватели.

Все оборудование смонтировано на металлическом основании, на котором по периметру рамы крепятся панели укрытия. Внутренняя полость панелей заполняется теплоизоляционным материалом и обшивается металлическими листами.

Замерные установки производят замеры дебита жидкости (и газа) в автоматическом режиме, при этом замер жидкости, сделанный за заданный промежуток времени, пересчитывается к суткам. Замер дебита скважин, работающих в периодическом режиме, производится по специальному алгоритму, обеспечивающему замер количества жидкости (и газа), добытой со скважины с момента запуска до момента остановки с учетом наработки за сутки.

При отсутствии возможности выполнения автоматических замеров дебита по причине отсутствия напряжения на БМА, отсутствия напряжения в АГЗУ и т.п. возможно проведение ручного замера дебита с использованием индикаторного табло счетчика ТОР.

Для проведения ручного замера дебита скважин действующего добывающего фонда с помощью автоматизированной замерной групповой установки АГЗУ оператор цеха добычи нефти и газа должен:

. Отключить автомат питания электропривода переключателя скважин ГП-1, расположенного в силовом щите блока местной автоматики БМА.

. С помощью переключателя скважин многоходового ПСМ в АГЗУ переключить измеряемую скважину через соответствующий отвод ПСМ на сепарационную емкость.

. Для стабилизации потока жидкости измеряемой скважины произвести 2-3 цикла набора уровня и слива жидкости через счетчик ТОР и клапан-регулятор.

. Снять показания накопительного счетчика жидкости QНАЧ (л).

. С помощью секундомера замерить время (tЗАМ (с)) не менее 5 циклов набора уровня и слива жидкости через счетчик ТОР и клапан-регулятор. Начало и окончание времени замера фиксировать в момент открытия клапана регулятора для слива.

. Зафиксировать показания накопительного счетчика жидкости QКОН (л).

. Произвести расчет среднесуточного дебита (м3/сут) по формуле:


. После проведения ручного замера дебита скважин включить автомат питания электропривода переключателя скважин ГП-1, расположенного в силовом щите блока местной автоматики БМА.

7. Заводнение пластов. Система ППД. Состав оборудования КНС

На месторождениях, разрабатываемых при нагнетании воды, может применяться несколько видов заводнения: законтурное, внутриконтурное, очаговое, площадное, избирательное, барьерное.

Законтурное и приконтурное заводнение применяется для небольших залежей с хорошими коллекторскими свойствами (рис. 14).

Рис. 14. Законтурное и приконтурное заводнение.

Внутриконтурное заводнение имеет целый ряд разновидностей.

Блоковое заводнение: нефтяную залежь разрезают на полосы (блоки) рядами нагнетательных скважин, в пределах которых размещают ряды добывающих скважин такого же направления (рис. 15).

Ширину блоков выбирают от 4 до 1,5 км, в соответствии с коллекторскими свойствами пласта. Количество рядов добывающих скважин в блоке - 3 (трехрядное) и 5 (пятирядное заводнение).

Рис. 15. Блоковое заводнение

Осевое заводнение: применяется для узких вытянутых залежей (рис. 16).

Центральное заводнение: применяется для небольших залежей круглой формы (рис. 17).

Рис. 16. Осевое заводнение

Рис. 17. Центральное заводнение

Кольцевое заводнение: применяется для больших круглых залежей (рис. 18).

Очаговое и избирательное заводнение: используется для усиления воздействия на слабовыработанные участки залежи (рис. 19).

Барьерное заводнение: применяется для изоляции газовой шапки от нефтяной части залежи (рис. 20).

Рис. 18. Кольцевое заводнение

        

Рис. 19. Очаговое и избирательное

Рис. 20. Барьерное заводнение заводнение

Площадное заводнение: разновидность внутриконтурного заводнения, при котором в условиях общей равномерной сетки скважин нагнетательные и добывающие скважины чередуются в строгой закономерности, установленной проектным документом на разработку. Эта система разработки обладает большей активностью по сравнению с вышеуказанными системами. Применяют несколько вариантов формы сеток и взаимного расположения нагнетательных и добывающих скважин, при которых системы разработки характеризуются различной активностью, т.е. разной величиной отношения количеств нагнетательных и добывающих скважин. Самыми распространенными являются 5-, 7-, 9-точечная системы (рис. 21 а, б, в).

а)                                   б)                                 в)

Рис. 21. Схемы размещения скважин при площадном заводнении: а - 5-точечная система; б - 7-точечная система; в - 9-точечная система

Пунктиром выделены симметричные элементы. Для целей повышения охвата пласта воздействием получило развитие нестационарное заводнение (в отличие от стационарного - постоянного по объемам и направлению потоков закачиваемой жидкости во времени) и циклическоое заводнение, заключающееся в изменении направления потоков и объемов закачиваемой и добываемой жидкости.

Поддержание пластового давления (ППД).

Естественные режимы залегания залежей нефти недолговечны.

Процесс снижения пластового давления ускоряется по мере наращивания отборов жидкостей из пласта. И тогда, даже при хорошей связи залежей нефти с контуром питания, его активным воздействием на залежь, неминуемо начинается истощение пластовой энергии. Это сопровождается повсеместным снижением динамических уровней жидкости в скважинах и, следовательно, уменьшением отборов.

Система ППД должна обеспечить:

проектный объем закачки рабочего агента в пласты под необходимым давлением по отдельным нагнетательным скважинам, эксплуатационным объектам, по месторождению в целом;

физико-химические свойства воды, закачиваемой в пласт, устойчивую приемистость пласта, высокую отмывающую способность и совместимость с пластовой водой, породой коллектора и вытесняемой нефтью;

исключение возможности аварийных залповых выбросов нефтепродуктов из аппаратов подготовки нефти;

достоверный учет закачки рабочего агента по отдельным скважинам, эксплуатационным объектам и месторождению в целом;

возможность систематического измерения рабочего давления, приемистости каждой скважины, а также качества рабочего агента;

создание резерва поглощающих скважин, в случае если количество попутной воды на месторождении больше необходимого для ППД;

безопасное осуществление технологических операций без загрязнения недр и окружающей среды;

подготовку закачиваемого в пласты рабочего агента по составу, физико-химическим свойствам, содержанию механических примесей, нефти, микроорганизмов и кислорода до кондиций, предусмотренных проектом разработки.

Качество воды, закачиваемой в пласты, обеспечивается отстоем в резервуарах или емкостях типа ОВ, РВС и т.п., в том числе с гидрофобными жидкостными фильтрами, обработкой во флотационных установках и доочисткой в кустовых модулях тонкой очистки (МТО). МТО представляют собой гидроциклоны, фильтры и т.п., встроенные в кустовые распределительные гребенки воды для исключения поступления продуктов коррозии водоводов в нагнетательные скважины.

В таблице 1 представлены ориентировочные нормы содержания механических примесей и нефтепродуктов в закачиваемой воде

Таблица 1.

Проницаемость пласта, мД

Качество закачиваемой воды

Оборудование, обеспечивающее требуемое качество воды


концентрация, мг/л

допустимый условный диаметр ТВВ, мкм

нефтепродуктов



Высокая (более 50)

20-25

25-30

менее 12

ОВ, РВС

Средняя (15-50)

5-10

10-15

менее 7

ОВ (РВС) + Флотаторы

Низкая (менее 15)

менее 5

менее 10

менее 5

+МТО


Состав оборудования КНС.

Кустовые насосные станции оборудуются насосами различных типов: АЯП, 5МС7Х10; 6МС7Х10 и др. В последнее время разработаны центробежные насосы специально для поддержания пластового давления. Некоторые технические характеристики этих насосов приведены ниже:

ЦНС-150 Х 100, z = 8, Q == 150 м3/ч, P = 10,0 МПа

ЦНС-150 Х 125, z = 0, Тоже P =12,5 МПа

ЦНС-150 Х 150, z =12, » P = 15,0 МПа

ЦНС-150 Х 175, z =14, » P = 17,5 МПа

ЦНС-150 Х 200, z =16, » P = 20,0 МПа

Размеры насосов, м: длина - 2,5 - 3,3; ширина - 1,5; высота - 1,5; масса, т - 4-5,5.

Номинальное давление (Р) этих насосов соответствует режиму наивысшего коэффициента полезного действия. Расчетный к. п. д. насосов - 0,7; частота вращения вала n = 3000 об/мин. Насосы допускают подпор 0,8 - 3 МПа и при некотором снижении подачи развивают повышенное давление (насос ЦНС-150 Х 200 при Q = 100 м3/ч развивает давление до 25 МПа).

Насосы изготавливаются в так называемом черном и нержавеющем (НЖ) исполнении (проточная часть выполнена из нержавеющей стали) для перекачки агрессивных сточных вод.

Привод насосов - синхронный электродвигатель мощностью от 700 до 1500 кВт с массой до 6,5 т и напряжением электропитания 3 кВ (электродвигатели СТД). В последнее время созданы так называемые блочные кустовые насосные станции - БКНС, изготавливающиеся индустриальным; способом и доставляющиеся на место установки в виде отдельных блоков, число которых определяется проектируемой производительностью. На месте установки они монтируются с помощью мощных автокранов. Основной блок представляет собой раму из таврового проката, на которой установлены насос, двигатель с масляной системой и другими элементами. Кроме основных блоков в состав БКНС входят вспомогательные блоки, в которых размещаются электрические распределительные устройства, распределительная гребенка напорного коллектора, низковольтное оборудование и блок для управления и автоматики. БКНС, созданные на базе насоса ЦНС-150Х150, рассчитаны на подачу 3600, 7200 и 10800 м3/сут. В соответствии с этим в состав БКНС входит один, два или три рабочих насоса ЦНС-150Х150 и, кроме того, в обязательном порядке один насос резервный (табл. 2).

Таблица 2. Основные характеристики БКНС

Блок

Шифр блока

Масса с оборудованием,т

Размеры, м

Число блоков при числе насосов





2

3

4

Насосный крайний (резервный)

НБ-1

19

9,8х3,1х3

1

1

1

Насосный средний (рабочий)

НБ-2

18

9,8х3х3

1

2

3

Низковольтный

А-1

10

9,8х3х3

1

1

1

Блок управления и автоматики

А-2

10

9,8х3х3

1

1

1

Распределительная гребенка напорного коллектора

БГ-1

9,85

6,2х3х3

2

2

2

Электрическое распределительное устройство

РУ-6


9х7,5х4,2

1

1

1


БКНС не лишены известных недостатков. К их числу относится повышенная вибрация вследствие отсутствия фундамента, в результате которой может наблюдаться смещение блоков (сползание) на слабых грунтах. Кроме того, при ремонте насосов, их разборке и смене возникает необходимость снятия крышки кабины, а также использования для этих целей автокранов. Несмотря на эти недостатки, БКНС позволили сильно сократить сроки строительно-монтажных работ при сооружении системы ППД и осуществлять поддержание пластового давления на ранних стадиях разработки месторождения, не допуская существенного снижения пластового давления. Современные КНС и БКНС - высокоавтоматизированные объекты системы ППД. Они могут работать практически без обслуживающего персонала при периодической проверке функционирования отдельных элементов и узлов оборудования. Это достигается благодаря использованию местной автоматики, с помощью которой контролируют важнейшие узлы и элементы оборудования. Контроль работы КНС осуществляется с помощью унифицированного блока местной автоматики БМА-19.

Кроме того, станция БМА-19 предусматривает возможность автоматического пуска резервного насоса при заданном снижении давления в нагнетательной гребенке. Выкидные линии автоматизированной КНС должны быть снабжены дистанционно управляемыми задвижками высокого давления с электроприводами, а также обратными клапанами.

. Повышение нефтеотдачи пластов. Технические мероприятия для воздействия на призабойную зону пласта

Методы повышения нефтеотдачи пластов.

По виду воздействия геолого-технические мероприятия разделены на 14 групп методов повышения нефтеотдачи пласта, входящих в три класса.класс - работы КРС, ПРС и ЦДНГ:

- технические мероприятия при ПРС и ЦДНГ,

- работы при КРС,

- работы при освоении,

- переводы и приобщения;класс - ОПЗ (обработка призабойной зоны):

- кислотные методы,

- изоляционные методы,

- перфорационные методы,

- комбинированные методы,

- депрессионные методы,

- газовые методы;класс - МУН (методы увеличения нефтеотдачи):

- физические методы,

- химические методы,

- гидродинамические методы,

- тепловые методы.

Кислотные методы.

К кислотным методам относятся технологии на основе кислот с добавками ПАВ, гидрофобизаторов.

Солянокислотная обработка (СКО) основана на способности соляной кислоты проникать вглубь пласта, растворяя карбонатные породы. В результате на достаточно большое расстояние от ствола скважин простирается сеть расширенных каналов, что значительно увеличивает фильтрационные свойства пласта и приводит к повышению продуктивности скважин.

Глинокислотная обработка (ГКО) наиболее эффективна на коллекторах, сложенных из песчаников с глинистым цементом, и представляет собой смесь плавиковой и соляной кислот. При взаимодействии ГКО с песчаником или песчано-глинистой породой растворяются глинистые фракции и частично кварцевый песок. Глина утрачивает пластичность и способность к разбуханию, а ее взвесь в воде теряет свойство коллоидного раствора.

Изоляционные методы.

На завершающих стадиях разработки большое значение имеет ограничение притоков пластовой и закачиваемой воды. Для этой цели применяются различные методы ремонтно-изоляционных работ, в результате которых не только уменьшается обводненность продукции, но и повышается охват пласта процессом выработки запасов. Наиболее часто применяется изоляция обводненных пропластков или ликвидация заколонной циркуляции. В том случае, когда происходит прорыв воды по отдельным высокопроницаемым пропласткам, практически не отделенных глинистыми перемычками от необводненных интервалов, используется метод селективной (избирательной) изоляции.

Перфорационные методы.

Перфорационные методы - это создание в обсадной колонне отверстий для сообщения между скважиной и пластом для извлечения пластового флюида, а также для закачки в пласт воды, газа и др. агентов. В настоящее время широко применяется кумулятивная перфорация, однако существенным ее недостатком является ударное воздействие на обсадную колонну и связанные с этим негативные последствия - нарушение целостности цементного кольца ниже и выше интервала перфорации, что приводит к заколонным перетокам, если поблизости находятся водонефтяные слои.

При использовании кумулятивной перфорации, особенно в терригенных песчаниках, в приствольной части пласта образуется стекло и происходит уплотнение прилегающей горной породы, что жестко кольматирует призабойную зону. При щелевой перфорации скважин двухсторонним щелевым перфоратором с двумя режущими дисками вскрывают колонну методом пластической деформации металла. Перфоратор с твердыми режущими дисками совершает возвратно-поступательные движения. Диски создают механическую нагрузку на обсадную трубу, вызывая усталость металла. При постепенном увеличении давления через некоторое время металлическая стенка трубы деформируется с образованием щелей по линиям механической нагрузки. Давление вскрытия колонны создается гидравлической системой с помощью рабочей жидкости. Одновременно в обсадной колонне образуются две диаметрально расположенные щели. Щелевая перфорация скважин является невзрывной технологией вскрытия обсадных колонн и отвечает современным требованиям эксплуатации скважин.

Комбинированные методы.

Для комплексного воздействия по интенсификации притока с целью восстановления и улучшения фильтрационной характеристики призабойной зоны, снижения вязкости флюидов, увеличения трещиноватости пород, а также удаления парафина и смол применяют комбинированные методы, т.е. в сочетании друг с другом или последовательно проводимые технологии ОПЗ. Выбор технологии воздействия на призабойную зону скважины определяется пластовыми условиями и геологическим строением.

Депрессионные методы.

К депрессионным методам воздействий относятся технологии интенсификации добычи нефти методом регулируемых депрессионных воздействий, предназначенных для повышения производительности низкодебитного и реанимации простаивающего фонда скважин с применением комплекса оборудования. Сущность способа заключается в создании по вскрытому разрезу скважины полного диапазона депрессионных воздействий в режиме «набор - сброс».

Газовые методы.

К технологиям газовых методов относятся:

. Воздействие газом высокого давления (углеводородным газом, азотом, дымовыми газами);

. Водогазовое воздействие;

. Воздействие двуокисью углерода;

. Метод смешивающегося вытеснения на фронте вытеснения.

Газовые методы вытеснения нефти - наиболее эффективные методы повышения нефтеотдачи, особенно для низкопроницаемых коллекторов или разработке глубокозалегающих нефтяных месторождений с высокими давлением и температурой. Для реализации смешивающегося вытеснения потенциальным агентом может служить азот или топливные (дымовые) газы, основной составной частью которых является азот. Эффективности процесса вытеснения нефти азотом может способствовать возможность создания в залежах высоких давлений нагнетания. Дымовые газы для повышения нефтеотдачи получают, как правило, в результате сжигания природного газа. Широкомасштабное внедрение газовых методов сдерживается из-за отсутствия отечественного оборудования для реализации данного метода.

Физические методы.

Физические методы предназначены для инициирования фильтрации флюидов в низкопроницаемых зонах путем разупрочнения кольматирующего материала, глинистых включений и очистки поровых каналов коллектора, а также устранения блокирующего влияния остаточных фаз газа, нефти и воды.

К физическим методам относятся:

вторичное вскрытие;

акустическое воздействие;

низкочастотное воздействие;

гидровоздействие;

вибровоздействие.

Одним из эффективных методов физического воздействия на низкопроницаемые пласты является гидравлический разрыв пласта (ГРП). Метод ГРП отличается от других физических методов тем, что действие его приводит к коренному изменению фильтрационных зон пласта на большом расстоянии от ствола скважины, а не только в призабойной зоне пласта, в результате чего значительно увеличивается дренируемая зона и повышается производительность скважины. По видам и технологиям гидравлический разрыв пласта распределяется следующим образом.

Вид ГРП:

стандартный;

объемный;

многообъемный;

многоэтапный;

кислотный.

Технологии ГРП:

стандартный;

экраноустанавливающий;

с технологической остановкой;

в горизонтальных скважинах (боковых стволах);

с циклической закачкой проппанта;

в боковых стволах;

струйный;

селективный;

- пенный;

TSO (Tip Screen Out);

- метод концевого экранирования.

Химические методы.

В основе всех химических методов увеличения нефтеотдачи пластов лежит заводнение, т.е. вода - основной компонент, к которому добавляются химические реагенты. В настоящее время применяется более 30 технологий химического воздействия, входящих в три группы:

) методы, направленные на увеличение коэффициента вытеснения нефти из пористой среды путем улучшения нефтеотмывающих свойств закачиваемой воды;

) методы, направленные на повышение охвата залежи воздействием воды;

) методы комплексного воздействия на залежь, позволяющие одновременно увеличить как коэффициент вытеснения нефти, так и охват пласта воздействием.

В технологиях первой группы применяются химические реагенты, улучшающие нефтеотмывающие свойства воды: ПАВ, щелочи и растворители.

Процесс вытеснения основан на снижении межфазного натяжения на границах раздела фаз.

Технологии второй группы связаны с ограничением движения воды. При этом применяются методы, позволяющие отключить обводненный пласт или пропласток из разработки либо снизить проницаемость обводненных зон пласта для воды. Резкому обводнению подвергаются пласты, имеющие лучшие коллекторские характеристики, поэтому из разработки исключаются, в первую очередь, наиболее проницаемые пропластки и пласты, по которым вода прорывается в добывающую скважину. Основными технологиями для повышения фильтрационного сопротивления обводненных зон коллектора являются полимерные системы с дисперсными наполнителями, или сшивателями. Широко применяются эмульсионные составы, а также осадко- или гелеобразующие композиции.

К технологиям комплексного воздействия относятся совместные закачки первой и второй групп или комбинированные технологии.

Гидродинамические методы.

К ним относятся:

нестационарное заводнение;

форсированный отбор жидкости;

вовлечение в разработку недренируемых запасов;

барьерное и очаговое заводнение.

К первой группе относятся методы, которые осуществляются через изменение режимов эксплуатации скважин и, как следствие, через изменение режимов работы пласта. Эти методы объединяются общим понятием «нестационарное заводнение» и включают в себя:

циклическое заводнение;

изменение направления фильтрационных потоков.

Они сравнительно просты в реализации, не требуют больших экономических затрат и получили широкое развитие. Методы основаны на периодическом изменении режима работы залежи путем прекращения и возобновления закачки воды и отбора, за счет чего более полно используются капиллярные и гидродинамические силы. Это способствует внедрению воды в зоны пласта, ранее не охваченные воздействием.

Форсированный отбор жидкости применяется на поздней стадии разработки, когда обводненность достигает более 75%. При этом нефтеотдача возрастает вследствие увеличения градиента давления и скорости фильтрации. При этом методе вовлекаются в разработку участки пласта, не охваченные заводнением, а также отрыв пленочной нефти с поверхности породы. Форсированный отбор - наиболее освоенный метод повышения нефтеотдачи. Приступать к нему следует постепенно, увеличивая дебит отдельных скважин на 30-50%, а затем - в 2-4 раза. Предельное значение увеличения отбора регламентируется возможностями используемого способа эксплуатации скважин. Для осуществления форсированного отбора необходимы насосы высокой подачи или использование газлифта.

Эксплуатация газонефтяных месторождений осложняется возможными прорывами газа к забоям добывающих скважин, что значительно усложняет, вследствие высокого газового фактора, их эксплуатацию. Суть барьерного заводнения состоит в том, что нагнетательные скважины располагают в зоне газонефтяного контакта. Закачку воды и отборы газа и нефти регулируют таким образом, чтобы исключить взаимные перетоки: нефти - в газовую часть залежи, а газа - в нефтяную часть.

Очаговое заводнение - это дополнение к уже осуществленной системе законтурного заводнения или внутриконтурного. При этом группы нагнетательных скважин размещаются на участках пласта, отстающих по интенсивности использования запасов нефти.

Тепловые методы.

При вязкости нефти более 50 мПа·с приоритетными методами повышения нефтеотдачи пластов являются тепловые. При вводе тепла в продуктивный пласт происходит термическое расширение нефти, ослабляются структурно-механические свойства и снижается вязкость. При прогреве призабойной зоны АСПО расплавляются и выносятся потоком нефти на поверхность.

Среди тепловых методов воздействия на нефтяные пласты выделяют следующие направления:

вытеснение нефти паром;

закачка горячей воды;

внутрипластовое горение.

9.  Подземный ремонт скважин. Виды ремонта

При эксплуатации скважин любого назначения (нефтяных, газовых, нагнетательных и др.), так же, как и при эксплуатации любого другого инженерного сооружения, необходимо периодически их ремонтировать. Комплекс работ, связанных со спуском в скважины и подъемом труб, штанг, насосов или каких-либо инструментов, называется подземным ремонтом.

Подземный ремонт скважин в зависимости от вида и сложности работ условно разделяют на текущий и капитальный.

Текущий ремонт.

К текущему подземному ремонту относятся: замена насосов, замена труб и штанг или изменение характера их подвески, очистка скважин от песчаной пробки, несложные ловильные работы (ловля оборвавшихся штанг и других предметов в колонне насосно-компрессорных труб). Эти работы выполняют бригады по подземному ремонту скважин, организуемые на каждом предприятии по добыче нефти и газа.

Рассмотрим операции по очистке ствола скважин от песчаных пробок.

Нормальная эксплуатация скважин иногда нарушается вследствие образования песчаных пробок на забое. Для возобновления эксплуатации скважины, в которой образовалась песчаная пробка, следует удалить весь скопившийся песок. В неглубоких скважинах песчаные пробки небольшой мощности в основном удаляют желонками.

Обычная желонка представляет собой трубу диаметром 75-100 мм с тарельчатым или шариковым клапаном на нижнем конце и с дужкой для прикрепления каната на верхнем. Длина такой трубы обычно не превышает 8-12 м.

Желонку спускают в скважину на канате. Когда до пробки остается 10- 15 м, тормоз лебедки отпускают и желонка под действием силы тяжести ударяется о песчаную пробку. При этом клапан открывается, и некоторое количество песка входит в желонку. Для большего наполнения желонки ею несколько раз ударяют о пробку. Чтобы опорожнить желонку, ее надо поставить клапаном на какой-либо острый стержень, укрепленный в полу буровой; при этом клапан откроется и из желонки выйдет вся грязь.

Кроме простой желонки используются желонки поршневого действия, в которых захват песка с забоя скважины происходит в результате создания вакуума в ее рабочей полости при движении поршня вверх. Применяют также автоматические желонки, принцип действия которых основан на создании резкого перепада давления на забое скважины и в рабочей полости желонки.

Очистка ствола скважины от песчаных пробок желонками - длительная и малоэффективная операция: за каждый рейс желонки на поверхность извлекается небольшое количество песка. Кроме того, при этом изнашивается канат, портится эксплуатационная колонна в результате трения об нее каната. Предпочтительнее удалять песчаную пробку из скважины промывкой.

Способ ликвидации песчаных пробок в скважинах промывкой их водой или нефтью заключается в следующем. В скважину до пробки спускают колонну промывочных труб. Через эти трубы или по затрубному пространству под давлением прокачивается жидкость. Под действием струи пробка размывается. Размытая порода вместе со струей жидкости поднимается по кольцевому пространству между эксплуатационной колонной и колонной промывочных труб или непосредственно по трубам.

Способ промывки, при котором промывочная жидкость нагнетается в трубы, а смесь размытой породы и жидкости выходит на поверхность по межтрубному пространству между обсадной колонной и промывочными трубами, называется прямой промывкой. При обратной промывке промывочная жидкость нагнетается в кольцевое пространство между эксплуатационной колонной и промывочными трубами, а размытая порода поднимается по подъемным трубам.

В качестве промывочных труб используют обычные насосно-компрессорные трубы.

Для промывки скважин применяют передвижные насосы, смонтированные на автомашине или на тракторе и работающие от их двигателя. Такие установки называются промывочными агрегатами. При промывке скважин агрегат устанавливают непосредственно у скважины, а подачу жидкости регулируют переключением скоростей его двигателя.

Более сложные работы, связанные с ликвидацией аварий с подземным оборудованием (ловля и извлечение оборванных труб), исправлением поврежденных эксплуатационных колонн, изоляцией вод, переходом на другой эксплуатационный объект, относятся к категории капитального ремонта скважин. Такие работы выполняют специализированные бригады по капитальному ремонту скважин. Эти же бригады обычно выполняют все операции по обработке призабойных зон (гидравлический разрыв пласта, гидропескоструйная перфорация, кислотная обработка скважин, виброобработка и др.).

Капитальный ремонт.

К капитальному ремонту скважин относятся наиболее сложные виды подземных ремонтов, часто требующих применения специального оборудования: буровых станков, турбобуров, бурильных труб, цементировочных агрегатов и т. п.

Наиболее характерные работы при капитальном ремонте скважин - это ремонтно-изоляционные, ремонтно-исправительные, ловильные.

Ремонтно-изоляционные работы заключаются в ликвидации прорыва в скважину посторонних вод: верхних или нижних по отношению к эксплуатируемому нефтяному горизонту или пропластку. Приток посторонней воды в скважину обычно ликвидируют цементированием ствола скважины в заданном интервале.

При прорыве верхних вод осуществляется цементирование затрубного пространства под давлением. В случае притока подошвенных вод применяют различные способы изоляции: обычное цементирование нижней части скважины с подъемом фильтровой зоны на вышезалегающие слои, задавливание в пласт цементных растворов, гидроразрыв пласта с последующим задавливанием в пласт реагента, образующего при взаимодействии с пластовой водой водонепроницаемую зону и т. п. Для всех видов цементирования используют тампонажный цемент такого же качества, что и при бурении. Количество воды, применяемое при затворении цемента, обычно составляет 40-50 % массы сухого цемента. Перед каждым цементированием предварительно рассчитывают требуемое количество цементного раствора и воды, необходимой для его продавливания в пласт.

Ремонтно-исправительные работы включают в себя: исправление смятий, сломов и трещин в колоннах и замену испорченной части колонны.

Причины повреждения эксплуатационных колонн бывают различными. Колонна на каком-то участке может быть ослаблена из-за уменьшения толщины стенки трубы или дефекта в резьбовом соединении. В этом месте обязательно скажется разрушительное действие напора вод или давление породы. Резкое снижение уровня жидкости в скважине, вследствие чего внешнее давление может превысить допустимое, также может привести к повреждению колонны. Кроме того, в процессе эксплуатации скважины при выносе из ее призабойной зоны большого количества песка могут происходить обвалы породы, залегающей выше дренируемого пласта, что также приводит к смятию и слому колонны.

Смятые участки колонны выправляются справочными долотами или специальными оправками, спускаемыми в скважину на бурильных трубах. Если дефект в колонне устранить долотами не удается, то участок смятия офрезовывают плоскими или коническими фрезерами. Выправленный участок укрепляют цементным кольцом, для чего за колонну под давлением нагнетают цементный раствор.

Ловильные работы по извлечению оборвавшихся труб и упавшего инструмента занимают особое место в капитальном ремонте. Наиболее сложны работы по захвату и извлечению труб, так как колонна насосно-компрессорных труб, упавшая в скважину, при ударе о забой изгибается по всей длине и заклинивается в эксплуатационной колонне. Кроме того, иногда трубы при ударе о забой ломаются в нескольких местах и располагаются в скважине рядами. Трубы могут также врезаться в песчаную пробку на забое, если она имеется в скважине. Для захвата и извлечения упавших труб существует большое количество разнообразных ловильных инструментов: крючки, пауки, колокола, труболовки, овершоты, метчики и т. п.

Рис. 22. Ловитель ЛШ-1: а - ловитель заряжен; б - штанга захвачена

На рис. 22 приведена схема работы ловителя ЛШ-1. Чтобы извлечь оставленные в скважине трубы после захвата их каким-либо инструментом, часто приходится прикладывать большие усилия. Поэтому при ловильных работах применяют толстостенные бурильные трубы, характеризующиеся большим сопротивлением на разрыв. Подъемным механизмом при ловильных работах служит стационарная буровая лебедка или тракторный подъемник.

Работы по ликвидации скважин после прекращения их эксплуатации также относятся к капитальным подземным работам. В таких скважинах, как правило, вырезают и извлекают спущенные в них обсадные трубы, а ствол цементируют, заливают глинистым раствором или засыпают глиной (в зависимости от геологических особенностей скважины).

10. Мероприятия по охране окружающей среды

Законодательство в области охраны окружающей среды основывается на Конституции Российской Федерации и следующих федеральных законах и кодексах:

Водный кодекс Российской Федерации от 03.06.2006 №74-ФЗ;

Земельный кодекс Российской Федерации от 25.10.2001 №136-ФЗ;

Воздушный кодекс Российской Федерации от 19.03.1997 №60-ФЗ;

Лесной кодекс Российской Федерации от 04.12.2006 №200-ФЗ;

Федеральный закон от 10.01.2002 №7-ФЗ «Об охране окружающей среды»;

Федеральный закон от 24.06.98 №89-ФЗ «Об отходах производства и потребления»;

Федеральный закон от 04.05.99 №96-ФЗ «Об охране атмосферного воздуха»;

Федеральный закон от 30.03.99 №52-ФЗ «О санитарно- эпидемиологическом благополучии населения»;

Федеральный закон от 24.04.95 №52-ФЗ «О животном мире».

иные нормативно-правовые акты (постановления, законы, приказы) Российской Федерации и субъектов Российской Федерации, принимаемые в соответствии с вышеуказанными законами.

Основные принципы охраны окружающей среды.

Хозяйственная и иная деятельность, оказывающая воздействие на окружающую среду, должна осуществляться на основе следующих принципов:

соблюдение права человека на благоприятную окружающую среду;

обеспечение благоприятных условий жизнедеятельности человека;

охрана, воспроизводство и рациональное использование природных ресурсов как необходимые условия обеспечения благоприятной окружающей среды и экологической безопасности;

платность природопользования и возмещение вреда окружающей среде;

презумпция экологической опасности планируемой хозяйственной и иной деятельности;

обеспечение снижения негативного воздействия хозяйственной и иной деятельности на окружающую среду в соответствии с нормативами в области охраны окружающей среды, которого можно достигнуть на основе использования наилучших существующих технологий с учетом экономических и социальных факторов;

ответственность за нарушение законодательства в области охраны окружающей среды.

Природопользователи обязаны соблюдать экологические, санитарные и иные требования, установленные законо-дательством Российской Федерации в области охраны окружающей среды и здоровья человека.

Основными принципами экологической политики ОАО «Сургутнефтегаз» являются:

постоянное совершенствование природоохранной деятельности и системы экологического управления на предприятиях компании;

достижение уровня промышленной и экологической безопасности, соответствующего современным международным нормам и требованиям;

сокращение количества и снижение токсичности выбросов, сбросов загрязняющих веществ и отходов при увеличении объемов производства за счет внедрения наилучших существующих технологий, достижений науки и техники;

рациональное использование природных ресурсов, основанное на внедрении природо- и ресурсосберегающих технологий;

систематический контроль соблюдения требований промышленной и экологической безопасности;

экологический мониторинг природной среды в регионах деятельности компании;

снижение техногенной нагрузки на окружающую среду вновь вводимых объектов за счет качественной подготовки предпроектной и проектной документации;

постоянное повышение уровня компетентности персонала в вопросах охраны окружающей среды;

открытость общественно значимой информации об экологической деятельности компании.

Объектами охраны окружающей среды от загрязнения, истощения, деградации, порчи, уничтожения и иного негативного воздействия хозяйственной и иной деятельности являются:

земли, недра, почвы;

поверхностные и подземные воды;

леса и иная растительность, животные и другие организмы и их генетический фонд;

атмосферный воздух, озоновый слой атмосферы и околоземное космическое пространство.

В первоочередном порядке охране подлежат естественные экологические системы, природные ландшафты и природные комплексы, не подвергшиеся антропогенному воздействию.

Особой охране подлежат объекты, включенные в Список всемирного культурного наследия и Список всемирного природного наследия, государственные природные заповедники, в том числе биосферные, государственные природные заказники, памятники природы, исконная среда обитания, места традиционного проживания и хозяйственной деятельности коренных малочисленных народов Российской Федерации, объекты, имеющие особое природоохранное, научное, историко-культурное, эстетическое, рекреационное, оздоровительное и иное ценное значение, а также редкие или находящиеся под угрозой исчезновения почвы, леса, иная растительность, животные и другие организмы и места их обитания.

Особый режим хозяйственной и иных видов деятельности установлен для водоохранных зон водных объектов (территория, примыкающая к береговой линии рек, ручьев, озер, водохранилищ) в целях предотвращения загрязнения, засорения, заиления и истощения вод, а также сохранения среды обитания объектов животного и растительного мира.

Нормирование в области охраны окружающей среды осуществляется в целях государственного регулирования воздействия хозяйственной и иной деятельности на окружающую среду, гарантирующего сохранение благоприятной окружающей среды и обеспечение экологической безопасности.

В целях предотвращения негативного воздействия на окружающую среду хозяйственной и иной деятельности для юридических природопользователей устанавливаются следующие нормативы допустимого воздействия на окружающую среду:

нормативы допустимых выбросов и сбросов веществ и микроорганизмов; нормативы образования отходов производства и потребления и лимиты на их размещение;

нормативы допустимых физических воздействий (количество тепла, уровни шума, вибрации, ионизирующего излучения, напряженности электромагнитных полей и иных физических воздействий);

нормативы допустимого изъятия компонентов природной среды;

нормативы допустимой антропогенной нагрузки на окружающую среду.

Список использованной литературы

1. Справочник мастера по добыче нефти, газа и конденсата. Том 1. Сургут: рекламно-издательский информационный центр «Нефть Приобья» ОАО «Сургутнефтегаз», 2010. - 352 с.

. Справочник мастера по добыче нефти, газа и конденсата. Том 2. Сургут: рекламно-издательский информационный центр «Нефть Приобья» ОАО «Сургутнефтегаз», 2010. - 384 с.

. Памятка оператору по добыче нефти и газа. 2010 г. Справочное пособие. - Сургут: рекламно-издательский информационный центр «Нефть Приобья» ОАО «Сургутнефтегаз», 2010. - 148 с., 51 илл.

. Вадецкий Ю.В. Бурение нефтяных и газовых скважин, том 1. М. - 2004.

. Кудинов В.И. Основы нефтегазопромыслового дела, том 1. Москва - Ижевск. - 2005. - 720 с.

. Лысенко В.Д. Разработка нефтяных месторождений, том 1. - М: Недра. - 2009.

. Руководящие документы и стандарты ОАО «Сургутнефтегаз».

. Методическое руководство по оценке технологической эффективности геолого-технических мероприятий. - Тюмень. - 2008 г.

. Андреев В.В., Уразаков К.Р., Данилов В.У. Справочник по добыче нефти / Под редакцией Уразакова К.Р. - М.: ООО «Недра-Бизнесцентр». - 2000. - 374 с.

. Мищенко И.Т. Скважинная добыча нефти: Учебное пособие для вузов. - М.: М71 ФГУП «Издательство «Нефть и газ» РГУ нефти и газа им.И.М.Губкина. - 2003. - 816 с.

. Ивановский В.Н. и др. Оборудование для добычи нефти и газа. - М.: ВНИИОНГ. - 2000.

. Основы нефтепромыслового дела: Справочное пособие / Под редакцией Матвеева С.Н. - Сургут: Нефть Приобья. - 2004.

. Ибрагимов Г.З., Артемьев В.Н. Техника и технология добычи и подготовки нефти и газа. - Москва. - 2005.

. Ривкин П.Р. Техника и технологии добычи и подготовки нефти на нефтепромыслах. - Уфа. - 2007.

. Андреев В.В., Уразаков К.Р. Справочник по добыче нефти. - Москва. - 2002.

. Лопухов А.Н. Справочник инженера по добыче нефти. - Нижневартовск. 2008.

. Правила безопасности в нефтяной и газовой промышленности ПБ 08-624-03.

. Правила ведения ремонтных работ в скважинах РД 153-39-023-97.

. Технические условия на ведение монтажных работ при текущем, капитальном ремонте, освоении и испытании cкважин после бурения. Утверждены главным инженером ОАО «Сургутнефтегаз». - 2008.

. Административный регламент Ростехнадзора. Административный регламент Федеральной службы по экологическому, технологическому и атомному надзору по исполнению государственной функции по выдаче разрешений на применение конкретных видов (типов) технических устройств на опасных производственных объектах. Утвержден приказом Ростехнадзора от 29.02.2008 №112.

. ГОСТ 12.0.004-90 ССБТ. Организация обучения безопасности труда. Общие положения.

. Федеральный закон от 21.11.95 №170-ФЗ «О пожарной безопасности».

. Федеральный закон от 21.07.97 №116-ФЗ «О промышленной безопасности опасных производственных объектов».

. Коршак А.А., Шаммазов А.М. - Основы нефтегазового дела: Учебник для вузов. - 3 изд., испр. и доп. - Уфа.: ООО «Дизайнполиграфсервис», 2005 г. - 528 с.

Похожие работы на - Характеристика нефтедобывающего предприятия 'Сургут-нефтегаз'

 

Не нашли материал для своей работы?
Поможем написать уникальную работу
Без плагиата!
Без нейросетей!