Технологии изготовления монокристалла германия
КУРСОВАЯ
РАБОТА
Технологии
изготовления монокристалла германия
Введение
монокристалл расплав
германий
Полупроводники как особый класс веществ были известны ещё с
конца XIX века, только развитие теории твёрдого тела позволило понять их особенность.
Полупроводниками называют вещества, обладающие электронной проводимостью,
занимающей промежуточное положение между металлами и изоляторами. От металлов
они отличаются тем, что носители электрического тока в них создаются тепловым
движением, светом, потоком электронов и т.п. Без теплового движения (вблизи
абсолютного нуля) полупроводники являются изоляторами. С повышением температуры
электропроводность полупроводников возрастает и при расплавлении носит
металлический характер.
В настоящее время насчитывается свыше двадцати различных
областей, в которых с помощью полупроводников разрешаются важнейшие вопросы
эксплуатации машин и механизмов, контроля производственных процессов, получения
электрической энергии, усиления высокочастотных колебаний и генерирования
радиоволн, создания с помощью электрического тока тепла или холода, и для
осуществления многих других процессов.
Большинство используемых в настоящее время материалов создано
в результате исследований, основанных на экспериментально найденных закономерностях.
К таким материалам, используемым в микроэлектронике, относится германий, ещё
незадолго не находивший применения в технике.
Применение германия стало возможным, когда его удалось
практически нацело очистить от примесей. В полупроводниковой технике, важнейшей
области применения, германий исключителен в виде монокристаллических слитков
ультравысокой чистоты. Практический интерес к германию возник в период второй
мировой войны в связи с развитием полупроводниковой электроники. Промышленное
производство высокочистого германия для этой отрасли техники было организовано
в 1945-1950 гг.
Германий как полупроводник используют, главным образом, в
полупроводниковой электронике для изготовления кристаллических выпрямителей
(диодов) и усилителей (триодов или транзисторов).
В настоящее время на основе германия созданы и
эксплуатируются выпрямители не только для радиотехнических схем, но и мощные
выпрямители для переменного тока обычной частоты. Они отличаются высоким к.п.д.
(~ 95%), работают при плотностях тока, намного превышающих допустимые плотности
тока для селеновых и другого типа выпрямителей, и имеют малые размеры.
Германиевые транзисторы широко применяют для усиления,
генерирования или преобразования электрических колебаний в телемеханике,
электронно-вычислительной технике, радарных установках. Мощные ВЧ- и
СВЧ-приборы с германиевыми триодами применяют в выходных каскадах бортовой
аппаратуры ракет, в схемах генерации, усиления и переключения электрических
сигналов, в блоках радиолокационных установок. В ядерной технике используют
германиевые детекторы гамма-излучения.
В радиотехнике применяют германиевые плёночные сопротивления.
Тонкая плёнка германия, нанесённая на стекло термической диссоциацией
моногермана или галогенида, обладает сопротивлением от 1000 Ом до нескольких
мегаомов.
Подобно другим полупроводникам, германий применяют для
изготовления тиристоров. Германий используют для изготовления фотоэлементов с
запирающим слоем и термоэлементов в приборах инфракрасной оптики (германий
прозрачен для ИК-лучей в области длин волн 2-20 мкм). Среди других областей
следует упомянуть: применение диоксида германия для изготовления оптического
стекла с высоким коэффициентом преломления; потребление германия в производстве
катализаторов, используемых при изготовлении искусственного волокна;
использование сплавов германия с медью и с платиной для изготовления
высокочувствительных термопар.
Также данный материал получил применение в оптике для
изготовления призм, фильтров, объективов, зеркал и других устройств. Известны случаи
использования германия в теплопеленгаторах, в системах навигации воздушных и
космических аппаратов.
В данной курсовой работе рассмотрены технологии изготовления
монокристалла германия, особенности различных способов получения, достоинства и
недостатки, а также проблемы, возникающие в этом процессе.
1. Выращивание кристаллов из расплава
Все технологические методы выращивания монокристаллов из
расплавов можно разделить на две группы: а) тигельные методы; б) беcтигельные
методы.
Выращивание кристаллов из расплава в настоящее время является
наиболее распространенным промышленным процессом, так как по сравнению с
другими методами методы выращивания из расплава обладают наивысшей
производительностью. Это обусловлено тем, что в расплавах диффузионные процессы
в жидкой фазе (диффузия к фронту кристаллизации компонентов кристаллизующейся
фазы) не являются лимитирующей стадией процесса. С помощью этих методов можно
получать достаточно чистые кристаллы Ge и Si с высокими скоростями роста (до 10
мм/ч).
Недостатки методов выращивания кристаллов из расплава:
использование высоких температур роста, что в ряде случаев может создавать
проблемы при контроле температурных градиентов, необходимых для выращивания
кристаллов высокого структурного совершенства. Высокие температуры требуют
также более высоких энергетических затрат при росте и способствуют загрязнению
расплава, если он находится в тигле.
Методы направленной кристаллизации подразделяются на три
группы: методы нормальной направленной кристаллизации; методы вытягивания
из расплава; методы зонной плавки.
2. Методы нормальной направленной кристаллизации
В методах нормальной направленной кристаллизации заготовка
расплавляется целиком, а затем расплав кристаллизуется с одного конца. Рост
кристалла, таким образом, происходит в контакте со стенками тигля, содержащего
расплав. Переохлаждение на фронте кристаллизации осуществляют путем перемещения
тигля с расплавом относительно нагревателя, или нагревателя относительно тигля.
В зависимости от расположения тигля с материалом различают горизонтальный и
вертикальный методы нормальной направленной кристаллизации. Вертикальный метод
получил название метода Бриджмена (рис. 1, а).
Рис. 1. Схема выращивания кристаллов методом нормальной направленной
кристаллизации расплавов: а - вертикальная модификация (метод
Бриджмена); б - горизонтальная модификация (метод Багдасарова)
Оборудование, необходимое для проведения процесса нормальной
направленной кристаллизации, включает: 1) тигель заданной формы, изготовленный
из материала, химически стойкого по отношению к расплаву и газообразной среде,
в котором проводится процесс кристаллизации; 2) печь, обеспечивающую создание
заданного теплового поля; 3) систему регулирования температуры печи и механического
перемещения контейнера или нагревателя.
Итак, предварительно тщательно очищенный исходный материал
загружают в тигель и расплавляют; процесс проводят в вакууме или в нейтральной
атмосфере в герметичной камере. Затем начинается охлаждение расплава, причем
наиболее интенсивному охлаждению подвергается оттянутый заостренный участок
тигля: здесь зарождаются центры кристаллизации (рис. 1). Заостренный конец
используется с целью увеличения вероятности образования только одного центра
кристаллизации, поскольку объем расплава, находящегося в заостренной части
тигля, невелик. Кроме того, в случае образования нескольких центров
кристаллизации один из них, имеющий наиболее благоприятную ориентацию для
роста, подавляет рост остальных зародышей. С течением времени по мере
перемещения тигля с расплавом относительно нагревателя фронт кристаллизации
перемещается в сторону расплава и постепенно весь расплав в тигле
закристаллизовывается.
Следует заметить, что в данном случае процессы зарождения и
роста не контролируются с достаточной степенью точности, они зависят от формы
фронта кристаллизации, от материала и качества изготовления тигля и
всевозможных изменений условий роста. Особо следует остановиться на сильной
зависимости совершенства выращиваемого кристалла от материала тигля. Для
получения чистых кристаллов с минимальным количеством собственных дефектов
необходимо выполнение следующих жестких требований, предъявляемых к свойствам
материала тигля. Расплав и материал тигля не должны вступать в химическую
реакцию. Расплав не должен смачивать стенки тигля, а после кристаллизации
сцепляться с ним. Теплопроводность и тепловое расширение обоих материалов
должны быть близки. Тигель должен обладать достаточной термической и
механической прочностью. В качестве материала для изготовления тиглей наиболее
часто применяют стекло, плавленный кварц, высокочистый графит, оксид алюминия
(алунд), платину, нитрид алюминия.
. Метод Бриджмена
Суть данного метода заключается в том, что зарождающиеся в
нижней части тигля с расплавом монокристаллы служат затравкой. Тигель
опускается в более холодную зону печи. Нижняя часть тигля - коническая.
Скорость выращивания - также несколько мм/час.
4. Метод Вернейля
Метод Вернейля реализуется путем просыпки маленьких порций
порошковой шихты в трубчатую печь, где эта шихта расплавляется во время падения
в кислородно - водородном пламени и питает каплю расплава на поверхности
затравки. Затравка при этом вытягивается постепенно вниз, а капля пребывает на
одном и том же уровне по высоте печи.
Преимущества:
· отсутствие флюсов и дорогостоящих
материалов тиглей;
· отсутствие необходимости точного контроля
температуры;
· возможность контроля за ростом
монокристалла.
Недостатки:
· из-за высокой температуры роста кристаллы
имеют внутренние напряжения;
· стехиометрия состава может нарушаться
вследствие восстановления компонентов водородом и испарения летучих веществ.
Скорость выращивания - несколько мм/час.

На рисунках показан принцип выращивания монокристаллов по
методу Вернейля и установочное оборудование.
5. Метод зонной плавки
Зонная плавка заключается в прогонке зоны расплава по длине
заготовки монокристалла, одновременно в зоне расплава концентрируются примеси и
происходит очистка кристалла, конечную часть которого затем удаляют. Нагрев
осуществляется индукционным, радиационно-оптическим или другим методом.
Схема устройства для зонной плавки:
- затравка, 2 - расплав, 3 -
поликристаллический слиток, 4 - нагреватель (стрелкой показано
направление движения нагревателя).
Система
для индукционной зонной плавки германия
.
Гидротермальное выращивание
Гидротермальный метод выращивания кристаллов используется для
выращивания кристаллов, которые трудно или невозможно вырастить другими
методами, так как наиболее близко имитирует процессы образования минералов в
природе. В основе его лежит тот факт, что при высоких температурах (до 700°С) и
давлениях (до 3000 атм.) водные растворы солей способны активно растворять
соединения, практически нерастворимые при нормальных условиях. Для
гидротермального выращивания кристаллов используют специальные прочные стальные
сосуды - автоклавы, способные выдержать такие экстремальные давления и
температуры.
Наиболее распространенной является модификация
гидротермального метода, называемая методом перекристаллизации в условиях
положительного температурного градиента. Суть его заключается в следующем:
На дне автоклава, нагреваемого снизу и охлаждаемого сверху,
размещается растворяемое вещество - шихта. Над ней расположены затравки
(пластины, выпиленные по определенному направлению из кристалла выращиваемого
вещества). В автоклаве создается разность температур (нижняя зона более
горячая), чему способствует диафрагма - перегородка с отверстиями, разделяющая
верхнюю и нижнюю зоны. Раствор циркулирует между гранулами шихты, насыщаясь
веществом выращиваемого кристалла. Одновременно происходит нагревание
гидротермального раствора. Горячий (и потому - более легкий) раствор поступает
в верхнюю часть автоклава, где остывает.
Растворимость кристаллизуемого вещества с понижением
температуры снижается, избыток растворенного вещества отлагается на затравки.
Холодный высокоплотный обедненный раствор опускается в нижнюю часть автоклава и
цикл повторяется. Процесс ведется до полного переноса вещества шихты на
затравки. В результате этих процессов и растет кристалл. Скорость выращивания
составляет от долей мм до нескольких мм в сутки. Выращиваемые монокристаллы обычно
имеют высокое качество и характерную кристаллографическую огранку, т.к. растут
в условиях более или менее близких к равновесным.
7. Метод Чохральского
Метод Чохральского - метод выращивания кристаллов путём
вытягивания их вверх от свободной поверхности большого объёма расплава с
инициацией начала кристаллизации путём приведения затравочного кристалла (или
нескольких кристаллов) заданной структуры и кристаллографической ориентации в
контакт со свободной поверхностью расплава.
Может использоваться для выращивания кристаллов элементов и
химических соединений, устойчивых при температурах плавления-кристаллизации.
За время промышленного использования (с 1950-х годов) были
разработаны различные модификации метода Чохральского. Так, для выращивания
профилированных кристаллов используется модификация метода Чохральского,
называемая методом Степанова. Модификация наиболее известна применительно к
выращиванию сапфира и кремния.
В иностранной литературе для обозначения материалов,
полученных методом Чохральского, а также для самого технологического процесса и
оборудования, используемого для выращивания слитков этим методом, используется
аббревиатура «CZ» (от англ. CZochralski Zone - ср. с FZ - Float
Zone). Например: англ. «CZ-puller» или нем. «Die Ofen für CZ-Kristallzuechtung» установка для
выращивания материала методом Чохральского), «CZ-ingot» (кристалл, выращенный
методом Чохральского) и т.д.
История
Метод был разработан польским химиком Яном Чохральским и
первоначально использовался им для измерения степени кристаллизации металлов
(олово, цинк, свинец).
По некоторым сведениям, Чохральский открыл свой знаменитый
метод в 1916 году, когда случайно уронил свою ручку в тигель с расплавленным
оловом. Вытягивая ручку из тигля, он обнаружил, что вслед за металлическим
пером тянется тонкая нить застывшего олова. Заменив перо ручки микроскопическим
кусочком металла, Чохральский убедился, что образующаяся таким образом
металлическая нить имеет монокристаллическую структуру. В экспериментах,
проведённых Чохральским, были получены монокристаллы размером около одного
миллиметра в диаметре и до 150 см длиной. Чохральский изложил суть своего
открытия в статье «Новый метод измерения степени кристаллизации металлов»,
опубликованной в немецком журнале «Zeitschrift für
Physikalische Chemie» (1918).
В 1950 сотрудники американской корпорации Bell Labs Тил
(Gordon K. Teal) и Литтл (J.B. Little) использовали метод Чохральского для
выращивания монокристаллов германия высокой чистоты, положив тем самым начало
использованию метода Чохральского для промышленного производства
полупроводниковых кристаллов, который в то время использовался главным образом
для производства транзисторов.
Характеристики
метода
Метод относят к тигельным, поскольку при выращивании
используются контейнеры из материалов, устойчивых к расплаву и атмосфере
установки. При выращивании кристаллов из тигля происходит загрязнение расплава
материалом.
Метод характеризуется наличием большой открытой площади
расплава, поэтому летучие компоненты и примеси активно испаряются с поверхности
расплава. Соответственно, содержанием летучих легирующих компонентов управляют,
изменяя давление и / или состав атмосферы в ростовой установке. Концентрация
кислорода и равномерность её распределения в готовом слитке являются важными
параметрами, поэтому давление и скорость протока над расплавом аргоновой
атмосферы, обычно подбирают экспериментально и регулируют в течение всего
процесса.
Для обеспечения более равномерного распределения температуры
и примесей по объёму расплава затравочный кристалл и тигель с расплавом
вращают, причём обычно в противоположных направлениях. Несмотря на это,
вращения в заведомо неоднородном тепловом поле всегда приводят к появлению на
поверхности слитка мелкой винтовой нарезки. Более того, в случае
неблагоприятных условий роста помимо винтовой нарезки на поверхности сам слиток
может расти в форме штопора (коленвала). Аналогичная картина и с распределением
примесей: несмотря на вращения, вдоль фронта кристаллизации всегда остаётся
неподвижная область расплава переменной толщины, в которой транспорт
компонентов расплава (например, примесей) осуществляется медленно,
исключительно за счёт диффузии. Это обусловливает неравномерность распределения
компонентов расплава по диаметру слитка (по сечению). Дополнительным фактором, оказывающим
влияние на распределение примесей по сечению, являются устойчивые и не
устойчивые турбулентные вихри в расплаве при выращивании слитков большого
диаметра.
Метод отличается наличием большого объёма расплава, который
по мере роста слитка постепенно уменьшается за счёт формирования тела
кристалла. При росте кристалла на фронте кристаллизации постоянно происходит
оттеснение части компонентов в расплав. Расплав постепенно обедняется
компонентами, более интенсивно встраивающимися в кристалл, и обогащается
компонентами, оттесняемыми при росте кристалла. По мере роста концентрации
компонента в расплаве его концентрация повышается и в кристалле, поэтому
распределение компонентов по длине слитка неравномерно (для кристаллов германия
характерно повышение концентраций углерода и легирующих примесей к концу
слитка). Кроме того, при уменьшении объёма расплава уменьшается площадь
контакта расплава с материалом тигля, что уменьшает поступление загрязнений из
тигля в расплав.
Выращивание кристалла идёт со свободной поверхности расплава,
не ограничивается стенками контейнера (тигля), поэтому кристаллы, полученные
методом Чохральского, менее напряжены, чем кристаллы, полученные другими
тигельными методами. Форма кристалла близка к цилиндрической, но при этом
проявляются искажения, определяемые тепловыми условиями выращивания, скоростью
вытягивания, кристаллической структурой и кристаллографической ориентацией
выращиваемого слитка. Так, бездислокационные слитки германия, выращиваемые в
ориентации [111], всегда имеют выраженную огранку, т.е. на цилиндре как правило
формируется одна чёткая грань, как если бы с цилиндра срезали сегмент высотой
до 1/6 диаметра слитка, и две нечётких грани, как если бы с цилиндра срезали
сегмент высотой в несколько миллиметров. Бездислокационные слитки германия,
выращиваемые в направлении [100], при значительном переохлаждении стремятся
приобрести выраженную квадратную огранку, причём снижение скорости вытягивания
способствует проявлению огранки. Чрезмерное повышение скорости вытягивания и / или
переохлаждение расплава нередко приводят к тому, что слиток приобретает более
или менее винтообразную форму (твистинг).
Инициация процесса выращивания производится путём введения в
расплав затравочного кристалла необходимой структуры и кристаллографической
ориентации. При смачивании затравки расплавом из-за поверхностного натяжения в
жидкости на поверхности затравочного кристалла сначала образуется тонкий слой
неподвижного расплава. Атомы в этом слое выстраиваются в упорядоченную
квазикристаллическую решётку, продолжающую кристаллическую решётку затравочного
кристалла. Таким образом, выращиваемый слиток получает ту же кристаллическую
структуру, что и исходный затравочный кристалл.
Этапы
метода
1. Приготавливается навеска шихты и помещается в
контейнер (тигель). В случае больших навесок (десятки и сотни килограмм)
навеску стараются формировать из небольших кусочков (от 10 до 50 мм), чтобы
исключить разрушение контейнера и выплёскивание части расплава: при плавлении
твёрдые куски, остающиеся в верхней части навески, в какой-то момент начинают
проседать и падать в расплав. Формирование навески из более мелких фракций
навески нецелесообразно, поскольку не достигая температуры плавления частицы
могут спекаться, образуя массивное тело. Особенно небезопасным может быть
плавление мелкоизмельчённых многокомпонентных навесок, поскольку в зонах
контакта частиц могут образовываться спайки.
2. При необходимости в установке создаётся атмосфера с
необходимыми параметрами (для монокристаллического кремния - это нейтральная
аргоновая атмосфера с давлением не более 30 Торр).
. Навеска шихты расплавляется, при этом подвод энергии
ведётся преимущественно снизу и с боков контейнера. Это связано с тем, что при
оплавлении навески сверху вниз расплавленный материал будет стекать вниз и
кристаллизоваться на более холодной шихте с риском разрушения стенок
контейнера.
. Выставляется такое положение уровня расплава
относительно нагревателя, при котором создаются необходимые условия для начала
кристаллизации исключительно в центре расплава вблизи от его поверхности.
Строго говоря, классический метод Чохральского, применительно к выращиванию
слитков германия диаметром свыше 50 мм, имеет ещё одну зону локального
переохлаждения вблизи зоны контакта трёх фаз (расплав-тигель-атмосфера), однако,
в отсутствие затравочных центров, кристаллизация в этой области не начинается.
При этом в ростовой установке возникают (определяемые конструкцией теплового
узла) квазистационарные условия с определённым градиентом температурного поля,
обеспечивающим возникновение и поддержание устойчивых ламинарных потоков
расплава. Отмечено, что на кристаллах больших диаметров, помимо ламинарных
перемешивающих потоков в объёме расплава, вблизи фронта кристаллизации
дополнительно формируется некоторое нечётное количество турбулентных вихрей,
отвечающих за неравномерность распределения примесей в зоне формирования. В
дальнейшем необходимые условия обеспечиваются, в основном, поддержанием
постоянства положения уровня расплава относительно нагревателя.
. Система выдерживается в таком состоянии для
стабилизации потоков и распределения температуры в системе. Для германия по
разным данным время выдержки может составлять от 15 минут до нескольких часов.
Выдержка может проводиться как пассивно (собственно выдержка), так и активно -
сопровождаясь активным изменением режимных параметров процесса.
. Начинается вытягивание затравочного кристалла вверх
в холодную зону. В ходе вытягивания сначала формируется цилиндр диаметром в
несколько миллиметров - продолжение затравочного кристалла, особенно важное при
выращивании бездислокационных кристаллов. Диаметр оттяжки может быть неизменен
по длине, хотя некоторые производители делают его ступенчатым. Диаметр
финальной части призатравочного цилиндра стараются сделать минимальным (с
учётом её прочности на разрыв и имеющихся возможностей по коррекции малого
диаметра). Длина цилиндра для кристаллов из различных материалов, при различных
требованиях по структуре и ориентации смогут колебаться от нескольких
миллиметров до нескольких сотен миллиметров.
. Затем за счёт снижения температуры и скорости
вытягивания диаметр призатравочного цилиндра увеличивают до необходимой
величины, после чего вытягивают цилиндр максимально возможной длины. При этом
предусматривается оставление некоторого запаса расплава для финишных операций
процесса роста. В случае вытягивания кристаллов большого веса некоторые
производители формируют утолщения в верхней части кристалла, предназначенные
для работы поддерживающих устройств. Такие устройства обычно устанавливаются на
ростовые установки с жёсткой подвеской затравочного кристалла.
. Перед завершением процесса за счёт увеличения
температуры расплава и за счёт некоторого увеличения скорости вытягивания
диаметр кристалла постепенно уменьшают (длина формируемого конуса для слитков
кремния диаметром более 300 мм и более может достигать 2-х диаметров).
. После завершения конуса и исчерпания остатков
расплава производится отрыв слитка от расплава и постепенное охлаждение слитка
до заданной температуры при некоторых условиях.
Все режимные параметры каждого из этапов процесса являются,
как правило, ноу-хау конкретного производителя.
Модификации
метода
Разработано несколько модификаций метода:
1. Метод Чохральского с использованием плавающего тигля.
Целью метода является получение более равномерного распределения примесей по
длине и сечению кристалла за счёт контролируемого поступления примесей из
внешней части расплава. Существует множество размеров и конструкций плавающих
тиглей, в том числе, защищённых патентами. Конструктивно метод реализуется
путём введения в основной тигель с расплавом тигля меньшего размера,
выделяющего малый объём расплава, из которого и производится выращивание
целевого кристалла. Малый объём расплава сообщается с основным объёмом расплава
таким образом, чтобы обеспечить приток дополнительных порций расплава извне
взамен пошедших на формирование целевого кристалла, при этом смешивание обоих
объёмов и, соответственно, изменение стабилизировавшихся концентраций примесей
в малом объёме должно быть исключено.
2. Метод Чохральского с подпиткой. Цель метода
заключается в увеличении производительности установок выращивания за счёт
непрерывного пополнения объёма расплава, расходуемого на формирование тела
целевого кристалла. Возможны 2 основных аппаратных реализации метода: подпитка
постепенным расплавлением в периферической области тигля (или вне плавающего
тигля) поликристаллического стержня; подпитка подачей вне плавающего тигля
гранулированного или дроблёного поликристаллического кремния. Попутно метод
позволяет достичь более равномерного распределения примесей по длине кристалла.
. Метод Чохральского с промежуточными дозагрузками.
Цель метода заключается в увеличении производительности установок выращивания и
снижении издержек за счёт повторного использования контейнеров (тиглей) и за
счёт сокращения времени на обслуживание между процессами, герметизацию и
создание защитной атмосферы. Сущность метода - готовые кристаллы выводятся из
установки с использованием шлюзовых устройств, а вместо них в тигель досыпается
следующая порция шихты для расплавления и выращивания следующего слитка.
. Метод Чохральского с использованием пьедестала.
Сущность метода: в расплав в соответствующей футеровке вводится плоский
нагревательный элемент, снабжённый температурными датчиками, распределёнными по
площади элемента. Элемент вводится в расплав на глубину 15-30 мм в зону, где
будет выращиваться слиток. В ходе роста контролируется распределение
температуры по площади элемента и подаётся питание на соответствующие зоны нагревательного
элемента для обеспечения «правильного» распределения температур вблизи фронта
кристаллизации. Метод позволяет снизить вероятность возникновения нарушений
роста кристалла, но дополнительно загрязняет кристалл материалом футеровки,
выравнивает распределение примесей по сечению кристалла.
Сравнение
с другими методами
Кристаллы некоторых материалов, производимых с помощью метода
Чохральского, не могут быть получены методом бестигельной зонной плавки, и
наоборот. Некоторые материалы могут быть получены обоими способами.
В случае германия слиток, полученный методом зонной плавки,
по чистоте обычно существенно превосходит аналогичный, полученный методом
Чохральского, но кристаллы, получаемые зонной плавкой, имеют меньшие диаметры,
более высокую себестоимость в изготовлении, другое распределение и содержание
легирующих и иных примесей, существенных для последующих технологических
циклов.
.
Способ выращивания монокристаллов германия с использованием формообразователя
Основная задача данного способа - повышение выхода годной
продукции за счет получения монокристаллов универсальной формы, без дефектов
структуры, свободных от механических напряжений, однородных по распределению
примесей, с высокой производительностью и с существенным снижением технологических
затрат.
Согласно предложенному способу, в тигель (обычно круглой
формы) осесимметрично помещают формообразователь в виде обечайки (круглой или
иной формы). В формообразователе в месте примыкания нижней части
формообразователя к тиглю выполнены отверстия. Радиус отверстий (r) не должен
быть больше максимального радиуса (rmax), определяемого по формуле
где К=0,2 см2 - постоянный коэффициент (для германия);
h - уровень расплава германия в формообразователе (см).
Количество (N) отверстий в формообразователе составляет 12-18 шт.,
отверстия расположены на одинаковых расстояниях друг от друга.
Размеры и количество отверстий были оценены теоретически и
проверены опытным путем на основании результатов выращивания монокристаллов
германия в форме диска диаметрами 100-300 мм, в форме квадрата и прямоугольника
со сторонами сечения 100-200 мм.
Проведение процесса выращивания: в формообразователь помещают
исходную загрузку и расплавляют ее. Расплав остается в формообразователе и не
вытекает через отверстия в тигель из-за сил поверхностного натяжения. В расплав
помещают вращающийся затравочный кристалл и на первом этапе проводят
кристаллизацию в радиальном направлении с вращением выращиваемого кристалла до
момента касания его формообразователя. Далее без вращения путем снижения
температуры проводят кристаллизацию в осевом направлении до полного
затвердевания всего объема расплава. Избыток расплава германия, образующийся
при кристаллизации, вытекает через отверстия и затвердевает на дне тигля. При
выращивании кристаллов германия вся оснастка - тигель, формообразователь,
нагреватель, экраны - выполнены из графита.
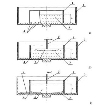
На рис. 1а) представлена начальная стадия процесса: в
формообразователе 1, помещенном в тигель 2, создали расплав 3, высота которого
составляет h. В формообразователе 1 - в нижней его части, примыкаемой к дну
тигля 2, выполнены отверстия 4.
На рис. 1б) представлена первая стадия выращивания
монокристалла германия. На затравочный кристалл 5, вращающийся с заданной
угловой скоростью ω, выращивается кристалл 6.
Вращение кристалла 6 осуществляется до тех пор, пока его диаметр не приблизится
к диаметру формообразователя 1 (касание кристаллом формообразователя). Затем
вращение кристалла 6 останавливают, верхняя поверхность расплава полностью
кристаллизуется.
На заключительной стадии процесса (рис. 1в)) кристаллизация
осуществляется без вращения в замкнутом объеме расплава 3. Избыточное
количество расплава 7, образующегося при кристаллизации, вытекает через
капиллярные отверстия 4 на дно тигля 2. Процесс вытекания избыточного
количества расплава 7 будет иметь место, пока не затвердеет весь объем расплава
3 в формообразователе.
9. Способ Степанова
Способом получения монокристаллов германия вытягиванием из
расплава является модифицированный способ Степанова. Согласно способу,
выращивание монокристаллов производится путем предварительного плавления
исходного материала в тигле и кристаллизации его на вращающейся
монокристаллической затравке с использованием погружаемого в расплав
формообразователя (выполненного в виде кольца или иной формы, отвечающей
профилю выращиваемого слитка), который жестко крепится на шток затравки. На
первом этапе в процессе роста от вращающегося вместе с формообразователем затравочного
монокристалла без вытягивания формируется выращиваемый кристалл, который
достигает формообразователя и приобретает задаваемую боковую поверхность. На
втором этапе производится вытягивание монокристалла совместно с
формообразователем в осевом направлении (то есть формирование слитка по
высоте). Недостатком этого способа является низкий выход монокристаллов,
связанный с высокими уровнями термических напряжений в слитках, возникающих в
момент вытягивания их в осевом направлении. Термические напряжения приводят к
значительной неоднородности показателя преломления в монокристаллах,
используемых в инфракрасной оптике, снижению механической прочности слитков -
растрескиванию их при механической обработке. Вторым существенным недостатком
является сложное технологическое обеспечение процесса выращивания: существенная
(большая) масса расплава германия, превышающая массу слитка в 3-4 раза;
сложность изготовления и крепления формообразователей на штоке затравки.
Наиболее близким к предлагаемому способу является способ
получения монокристаллов германия, заключающийся в том, что кристаллизацию
ведут сверху вниз от неподвижной затравки, причем в стенках формы (тигля)
имеются очень мелкие отверстия, через которые вытекает избыток расплава,
образующийся из-за увеличения объема при затвердевании. Согласно способу тигель
является непосредственно формообразователем, придающим заданную форму
выращиваемым слиткам. Отверстия в тигле сделаны для удаления излишнего
количества расплава, образующегося из-за разницы плотностей жидкой и твердой
фаз кристаллизующегося материала. При плотности жидкой фазы, большей, чем
твердой фазы, кристаллизация идет с увеличением объема примерно на 5,3%.
Указанный способ выращивания монокристаллов имеет
существенные недостатки. Способ технически трудно реализуем в промышленном
масштабе - для выращивания кристаллов каждого заданного размера необходим свой
тигель достаточно сложной конфигурации. Не определено ни количество отверстий,
ни их размер - в конечном итоге это может привести либо к вытеканию исходного
расплава, либо к разрыву тигля в момент кристаллизации. Извлечение выращенного
кристалла из тигля связано с возможностью механического разлома тигля и
растрескивания кристалла. Выращивание кристалла - формирование его основной
верхней поверхности - без вращения практически всегда приводит к появлению
дефектов структуры - к поликристаллизации и к неоднородному распределению
примесей. Указанные недостатки значительно снижают выход годной продукции,
приводят к повышенному расходу материала (графита германия) и делают применение
метода практически невозможным в промышленных масштабах.
10. Способ выращивания монокристаллов германия
методом осевого теплового потока вблизи фронта кристаллизации (ОТФ)
Еще одним способом выращивания является способ, в котором для
роста кристаллов германия на затравку используется нагреватель, погруженный в
расплав. Эта работа основана на применении метода Осевого Теплового потока
вблизи Фронта кристаллизации, метод ОТФ. Этот способ является наиболее близким
к заявляемому способу выращивания кристаллов германия, так как в нем
используется другой принцип создания осевого теплового потока. В соответствии с
этим принципом осевой поток тепла создается только вблизи фронта
кристаллизации. Для этого вдоль большей части поперечного сечения растущего
кристалла на небольшом расстоянии от предполагаемого положения фронта
кристаллизации размещается плоская изотермическая поверхность. Осевой поток
тепла и плоская форма изотерм (фронта кристаллизации) реализуются в этом случае
на расстоянии h от изотермической поверхности, где h<0.13 D, D - диаметр
изотермической поверхности. Погруженный нагреватель решает задачу создания
упомянутой выше плоской изотермической поверхности.
Рост кристаллов германия ведут на затравку 1, диаметром
равным внутреннему диаметру тигля, в тигле 2 из материала, не
взаимодействующего с расплавом 3, с использованием погруженного в расплав
двухсекционного нагревателя 4 (ОТФ нагреватель) путем перемещения тигля с
затравкой и растущим кристаллом 5 в холодную зону печи относительно
закрепленного в корпусе установки 6 ОТФ нагревателя, поддерживаемого при
постоянной температуре T1, и используя раздельное легирование зон W1
и W2 (рис. 1).
В отличие от известных способов с целью получения в процессе
выращивания на большем сечении растущего кристалла плоской формы фронта
кристаллизации и слегка выпуклой в расплав формы фронта в области стенок тигля
управление формой фронта ведут одновременно двухсекционным ОТФ нагревателем и
фоновым нагревателем А, В, С, D. Плоский участок формы фронта кристаллизации I
обеспечивается путем поддержания секцией 7 ОТФ нагревателя температуры Т2
равной температуре T1 или немного больше. Выпуклый участок II формы
фронта кристаллизации поддерживается за счет фоновых нагревателей А, В, С, D
путем поддержания на боковой поверхности тигля в зоне термопары Т3
распределения температуры, обеспечивающего выпуклый участок формы фронта
кристаллизации (рис. 2).
Недостатком способа кристаллизации является то, что режимы и
условия кристаллизации не предназначены для получения высококачественных
монокристаллов германия, так как способ использовался с целью получения
гранного роста и исследования морфологической устойчивости грани [111]
германия, что приводило к изменению условий кристаллизации в процессе роста и появлению
дефектов.
К недостаткам, присущим традиционным методам выращивания,
относятся следующие: большие радиальные градиенты температуры в расплаве и
кристалле, большая интенсивность течения расплава, которое для коммерческих
размеров является нестационарным (микронеоднородость), изменение условий
кристаллизации в процессе роста (макронеоднородность). Роль этих недостатков
возрастает с увеличением диаметра растущего кристалла. Эти недостатки в
основном устраняются в методах, использующих погруженный нагреватель, однако в
существующих реализациях таких методов не реализованы их оптимальные
возможности и поэтому условия кристаллизации меняются в процессе выращивания, а
кристаллы микро и макронеоднородны.
. Способ выращивания монокристаллов германия в
форме дисков
Способ выращивания монокристаллов полупроводников из расплава
может быть использован для выращивания монокристаллов германия в форме дисков,
применяемых для изготовления деталей оптических устройств.
Наиболее близким аналогом заявленного изобретения -
прототипом - является способ выращивания монокристаллов германия в форме диска
для изготовления деталей устройств ИК-оптики. Согласно способу, монокристалл
германия выращивают на затравку. Способ включает реверсивное вращение
кристалла, описывает режим выращивания монокристалла в формоообразователе
особой формы, обеспечивающей условия, исключающие растрескивание монокристалла
и разрушение тигля. Достигается плотность дислокации в пределах 5·103
до 1·104 на см2.
Техническим результатом заявляемого изобретения является
разработка способа выращивания монокристаллов германия с плотностью дислокации
в пределах от 2·104 до 5·105 на см2.
Существенными отличиями заявляемого изобретения от прототипа,
позволяющими достичь заявляемого технического результата, являются:
выдержка расплава при температуре плавления в течение 1-2
часов, обеспечивающая требуемое усреднение;
поддержание, за счет определенного размещения тигля,
нагревателя и экранировки, температурного градиента у фронта кристаллизации в
узких пределах (10÷18) К/см, что обеспечивает
получение монокристаллов с плотностью дислокации в пределах от 2·104
до 5·105 на см2.
Сущность изобретения
До начала процесса выращивания монокристалла германия расплав
выдерживается в формообразователе при температуре плавления в течение 1-2
часов. Далее в процессе выращивания монокристалла германия в
кристаллографическом направлении [111] обеспечивается поддержание
температурного градиента у фронта кристаллизации в узких пределах (10÷18) К/см, что обеспечивает получение монокристаллов германия с
плотностью дислокации в пределах от 2·104 до 5·105 на см2.
Плотность дислокации в выращенном монокристалле германия
выявляется методом селективного химического травления. Для плотности дислокации
в пределах от 2·104 до 5·105 на см2 ямки травления
в виде трехгранной антипирамиды с размером сторон порядка 30,0 мкм, равномерно
распределяются в виде модулированной сетки на равных расстояниях друг от друга.
На оптические свойства монокристалла германия дислокации не оказывают
существенного влияния, так как поперечный размер дислокации соизмерим с
постоянной решетки (0,56 нм).
Техническим результатом заявляемого изобретения является
получение монокристаллов германия со значительным увеличением площади приема
сигнала.
Изобретение поясняется Таблицей 1:
|
Диаметр
монокристалла, мм
|
Относительная
площадь сечения без выявленных дислокации (прототип)
|
Относительная
площадь сечения с дислокационными ямками травления (заявляемый способ)
|
|
300,0
|
9,0
|
17,1
|
|
400,0
|
16,0
|
30,4
|
|
500,0
|
25,0
|
47,5
|
|
600,0
|
36,0
|
68,4
|
|
800,0
|
64,0
|
120,9
|
Осуществление изобретения
Для выращивания монокристаллов германия в форме диска
диаметром 180 мм и высотой 40 мм в графитовый тигель с внутренним диаметром 220
мм устанавливается графитовый формообразователь с внутренним диаметром 180 мм,
имеющий отверстия в нижней части. В формообразователь загружается 5,62 кг
зонноочищенного кристаллического германия. Загрузка расплавляется и расплав
выдерживается при температуре плавления в течение 2 часов. Производится
выращивание монокристала германия в кристаллографическом направлении [111], при
этом температурный градиент у фронта кристаллизации поддерживается в пределах
(10,0÷14,0) К/см. Для определения плотности дислокации, после окончания
кристаллизации и остывания, монокристалл германия подвергается селективному
химическому травлению. Средняя плотность дислокации составила 7·104
на см.
Заключение
В данной курсовой работе подробным образом были описаны
основные способы получения монокристаллов германия, проблемы, связанные с
производством и их решение.
Стоит обратить внимание на то, что в современном мире
благодаря развитию в области электроники на сегодняшний день существует
довольно большое разнообразие методов выращивания. При этом каждый из этих
методов уникален в своем роде.
Выращивание кристаллов из расплава в настоящее время является
наиболее распространенным промышленным процессом, так как по сравнению с
другими методами методы выращивания из расплава обладают наивысшей
производительностью.
Основным недостатком большинства методов являетя низкая
степень чистоты выращиваемых монокристаллов (тигельные методы).
Германий находит широкое применение во многих отраслях
мировой промышленности и хозяйства, значит и разработка предприятия по его
производству (в частности, выращиванию монокристаллов) и обработке является
актуальной на сегодняшний день.
Список литературы
1. Journal of Siberian Federal University. Engineering &
Technologies 3 (2013, 6)
324-333.://journal.sfu-kras.ru/en/series/technologies/2013/3
. Получение
профилированных монокристаллов и изделий способом Степанова. Антонов П.И.,
Затуловский Л.М., Костыгов А.С. и др. Л.: Наука, 2011. С. 136-137, 171-175.
3. Gafni G., Azoulay M., Shiloh С. et al. Large Diameter
Germanium Single Crystals for Infrared Optics // Optical Engineering. 1989.
V.28. №9.
Р.1003-1007.
http://opticalengineering.spiedigitallibrary.org/article.aspx?
articleid=1223619
. A.G. Ostrogorsky, H.J. Sell, S. Scharl and G. Muller.
Convection and segregation during growth of Ge and InSb crystals by the
submerged heater method, Journal of Crystal Growth, 128 (2011)
201-206://homepages.rpi.edu/~duttap/Publications/2000JCG217.pdf
. S.V. Bykova, I.V. Frjazinov, V.D. Golyshev, М.А. Gonik, M.P. Marchenko,
V.B. Tsvetovsky. Features of mass transfer for the laminar melt flow along the
interface. J. Crystal Growth, 2012, vols. 237-239, pp.1886-1891
6. Википедия
http://ru.wikipedia.org/wiki/германий