Горизонтальный астрокомпас
МИНИСТЕРСТВО ОБРАЗОВАНИЯ И НАУКИ РОССИЙСКОЙ ФЕДЕРАЦИИ
федеральное государственное бюджетное образовательное
учреждение
высшего профессионального образования
«УЛЬЯНОВСКИЙ ГОСУДАРСТВЕННЫЙ ТЕХНИЧЕСКИЙ УНИВЕРСИТЕТ»
Кафедра «Измерительно-вычислительные комплексы»
Курсовой проект
по дисциплине «Проектирование
измерительно-вычислительных комплексов»
Тема: «Горизонтальный астрокомпас»
Выполнил:
студент группы БПд-41
Улазов Сергей
Николаевич
Ульяновск 2014г.
Задание на курсовой проект
по дисциплине «Проектирование измерительно-вычислительных комплексов»
студенту Улазову С. Н. группы БПд-41
Тема: Горизонтальный астрокомпас.
Технические условия:
. Условия эксплуатации - тяжелый самолет гражданской авиации.
. Навигационная система должна быть выполнена на современной элементной
базе со встроенной микропроцессорной вычислительной системой.
. По своим техническим характеристикам (диапазон измерения, погрешность,
быстродействие и т.д.) навигационная система должна быть не хуже, а по
габаритам, массе, потребляемой энергии - лучше аналогичных существующих систем.
Объем работы:
. Введение, аналитический обзор литературы, технико-экономическое
обоснование выбора метода измерения, разработка ТЗ.
. Обоснование выбора структуры ИВК, разработка программного обеспечения,
анализ основных метрологических характеристик.
. Разработка функциональной схемы навигационной системы, блок-схемы
алгоритма обработки информации, принципиальной схемы одного из модулей ИВК (по
согласованию с преподавателем).
. Заключение.
Дата выдачи задания Срок выполнения
Зав. кафедрой Киселёв С.К.
Руководитель Шивринский В.Н.
Работу принял к исполнению Улазов С. Н.
РЕФЕРАТ
Горизонтальный астрокомпас, измерения, прибор, интерфейс.
В настоящем курсовом проекте приведен алгоритм проведения измерений
горизонтальным астрокомпасом, разработана конструкция горизонтального
астрокомпаса, приведена принципиальная схема использующегося АЦП на основе
микроконтроллера PIC12F675 с выходом на последовательный интерфейс RS-232. ходе работы была разработана структурная
схема прибора, программное обеспечение на языке программирования C#. Программное обеспечение
проверялось на ЭВМ с вычислительной платой фирмы NationalInstruments.
Основные сокращения
АКП - астрономические курсовые приборы
АЦП - аналого-цифровой преобразователь
ДКУ - датчик курсовых углов
ИВК - измерительно-вычислительный комплекс
ЛА - летательный аппарат
МК - микроконтроллер
ОЗУ - оперативное запоминающее устройство
ПЗУ - постоянное запоминающее устройство
ПО - программное обеспечение
ПУ - периферийное устройство
ТЗ - техническое задание
ЦАП - цифро-аналоговый преобразователь
ЦВМ - цифровая вычислительная машина
ЭВМ - электронная вычислительная машина
Введение
Астрономические курсовые приборы (АКП) предназначены для измерения курса
самолета, выполнения разворота на новый заданный курс и осуществления полета по
заданному маршруту. Для того, чтобы начать измерение курсовых углов,
астрокомпас нужно направить на какую-либо достаточно яркую звезду, например
Солнце, и он будет следить за ней, постоянно указывая направление на нее. Это
возможно благодаря высокой чувствительности фотоэлементов прибора. При повороте
астрокомпаса, например, при изменении курса самолета, один из фотоэлементов
окажется более освещенным, фототоки не будут равны и на входе усилителя (а
значит, и на выходе) появится напряжение соответствующего знака. Таким образом,
астрокомпас следит за Солнцем.
АКП обладают следующими достоинствами: отсутствие ошибок, вызываемых
магнитным полем самолета; отсутствие инерционных ошибок, присущих
чувствительному элементу магнитных курсовых приборов; возможность
непосредственного получения истинного курса без учета магнитного склонения;
возможность получения условного курса относительно направления любого большого
круга; возможность применения в любых районах земной поверхности независимо от
структуры магнитного поля Земли. Благодаря этим свойствам астрономические
компасы заменяют магнитные компасы в полярной авиации и применяются в
космических аппаратах.
Астрономические компасы измеряют истинный и ортодромический курс объекта
путем пеленгации небесных светил с учетом вращения Земли и координат места.
В связи с перечисленными достоинствами АКП измерение курса с помощью
астрокомпаса использовалось в летательных аппаратах достаточно длительное
время.
В наши дни астронавигационные приборы уже полностью уступили место
системам спутниковой навигации, и на новых моделях летательных аппаратов
практически не используются.
Но на сегодняшний день существует достаточно много моделей летательных
аппаратов предыдущих поколений не снятых с эксплуатации, в которых используются
астронавигационные приборы (речь идёт преимущественно о тяжёлых самолётах
гражданской авиации, разработанных во времена СССР), так что актуальность этого
вопроса частично сохранена и по сей день.
1. Аналитический обзор
.1 Обзор патентов
Аналитический обзор литературы выполнен по реферативным журналам
«Воздушный транспорт», «Метрология и измерительная техника», «Радиотехника» и
периодическим изданиям «Бюллетень изобретения и полезные модели», «Датчики и
системы», «Приборы и системы. Управление, контроль, диагностика», «Вестник
Ульяновского государственного технического университета», «Приборостроение и
средства автоматизации» за .2013 год.
Патентные материалы, изученные по теме курсового проекта, приведены в
таблице 1.
Таблица 1. Изученные патентные материалы
|
№ п\п
|
Страна
|
Класс
|
Год
|
Источники информации
|
Номер патента
|
|
1
|
2
|
3
|
4
|
5
|
6
|
|
1
|
Россия
|
G01C23/00 G01C25/00 G01C5/02 G01S5/02
|
2013
|
Бюллетень изобретения и
полезные модели
|
2451907 2469275 2475862 2457438 2471152 2502049 2012115391 2012114478
|
Патентные материалы, которые представляют интерес для темы курсового
проекта, приведены в таблице 2.
Таблица 2. Патенты-аналоги и прототипы
|
№пп
|
Название изобретения
|
Автор, страна
|
Номер патента
|
Источник информации, год,
номер, страница
|
Краткое содержание патента
|
|
1
|
2
|
3
|
4
|
5
|
6
|
|
1
|
Система и способ
определения пространственного положения и курса летательного аппарата
|
Семёнов И.А. Самойлов В.М.,
Россия
|
2012115391
|
Бюллетень изобретения и
полезные модели 2013 год (27.10.2013) №15
|
Система определения
пространственного положения и курса летательного аппарата, содержащая блок
датчиков угловой скорости, блок датчиков линейного ускорения,
трехкомпонентный магнитометр, подключенные через аналого-цифровой преобразователь.
|
|
2
|
Малогабаритная
бесплатформенная инерциальная навигационная система средней точности,
корректируемая от системы воздушных сигналов
|
Салычев О.С., Россия
|
2502049
|
Бюллетень изобретения и
полезные модели 2013 год (20.12.2013) №34
|
Изобретение относится к
области приборостроения и может найти применение в инерциальных навигационных
системах (ИНС) авиационных и наземных носителей. Задача - существенное
повышение точности счисления скоростей и координат движущегося объекта с
малогабаритной бесплатформенной ИНС (БИНС) средней точности в автономном
режиме без использования постоянно обновляемых в реальном времени сигналов
работающей спутниковой навигационной системы (СНС). Технический результат
достигается тем, что в БИНС средней точности реализуют две вычислительных
навигационных платформы, каждая из которых имеет свой закон управления
(демпфирование инерциальных ошибок), зависящий от параметров движения
носителя, а именно от составляющих горизонтальных ускорений носителя. При
этом первая платформа обеспечивает счисление углов тангажа и крена ориентации
носителя, тогда как вторая - угла курса и счисление проекций скоростей
носителя и его географических координат с учетом предварительно определенных
и запомненных оценок скорости ветра и его направления. Каждая из платформ
имеет свой закон управления. Одна из них является традиционной невозмущаемой
вычислительной платформой, но с демпфированием по собственным ускорениям.
|
|
|
|
|
|
|
|
1.2 Обзор литературы
.2.1 Принцип действия горизонтального астрокомпаса
Астрономические компасы измеряют истинный или ортодромический курс
объекта путем пеленгации небесных светил с учётом вращения Земли и координат
места. В горизонтальном астрокомпасе плоскость пеленгации совпадает с
вертикалом светила [3, c.
180].
Плоскость пеленгации светила (путем вращения вокруг вертикали)
совмещается с центром небесного тела (рис.1).
Рис.1. Схема определения истинного курса с помощью горизонтального
астрокомпаса
Измеряя курсовой угол светила КУ между проекцией продольной оси самолёта
и плоскостью пеленгации, можно определить значение истинного курса ИК
ИК = А - КУ (1)
здесь А - азимут, вычисляется по известным географическим координатам
места самолёта (МС) и экваториальным координатам светила.
Вычисление азимута выполняется аналитически или путем моделирования
небесной сферы. Аналитически определение азимута основывается на решении формул
сферической тригонометрии [7, с. 26].

(2)
здесь:
t = tгр + l - часовой угол; tгр - гринвический часовой угол; l - географическая долгота; j - географическая
широта; d - склонение светила.
1.2.2 Назначение астрокомпаса, технические данные
Основные задачи, выполняемые горизонтальным астрокомпасом: 1)
эпизодическое определение истинного курса в полёте по произвольно заданной
линии пути, при этом географические координаты места объекта вводятся вручную
при каждом определении истинного курса; 2) непрерывной выработки курса при
полёте по ортодромии, при этом географические координаты места объекта вводятся
в начальном пункте заданного участка ортодромического маршрута и на протяжении
полёта по данному участку маршрута (длиною до 1100 км) не меняется [3,
с.179-180].
Астрокомпас работает в диапазоне широт от 90° южной широты до 90° северной широты,
при высоте видимого Солнца до 70°. Погрешность в определении истинного курса
при установившихся углах крена объекта до ±10°, не превышает ±2°. Максимальная дальность полёта по ортодромии не ограничена
при длине участков ортодромии до 1100 км. Астрокомпас рассчитан на питание
постоянным током 27 В ±10%
и переменным током 115 В ±5%
частотой 400 Гц ±5%
[3, с. 182].
Мощности, потребляемые астрокомпасом: постоянного тока с включённым
обогревом 325 Вт, переменного тока 115 ВА.
1.2.3 Структурная схема
Структурная
схема астрокомпаса представлена на рис. 2. Пеленгаторная головка 1, усилитель
2, тахогенератор 3 и двигатель 4 образуют следящую систему, которая
автоматически совмещает плоскость пеленгации с вертикалью Солнца (при этом
разность между истинным КУ и измеренным КУ' курсовыми углами Солнца стремится к
нулю). Вычислитель, используя заданные углы j, 
, 
, tгр,
дает на выходе азимут А светила.
В
схеме предусмотрена коррекция методической погрешности, вызванной кренами
пеленгатора. Сигнал коррекции DКУ формируется из сигналов крена
i, получаемого от маятника 6, и сигнала высоты светила
h.
DКУ =sin i*tg h (3)










Рис.2.
Структурная схема астрокомпаса: 1 - пеленгаторная головка, 2 - усилитель, 3 -
тахогенератор, 4 - двигатель, 5 -АЦП, 6 - маятниковый механизм, 7 - клавиатура,
8 -индикаторное устройство; ДКУ - датчик курсовых углов; МК - микроконтроллер
Сигнал
с ДКУ (датчика курсовых углов) попадает на АЦП, преобразуется в цифровой код и
обрабатывается микроконтроллером.
В
МК (микроконтроллере) осуществляется креновая поправка DКУ, вычисляется азимут светила А, при этом с клавиатуры вводятся
значения широты 
, долготы

, склонения

и
гринвичского часового угла tгр. Эти данные берутся и справочника. После
предварительных расчетов вычисляется истинный и ортодромический курс с учетом
поправки [7, с. 28]..
1.2.4 Фотоследящая система астрокомпаса
Фотоследящая система астрокомпаса состоит из 1) пеленгаторной головки; 2)
фотоусилителя; 3) электродвигателя переменного тока; 4) дифференцирующей
цепочки в цепи фототока, состоящей из параллельно включённых конденсаторов,
переменного и постоянного сопротивлений.
Пеленгаторная головка (рис.3) состоит из двух дифференциально включённых
сернисо-серебряных фотоэлементов 1, типа ФЭСС-У3, прикрепленных к
цилиндрической оправе 4 с коническим зеркалом 3. Чувствительные слои
фотоэлементов обращены в разные стороны и прикрыты конусами 2, рассеивающими
свет. Заслонки 5 со светофильтрами 6 обеспечивают круговой обзор верхней
полусферы.
Рис.3. Схема пеленгаторной головки горизонтального дистанционного
астрокомпаса: а) положение визирования Солнца; б) произвольное расположение
пеленгаторной головки; 1 - фотоэлемент; 2 - рассеивающий конус; 3 - коническое
зеркало; 4 - оправа; 5 - заслонка; 6 - светофильтр
При отклонении пеленгаторной головки от вертикала Солнца лучи попадают на
одно из конических зеркал 3, отражаются от него и проходят через рассеивающий
конус 2 на фотоэлемент. Так как освещённость фотоэлементов различная, то
возникает разность ЭДС фотоэлементов, которая посредством вибратора и входного
трансформатора преобразуется в сигнал переменного тока частотой 400 Гц,
поступает на вход усилителя, а с выхода усилителя - на электродвигатель,
который поворачивает пеленгаторную головку вокруг вертикальной оси до
совмещения плоскости пеленгации с лучами Солнца [3, с. 185].
2. Выявление требований пользователя
Для определения требований пользователя необходимо
ответить на следующие вопросы:
1. Для какого объекта предназначена система?
2. Для чего используется данная система?
. В каких диапазонах широт работает
астрокомпас?
. При какой высоте Солнца работает астрокомпас?
. На каких высотах работает астрокомпас?
. Какова устойчивость системы к воздействующим
факторам?
. Какова погрешность измерения истинного курса?
. Какие меры принимаются для улучшения
метрологических характеристик?
. При каких условиях астрокомпас измеряет курс
с минимальной погрешностью?
10. С какими системами работает астрокомпас?
11. Каковы габаритные размеры системы?
12. Какова масса системы?
. Какое напряжение необходимо для питания
системы?
. Какова потребляемая мощность системы?
. Каковы особенности монтажа?
. Каковы параметры, выдаваемые системой?
. Какую информацию должна отображать система?
. Какова погрешность измерения ортодромического
курса?
. Как будет осуществляться управление системой
человеком?
. Какая максимальная высота полета, при которой
будет работать система?
. Какова максимальная дальность полета по
астрокомпасу?4
погрешность астрокомпас
крен фотоследящий
3. Разработка функциональной спецификации
Из ответов на приведенные выше вопросы можно сделать
вывод относительно того, что будут представлять требования пользователя.
1. Объект использования - тяжелые самолеты гражданской авиации.
2. Система предназначена для измерения истинного или
ортодромического курса объекта.
3. Компас должен
работать в диапазоне северных широт от +40 до +90
.
4. Астрокомпас должен
работать при высоте Солнца от 0 до 70
.
5. Астрокомпас должен
работать безотказно на высоте полета до 17000 м.
6. Система обеспечивает работу в диапазоне температур от -60 до
+50оС.
7. Погрешность
измерения истинного курса не должна превышать 2-3
8. Для улучшения
метрологических характеристик осуществляется креновая поправка.
9. Астрокомпас измеряет
с меньшей погрешностью утром и вечером, в полярных районах и в зимнее время,
т.е. тогда, когда Солнце находится ближе всего к горизонту.
10. Конструкция астрокомпаса позволяет работать совместно с
перископическим секстантом СП-1, автоштурманом, радиокомпасом типа АРК-5,
автопилотом АП-15 и курсовой системой КС.
11. Габаритные размеры датчика курсовых углов не должны превышать
7 x 7 x 13 см.
12. Система должна обладать минимальной массой.
13. Астрокомпас должен быть рассчитан на питание постоянным током
27 В ±10% и переменным током 115 В ±5% частотой 400 Гц ±5% .
14. Мощности, потребляемые астрокомпасом: постоянного тока с
включённым обогревом 325 Вт, переменного тока 115 ВА.
15. Датчик курсовых углов устанавливается в верхней части
фюзеляжа в местах, где обеспечен обзор верхней полусферы и нет затемнений.
16. Астрокомпас должен определять истинный и ортодромический
курсы самолета в полете.
17. Астрокомпас должен отображать на экране дисплея значения
истинного и ортодромического курсов.
18. Погрешность измерения
ортодромического курса не должна превышать 2-3
19. Оператор должен иметь
возможность включения и выключения системы, переводить астрокомпас в режим
поиска, а также иметь возможность ввода параметров с клавиатуры.
20. Максимальная высота
полета с астрокомпасом - 12 000 м.
21. Максимальная
дальность полета по астрокомпасу - 11 000 км.
Для разработки функциональной спецификации необходимо ответить на
следующие вопросы:
1. Какие будут производиться измерения?
2. Какие средства необходимы для
измерений?
3. Какие сигналы будет обрабатывать
система?
4. Какие параметры необходимо ввести с
клавиатуры?
5. Какие параметры система будет
рассчитывать?
6. Как измеряется курсовой угол?
7. Как определяется азимут светила?
8. Как осуществляется измерение
ортодромического курса?
9. Какие средства необходимо
предусмотреть, чтобы уменьшить погрешность измерения?
10.Какие средства
необходимы для осуществления вычислений?
11.Как
представляется пользователю результат измерения?
Ответы на поставленные вопросы:
1. Система будет производить измерение истинного и
ортодромического курса.
. Для измерения истинного курса необходимо знать
курсовой угол и азимут светила, а для измерения ортодромического курса кроме
этого необходимо знать значение путевого угла.
. Система будет обрабатывать сигналы от датчика
курсовых углов и от маятникового механизма, необходимого в дальнейшем для
креновой поправки.
. Система будет обрабатывать следующие значения
параметров, введенные с клавиатуры: широту и долготу места ЛА, склонение Солнца
и гринвичский часовой угол. Значения склонения и гринвичского часового угла
берутся из ежегодника.
. Система будет рассчитывать азимут светила, высоту
светила, путевой угол, креновую поправку.
. Курсовой угол измеряется с помощью датчика курсовых
углов Солнца с фотоэлектрической системой пеленгации Солнца.
. Азимут светила определяется аналитически с
использованием введенных ранее параметров: широты, долготы, склонение Солнца и
гринвичского часового угла.
8. Ортодромический курс получается путем пересчета истинного курса, с
использованием ранее рассчитанного путевого угла.
. Для уменьшения креновой погрешности необходимо предусмотреть креновую
поправку, для этого и система и обрабатывает сигнал с маятникового механизма.
. Все вычисления осуществляются с использованием микропроцессорной
техники. То есть для работы системы необходим микроконтроллер со встроенным АЦП
разрядностью 12 бит.
. Результат измерения истинного и ортодромического курса отображается на
индикаторном устройстве.
Получив ответы на вопросы систему можно разделить на ВХОДЫ, ВЫХОДЫ и
ФУНКЦИИ:
А. ВХОДЫ:
. Датчик курсовых углов;
. Датчик крена;
. Путевой корректор;
. Кремальера задания широты;
. Кремальера задания долготы;
. Кремальера задания ортодромической широты;
. Кремальера задания ортодромической долготы;
. Кремальера задания гринвического часового угла;
. Кремальера задания склонения;
. Часовой механизм;
Б. ВЫХОДЫ:
1. Отображение информации на
LCD-индикаторе:
· Измеренный курсовой угол Солнца;
· Измеренный крен пеленгатора;
· Рассчитанный азимут светила;
· Рассчитанное значение курсового угла;
· Рассчитанный истинный курс;
· Рассчитанный ортодромический курс;
В. ФУНКЦИИ:
1. Измерение:
· Измерение курсового угла Солнца;
· Измерение крена пеленгатора;
1. Вычисления:
· Азимут светила;
· Истинный курс;
· Ортодромический курс;
1. Вывод информации на LCD-индикатор.
На основании разработанной функциональной спецификации и требований
пользователя проведем предварительно разбиение системы на модули.
Выделены следующие аппаратные модули:
· Модуль измерения;
· Модуль ЭВМ;
· Оперативно-диспетчерский модуль
1.
Предварительное проектирование системы
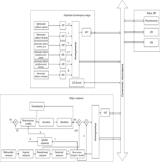
.1 Общая структура системы
Структурная схема разрабатываемого прибора является отображением его
принципиальной схемы и дает представление о принципе работы и основных
операциях, происходящих в процессе работы прибора.
Для реализации структуры горизонтального астрокомпаса была выбрана
магистральная модульная структура, поскольку данная структура полностью
обеспечивает требования по быстродействию, а также совместима с принципом
организации адресного пространства, что упрощает её проектирование и
программирование.
Информация между модулями передается по общей магистрали. Обмен
информацией между модулями осуществляет ЭВМ на базе разработанной программы,
хранящейся в ПЗУ микроконтроллера (МК).
Модуль ЭВМ является основным модулем, который осуществляет прием,
обработку и вывод информации. МК выполняет программу, записанную в свою
флэш-память, обращаясь к модулям приема сигналов внутри МК, он получает
значения входных сигналов датчиков в цифровом виде, поданные с АЦП, затем
обрабатывает каждый сигнал согласно определенному алгоритму. В процессе
вычислений формируются значения измеряемых параметров, которые передаются на
модуль вывода информации МК. Оперативно-диспетчерский модуль - обеспечивает
связь системы с человеком, осуществляет вывод адаптированной информации на LCD
дисплей, а также принимает командные сигналы от пользователя, вырабатывая
командные коды, передаёт их модулю ЭВМ.
Модуль измерения - принимает сигналы датчиков, производит их
нормирование, аналого-цифровое преобразование и передачу на обработку модулю
ЭВМ.
Рис 4. Магистральная модульная система в рамках разрабатываемой системы
4.2 Разработка АЦП
Аналого-цифровой преобразователь на микроконтроллере РIС12F675 со встроенным четырехканальным 10-разрядным АЦП.
Использованы только два канала, их входы АМ0 (вывод. 7) и АМ1 (вывод. 6) служат
соответственно аналоговыми входами 1 и 2. Линия GP3 (вывод. 4) - цифровой вход, состояние которого прибор
проверяет и передает в компьютер вместе с очередными отсчетами сигналов на
аналоговых входах. Так как общий провод устройства соединен с общим проводом
системы по линии 36 последовательного порта (контроллер. 5 розетки XS1), измерительные цепи имеют
гальваническую связь с цепями электрооборудования.
На линии СР2 (вывод 5) микроконтроллер формирует сигнал, подаваемый на
контроллер 2 розетки XS1 и
далее на вход последовательного порта ЭВМ. Сумма выходного сопротивления
микросхемы и резистора R4
близка к волновому сопротивлению соединительного кабеля. В этом случае
переходные процессы в кабеле затухают наиболее быстро. Кроме того, резистор
защищает выход микросхемы от случайных замыканий [8, c. 26].
Нужно признать, что уровни сигнала на выходе микросхемы DD1 не соответствуют требованиям
стандарта RS232. Полагается передавать логическую
единицу отрицательным напряжением, а логический ноль - положительным; в то же
время выходное напряжение микроконтроллера принимает значения 0 и +5 В. Однако
в последовательных портах современных компьютеров порог переключения приемников
сигналов приблизительно +1,7 В, и нулевое напряжение они воспринимают как
отрицательное. При испытаниях розетка XS1 была соединена с вилкой СОМ-порта компьютера двумя соединенными
последовательно стандартными "модемными" (без перекрестных связей)
кабелями суммарной длиной более 3 м. Информация поступала в компьютер без
сбоев.
Проверка устройства в действии показала, что его входы (как аналоговые,
так и цифровой) полезно снабдить фильтрами нижних частот и защитными цепями. В
отсутствие фильтров, благодаря стробоскопическому эффекту АЦП преобразует
высокочастотные помехи в низкочастотные, неотличимые от полезного сигнала.
Предлагаемые фильтры устраняют наблюдавшиеся без них флуктуации результата
преобразования размахом в несколько десятков единиц младшего разряда
Микроконтроллер Р1С12Р675, в отличие от многих других, не имеет
встроенного адаптера последовательного интерфейса, поэтому его пришлось
организовать программно. В таблице 3 представлено принятое распределение
информации в трехбайтном кадре [8, c. 27].
Таблица 3. Распределение информации в трехбайтном кадре
|
Номер байта
|
Разряд
|
Значение
|
|
1
|
D0-D6
|
7 младших разрядов отчета
сигнала на аналоговом входе 1
|
|
D7
|
1 (признак начала кадра)
|
|
2
|
D0-D2
|
3 старших разряда отчета
сигнала на аналоговом входе 1
|
|
D3
|
Состояние цифрового входа
|
|
D4-D6
|
3 младших разряда отчета
сигнала на аналоговом входе 2
|
|
D7
|
0
|
|
3
|
D0-D6
|
7 старших разрядов отчета
сигнала на аналоговом входе 2
|
|
D7
|
0
|
Код, загружаемый в память микроконтроллера представлен в таблице 4.
Таблица 4. Код, загружаемый в память микроконтроллера
5. Предварительная разработка программного обеспечения
.1 Общая модульная структура
Модульная структура реализации проекта:
1. Модуль инициализации - инициализация системы.
2. Модуль измерения - обеспечивает процесс измерения;
. Модуль вычисления - производит вычисления по измеренным данным;
. Модуль индикации - осуществляет визуализацию результата.
5.2 Программа на языке проектирования
ПРОЦЕДУРА: ИНИЦИАЛИЗАЦИЯ(;)
) 01;
) Улазов С.Н.;
) -;
) -;
) -;
) -;
) МОДУЛЬ ИНИЦИАЛИЗАЦИИ;
) Инициализация системы; Отчёт об ошибке; Измерение;
) -;
) -;
) -.
НАЧАЛО ПРОЦЕДУРЫ
ВЫЗОВ: ИНИЦИАЛИЗАЦИЯ (;)
ВЫЗОВ: ИНИЦИАЛИЗАЦИЯ ГРАФИКИ (; КОД РЕЗУЛЬТАТА ИНИЦИАЛИЗАЦИИ)
ЕСЛИ КОД РЕЗУЛЬТАТА ИНИЦИАЛИЗАЦИИ РАВЕН УСПЕШНО
ТО ВЫЗОВ: ИЗМЕРЕНИЕ (;)
ИНАЧЕ: ОТЧЁТ ОБ ОШИБКЕ (;)
КОНЕЦ ПРОЦЕДУРЫ
ПРОЦЕДУРА: ИЗМЕРЕНИЕ (;)
) 02;
) Улазов С.Н.;
) -;
) -;
) -;
) -;
) МОДУЛЬ ИЗМЕРЕНИЯ;
) Считывание данных с датчиков; Вычисление; Вывод результата;
) Инициализация;
) -;
) -.
НАЧАЛО ПРОЦЕДУРЫ
ВЫПОЛНЯТЬ НЕПРЕРЫВНО
ВЫЗОВ: СЧИТАТЬ ДАННЫЕ С ДАТЧИКОВ (;)
ВЫЗОВ: ВЫЧИСЛЕНИЕ (;)
ВЫЗОВ: ВЫВОД РЕЗУЛЬТАТА (;)
КОНЕЦ
КОНЕЦ ПРОЦЕДУРЫ
ПРОЦЕДУРА: ВЫЧИСЛЕНИЕ (;)
) 03;
) Улазов С.Н.;
) -;
) -;
) -;
) -;
) МОДУЛЬ ВЫЧИСЛЕНИЯ;
) Вычисление азимута; Вычисление поправки; Вычисление истинного курса;
Вычисление ортодромического курса;
) Измерение;
) -;
) -.
НАЧАЛО ПРОЦЕДУРЫ
ВЫЧИСЛЕНИЕ АЗУМУТА (;)
ВЫЧИСЛЕНИЕ ПОПРАВКИ (;)
ВЫЧИСЛЕНИЕ ИСТИННОГО КУРСА (;)
ВЫЧИСЛЕНИЕ ОРТОДРОМИЧЕСКОГО КУРСА (;)
КОНЕЦ ПРОЦЕДУРЫ
ПРОЦЕДУРА: ВЫВОД РЕЗУЛЬТАТА (;)
) 04;
) Улазов С.Н.;
) -;
) -;
) -;
) -;
) МОДУЛЬ ИНДИКАЦИИ;
) Вывод информации на дисплей;
) Измерение;
) -;
) -.
НАЧАЛО ПРОЦЕДУРЫ
ВЫВОД ПОЛУЧЕННЫХ ДАННЫХ (;)
КОНЕЦ ПРОЦЕДУРЫ
5.3 Дерево вызова процедур
6. Разработка программного обеспечения в среде C#
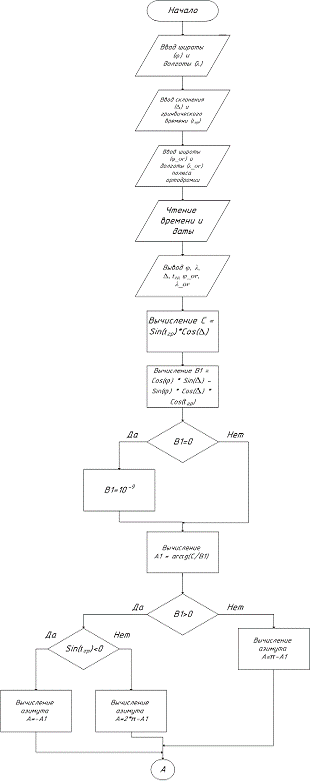
.1 Блок-схема алгоритма программы
6.2 Общее описание работы программы
В начале работы программа предоставляет пользователю возможность ввести с
клавиатуры некоторые величины - широту, долготу, склонение, гринвический
часовой угол, а также широту и долготу полюса выбранной ортодромии. Далее
программа считывает с платы NationalInstruments крен пеленгатора (регулируется ручкой D1) и курсовой угол (регулируется
ручкой D2), и после этого вычисляет азимут,
истинный курс и ортодромический курс. Изменения величин отображаются в реальном
времени. Программа имеет консольный интерфейс, ввод и вывод величин
осуществляется в численной форме. Программа имеет консольный интерфейс
(графическая оболочка отсутствует).
6.3 Отладка программного обеспечения
Для проверки работы составленного алгоритма была проведена отладка
программного обеспечения, написанного на языке C# (листинг представлен ниже) с поддержкой платы NationalInstruments. Были выявлены ошибки:
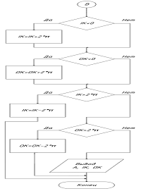
) При выводе угловых величин количество минут может превышать 60.
Решение - ввести проверку на значение минут перед выводом. В случае достижения
минутами значения в 60 единиц, значение градусов увеличивается на единицу, а
значение минут обнуляется.
2) При
расчёте азимута светила A=3600-AW=2
- AW,
западный азимут AW ищется по формуле

Если
B1 примет значение равное нулю, то при расчёте
возникнет «ошибка деления на ноль». Решение - ввести проверку на условие B1=0,
и в случае выполнения присваивать B1=10-9.
3) Для удобства расчётов все значения углов перед расчётами
переводятся из градусов в радианы (используется формула
где
х - конвертируемая величина, 
=3,14), а
перед выводом на экран величины преобразуются из радиан в градусы.
4) При работе с программным обеспечением может возникнуть ошибка при
вводе данных с клавиатуры - если при вводе численного значения случайно
добавить в строку символ, не являющийся цифрой, при конвертации строки в число
произойдёт ошибка формата данных. Решение - введение в процедуру считывания
данных с клавиатуры проверку на ошибку формата, и в случае выполнения этого
условия инициализация повторения этой процедуры.
5) При
расчёте данных могут произойти неизвестные ошибки, вследствие которых значение
истинного и ортодромического курса могут принять значение -2147483648 градусов
и -2147483648 минут. Решение для ортодромического курса - при его вычислении
заменить переходящие в ноль знаменатели на 10-9
. При
расчёте поправки также добавлено исключение для тангенса, если значение угла,
от которого он берётся, равно 90 градусам (значение тангенса 900 при расчёте
заменяется на значение тангенса 890).
) Непосредственно
перед выводом добавлена проверка на превышение значения в 360 градусов для
выходных данных.
6.4 Листинг программы
Чтобы проанализировать работу разрабатываемой системы, она была
смоделирована на плате National Instruments.
Разработка программного обеспечения осуществлялась на языке С#.
using System;
using System.Collections.Generic;
using System.Linq;System.Text;NationalInstruments.DAQmx;
ConsoleApplication
{Program
{
// модуль инициализацииAnalogMultiChannelReader init()//инициализация 0 и 1 каналов
{Reader;DS = DaqSystem.Local;[] PhChNames;AICh;T = new
Task("Измерение напряжения");i;= DS.GetPhysicalChannels(PhysicalChannelTypes.AI,
PhysicalChannelAccess.External);(i = 0; i < 4; i++)=
T.AIChannels.CreateVoltageChannel(PhChNames[i], "Voltage mesure" + i,
AITerminalConfiguration.Nrse, -10, 10, AIVoltageUnits.Volts);= new AnalogMultiChannelReader(T.Stream);Reader;
}
// модуль ввода данныхdouble SetAng(string s)//ввод угловых исходных данных
{gr, min, res;:
{.WriteLine("Введите " + s);.Write("Введите градусы:\t");
gr = Convert.ToDouble(Console.ReadLine());.Write("Введите минуты:\t\t");=
Convert.ToDouble(Console.ReadLine()) * (1 / 60.0);= gr + Math.Sign(gr) * min;
// с учетом
знакаres;
}(FormatException)
{.Write("Ошибка
ввода");thisplace;
}
}
// модуль измеренияvoid GetData(AnalogMultiChannelReader Reader, out double i,
out double KU)
{//Считывание данных с датчиковint amount = 100;
const int Ki = 2;int Kku = 36;[] data, S;k, j;= new
double[4];= new double[4];(k = 0; k < amount; k++)
{= Reader.ReadSingleSample();(j = 1; j < 4; j++)[j] +=
data[j];
}= (S[1] / amount) * Ki; = (S[2] /
amount) * Kku;
}
//модуль вывода результата
static void PrintAng(double ang)//Вывод угловых величин
{gr, min;= (int)ang;= (int)Math.Round((ang - gr) * 60);(min
== 60)
{++;= 0;
}.WriteLine("{0:d3} градусов и {1:d2} минут", gr, min);
}
void PrintData(double i, double KU)//Вывод данных полученных с датчиков
{.SetCursorPosition(1, 1);.SetCursorPosition(1,
3);.Write("Крен пеленгатора (канал
1):\t\t");(i);.SetCursorPosition(1, 4);.Write("Курсовой угол (канал 2):\t\t");(KU);
}
double GetA(double fi, double l, double d, double t)//Расчет азимута
{fir, lr, dr, res;B1, C, A1, A;= (fi / 180) * Math.PI;= (l /
180) * Math.PI;= (d / 180) * Math.PI;= Math.Sin(t) * Math.Cos(dr);=
Math.Cos(fir) * Math.Sin(dr) - Math.Sin(fir) * Math.Cos(dr) * Math.Cos(t);(B1
== 0) B1 = 0.000000001;= Math.Atan(C / B1);((B1 > 0) & (Math.Sin(t) >
0)) res = 2 * Math.PI - A1;((B1 < 0) & (Math.Sin(t) < 0)) res =
Math.PI - A1;((B1 < 0) & (Math.Sin(t) > 0)) res = Math.PI - A1;((B1
> 0) & (Math.Sin(t) < 0)) res = -A1;res = 1;= (res * 180) /
Math.PI;res;
}double GetB(double Fi, double F_or, double L_or, double l)//Расчет путевого угла
{res, F_orr, Fir, L_orr, lr;_orr = (F_or / 180) * Math.PI;=
(Fi / 180) * Math.PI;_orr = (L_or / 180) * Math.PI;= (l / 180) *
Math.PI;((Math.Sin(L_orr - lr) == 0) || (Math.Tan(L_orr - lr) == 0))
{= Math.Atan(Math.Cos(Fir) * Math.Tan(F_orr) * (1 /
0.000000001) - Math.Sin(Fir) * (1 / 0.000000001));
}
{= Math.Atan(Math.Cos(Fir) * Math.Tan(F_orr) * (1 /
Math.Sin(L_orr - lr)) - Math.Sin(Fir) * (1 / Math.Tan(L_orr - lr)));
}= (res * 180) / Math.PI;res;
}double GetH(double fi, double l, double d, double t)//Расчет высоты
{fir, lr, dr, res;= fi / 180 * Math.PI;= l / 180 * Math.PI;=
d / 180 * Math.PI;= Math.Asin(Math.Sin(fir) * Math.Sin(dr) + Math.Cos(fir) *
Math.Cos(dr) * Math.Cos(t));= (res * 180) / Math.PI;res;
}double GetdKU(double i, double h)//Расчет поправки
{ir, hr, res;= (i / 180) * Math.PI;= (h / 180) * Math.PI;(hr
== Math.PI / 2)
{= ir;
}
{= Math.Tan(hr) * ir;
}= (res * 180) / Math.PI;res;
}
void PrintRes(double A, double IK, double OK)
{.SetCursorPosition(1, 5);.Write("Азимут:
\t\t\t\t");(A);.SetCursorPosition(1, 6);.Write("Истинный курс: \t\t\t");(IK);.SetCursorPosition(1, 7);.Write("Ортодромический курс: \t\t\t");(OK);
}
void Main(string[] args)
{Fi, l, d, T0, T1, T5, T, i, KU, IK, A, h, AA, dKU, F_or,
L_or,B,OK;Reader;Now;ex;= init();
= SetAng("Широта ");
l = SetAng("Долгота
");= SetAng("Склонение ");= SetAng("Тгр ");_or =
SetAng("Широта полюса выбранной ортодромии");_or =
SetAng("Долгота полюса выбранной ортодромии");
Console.Clear();=
DateTime.Now;= Now.Hour * 3600 + Now.Minute * 60 + Now.Second + Now.Millisecond
* 0.001;= T0;= T + l;= GetA(Fi, l, d, T);= GetH(Fi, l, d, T);
{(Reader, out i,
out KU);= DateTime.Now;= Now.Hour * 3600 + Now.Minute * 60 + Now.Second +
Now.Millisecond * 0.001;(KU < 0) KU = KU + 360;(i, KU);= GetdKU(i, h);=
GetB(Fi, F_or, L_or, l);= A - KU + dKU;= IK - B;:(IK < 0) IK = IK + 360;(OK
< 0) OK = OK + 360;(IK > 360)
{= IK - 360;point;
}(OK > 360)
{= OK - 360;point;
}(A, IK, OK);=
T1;= Console.KeyAvailable;(T0 - T5 > 2000) ex = true;
}
while (!ex);
Console.ReadKey();
}
}
}
6.5 Контрольный пример выполнения программы
Для проверки работоспособности разработанной программы, было проведено
несколько контрольных измерений. Как и описывалось ранее в отладке, наиболее
проблемная часть измерений - это операции с синусами, косинусами и тангенсами,
так как возможно деление на ноль (если синус или косинус какого-либо из углов
равен нулю) либо несуществующее число (тангенс 900 не существует). Мероприятия
по обходу этих ошибок были подробно описаны в подпункте «Отладка программного
обеспечения». В рамках контрольного выполнения программы было произведено 4
замера, в каждом из которых все вводимые угловые величины приравнивались к 00,
900, 1800, и 2700 соответственно. Также был произведен пятый замер, в котором
истинные широта и долгота отличались от ортодромических.
Исходные данные для контрольных примеров выполнения программы занесены в
таблицу 5.
Таблица 5. Исходные данные для контрольных примеров
|
№ опыта
|
Широта
|
Долгота
|
Склонение
|
Гринвический часовой угол
|
Ортодромическая широта
|
Ортодромическая долгота
|
|
1
|
00 0’
|
00 0’
|
00 0’
|
00 0’
|
00 0’
|
00 0’
|
|
2
|
900 0’
|
900 0’
|
900 0’
|
900 0’
|
900 0’
|
900 0’
|
|
3
|
1800 0’
|
1800 0’
|
1800 0’
|
1800 0’
|
1800 0’
|
1800 0’
|
|
4
|
2700 0’
|
2700 0’
|
2700 0’
|
2700 0’
|
2700 0’
|
2700 0’
|
|
5
|
120 4’
|
360 8’
|
110 13’
|
250 11’
|
1230 2’
|
340 11’
|
Результаты контрольных измерений занесены в таблицу 6.
Таблица 6. Результаты выполнения контрольных примеров
|
№ опыта
|
Крен пеленгатора
|
Курсовой угол
|
Азимут
|
Истинный курс
|
Ортодромический курс
|
|
1
|
120 9’
|
2300 20’
|
570 18’
|
1990 7’
|
1990 7’
|
|
2
|
190 37’
|
3020 13’
|
260 37’
|
1640 1’
|
1640 1’
|
|
3
|
110 30’
|
460 0’
|
570 18’
|
130 52’
|
130 52’
|
|
4
|
70 82’
|
2060 17’
|
790 52’
|
800 59’
|
800 59’
|
|
5
|
190 56’
|
840 4’
|
790 39’
|
3570 28’
|
2680 37’
|
7. Анализ метрологических характеристик
Астрономическим компасам свойственны методические и инструментальные
погрешности.
7.1 Методические погрешности
.1.1 Погрешности измерения курса из-за ошибок определения места самолета
Общая формула данного вида погрешности выглядит так:

(4)
- частная производная от азимута светила по широте места
самолёта;
- частная производная от азимута светила по долготе места
самолёта;
- ошибка определения вводимой в астрокомпас широты места
самолёта;
- ошибка определения вводимой в астрокомпас долготы места
самолёта;
В практике полетов часто бывает известно значение круговой ошибки
определения места самолёта:

(5)
Rз
- радиус Земли.
Считая,
что ошибки определения широты и долготы одинаковы, т.е.

(6)

(7)
Учитывая
эти выражения и переходя к градусной мере (
), а
также подставляя значения
и
Rз :
(8)
Найдя
частные производные от азимута, входящие в подкоренное выражение, используя
формулу четырех элементов параллактического треугольника
,и после преобразований, в конечном итоге получим:
(9)
Если
принять
, 
), то:
(10)
При
указанных условиях, если координаты места самолета вводить в астрокомпас с
точностью
, то погрешность измерения курса составит примерно
0,06
, при
погрешность равна 0,6
и при
погрешность
измерения курса достигнет 1
.
7.1.2 Погрешность астрокомпасов, вызванные кренами
самолета
Креновая
погрешность
возникает при наклонах плоскости пеленгации,
вызванных углами крена
и тангажа
летательного
аппарата. Для определения зависимости
воспользуемся
горизонтальной системой координат
с центом
в месте расположения компаса, а также связанной с объектом системой координат
Mxyz. Повернем систему координат Mxyz относительно
на углы
и
. Тогда курсовой угол светила
изменится на величину
,
поскольку ось вращения пеленгатора переместится из положения
в My.
(11)
Искомая
погрешность равна
. Если принять углы 
, 
и 
малыми,
то:

(12)
Поскольку
допустимая максимальная высота светила
,

(13)
Сумма
углов 
представляет
собой дугу i, определяющую (приближенно) поворот плоскости пеленгации вокруг
направления на светило так, что:

(14)
Эта
формула используется для построения схемы компенсации креновой погрешности.
7.2 Инструментальные погрешности
Возникают вследствие конструктивных недостатков прибора, и их суммарная
величина лимитируется допусками.
Причинами появления инструментальных погрешностей могут быть погрешности:
1) в изготовлении деталей конструкции (отклонение геометрических
размеров, перекосы и т.п.);
2) фотоэлектрической следящей системы (статические и динамические);
) погрешность АЦП;
) дистанционных передач т.д.
Все погрешности зависят не только от параметров отдельных деталей и узлов
прибора, но и от внешних условий: перегрузок и вибраций, температуры,
влажности, напряжения питания. Кроме того, погрешности меняются с течением
времени вследствие старения материалов, изменения свойств смазок и др. Оценить
расчетным путем величину всех погрешностей невозможно. Поэтому обычно дается
оценка наиболее существенных и наиболее вероятных погрешностей прибора.
7.3 Погрешность АЦП
Погрешность квантования - разница между действительным значением
аналоговой величины и дискретным числом, представляющим эту величину. Ошибка
квантования возникает в том случае, когда аналоговая величина попадает между ступенями
квантования; при этом в качестве дискретного значения принимается число,
соответствующее ближайшей ступени квантования.
Ошибки квантования являются следствием ограниченного разрешения АЦП
(размера наименьшего шага).
Например, пусть диапазон входных значений = от 0 до 10 вольт;
Разрядность
АЦП 12 бит: 2
= 4096 уровней квантования
Разрешение
по напряжению: (10-0)/4096 = 0.00244 вольт = 2.44 мВ
Чем
больше разрядность АЦП, тем больше точность.
7.4 Расчёт погрешностей
Наибольшее влияние на результат измерения оказывают креновая погрешность
и погрешность АЦП.
Для исключения креновой погрешности в разрабатываемой системе
используется маятниковый механизм, с которого снимается угол крена. Также
аналитически рассчитывается высота и по формуле ∆КУ = sin(i)tg(h) рассчитывается креновая поправка.
Далее рассчитываем истинный курс с учетом поправки
ИК = А - КУ + ∆КУ
Погрешность в определении истинного курса при установившихся углах крена
объекта ±10º, не превышает ±2º.
Погрешность АЦП составляет 1 единицу младшего разряда. АЦП 12-ти
разрядный. Определим погрешность АЦП:

(15)
Таким
образом, погрешность системы удовлетворяет требованиям пользователя.
Заключение
В курсовом проекте была разработан горизонтальный астрокомпас для
измерения истинного и ортодромического курсов ЛА, с использованием современной
аппаратной базы.
При разработке были проведены следующие виды работ:
· сделан обзор существующих систем и проанализированы требования
пользователя;
· разработана функциональная спецификация;
· разработана программа на языке проектирования;
· разработана программа на языке С#;
· разработана структурная схема ИВК;
· разработана принципиальная схема устройства в среде «КОМПАС»;
· разработана блок схема в среде Microsoft Office Visio;
· произведен анализ погрешностей.
Разработанная система полностью удовлетворяет требованиям пользователя.
Были проведены все этапы разработки устройства (выявление требований пользователя,
разработка функциональной спецификации, разработка модульной структуры,
разработка дерева вызова процедур, разработка программного обеспечения, отладка
программного обеспечения, разработка принципиальной схемы). Все этапы проведены
в соответствии с необходимыми нормами и дали достаточно полный результат.
Разработанное программное обеспечение соответствует составленной
модульной структуре, все ошибки вычисления и вывода информации были обнаружены
и исправлены в процессе отладки. Выходные данные (азимут, истинный курс,
ортодромический курс) не выходят за пределы 0÷359 градусов и 0÷59 минут. При расчёте учтены случаи,
когда та или иная расчётная величина (тангенс 90 градусов, косинус 90 градусов,
синус 0 градусов) принимает нулевое или бесконечное значение. Входные данные,
вводимые с клавиатуры (широта, долгота, склонение, гринвический часовой угол,
широта полюса выбранной ортодромии, долгота полюса выбранной ортодромии)
автоматически корректируются при неправильном вводе (значения больше 359 градусов
или 59 минут). Добавлена проверка исключений в случае ввода нечисленных
символов, в этом случае пользователю будет предложено ввести данные заново.
Разработанный в ходе курсовой работы горизонтальный астрокомпас
адаптирован для использования в относительно старых самолетах (разработанных в
70-х - 80-х годах прошлого века), в которых предусматривалась необходимость
навигационных приборов, ориентирующихся по естественным спутникам Земли и
небесным светилам. На данный момент технология считается устаревшей, однако
большинство моделей ЛА, в которых она используется, не сняты с эксплуатации,
поэтому разработанный в рамках курсового проекта прибор можно считать
актуальным.
Список литературы
1. Боднер,
В.А. Авиационные приборы В.А. Боднер. М.: «Машиностроение»,1969. - 468 с.
2. Болл,
Стюарт Р. Аналоговые интерфейсы микроконтроллеров. Р.С. Болл М.: Додэка-XXI,
2007. - 360 с.
. Воробьев,
Л.М. Астрономическая навигация летательных аппаратов/ Л.М. Воробьев. - М.:
«Машиностроение»,1968. - 456 с.
. Денисов,
В.Г. Навигационное оборудование летательных аппаратов / В.Г.Денисов - М.:
Оборонгиз ,1963. - 384 с.
. Марков,
М. АЦП с интерфейсом RS-232
/ М. Марков - Журнал «Радио» №2 2005 г. 75 с.
. Селезнев,
В.П. Навигационные устройства. Учебное пособие / В.П. Селезнев. - М.:
«Машиностроение»,1974. - 600 с.
. Смирнов,
В.И. Проектирование микропроцессорных измерительных устройств / В.И. Смирнов. -
Ульяновск: УлГТУ, 2003. - 117с.
. Шивринский,
В. Н. Бортовые вычислительные комплексы навигации и самолётовождения: Конспект
лекций для студентов специальности 20010365 В.Н. Шивринский. - Ульяновск:
УлГТУ, 2007. - 242 с.