Производство колбасных изделий
Введение
Технология - наука о наиболее эффективных способах промышленного
производства товаров. На выбор технологии производства влияет много факторов:
вид продукции, объём производства, вид сырья, уровень специализации и
кооперирования, вид топливно-энергетических ресурсов и ряд других факторов.
Колбасные изделия и копчёности занимают большой удельный вес в питании
населения, а их производство является одним из важнейших в мясной
промышленности.
Производство колбасных изделий в промышленных и домашних условиях
складываются из отдельных технологических процессов, базирующихся на различных
способах воздействия на сырьё (химических, физических, микробиологических). При
этом особо важную роль имеют тепловые процессы, поскольку применяемое в
колбасном производстве сырьё является скоропортящимся.
Технология производства колбасных изделий постоянно совершенствуется на
основе новейших достижений науки и техники.
Теплообработка является одной из основных технологических операций при
производстве колбасных изделий. Очевидно, что качество готовой продукции,
находится в зависимости от соблюдения технологических требований к этой
операции, а также совершенства применяемого оборудования.
Эффект теплового воздействия, на обрабатываемый продукт, является
величиной, зависящей как от температуры, так и от продолжительности нагрева. В
связи с этим, выбор параметров процесса с гарантированным достижением состояния
готовности и снижения уровня микробиологической обсемененности, является
ответственной задачей, решение которой определяет безопасность и качество
готового продукта. Поэтому, термическая обработка в цепи технологических
процессов производства колбасных изделий определяется как критическая
контрольная точка.
Совершенствование процесса термической обработки может осуществляться в
двух направлениях:
· создание нового и модернизация действующего технологического
оборудования;
· разработка технологического регламента, адаптированного к
данному оборудованию.
Анализ современных технических средств, используемых при термической
обработке колбасных изделий, показывает, что в настоящее время можно выделить
два основных способа осуществления процесса термической обработки:
· с использованием газообразного теплоносителя;
· с использованием жидкого теплоносителя (вода).
С развитием технологий и появлением новых видов оборудования, способ
термической обработки в паровоздушной среде, осуществляемый в специальных
термокамерах, постепенно вытеснил термическую обработку в жидком теплоносителе.
В результате этого произошло удлинение продолжительности термической обработки.
1. Технология производства продукции
.1 Требования к сырью и вспомогательным материалам
Для выработки колбасных изделий используют сырье от здоровых животных без
признаков микробиальной порчи и прогоркания жира. Загрязнения, побитости,
кровоподтеки, клейма должны быть удалены. Туши без запаха в глубине, но с
поверхностным ослизнением, плесенью и побитостями зачищают и промывают горячей
(50 °С) и холодной водой.
Шпик должен быть белого цвета с нормальным запахом, без загрязнений.
Температура шпика, предназначенного для измельчения, не должна превышать -1 °С,
в противном случае он будет деформироваться при измельчении.
Для изготовления вареных колбас применяют говядину и свинину в парном,
охлажденном и размороженном состоянии, для производства колбас других видов - в
охлажденном и размороженном состоянии. Замороженные блоки можно направлять на
приготовление фарша без предварительного размораживания.
Для производства всех видов продуктов из свинины применяют охлажденное до
4 °С сырье, полученное от свиных полутуш беконной, мясной и жирной упитанности
(после удаления шкуры и излишков шпика). К использованию не допускается мясо
хряков и свинина с наличием шпика мажущейся консистенции.
Изделия из говядины изготовляют из туш I и II категории упитанности в
охлажденном или размороженном состоянии.
Для выработки продуктов из баранины используют туши I категории
упитанности в охлажденном состоянии.
Для посола используют пищевую соль не ниже I сорта без механических
примесей и постороннего запаха, сахар-песок белого цвета без комков и примесей,
нитрит натрия с содержанием нитрита (в пересчете на сухое вещество) не менее
96%. Специи и пряности должны иметь присущие им специфические аромат и вкус и
не содержать посторонних примесей.
Кишечные оболочки, применяемые в колбасном производстве, должны быть
хорошо очищены от содержимого, без запаха разложения и патологических
изменений.
Искусственные оболочки должны быть стандартных размеров (диаметр,
толщина), достаточно прочными, плотными, эластичными, влаго- и газопроницаемыми
(для копченых колбас), обладать хорошей адгезией, устойчивыми к действию
микроорганизмов и хорошо храниться при комнатной температуре. Для каждого вида
и сорта колбас используют оболочку определенного вида и калибра.
.2 Общая технология производства вареной Русской колбасы
Характеристика сырья. Вареные колбасы вырабатывают из остывшего,
охлажденного и размороженного жилованного говяжьего, свиного мяса.
Подготовка сырья. Из обваленного говяжьего и свиного мяса удаляют грубую
соединительную ткань, лимфатические и кровеносные сосуды, жир и хрящи. Из
говядины I категории выделяется полив жира вместе с мышечной тканью. Шпик
твердый и грудинку перед измельчением охлаждают до температуры не выше 6 °С.
Измельчение и посол мяса. Посоленное и выдержанное в шроте или фарше
говяжье, свиное мясо вторично измельчают на волчке через решетку с отверстиями
диаметром 2-3 мм, затем обрабатывают на куттере, добавляя лед и специи.
Перемешивание. Измельченное мясо смешивают в фаршемешалке со шпиком,
специями в течение 10-15 мин до образования связанной однообразной массы.
Наполнение оболочек фаршем. Для наполнения оболочек применяют
пневматические, гидравлические, шприцы-дозаторы или механические шприцы
непрерывного действия (в том числе вакуумные).
Вязка. При вязке вязальщик отжимает внутрь оболочки фарш, прочно
завязывает шпагат на конце, делая петлю для навешивания батона на палку.
Навешивание колбас. При навешивании батонов колбас на палки и рамы
необходимо следить за тем, чтобы не было соприкосновения батонов.
Осадка. Во время осадки происходит уплотнение фарша и подсушивание
оболочки. Осадка колбас производится в специальных камерах при температуре 2-4
°С.
Обжарка. Обжарку производят при температуре 50-120 °С в течение 60-180
мин. в зависимости от диаметра батонов, вида оболочек. Для равномерного
обжаривания колбасы в камере подвешивают батоны одинаковой длины и диаметра с
интервалом не менее 10 см.
Варка. Обжаренные батоны варят паром, в воде или в атмосфере горячего
увлажненного воздуха при температуре 75-85 °С до тех пор пока температура в
центре батона достигнет 70 °С. При варке в воде колбасу загружают в воду
температурой 85-90 °С. Продолжительность варки в зависимости от вида оболочки
составляет: для черев от 30 до 50 мин; для кругов и искусственных оболочек
диаметром 50-65 мм от 40 до 80 мин, для синюг, проходников и пузырей - от 1,5
до 3 часов.
Охлаждение. Сваренную колбасу охлаждают до температуры 15 °С под душем, а
затем в помещениях с кондиционированным воздухом температурой 8 °С.
Контроль качества готовой продукции. Готовую колбасу тщательно проверяют
органолептическим методом и отбраковывают батоны с дефектами.
Хранение. Охлажденные вареные колбасы хранят в охлаждаемых помещениях в
подвешенном состоянии при температуре не выше 8 °С и относительной влажности
воздуха 75-80% до трех суток.
Рисунок 1 - Технологическая схема производства вареных колбас на примере
Русской
1.3 Требования к готовой продукции
Поверхность батонов колбасных изделий должна быть чистой, сухой, без
повреждений, пятен, слипов, стеков жира или бульона под оболочкой, наплывов
фарша над оболочкой, плесени и слизи. На оболочке сыро-копченых колбас
допускается белый сухой налет плесени, не проникшей через оболочку в колбасный
фарш. Оболочка должна плотно прилегать к фаршу, за исключением целлофановой.
Поверхность изделий должна быть сухой, чистой, у копченых и копчено-вареных -
равномерно прокопченной, без слизи и плесени.
Вареные и полукопченые колбасы должны иметь упругую, плотную, некрошливую
консистенцию, копченые колбасы - плотную.
На разрезе продукта фарш монолитный, кусочки шпика или грудинки
равномерно распределены, имеют определенную форму и размеры (в зависимости от
рецептуры). Края шпика не оплавлены, цвет белый с розовым оттенком без
желтизны, допускается наличие единичных пожелтевших кусочков шпика в
соответствии с техническими условиями на каждый вид колбасы. Цвет продуктов
равномерный, без серых пятен.
Колбасные изделия должны иметь приятный запах с ароматом пряностей, без
признаков затхлости, кисловатости. Вкус в меру соленый у вареных колбас, у
полукопченых и копченых колбас - солоноватый, острый, с выраженным ароматом
копчения.
Колбасы не должны иметь постороннего привкуса и запаха. Не допускается к
реализации колбасные изделия, содержащие бактерии группы кишечной палочки в 1 г
продукта, сальмонеллы в 25 г продукта, сульфитредуцирующие клостридии в 0,01 г
продукта.
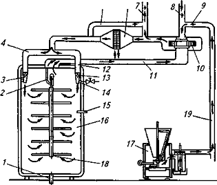
1.4 Технологическая схема производства колбасных изделий
В аппаратурном исполнении процесс производства вареных колбасных изделий
можно рассмотреть на рисунке 2.
Рисунок 2 - Проточно-механизированная линия производства вареных колбас:
1 - конвейерный стол для обвалки и жиловки мяса; 2 - волчок; 3,9 - мешалки; 4 -
насос для фарша; 5,10 - тележки; 6,11 - подъемники; 7 - куттер; 8 -
эмульситаттор; 12 - автомат для вормирования колбасных батонов; 13 - стол для
приема сформированных батонов; 14 - рама для колбасных батонов; 15 -
универсаль-ный термоагрегат; 16 - душевую устройство; 17 - контейнер для
готовых колбас.
По мере накопления жилованное мясо подают для измельчения в волчок 2 с
диаметром отверстий решетки 2…3 мм. Измельченное мясо после перемешивания с
поваренной солью в мешалке насосом 4 перекачивают в тележки 5, в которых мясо
выдерживают в посоле. Выдержанное в посоле мясо подъемником 6 загружают в
куттер 7, где происходит тонкое измельчение мяса и смешивание его согласно
рецептуре с другими компонентами: белковыми препаратами, водой, специями,
раствором нитрита натрия и др. Из куттера фарш подают для более тонкого
измельчения в эмульситатор 8. Если изготовляют бесшпиковые колбасы, фарш из
эмульситатора подают в автомат 12 для формирования колбасных батонов. При
изготовлении колбас со шпиком или другими структурными компонентами фарш из
эмульситатора подают в мешалку 9 для смешивания со шпиком или другими
структурными компонентами. Из мешалки фарш выгружают в тележки 10 и направляют
в автомат для формирования колбасных батонов 12. Сформированные батоны
накапливаются на технологическом столе 13, затем их навешивают на рамы 14 и
подают для термообработки в универсальный термоагрегат 15. Колбасные батоны
охлаждают водой при помощи душевого устройства 16, а затем в камерах воздухом.
По окончании технологического процесса колбасные батоны упаковывают в
контейнеры 17 и направляют на реализацию. Производительность линии зависит от
подбора оборудования.
2. Механизм протекания теплообменного процесса
.1 Теоретические основы теплообмена
Теплообмен - самопроизвольный, необратимый процесс переноса теплоты от
более нагретых тел (или участков тел) к менее нагретым.
Теплота (количество теплоты) - энергетическая характеристика процесса
теплообмена, которая определяется количеством энергии, отдаваемой или
получаемой в процессе теплообмена.
Теплообменные
процессы - это процессы, связанные с переносом теплоты от более нагретых тел к
менее нагретым, т.е. 
. К ним
относятся процессы нагревания, пастеризации, стерилизации, охлаждения,
конденсации, выпаривания и т.п. Скорость тепловых процессов определяется
законами теплопередачи.
Теплопроводностью
называется процесс переноса тепловой энергии от более нагретых участков тела к
менее нагретым в результате теплового движения и взаимодействия микрочастиц. В
результате теплопроводности температура тела выравнивается.
Теплоноситель
- движущаяся среда (газ, пар, жидкость), используемая для переноса теплоты. В
процессах теплопередачи участвует не менее двух сред (веществ) с различными
температурами. Среда с более высокой температурой, отдающая при теплообмене
теплоту, называется горячим теплоносителем, среда с более низкой температурой,
воспринимающая теплоту, называется холодным теплоносителем (хладагентом).
Теплоносители и хладагенты должны быть химически стойкими, не вызывать коррозии
аппаратуры, не образовывать отложений на стенках аппаратов.
В
качестве теплоносителей в пищевой промышленности наибольшее распространение
получили насыщенный водяной пар, вода, дымовые газы, а в качестве хладагентов -
аммиак, фреоны, рассол хлорида кальция, воздух, азот. Выбор теплоносителя или
хладагента определяется их назначением, температурами процесса, стоимостью.
Конвективным называют теплообмен, обусловленный совместным действием
конвективного и молекулярного переноса теплоты. Другими словами, конвективный
теплообмен осуществляется одновременно двумя способами: конвекцией и
теплопроводностью.
Конвективный теплообмен между движущейся средой и поверхностью ее раздела
с другой средой (твердым телом, жидкостью или газом) называют теплоотдачей.
Тепловое излучение - это электромагнитное излучение, испускаемое
веществом и возникающее за счет энергии теплового движения атомов и молекул
(т.е. внутренней энергии).
.2 Основные виды теплообменных процессов в производстве колбас
Теплопроводность.
Если внутри тела или материала имеется разность температур, то тепловая
энергия переходит от более горячей его части к более холодной и передаёт ей
свою тепло. Данный вид теплопередачи, который обусловлен тепловыми движениями и
столкновениями молекул, называется теплопроводность. При достаточно высоких
температурах в твердых телах его можно наблюдать визуально.
Теплопроводность бывает:
· стационарная теплопроводность;
· не стационарная теплопроводность.
Перенос тепловой энергии теплопроводностью зависит от нескольких
параметров:
· от физических свойств тела;
· от геометрических размеров;
В общем случае процесс теплопереноса теплопроводностью сопровождается
изменением температуры в пространстве и во времени.
Стационарное температурное поле - это если температура тела не изменяется
с течением времени и зависит только от геометрических размеров тела.
Нестационарное температурное поле - это когда изменение температуры тела
зависит от времени.
Количественная характеристика изменения температуры на бесконечно малом
отрезке тела характеризует градиент температуры.
Градиент температуры математическими терминами - это предел изменения
температуры к нормали, причём последнее стремиться к нулю. Градиент - это
вектор, направленный к изометрической поверхности в сторону возрастания
температуры и численно равен частной производной этой температуры по этому
направлению.
Конвективный теплообмен (теплоотдача).
Теплоотдачей называется процесс теплообмена между
поверхностью тела и окружающей средой.
Интенсивность теплоотдачи характеризуется
коэффициентом теплоотдачи, равным отношению плотности теплового потока на
поверхности раздела к температурному напору между поверхностью теплообмена и
средой (теплоносителем).
При конвективном теплообмене теплота распространяется
в потоке жидкости или газа от поверхности твердого тела или к его поверхности
одновременно конвекцией и теплопроводностью. От поверхности твердого тела к
потоку жидкости она распространяется через пограничный слой за счет
теплопроводности, от пограничного слоя в ядро потока жидкости или газа - в
основном конвекцией. На интенсивность теплоотдачи существенное влияние
оказывает характер движения потока жидкости или газа. Схема конвективного теплообмена
приведена на рисунке 3.
Рисунок 3 - Схема конвективного теплообмена
Различают теплоотдачу при свободной и вынужденной
конвекции. Под свободной, или естественной, конвекцией понимают перемещение
частиц жидкости или газа в объеме аппарата или теплообменных устройств
вследствие разности плотностей нагретых и холодных частиц жидкости или газа.
Скорость естественной конвекции определяется физическими свойствами жидкости
или газа, разностью температур между горячими и холодными частицами и объемом,
в котором протекает процесс.
Вынужденная, или принудительная, конвекция возникает
под действием насоса или вентилятора и определяется физическими свойствами
среды, скоростью ее движения, формой и размерами канала, в котором движется
поток. При вынужденной конвекции теплообмен происходит значительно интенсивнее,
чем при естественной.
3. Оборудование для теплообработки колбасных изделий
Процессы обжарки, варки и охлаждения могут осуществляться в раздельных
камерах или агрегатах. Предпочтительнее использовать либо универсальные камеры
периодического действия, в которых последовательно проводят процессы обжарки,
варки и охлаждения, либо термоагрегаты непрерывного действия. Достоинство
универсальных камер заключается в возможности варьировать длительность тепловой
обработки, их можно использовать при выработке широкого ассортимента изделий в
случае ограниченного объема производства. Применение универсальных камер
способствует снижению трудовых затрат, потерь массы продукта, улучшению его
качества и повышению производительности труда.
.1 Универсальные термокамеры
Универсальные термокамеры (рисунок 4) представляют собой
теплоизолированный шкаф, закрывающийся с одной стороны двустворчатыми дверями.
В верхней части камеры находятся вентилятор, калорифер и система
воздухораспределения, состоящая из воздуховодов и двух рядов сопел. В целях
равномерного распределения воздушного потока сопла оборудованы двумя
специальными распределительными клапанами. При их вращении сопла периодически
открываются и закрываются.
Привод клапанов осуществляется от индивидуального электродвигателя.
Воздушный поток из сопел направляется вниз, отражается от пола, поднимается
вверх и через воздуховод удаляется из камеры.
В верхней части камеры для увлажнения воздуха и снижения его температуры
смонтированы форсунки.
Вода, распыленная форсунками веерообразно, подхватывается струей горячего
воздуха, частично испаряется, а частично собирается на полу и отводится через
сточный люк. В процессе термообработки люк плотно закрыт. В более совершенных
конструкциях термокамер воздух увлажняется и охлаждается с помощью
кондиционера.
Процесс термообработки в универсальной термокамере происходит за
несколько последовательно выполняемых операций (рис. 5).
Подсушка продукта осуществляется горячим (100-110 °С) воздухом,
подаваемым вентилятором. Воздух нагревается, проходя через рабочую поверхность
калорифера. По распределительным трубам он подается к соплам; дымоход при этом
перекрыт заслонкой.
Рисунок 4 - Универсальная термокамера: а - вид спереди; б - разрез: 1 -
окно; 2 - паропровод; 3 - электродвигатель; 4 - клиновый ремень; 5 -
трубопровод для конденсата; 6 - защелка; 7 - дверь; 8 - дверная ручка; 9 -
штанга; 10 - стенка; 11 - сопла; 12 - привод; 13 - трубопровод для острого
пара; 14 - вентилятор; 15 - дымоход; 16 - трубопровод для свежего воздуха; 17 -
труба для отработавшего воздуха; 18 - калорифер; 19 - балки подвесного пути; 20
- всасывающая труба; 21 - лампа.
Подсушка продукта осуществляется горячим (100-110°С) воздухом, подаваемым
вентилятором. Воздух нагревается, проходя через рабочую поверхность калорифера.
По распределительным трубам он подается к соплам; дымоход при этом перекрыт
заслонкой.
Для варки используют острый пар, поступающий в камеру через
перфорированную трубу под давлением около 200 кПа. Конденсат пара собирается в
нижней части камеры и отводится через сточный люк.
Копчение осуществляется в том случае, если в дымоходе открыта дроссельная
заслонка и дым из дымогенератора с помощью вентилятора поступает в камеру.
Рисунок 5 - Принцип работы универсальной термокамеры: 1 - люк; 2 -
подвесной путь; 3, 13 - сопла; 4, 12 - распределительные трубы; 5 - обводная
труба; 6 - калорифер; 7 - трубопровод для отвода отработавшего воздуха; 8 -
заслонка; 9 - регулятор дыма; 10 - вентилятор; 11 - отсасывающая труба; 11 -
паропровод; 15 - термометр; 16 - термокамера; 17 - дымогенератор; 18 - рама для
подвески колбас; 19 - дымоход.
Количество подаваемого и удаляемого дыма и воздуха регулируют заслонками.
С помощью обводной трубы можно подавать воздух или дым в камеру, минуя
калорифер. Обычно это делают в том случае, когда нет необходимости
дополнительно нагревать воздушную смесь.
В настоящее время для термообработки мясопродуктов промышленность
выпускает большое число камер и шкафов. Для малых мясоперерабатывающих
предприятий предназначаются термокамеры и термошкафы с загрузкой продуктов до
150 кг.
Камеры и шкафы для термической обработки подразделяют на варочные,
обжарочные, коптильные, климатические, охлаждающие, универсальные. В одной
камере можно совмещать несколько процессов, например варку и копчение, сушку и
климатизацию, холодное копчение и созревание. Универсальные камеры позволяют
осуществлять большинство тепловых процессов. В таких камерах в диапазоне
температуры до 100 °С в течение одного технологического процесса можно по
выбору проводить обжарку, сушку, копчение, шпарку, душирование или варку
горячим воздухом, а также запекать продукцию при температуре до 150 °С.
Термокамеры конструируют по следующим основным принципам: экономичное
расходование энергии, повышение пропускной способности за счет более плотного
размещения продукции, максимальная точность направления воздушных потоков,
регулирование температуры и влажности, абсолютная надежность и удобство,
уровень выброса газообразных отходов в атмосферу не должен превышать нормы.
Термошкаф меньше термокамеры и не укомплектован тележкой. Продукцию,
подлежащую термообработке, на полках вручную вставляют внутрь. Все камеры и
шкафы оснащены системой приточно-вытяжной вентиляции, способной в течение 1 мин
десятикратно рециркулировать весь объем воздуха в камере. Санитарную очистку
собственно камеры выполняют вручную.
.2 Оборудование для копчения мяса и мясных продуктов
Для копчения обычно применяют стационарные коптильные камеры и
автокоптилки.
Стационарная коптильная камера представляет собой одно- или многоэтажное
кирпичное сооружение. В нижней части расположена топка, где сжигают топливо для
получения дыма или обогрева камеры. Она оборудована подвесными путями для
подачи продукта на рамах или стойках для их навешивания. На каждом этаже камеры
имеются решетки на случай падения изделий. В центре топки укладывают мелко
нарубленные дрова и засыпают их опилками, которые зажигают со стороны поддува.
Плотность дыма зависит от объема воздуха, поступающего в топку. Считается
нормальным, если воздух поступает в таком количестве, что скорость его движения
в коптильной камере составляет 0,12-0,25 м/с. Относительную влажность в камере
поддерживают в пределах 60-65%.
Малая автокоптилка АМ-360 (рисунок 6) состоит из многоэтажной
вертикальной кирпичной или железобетонной шахты размерами 2,52x3,2 м.
Рисунок 6 - Малая автокоптилка АМ-3601, 3 - редукторы; 2 -
электродвигатель; 4 - цепная передача; 5, 7, 8 - звездочки; 6 - натяжная
станция; 9 - траверсы; 10 - цепи.
Полезная нагрузка автокоптилки 12420 кг. В верхней части автокоптилки
располагается привод, который осуществляется от электродвигателя мощностью 5,5
кВт через червячный редуктор 3 и цепную передачу. Через цепную передачу
вращение передается на червячный редуктор 1. На вал червячного колеса этих
редукторов насажены приводные звездочки 5, на которые навешиваются две бесконечные
пластинчато-шариковые цепи, движущиеся вертикально. Цепи соединены между собой
траверсами люлечного типа, подвешенными на шарнирах так, что они все время
сохраняют горизонтальное положение. Скорость движения цепи 0,016 м/с. Шаг между
траверсами 900 мм. Цепи автокоптилки натягиваются двумя натяжными станциями
грузового типа. Они состоят из оси, вращающейся в двух подшипниках скольжения,
которые смонтированы в ползунах, и двух звездочках 7 и 8. Одна фиксируется
шпонкой, а другая насажена по скользящей посадке.
В нижней части здания шахты расположена топка. От нее дымовоздушная смесь
свободно поднимается по всей шахте, равномерно воздействуя на продукт,
вывешенный на траверсе. В верхней части автокоптилки располагается дымовая
камера, потолок которой снабжен шиберами для регулирования потока дымовоздушной
смеси.
Автокоптилку загружают и выгружают при движущейся цепи после
предварительного прогрева шахты. Загрузочные и разгрузочные двери устанавливают
в соответствии с расположением технологических отделений. Масса автокоптилки
составляет 6300 кг.
Продолжительность копчения 360-1440 мин. Время разогрева камеры до
температуры 90 °С составляет 10 мин.
Мясопродукты, подвергаемые термообработке, навешивают на раму,
укомплектованную поддонами со съемными трубками. Рама представляет собой
сварной каркас на шести колесах. В зависимости от вида обрабатываемого продукта
на кронштейны рамы можно устанавливать цельнометаллические или сетчатые
поддоны. Для сбора жировых выделений служит поддон, устанавливаемый в нижней
части рамы или на полу камеры.
3.3 Оборудование для варки мяса и мясных продуктов
К оборудованию для варки мяса и мясных продуктов относят чаны и варочные
котлы.
Чаны выпускают стационарными или опрокидывающимися, с паровым или огневым
обогревом, с выгрузкой вручную или механизированной, путем опрокидывания
резервуара или корзины, располагающейся внутри резервуара. Чаны бывают
открытыми или с откидывающейся крышкой. Простейшим по устройству и эксплуатации
является открытый стационарный чан, обогреваемый огнем. Он изготовлен сварным с
толщиной стенок 4 мм. Угольники, придающие резервуару требуемую жесткость,
имеют сечение 50х50х6 мм. К продольным стенкам чана приварены уголки для
укладки на них колбасных палок с навешенной продукцией. К днищу приварена труба
для слива воды.
Более совершенным оборудованием для варки мясных изделий являются
различные варочные котлы. Герметично закрываемые крышкой, они позволяют
интенсифицировать процесс варки и исключить паровыделение в производственное
помещение. На малых и средних мясоперерабатывающих предприятиях применяют
варочные котлы различных типов, различающиеся давлением в варочном сосуде,
способом установки и обогрева, а также вместимостью и формой варочных сосудов.
В зависимости от способа обогрева различают котлы с непосредственным и
косвенным обогревом. Котлы с косвенным обогревом работают при повышенном
давлении в греющей рубашке (до 150 кПа). В качестве промежуточного
теплоносителя служит вода.
Для тепловой обработки мясных продуктов на малых и средних предприятиях
наибольшее распространение получили паровые и электрические пищеварочные котлы.
Первый из них представляет собой сосуд цилиндрической формы с эллиптическим
днищем и паровой рубашкой.
Он смонтирован на полых цапфах, через одну из которых подводится пар в
паровую рубашку, а через другую отводится конденсат. Внутри котел выполнен из
нержавеющей стали. Для продувки парового пространства, пуска воды и удаления
воздуха из паровой рубашки в нижней и верхней частях котла имеются
пробно-спускные краны. Давление в паровой рубашке контролируют с помощью
манометра. Варочные котлы вместимостью до 500-600 л обычно имеют механизм
опрокидывания, выполненный в виде червячной передачи с приводным маховичком.
Рисунок 7 - Паровой варочный котел: 1, 9-пробно-спускные краны;
2-манометр; 3-цапфа; 4-паропровод с краном; 5-паровая рубашка; 6-емкость;
7-съемная крышка; 8- штурвал опрокидывателя.
.4 Камеры интенсивного охлаждения
Камеры интенсивного охлаждения - это оборудование, которое завершает
основной технологический цикл производства различных колбасных изделий и мясных
деликатесов, охлаждение свежесваренного продукта до температур +15...+20 °C.
При интенсивном охлаждении в камерах применяется ряд технологических
приемов: душирование, импульсное душирование, водяной туман и холодный воздух.
При чередовании и сочетании этих функций достигается максимальный эффект
минимизации весовых потерь продукта при его охлаждении. Выход продукта из
камеры интенсивного охлаждения в остывшем и сухом виде дает возможность его
поступления сразу на упаковку. Камеры интенсивного охлаждения могут выполнять
функцию холодного склада.
Водяной душ
В потолке каждой секции установлен комплект водяных форсунок, подача воды
на которые осуществляется по выбранной программе через пневмоклапан.
Применяемые форсунки - полноконусные с углом раскрытия зонта 90є. Необходимое
давление воды - не менее 0,25 МПа. Душирование продукта производится в
зависимости от выбранной программы как «постоянное душирование», так и «импульсное
душирование». При постоянном душировании расход воды составляет на одну
колбасную раму 3,0 мі/час. При импульсном душировании расход может быть разным
в зависимости от заданной программы, и в среднем составляет 1,5 мі/час. Отвод
воды из камеры во время душирования происходит через трапы, установленные в
полу камеры (внутренний водосбор), с последующим отводом в систему канализации.
Водяной туман (мелкодисперсное распыление воды)
Водяной туман в камере образуется за счет смешивания воды с воздухом и подачи
его через систему форсунок по программе «туман». Фракция водяной капли - 5-7
мк. Система мелкодисперсного распыления воды служит для предохраняющего,
щадящего увлажнения поверхности продукта в процессе охлаждения. Каждые из
функций «душирование» и «туман» имеют свою группу форсунок.
Охлаждение воздухом
По этой программе достигается конечная температура в середине продукта.
Во время воздушного охлаждения можно при необходимости повышать относительную
влажность воздуха за счет периодического увлажнения. В ложном потолке камеры,
над каждой рамой, установлены циркуляционные вентиляторы со скоростью вращения
3000 об/мин. Их крыльчатки всасывают циркуляционный воздух из рабочего объема
камеры и нагнетают его через установленные в боковых стенках воздухоохладители
в замкнутом цикле обратно в рабочий объем камеры.
Рисунок 8 - Аэродинамическая схема
4. Основные кинетические закономерности теплообменного
процесса
.1 Основные кинетические характеристики теплообменного процесса
Основными кинетическими характеристиками процесса
теплопередачи являются средняя разность температур, коэффициент теплопередачи,
количество передаваемой теплоты (от этой величины зависят размеры теплообменной
аппаратуры).
Связь между количеством передаваемой теплоты и
площадью поверхности теплообмена определяется основным уравнением теплопередачи
которое
для установившегося процесса имеет вид
где
dQ - количество переданной теплоты;
К
- коэффициент теплопередачи между средами; - площадь поверхности теплообмена;
∆tср
- разность температур между средами - движущая сила процесса; ф -
продолжительность процесса.
Коэффициент
теплопередачи показывает, какое количество теплоты (в кДж) передается от одного
теплоносителя к другому через разделяющую стенку площадью 1 м2 в
течение 1 ч при разности температур между теплоносителями 1 град.
Площадь
поверхности теплообмена (теплопередачи) аппарата определяется по формуле:
Чтобы
воспользоваться уравнением (3), необходимо знать количество переданной теплоты,
которое определяется из теплового баланса, среднюю разность температур и
коэффициент теплопередачи между средами. Наибольшую трудность представляет расчет
средней разности температур между теплоносителями, которая определяется по
начальным и конечным температурам теплоносителей и осложняется продольным
перемешиванием теплоносителей. Сложность возникает также при определении
коэффициента теплопередачи, который зависит от режима движения теплоносителей,
а также от условий, в которых протекает теплопередача.
При
производстве колбас используют конвективный теплообмен и теплопроводность
.2 Теплопроводность
Теплопроводностью называется процесс переноса тепловой
энергии от более нагретых участков тела к менее нагретым в результате теплового
движения и взаимодействия микрочастиц. В результате теплопроводности
температура тела выравнивается. Поверхность тела, все точки которой имеют
одинаковую температуру, называется изотермической поверхностью. Температуры
внутри тела (среды) изменяются в направлении от одной изотермической
поверхности к другой. Наибольшее изменение температуры происходит по нормали к
изотермическим поверхностям. Предел отношения изменения температуры ∆t к
расстоянию между изотермическими поверхностями по нормали ∆l называется
температурным градиентом:
Основной
закон теплопроводности, установленный Фурье (1768-1830) и названный его именем,
гласит, что количество теплоты dQ, переданное теплопроводностью,
пропорционально градиенту температуры
, времени
dt и площади сечения dF, перпендикулярного направлению теплового потока:
где
л - коэффициент теплопроводности среды, Вт/(м˖К).
Коэффициент
теплопроводности веществ зависит от их природ и агрегатного состояния,
температуры и давления. Коэффициент теплопроводности газов возрастает с
повышением температуры и почти не зависит от давления. Для жидкостей, за
исключением вод и глицерина, наоборот, л уменьшается с повышением температуры.
Для большинства твердых тел л увеличивается с повышением температуры. Для
теплоизоляционных материалов коэффициент теплопроводности изменяется от 0,0116
до 0,006 Вт/(м˖К). Дифференциальное уравнение теплопроводности,
называемое также уравнением Фурье, описывает процесс распространения теплоты в
среде. Его выводят на основе закона сохранения энергии и записывают в следующем
виде:
где
- коэффициент температуропроводности, м2/ч
или м2/с;
с
- удельная теплоемкость материала, кДж/(м˖К);
с
- плотность материала, кг/м3.
Уравнение
теплопроводности позволяет решать вопросы, связанные с распространением теплоты
теплопроводностью в условиях как установившегося, так и неустановившегося
процесса. При решении конкретных задач уравнение теплопроводности должно быть
дополнено соответствующими уравнениями, описывающими начальные и граничные
условия.
Уравнение,
описывающее теплопроводность плоской стенки при установившемся режиме, имеет
вид:
,
где
- тепловая проводимость стенки.
Величина,
обратная тепловой проводимости стенки,
называется
термическим сопротивлением стенки.случае двухслойной стенки, например
эмалированной, или многослойной, можно аналогично получить
где
n - количество слоев стенки.
4.3 Конвективный теплообмен (теплоотдача)
Основной закон теплоотдачи - закон Ньютона гласит:
количество теплоты dQ, переданное от поверхности теплообмена к потоку жидкости
(газа) или от потока к поверхности теплообмена, прямо пропорционально площади
поверхности теплообмена F, разности температур поверхности tст и
ядра потока tf (или наоборот) и продолжительности процесса dф:
}
где
б - коэффициент теплоотдачи,
, который
показывает, какое количество теплоты передается от теплообменной поверхности в
1 м2 к омывающему ее потоку или от потока к поверхности теплообмена,
равной 1 м2, в единицу времени (1 ч) при разности температур
поверхности теплообмена и ядра потока 1 К.
Если
коэффициент теплоотдачи имеет постоянное значение вдоль всей поверхности
теплообмена (б=const), уравнения (9) принимают вид
}
в
зависимости от того, передается теплота от стенки к омывающему стенку потоку
или наоборот. Значение коэффициента теплоотдачи, который определяет скорость
конвективного теплообмена, зависит от многих факторов: режима движения жидкости
(газа), физических параметров жидкости (газа), формы и размера поверхности
теплообмена и др. Коэффициент теплоотдачи рассчитывают по критериальным
уравнениям, которые получают методами теории подобия из дифференциального
уравнения конвективного теплообмена, дополненного уравнениями, характеризующими
условие на границе раздела потока и стенки аппарата. Связь коэффициента
теплопередачи с коэффициентом теплоотдачи. Коэффициент теплопередачи
рассчитывают на основании коэффициентов теплоотдачи, вычисленных по
критериальным уравнениям.
Рассмотрим
процесс теплопередачи между теплоносителями, разделенными стенкой (рисунок 9).
Пусть температура горячего теплоносителя tѓ, холодного - tѓ2.
Температуры поверхностей стенки соответственно tст1и tст2.
Коэффициенты теплоотдачи для горячего теплоносителя б1, холодного -
б2.
При
установившемся процессе количество теплоты Q, передаваемое в единицу времени
через площадку Fот ядра потока горячего теплоносителя к стенке, равно
количеству теплоты, передаваемому через стенку теплопроводностью и от стенки к
ядру потока холодного теплоносителя. Это количество теплоты можно определить:
в
первом случае по закону Ньютона
;
во
втором случае по закону Фурье
в
третьем случае по закону Ньютона
.
Рисунок 9 - Процесс теплопередачи между теплоносителями, разделенными
стенкой
Из этих уравнений получают разности температур или частные температурные
напоры:
Складывая
левые и правые части этих уравнений, получают разность температур
теплоносителей, или общий температурный напор:
Из
сопоставления уравнений (2) и (12) получаем:
Величина
, обратная коэффициенту теплопередачи, называется
общим термическим сопротивлением теплопередачи и обозначается R (R=r1+
rст + r2). Величины
и
называются частными термическими сопротивлениями r1
и r2, а
- термическим сопротивлением стенки rст. В
случае многослойной стенки в уравнение (13) вместо
подставляется сумма термических сопротивлений каждого
слоя стенки. Тогда:
где
n- количество слоев стенки; i- порядковый номер слоя.
Необходимо
отметить, что коэффициент теплопередачи всегда меньше минимального коэффициента
теплоотдачи.
.4 Движущая сила теплообменных процессов
Движущая сила теплообменных процессов - разность
температур теплоносителей. Под действием этой разности теплота передается от
горячего теплоносителя к холодному.
Процессы
теплообмена в аппаратах непрерывного действия могут осуществляться в прямотоке,
противотоке, перекрестном и смешанном потоках. На рис. 4. показан характер
изменения температур теплоносителей при прямотоке и противотоке. Один из
теплоносителей G1 охлаждается от температуры
до
, а другой
G2 нагревается от
до
.
Движущая
сила при теплопередаче между двумя теплоносителями не сохраняет своего
постоянного значения, а изменяется вдоль теплообменной поверхности. Например,
при прямотоке при входе теплоносителей в теплообменник локальная движущая сила
максимальна:
,
а
на выходе из аппарата минимальна:
Такая
же картина наблюдается и при противотоке. Поэтому при расчетах процессов
теплопередачи пользуются средней движущей силой процесса.
Количество
теплоты, которое передается в единицу времени от горячего теплоносителя к
холодному на бесконечно малом элементе теплообменной поверхности (см. рис. 4,
а), определяется по основному уравнению теплопередачи (1):
В результате теплообмена на этом элементе поверхности
температура горячего теплоносителя понизится на:
а
температура холодного теплоносителя повысится на:
где
G1и G2 - массовые расходы соответственно горячего и
холодного теплоносителей;
Изменение
температуры теплоносителей найдем, вычитая из уравнения(17) уравнение (18):
Подставляя
значение dQ из основного уравнения (16) теплопередачи в равенство (19), после
преобразования получим
Количество
теплоты Q, переданное в единицу времени от горячего теплоносителя к холодному
на всей теплообменной поверхности Fтеплообменника, определяем из уравнения
теплового баланса:
Подставляя
значения G1c1и G2c2из уравнения
(21) в уравнение (20), получаем:
В
результате интегрирования уравнения (22) при постоянном К получаем:
Из
сравнения уравнений (23), (24) и основного уравнения теплопередачи (2) получают
соотношение для расчета средней движущей силы процесса теплопередачи
Это
отношение справедливо и для случая противоточного движения теплоносителей вдоль
поверхности теплообмена.
При небольших изменениях температур теплоносителей,
когда ∆tmin/∆tmax ≥0,5, среднюю
разность температур вычисляют как среднеарифметическую:
при этом ошибка не превышает 5 %.
При перекрестном и смешанном потоке теплоносителей
среднюю движущую силу вычисляют по формуле (25), вводя коэффициент е∆t;
который
определяется по графикам в зависимости от схемы потоков и соотношения
температур теплоносителей.
5. Расчет параметров процесса
Определить потери теплоты с 1 м2
поверхности стенки универсальной термокамеры, коэффициент теплопередачи и
температуры обеих стенок термокамеры, если стенка трехслойная: 1-й внутренний
слой - шамотный кирпич толщиной д1 = 100 мм, 2-й слой -изоляционный
кирпич толщиной д2 = 60 мм, 3-й слой - стальной кожух толщиной д3
= 8 мм. Теплопроводность слоев: л1 = 0,81 Вт/(м˖К), л2 = 0,23 Вт/(м˖К), л3 = 45 Вт/(м˖К). Температура в печи tѓ1
= 780 °C, температура окружающего воздуха tѓ2 = 20 °C. Коэффициенты
теплоотдачи соответственно с внутренней и наружной сторон термокамеры б1
= 70 Вт/(м2˖К), б2 = 12 Вт/(м2˖К).
Решение
Находим тепловые сопротивления (в м2˖К/Вт):
горячего теплоносителя r1=1/б1=1/70=0,0143;
-го слоя стенки rст1=д1/л1=0,1/0,081=0,123;
-го слоя стенки rст2=д2/л2=0,06/0,23=0,26;
-го слоя стенки rст3=д3/л3=0,008/45=0,00018;
холодного теплоносителя r2=1/б2=1/12=0,083.
Общее тепловое сопротивление
=0,0143+0,123+0,26+0,00018+0,083=0,48 м2˖К/Вт.
Определяем плотность теплового потока, равную удельной
потере теплоты с 1 м2 поверхности стенки: q= (tѓ1 - tѓ2)
/R=(78-20)/0,48≈1583 Вт/м2.
Коэффициент теплопередачи К=1/R=1/0,48≈2,08
Вт/(м˖К).
Температура внутренней стенки термокамеры tcт1=
tѓ1 - qr1=780-1583˖0,0143≈757,4°С.
Температура на границе шамотного и изоляционного кирпича
1-2=tcт1-qrcт1=757,4-1583˖1,123=562,7 °C.
Температура на границе изоляционного кирпича и
стального кожуха
2-3=t1-2-qrcт2=562,7-1583˖0,26=152,1°С.
Температура внешней стенки термокамеры
ст2=t2-3-qrcт3=152,1-1583˖0,00018=150,6°С.
колбасный копчение мясной пищевой
Проверяем величину tcт2 по температуре
холодного теплоносителя
cт2= tѓ2+ qr2=20+1583˖0,83≈151,4 °C.
Заключение
Для интенсификации переноса теплоты через стенку нужно либо увеличить
перепад температур между теплоносителями, либо уменьшить термическое
сопротивление теплопередачи. Температуры теплоносителей обусловлены
требованиями технологического процесса, поэтому изменить их обычно не удается.
Термическое сопротивление можно уменьшить различными способами,
воздействуя на любую из составляющих
. Интенсифицировать теплообмен и
уменьшить величину R можно путем увеличения скорости движения теплоносителя,
турбулизации пограничного слоя и т.д. Термическое сопротивление
теплопроводности rcm зависит от материала и толщины стенки.
Естественно, что существенное влияние на величину R будет оказывать уменьшение
наибольшего из слагаемых. В широко используемом в технике процессе передачи
теплоты от капельной жидкости к газу через металлическую стенку наибольшее
термическое сопротивление имеет место в процессе теплоотдачи от газа к стенке,
а остальные термические сопротивления пренебрежимо малы по сравнению с ним.
Список литературы
1. Справочник технолога колбасного производства / С74.
И.А. Рогов, А.Г. Забашта, Б.Е. Гутник и др. - М.:КолоС, 1993.
. Технология хранения, переработки и стандартизации
животноводческой продукции: Учебник / В.И. Манжесов, Е.Е. Кучаева, М. Г.
Сысоева и др. - СПб.: Троицкий мост, 2012.
. Экспертиза мяса и мясопродуктов. Качество и
безопасность: учеб. - справ. пособие / В.М. Поздняковский - 4-е изд., испр. и
доп. - Новосибирск: Сиб. Унив. Изд-во, 2007.
. Технология мяса и мясных продуктов. Книга 2.
Технология мясных продуктов. - М.: КолоС, 2009.
. Процессы и аппараты пищевой технологии. - 2-е изд.,
перераб. и доп.-М.: Колос, 2000.
. Процессы и аппараты пищевых производств: курс лекций
/ М.Н. Мефодьев, Г.М. Харченко, А.А. Мезенов; Новосиб. гос. аграр. ун-т.
Инженер. ин-т.- Новосибирск, 2009.