Современные устройства измерения, применяемые на ТЭС
МИНИСТЕРСТВО
ОБРАЗОВАНИЯ И НАУКИ РФ
ФЕДЕРАЛЬНОЕ
ГОСУДАРСТВЕННОЕ БЮДЖЕТНОЕ ОБРАЗОВАТЕЛЬНОЕ УЧРЕЖДЕНИЕ ВЫСШЕГО ПРОФЕССИОНАЛЬНОГО
ОБРАЗОВАНИЯ
НОВОСИБИРСКИЙ
ГОСУДРАСТВЕННЫЙ ТЕХНИЧЕСКИЙ УНИВЕРСИТЕТ
Кафедра:
Систем сбора и обработки данных
Реферат
на тему:
Современные
устройства измерения, применяемые на ТЭС
Факультет: ФЭН
Группа: ТЭ-11
Преподаватель:
Береснев В.К.
Студент: Тамашаев
М.Ж.
Новосибирск,
2013
Оглавление
Введение
Энергоустановки
и технологические параметры
Средства
измерения
Контроль
над установками
Информационно-измерительная
система
Измерение
температуры
Давление,
расход, уровень
Заключение
Введение
Для безопасной и экономичной работы тепловой
электрической станции нужны измерения технологических параметров.
Теплотехнические измерения служат для
определения многих физических величин, связанных с процессами генерации пара,
преобразования и потребления энергии.
В основе любых измерений лежат различные
физические явления, определяющие принцип измерения, например: измерение
температуры с использованием термоэлектрического эффекта, измерение расхода
газа или жидкости по перепаду давлений на сужающем устройстве.
Целью этой работы является ознакомиться с
измеряемыми параметрами в теплоэнергетике и способами их измерения, применяемых
на современных станциях.
Энергоустановки и технологические параметры
В теплоэнергетике номинальные значения
технологических параметров достаточно высокие, и приближаются к предельно
допустимым. Таким образом, температура перегретого пара достигает 545-560 °С, а
предельная температура металлических труб пароперегревателя, превышение которой
ведет к их разрушению, - 570 °С. При увеличение давления пара выше расчетного и
скопление больших паровых объемов возможен разрыв труб, повреждение основного
оборудования и утечка пара с высокими параметрами в помещение котлотурбинного
цеха, при понижение давления - образование влажного пара в последних ступенях
турбины, что вызывает эрозию и разрушение турбины.
Современный энергоблок представляет собой целый
комплекс теплоэнергетических установок основного и вспомогательного
оборудования.
В состав основного оборудования входят котел,
турбина и электрогенератор. А вспомогательное включает в себя конденсатор,
подогреватели низкого и высокого давления (ПНД и ПВД), деаэраторы, емкости с
добавочной водой, питательные насосы, вентиляторы.
Средства измерения
Работа современного оборудования ТЭС связана с
изменением вырабатываемой мощности энергоблока. Условия работы энергоблока
зависят от требования энергосистемы, в которой может возникать дефицит или
избыток вырабатываемой мощности. При работе энергоблоков ТЭС в переменных
режимах приходится учитывать тепловую инерцию важных теплотехнических
параметров и способность энергоблока аккумулировать или отдавать теплоту в
переходных режимах.
Для этого и нужна сеть для сбора и обработки
информации о ходе теплоэнергетических процессов и состоянии оборудования ТЭС.
Эта сеть создается на базе приборов, автоматически измеряющих теплотехнические
параметры. Вся информация поступает к оператору, который управляет работой
энергоблока, а также в системы управления.
Контроль над установками
Для контроля за работой установок
пылеприготовления применяют приборы, которые измеряют: температуру сушильного
воздуха перед мельницей и пылевоздушной смеси за ней; температуру пыли и ее
уровня в бункере; тока электродвигателей мельниц, вентиляторов мельничного и
первичного воздуха, определения положения регулирующих органов (задвижек,
кланов, заслонок).
Для контроля за работой котлов
производительностью до 35 т/ч пара применяют показывающие приборы -
водоуказательные устройства на барабане и приборы измерения давления в нем.
При производительности более 35т/ч пара
котельные установки должны быть оборудованы самопишущими приборами с показывающей
шкалой для измерения:
давления пара, питательной воды, мазута или
газа;
температуры пара, питательной воды, газов,
мазута, металла, среды, пылевоздушной смеси;
уровня воды в барабане, угольной пыли;
расхода газообразного топлива и мазута на котел,
питательной воды, воздуха на котел или сопротивления воздухоподогревателя,
первичного воздуха;
тока электродвигателей дымососов, дутьевых
вентиляторов, вентиляторов первичного воздуха и питателей пыли;
Информационно-измерительная система
Информационно-измерительная система (ИИС) -
система теплотехнического контроля, все устройства для измерения, установленные
на котле. (рис.1)
Рис. 1. Информационно-измерительная
система
Эта система разделяет параметры по
степени важности:
Параметры, характеризующие ход
технологического процесса и безопасность работы агрегатов (давление, расход
пара и питательной воды, уровень воды в барабане котла, температуру пара перед
турбиной);
Параметры, характеризующие ход
технологического процесса и его качественные показатели (температуру уходящих
газов, питательной воды, содержание кислорода, расход воды на впрыск);
Параметры, которые при нахождении в
допустимых границах не влияют на ход технологического процесса (температура
подшипников, давление масла в системе смазки вспомогательных агрегатов);
Параметры, которые необходимы для
контроля при наладке котлов после ремонта или при существенных изменениях
режима работы (изменение вида топлива);
Сейчас в ИИС на станциях наиболее
надежными измерителями температуры являются термоэлектрические термометры.
Среди приборов измерения давления, расхода, уровня лучшими по надежности
являются манометры и дифманометры с дифференциально-трансформаторными
преобразователями. Для измерения расхода жидкого и газообразного топлива служат
самые точные приборы - тахометрические расходомеры. Расход воды и пара может
быть измерен с помощью дифманометров расходомеров.
Измерение температуры
В основном применяют
термоэлектрические термометры (термоэлектрические преобразователи, ТЭП)
Работа ТЭП основана на использовании
термоэлектрического эффекта (Т.Зеебек), заключающегося в генерировании термоэлектродвижущей
силы (термо-ЭДС), возникающей из-за разности температур между двумя
соединениями различных материалов или сплавов, образующих часть одной и той же
цепи.
Простейший случай - термопара. (рис.
3)
Под ТЭП приято понимать комплект,
состоящий из:
) Термопары, осуществляющей
преобразование температуры в электрическое напряжение;
Линии связи (удлиняющий провод);
Вторичного прибора для измерения
термо-ЭДС.

Давление, расход, уровень
Дифференциальные манометры широко
применяются в технологических процессах для измерения, контроля, регистрации и
регулирования перепада-разности давления, расхода, уровня.
Дифманометр-расходомер - это прибор,
измеряющий расход вещества (жидкость, газ, пар) по принципу перепада давлений
на сужающем устройстве (стандартные диафрагмы и сопла) или вводимых в поток
гидро- или аэродинамическом сопротивлениях.
Дифманометр-перепадомер - это
прибор, измеряющий перепад (разность) давления жидких и газообразных сред в
двух точках измерения технологического цикла. теплоэнергетика
измерение манометр
Дифманометр-уровнемер - это прибор,
измеряющий уровень жидких сред по величине гидростатического столба.
Самыми надежными считаются
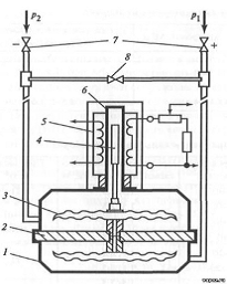
дифманометры с дифферкнциально-трансферным преобразователем. (рис.5)
Преобразовывают давление в электрический сигнал.
рис. 5. Схема дифманометра с
дт-преобразователем
- корпус, 2 - разделительная стенка,
3 - мембранный блок, 4 - сердечник, 5 - катушка дт-преобразователя, 6 - трубка
из немагнитного материала, 7,8 - вентили.
Заключение
В итоге можно сделать вывод, что на ТЭС не
обойтись без измерительных приборов, за оборудованием, работающем на станциях,
должен быть постоянный контроль для безопасной и экономичной работы.
Данный реферат освежил мои познания в теме
измерительные устройства, и дал значимые знания в применении их в данной
отрасли. Выполняя эту работу, я подчеркнула новые и интересные факты для себя.
А также углубилась в изучение своей специальности.
Список литературы
Мухин
В.С., Саков И.А. Приборы контроля и средства автоматики тепловых процессов:
Учеб. Пособие для СПТУ.-М.: Высш. Шк., 1988.-256 с.: ил.
Клюев
А.С., Товарнов А.Г. Наладка систем автоматического регулирования
котлоагрегатов, М., «Энергия», 1970.
Чистофорова
Н.В., Колмогоров А.Г. Технические измерения и приборы: Учеб. Пособие. -
Ангарск, АГТА, 2008. - 200с.