Устройство кровли из рулонов

  • Вид работы:
    Курсовая работа (т)
  • Предмет:
    Строительство
  • Язык:
    Русский
    ,
    Формат файла:
    MS Word
    69,18 Кб
  • Опубликовано:
    2015-04-24
Вы можете узнать стоимость помощи в написании студенческой работы.
Помощь в написании работы, которую точно примут!

Устройство кровли из рулонов

Введение


Выбор кровельного материала один из важных моментов перед началом устройства кровли. Наплавляемая кровля является на сегодняшний день наиболее перспективным и востребованным материалом для устройства кровельного покрытия плоских кровель.

Отличительная особенность технологии укладки наплавляемых материалов - отсутствие перед наклеиваемым рулоном валика мастики, который способствует заполнению всех неровностей основания. Поэтому возрастает роль прикатки наклеенного полотнища, в результате которой не только удаляются остатки воздуха, но и формируется качественный клеевой шов.

В этой связи стоит отдельно выделить преимущества устройства наплавляемых мягких кровель перед другими технологиями:

Наплавляемый кровельный материал обладает высоким качеством гидроизоляции, долговечен и надежен.

Рулонные материалы наплавляемой кровли размещаются внахлест, швы соединяются путем подогрева краев, что обеспечивает надежное сцепление.

Наплавляемая кровля устанавливается практически по любому основанию.

Наплавляемая кровля представляет собой негниющую синтетическую (полиэстер) или стекловолокнистую (стеклоткань, стеклохолст) основу, на которую с двух сторон наносится битумная или полимерно-битумная смесь. В зависимости от назначения, на верхнюю часть наплавляемого материала может быть нанесен защитный слой из мелкой слюдяной, песчаной или сланцевой крошки.

Кровельные материалы топ-класса применяются в случаях, когда к надежности и долговечности кровли предъявляются повышенные требования, или когда собственник здания желает сделать выгодную инвестицию: сэкономить средства на будущих ремонтах кровли благодаря бескомпромиссной надежности и долговечности используемых кровельных материалов.

Кровельные материалы стандарт класса являются стандартными решениями для надежных кровель.

Кровельные материалы эконом класса используются на временных зданиях и сооружениях, когда долговечность полученной ограждающей системы не является необходимой, или в условиях ограниченного бюджета.

Правильно подобранный материал кровельного покрытия позволит продлить срок службы кровли, сократить число текущих ремонтов, что избавит заказчика от излишних затрат.

 

 


1. Технологическая карта

 

.1 Область применения


Объект - жилое 16-этажное монолитное здание с размерами осей в плане 30,4х17,4 м.

Технологическая карта разработана на устройство мягкой кровли из наплавляемых рулонных материалов: Унифлекс и Линокром компании Технониколь.

Рулонный материал состоит из картонной, стекловолокнистой или полиэфирной основы, покрытой с внешней стороны слоем битумно-полимерного вяжущего, а с внутренней стороны - наплавляемым слоем битумной мастики, что позволяет применить его для устройства нашей трехслойной кровли без приклеивающих мастик. Основаниями под наплавляемую кровлю в нашем случае служит монолитная стяжка из цементно-песчанного раствора.

В состав работ по устройству кровли их наплавляемых материалов, рассматриваемых в данном курсовом проекте входят:

подготовка поверхности;

устройство пароизоляции;

устройство теплоизоляционного слоя;

устройство стяжки;

устройство наплавляемой кровли из наплавляемого рулонного материала;

устройство водоприемных воронок и примыканий.

Устройство мягкой кровли из наплавляемых рулонных материалов выполняют в соответствии с требованиями федеральных и ведомственных нормативных документов, в том числе:

СНиП 12-01-2004. Организация строительства;

СНиП 3.03.01-87. Несущие и ограждающие конструкции;

СНиП 3.04.01-87. Изоляционные и отделочные покрытия;

СНиП 12-03-2001. Безопасность труда в строительстве. Часть 1. Общие требования;

СНиП 12-04-2002. Безопасность труда в строительстве. Часть 2. Строительное производство;

ПОТ Р М-012-2000. Межотраслевые правила по охране труда при работе на высоте;

СанПиН 2.2.3.1384-2003. Минздрав РФ. Гигиенические требования к организации строительного производства и строительных работ.

Работы выполняют в одну смену в зимних условиях в светлое время суток.

1.2 Организация и технология выполнения работ


До начала робот по устройству основания и покрытия кровли из наплавляемого рулонного материала должны быть выполнены следующие организационно-подготовительные мероприятия и работы:

выполнены и приняты работы по устройству несущих конструкций, монолитных стен и покрытия машинного отделения лифта, парапетов крыши.

выполнены детали деформационных швов;

установлены закладные детали;

сделаны отверстия для пропуска коммуникаций;

утеплены и оштукатурены участки монолитных и каменных конструкций на высоту наклеивания кровельного ковра;

оформлен наряд-допуск на работы повышенной опасности;

подготовлен инструмент, приспособления, инвентарь;

доставлены на рабочее место материалы и изделия,

исполнители ознакомлены с технологией и организацией работ, техникой безопасности.

Фронт работ в плане представляет собой одну захватку. Захватку делим на делянки, освоение которых возможно в течении одного дня.

Устройство основания и покрытия кровли из наплавляемого рулонного материала выполняют в следующем порядке:

выполняют пароизоляцию;

устраивают теплоизоляционный слой;

устанавливают водоприемные воронки;

устраивают стяжку;

послойно выполняют мягкую кровлю наплавляемого рулонного материала;

устраивают водоприемные воронки и примыкания.

Устройство пароизоляции

При устройстве пароизоляции необходимо выполнить следующие процессы и операции: удаление строительного мусора; выравнивание дефектных участков на несущих конструкциях; обеспыливание поверхности; просушивание влажных участков; подача материалов на рабочее место; огрунтовка поверхности; нанесение мастики, наклеивание рулонного материала; ликвидация дефектов.

Удаление строительного и иного мусара выполняют вручную непосредственно перед обеспылеванием основания

Обеспыливание поверхности выполняют щетками, промышленным пылесосом или струей сжатого воздуха за 1…2 дня до огрунтовки основания. Площадь обеспыливаемого участка не должна превышать сменной выработки звена на огрунтовке.

Выравнивание поверхности плит, а также заделку стыков, сколов, выбоин и раковин размером более 5 мм выполняют цементно-песчаным раствором марки 50. Поверхность раствора обрабатывают гладилкой. Уход за слоем цементно-песчаного раствора производят в соответствии с нормативными требованиями.

Просушивание влажных участков основания производят тепловым способом с применением нагревательных устройств и машин.

Огрунтовку поверхности железобетонных плит выполняют вручную.

Окрасочную пароизоляцию выполняют путем нанесения битумной или битумно-полимерной мастики. Мастику наносят с помощью кровельной щетки.

Устройство теплоизоляции

Устройство плитной теплоизоляции из минераловатных плит выполняют в следующем порядке: кровельщики на готовый слой пароизоляции укладывают вначале нижний слой минераловатных плит повышенной жесткости, а затем верхний слой из твердых плит. Далее при помощи электрического шуруповерта устанавливают пластмассовые кнопки-анкеры. Кровельщик надевает на рабочий наконечник кнопку, легким ударом загоняет ее в слой теплоизоляции и одновременно включает шуруповерт, которым заворачивает саморез. На рис. 1 показана кнопка-анкер, на рис. 2 изображена конструкция покрытия в местах установки кнопки-анкера.

Рис.1 Кнопка-анкер для крепления плит теплоизоляции

Рис.2 Конструкция покрытия в местах установки кнопки-анкера

При устройстве теплоизоляции из минераловатных плит повышенной жесткости на синтетическом связующем производят вынесение отметок, подготовку плит, подачу и транспортирование плит на покрытие, укладку плит в два слоя с закреплением пластмассовыми кнопками-анкерами, вырезают ножом гнезда для фартука водоприемных воронок; устанавливают водоприемные воронки (рис. 3…5).

Рис.3 Укладка плит утеплителя

Рис.4 Разметка и вырезание гнезд для водоприемных воронок

Рис.5 Установка водоприемных воронок

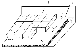
Так как проектом предусмотрено создание уклонов к водоприемным воронкам, то перед укладкой плит насылают сыпучий материал слоем переменной толщины Устройство теплоизоляционного слоя из минераловатных плит выполняют после выравнивания керамзита. Кровельщик-изолировщик с помощью тележки подвозит к рабочему месту и затем вручную раскладывает плиты вплотную друг к другу в направлении снизу вверх. Слой утеплителя укладывают таким образом, чтобы обеспечить надёжный водоотвод и исключить застой воды.

Рисунок 6. Устройство комбинированной теплоизоляции

- плиты утеплителя; 2 - сыпучий утеплитель.

Устройство цементно-песчанной стяжки

Устройство цементно-песчаной стяжки выполняют в следующем порядке: устанавливают направляющие из труб с шагом 1,5+2,0 м; укладывают растворную смесь полосами с выравниванием и заглаживанием правилом по направляющим за 2 этапа: вначале нечётные полосы, а после затвердевания в них раствора, чётные.

Рисунок 7. Схема устройства цементно-песчаной стяжки

- направляющие; 2 - правило; 3 слой утеплителя; 4 - растворонасос; 5 - емкость для раствора; 6 - растворовод; h h - отметки верха стяжки.


Растворную смесь подают при помощи растворонасосов по трубам.

В стяжке устраивают деформационные швы с шагом 4 метра. В местах примыкания рулонного ковра к стенам, парапетам, шахтам и стоякам устраивают выкружки радиусом не менее 100 мм.

После набора прочности цементно-песчаную стяжку огрунтовывают холодной битумной грунтовкой-праймером. Праймер наносят кистями, валиком.

Устройство покрытия кровли

К началу устройства покрытия кровли необходимо произвести контроль качества основания и соблюдение уклонов, проверить законченность других строительно-монтажных работ на покрытии, проверить наличие и комплектность материалов для устройства кровли, произвести подготовку машин и оборудования для выполнения транспортных и кровельных работ, подготовить строительную площадку и рабочие места по вопросам охраны труда и пожарной безопасности, проверить наличие и готовность инструмента и приспособлений.

Полотнища рулонного материала наплавляются или наклеиваются разжижением покровного слоя на стяжку,

При устройстве рулонной кровли процессы и операции выполняются в следующей последовательности: подготовка материалов, мастик, составов и деталей; подача материалов, мастик, составов и деталей на покрытие; огрунтовка основания; наклеивание дополнительных слоев рулонного материала в местах установки водоприемных воронок, разжелобках; наклеивание рулонного материала в основные слои; оформление мест примыкания водоизоляционного слоя к стенам, шахтам, парапетам, трубам; контроль качества выполняемых процессов.

Устройство рулонной кровли на захватке выполняют от пониженных участков к повышенным. Раскатку и наклеивание полотнищ выполняют в направлении противоположном стоку воды.

Наклеивание полотнищ с расплавлением мастики ведется в следующей последовательности (рис. 8): после подготовки основания и разметки положения первого полотнища раскатывают рулон по разметочной линии, затем сворачивают его с одного конца на 1,5…2 м, зажигают газовую горелку и направляют пламя на мастичный слой рулонного материала. Кровельщик держит стакан горелки на расстоянии 100+200 мм от рулона и оплавляет мастичный слой маятниковыми движениями горелки вдоль рулона. После образования валика стекшего с нижней стороны рулона слоя мастики кровельщик раскатывает рулон, разглаживает и прижимает полотнище к основанию. Работа идет циклично: расплавление мастики на участке полотнища, раскатывание. Скорость наклеивания рулона определяется визуально по мере образования валика расплавленной мастики.

Рис.8а

Рис.8б


Рис.8в

Рис.8г

Рис.8д

Рисунок 8. Схема наклеивания наплавляемого рулонного материала

а - разметка положения первого полотнища; б - наклеивание наплавляемого материала полотнища на длину 1,5-2,0 м; в-то же второго участка полотнища; г-то же второго полотнища; д-то же во втором, третьем слоях.

- разметочная линия; 2 - ось разжелобка; 3 газовая горелка; 4 - свернутая часть полотнища; 5 - каток-раскатчик; 6 - полотнище; 7 - штабель рулонов; 8 - смежное полотнище; 9 - баллон со сжатым газом.

Далее наклеиваются второе и последующие полотнища по такой же технологии с соблюдением нахлестки смежных полотнищ 70 мм для нижних слоев и 100 мм для верхнего слоя покрытия.

в первом слое используется перфорированный рулонный материал: его наплавляют только по кромкам. Расплавленная мастика второго слоя попадает в отверстия (перфорацию) и тем самым усиливает сцепление первого слоя с основанием. Под первым слоем остаются воздушные полости, которые обеспечивают выравнивание парциального давления паров под рулонным ковром и над ним.

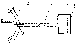
Расплавление мастики выполняют с помощью газовых горелок (рис. 9,10). Раскатывание рулона производят раскатчиком (рис. 11). Схема наклеивания полотнища с раплавлением мастики показана на рис. 12а.

Рисунок 9. Горелка газовоздушная ГВ-1-02П

- стакан; 2 - инжектор (сопло); 3 - регулировочный вентиль; 4 - ствол с рукояткой; 5 - штуцер; 6 - накидная гайка; 7 - ниппель.

Рисунок 10. Горелка ПВ-1

- головка горелки; 2 - вентиль подачи воздуха; 3 - вентиль подачи горючего; 4 - державка; 5 - штуцер воздуха М16х1,5; 6 - штуцер горючего М16х1,51Н

Рис.11а

Рис.11б

Рисунок 11. Схема раскатывания рулона приспособлением

а - общий вид; б - конструкция раскатчика;

валик расплавленной мастики; 2 - рулон; 3 - раскатчик; 4 - ролик; 5 - дуга; 6 - рукоять; 7, 8 - ручка со скобой; 9 - соединительный стержень

Рисунок 12. Наклеивание полотнищ с наплавленным слоем путем расплавления мастики:

- баллон со сжиженным газом; 2 - гибкий шланг; 3 - ручка; 4 - раскатчик рулона; 5 - рулон; 6 - газовая горелка; 7 - колесо;

Устройство примыканий водоизоляционного ковра

Примыкание водоизоляционного слоя к парапетам оформляют следующим образом. Концы полотнищ основного кровельного покрытия заводят на выкружку (рис. 13). После этого подготавливают картины рулонного материала длиной 2+3 м и приступают к оклейке мест примыкания. Картину рулонного материала укладывают на место примыкания и складывают пополам. Сначала приклеивают нижнюю горизонтальную часть картины, а затем расплавляют мастику у отвернутой вертикальной части и прижимают ее к стенке. Так наклеивают картины в первый и последующие слои. При этом необходимо соблюдать требования СНиП по нахлестке в стыках.

Рис.13а

Рис.13б

Рис.13в

Рисунок 13. Последовательность устройства примыкания к парапету а - наклеивание конца полотнищ к выкружке; б-то же картин дополнительных слоев на стенку парапета; в-закрепление металлических картин;

- газовая горелка; 2 - полотнище основного ковра; 3 - картины дополнительных слоев; 4 - деталь верхняя; 5 - деталь обшивки; 6 - саморез.


Предварительно к парапету закрепляют проантисептированные рейки путем пристреливания дюбелями или прибивки гвоздями к ранее заложенным пробкам, а после наклейки картин устанавливают металлические сливы, закрепляют их саморезами. Перед установкой металлических картин верхний торец рулонного ковра промазывают отверждающейся мастикой.

Работы по устройству примыкания к стенам с пазом (штрабой) осуществляют в следующей последовательности (рис. 14). Подготовленные бруски закрепляют в штрабе гвоздями к пробкам; затем кровельщики наклеивают картины рулонного материала в дополнительные слои на стены. Количество слоев и величины нахлестки должны соответствовать проекту (см. комплект АР), Верхняя кромка рулонного ковра закрепляется к бруску гвоздями. Далее устанавливают металлический фартук и закрепляют гвоздями или дюбелями к бруску. Шов между фартуком и верхней гранью штрабы заделывают герметизирующей мастикой.

Рис.14а

Рис.14б

Рис.14в

Рисунок 14. Последовательность устройства примыкания рулонной кровли к стене со штрабой

а - оштукатуривание участка стен, закрепление бруска; б - наклеивание картин дополнительных слоев; в-закрепление фартука и заделка швов;

- брусок; 2 - слой основного покрытия; 3 - картина дополнительных слоев; 4 - горелка; 5 - отогнутый участок картины; 6 - отверждающая мастика; 7 - фартук.

Устройство рулонного ковра в местах установки водоприемных воронок выполняют в следующем порядке. Перед наклеиванием слоев основного кровельного покрытия проверяют отметки выполненной стяжки или уложенного жесткого утеплителя (рис. 15). Под воротник водоприемной воронки наклеивают два слоя стеклоткани на горячей мастике.

Рис.15а

Рис.15б

Рис.15в

Рис.15г

Рис.15д

Рис.15е

Рисунок 15. Последовательность установки водоприемной воронки

а - подготовка гнезда, проверка отметок;

б - наклеивание дополнительного слоя;

в-установка нижнего патрубка с воротником;

г - наклеивание рулонного материала;

д - установка колпака;

е - заделка швов;

- стяжка; 2 - рулонный направляемый материал дополнительного слоя; 3 - нижний патрубок с воротником; 4 - слои рулонного направляемого материала; 5 - колпак; 6 - винт; 7 - мастика.

Затем монтажники устанавливают нижний патрубок воронки с воротником. Предварительно наносят горячую мастику под воротник. По периметру воротника шов тщательно заливают горячей мастикой. Стык патрубка со стояком тщательно конопатят.

После этого приступают к наклеиванию слоев основного кровельного покрытия. Полотнища наклеивают на воротник, затем вырезают отверстие.

Колпак водоприемной воронки вставляют своим патрубком в нижний патрубок. Предварительно на стенки нижнего патрубка наносят отверждающуюся мастику. Колпак соединяют с нижним патрубком винтами. Шов по периметру колпака заливают горячей битумной мастикой.

Устройство кровли выполняют звенья из двух кровельщиков, в том числе кровельщик 4 разряда -1, 3 разряда -1.

 


2. Ведомость объемов работ


Таблица 1

Наименование работ

Ед. изм.

Объем работ




Очистка основания от мусора вручную

100 м.кв

4,12

Просушивание влажных мест основания механизированным способом

100 м.кв

4,12

Огрунтовка поверхности основания битумной мастикой вручную

100 м.кв

4,12

Пароизоляция основания под кровлю битумной мастикой: 1. Набор мастики в емкости. 2. Нанесение мастики на поверхность основания

100 м.кв

4,12

Укладка минеральной ваты, прием ее на плиты, разравнивание при толщине до 200мм

100 м.кв.

3,63

Укладка цементного раствора слоем до 30 мм по слою керамзита или шлака с установкой и вырубанием маяков, расстиланием и уплотнением его. Заделка борозд раствором. Смачивание поверхности водой и затирка

100 м.кв.

4,12

Обделка водосточных воронок

1 шт.

2,00

Наклейка рулонного материала с оплавлением покровного слоя

100 м.кв.

4,12

Обделка свесов и примыканий рулонными материалами

100 м.кв.

0,45



4.      Калькуляция трудовых затрат


Таблица 2

 


5.      Материально-технические ресурсы

 

.1 Потребность в материалах, изделиях и конструкциях на устройство 412 м.кв. трехслойной рулонной кровли


Таблица 3

п.п.

Наименование материалов, изделий

Единица измерения

Потребность

1

Рулонный наплавляемый материал для нижнего слоя

м

473,80

2

Рулонный наплавляемый материал для двух верхних слоев

м

931,12

3

Праймер

кг

329,60

4

Сжиженный газ пропан-бутан

кг

39,55

 

.2 Потребность в инструменте, инвентаре и приспособлениях для кровельных работ


Таблица 4. Набор инструмента, инвентаря и приспособлений для кровельных работ

№ п.п.

Наименование машин, механизмов и оборудования

Тип, марка, ГОСТ

Назначение

Кол-во

1

Баллоны для газа


Хранение газа

2 шт.

2

Горелки газовые

ГВ-1-02П,

Расплавление мастики

1 шт.

3

Редуктор для газа

БПО-5-2

Регулирование давления

2 шт.

4

Рукава резиновые


Подача газа

30 м

5

Носилки для баллона


Переноска баллонов

1 шт.

6

Горелки жидкостные

ПВ-1

Расплавление мастики

1 шт.

7

Тележка-стойка для баллона с газом (на 1 баллон)


Перевозка баллонов и установка

1 шт.

8

Установка компрессорная

СО-243-1

Подача сжатого воздуха

1 шт.

9

Захват-раскатчик


Раскатка рулона

1 шт.

10

Каток ручной


Приклей в местах нахлесток

1 шт.

11

Гребок с резиновой вставкой


Уплотнение полотна

1 шт.

12

Нож кровельный

18975-73

Резка материалов

1 шт.

13

Шпатель скребок

ТУ 22-3059-74

Соскребание с поверхности оснований цементного раствора

2 шт.

14

Кран крышевой

К-1

Подъем материалов

1 шт.

15

Строп 4-х ветвевой

Мосгорстрой

Подъем кровельных материалов на крышу

1 шт.

16

Тележка для подвозки материалов

РЧ 1688.00.000

Подвозка материалов

1 шт.

17

Поддон для рулонных кровельных материалов

ПС-0,5И

Подача рулонов на крышу

1 шт.

18

Агрегат высокого давления давления

Финиш-211-1

Нанесение грунтовки

1 шт.

19

Рулетка

7502-98

Замеры

1 шт.

20

Метр складной металлический

7253-54

Замеры

1 шт.


5.3 Потребность в средствах индивидуальной защиты и спецодежде для кровельных работ


Таблица 5. Потребность в средствах индивидуальной защиты и спецодежде для кровельных работ

Наименование

Характеристика

Ед.изм.

Кол-во

Каски

ГОСТ 5718

Шт.

4

Комбинезоны


Шт.

4

Защитные очки


Шт.

2

Рукавицы рабочие


Пар

4

Пояс предохранительный

ГОСТ Р 50849-96

Шт.

4

 

.4 Выбор средств механизации строительных работ по техническим параметрам


Таблица 4 Ведомость основных машин и механизмов

N п/п

Наименование

Марка, ГОСТ

Кол-во, шт.

Техническая характеристика

1

Башенный кран

Potain 178

1

Бетононасос

BSA-1408Е

1


3

Автобетоносмеситель

СБ-127

2

Vсм = 6 куб. м.

4

Преобразователь частоты

ИЭ-9403

1


5

Защитно-отключающее устройство

ИЭ-9802

1


 

6. Указания по контролю и оценке качества работ

кровля оборудование рулон

При устройстве кровли из наплавляемого рулонного материала осуществляется производственный контроль качества, который включает: входной контроль материалов и изделий; операционный контроль выполнения кровельных работ, а также приемочный контроль выполненных работ. На всех этапах работ производится инспекционный контроль представителями технического надзора заказчика.

Изготовитель должен сопровождать каждую партию изделий документом о качестве, в котором должны быть указаны:

наименование и адрес предприятия-изготовителя; номер и дата выдачи документа; номер партии; наименование и марки конструкций; дата изготовления конструкций; обозначение технических условий.

Документ, о качестве изделий, поставляемых потребителю, должен быть подписан работником, ответственным за технический контроль предприятия-изготовителя.

Входной контроль качества материалов заключается в проверке внешним осмотром их соответствия ГОСТам, ТУ, требованиям проекта, паспортам, сертификатам, подтверждающим качество их изготовления, комплектности и соответствия их рабочим чертежам. Входной контроль выполняет линейный персонал при поступлении материалов и изделий на строительную площадку. Форма и основные размеры изделий должны соответствовать указанным в проекте.

Внешнему осмотру подвергаются все изделия в целях обнаружения явных отклонений геометрических размеров от проекта. Размеры и геометрическая форма проверяются выборочно одноступенчатым контролем.

Устройство кровли из наплавляемых рулонных материалов разрешается производить только после приемки элементов основания. Схема операционного контроля качества приведена в табл. 4

Таблица4. Схема операционного контроля качества

Контролируемые операции

Требования, допуски

Способы и средства контроля

Кто и когда контролирует

Документация.

Устройство пароизоляции





Свойства применяемых материалов

Соответствие нормативным требованиям и проекту

Визуально

Прораб

Документ о качестве, проект

Готовность основания

Соответствие проекту

Визуально

Прораб

Акт приемки

Качество нанесения или укладки

Соответствие проекту

Визуально

Прораб

Общий журнал работ

Устройство теплоизоляции





Свойства применяемых материалов

Соответствие нормативным требованиям и проекту

Визуально

Прораб

Документ о качестве, проект

Отклонение толщины теплоизоляционного слоя

+ 10% от проектной толщины, но не более 20 мм

Измерительный, 3 изм. на каждые 70-100 м2 покрытия

Прораб в процессе работ

Общий журнал работ

Отклонение плоскости теплоизоляции от заданного уклона

по горизонтали +5мм по вертикали +10 мм отклонен. от заданного уклона не более 0,2%

Измерение на каждые 50-100м2

Мастер в процессе работ

Общий журнал работ

Величина уступа между смежными элементами утеплителя

Не более 5 мм

Измерение на каждые 50-100м2

Мастер в процессе работ

Общий журнал работ

Предельная ширина швов между смежными плитами утеплителя: при наклейке при укладке насухо

Не более 5 мм Не более 2 мм

Измерение на каждые 50-100м2

Мастер в процессе работ

Общий журнал работ

Устройство стяжки





Свойства применяемых материалов

Соответствие нормативным требованиям и проекту

Визуально

Прораб

Документ о качестве, проект

Толщина укладываемого слоя

Не менее 30 мм

Измерительный

Мастер

Общий журнал работ

Соблюдение заданных плоскостей, отметок и уклонов

По проекту

Измерительный

Мастер

Общий журнал работ

Выбоины, трещины

Не допускаются

Визуально

Мастер


Прочность стяжки: Цементно-песчаной

5 МПа и более

Измерительный

Стр. лаборатория

Акт освидетельствования скрытых работ

Прочность, готовность к устройству кровли

По проекту

Измерительный

Прораб

Акт освидетельствования скрытых работ

Устройство кровли из рулонного материала





Свойства применяемых материалов

Соответствие нормативным требованиям и проекту

Визуально

Прораб

Документ о качестве, проект

Качество огрунтовки основания

По проекту

Визуально

Прораб

Акт освидетельствования скрытых работ

Направление наклейки

От пониженных к повышенным участкам

Визуально

Мастер в процессе работ


Величина нахлеста смежных полотнищ

Не менее 70 мм в нижних слоях, 100 мм - в верхнем слое

Измерительный, 2-х метровой рейкой

Мастер в процессе работ

Общий журнал работ

Соблюдение заданных толщин плоскостей, отметок и уклонов

По проекту

5 измерен. на70-100м2 визуально

Мастер в процессе работ

Общий журнал работ

Прочность приклейки слоёв рулонного материала

Отрыв полотна происходит по материалу. Прочность приклейки 0,5 МПа

Измерять не менее 4х раз в смену

Мастер в процессе работ

Общий журнал работ

Качество приклеивания дополнительных слоев материала в местах примыкания к вертикальным конструкциям

По проекту

Визуально

Мастер в процессе работ

Общий журнал работ

Приемка работ





Качество поверхности покрытия

По проекту

Визуально

Прораб, после окончания работ

Общий журнал работ, акт приемки выполненных работ

Качество примыканий и водостоков

По проекту

Визуально

Прораб, после окончания работ


Величины перекрытия полотнищ

не менее 70 мм в нижних слоях, 100 мм - в верхнем слое

Визуально

Прораб, после окончания работ


Перекрестная наклейка полотнищ

Не допускается

Визуально

Прораб


Наличие пузырей, вздутий, воздушных мешков, разрывов, проколов, губчатого строения, потеков и наплывов

Не допускается

Визуально

Прораб


Водонепроницаемость

Отвод воды со всей поверхности кровли без протечек

Визуально

Прораб, после окончания работ



Устройство каждого элемента кровли выполнять после проверки правильности выполнения соответствующего нижележащего элемента с составлением акта освидетельствования скрытых работ. Акты составляются на следующие работы: подготовку основания, огрунтовку поверхностей, укладку каждого слоя рулонного материала, устройство примыканий.

Приемка кровли должна сопровождаться тщательным осмотром ее поверхности, особенно у воронок, водоотводящих лотков, в разжелобках и в местах примыканий к выступающим конструкциям над крышей.

Выполненная рулонная кровля должна удовлетворять следующим требованиям: иметь заданные уклоны; не иметь местных обратных уклонов, где может задерживаться вода; кровельный ковер должен быть надежно приклеен к основанию, не расслаиваться я не иметь пузырей, впадин.

Обнаруженные при осмотре кровли производственные дефекты должны быть исправлены до сдачи здания в эксплуатацию.

 


Список использованной литературы

 

1. Возведение специальных сооружений. Методические указания к курсовой работе по дисциплине «Спецкурс по технологии строительства зданий и сооружений» для студентов всех форм обучения специальности 270102 - Промышленное и гражданское строительство - / Сост.: В.С. Дрешпак, В.А. Кириченко, Р.Р. Стеланов; Кубан. гос. технол. ун-т. Каф. ТОЭС и УН. - Краснодар: Изд. КубГТУ, 2011 г.

.   Скляревский В.Г. Технология возведения зданий и сооружений: Учеб.пособие в двух частях. Кубан.гос. ун-т, 278с.

3.      Поляков В.И., Полосин М.Д. Машины грузоподъемные для строительно-монтажных работ. - 3-е изд., перераб. и доп. - М.: Стройиздат, 1993. - 244с.

.        Ремонтно-строительные машины и механизмы: Учеб. пособие для вузов по спец. «Техн. эксплуатация зданий, оборудования и автоматических систем» В.И. Принченков, А.В. Болотный, Н.Г. Гаркави и др. - М.: Высш. шк., 1988.-280с.

.        Методические указания к курсовому и дипломным проектам по возведению монолитных железобетонных конструкций по дисциплинам «Технология строительных процессов» и «Технология возведения зданий и сооружений» для студентов всех форм обучения специальности 29.03. - Промышленное и гражданское строительство./ Краснодар, политехн. ин-т; сост. Р.Р. Степанов, И.М. Степанов. Краснодар, 1993. 63 с.

.        Методические указания к проведению и выполнению практических занятий по спецкурсу «Специальные технологии строительного производства» для студентов дневной формы обучения специальности 29.03. - Промышленное и гражданское строительство по специализации «Технология и организация строительного производства» - /Кубан. Гос. Технол. Ун-т.; Сост. В.Г. Скляревский, Краснодар, 1995. 42 с.

Похожие работы на - Устройство кровли из рулонов

 

Не нашли материал для своей работы?
Поможем написать уникальную работу
Без плагиата!
Без нейросетей!