Усиление фундаментов набивными сваями. Корневидные сваи
МИНИСТЕРСТВО
ОБРАЗОВАНИЯ И НАУКИ РОССИЙСКОЙ ФЕДЕРАЦИИ
Федеральное
государственное бюджетное образовательное учреждение высшего профессионального
образования
Тихоокеанский
государственный университет
Кафедра
Строительного производства
Реферат
по
курсу «Производство строительно-монтажных работ при реконструкции зданий и
сооружений»
на
тему: «Усиление фундаментов набивными сваями. Корневидные сваи»
Выполнил: студент
гр. ГСХ-01
Иванова Саргылана
Проверил:
преподаватель
Хабаровск
2014
Методы усиления оснований и фундаментов при
реконструкции сооружений
В результате истечения срока эксплуатации
сооружений, необходимости использования новых технологий при интенсификации или
переориентации производства в цехах промышленных зданий, изменения условий эксплуатации
строений, прокладки новых подземных коммуникации, возведения зданий рядом с уже
существующими, а также развития незатухающей дополнительной осадки требуется
оценка обеспечения фундаментами дальнейшей нормальной эксплуатации, а в
необходимых случаях - реконструкция и усиление оснований и фундаментов.
Усиление фундаментов необходимо выполнять в
следующих условиях:
при увеличении нагрузки на фундаменты, возможной
при реконструкции, капитальном ремонте и надстройке зданий;
при разрушении конструкции фундамента при ее
расположении в агрессивной среде;
при увеличении деформативности и ухудшении
условий устойчивости оснований в результате дополнительного увлажнения или
ухудшения свойств грунтов в силу изменения инженерно-геологических условий;
при развитии недопустимых осадок, происходящих,
как правило, в результате ошибок, допущенных при проектировании вследствие
неправильной оценки несущей способности и деформативности основания или при
строительстве и вызвавших нарушение природной структуры грунта.
В настоящее время используют следующие методы
усилия оснований и фундаментов:
изменение условий передачи давления по подошве
фундамента на грунты оснований;
увеличение несущей способности грунтов,
слагающих основание;
пересадка фундаментов на сваи;
изменение условий передачи давления по подошве
фундамента на грунт оснований с помощью увеличения опорной площади, заглубления
фундамента, устройства под зданием фундаментной плиты и введение дополнительных
опор.
При недостаточной несущей способности основания
увеличивают площадь фундаментов. Уширение выполняют двумя способами: без
обжатия грунтов основания и с предварительным обжатием.
В первом случае уширение производится с помощью
дополнительных частей (банкетов), которые могут быть односторонними (при
внецентренной нагрузке) или двусторонними (при центральной).
Фундаменты под колонны чаще всего усиливают по
всему периметру. Банкеты и существующие фундаменты должны быть жестко
соединены, для чего используют штрабы (рис. 1, а) либо специальные
металлические и железобетонные балки (рис. 1, б, в).
Ширина банкета в нижней части должна быть не
менее 30 см, в верхней-20 см.
При необходимости ряд одиночных фундаментов
может быть превращен в ленточный, а несколько ленточных фундаментов - в
сплошную железобетонную плиту. Иногда уширение ленточных и отдельных
фундаментов выполняют с применением арматуры, располагаемой в банкетах (рис. 2,
а, б).
При уширении без обжатия (рис. 1 и 2, а)
уширенная часть фундамента вступает в работу только после значительного
увеличения внешней нагрузки, когда появятся дополнительные осадки, причем
уширения воспримут только часть дополнительной нагрузки, значительная же ее
часть будет по-прежнему передаваться через подошву старого фундамента, что вполне
допустимо, поскольку выпор грунта из-под старой подошвы затруднен вследствие
при-грузки основания уширениями фундамента (рис. 2, а).
Рис.1 Уширение ленточных фундаментов
монолитными банкетами: а - одностороннее уширение; б, в - двустороннее ушврение
соответственно при большом и незначительном увеличении размера подошвы
фундамента; 1 - упорный уголок; 2 - подкос; 3 - рабочая балка; 4 - щебеночная
подготовка; 5 - анкер; б - распределительная балка; 7 - зачеканка литым бетдам
При уширении фундамента с обжатием основания
(рис. 2, б) вдоль боковых граней фундамента разрабатывают траншею и бетонируют
примыкающие к граням фундамента банкеты отдельными участками по длине
омоноличивания с кладкой. Затем устанавливают в проемах фундаментов пакеты из
стальных балок для упоров в них гидравлических домкратов. Домкраты обжимают
основание под новыми частями фундамента. До перестановки домкратов банкеты
расклинивают, сохраняя тем самым напряжения под их подошвой. После перестановки
домкратов пространство между банкетами и стальными пакетами заливают бетоном. В
этом случае уширения будут воспринимать большую часть дополнительного давления
по сравнению с предыдущим случаем (рис. 2, е).
Рис.2 Конструкции уширения подошвы
фундаментов: а - без обжатия грунта основания; б, ж - с обжатием грунта
домкратами; в - эпюра давления до усиления; г-то же, после обжатия грунта домкратами
(эпюра до усиления показана пунктиром); д, е - то же, после усиления и
загружения фундаментов; 1 - усиливаемый фундамент; 2 - конструкция уширения; 3
- арматура; 4 - домкрат; 5 - клинья; 6 - пакеты из металлических балок; 7 -
бетон; 8 - банкет
Для усиления фундаментов совместно с обжатием
грунтов можно применять плоские гидравлические домкраты (рис. 3, а),
представляющие собой плоские резервуары из двух тонких (1…3 мм) металлических
листов, имеющих по периметру валик круглого сечения диаметром 20…80 мм (рис. 3,
б). В домкраты рекомендуется нагнетать твердеющие жидкости (эпоксидную смолу,
цементный раствор), которые фиксируют созданное напряженное состояние.
Рис. 3 Усиление фундамента с
применением плоских домкратов: а - схема усиления; б - деталь размещения
домкрата; 1 - фундамент; 2 - банкеты; 3 - штрабы в фундаменте; 4 - балки; 5 -
плоский домкрат; 6 - трубка для нагнетания жидкости в домкрат.
Для предварительного уплотнения грунтов
применяют и другой метод, заключающийся в установке с двух сторон существующего
фундамента дополнительных железобетонных блоков уширения, нижняя часть которых
стягивается гибкими анкерами из арматурной стали, пронизанными сквозь них и
существующие фундаменты (рис. 4). Верхнюю часть блоков разжимают с помощью
домкратов или забивных клиньев. В результате блоки, поворачиваясь вокруг нижней
закрепленной точки, обжимают грунт основания, а затем в этом положении щели
между фундаментами и блоками заполняются бетоном. Такой способ особенно удобен,
если у усиливаемого фундамента отсутствуют развитые консоли.

Рис. 4 Усиление фундаментов дополнительными
блоками, обжимающими грунты оснований при их повороте: 1 - существующий
фундамент; 2 - щель, раскрывшаяся при повороте блоков и заполняемая бетоном; 3
- железобетонный блок; 4 - анкерное крепление; 5 - отверстие для анкеров,
заполняемое раствором по окончании работ
Рис. 5 Увеличение опорной площади
фундаментов: 1 - распределительная монолитная обвязка по периметру стен; 2 -
монолитные участки перекрытий; 3 - нажимная рамная конструкция из монолитного
железобетона; 4 - дополнительный фундамент из сборных плит; 5 - основной
фундамент из сборных плит
В случае необходимости значительного увеличения
площади фундаментов может быть предложен другой метод, сущность которого
заключается в укладке на щебеночную подготовку дополнительных железобетонных
плит (рис.5). Плиты располагают в виде двух (или более) лент, уложенных в
продольном направлении, перпендикулярном существующим поперечным стенам. На
каждой ленте дополнительного фундамента устанавливают опалубку и арматуру
нажимных рам, которые состоят из нижних горизонтальных ригелей сечением 40 ж 60
см, лежащих на новых фундаментах, и наклонных стоек упоров такого же сечения.
Рамы передают усилия на пояса-обвязки поперечных стен, по которым ведется
кладка кирпичных стен надземных стен здания. Для образования замкнутого контура
нажимных рам над ними, в плоскости перекрытия над техническим подпольем,
устраивают монолитные участки железобетона в виде полос шириной 60 см, высотой,
равной высоте сборных плит перекрытия.
К увеличению глубины заложения фундаментов
прибегают реже из-за значительной трудоемкости. Однако этот способ применяют в
случае необходимости увеличения глубины подвала, переноса подошвы фундамента на
более плотные нижележащие слои грунта и т. д.
Для ленточных фундаментов эту процедуру
выполняют в такой последовательности (рис. 6). Сначала в несущей стене
прорубают отверстия, через которые пропускают разгружающие балки,
устанавливаемые на бетонные тумбы или специальные опоры. Учитывая возможность
осадки грунта, целесообразно опирать балки на домкраты, что позволяет
регулировать положение опор при увеличении деформации основания.
Работы по увеличению глубины заложения ведут
отдельными захватками длиной 2,5…3 м.
При заглублении фундамента под колонну применяют
подкосы (рис. 7) или специальную конструкцию - «ножницы» (рис. 8).

Рис. 6 Заглубление ленточных фундаментов
Подводка под здание фундаментной плиты снижает
давление по подошве и используется при существенном возрастании нагрузок или
значительных неравномерных осадках и слабых грунтах оснований. Плиту толщиной
до 25 см укладывают на щебеночную подготовку (рис. 9); сечение ее
второстепенных балок 30×40 см, главных
- 50×100
см.
Шаг второстепенных балок около 2,5 м. Глубина заделки плиты в существующие
стены 30…40 см, ее целесообразно устраивать не на уровне уже существующих
фундаментов, а на 75…80 см выше.

Рис. 7. Перенос отметки заложения подошвы
фундамента под колонну

Рис. 8 Подводка фундаментов под колонны на глубоких
отметках с помощью приспособления «ножницы»: L- подкос; 2 - воротник; 3 -
стальной анкер; 4 - новый фундамент; 5 - старый фундамент
Введение дополнительных опор целесообразно при
сплошной замене перекрытий и при больших (более 7,5 м) пролетах. Необходимо
соблюдать условие равномерности осадок существующих и вновь возводимых опор,
имея в виду, что осадки уже построенных опор стабилизировались и практически
равны нулю.

Рис. 9 Фундаментные плиты: прогоны фундаментной
плиты; 2 - плита; 3 - балки фундаментной плиты; 4 - существующие конструкции

Рис. 10 Увеличение прочности оснований и
фундаментов: а - наращиванием с помощью обойм; 6 - инъекцией раствора в кладку;
в - закреплением грунта под фундаментом; 1 - усиливаемый фундамент; 2 -
железобетонная обойма; 3 - трубки для инъекции; 4 - шгьекторы; 5 - закрепленный
грунт

Рис.11 Усиление ленточных и одиночных
фундаментов набивными сваями: 1 - существующий фундамент; 2 - рандбалка
(железобетонная или металлическая); 3 - свайный ростверк; 4- набивная свая.
Увеличение несущей способности грунтов основания
осуществляется с помощью методов закрепления грунтов, рассмотренных в гл. 12.
Обычно закрепление осуществляют с помощью инъекторов, погружаемых в грунт под
подошвой фундамента (рис. 10 в). Применение набивных свай при усилении
фундаментов может быть рекомендовано при высокой деформируемости грунтов,
наличии подземных вод, осложняющих процесс уширения, и при значительном
увеличении внешних нагрузок. Несущую способность и число свай определяют
расчетом. Недостатком такого способа является его сложность из-за необходимости
подводки набивных свай. Сваи формируются в грунте обычно из подвальных
помещений с помощью обсадных труб либо в предварительно пробуренных скважинах
(рис. 11, а - д).
Кроме набивных свай в последнее время все большее
распространение получают вдавливаемые сваи, состоящие из отдельных сборных
железобетонных элементов квадратного (20 х 20, 30 х 30) или круглого (со
сквозным каналом) поперечного сечения длиной 80… 100 см. Эти звенья
последовательно вдавливаются в грунт с помощью домкратов (рис. 12).)

Рис. 12 Последовательность работ по устройству
свай Мега: а - г - этапы выполнения работ; 1 - несущая стена; 2 - домкрат; 3 -
насосная станчи; 4 - нижний элемент; 5 - рядовой элемент сваи; б - стойка; 7 -
распределитель вал балка; 8 - головной элемент
Рис. 13 Изготовление свай в грунте с
помощью высоконапорной струи: 1,2 - образование скважин струей; 3,4 -
заполнение скважин раствором твердеющего материала

Рис. 14 Подведение свайных фундаментов под
реконструируемое здание.
усиление фундамент свая
опора
Наиболее эффективной при усилении фундаментов
является струйная технология, позволяющая создавать несущие конструкции в
грунте. Она основывается на использовании энергии водяной струи для прорезки в
грунте полостей, заполняемых бетонной смесью.
Главным элементом устройства для образования
щелей, скважин или полости является струйный гидромонитор, имеющий на боковой
поверхности водяные сопла, в нижней - отверстия для подачи бетона, в верхней -
подводящие трубопроводы для опускания монитора в скважину. Высоконапорная струя
воды под большим давлением способна разрезать грунты и другие твердые
материалы, а при добавке в струю абразивного материала даже железобетон. Для
увеличения разрушающего воздействия струя поступает под защитой воздушного
потока или подаваемых одновременно водяного и воздушного потоков.
При опускании монитора в скважину можно
выполнять вертикальные разрезы, разрушая и удаляя грунт высоконапорными струями
с последующим заполнением полостей раствором вяжущего материала, получая в
грунте плоские элементы (типа щелевых фундаментов). Вращая монитор в грунте с
одновременным подъемом, можно получить цилиндрические элементы - сваи (рис.13).
Часто струйную технологию используют при реконструкции для устройства
цементно-грунтовых свай.
Струйная технология имеет большие преимущества:
не вызывает динамических воздействий, может применяться при работе в стесненных
условиях, так как не имеет громоздкого оборудования (рис. 14) при высокой
производительности, и может оказаться незаменимой при укреплении грунтов оснований
деформирующихся зданий, устранении кренов, ликвидации неравномерных осадок и т.
д.
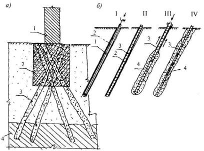
Корневидные сваи
Весьма эффективным для усиления фундаментов
является применение корневидных свай, называемых также буро-инъекционными, что
позволяет производить работы без разработки котлованов, обнажения фундаментов и
нарушения структуры грунта в основании.
Сущность способа усиления корневидными сваями
заключается в устройстве под зданием своего рода подпорок - жестких корней в
грунте, которое переносят большую часть нагрузки на более плотные слои грунта.
При усилении корневидными сваями может
предусматриваться создание единой конструкции и безростверковом варианте.
Корневидные сваи могут быть вертикальными или наклонными. Скважины для
корневидных свай бурят с помощью установок вращательного бурения, которые
позволяют пробуривать скважины через расположенные выше стены и фундаменты.
Диаметр буров 80+250 мм. При бурении для обеспечения устойчивости стенок
скважин используются обсадные трубы, воды, глинистая суспензия или сжатый
воздух.
По сравнению с другими типами корневидные сваи
обладают повышенным сопротивлением трению вдоль боковой поверхности, что
обеспечивается путем частичной цементации грунта, находящегося в контакте со
сваей. Благодаря прохождению сквозь существующие конструкции корневидные сваи
оказываются связанными с сооружением, поэтому не требуется их дополнительное
соединение с существующими фундаментами.
После бурения в скважину устанавливают
арматурные каркасы, состоящие из отдельных секций, стыкуемых с помощью сварки.
Длина секций обычно не превышает 3 м и лимитируется высотой помещения, в
котором производится работы. Фиксаторы, устанавливаемые в каркасе,
предупреждают отклонение от оси скважины. После установки или одновременно с
ней скважину инъекционную трубу диаметром 25+30 мм, через которую нагнетают
цементно-песчаный раствор, обжимающий стенки скважины и образующий небольшие
местные выступы. Усиление оснований и фундаментов буро-инъекционными сваями
применяются очень часто для сохранения архитектурно-исторических памятников.
В зарубежной практике ремонта и усиления
фундаментов корневидные сваи применяются также при необходимости устройства
глубоких выемок в непосредственной близости от существующих зданий. Сооружаемая
"решетчатая" подпорная стенка удерживает от обрушения откос вместе с
фундаментом. В отдельных случаях корневидные сваи органически связаны с
существующим зданием как единое целое.
Рис.1 Усиление фундамента корневидными сваями
Рис.2 Корневидные сваи
Список использованной литературы
Шагин
А.Л. Реконструкция зданий и сооружений М. Высшая школа, 1991
Топчий
В.Д. Реконструкция промышленных предприятий. М. Стройиздат. 1990
Антонец
В.Н. Особенности производства строительно-монтажных работ в условиях
реконструкции зданий и сооружений. Учебное пособие. Хаб. Из-во ХГТУ-2012.
Вольсфон
В.Л. Реконструкция и капитальный ремонт жилых и общественных зданий: справочник
производителя- М.Стройиздат,2001.