Технологія налаштування гнучкої покрівлі і її вплив на прийняття архітектурно-конструктивних рішень

  • Вид работы:
    Реферат
  • Предмет:
    Строительство
  • Язык:
    Украинский
    ,
    Формат файла:
    MS Word
    2,05 Мб
  • Опубликовано:
    2015-05-02
Вы можете узнать стоимость помощи в написании студенческой работы.
Помощь в написании работы, которую точно примут!

Технологія налаштування гнучкої покрівлі і її вплив на прийняття архітектурно-конструктивних рішень

Склад реферату

Вступ: призначення та область застосування заданої будівельної технології

Характеристика матеріалів, які застосовують при виконанні робіт

Машини, механізми, ручні та механізовані інструменти, що застосовують при виконанні робіт гнучка покрівля покриття черепиця

Вимоги до основ по яким буде влаштоване покриття

Технологія виконання робіт

Вимоги до якості виконання робіт,що висувають нормативні документи

Вимоги до охорони праці при виконанні робіт

Вступ: призначення та область застосування заданої будівельної технології

Гнучка черепиця призначена для використання в якості покрівельного покриття для скатних дахів. Її застосовують на дахах з кутом нахилу від 12◦ (співвідношення 1:5). Черепиця використовується як для влаштування нових покрівель, так і для реконструкції старих покрівельних покриттів. Вважається можливим застосовувати Гнучку черепицю у всіх кліматичних зонах України.

Характеристика матеріалів, які застосовують при виконанні робіт

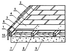
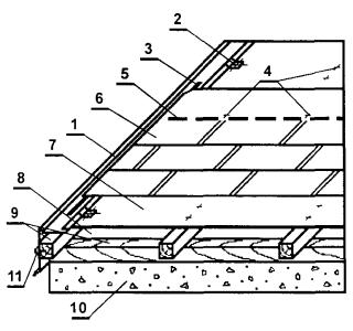
Гнучку черепицю також називають покрівельною плиткою, гонт або шинглс. Вона являє собою невеликі плоскі листи, з фігурними вирізками по одному краю (один лист імітує 3-5 черепиць мал.2)

Цей матеріал , з одної сторони, є штучним, з другої, його повністю можна віднести до групи м’яких покрівель, так як по своїй структурі і компонентам, що застосовуються , він близький до рулонних матеріалів. (мал.1)



Машини, механізми, ручні та механізовані інструменти, що застосовують при виконанні робіт і вимоги до основ по  яким буде влаштоване покриття

Назва

Ескіз

Розміри гонта(довжина/ ширина)мм

Товщина гонта, мм

Маса упаковки, кг

К-сть упаковок на піддоні

Вага покриття Кг/м.кв.

Осонова

Тип полімера-модифікатора

 

Коньково-карнизна черепиця SHINGLAS (ТУ 5774-036-179-2005)

1000/250

3,4

20

40

4,9

Склохолст

СБС

 

Ендовний килим (ТУ-5774-039-17925162-2005)

1000/10000

-

-

23

4,6

Поліефір

СБС

 

Підкладочний килим

0/1000

1,7

42,5

23

25

-

Поліефір

 

Самоклеючий бар’єр

0/1000

2,3

34,5

23

15



 

Назва

Ескіз

Розміри рулона(довжина/ ширина) м

Товщина, мм

К-сть в 1-й упаковці

Застосування

Покрівельні цвяхи

30-40/3-4

9-10

5

Карнизна планка

20/50

10

1/2

Для посилення карнизних, фронтонних звісів і місць примикання

Фронтонна планка

100/25/65

15

1/2

Для посилення карнизних, фронтонних звісів та місць примикання

Планка примикання

10/45/15

10

1/2

Для посилення карнизних, фронтонних звісів та місць примикання



Технологія виконання робіт

А) Умови, коли допускається виконання робіт

При облаштуванні покрівлі м'якою черепицею слід в першу чергу відштовхуватися від умов температури, оскільки структура матеріалу вимагає особливого підходу. Найбільшу міцність з'єднання елементів гонту між собою забезпечить лише висока температура, сонце і відсутність будь-яких опадів, а монтаж гнучкої черепиці взимку виконувати не рекомендується, оскільки це може спричинити за собою відпадіння трохи раніше приклеєної черепиці. Іноді в холодну погоду допускається застосування термофена для підігріву листів покриття. Можна також опалювати прилегле мансардне (горищне) приміщення.

Б) Склад і порядок виконання операцій гнучка покрівля покриття

.Спочатку з внутрішньої сторони покрівлі необхідно закріпити пароізоляційну плівку. Матеріал кріпиться до кроквяних ніг за допомогою цвяхів, а до торців - дерев'яними планками. Плівкові смуги з'єднуються за допомогою скотча.

.Після цього вже із зовнішнього боку потрібно укласти утеплювач, для фіксації якого прийнято використовувати дерев'яні бруски.

.На утеплювач укладається плівка, що захищає покрівлю від вітру. Для її кріплення застосовують контр-брус, до якого і потрібно буде прибивати обрешітку.

.Вже після цього укладаються дошки, стружкової-орієнтована плита або фанера. Закріплюють матеріал за допомогою цвяхів, оснащених широким капелюшком, або саморізами.

В) Способи, режими і параметри виконання операцій

.Спочатку виконується облаштування підкладкового килима. Його необхідно розстелити і прибити за наступними ділянкам даху:

Карниз;

Фронтонний звис;

Ендови;

Коник;

Місця зламу покрівельного ската.

За умови, якщо ухил даху становить понад 20 градусів, підкладковий килим повинен застеляти всю покрівельну площу. Починати роботу потрібно знизу, а щодо обрешітки килим повинен мати перпендикулярне розташування. Прибивається він внахлест (ширина - 15 сантиметрів) з фіксуючим кроком в 20 сантиметрів. Важливо, щоб кожне із з'єднань було ретельно опрацьовано за допомогою бітумної мастики або спеціального покрівельного герметика. На розстелений килим прибивають карнизну планку, призначену для захисту обрешітки від вологи. Якщо можливості зробити це немає, то карнизну смугу просто загортають під обрешеточних підставу. Прибивають її за допомогою оцинкованих цвяхів з дотриманням кроку в 5 сантиметрів.


2. Потім виконуються роботи з влаштування фронтону. До нього також необхідно прибити торцеві планки, які покликані забезпечити дерев'яній обрешітці захист і відводити вологу вниз від коника. Після їх встановлення можна приступати до монтажу коньково-карнизних смуг покриття, які можуть бути представлені просто м'якою черепицею з обрізаними крайніми частинами. Прибивають їх цвяхами стик у стик, відступаючи від краю 2,5 сантиметра. Ці ділянки рекомендується обробити мастикою на основі бітуму, з її ж допомогою кріпляться і вільні краї. На даному етапі роботи варто також зайнятися кріпленням елементів водовідведення - кронштейнів, які застосовуються під жолоб водостоку.

.Гнучка покрівля монтаж якої відрізняється деякими особливостями, вимагає укладання ендового килима. Його потрібно стелити поверх основного, тобто другим шаром. Цей килим повинен розташовуватися в ділянках примикань, заглибленнях та інших місцях, оптимально відповідних для скупчення надлишків вологи. Кріплення його виробляється за допомогою оцинкованих цвяхів з кроком в 10 сантиметрів, а краї обробляються бітумною мастикою. Якщо є можливість, то клей краще використовувати особливий - водостійкий.

.Саме після виконання всіх цих процедур варто приступати безпосередньо до укладання гнучкої черепиці. Матеріал повинен бути з різних упаковок, оскільки листи в них мають різний відтінку. Після закінчення настановних робіт під впливом сонця матеріал поступово набуде рівномірний колір. Починати укладання потрібно знизу центральної ділянки ската. Клейку частина матеріалу потрібно позбавити захисної плівки, а покриття щільно притиснути до основи. Зверху його необхідно прибивати за допомогою 4-х цвяхів, відступивши від коньково-карнизної смуги 4 - 5 сантиметрів. Пелюстки матеріалу при цьому повинні повністю перекривати перфорацію смуги, розташованої нижче. З країв фронтонної лінії покриття слід підрізати до необхідної довжини і обробити мастикою.

. Вкрай важливим моментом є також і перетин з системами димоходу і вентиляції. На цій ділянці килим підкладки повинен бути встановлений спочатку. Вентиляційну основу слід обробити бітумною мастикою. Далі необхідно вибрати один з фрагментів гнучкої черепиці і проробити в ньому відповідне пристрою вентиляції отвір (прочитайте: "Бітумна черепиця: технологія укладання, установка і монтаж"). Після закінчення укладання покриття підставу потрібно ще раз обробити мастикою.

Вимоги до якості виконання робіт,що висувають нормативні документи

Контролируемые операции

Состав и средства контроля

Документация

Подготовительные работы

Проверить: - завершение и надлежащее оформление предшествующих работ по устройству оснований кровель из мелкоштучных материалов; - правильность устройства обрешетки и соответствие ее требованиям проекта (разбежка стыков обрешетки, расстояние между элементами обрешетки, жесткость обрешетки, сплошность обрешетки в местах покрытия карнизных свесов, разжелобков и ендов, неровности на длине 1 м вдоль и поперек ската, уклон обрешетки, качество брусков обрешетки и т.д.);

Акт приемки, акты освидетельствования скрытых работ, исполнительные схемы


- наличие ППР, технологических карт и схем операционного контроля качества по устройству кровли; - завершение разметки ската;

ППР, технологические карты,СОК <#"800413.files/image012.gif">

Пелюстки черепиці приклеюються на самоклеючі смужки. При укладанні в теплу погоду досить притиснути пелюстку до основи, в холодну погоду необхідно нагрівати самоклеючі смужки.

Останній ряд черепиці доводиться до лінії коника, виступаюча частина перегинається через коник і фіксується на протилежному схилі. Коник перекривається коньковимі елементами, які виходять шляхом ділення цілих плит на окремі черепиці. З отриманих елементів укладають ковзани і ребра. Нахлест виконують з боку вітру. Кріплять коньковие елементи двома цвяхами (по одному на скат) і бітумною мастикою «Бітустік». У зимовий період коньковие елементи рекомендується перед укладанням підігрівати.

У розжолобку гнучка черепиця «Tegola» укладається з нахлестом і підрізуванням смуг примикає ската по центральній лінії ендови відповідно до наведеного нижче малюнком.

Підстава в розжолобку рекомендується посилити гідроізоляційної мембраною «Сейфіті Поли» шириною 1 м, яка кріпиться до основи покрівлі по краях килима цвяхами з кроком 100 мм.

- гідроізоляційна мембрана «Сейфіті Поли» шириною 1 м; 2 - бітумна мастика «Бітустік»; 3 - зона, що не пробивається цвяхами; 4 - підстава під черепицю: фанера підвищеної вологостійкості (ФСФ) товщиною від 9,5 мм, дошка шпунтована або обрізна товщиною від 25 мм, листи ОСП; 5 - фіксуючий цвях; 6 - верхній лист гнучкої черепиці (обрізається по шнуру, верхній кут аркуша зрізається під кутом 60 °).

Для оформлення фронтону або Чіпці в першому варіанті рекомендується використовувати спеціальні металеві елементи. Крайні смуги (біля фронтону) обрізаються і приклеюються бітумною мастикою «Бітустік».

- фронтонний металевий водостічний фартух; 2 - фіксуючий металевий кляммер (не менше 3 шт. На метр); 3 - бітумна мастика «Бітустік»; 4 - фіксуючий цвях; 5 - самоклеючі точки; 6 - верхній лист гнучкої черепиці (кут зрізається під 60 °); 7 - підстава під черепицю: фанера підвищеної вологостійкості (ФСФ) товщиною від 9,5 мм, дошка шпунтована або обрізна товщиною від 25 мм, листи ОСП; 8 - вентиляційна камера (від 5 см); 9 - решетування; 10 - несуча конструкція; 11 - саморіз із захисним ковпачком.

Для оформлення фронтону або Чіпці в другому варіанті рекомендується використовувати дерев'яний брус трикутного перетину, дошки і підкладковий матеріал.

- дошка; 2 - притискна дошка; 3 - фіксуючий цвях; 4 - підкладковий шар; 5 - викроєний лист гнучкої черепиці; 6 - підстава під черепицю: фанера підвищеної вологостійкості (ФСФ) товщиною від 9,5 мм, дошка шпунтована або обрізна товщиною від 25 мм, листи ОСП; 7 - вентиляційна камера (від 5 см); 8 - обрешітка; 9 - несуча конструкція; 10 - брус трикутного перетину.

Примикання до вертикальних стін слід виконувати за допомогою спеціальних металевих фартухів.

- пристінний металевий водостічний фартух (розгортка 25 см); 2 - додатковий металевий водостічний фартух (розгортка 12,5 см; кріплення в штрабу); 3 - фіксуючий металевий кляммер (не менше 3 шт. На метр); 4 - бітумна мастика «Бітустік»; 5 - фіксуючий цвях; 6 - самоклеючі точки; 7 - верхній лист гнучкої черепиці (кут зрізається під 60 °); 8 - додаткова гідроізоляційна мембрана «Сейфіті Полі /« Айс-бар »шириною 1 м, відповідно наварюють або наклеювана в місцях ймовірного скупчування снігу; 9 - підстава під черепицю: фанера підвищеної вологостійкості (ФСФ) товщиною від 9,5 мм, дошка шпунтована або обрізна товщиною від 25 мм, листи ОСП; 10 - штроба в стіні для кріплення фартуха.

Для захисту утеплювача від конденсату і пилу рекомендується використання плівки «Мікробар», а в якості пароізоляції - плівки «Алюбар».


Для забезпечення вентиляції підпокрівельного простору рекомендується установка аераторів - у разі незамкнутих міжкроквяних просторів або вентиляційних ковзанів - у разі замкнутих міжкроквяних просторів.

Вимоги до охорони праці при виконанні робіт

Глава 1. Загальні вимоги з охорони праці

До виконання покрівельних робіт допускаються особи не молодше 18 років, що пройшли медичний огляд, вступний інструктаж, первинний інструктаж, навчання та стажування на робочому місці, перевірку знань вимог охорони праці, мають групу з електробезпеки не нижче II і відповідну кваліфікацію згідно тарифно-кваліфікаційного довідника .

При виконанні покрівельних робіт необхідно:

Виконувати правила внутрішнього трудового розпорядку.

Правильно застосовувати засоби індивідуального та колективного захисту.

Дотримуватися вимоги охорони праці.

Негайно сповіщати свого безпосереднього або вищестоящого керівника про будь-якій ситуації, яка загрожує життю і здоров'ю людей, про кожний нещасний випадок, що трапився на виробництві, або про погіршення стану свого здоров'я, у тому числі про прояв ознак гострого професійного захворювання (отруєння).

Проходити навчання безпечним методам і прийомам виконання робіт і надання першої допомоги потерпілим на виробництві, інструктаж з охорони праці, перевірку знань вимог охорони праці.

Проходити обов'язкові періодичні (протягом трудової діяльності) медичні огляди (обстеження), а також проходити позачергові медичні огляди (обстеження) за напрямком роботодавця у випадках, передбачених Трудовим кодексом та іншими федеральними законами.

Вміти надавати першу допомогу потерпілим від електричного струму і при інших нещасних випадках.

Вміти застосовувати первинні засоби пожежогасіння.

При виконанні покрівельних робіт можливі впливи наступних небезпечних і шкідливих виробничих факторів:

підвищення значення напруги в електричному ланцюзі, замикання якого може відбутися через тіло людини;

підвищена або знижена температура повітря робочої зони;

підвищена вологість повітря;

розташування робочого місця на значній висоті відносно поверхні землі (підлоги, перекриття);

гострі кромки, задирки і шорсткість на поверхнях заготовок, інструментів та обладнання;

Поява в зоні роботи пожежонебезпечної середовища;

фізичні перевантаження.

Працівник повинен бути забезпечений спецодягом, спецвзуттям та іншими засобами індивідуального захисту відповідно до Типових галузевих норм безплатної видачі спеціального одягу, спеціального взуття та інших засобів індивідуального захисту та Колективним договором.

При виконанні покрівельних робіт працівники повинні носити захисні каски. Крім того, слід застосовувати як чергові:

пояс запобіжний - при роботі на висоті;

Окуляри захисні - при заточуванні інструменту, підготовки та очищення поверхні листів покрівельної сталі;

протівошумние вкладиші - при виготовленні ланок ринв, ковпаків.

Працівники не повинні приступати до виконання покрівельних робіт при наступних порушеннях вимог безпеки:

Відсутності на даху з ухилом більше 20 ° переносних драбин або трапів з поперечними планками для упора ніг або огорож по краю перекриття.

Наявності зазначених в інструкціях заводів-виготовлювачів з експлуатації застосовуваних засобів захисту, обладнання та засобів механізації несправностей, при яких не допускається їх застосування.

Недостатньою освітленості робочого місця.

Порушення цілісності обрешітки і крокв.

Роботи на дахах забороняються:

Під час грози.

При температурі зовнішнього повітря нижче норми, встановленої місцевими органами самоврядування.

У випадках травмування або нездужання необхідно припинити роботу, сповістити про це керівника робіт і звернутися до медичного закладу.

За невиконання даної інструкції винні притягуються до відповідальності згідно законодавства.

Похожие работы на - Технологія налаштування гнучкої покрівлі і її вплив на прийняття архітектурно-конструктивних рішень

 

Не нашли материал для своей работы?
Поможем написать уникальную работу
Без плагиата!
Без нейросетей!