Расчёт и проектирование тягового электромагнита
МИНИСТЕРСТВО ОБРАЗОВАНИЯ И НАУКИ
РОССИЙСКОЙ ФЕДЕРАЦИИ
ФЕДЕРАЛЬНОЕ БЮДЖЕТНОЕ ГОСУДАРСТВЕННОЕ
ОБРАЗОВАТЕЛЬНОЕ
УЧЕРЕЖДЕНИЕ ВЫСШЕГО ПРОФЕССИОНАЛЬНОГО
ОБРАЗОВАНИЯ
"ГОСУНИВЕРСИТЕТ-УЧЕБНО-НАУЧНО-ПРОИЗВОДСТВЕННЫЙ
КОМПЛЕКС"
Кафедра: "Автоматизированные
процессы и машины бесстружковой обработки материалов"
Курсовой проект
по дисциплине
"Технические средства
автоматизации"
Тема: "Расчёт и проектирование
тягового электромагнита"
Студент Зайцев Р.В.
Группа 31-АП
Руководитель Короткий Г.П.
Орёл, 2014 г.
Задание на
курсовой проект
по дисциплине "Технические средства автоматизации"
студенту группы 31-АП Зайцеву Р. В.
Исходные данные:
. Напряжение источника питания системы: 220±10% В, 50 Гц
. Напряжение питания электромагнита: 24 В
. Требуемые характеристики системы:
а) ход якоря - 0.005 м
б) начальное усилие без учета действия пружины - 36 Н
в) усилие пружины - 3,6 Н
г) режим работы - длительный
д) максимальная температура корпуса - 60○С
. Условия эксплуатации:
а) температура окружающей среды - 20○С
б) требуемый ресурс - 1?106 циклов
Вопросы, подлежащие разработке:
. Выбор типа конструкции электромагнита
. Расчет размеров магнитопровода, параметров обмотки
. Расчет источника питания
Чертежи:
. Сборочный чертеж электромагнита
. Деталировка (4 - 5 основных деталей)
. Принципиальная схема источника питания и эскиз
трансформатора
. Нагрузочная характеристика электромагнита
. Внешняя характеристика выпрямителя
Дата выдачи задания: _________________
Дата защиты проекта: _________________
Руководитель Короткий Г.П.
Аннотация
Целью данного курсового проекта является разработка тягового
электромагнита. Проект состоит из пояснительной записки и графической части.
Пояснительная записка включает в себя выбор конструктивного
типа и формы стопа электромагнита, проектный расчёт размеров магнитопровода и
параметров обмотки, расчёт пружины сжатия и расчёт источника питания.
Графическая часть состоит из 2-х листов формата А1. Первый -
сборочный чертёж электромагнита, второй - рабочие чертежи деталей и 1 - й
включает в себя: нагрузочную характеристику электромагнита и выпрямителя, блок
питания, эскиз магнитопровода трансформатора.
Все необходимые расчёты приведены в пояснительной записке.
Содержание
Введение
1. Расчет электромагнита
1.1 Уточнение формы стопа
1.2 Определение основных параметров электромагнита
1.3 Определение остальных размеров магнитопровода
2. Расчёт винтовой пружины
2.1 Нахождение граничных значений силы F3
3. Расчёт источника питания
3.1 Расчёт выпрямителя
3.2 Расчёт трансформатора
Заключение
Список использованных источников
Введение
Курсовой проект посвящен разработке электромагнитов,
используемых в качестве исполнительных устройств в автоматических системах и
средствах автоматики. Электромагниты служат для преобразования электрического
тока в механическое перемещение с целью воздействия на регулирующий орган
объекта управления. Они являются наиболее распространенными преобразователями
электрического сигнала в механическое перемещение.
Они способны работать как на постоянном, так и на переменном
токе. Однако электромагниты постоянного тока применяются намного шире, чем
электромагниты переменного тока, поскольку при одинаковых размерах они
развивают большее тяговое усилие, имеют более высокую стабильность параметров,
конструктивно проще и дешевле. Для их питания используется сеть переменного
тока и встроенный выпрямитель.
Для разработки и проектирования тягового электромагнита
необходимо определить его конструкцию, рассчитать многочисленные параметры
электромагнита и источника питания.
1. Расчет
электромагнита
Требуется определить размеры
магнитопровода и параметры катушки, обеспечивающие заданные характеристики при
минимальных габаритах.
1.1 Уточнение
формы стопа

(1)
где 
ход якоря, м;

конструктивный фактор;
P - тяговое
усилие, Н.

(2)
где 
тяговое усилие, которое должен развивать электромагнит в начале
хода якоря, Н;

(3)
Определим усилие пружины:


(4)
Определим усилие пружины тяговое усилие электромагнита:
1.2
Определение основных параметров электромагнита
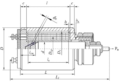
Рисунок 1 - Эскиз электромагнита.
) Диаметр якоря электромагнита

, (5)

(6)
где 
магнитная постоянная; 
магнитная индукция в рабочем зазоре. Значение магнитной индукции
в рабочем зазоре 
находим по графику [1]:

;
;
.
) Наружный диаметр электромагнита

(7)

.
3) Длина электромагнита

(8)
где 
паразитный зазор, м;

удельное сопротивление провода, Ом
м;

удельная мощность рассеяния, Вт/
.
Примем 

, (9)
где 
удельное сопротивление медного провода при 20
;

температурный коэффициент медного провода.
По графику принимаем 
.

.
) Отношение габаритных размеров электромагнита и их оценка
Значение принадлежит интервалу (0,7…1,8), следовательно,
конструктивное оформление втяжных электромагнитов можем считать удачным [1].
) По принятому диаметру якоря уточняется значение магнитной
индукции:

(10)
6) По графику 
определяем значение поправочного коэффициента относительного
падения магнитодвижущей силы [1]:
7) Максимальное значение магнитной индукции

, (11),
1.3
Определение остальных размеров магнитопровода
1) Внутренний диаметр магнитопровода

(12), 
.
2) Толщина фланца

(13),
3) Длина окна магнитопровода под катушку

(14), 
.
4) Длина стопа

(15),
.4 Определение параметров катушки
) Средний диаметр катушки

(16)
где 
толщина каркаса, м (примем 
);

зазор между катушкой и корпусом, м (примем 
.

.
2) Диаметр провода

(17)

.
) Выбираем марку провода
По рекомендациям таблицы [1] выбираем марку провода ПЭВ-2 с двумя
слоями высокопрочной эмали ВЛ-931 и максимальной рабочей температурой 
.
Диаметр провода принимаем из стандартного ряда: 
.
Диаметр провода данной марки в изоляции: 
.
) Высота намотки катушки

(18)

.

(19)

.
6) Число витков катушки

(20),
7) Сопротивление катушки при нормальных условиях (

(21)
8) Длина намоточного провода

(22)
1.5 Построение нагрузочной характеристики электромагнита
Зависимость между тяговым усилием электромагнита 
и ходом якоря 
выразим из формулы:
Рисунок 2 - Нагрузочная характеристика электромагнита.
2. Расчёт
винтовой пружины
Исходные данные:
Пружина сжатия
Сила пружины при предварительной деформации, F1 = 3,6 (Н);
Сила пружины при рабочей деформации, F2 = (1,5-2) F1;
F2 = 5,4 (Н);
Рисунок 3 - Эскиз пружины сжатия.
2.1
Нахождение граничных значений силы F3

, (23)

, (24)

.
В данном интервале выбираем пружину сжатия и растяжения разряда 1,
класса 1 из [2] (по ГОСТ 13766-86) со следующими характеристиками:
Сила пружины при максимальной деформации F3 = 6,3 (Н)
Диаметр проволоки d =0,5 (мм)
Наружный диаметр пружины D1 =6 (мм)
Жёсткость одного витка C1 =3,689 (Н/мм)
Наибольший прогиб одного витка S'3=1,708 (мм)
.2 Рассчитываемые параметры пружины
Жесткость пружины:

(25)

.
Число рабочих витков пружины:

, (26),
При полутора нерабочих витках полное число витков:

(27), 
.
Средний диаметр пружины:

(28),
Предварительная деформация пружины:

(29),
Рабочая деформация пружины:
тяговой электромагнит винтовая пружина

(30),
Максимальная деформация пружины:

, (31),
Длина пружины при максимальной деформации:

, (32)

.
Длина пружины в свободном состоянии:

(33)
Длина пружины при предварительной деформации:

(34)

.
Длина пружины при рабочей деформации:

, (35)
Шаг пружины в свободном состоянии:

(36)

(37)

(мм).
3. Расчёт
источника питания
3.1 Расчёт
выпрямителя
Исходные данные для расчёта:
Номинальное выпрямленное напряжение на нагрузке 
.
Максимальный ток нагрузки 
.
Мощность 
.
Относительное повышение напряжения сет 
.
Частота тока сети 
.
Коэффициент пульсации. Для питания электромагнитов 
.
Рисунок 4 - Схема блока питания
1. Определим предварительные значения параметров B и D:
Таблица 3.1
|
m
|
B
|
D
|
|
1
|
0,95 - 1,1
|
2,05 - 2,1
|
|
2
|
0,85 - 1,1
|
2,1 - 2,2
|
Для однофазной мостовой схемы m = 2
Примем B = 1; D = 2,1;
. Максимальное значение выпрямленного напряжения и
обратное напряжение:

, (38)

,

, (39)

,
3. Среднее и действующее значение тока диода:

, (40)

,

, (41)

.
4. Мощность трансформатора:

, (42)

.
5. Выбираем диоды из условия, что:
,
Выбираем выпрямительный диод 2Д238ВС со следующими
характеристиками [4]:

;

;

.
6. Сопротивление диода в прямом направлении и обмотки
трансформатора:

, (43)

, (44)
7. Активное сопротивление фазы:

, (45)

.
8. Определяем параметры B, D, F:

, (46)
По графикам зависимости [1] определяем параметры B, F, D:=
0,92;=7;= 2,5;= 250;
9. Находим значенияU2, I2, I1, Sтр,
Uобр, Iпрср, Iпр, Iпрmax

, (47)

,

, (48)

,

, (49)

, (50)

10. Найдём мощность трансформатора:

(51)
Выбранный диод (2Д238ВС) проходит по параметрам Uобри Iпр.
. Строим внешнюю характеристику выпрямителя 
, умножая ординаты кривой на 
и её абсциссы на
:
Рисунок 5 - Внешняя характеристика выпрямителя.
. Напряжение холостого хода, максимальное выпрямленное
напряжение, ток короткого замыкания и внутреннее сопротивления выпрямителя:

, (52)

,

(53)

,

, (54)

,

, (55)
13. Ёмкость конденсатора в мкФ

, (56)
3.2 Расчёт
трансформатора
Выбираем трансформатор с кольцевым сердечником
(тороидальный). Он имеет некоторые преимущества в объеме и массе перед другими
типами конструкций трансформаторов. Данный трансформатор используется при
мощностях от 30 до 1000 Вт, когда требуется минимальное рассеяние магнитного
потока или когда требование минимального объёма является первостепенным.
Рисунок 6 - Конструкция магнитопровода кольцевого ленточного
трансформатора.
. Размеры магнитопровода выбранной конструкции

, (57)
где:

сечение стали магнитопровода в месте расположения катушки;

площадь окна в магнитопроводе;

магнитная индукция [1, таблица 2];

плотность тока [1, таблица 3];

коэффициент заполнения окна [1, таблица 4];

коэффициент заполнения магнитопровода сталью [1, таблица 5];
По таблицам определяем значения необходимых параметров:

;

;
В соответствии с найденной величиной 
выбираем магнитопровод ОЛ50/80-25 с параметрами [3, таблица
4.25]: 
и 
.
2. Определяем диаметр проводов в каждой обмотке без
учёта толщины изоляции

, (58),
,
3. Определяем число витков в обмотках трансформатора

, (59)
Заключение
В ходе выполнения данного курсового проекта был разработан
электромагнит, выполнены расчёты его основных характеристик и параметров, а также
параметров источника питания и пружины сжатия. В процессе работы была
определена марка провода обмотки, выбрана пружина сжатия, выпрямительные диоды,
конденсатор, магнитопровод и конструкция трансформатора. Был выполнен сборочный
чертёж электромагнита, чертежи его отдельных деталей.
Для выполнения графической части были использованы САПР. Все
необходимые расчёты приведены в пояснительной записке.
Список
использованных источников
1. Короткий
Г.П. Методические указания по выполнению курсового проекта: дисциплина -
"Технические средства автоматизации". [Текст] / Г.П. Короткий. -
Орел.: ОГТУ, 2009.
2. Анурьев
В.И. Справочник конструктора-машиностроителя: В 3-х томах. Т.3. [Текст] / В.И.
Анурьев. - 8-е издание переработанное и дополненное. - М.: Машиностроение,
2001.
. Сидоров
И.Н. Малогабаритные магнитопроводы и сердечники: Справочник. [Текст] / И.Н.
Сидоров, А.А. Христинин, С.В. Скорняков/ - М.: Радио и связь, 1989.
4. QRZ.ru Справочник по
полупроводниковым диодам (Заголовок с экрана). [Электронный ресурс] URL:
http://www.qrz.ru/reference/kozak/diodes/dih00. shtml
<http://www.qrz.ru/reference/kozak/diodes/dih00.shtml> (дата обращения:
09.04.2014).