Моделирование системы поддержки принятия решения по выбору участника программы 'Поддержка начинающих фермеров'

  • Вид работы:
    Курсовая работа (т)
  • Предмет:
    Основы права
  • Язык:
    Русский
    ,
    Формат файла:
    MS Word
    114,99 Кб
  • Опубликовано:
    2015-01-05
Вы можете узнать стоимость помощи в написании студенческой работы.
Помощь в написании работы, которую точно примут!

Моделирование системы поддержки принятия решения по выбору участника программы 'Поддержка начинающих фермеров'

Министерство образования и науки Российской Федерации

Федеральное агентство по образованию

Государственное Образовательное Учреждение Высшего Профессионального Образования

Восточно-Сибирский Государственный Университет Технологий и Управления

Кафедра «Макроэкономика, экономическая информатика и статистика»






Курсовая работа

По дисциплине Система поддержки принятия решения

Выполнил: Базараханова Долсон.

Проверил: Антохонова И.В.






Улан-Удэ 2014

Содержание

Введение

.        Теоретические основы разработки СППР

.1      Понятие СППР

.2      Основные концепции и классификация СППР

.3      Роль СППР в органах государственной власти

.        Характеристика программы «Поддержка начинающих фермеров»

.1      Характеристика деятельности Министерства сельского хозяйства и продовольствия Республики Бурятия

.2      Анализ работы отдела развития сельских территорий и малых форм хозяйствования

.3      Описание программы «Поддержка начинающих фермеров»

.        Моделирование системы для принятия решения по программе «Поддержка начинающих фермеров»

.1 Постановка задачи

.2 Проектирование модели «как должно быть»

Заключение

Список использованных источников информации

Приложение

Введение

Актуальность данной работы обусловлена тем, что наша жизнь пронизана решениями. Их так много и принимаем мы их так часто, что в большинстве случаев этого просто не осознаем. Лишь наиболее важные и трудные решения как-то выделяются и становятся предметом анализа. Но даже в сложных случаях большинство из нас почему-то считают, что как-нибудь с ситуацией справятся самостоятельно, без посторонней помощи. Между тем, это не всегда так. Сегодня совершенно очевидно, что не оптимальность решений, принимаемых в жизнедеятельности и производстве, лишает нас значительной доли возможностей и ресурсов. Именно способность принимать целенаправленные решения выделяет человека из окружающего живого мира.

Объектом данной работы является Министерство сельского хозяйства и продовольствия Республики Бурятия.

Министерство рассматривает по определенным условиям фермеров, которым они могут выдать грант в рамках программы «Поддержка начинающих фермеров».

Целью данной работы является моделирование процесса принятия решений Министерством сельского хозяйства и продовольствия Республики Бурятия в программе «Поддержка начинающих фермеров».

Для достижения поставленной цели будут решаться следующие задачи:

.        Изучить теоретические основы разработки систем принятия решений

.        Рассмотреть характеристику программы «Поддержка начинающих фермеров»

.        Проанализировать результаты программы

.        Построить модель системы для принятия решений по программе.

.       
Основные теоретические аспекты СППР

.1 Понятие СППР

Использованию СППР и определению их функционального предназначения, посвящено достаточное число трудов отечественных и зарубежных специалистов в различных предметных областях.

В некоторых источниках СППР описывается как средство для "вычисления решений", основанное "на использовании моделей ряда процедур по обработке данных и суждений, помогающих ЛПР в принятии решения".

Система поддержки принятия решений (СППР) - компьютерная автоматизированная система, целью которой является помощь людям, принимающим решение в сложных условиях для полного и объективного анализа предметной деятельности. СППР возникли в результате слияния управленческих информационных систем и систем управления базами данных.

Для анализа и выработок предложений в СППР используются разные методы. Это могут быть: информационный поиск, интеллектуальный анализ данных, поиск знаний в базах данных, рассуждение на основе прецедентов, имитационное моделирование, эволюционные вычисления и генетические алгоритмы, нейронные сети, ситуационный анализ, когнитивное моделирование и др. Некоторые из этих методов были разработаны в рамках искусственного интеллекта. Если в основе работы СППР лежат методы искусственного интеллекта, то говорят об интеллектуальной СППР, или ИСППР.

С самых первых определений СППР определился круг решаемых с их помощью задач: неструктурированные и слабоструктурированные. Существенное влияние на такую направленность СППР оказала классификация проблем, согласно которой, неструктурированные задачи имеют лишь качественное описание, основанное на суждениях ЛПР, а количественные зависимости между основными характеристиками задачи не известны. В хорошо структурированных задачах существенные зависимости могут быть выражены количественно. Промежуточное положение занимают слабоструктурированные задачи, "сочетающие количественные и качественные зависимости, причём малоизвестные и неопределённые стороны задачи имеют тенденцию доминировать".

Ряд исследователей рассматривают СППР как средство для "выполнения решений", и определяют как систему, "основанную на использовании моделей ряда процедур по обработке данных и суждений, помогающих руководителю в принятии решения".

Среди факторов, определяющих качество принимаемых решений, одним из основных является интеллект ЛПР (начальника, руководителя, пользователя). Под интеллектом следует понимать весь интеллектуальный потенциал ЛПР в целом: данные природой способности творческого мышления, знания, приобретенные в ходе обучения, практики, жизненного опыта и др. В связи с этим, необходимо рассматривать задачи повышения интеллектуального уровня ЛПР не путем применения традиционных методов обучения, а на основе использования методов и средств (систем) искусственного интеллекта (СИИ), базирующихся на технологиях аналитической обработки данных. Данное направление ориентируется на создание комплекса соответствующих программно-аппаратных средств, позволяющих ЛПР решать задачи интеллектуального характера, требующие смысловой обработки больших объемов информации, хранящейся в базах данных. Таким образом, совокупность современных информационных технологий, позволяет вести речь о разработке информационной системы (подсистемы) интеллектуальной поддержки принятия решения, главным предназначением которой является - своевременное и качественное обеспечение всех информационных потребностей руководителей в процессе принятия решения. Это позволит:

.        Автоматизировать процессы управления предприятия за счет интеллектуализации принятия бизнес-решений.

.        Повысить эффективность производства корпоративного предприятия.

.        Открыть такую сферу производства, которая позволяет говорить о разработке полноценных автоматизированных информационных систем управления (совокупность технического, специального математического программного и информационно-лингвистического обеспечений) на базе современных информационных технологий обработки данных.

.2 Основные концепции и классификация СППР

В социально-экономических системах принимаемые решения должны быть тщательно продуманы и обоснованы, так как принимаемые решения касаются живых людей, их материального и духовного состояния. Тем не менее, на сегодняшний день принятие решений мэром, городской администрацией, комитетами основано на опыте и интуиции руководителей. Но социально-экономические системы сложны и их поведение трудно предсказать из-за наличия огромного количества прямых и обратных связей, часто неочевидных с первого взгляда. Человеческий мозг неспособен справиться с задачей такой размерности, поэтому необходимо обеспечить информационно-аналитическую поддержку принятия решений.

Концепция систем поддержки принятия решений (СППР) включает целый ряд средств, объединенных общей целью - способствовать принятию рациональных и эффективных управленческих решений.

Система поддержки принятия решений - это диалоговая автоматизированная система, использующая правила принятия решений и соответствующие модели с базами данных, а также интерактивный компьютерный процесс моделирования. Основу СППР составляет комплекс взаимосвязанных моделей с соответствующей информационной поддержкой исследования, экспертные и интеллектуальные системы, включающие опыт решения задач управления и обеспечивающие участие коллектива экспертов в процессе выработки рациональных решений.

Ниже на рисунке приведен архитектурно-технологическая схема информационно-аналитической поддержки принятия решений:

Поддержка принятия решений

Рис. Архитектурно-технологическая схема СППР

Первоначально информация хранится в оперативных базах данных OLTP-систем. Но ее сложно использовать в процессе принятия решений по причинам, о которых будет сказано ниже. Агрегированная информация организуется в многомерное хранилище данных. Затем она используется в процедурах многомерного анализа (OLAP) и для интеллектуального анализа данных (ИАД). Рассмотрим более подробно каждый элемент этой схемы.

Хранилища данных. Ясно, что принятие решений должно основываться на реальных данных об объекте управления. Такая информация обычно хранится в оперативных базах данных OLTP-систем. Но эти оперативные данные не подходят для целей анализа, так как для анализа и принятия стратегических решений в основном нужна агрегированная информация. Кроме того, для целей анализа необходимо иметь возможность быстро манипулировать информацией, представлять ее в различных аспектах, производить различные нерегламентированные запросы к ней, что затруднительно реализовать на оперативных данных по соображениям производительности и технологической сложности.

Решением данной проблемы является создание отдельного хранилища данных (ХД), содержащего агрегированную информацию в удобном виде. Целью построения хранилища данных является интеграция, актуализация и согласование оперативных данных из разнородных источников для формирования единого непротиворечивого взгляда на объект управления в целом. При этом в основе концепции хранилищ данных лежит признание необходимости разделения наборов данных, используемых для транзакционной обработки, и наборов данных, применяемых в системах поддержки принятия решений. Такое разделение возможно путем интеграции разъединенных в различных системах обработки данных (СОД) и внешних источниках детализированных данных в едином хранилище, их согласования и, возможно, агрегации.

Концепция хранилищ данных предполагает не просто единый логический взгляд на данные организации, а действительную реализацию единого интегрированного источника данных. Альтернативным по отношению к этой концепции способом формирования единого взгляда на корпоративные данные является создание виртуального источника, опирающегося на распределенные базы данных различных СОД. При этом каждый запрос к такому источнику динамически транслируется в запросы к исходным базам данных, а полученные результаты на лету согласовываются, связываются, агрегируются и возвращаются к пользователю.

Таким образом, хранилище данных функционирует по следующему сценарию. По заданному регламенту в него собираются данные из различных источников - баз данных систем оперативной обработки. В хранилище поддерживается хронология: наравне с текущими хранятся исторические данные с указанием времени, к которому они относятся. В результате необходимые доступные данные об объекте управления собираются в одном месте, приводятся к единому формату, согласовываются и, в ряде случаев, агрегируются до минимально требуемого уровня обобщения. Интеллектуальный анализ данных. Наибольший интерес в СППР представляет интеллектуальный анализ данных, так как он позволяет провести наиболее полный и глубокий анализ проблемы, дает возможность обнаружить скрытые взаимосвязи, принять наиболее обоснованное решение.

Современный уровень развития аппаратных и программных средств с некоторых пор сделал возможным повсеместное ведение баз данных оперативной информации на разных уровнях управления. В процессе своей деятельности промышленные предприятия, корпорации, ведомственные структуры, органы государственной власти и местного самоуправления накопили большие объемы данных. Они хранят в себе большие потенциальные возможности по извлечению полезной аналитической информации, на основе которой можно выявлять скрытые тенденции, строить стратегию развития, находить новые решения.

Для СППР отсутствует не только единое общепринятое определение, но и исчерпывающая классификация. Разные авторы предлагают разные классификации.

На концептуальном уровне Power отличает СППР, управляемые сообщениями (Communication-Driven DSS), СППР, управляемые данными (Data-Driven DSS), СППР, управляемые документами (Document-Driven DSS), СППР, управляемые знаниями (Knowledge-Driven DSS) и СППР, управляемые моделями (Model-Driven DSS). СППР, управляемые моделями, характеризуются в основном доступ и манипуляции с математическими моделями (статистическими, финансовыми, оптимизационными, имитационными). Некоторые OLAP-системы, позволяющие осуществлять сложный анализ данных, могут быть отнесены к гибридным СППР, которые обеспечивают моделирование, поиск и обработку данных. Управляемая сообщениями (Communication-Driven DSS) СППР поддерживает группу пользователей, работающих над выполнением общей задачи. СППР, управляемые данными (Data-Driven DSS) или СППР, ориентированные на работу с данными (Data-oriented DSS) в основном ориентируются на доступ и манипуляции с данными. СППР, управляемые документами (Document-Driven DSS), управляют, осуществляют поиск и манипулируют неструктурированной информацией, заданной в различных форматах. Наконец, СППР, управляемые знаниями (Knowledge-Driven DSS) обеспечивают решение задач в виде фактов, правил, процедур.

На техническом уровне Power различает СППР всего предприятия и настольную СППР. СППР всего предприятия подключена к большим хранилищам информации и обслуживает многих менеджеров предприятия. Настольная СППР - это малая система, обслуживающая лишь один компьютер пользователя.

Существуют и другие классификации (Alter, Holsapple и Whinston, Golden, Hevner и Power). Отмечу лишь, что превосходная для своего времени классификация Alter‘a, которая разбивала все СППР на 7 классов, в настоящее время несколько устарела.

В зависимости от данных, с которыми эти системы работают, СППР условно можно разделить на оперативные и стратегические. Оперативные СППР предназначены для немедленного реагирования на изменения текущей ситуации в управлении финансово-хозяйственными процессами компании. Стратегические СППР ориентированы на анализ значительных объемов разнородной информации, собираемых из различных источников. Важнейшей целью этих СППР является поиск наиболее рациональных вариантов развития бизнеса компании с учетом влияния различных факторов, таких как конъюнктура целевых для компании рынков, изменения финансовых рынков и рынков капиталов, изменения в законодательстве и др. СППР первого типа получили название Информационных Систем Руководства (Executive Information Systems, ИСР). По сути, они представляют собой конечные наборы отчетов, построенные на основании данных из транзакционной информационной системы предприятия, в идеале адекватно отражающей в режиме реального времени основные аспекты производственной и финансовой деятельности. Для ИСР характерны следующие основные черты:

·              отчеты, как правило, базируются на стандартных для организации запросах; число последних относительно невелико;

·              ИСР представляет отчеты в максимально удобном виде, включающем, наряду с таблицами, деловую графику, мультимедийные возможности и т. п.;

·              как правило, ИСР ориентированы на конкретный вертикальный рынок, например финансы, маркетинг, управление ресурсами.

При создании СППР можно использовать Web-технологии. В настоящее время СППР на основе Web-технологий для ряда компаний являются синонимами СППР предприятия.

.3 Роль СППР в органах государственной власти

Дальнейшая интеграция процессов управления и информатизации в социальной сфере, сфере производства и управления приводит к необходимости создания ситуационных центров управления различного назначения, информационно-аналитических систем поддержки принятия решений (СППР), в которых организуются процессы накопления, аналитической обработки территориальной информации, содержится инструментарий для системного моделирования социально-экономического развития регионов и принятия управленческих решений.

Основное назначение СППР для федеральных, региональных, муниципальных органов власти состоит в решении следующего комплекса задач: • мониторинг социально-экономических и финансовых показателей с целью контроля и комплексного анализа текущей социально-экономической ситуации на региональном уровне;

• анализ территориальной информации и выявление тенденций и закономерностей в накапливаемых данных;

• прогнозирование состояния отраслевых (производственных) и региональных комплексов и выделение диспропорций на рынках и соответствующих точек роста в социально-экономической системе;

• анализ влияния факторов различной природы на социально-экономическую ситуацию в регионах;

• системное моделирование социально-экономического развития регионов на основе комплекса взаимосвязанных имитационных и оптимизационных моделей;

• информационно-аналитическая поддержка процесса принятия управленческих решений, включающая выполнение многовариантных расчетов сценарного и целевого типа социально-экономического развития регионов и оценку последствий принятия решения.

Методологические и технологические подходы к построению систем поддержки принятия решений для региональных органов власти основаны на том, что процесс принятия управленческих решений характеризуется высокой информативностью и сложностью реальных проблем. Данные проблемы стоят перед органами власти и необходимостью проведения системного анализа и целенаправленных аналитических исследований для их решения, требующих согласованности принимаемых управленческих решений на всех уровнях власти, а также между задачами оперативного, тактического управления, социально-экономического, административного характера, поэтому представляет собой итеративный процесс

2.     
Анализ деятельности Министерства сельского хозяйства и продовольствия РБ

.1 Характеристика работы Министерства сельского хозяйства и продовольствия РБ

Министерство сельского хозяйства и продовольствия Республики Бурятия является органом государственной власти Республики Бурятия, осуществляющим реализацию государственной аграрной политики, направленной на устойчивое развитие сельского хозяйства и сельских территорий, и нормативно-правовое регулирование в сфере АПК.

Министерство осуществляет свою деятельность во взаимодействии с федеральными органами государственной власти и их территориальными органами, органами государственной власти Республики Бурятия, органами местного самоуправления в РБ, организациями и гражданами. В ведении Министерства находятся Управление ветеринарии РБ и Управление инспекции государственного надзора за техническим состоянием самоходных машин и других видов техники Республики Бурятия. В своей деятельности Министерство руководствуется Конституцией РФ, федеральными законами, нормативными правовыми актами Президента и Правительства РФ, Конституцией Республики Бурятия, законами РБ, нормативными правовыми актами Президента РБ и Правительства РБ, а также Положением о министерстве сельского хозяйства и продовольствия Республики Бурятия.

Министерство обладает правами юридического лица, имеет самостоятельный баланс, расчетный счет и иные счета в банковских учреждениях, печать со своим наименованием и изображением Государственного герба Республики Бурятия.

Местонахождение Министерства: 670034, Республика Бурятия, г. Улан-Удэ, ул. Хахалова, 4а.

К основным задачам Министерства относятся:

1)Обеспечение эффективной работы системы агропромышленного комплекса.

2)Обеспечение качества, конкурентоспособности и безопасности сельскохозяйственной продукции, сырья и продовольствия.

3)Обеспечение устойчивого развития сельских территорий, занятости сельского населения, повышения уровня его жизни, в том числе оплаты труда работников, занятых в сельском хозяйстве.

4)Формирование эффективно функционирующего рынка сельскохозяйственной продукции, сырья и продовольствия, обеспечивающего повышение доходности сельскохозяйственных товаропроизводителей и развитие инфраструктуры этого рынка.

5)Создание благоприятного инвестиционного климата и повышение объема инвестиций в сфере сельского хозяйства.

В рамках реализации Программы социально-экономического развития Республики Бурятия Министерство ответственно за выполнение мероприятий по достижению двух стратегических целей:

1.      Развитие экономики,

2.      Развитие социальной сферы.

Деятельность Министерства в 2013г. была направлена на достижение стратегической цели развития сельского хозяйства, определенной Программой социально-экономического развития Республики Бурятия на 2011-2013 годы и на период до 2020 года - по увеличению объемов производства сельскохозяйственной продукции для роста обеспеченности населения Республики Бурятия собственными продуктами питания, организаций пищевой и перерабатывающей промышленности - сырьем, повышение уровня жизни сельского населения.

.2 Анализ работы отдела «Развитие сельских территорий и малых форм хозяйствования»

Отдел развития сельских территорий и малых форм хозяйствования Комитета развития сельских территорий и инвестиций является структурным подразделением Министерства сельского хозяйства и продовольствия Республики Бурятия .

Основными задачами Отдела являются:

•        Обеспечение реализации Министерством государственной политики в сфере устойчивого развития сельских территорий.

•        Развитие социальной и инженерной инфраструктуры сельской местности.

•        Разработка предложений по внедрению эффективных форм хозяйствования организациями агропромышленного комплекса Республики Бурятия.

•        Развитие агротуризма в сельской местности.

•        Развитие малых форм хозяйствования (крестьянских (фермерских) хозяйств, потребительских кооперативов, личных подсобных хозяйств).

•        Разработка предложений по совершенствованию земельных и имущественных отношений в пределах полномочий отдела.

Агропромышленный комплекс Республики Бурятия включает 174 сельскохозяйственные организации, 2,2 тысяч крестьянских (фермерских) хозяйств, 121,6 тысяч личных подсобных хозяйств, 69 сельских потребительских кооперативов и более 400 организаций пищевой и перерабатывающей промышленности, которыми ежегодно производится продукции на сумму более 20 млрд. рублей.

Республика Бурятия в последние годы демонстрирует устойчивый рост агропромышленного производства. За 2010 - 2013 годы объем валовой продукции сельского хозяйства увеличился на 30,4 %.

По итогам 2013 года выручка от реализации сельскохозяйственной продукции увеличилась в 6 раз по сравнению с 2012 годом и составила 17,8 млн.руб. Причиной роста является создание поддержки К(Ф)Х в виде конкурсного соревнования, выигрышем которой является грант, в размере 1500 тысяч рублей.

Успешно развиваются порядка 80% получателей грантовой поддержки. Основная масса проектов направлена на развитие животноводства мясного направления, овцеводства.

Основой формирования перечня участников реализации мероприятий государственной программы явился отбор эффективных инвестиционных проектов, отражающих приоритеты развития АПК республики.

Выход проектов на полную производственную мощность позволит в перспективе дополнительно получать валовой продукции на сумму 3 - 4 млрд. рублей в год, перечислять в бюджет и внебюджетные фонды 508 млн. рублей, создать свыше тысячи рабочих мест.

Государственная поддержка малых форм хозяйствования, в том числе крестьянских (фермерских) хозяйств, выделяется в рамках Подпрограммы «Поддержка малых форм хозяйствования» Государственной программы «Развитие агропромышленного комплекса и сельских территорий на 2014-2017 годы и на период до 2020 года» (постановление Правительства РБ от 28.02.2013 г. №102).

Отбор проводится комиссией по поддержке фермерства при Правительстве Республики Бурятия.

государственный поддержка фермер министерство

Таблица 1.2.1. Количество созданных К(Ф)Х

Годы

Индикаторы


Начинающие фермеры

Семейные животноводческие фермы


план

факт

план

факт

2012

59

75

3

3

2013

62

81

3

4

2014

57

64

2

3

Итого

178

8

10


В течение трех лет реализации мероприятий по поддержке начинающих фермеров (таблица 1.1.1) создано 131 хозяйство, что превышает план на 21,3% которые ведут свою деятельность по 13 направлениям, и 10 семейных животноводческих ферм молочного направления, что превышает план на 25%.

Государственная поддержка малых форм хозяйствования на селе за период 2012-2014 годов.

За прошедший период на поддержку начинающих фермеров и семейных животноводческих ферм из федерального и республиканского бюджетов выделено 212,7 млн.руб. (РФ -157,2 млн.руб. РБ - 55,5 млн.руб.):

начинающим фермерам- 143,7 млн.руб.

семейным животноводческим фермам на базе К(Ф)Х - 69,0 млн.руб.

Таблица 1.2.2.Бюджет, выделенный на создание и развитие начинающих фермеров.

Года

Финансирование (млн. руб)



Федеральный бюджет

Региональный бюджет

Итого

Победители конкурса, К(Ф)Х

2012 год

42,807

10,500

53,307

59

2013 год

41,083

10,500

51,583

44

2014 год

28,388

10,500

38,888

28

Всего

112,278

31,500

143,778

131


Анализируя таблицу 1.2.2 можно рассчитать, что средняя сумма гранта на одного начинающего фермера в 2012 году составляла 903 тысячи рублей, в 2013 году выигрыш увеличился на 29,8% и составил 1 млн 172 тысячи рублей, а в следующем году еще на 18,4% и стал равен 1 млн 388 тысяч рублей.

.3 Описание программы «Поддержка начинающих фермеров»

В современных условиях крестьянские (фермерские) хозяйства Республики Бурятия играют немаловажную роль в обеспечении занятости и поддержания доходов сельского населения, налаживании устойчивого развития сельских территорий, способствуют сохранению сельского образа жизни, народных традиций. Государственная поддержка малых форм хозяйствования на селе позволила расширить возможности доступа фермеров Республики Башкортостан к субсидируемым кредитам в рамках реализации Государственной программы развития сельского хозяйства и регулирования рынков сельскохозяйственной продукции, сырья и продовольствия на 2008-2012 годы.

В тоже время новые созданные крестьянские (фермерские) хозяйства сталкиваются с целым рядом серьезных проблем, в том числе связанных с недостатком первоначального капитала. В последние годы создание нового крестьянского (фермерского) хозяйства связано с необходимостью бытового обустройства на новом месте, что требует дополнительных денежных средств.

Без решения данной экономической проблемы начинающие хозяйства не смогут быть конкурентоспособными и в большинстве своем вынуждены будут прекратить хозяйственную деятельность. Наряду с этим в секторе личных подсобных хозяйств населения появились хозяйства, имеющие в собственности или в пользовании до 5 и более гектаров земли и ориентированные на производство товарной продукции. Уже сейчас они по объему продукции превосходят некоторые фермерские хозяйства.

Формирование нового крестьянского (фермерского) хозяйства требует также значительных затрат на проектирование хозяйственных построек, их подключение к инженерным сетям, выплату первоначального взноса по лизинговым платежам. Для решения перечисленных проблем призвана Программа «Поддержка начинающих фермеров в Республике Бурятия на 2013-2015 годы», а также, чтобы вновь созданные крестьянские (фермерские) хозяйства не прекратили свою деятельность и смогли закрепиться в аграрном секторе экономики.

Цель программы - стимулирование развития КФХ для увеличения производства и сбыта сельскохозяйственной продукции, развитие крестьянских (фермерских) хозяйств для увеличения производства и сбыта сельскохозяйственной продукции.

В рамках реализации данной цели и устойчивости баланса производства и потребления сельскохозяйственной продукции господдержка будет производиться по следующим направлениям: мясное и молочное скотоводство; коневодство, овцеводство и козоводство; свиноводство; сельскохозяйственное птицеводство; пчеловодство; производство зерновых и зернобобовых культур; картофелеводство; овощеводство (открытого и закрытого грунта); выращивание плодовых и ягодных культур.

Задачи программы:

обеспечить условия для создания, расширения и модернизации производственной базы фермерских хозяйств;

создать дополнительные меры государственной поддержки начинающих фермеров;

обеспечить доступность финансовых ресурсов для начинающих фермерских хозяйств;

стимулировать граждан, в том числе граждан, занимающихся ведением личного подсобного хозяйства, создания КФХ.

Комплекс мер, направленных на реализацию задач, включает следующие направления:

. Гранты на создание и развитие крестьянского (фермерского) хозяйства;

. Единовременная помощь на бытовое обустройство начинающих фермеров;

На рисунках 2.3.1-2.3.5 спроектирован процесс работы отдела

«Развитие сельских территорий и малых форм хозяйствования» по осуществлению программы «Поддержки начинающих фермеров».

Рисунок 2.3.1.Модель процесса работы отдела «Развития сельских территорий и малых форм хозяйствования» по осуществлению программы «Поддержки начинающих фермеров».

На входе документы фермеров на участие в программе «Поддержки начинающих фермеров». На выходе отчет о осуществлении программы.

Рисунок 2.3.2.Процесс работы отдела

Процесс работы отдела включает в себя:

)        Прием документов

)        Выбор участников

)        Финансирование

)        Проверка использования грантов, единовременных выплат

)        Формирование отчета

Процесс работы отдел осуществляется под управлением Законодательства Российской Федерации, Законодательства Республики Бурятия, Условиями программы «Поддержка начинающих фермеров».

Механизмом процесса являются специалисты отдела и персональный компьютер, в частности офисные программы.

Рисунок 2.3.3.Модель «процесс приема документов»

Процесс «Прием документов» включает в себя:

)        Получение документов от фермера

)        Проверка на соответствие условиям программы

Условия программы приведены в Приложении 1.

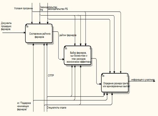
Рисунок 2.3.4.Модель «выбор участника»

Процесс «Выбор участника» включает в себя:

)        Составление рейтинга фермеров.

Рейтинг составляет исходя из бизнес плана и плана расходов, предоставляемые фермером.

)        Выбор фермеров, чьи бизнес-план и план расходов экономически эффективны

)        Определение размера гранта или единовременной выплаты.

Размер гранта или единовременной выплаты определяет специально созданная комиссия, и строго равен плану расходов. Грант не должен превышать 1,5 млн. рублей, а единовременная выплата 250 тыс. руб.

Рисунок 2.3.4.Модель «Проверка использования гранта»

Процесс «Проверка использования гранта» включает в себя:

)        Сбор отчетов от фермеров

)        Проверка на соответствие бизнес-плану и плану расходов

Чтобы говорить о результатах программы, необходимо собрать отчеты о использовании выданных грантов, единовременных выплат. А также соответствие заранее уже известному бизнес-плану и плану расходов.

3.      Моделирование системы для принятия решения по программе «Поддержка начинающих фермеров»

.1 Постановка задачи

С целью уменьшения ручного труда и уменьшения времени необходимого для решения проблем связанных с программой «Поддержка начинающих фермеров» необходимо внедрить систему поддержки принятия решения в отдел развития сельских территорий и малых форм хозяйствования.

Система поддержки принятия решений должна решать следующие задачи:

)        Проверять на соответствие условиям программы «Поддержка начинающих фермеров»

)        Составить рейтинг фермеров

)        Выбрать фермера, чьи бизнес-план и план расходов наиболее экономически эффективны

)        Определить размер гранта или единовременной выплаты

)        Проверить расходование средств на соответствие плану расходов.

.2 Проектирование модели «как должно быть»

Данная СППР разрабатывается как для специалистов так и для всего персонала организации.

Рисунок 3.2.1.Модель процесса работы отдела «Развития сельских территорий и малых форм хозяйствования» по осуществлению программы «Поддержки начинающих фермеров».

Рисунок 3.2.2.Процесс работы отдела

Рисунок 3.2.3.Модель «процесс приема документов»

Рисунок 3.2.4.Модель «выбор участника»

Рисунок 3.2.5.Модель «Проверка использования гранта»

Заключение

В ходе данного проекта была спроектирована система поддержки принятия решения по выбору участника программы «Поддержка начинающих фермеров», которая решает следующие задачи:

) Проверяет на соответствие условиям программы «Поддержка начинающих фермеров»

) Составляет рейтинг фермеров

) Выбирает фермера, чьи бизнес-план и план расходов наиболее экономически эффективны

) Определяет размер гранта или единовременной выплаты

) Проверяет расходование средств на соответствие плану расходов.

Благодаря решению этих задач уменьшается время простоя оборудования и уменьшается нагрузка на специалиста по мелким вопросам, которые пользователь может решить сам.

Список использованных источников литературы

1.      Википедия - свободная энциклопедия сайт [WWW-документ] // URL <http://ru.wikipedia.org/> (2014.25 ноября).

.        Система поддержки принятия решений сайт [WWW-документ] // URL <http://www.tadviser.ru/> (2014.20 ноября).

.        Официальный сайт Министерства сельского хозяйства и продовольствия Республики Бурятия [WWW-документ] // URL <http://egov-buryatia.ru/minselhoz-%20%20сайт>

.        Моделирование бизнес-процессов - BPWin сайт [WWW-документ] // URL <http://www.studarhiv.ru/>

.        Официальный сайт Правительства Республики Бурятия [WWW-документ] // URL <http://egov-buryatia.ru/> .

Приложение

Условия для подачи гражданами заявок в Конкурсную комиссию при Правительстве Республики Бурятия по развитию фермерства для участия в мероприятиях «Поддержка начинающих фермеров»:

Грант (на создание и развитие К(Ф)Х) - до 1,5 млн. руб.

Единовременная помощь (на бытовое обустройство) - до 250 тыс. руб.

1) заявитель не осуществлял предпринимательскую деятельность в течение последних 3-х лет в качестве индивидуального предпринимателя без образования юридического лица и (или) не являлся учредителем (участником) коммерческой организации;

) заявитель ранее не являлся получателем:

а) гранта на создание и развитие крестьянского (фермерского) хозяйства;

б) гранта на развитие семейных животноводческих ферм;

в) выплаты на содействие самозанятости безработных граждан, полученной до регистрации крестьянского (фермерского) хозяйства (далее - хозяйство), главой которого является заявитель;

г) средств финансовой поддержки в виде субсидии или грантов на организацию начального этапа предпринимательской деятельности, полученных до регистрации хозяйства, главой которого является заявитель;

д) единовременной помощи на бытовое обустройство начинающим фермерам.

В случае, если указанные в подпункте «в <file:///C:\Users\Аяна\Downloads\PAMYaTKA_DLYa_GRAZhDAN_PO_UChASTIYu_V_MEROPRIYaTIYaH_PODPROGRAMMi__RAZVITIE_MALiH_FORM_HOZYaYSTVOVANIYa_MEROPRIYaTIYa_PODDERZhKA_NAChINAYuSchIH_FERMEROV__RAZVITIE_SEMEYNiH_ZhIVOTNOVODChESKIH_FERM.doc>» и <file:///C:\Users\Аяна\Downloads\PAMYaTKA_DLYa_GRAZhDAN_PO_UChASTIYu_V_MEROPRIYaTIYaH_PODPROGRAMMi__RAZVITIE_MALiH_FORM_HOZYaYSTVOVANIYa_MEROPRIYaTIYa_PODDERZhKA_NAChINAYuSchIH_FERMEROV__RAZVITIE_SEMEYNiH_ZhIVOTNOVODChESKIH_FERM.doc>г» настоящего подпункта единовременные выплаты заявитель получает для создания и развития хозяйства, указанного в подпункте 3 <file:///C:\Users\Аяна\Downloads\PAMYaTKA_DLYa_GRAZhDAN_PO_UChASTIYu_V_MEROPRIYaTIYaH_PODPROGRAMMi__RAZVITIE_MALiH_FORM_HOZYaYSTVOVANIYa_MEROPRIYaTIYa_PODDERZhKA_NAChINAYuSchIH_FERMEROV__RAZVITIE_SEMEYNiH_ZhIVOTNOVODChESKIH_FERM.doc>, и не допускает финансирования за счет указанных выплат одних и тех же затрат, то заявитель может подать заявку на участие в конкурсе по отбору начинающих фермеров;

) заявитель является главой хозяйства, деятельность которого на дату подачи заявки не превышает 24 месяцев со дня его регистрации, зарегистрированного на территории Республики Бурятия;

) заявитель имеет среднее специальное или высшее сельскохозяйственное образование, или получил дополнительное профессиональное образование по сельскохозяйственной специальности, или имеет трудовой стаж в сельском хозяйстве не менее трех лет, или осуществляет ведение или совместное ведение личного подсобного хозяйства в течение не менее трех лет;

) хозяйство, главой которого является заявитель, соответствует критериям микропредприятия, установленным Федеральным законом <consultantplus://offline/ref=682A15984F74D4EAFF978E1026F8C183EEDD12B14567ED06BB9B0E9141z900C> от 24.07.2007 № 209-ФЗ «О развитии малого и среднего предпринимательства в Российской Федерации»;

) заявитель имеет план по созданию и развитию хозяйства по направлению деятельности (отрасли), определенной подпрограммой, увеличению объема реализуемой сельскохозяйственной продукции (далее - бизнес-план);

) заявитель представляет план расходов (далее - План) с указанием наименований приобретаемого имущества, выполняемых работ, оказываемых услуг (далее - Приобретения), их количества, цены, источников финансирования (средства гранта, единовременная помощь, собственные и заемные средства);

) глава хозяйства обязуется оплачивать за счет собственных средств не менее 10% от стоимости каждого Приобретения из указанных в Плане;

) глава хозяйства обязуется использовать грант, единовременную помощь в течение 12 месяцев со дня поступления средств на его счет и использовать имущество, закупаемое за счет гранта, исключительно на развитие хозяйства;

) хозяйство планирует создание не менее одного постоянного рабочего места на каждые 500 тыс. рублей гранта;

) заявитель заключил договоры (предварительные договоры) о реализации сельскохозяйственной продукции на сумму более 30 тыс. рублей;

) заявитель обязуется осуществлять деятельность хозяйства в течение не менее пяти лет после получения гранта;

) заявитель постоянно проживает или обязуется переехать на постоянное место жительства в муниципальное образование по месту нахождения и регистрации хозяйства, главой которого он является и данное хозяйство является единственным местом трудоустройства заявителя.

Грант выделяется на:

приобретение земельных участков из земель сельскохозяйственного назначения;

разработку проектной документации для строительства (реконструкции) производственных и складских зданий, помещений, предназначенных для производства, хранения и переработки сельскохозяйственной продукции;

приобретение, строительство, ремонт и переустройство производственных и складских зданий, помещений, пристроек, инженерных сетей, заграждений и сооружений, необходимых для производства, хранения и переработки сельскохозяйственной продукции, а также их регистрацию;

строительство дорог и подъездов к производственным и складским объектам, необходимым для производства, хранения и переработки сельскохозяйственной продукции;

подключение производственных и складских зданий, помещений, пристроек и сооружений, необходимых для производства, хранения и переработки сельскохозяйственной продукции, к инженерным сетям - электрическим, водо-, газо- и теплопроводным сетям, дорожной инфраструктуре;

приобретение сельскохозяйственных животных;

приобретение сельскохозяйственной техники и инвентаря, грузового автомобильного транспорта, оборудования для производства и переработки сельскохозяйственной продукции;

приобретение семян и посадочного материала для закладки многолетних насаждений;

приобретение удобрений и ядохимикатов.

Максимальный размер гранта за счет средств республиканского бюджета в расчете на одного начинающего фермера, софинансируемый из федерального бюджета, составляет не более 1500 тысяч рублей.

Начинающий фермер может получить грант на создание и развитие К(Ф)Х только один раз.

Сумму гранта на создание и развитие К(Ф)Х определяет Комиссия с учетом наличия собственных средств заявителя. Сумма должна строго соответствовать плану расходов.

Единовременная помощь выделяется на:

приобретения, строительства и ремонта собственного жилья, в том числе погашения основной суммы и процентов по банковским кредитам (ипотеке), привлеченным для его приобретения;

приобретения одного грузопассажирского автомобиля;

приобретения и доставки предметов домашней мебели, бытовой техники, компьютеров, средств связи, электрических и газовых плит, инженерного оборудования, установок для фильтрации воды, бытовых водо-, тепло- и газоустановок, септиков, устройств для водоподачи и водоотведения;

подключения жилья к газовым, тепловым и электрическим сетям, сетям связи, интернету, водопроводу и канализации.

Максимальный размер единовременной помощи за счет средств республиканского бюджета на одного начинающего фермера, софинансируемый из федерального бюджета, составляет не более 250 тысяч рублей.

Начинающий фермер может получить единовременную помощь на бытовое обустройство только один раз.

Сумму единовременной помощи определяет Комиссия с учетом наличия собственных средств заявителя. Сумма должна строго соответствовать плану расходов.

Комплект документов, подтверждающих соответствие условиям для прохождения конкурсного отбора:

копия паспорта гражданина Российской Федерации;

копия свидетельства о государственной регистрации К(Ф)Х, главой которого является заявитель;

копия диплома (аттестата, свидетельства) о полученном образовании либо свидетельство об окончании курсов дополнительного профессионального образования по сельскохозяйственной специальности;

копия трудовой книжки (выписки из трудовой книжки) о наличии стажа работы в сельском хозяйстве либо выписка из похозяйственной книги, подтверждающей, что заявитель состоял в личном подсобном хозяйстве;

бизнес-план по созданию, расширению, модернизации К(Ф)Х, на 5 лет, включающий предложения по формированию производственной базы, созданию не менее одного постоянного рабочего места на каждые 500 тыс. рублей гранта, заключение договоров (предварительных договоров) по реализации сельскохозяйственной продукции на сумму более 30 тыс. рублей в год;

план расходов;

документы, подтверждающие финансовое обеспечение (выписки с банковского счета);

письменное обязательство по подпунктам 8 <file:///C:\Users\Аяна\Downloads\PAMYaTKA_DLYa_GRAZhDAN_PO_UChASTIYu_V_MEROPRIYaTIYaH_PODPROGRAMMi__RAZVITIE_MALiH_FORM_HOZYaYSTVOVANIYa_MEROPRIYaTIYa_PODDERZhKA_NAChINAYuSchIH_FERMEROV__RAZVITIE_SEMEYNiH_ZhIVOTNOVODChESKIH_FERM.doc>, <file:///C:\Users\Аяна\Downloads\PAMYaTKA_DLYa_GRAZhDAN_PO_UChASTIYu_V_MEROPRIYaTIYaH_PODPROGRAMMi__RAZVITIE_MALiH_FORM_HOZYaYSTVOVANIYa_MEROPRIYaTIYa_PODDERZhKA_NAChINAYuSchIH_FERMEROV__RAZVITIE_SEMEYNiH_ZhIVOTNOVODChESKIH_FERM.doc>, 10 <file:///C:\Users\Аяна\Downloads\PAMYaTKA_DLYa_GRAZhDAN_PO_UChASTIYu_V_MEROPRIYaTIYaH_PODPROGRAMMi__RAZVITIE_MALiH_FORM_HOZYaYSTVOVANIYa_MEROPRIYaTIYa_PODDERZhKA_NAChINAYuSchIH_FERMEROV__RAZVITIE_SEMEYNiH_ZhIVOTNOVODChESKIH_FERM.doc>, 12 <file:///C:\Users\Аяна\Downloads\PAMYaTKA_DLYa_GRAZhDAN_PO_UChASTIYu_V_MEROPRIYaTIYaH_PODPROGRAMMi__RAZVITIE_MALiH_FORM_HOZYaYSTVOVANIYa_MEROPRIYaTIYa_PODDERZhKA_NAChINAYuSchIH_FERMEROV__RAZVITIE_SEMEYNiH_ZhIVOTNOVODChESKIH_FERM.doc> подпункта 2.3 и письменное согласие по подпункту 13 подпункта 2.3 <file:///C:\Users\Аяна\Downloads\PAMYaTKA_DLYa_GRAZhDAN_PO_UChASTIYu_V_MEROPRIYaTIYaH_PODPROGRAMMi__RAZVITIE_MALiH_FORM_HOZYaYSTVOVANIYa_MEROPRIYaTIYa_PODDERZhKA_NAChINAYuSchIH_FERMEROV__RAZVITIE_SEMEYNiH_ZhIVOTNOVODChESKIH_FERM.doc>;

права на вождение сельскохозяйственной техники и другие документы (в случае приобретения сельскохозяйственной техники, грузового автомобильного транспорта);

при подаче заявки заявитель может представить дополнительно любые документы, в том числе рекомендательное письмо (письма) от органов местного самоуправления или общественных организаций, или поручителей, если считает, что они могут повлиять на решение конкурсной комиссии. Дополнительно представленные документы также подлежат внесению в опись;

копии договоров (предварительные договоры) о реализации сельскохозяйственной продукции на сумму более 30 тысяч рублей.

Реквизиты всех документов, подаваемых заявителем в конкурсную комиссию, количество листов вносится в опись, составляемую в двух экземплярах, второй экземпляр описи с отметкой о приеме документов остается у заявителя.

Похожие работы на - Моделирование системы поддержки принятия решения по выбору участника программы 'Поддержка начинающих фермеров'

 

Не нашли материал для своей работы?
Поможем написать уникальную работу
Без плагиата!
Без нейросетей!