Штанговая скважинная насосная установка
Аннотация
В данном курсовом проекте рассматриваются
основные типы и конструкции штанговых скважинных насосных установок и их
основные узлы.
Целью курсового проекта является расчет
ступенчатой колоны штанг определение их основных параметров для станка-качалки
СКД 8-3,5-2200.
В данном проекте проведен полный анализ
штанговых скважинных насосных установок, подобрано оборудование, отвечающее
заданным исходным данным, обеспечивающим качественную работу станка-качалки,
проведены необходимые расчеты элементов станка-качалки, приведены патентные
исследования. Отмечены условия монтажа и ремонта элементов станков-качалок,
условия их транспортирования и техника безопасности при работе со
станками-качалками.
Курсовой проект выполнен на 62 листах.
штанговая скважинная насосная
станок
Введение
Одним из наиболее распространенных
механизированных способов эксплуатации скважин является способ с использованием
скважинного насоса с приводом, расположенным на поверхности. Свыше 65 %
действующего фонда скважин оснащены штанговыми скважинными насосными
установками (ШСНУ). С помощью ШСНУ добывается около 30 % всей нефти.
Такое широкое распространение эксплуатации
скважин штанговыми установками объясняется тем, что этот способ наиболее
экономичный и гибкий в отношении регулирования отбора жидкости.
К преимуществам ШСНУ относится:
простота конструкции,
простота обслуживания и ремонта в промысловых
условиях,
удобство регулировки,
возможность обслуживания установки работниками
низкой квалификации,
малое влияние на работу ШСНУ физико-химических
свойств откачиваемой
жидкости,
высокий КПД,
возможность эксплуатации скважин малых
диаметров.
Эффективность добычи нефти штанговыми насосами в
основном зависит от правильного подбора оборудования и установления оптимальных
режимов откачки жидкости. Различие нефтяных скважин по объему продукции и
требуемой высоте ее подъема определяет необходимость иметь размерный ряд по
мощности штанговых насосных установок. Разнообразие профилей скважин, состава
продукции обуславливает необходимость иметь несколько конструктивных вариантов
внутрискважинных элементов оборудования, наиболее приспособленных к условиям
эксплуатации, и варианты исполнения этих элементов оборудования,
соприкасающихся с продукцией, так же и по применяемым материалам, с тем чтобы
обеспечить их наибольшую износостойкость, коррозионную стойкость и
коррозионно-усталостную прочность в условиях воздействия различных сред.
Глобальной задачей проектирования оптимальных
ШСНУ является создание не только отдельных типоразмеров, но и размерных рядов
элементов оборудования ШСНУ, обеспечивающих минимизацию затрат при совокупности
их применения.
За последние годы на промыслах появились новые
станки-качалки типа СКД, усовершенствованные подъемные агрегаты, скважинные
насосы, специальная техника, механизмы и инструменты.
Повсеместно проводится широкая работа по борьбе
с коррозией нефтепромыслового оборудования и с отложениями солей и парафинов, а
также по охране окружающей среды. Появились новые дозаторы, химические реагенты
и технология их применения.
1.
Анализ тенденций развития и постановка задачи проектирования
.1 Общие сведения о штанговых насосах
Эксплуатация нефтяных скважин штанговыми
насосами - наиболее распространенный способ добычи нефти, охватывающий более
65% действующего фонда скважин. Современными штанговыми насосными установками
можно добывать нефть из одного или двух пластов скважин глубиной до 3500 м с
дебитом жидкости от нескольких кубометров до нескольких сотен кубометров в
сутки.
Штанговая насосная установка для эксплуатации
одного пласта (рисунок 1) состоит из станка-качалки, устьевого сальника,
колонны насосных штанг и насосно-компрессорных труб, а также вставного или не
вставного скважинного насоса. Для закрепления в колонне насосно-компрессорных
труб вставного скважинного насоса, спускаемого на колонне насосных штанг,
применяется замковая опора. Цилиндры не вставных насосов спускаются в скважину
на конце колонны насосно-компрессорных труб, а плунжер - на конце насосных
штанг. Кроме того, подземное оборудование может включать различные защитные
устройства (газовые и песочные якоря, хвостовики), присоединяемые к приемному
патрубку ШСН и улучшающие его работу в осложненных условиях (песок, газ).
Штанговый скважинный насос состоит из длинного
(2-4 м) цилиндра той или иной конструкции. На нижнем конце цилиндра укреплен
неподвижный всасывающий клапан, открывающийся при ходе вверх. Цилиндр
подвешивается на трубах. В нем перемещается поршень-плунжер, выполненный в виде
гладко обработанной трубы длинной 1-1,5 м, имеющей нагнетательный клапан, также
открывающийся вверх. Плунжер подвешивается на штангах. При движении плунжера
вверх жидкость через всасывающий клапан под воздействием давления на приеме
насоса заполняет внутреннюю полость цилиндра. При ходе плунжера вниз
всасывающий клапан закрывается, жидкость под плунжером сжимается и открывает
нагнетательный клапан. Таким образом, плунжер с открытым клапаном погружается в
жидкость. При очередном ходе вверх нагнетательный клапан под давлением
жидкости, находящейся над плунжером, закрывается. Плунжер превращается в
поршень и поднимает жидкость на высоту, равную длине хода (0,6 - 6 м).
Накапливающаяся над плунжером жидкость достигает устья скважины и через тройник
поступает в нефтесборную сеть.
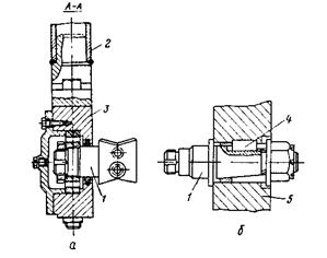
- станок-качалка; 2 - сальник устьевой; 3 -
колонна НКТ; 4 - колонна насосных штанг; 5 - вставной скважинный насос; 6 -
невставной скважинный насос; 7 - опора.
Рисунок 1 - Штанговая насосная установка
.2 Анализ конструктивного исполнения станков
качалок
Наземная часть установки состоит из
станка-качалки и устьевого сальника. Станки-качалки - индивидуальный
балансирный механический привод ШСН. Станки-качалки выполняются в двух
исполнениях: СК, выпускаемые семи типоразмеров, и СКД, выпускаемые по ГОСТ
26-16-08 - 87 шести типоразмеров. В шифре, например, СКД8-3.5-2200, указано:
- наибольшая допускаемая нагрузка рmах на
головку балансира в точке подвеса штанг, умноженная на 10кН;
.5 - наибольшая длина хода устьевого штока, м;
- наибольший допускаемый крутящий момент на
ведомом валу редуктора, умноженный на 0,01кН · м. Дополнительно СК
характеризуют числом n качаний балансира (двойных ходов), которое изменяется от
5 до 15 мин-1.
Техническая характеристика станков качалок
приведена в приложениях.
- подвеска устьевого штока; 2 -
балансир с опорой; 3 - стойка; 4 - шатун;
- кривошип; 6 - редуктор; 7 -
ведомый шкив; 8 - ремень; 9 - электродвигатель; 10 - ведущий шкив; 11 -
ограждение; 12 - поворотная плита; 13 - рама;
- противовес; 15 - траверса; 16 -
тормоз.
Рисунок 2 - Станок-качалка
Рама, на которой монтируются стойка,
редуктор, поворотные салазки под электродвигатель и ограждение
кривошипно-шатунного механизма, выполнена из профильного проката. Для
уменьшения высоты фундамента в станках-качалках с комбинированным и кривошипным
уравновешиванием в месте установки редуктора прикрепляется подредукторная
подставка. На раме предусмотрены отверстия для крепления анкерными болтами к
фундаменту при монтаже станка-качалки.
Стойка, имеющая форму усеченной
трехгранной пирамиды в станках-качалках 1СК-ЗСК и четырехгранной 4СК-9СК,
выполнена из профильного проката. Ноги стоики соединены между собой поперечными
связями.
В станках-качалках 1СК-4СК стойка
приварена к раме, а в 5СК-9СК крепится к раме болтами. К верхней части стойки
приварена плита, на которой устанавливается опора балансира. К плите приварены
четыре упора с установочными винтами, которыми обеспечивается продольное
перемещение балансира при регулировании точки подвеса штанг по центру скважины
после монтажа станка-качалки. Ось опоры балансира крепится к плите двумя
скобами. Для смены скоб в плите имеется две прорези.
Балансир изготавливают из
профильного проката или сварной конструкции. В станках-качалках 1СК-ЗСК
балансир выполнен с откидной головкой, а в 4СК-9СК - с поворотной. В рабочем
положении поворотная головка фиксируется клином защелки, входящим в паз шайбы
головки. Клин защелки соединен с рукояткой канатом. При освобождении головки
клин при помощи рукоятки оттягивается назад. Головка балансира поворачивается
после отсоединения с колонной штанг при текущем ремонте скважин. Головка
балансира представляет собой дугу окружности, чем обеспечивается
прямолинейность движения сальникового штока при качании балансира. В верхней
части головки закреплен ролик, на который надет канат. К концам каната
прикреплена канатная подвеска сальникового штока. На заднем плече балансира у
станков-качалок с балансирным и комбинированным уравновешиванием устанавливают
грузовые чугунные плиты.
Балансир связан с редуктором двумя
параллельно работающими кривошипно-шатунными механизмами и поперечной
траверсой. Траверса соединена с балансиром при помощи шарнирного соединения -
опоры траверсы. Прочность балансира должна соответствовать изгибающему
напряжению, возникающему от нагрузок в скважине и противовеса.
Опора балансира (рисунок 3)
представляет собой в средней части ось квадратного сечения, концы ее покоятся
на сферических роликоподшипниках. Подшипники установлены в чугунные корпуса,
которые крепятся болтами к верхней плите стойки.
Балансир опирается на среднюю
квадратную часть оси и закрепляется двумя скобами.
- верхняя плита, 2 - балансир, 3 -
скоба крепления балансира,
- корпус подшипника, 5 -
установочный винт.
Рисунок 3 - Опора балансира
Опора траверсы обеспечивает
шарнирное соединение балансира с траверсой и шатунами. В станках-качалках с
комбинированным и кривошипным уравновешиванием ось опоры траверсы находится в
клеммовых зажимах двух кронштейнов (рисунок 4). В станках-качалках с
балансирным уравновешиванием осью опоры траверсы непосредственно является сама
траверса.
-кронштейн, 2-корпус подшипника,
3-крышка подшипника, 4-гайка установочная, 5-ось, 6-подшипник качения.
Рисунок 4 - Клеммовый зажим
Траверса в станках-качалках с
комбинированным и кривошипным уравновешиванием выполнена рогообразной формы в
виде сварной балки коробчатого сечения. Траверса связывает балансир с двумя
параллельными шатунами.
Шатуны, соединительное звено между
кривошипом и траверсой, выполняют из стальной трубы ГОСТ 8732-70. В верхнюю
часть шатуна вварена головка для соединения с траверсой, а к нижней части
приваривают опорный башмак, к которому крепится нижняя головка шатуна.
Верхняя головка шатунов (рисунок 5)
в станках-качалках 1СК- 3СК при помощи клеммового соединения прикрепляется к
самой траверсе, а в сынках 4СК-9СК - к пальцу. Палец в свою очередь шарнирно
соединен с траверсой. Нижняя головка, прикрепляемая двумя болтами к опорному
башмаку, состоит из корпуса сферического шарикоподшипника в станках-качалках
1СК-2СК и сферического роликоподшипника в станках ЗСК-9СК. Подшипники
насаживают на палец кривошипа, выступающий конец которого вставляется в
кривошип.
- шатун, 2 - траверса, 3 - ось
шатуна, 4 - втулка
Рисунок 5 - Верхняя головка шатунов
Кривошипы в станках-качалках по ГОСТ
5866-66 изготавливают со ступенчатым и с бесступенчатым (плавным) изменениями
длины хода. Длину хода точки подвеса штанг регулируют изменением радиуса
вращения пальца нижней головки шатуна, закрепленного в кривошипе.
В кривошипах с бесступенчатым
изменением длины хода выступающий из нижней головки шатуна палец кривошипа,
оканчивающийся плитой со скосами типа «Ласточкин хвост», обеспечивает плавное и
направленное перемещение в специальных направляющих кривошипа. Для надежной
фиксации пальцев на кривошипах предусмотрены клиновые зажимы, соединенные с
пальцами специальными болтами. Палец перемещается по кривошипу при изменении
длины хода точки подвеса штанг при помощи ходового винта с трапецеидальной
резьбой. Один конец пальца закреплён в подшипнике, а другой заканчивается
головкой квадратного сечения под торцовый ключ. При перемещении пальца вдоль
кривошипа необходимо последний установить в горизонтальное положение, ослабить
болт клинового зажима и торцовым ключом придать вращение ходовому винту в
нужном направлении.
- палец; 2 - шатун; 3 - корпус
подшипника; 4 - шпонка, 5 - кривошип
Рисунок 6 - Нижняя головка шатунов:
а - бесступенчатое изменение длины
хода;
б - ступенчатое изменение длины
хода.
После установки пальца в требуемом
месте против соответствующего деления на кривошипе затягивают болтом клин. В
кривошипах ступенчатого изменения длины хода конец кривошипного пальца
конической формы закрепляется в отверстии кривошипа корончатой гайкой. При
перестановке пальцев в кривошипных отверстиях освобождаются болты, соединяющие
шатун с нижней головкой. Для уравновешивания станков-качалок (с кривошипным
уравновешиванием) в процессе их эксплуатации на кривошипах может быть
установлено до восьми противовесов. Кривошип, насаженный па ведомый вал
редуктора, преобразует вращательное движение вала в возвратно-поступательное,
которое передается колонне насосных штанг через промежуточные звенья - шатуны,
траверсу, балансир и подвеску сальникового штока. Канатная подвеска
сальникового штока, выполняющая роль гибкого звена между колонной насосных
штанг и станком-качалкой, состоит из верхней траверсы с втулкой клинового
зажима сальникового штока и нижней с двумя втулками клинового зажима каната.
Верхняя траверса опирается на втулки зажимов каната. В зазор между траверсами
вводятся рычаги динамографа для снятия динамограммы работы глубинного насоса. При
этом вследствие увеличения расстояния между траверсами, создаваемого съемными
домкратами, верхняя траверса опирается не на втулки, а на рычаги динамографа,
которые воспринимают всю нагрузку, передаваемую на балансир станка-качалки. В
качестве гибкого звена служит канат, диаметр которого подбирается в зависимости
от нагрузки в точке подвеса штанг. Подвески сальникового штока имеют шифр
ПСШ-3, ПСШ-5 и ПСШ-15 в зависимости от грузоподъемности (3, 5 и 15 т).
- нижняя траверса; 2 - плашки
каната; 3 - пружина плашек; 4 - винт опорный, 5 - верхняя траверса; 6 - плашка
штока; 7 - пружина плашек штока;
8
- сальниковый шток; 9 - канат
Рисунок 7 - Канатная подвеска сальникового штока
В последние годы широко внедряется телединамометрирование,
при котором реже приходится прибегать к контролю работы глубинного насоса
динамографами. При этом применяется канатная подвеска с одной верхней
траверсой. Нижняя траверса является съемной и применяется только в процессе
динамометрирования гидравлическим динамографом. Тормоз (рисунок 8)
станка-качалки двухколодочный.
Конструкцией предусмотрено три типа узла
соединения тормоза с редуктором: колодки установлены под углом относительно
вертикальной оси и нижним расположением ходового винта; колодки установлены
симметрично относительно вертикальной оси; колодки установлены под углом
относительно вертикальной оси с верхним расположением ходового винта.
- левая колодка, 2 - палец, 3 - правая колодка,
4,6 - гайка,
- вилка, 7 - стяжной винт.
Рисунок 8 - Тормоз станка-качалки
Поворотная рама-салазки (рисунок 9) под
электродвигатель обеспечивает быструю смену и натяжение клиновых ремней.
Выполнена она в виде рамы, которая в станках-качалках 1СК-7СК шарнирно
укреплена на конце станины в трех точках, а в станках 8СК-9СК в четырех точках.
К раме прикреплены болтами салазки, на которые устанавливается
электродвигатель. Рама с салазками поворачивается вращением ходового винта.
Рисунок 9 - Поворотная рама-салазки
Привод станка-качалки осуществляется от
асинхронного короткозамкнутого электродвигателя с повышенным пусковым моментом,
специального исполнения, типа АОП2 по ГОСТ 183-66 со скоростью вращения вала
750, 1000 и 1500 об/мин. Станки-качалки небольшой мощности (до 3 кВт)
поставляются с электродвигателем по ГОСТ 13859-68.
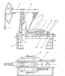
Кинематическая схема станка-качалки (рисунок 10)
включает двигатель 1, клиноременную передачу 2, зубчатый редуктор 3 и шарнирно
четырехзвенный механизм 4 с балансиром 5, преобразующим движение ведомого
(выходного) вала редуктора в возвратно-поступательное движение точки подвеса
штанг.
-электродвигатель;2-клиноременная
передача;3-редуктор;4-шарнирный четырехзвенный механизм; 5-балансир
Рисунок 10 - Кинематическая схема станка-качалки
По расположению кривошипного центра О
относительно прямой В1В2, проходящей через точки сочленения шатуна с балансиром
в крайних верхнем В1 и нижнем В2 положениях, различают три вида
кривошипно-коромыслового шарнирно четырехзвенного преобразующего механизма
обычных станков-качалок:
. Аксиальный механизм OABCD с расположением
кривошипного центра О на прямой В1 В2 .
. Дезаксиальный механизм с положительным
дезаксиалом с расположением кривошипного центра О и центра качания балансира С
по обе стороны от прямой В1В2.
. Дезаксиальный механизм с отрицательным
дезаксиалом с расположением кривошипного центра О и центра качания балансира С
по одну сторону от прямой В1В2.
У станков-качалок с аксиальным исполнением одинаковое
время хода штанг вверх и вниз. Это достигается благодаря наличию зависимости
между звеньями преобразующего шарнирно четырехзвенного механизма при
максимальной длине хода точки подвеса штанг.
В дезаксиальных шарнирных четырехзвенных
преобразующих механизмах средняя скорость движения точки подвеса штанг в каждом
полуцикле (ходах вверх и вниз) в зависимости от направления вращения кривошипа
изменяется. Например, для механизма с положительным дезаксиалом при одинаковых
направлениях вращения кривошипа и балансира ход штанг вверх происходит быстрее
хода вниз; при разных направлениях вращения кривошипа и балансира ход вверх
происходит медленнее хода вниз.
Конструирование станков-качалок в дезаксиальном
исполнении позволяет уменьшить высоту, сократить размеры и массу отдельных
элементов и, в конечном счете, значительно снизить их металлоемкость. В нашей
стране в основном выпускались аксиальные станки-качалки. Выпуск дезаксиальных
станков-качалок СКД с небольшим положительным дезаксиалом начался в 1987 г. По
типу привода наибольшее распространение в промышленности получили механические
приводы скважинного насоса. Известны индивидуальные механические приводы и
групповые приводы для эксплуатации нескольких скважин. Приводы первого типа
включают двигатель, трансмиссию - преобразующий механизм и обеспечивают
движение только одной колонны насосных штанг. В настоящее время почти все
приводы ШСН относятся к этому типу. Приводы второго типа служат для
эксплуатации группы (2¸40) скважин, расположенных
близко друг от друга и имеющих сопоставимые параметры. В индивидуальном
механическом приводе трансмиссия уменьшает частоту вращения вала двигателя до
числа оборотов, соответствующего числу двойных ходов точки подвеса штанг. По
видам преобразующих элементов механические приводы делятся на 2 группы:
балансирные и безбалансирные. В первых - возвратно-поступательное движение
точки подвеса штанг достигается использованием качающегося рычага-балансира,
который соединяется с выходным валом трансмиссии посредством кривошипно-шатунного
механизма. Существуют также безбалансирные механические приводы (рисунок 11).
Наиболее близкой к таким установкам является станок-качалка, в котором балансир
и шатун заменяются канатом, переброшенным через шкив, причем один конец его
соединяется с кривошипом, а второй - с устьевым штоком. Кривошипы
безбалансирных станков-качалок имеют V-образную форму, обеспечивающую
уравновешивание привода.
Известны другие индивидуальные механические
приводы, включающие также двигатель, трансмиссию и преобразующий механизм. Для
привода с одноплечным балансиром характерно расположение опоры на закрепленном
конце балансира, а точки соединения шатуна с балансиром - между головкой
балансира и опорой. Уравновешивание может быть как грузовым, так и
пневматическим за счет сжатия воздуха в пневмоцилиндре с гидравлическим
затвором. Подкачка воздуха в систему уравновешивания обеспечивается небольшим
компрессором. В балансирных СК с увеличением длины хода точки подвеса штанг
возрастают габаритные размеры отдельных узлов и всей установки. Значительные
массы качающегося балансира создают большие инерционные нагрузки, ухудшающие
устойчивость станка.
рама, 2 - стойка, 3 - сальниковый шток, 4 -
канатный шкив, 5 - траверса и шатуны, 6 - кривошипы, 7 - редуктор, 8 - тормоз,
9 - электродвигатель, 10 - клиноременная передача
Рисунок 11 - Схема безбалансирного
станка-качалки
В безбалансирных приводах
возвратно-поступательное движение штанг осуществляется с помощью цепи или, как
правило, канатов, перекинутых через шкивы-звездочки, укрепленные на наклонной к
устью скважины стойке-опоре, т. е. в них отсутствует качающийся балансир.
Безбалансирный станок позволяет увеличить длину хода устьевого штока. Он
работает в отличие от балансирного СК по симметричному циклу, что улучшает
условия работы узлов редуктора станка, а также колонны насосных штанг.
Безбалансирные станки выпускаются серийно под шифрами СБМ 3-1, 8-700; СБМ
6-3-2500 и СБМ 12-5-800. Здесь: С - станок; Б - безбалансирный; М -
механического действия; цифры обозначают то же, что и в шифре балансирного СК.
Частота движения точки подвеса штанг. Для них соответственно составляет 5-15;
6-15 и 5-10 мин-1. В нашей стране были разработаны ШСНУ с гидроприводом типа
АГН (А. Г. Молчанов). Отличительная особенность АГН - использование НКТ в
качестве уравновешивающего груза в сочетании с объемным гидроприводом высокого
давления. Установка монтируется в виде моноблока непосредственно на фланце
колонны обсадных труб, т. е. без сооружения специального фундамента. В качестве
силового органа используются длинные гидравлические цилиндры с движущимися в
них поршнями. Поршень одного цилиндра соединен с колонной НКТ, а другого - с
колонной штанг. Возвратно-поступательное движение поршней достигается путем
переключения золотниковым устройством нагнетаемой поверхностным силовым насосом
жидкости в полости цилиндров. При движении плунжера вниз цилиндр скважинного
насоса перемещается вверх и происходит всасывание жидкости-. Колонны НКТ и ШН
перемещаются в противоположных направлениях, а для этого требуется
устанавливать два сальниковых уплотнения на устье.
По виду уравновешивающего устройства
механические балансирные станки-качалки снабжаются грузовым или пневматическим
уравновешивающим устройством. Существуют следующие способы размещения
уравновешивающего груза: на балансире, на кривошипе, на балансире с кривошипом,
на шатуне. Соответственно приводы называют: станки - качалки с балансирным,
роторным, комбинированным и шатунным уравновешиванием. Действующими в настоящее
время стандартами предусмотрено изготовление станков-качалок первых трех типов.
Станки-качалки с одноплечным балансиром выполняются по кинематической схеме на
которой расположена опора на закрепленном конце балансира, а точки соединения
шатуна с балансиром - между соединением штанг с балансиром и опорой.
Станки-качалки с одноплечным балансиром уравновешиваются грузовым или
пневматическим аккумулятором. В первом случае груз может монтироваться на
балансире, кривошипе или одновременно на балансире и кривошипе. Пневматическое
уравновешивающее устройство выполняется в виде моноблока - пневмоцилиндрический
гидрозатвор, ресивер, компрессор, масляный насос, КИП. В нашем хозяйстве
станки-качалки с одиночным балансиром распространения не получили. В
используемых конструкциях установок сочленение балансира с устьевым штоком
колонны штанг обеспечиваются канатной подвеской, взаимодействующей с дуговой
головкой.
Новые СК имеют только роторное уравновешивание,
двухступенчатые редукторы с шевронными зубчатыми колесами с зацеплением Новикова
(кроме СК2 и СКЗ, для которых допускается эвольвентное зацепление).
Тихоходный нал редуктора имеет два шпоночных
паза, расположенных под углом 90°. Это позволяет переставлять кривошип на 90° и
перераспределять зону износа зубьев редуктора на менее изношенные участки.
Такая мера увеличивает сроки службы редуктора. Новые СК изготавливаются при
более жестких технических требованиях к балансировке деталей, точности их
изготовления и центровки плоскостей балансира, кривошипов и вертикальности
движения канатной подвески. Предусмотрено механизированное плавное перемещение
кривошипных противовесов, при котором достигается лучшее уравновешивание СК.
Изменение длины хода балансира достигается
перестановкой пальца шатуна на кривошипе, а изменение числа качаний достигается
сменой шкива на валу электродвигателя на другой размер.
Особенности кинематики балансирного
станка-качалки: механическая трансмиссия и четырехзвенный преобразующий
механизм предопределяют однозначную связь между законами движения ведущего и
ведомого звеньев. При этом каждое положение точки подвеса штанг характеризуется
вполне определенными скоростями и ускорениями, которые зависят только от
размеров или же от соотношения размеров отдельных звеньев трансмиссии,
преобразующего механизма. К кинематическим особенностям станка-качалки
относится влияние направления вращения кривошипа на скорости и ускорения точки
подвеса штанг. При повороте кривошипа на один и тот же угол по часовой или
против часовой стрелки ускорения различны и в первом случае меньше, чем во
втором. Отечественные станки-качалки выпускаются с соблюдением условия Vвн=Vн.
При рассмотрение зарубежных аналогов балансирных
станков качалок стоит прежде всего рассмотреть продукцию фирмы “LS Petrochem “.
Конструктивно фирма выпускает станки качалки трех типов, С балансирным,
кривошипным и шатунным уравновешиванием. При этом стоит отметить что наиболее
распространенным является шатунное уравновешивание. Конструктивно станки
качалки американского производства, схожи с станками качалками отечественного
производства . Главное различие же состоит в особой конструкции редуктора.
В станках качалках Российского производства
используются редукторы типа Ц3НШ-450-28, Ц3НШ-450-40 специальный
цилиндрический, трехступенчатый с шевронными зубчатыми передачами с зацеплением
Новикова, с симметричным расположением колес относительно опор, предназначен
для увеличения крутящего момента и уменьшения частоты вращения.
В Установках же фирмы “LS Petrochem “,
устанавливается редуктор снабженный Double Circular Arc (DCA) gear , шестерней
с двойным окружным зацеплением. Особенностью данного вида зацепления являться,
то что благодаря двух ступенчатой форме зуба (рисунок 12), вращение передается
двум шестерёнкам разных диаметров, благодаря этому данная передача эквивалентна
передаче с двумя парами шестеренок. К тому же в данном виде передач
используются шевронные или косозубые зубчатые колеса. Пример зацепления показан
на рисунке 13.
Рисунок 12 - Форма зуба в DCA редукторе
Рисунок 13 - Схема зацепления зубьев в DCA
редукторе
Так же особенности данных станков качалок по
заявлению производителя является установка подшипников с максимально возможной
грузоподъемностью. все редукторы что устанавливаются на станки качалки фирмы
реверсивные. А так же возможность разворачивания вала редуктора в сборе, для
равномерного износа зубьев шестерен.
Стоит отметить что на редукторах производящихся
на территории России так же существует подобная практика. В связи с чем выходной
вал редуктора имеет на выходных концах два шпоночных паза, расположенных под
углом 90°, что позволяет устанавливать кривошипы в новое положение, при износе
шпоночных пазов, или переводе работы выходного колеса на менее изношенный
сектор зубчатого венца для увеличения срока службы редуктора.
Таблица 1 - Техническая характеристика
станков-качалок по ГОСТ 5866-56
|
Тип
станка качалки
|
Максимальная
нагрузка на головку балансира, кН
|
Длина
хода полированного штока, м
|
Число
качаний балансира в минуту
|
Максимальный
крутящий момент, кН-м
|
Длина
переднего плеча балансира, мм
|
Длина
заднего плеча балансира, мм
|
Длина
шатуна, мм
|
Радиус
кривошипа, мм
|
Габаритные
размеры, мм
|
Масса
комплекта, т.
|
|
|
|
|
|
|
|
|
|
длина
|
ширина
|
высота
|
|
|
СКН2-615
|
20
|
0,3;0,45;
0,6
|
4,7-15
|
2,5
|
740
|
740
|
840
|
295
|
2950
|
1020
|
1700
|
2
|
|
СКН3-1515
|
30
|
0,45;0,6
0,75 1,05 1,2;1,35 1,5
|
4,7-15
|
6,5
|
1500
|
1500
|
1910
|
720
|
5300
|
1620
|
3820
|
4,5
|
|
СКН5-3015
|
50
|
0,9;1,2
1,5;2,1 2,4;2,7 3
|
4,7-15
|
23
|
3000
|
2500
|
3200
|
1300
|
8140
|
1880
|
5890
|
11,2
|
|
СКН10-3315
|
100
|
1,2;1,5
1,8;2,1 2,4;2,7 3;3,3
|
4,7-15
|
40
|
3300
|
2750
|
3300
|
1320
|
9600
|
2160
|
6060
|
17,5
|
|
СКН10-3012
|
100
|
1,2;1,8
2,4;3
|
6-12
|
57
|
4500
|
3500
|
4080
|
1150
|
11430
|
2380
|
7110
|
22
|
Таблица 2 - Техническая характеристика
станков-качалок по ГОСТ 5866-66
|
Тип
станка качалки
|
Максимальная
нагрузка на головку балансира, кН
|
Длина
хода полированного штока, м
|
Число
качаний балансира в минуту
|
Максимальный
крутящий момент, кН-м
|
Длина
переднего плеча балансира, мм
|
Длина
заднего плеча балансира, мм
|
Длина
шатуна, мм
|
Радиус
кривошипа, мм
|
Габаритные
размеры, мм
|
Масса
комплекта, т.
|
|
|
|
|
|
|
|
|
|
длина
|
ширина
|
высота
|
|
|
1СК1,5-0,42-100
|
15
|
0,3;0,35
0,42
|
5-15
|
1
|
510
|
510
|
680
|
200
|
2150
|
900
|
1700
|
1,05
|
|
2СК2-0,6-250
|
20
|
0,3;0,45
0,6
|
5-15
|
2,5
|
740
|
740
|
840
|
295
|
2940
|
1000
|
2000
|
1,55
|
|
3СК3-0,75-400
|
30
|
0,3;0,52
0,75
|
5-15
|
4
|
750
|
750
|
1025
|
360
|
3000
|
1060
|
2250
|
1,55
|
|
4СК3-1,2-700
|
30
|
0,45;0,6
0,75;1,05
|
5-15
|
7
|
1200
|
1200
|
1430
|
570
|
4350
|
1420
|
3500
|
4,05
|
|
5СК6-1,5-1600
|
60
|
0,6;0,9
1,2;1,5
|
5-15
|
16
|
1500
|
1500
|
1790
|
715
|
4850
|
1500
|
4400
|
6
|
|
6СК4-3-2500
|
40
|
1,29;1,7
2,15;2,6;3
|
6-15
|
25
|
3000
|
3000
|
2500
|
1000
|
7450
|
1650
|
5600
|
9,1
|
|
6СК6-2,1-2500
|
60
|
0,9;1,2
1,5;1,8
|
6-15
|
25
|
2100
|
2100
|
2500
|
1000
|
6550
|
1650
|
5800
|
9
|
|
7СК8-3,5-4000
|
80
|
1,675;2,1
2,5;3;3,5
|
5-15
|
40
|
3500
|
3500
|
3000
|
1200
|
8800
|
1850
|
6700
|
14,5
|
|
7СК12-2,5-4000
|
120
|
1,2;1,5
1,8;2,1
|
5-15
|
40
|
2500
|
2500
|
3000
|
1200
|
7800
|
1850
|
6700
|
14,2
|
|
8СК12-3.5-8000
|
120
|
2.1;2.3;
2.6;2.9;3.2;3.5
|
5-10
|
80
|
3500
|
3500
|
4200
|
1670
|
9350
|
2500
|
8800
|
20
|
|
9СК20-4.2-12000
|
200
|
2.5;2.8;3.15;3.5
|
5-10
|
120
|
4200
|
4200
|
5000
|
2000
|
11400
|
3400
|
33
|
Таблица 3 - Техническая характеристика
станков-качалок по ГОСТ 5866-76
|
Тип
станка качалки
|
Максимальная
нагрузка на головку балансира, кН
|
Длина
хода полированного штока, м
|
Число
качаний балансира в минуту
|
Максимальный
крутящий момент, кН-м
|
Длина
переднего плеча балансира, мм
|
Длина
заднего плеча балансира, мм
|
Длина
шатуна, мм
|
Радиус
кривошипа, мм
|
Габаритные
размеры, мм
|
Масса
комплекта, т.
|
|
|
|
|
|
|
|
|
|
длина
|
ширина
|
высота
|
|
|
СК3-1,2-630
|
30
|
0,6;0,75;0,9;1,05;
1,2;
|
5-15
|
6,3
|
1200
|
1200
|
1430
|
570
|
4125
|
1350
|
3245
|
3,75
|
|
СК5-3-2500
|
50
|
1,3;1,8;2,1;2,5;
3,0
|
5-15
|
25
|
3000
|
2100
|
2500
|
1000
|
7380
|
1840
|
5195
|
9,5
|
|
СК6-2,1-2500
|
60
|
0,9;1,2;1,5;1,8;
2,1;
|
5-14
|
25
|
2120
|
2100
|
2500
|
1000
|
6480
|
1840
|
4960
|
8,6
|
|
СК8-3,5-4000
|
80
|
1,8;2,1;2,5;3,0;
3,5;
|
5-12
|
40
|
3500
|
2500
|
3000
|
1200
|
8450
|
2250
|
6210
|
14,2
|
|
СК8-3,5-5600
|
80
|
1,8;2,1;2,5;3,0;
3,5;
|
5-12
|
56
|
3500
|
2500
|
3000
|
1200
|
8450
|
2250
|
6210
|
14,2
|
|
СК10-3-5600
|
100
|
1,5;1,8;2,1;2,5;
3,0;
|
5-12
|
56
|
3500
|
2500
|
3000
|
1200
|
7950
|
2250
|
5835
|
14,1
|
|
СК12-2,5-4000
|
120
|
1,2;1,5;1,8;2,1;
2,5;
|
5-12
|
56
|
3000
|
2500
|
3000
|
1200
|
7450
|
2250
|
5730
|
14,4
|
Таблица 4 - Техническая характеристика
станков-качалок по ГОСТ 26-16-08-87
|
Тип
станка качалки
|
Максимальная
нагрузка на головку балансира, кН
|
Длина
хода полированного штока, м
|
Число
качаний балансира в минуту
|
Максимальный
крутящий момент, кН-м
|
Длина
переднего плеча балансира, мм
|
Длина
заднего плеча балансира, мм
|
Длина
шатуна, мм
|
Радиус
кривошипа, мм
|
Габаритные
размеры, мм
|
Масса
комплекта, т.
|
|
|
|
|
|
|
|
|
|
длина
|
ширина
|
высота
|
|
|
СКД3-1,5-710
|
30
|
0,75;0,9;1,1;
1,3;1,5;
|
5-15
|
7,1
|
1145
|
1085
|
1625
|
650
|
4050
|
1360
|
2785
|
3,5
|
|
СКД4-2,1-1400
|
40
|
0,7;1,0;1,3;1,6;
2,1;
|
5-14
|
14,0
|
1600
|
1415
|
2125
|
850
|
5100
|
1700
|
3650
|
6,45
|
|
СКД6-2,5-2800
|
60
|
0,9;1,2;1,6;
2,5;
|
5-14
|
28,0
|
1905
|
1665
|
2500
|
1000
|
6085
|
1880
|
4230
|
7,8
|
|
СКД8-3-4000
|
80
|
1,2;1,6;2,0;2,5;
3,0;
|
5-12
|
40,0
|
2290
|
2000
|
3000
|
1290
|
6900
|
2250
|
4910
|
11,78
|
|
СКД10-3,5-5600
|
100
|
1,6;2,0;2,4;2,8;
3,5;
|
5-12
|
56,0
|
2670
|
2000
|
3000
|
1290
|
7280
|
2250
|
5318
|
12,80
|
|
СКД12-3-5600
|
120
|
1,2;1,6;2,0;2,5;
3,0;
|
5-12
|
56,0
|
2290
|
2000
|
3000
|
1290
|
6900
|
2250
|
4910
|
12,43
|
Таблица 5 - Результаты патентных исследований
|
Основные
тенденции развития данного вида техники и направление поиска ведущих
организации
|
Источники
информации, подтверждающие тенденции и направления поиска
|
Средства
реализации тенденций в объектах ведущих организаций
|
Средства
реализации тенденций в объекте разработки
|
|
Цилиндр
скважинного штангового насоса
|
Л.
В. Габриелов Научно-производст-венное объединение по термическим методам
добычи нефти «Союзтермнефть» а.с.№ 631675
|
Известен
цилиндр скважинного штангового насоса, содержащий корпус с установленными в
нем пакетами уплотнительных элементов, между которыми образована, по меньшей
мере одна уравнительная камера, причем уплотнительные элементы выполнены в
виде эластичных колец, полости над и под каждым из которых связаны между
собой каналом. Недостатком известной конструкции цилиндра скважинного
штангового насоса является возможность его разгерметизации при проведении
подземных ремонтов, связанных с частичным или полным подъемом оборудования,
при этом плунжер насоса и уплотнительные элементы цилиндра воспринимают
полный перепад давления, пропорциональный глубине спуска насоса в скважину.
Это снижает эксплуатационную надежность цилиндра.
|
Указанная
цель достигается тем, что в цилиндре скважинного штангового насоса,
содержащем корпус с установленными в нем пакетами уплотнительных элементов,
между которыми образована, по меньшей мере одна уравнительная камера, при чем
уплотнительные элементы выполнены в виде эластичных колец, полости над и под
каждым из которых связаны между собой каналом. Уравнительные камеры снабжены
отверстием, сообщающим их с затрубным пространством скважины, а каналы
выполнены в виде вертикального паза на внутренней поверхности эластичного
кольца, причем пазы двух соседних колец расположены диаметрально
противоположно относительно оси цилиндра. Нижний пакет при ходе вверх
плунжера работает в наиболее благоприятных условиях, когда на него действует
давление только от столба жидкости в затрубном пространстве скважины на
уровне установки насоса.
|
|
Станок-качалка
с двумя балансирами
|
Богатырев
П.И.; Герцеков М.М. Патент №2191924
|
Изобретение
относится к области машиностроения для нефтедобывающей промышленности.
Известно техническое устройство, содержащее фундамент, раму, стойку,
электродвигатель, редуктор, кривошип, противовес, балансир, откидную головку,
подвеску, штангу насосной установки, устье скважины. Однако известное
техническое устройство имеет существенные недостатки, заключающиеся в том,
что оно малоэффективно, малопроизводительно и не соответствует требованиям
энергосберегающих технологий. За каждый оборот кривошипа лишь половина
оборота используется для добычи нефти, поднимая вверх штангу насосной
установки. За время второй половины оборота кривошипа электроэнергия
используется только для подъема тяжелого противовеса, т. е. 50%
электроэнергии расходуется бесполезно, неразумно, повышая тем самым стоимость
нефти, нефтепродуктов и товаров народного потребления. Бесполезно расходуются
невосполнимые энергоресурсы и средства на устаревшее оборудование. Известно
также устройство, содержащее раму, электродвигатель, редуктор, механизм
преобразования вращательного движения в возвратно-поступательное и балансир,
выполненный с возможностью взаимодействия с двумя штангами насосных установок
при помощи двух откидных головок, установленных на продольной балке (а. с. SU
1372101 А, МПК 7 F 04 B 47/02, 07.02.1988 - прототип). Однако и это
техническое устройство имеет существенные недостатки, заключающиеся в том,
что близость расположения двух скважин от привода станка и между собой
усложняет условия монтажа и технического обслуживания станка, значительно
удлиняет сроки пуска его в эксплуатацию. Кроме того, в случае необходимости
ремонта одной из скважин приходится останавливать работу станка, а
следовательно, прекращается добыча нефти сразу из двух скважин. Вследствие
указанных недостатков данное техническое устройство не нашло практического
применения, а потому добыча нефти продолжается на станках-качалках устаревших
конструкций.
|
Поставленная
цель достигается за счет того, что в предложенном устройстве, содержащем
раму, электродвигатель, редуктор, механизм преобразования вращательного
движения в возвратно-поступательное и балансир, выполненный с возможностью
взаимодействия с двумя штангами насосных установок при помощи двух откидных
головок, установленных на продольной балке, имеется второй балансир,
связанный с механизмом преобразования вращательного движения в
возвратно-поступательное, при этом откидная головка первого балансира
выполнена c возможностью взаимодействия с откидной головкой второго балансира
при помощи двух тросов, каждый из которых жестко закреплен одним концом на головке
второго балансира, а вторым концом - на головке первого балансира, но на
противоположных сторонах головок. Совокупность существенных отличительных
признаков заключается в том, что: Предлагаемое устройство содержит не один, а
два балансира, каждый из которых установлен на отдельной стойке и
взаимодействует с соответствующей штангой насосной установки с помощью
откидной головки и подвески. - Один из балансиров, взаимодействующий с
кривошипом, имеет откидную одну головку, а второй балансир снабжен двумя откидными
головками. При этом одна из откидных головок второго балансира выполнена с
возможностью взаимодействия с откидной головкой первого балансира при помощи
двух тросов, каждый из которых жестко закреплен одним концом на головке
второго балансира, а вторым концом - на головке первого балансира, но на
противоположных сторонах головок. - Рама и редуктор привода станка-качалки
расположены не между двух скважин, а на определенном расстоянии от них,
равном половине длины балансира, и на линии, проходящей через геометрические
оси устьев 2-х скважин.
|
. Расчет ступенчатой
колонны штанг
.1 Выбор основных параметров
Исходные данные: СК8-3,5-2200. Глубина подвески
насоса 2200 м.
Рисунок 12 - Диаграмма А.Н.Адонина
Исходя из диаграммы А.Н. Адонина, принимаем
дебит скважины равным 35 м3/сут, диаметр плунжера скважинного насоса принимаем
32 мм.
Длина хода плунжера S- 3,0м;
Также принимаем:
плотность пластовой жидкости ρ=850
кг/м3;
число качаний n=8 кач/мин.
При больших значениях n силы инерции будут
оказывать значительное влияние на работу установки, для S=3,0м предельное число
качаний составляет 12 кач/мин
штанги колонны изготовлены из стали марки Сталь
20НМ, закаленная ТВЧ, с максимальным приведенным напряжением [σпр]
= 90 МПа;
Для заданной нам глубины спуска насоса 2200 м, а
так же по выбранной нами стали принимаем по таблице IV.9 [3] , диаметр насоса ,
и диаметры штанг .
Диаметр насоса Dн = 32 мм ,
диаметр штанг d=25,22,19 мм;
вес 1 метра штанг в воздухе для диаметра штанг
19 мм, 2,35 кг, для диаметра 22 мм, 3,15 кг и для 25 мм 4,10 кг соответственно.
2.1.2 Определяем длину ступеней колонны штанг
Так как расчет ступенчатой колонны штанг связан
с достаточно сложными и громоздкими вычислениями. Эта задача значительно
облегчается применением специальной номограммы, составленной Я.А. Грузиновым
Рисунок 13 - Номограмма Я.А. Грузинова
Пользуемся уже известными нам данными σпр
max = 9 кгс/мм2, диаметр насоса D = 32 мм, глубина спуска L - 2200 м, число
ходов в минуту n - 8, длина хода S0 = 3,0.
Назначим диаметр нижней, т. е. первой ступени
колонны 19 м и определим ее длину. Для этого соединим точку 0 номограммы с
точкой 19, находящейся на пунктирной линии, соответствующей насосу 32 мм, а
точку 2500 с точкой 8-3,0 системы II . Через точку а пересечения линий 0-19 с
вертикалью 2200-а проводим прямую, параллельную линии 2500-(8-3,0), до
пересечения ее в точке с с горизонталью 9, соответствующей максимальному
допустимому значению напряжений. Из этой точки опускаем перпендикуляр cd,
равный по высоте отрезку bd'' между переводной линией 0-(19-22) и осью ординат.
Через точку d отрезка cd снова проводим прямую, параллельную линии
2500-(8-3,0), до пересечения в точке с" с горизонталью 9. Продолжая
аналогичное построение до пересечения линий fb с осью ординат, получим число
ступеней, равное 3, а длины l1 = 2200 - 1360 = 840, l2 = 1360 - 640 = 720, l3 =
640.
.2 Определение усилия действующего в точке
подвеса штанг
.2.1 Определяем режим работы ШСНУ в соответствии
с критерием Коши:
, (1)
где
- глубина спуска насоса,
м.,
а - скорость звука в колонне штанг,
для трехступенчатой штанговой колонны а=5300м/с.;
- угловая скорость вращения
кривошипа, рад/с.:
;
.
Т.к.
, то режим работы станка-качалки
статический, можно пользоваться упрощенными формулами.
.2.2 Определяем максимальную
нагрузку в точке подвеса штанг в соответствии с формулой И.А.Чарного
, (2)
где
- вес штанг, Н
, (3)
где q1 - вес одного метра штанг
данной ступени;- длина данной ступени штанг;=23,03Н, для штанг диаметром 19
мм;=30,9Н, для штанг диаметром 22 мм;=40,22Н, для штанг диаметром 25 мм;
Нм;
Нм;
Нм;
Нм;
, (4)
где
давление на выходе насоса,
МПа
давление в цилиндре при всасывании,
МПа
площадь плунжера,
см 2:
Н;
S - ход
штока, S=3,0 м;-
число качаний, n=8 кач./мин;
коэффициент плавучести:
, (5)
где
- плотность пластовой жидкости, 850
кг/м3;
- плотность материала штанг, 7850
кг/м3:
;
Н.
.2.3 Определяем минимальную нагрузку
в точке подвеса штанг
, (6)
Н.
2.3 Расчет напряжения в штангах
.3.1 Определяем максимальное
напряжение цикла по формуле
, (7)
где
максимальное напряжение в точке
подвеса штанг;
средневзвешенная площадь поперечного
сечения штанг:
;
;
МПа
, (8)
где
минимальное напряжение в точке
подвеса штанг;
МПа
.3.2 Находим амплитудное напряжение
цикла
; (9)
МПа.
2.3.3 Вычисляем приведенное
напряжение цикла
(10)
МПа;
Так как допускаемое приведенное
напряжение для принятой колонны штанг из углеродистой стали
МПа, а
расчетное
МПа, то
выполняется условие, т.е. колонна выбрана правильно.
3. Монтаж шСНУ
.1 Монтаж насоса
Перед отправкой на скважину внешним
осмотром проверяют основные узлы насоса и плавность хода плунжера в цилиндре.
Для этого насос устанавливают на козлах (верстаке) и закрепляют трубным
зажимом. При обнаружении дефектов резьбы, кривизны патрубка-удлинителя и
механических повреждений кожуха насос отправляют на ремонт. Для проверки
состояния плунжера и узла всасывающего клапана и извлекают наружу при помощи
рыма (короткие штанги с резьбой на одном конце и рукояткой на другом). Если при
осмотре обнаружится, что рабочие поверхности плунжера, конуса-наконечника и
седел клапанов имели царапины, риски, вмятины или следы интенсивной коррозии, а
шток захватного приспособления изогнут, то насос бракуют.
Цилиндр перед проверкой протирают
чистой салфеткой и смазывают веретенным маслом. Смазанный маслом плунжер
соединяют с рымом, вставляют в цилиндр и прогоняют 2-3 раза по всей длине
усилием не более двух рабочих с одновременным вращением. При этом плунжер
должен двигаться плавно, без рывков и стука. Если плунжер останавливается,
проходит с большим трудом или движется без всякого усилия, это свидетельствует
о смещении и неправильном подборе втулок, а следовательно - непригодности
насоса для эксплуатации.
Во вставных насосах дополнительно
проверяют состояние опорного конуса: качество сборки, крепление резьбовых
соединений и посадочную поверхность замковой опоры. Плунжер вставного насоса
извлекают после отвинчивания упорного ниппеля замка. Во время проверки
запрещается ослаблять или крепить резьбовые соединения цилиндра насоса, так как
это может привести к смещению втулок или нарушению герметичности цилиндра.
Перед проведением спускоподъемных операций на скважине рабочая площадка и
мостики должны быть очищены от грязи и приведены в исправное состояние.
При спуске невставного насоса
сначала нужно спустить защитное приспособление, потом цилиндр с патрубком и
муфтой под элеватор, насосно-компрессорные трубы до заданной глубины. После
посадки планшайбы на фланец колонны (или на тройник) на штангах спускаются
плунжер и узел всасывающего клапана (для НН2). После спуска труб бросать конус
сверху запрещается.
Вставной насос спускается в
следующей последовательности: защитное приспособление (газовый якорь,
хвостовик, фильтр), замковая опора, насосные трубы; при этом следует учитывать
необходимость соответствия резьб переводника замковой опоры и насосных труб, а
также то, что насос с длиною хода плунжера 1800 мм и выше требует установки
рубашки опоры большей длины. После посадки планшайбы на фланец колонны следует
спустить глубинный насос и посадить его в замковую опору. При спуске и подъеме
насосов необходимо пользоваться элеватором для вставных насосов. В случаях
обрыва или отворота штока от переводника вставные насосы нужно ловить
колоколом, не прибегая к подъему труб.
Внутренние поверхности спускаемых в
скважину труб не должны иметь отложений солей, парафина, окалины, грязи.
Проверяются они при помощи специального шаблона (металлической скалки)
сплошного или полого сечения. При глубине подвески насоса свыше 1000 м наружный
диаметр шаблона для труб диаметром 60 мм должен быть 49 мм, для 73 мм - 60,5
мм, длина - 1250 мм.
Спуск труб большего диаметра, чем
определено характеристикой насоса, не рекомендуется. Резьбовые соединения
должны быть смазаны графитной смазкой и обеспечивать герметичность колонны.
Резьбовые соединения штанг должны
предотвращать их самоотвинчивание при работе насоса. Запрещается спускать
грязные, кривые и с поврежденными поверхностями штанги. При отсутствии
специальной люстры для подвешивания штанги спускаются и поднимаются только по
одной. Последние три-четыре штанги необходимо спускать плавно, не допуская
удара штанг о замковую опору или плунжера невставного насоса об узел
всасывающего клапана.
В насосах НН2 клапана освобождается
при помощи ловителя плавной посадкой наконечника - конуса в седло с последующим
(с байонетом) вращением колонны влево и приподниманием штанг, а при ловителе
шарнирного (цангового) типа - аналогично, но без вращения штанг. Захват
приемного клапана производится опусканием плунжера до упора байонета в шток
ловителя с последующим вращением вправо и подъемом штанг, а при ловителе
шарнирного типа - аналогично, но без вращения.
Практика показала
неработоспособность байонетного ловителя, который из-за конструктивных
недостатков и отложения парафина в его фигурных пазах не обеспечивает захват и
подъем конуса насоса.
На рисунке 13 приведен
усовершенствованный ловитель штангового невставного насоса, который благодаря
наличию двух пластин, изменению конфигурации пазов байонета и наличию фигурного
выреза на конце корпуса по всему его периметру обеспечивает надежный захват и
подъем всасывающего клапана без поворота колонны штанг.
- корпус, 2 - рубашка, 3 - пластина,
4 - точки электродуговой сварки.
Рисунок 13 - Усовершенствованный
ловитель штангового насоса
Правильность посадки вставного
насоса в замковой опоре, узла всасывающего клапана НН2 в седле конуса и
герметичность труб проверяют заливкой колонны водой. В случае негерметичности
за счет попадания в клетку посторонних предметов необходимо промыть узел
всасывающего клапана.
Вставной насос поднимают отдельно.
Колонну НКТ извлекают только по каким-либо техническим причинам (чистка или
промывка забоя, устранение утечек в трубах или дефекта замковой опоры и др.).
.2 Монтаж станков-качалок
Для установки станка-качалки
сооружается фундамент, конструкция которого определяется плотностью грунта. На
рыхлых и насыпных грунтах станки-качалки устанавливаются на сваях. На плотных
грунтах фундаменты, как правило, монолитные из бутобетона, а также сборные
железобетонные. Перед монтажом станка-качалки проверяют комплектность поставки
узлов и крепёжного материала (болтов, гаек, шпилек, шайб). Доставленные к месту
монтажа узлы станка-качалки располагают с учётом последовательности сборки.
Монтаж начинается с установки рамы на фундамент путём затаскивания её по
уложенным накатам из труб или же краном типа КСГ-6 (рисунок 14),
смонтированного на тракторе Т-100М или Т-130. Краны выпускаю с нормальной и
удлиненной стрелой, техническая характеристик которых следующая (первая колонна
цифр для кранов с нормальной стрелой, вторая - с удлиненной стрелой).
Иногда раму станка устанавливают на
фундамент без редуктора. После установки рамы выверяют ее положение
относительно центра скважины и горизонтальность в продольном и поперечном
направлениях. При наличии на скважине вышки или мачты монтаж стойки и балансира
можно выполнять при помощи подъемника, в других случаях - грузоподъемными
средствами. Перед установкой балансира проверяют горизонтальность верхней плиты
стойки в двух направлениях и крепление к раме. Балансир поднимают и
устанавливают па плиту стойки вместе с его опорой. При этом продольная ось
балансира должна совпадать с продольной осью симметрии станка, а плоскость
качания балансира перпендикулярна плоскости основания. Правильность положения
балансира относительно центра скважины проверяется отвесом, прикрепленным к
центру траверсы канатной подвески. Небольшие отклонения устраняют перемещением
балансира при помощи регулировочных болтов. Закрепив балансир, поднимают
траверсу с двумя шатунами и ее опорой для присоединения к балансиру. Верхние
головки шатунов должны свободно вращаться на пальцах во втулках траверсы.
Пальцы должны быть надежно застопорены в верхних головках шатунов. После сборки
тормозного устройства проворачивают шкив редуктора до установки кривошипов в
горизонтальное положение и затормаживают их тормозом. На кривошипы
устанавливают противовесы и закрепляют их болтами с гайками и контргайками.
Нижние головки шатунов присоединяют к кривошипам, закрепляя их положение путем
затягивания гайки специальным патронным ключом. Гайки после крепления
шплинтуются. Расстояние между шатунами и кривошипами с обеих сторон станка
должно быть одинаковым. Проверив параллельность продольных осей кривошипов и
совпадение наружных поверхностей шкивов редуктора и электродвигателя, надевают
клиновые ремни. Натяжение ремней осуществляется поднятием или опусканием
поворотной салазки. По окончании сборки и проверки качества ее устанавливают
фундаментные шпильки, концы которых должны выступать, над верхней плоскостью
рамы для установки гайки и контргайки. При заливке цементного раствора под раму
станка-качалки фундаментальные болты затягивают после затвердевания раствора.
По окончанию монтажа электрооборудования,
ограждения кривошипа и площадки с лестницей для обслуживания электродвигателя,
а также проверки смазки в подшипниках и в редукторе разрешается выполнить
пробный пуск станка-качалки и обкатку на холостом ходу в течение 3 ч. В
процессе обкатки проверяется вертикальность движения шатунов, точки подвеса
штанг, величина торцового и радиального биения шкивов, наличие шума и стуков в
узлах. При удовлетворительной работе и отсутствии дефектов присоединяют штанги
глубинного насоса и пускают станок в paботу под нагрузкой.
- грузовой полиспаст с крюком; 2 -
стрела; 3 - стреловой полиспаст;
- колонна с тягами; 5 - трактор; 6 -
противовес; 7 - двухбарабанная лебёдка;8 - удлиненная стрела.
Рисунок 14 - Гусеничный самоходный
кран КСГ-6
4.
Обслуживание станков-качалок в процессе эксплуатации
Надёжная и безаварийная работа СК
достигается за счёт правильного подбора оборудования, который зависит от
технологического режима эксплуатации скважины, качественного выполнения монтажных
работ, точного уравновешивания, своевременного проведения профилактических
ремонтов и смазки. После пуска СК в эксплуатацию по истечении первых нескольких
дней работы следует осмотреть все резьбовые соединения и подтянуть. В первые
дни эксплуатации требуется систематически контролировать состояние сборки,
крепления подшипников, затяжки кривошипных и верхних пальцев на шатуне,
уравновешивание, натяжение ремней, отсутствие течи масла в редукторе и т.п.;
проверять соответствие мощности и скорости вращения вала электродвигателя
установленному режиму работы станка. Электродвигатель должен быть подключён к
сети так, чтобы кривошипы вращались по стрелке, указанной на редукторе.
В процессе эксплуатации необходимо
регулярно проверять и смазывать узлы СК и редуктора. Рекомендуемые сорта
смазочных материалов и сроки смены их приведены в таблице 6.
Если СК подвергается действию
больших и переменных нагрузок и эксплуатируется в условиях высоких или низких
температур, повышенной влажности или пыльности, необходимо чаще проверять его.
При пуске в эксплуатацию нового редуктора необходимо через 10 - 15 дней вылить
из него масло и промыть керосином или соляровым маслом с целью удаления частиц
металла, появляющихся в процессе первоначальной работы редуктора. Для повторного
использования слитое масло необходимо обязательно профильтровать. Наличие масла
в редукторе проверяют через контрольные клапаны или щупом. Свежее масло
добавляют в редуктор тогда, когда через нижнее контрольное отверстие оно не
поступает. Уровень масла в редукторе должен быть между нижним и верхним
контрольными клапанами. Для механизированной смены смазки в редукторах и в
подшипниковых узлах СК следует применять агрегат Азинмаш-48. При помощи этого
агрегата редуктор освобождают от отработанного масла, промывают его картер,
затем заполняют редуктор свежим маслом и подшипники консистентной смазкой.
Перечисленные работы выполняют за счёт создания давления или вакуума,
компрессором или солидолонагнетателем. Ёмкости агрегата заполняются свежим
маслом, промывочной жидкостью и освобождаются от отработанного
масломеханизированно или вручную.
-двухосный прицеп; 2-компрессор;
3-солидолонагнетатель;
4-баки для свежего и отработанного
масел;
-ёмкость промывочной жидкости;
6-узел управления
Рисунок 15 - Агрегат для смазки СК
Агрегат, смонтированный на двухосном
прицепе грузоподъёмностью 4 тонны (рисунок 15), состоит из пульта управления,
ёмкости для солярового масла на 300л, ёмкостей для свежего и отработанного
масел по 1500 л, мерного бака на 100 л, компрессора и солидолонагнетателя.
Длина агрегата - 6025 мм, ширина - 2250 мм, высота - 2560 мм, масса агрегата -
3600 кг. Важное значение при эксплуатации СК имеет техническая документация, в
которой учитывается проведение ремонтов и смена смазки согласно утверждённому
графику. При осмотре и обследовании СК тщательно проверяют жёсткость крепления
пусковой аппаратуры, которую необходимо устанавливать строго вертикально,
особенно при установке магнитных пускателей, имеющих контакторные устройства.
Крепление должно быть прочным, исключающим возможные сдвиги и шатания.
Во избежание несчастных случаев при
смазке, ремонте и проверке состояния СК необходимо его останавливать. При
остановке станка редуктор следует затормаживать только после отключения
электродвигателя от сети в нижнем положении плунжера глубинного насоса. Перед
пуском станка в ход необходимо убрать все лишние предметы, которые могут мешать
свободному вращению кривошипов.
|
Место
смазки
|
Точки
смазки
|
Число
точек смазки
|
Сорт
смазочного материала
|
Рекомендуемые
сроки
|
|
|
|
рекомендуемый
|
Применяе-мый
как заменитель
|
Рекомендуемый
для зимнего времени
|
Добавки
смазки
|
Замены
смазки
|
|
Подшипники
нижних головок шатунов
|
Отверстие
в крышке подшипника
|
2
|
Консталин
жировой, Осоголин марки А
|
Солидол
УС-2(Л)
|
Солидол
УС-2(Л) с примесью 10-15%керосина
|
1
раз в месяц
|
1
раз в 6 месяцев
|
|
Подшипник
опоры балансира
|
Отверстие
в крышке подшипника
|
2
|
|
|
|
1
раз в месяц
|
1
раз в 6 месяцев
|
|
Подшипник
опоры траверсы
|
Отверстие
в крышке подшипника
|
1
|
|
|
|
1
раз в месяц
|
|
Пальцы
верхних головок шатунов
|
Отверстие
в пальце
|
2
|
|
|
|
1
раз в месяц
|
1
раз в 6 месяцев
|
|
Палец
поворотной головки балансира
|
Отверстие
в пальце
|
1
|
|
|
|
1
раз в месяц
|
1
раз в 6 месяцев
|
|
Ходовые
винты на салазках электродви-гателя, тормозах и кривошипах
|
По
всей длине
|
|
|
|
|
1
раз в месяц
|
1
раз в месяц
|
|
Зубчатые
колеса и подшипники валов редуктора
|
Люк
в крышке редуктора
|
1
|
Автотрактор-ное
АК-15
|
Индус-триальное
30, 45, 50
|
Автотракторное
АКЗп-10
|
1
раз в месяц
|
6
раз в месяц
|
Таблица 6 - Карта смазки
. Ремонт
станков-качалок
Надежность и работоспособность станков-качалок
достигается за счет своевременного проведения планово-предупредительных
ремонтов. В процессе эксплуатации станков-качалок возможны и вынужденные
ремонты (аварийные или восстановительные), не предусмотренные планом.
Планово-предупредительный ремонт включает текущий, средний и капитальный
ремонты. Текущий ремонт должен обеспечивать работоспособность станков-качалок
до их капитального ремонта. Выполняется он ремонтными бригадами при
кратковременных остановках скважины или подземном ремонте.
При текущем ремонте: проверяется и
осуществляется подтяжка крепежных соединений; заменяются пришедшие в негодность
крепежные детали (болты, гайки, шплинты и др.); меняются клиновые ремни,
канаты, канатные подвески или плашки; заменяются детали нижней головки шатуна,
пальцы кривошипов; смазываются подшипниковые узлы, шарнирные соединения и
ходовые винты.
Средний ремонт включает все перечисленные
работы, выполняемые при текущем ремонте и дополнительно предусматривает: смену
нижних головок шатунов в сборе с пальцами кривошипа, ходовых винтов с деталями
на кривошипах при бесступенчатом изменении длины хода и механизированном
перемещении противовесов; ремонт и смену шатунов; устранение смещения осей
кривошипов; смену деталей защелки поворотной головки балансира, пальца
поворотной головки, скоб опоры балансира; замену деталей тормоза,
электродвигателя и изношенных шкивов; исправление ограждений, лестниц и заварку
небольших трещин в сварных швах; смену прокладок и уплотнений редуктора;
исправление шпоночных пазов валов, зачистку зубьев у шестерен редуктора и в
отдельных случаях смену зубчатых колес. Средний ремонт выполняют или на
установке станка-качалки или в мастерских в зависимости от характера работ.
Капитальный ремонт, кроме работ, перечисленных при среднем ремонте,
предусматривает полную разборку узлов и ремонт их. Восстанавливают или заменяют
пришедшие в негодность основные узлы и детали СК, полностью разбирается и
ремонтируется редуктор. При капитальном ремонте редуктора основными работами
являются реставрация пли смена валов и зубчатых колес с последующей обкаткой
отремонтированного редуктора вхолостую и на максимально допустимую нагрузку.
Капитальный ремонт станков-качалок, имеющий
целью восстановление технических данных до паспортных, дает положительные
результаты, когда выполняется специализированными ремонтно-монтажными бригадами
по методу узлового ремонта. При этом узел, включающий негодные детали, заменяют
новым или отремонтированным. Заменённый узел передают на ремонтную мастерскую
для восстановления. Такая замена в существующих типах станков-качалок возможна,
так как присоединительные и посадочные размеры выполняются в пределах допусков,
а сами детали и узлы взаимозаменяемы.
К - капитальный ремонт; Т - текущий; С -
средний.
Рисунок 16 - Периодичность ремонта
станка-качалки
Для своевременного и качественного проведения
средних и капитальных ремонтов станков-качалок в ремонтно-механических
мастерских или базах должны находиться оборотные узлы всех типоразмеров,
находящихся в эксплуатации. Ремонтный цикл - период работы оборудования между
двумя капитальными ремонтами, а для нового оборудования - от начала ввода в
эксплуатации до первого капитального ремонта. Продолжительность ремонтного
цикла - 5 лет. Период работы оборудования между любыми очередными плановыми
ремонтами называется межремонтным периодом. Для станков-качалок
продолжительность межремонтного периода равна 12 мес. В таблице приведены
неисправности в станках-качалках, возникающие в процессе эксплуатации, и
способы их устранения (таблица 7).
Для механизации ручного труда и обеспечения
безопасных условий работы при ремонте станков-качалок в полевых условиях
предназначен агрегат Азинмаш-47 (рисунок 17). В качестве транспортной базы
использован гусеничный трактор ДТ-75. Агрегат оснащен выдвижной рабочей
площадкой и краном. Краном выполняют работы по замене отдельных деталей и
узлов, погрузочно-разгрузочные работы и др. Управление краном и выдвижной
рабочей площадкой гидрофицировано и осуществляется из кабины трактора.
Грузоподъемность крана при максимально поднятой стреле составляет 1000 кг, при
опущенной - 500 кг.
-трактор; 2-гидросистема; 3-цилиндр подъёма;
4-опорная металлоконструкция;5-опорная рама крана; 6-опорные башмаки; 7-цилиндр
поворота;
-поворотная колонка; 9-цилиндр крюка;
10-рукоять; 11-цилиндр рукоятки; 12-стрела; 13-цилиндр стрелы; 14-цилиндр
выдвижения; 15-выдвижная рабочая площадка; 16-опорная стойка.
Рисунок 17 - Агрегат для ремонта станков-качалок
Азинмаш-47Таблица 7 - Возможные неисправности и способы их устранения
|
Неисправности
|
Возможные
причины неисправности
|
Способы
устранения
|
|
Вибрация
стойки и расшатанность СК
|
Деформация
фундамента Неправильный
монтаж СК Значительное превышение числа качаний и нагрузки в точке подвеса
штанг Неуравновешенность станка Ослабление крепления болтовых соединений
стойки и редуктора к раме и рамы к фундаменту
|
Капитально
отремонтировать фундамент, выдержав размеры в соответствии с чертежом.
Проверить и отрегулировать сочленение узлов станка. Режим эксплуатации станка
установить согласно технической характеристике Проверить и уравновесить
станок Подтянуть все крепёжные соединения
|
|
Проворачивание
пальца кривошипа в отверстии; периодический скрип
|
Ослабление
затяжки пальца в конусном отверстии Износ пальца втулки Срез шпонки пальца
или заплечика замковой шайбы Неприлегание торца заплечика к кривошипу
Загрязнение конусного отверстия в кривошипе
|
Затянуть
корончатую гайку и вновь зашплинтовать Сменить палец втулки Сменить шпонку
или замковую шайбу Собрать правильно вновь узел крепления пальца Вынуть
палец, вычистить конусное отверстие и палец, вставить палец, затянуть его и зашплинтовать
гайку
|
|
Появление
толчков при движении шатунов, скрип в верхних и нижних головках шатунов
|
Заедание
пальцев верхних головок шатунов Смещение кривошипов
|
Снять
шатун с траверсой, выбить палец, зачистить, смазать и вновь собрать его Снять
один кривошип. Изготовить и установить ступенчатую шпонку для совмещения осей
кривошипов
|
|
Задевание
шатунов за кривошипы или противовесы
|
Не
отцентрирован станок Перекос балансира Большие литейные приливы на
грузах
|
Отцентрировать
станок Отрегулировать балансир до совпадения его оси с продольной осью станка
Срубить выступающие приливы или заменить детали
|
|
Рывки
при вращении кривошипов
|
Ослабление
затяжки дифференциальной стяжки кривошипа Смятие шпонки или разработка
шпоночной канавки на валу редуктора
|
Затянуть
дифференциальную стяжку кривошипа Заменить шпонку или повернуть вал
редуктора и установить шпонки в новые канавки на валу
|
|
Сползание
грузов с кривошипа
|
Ослабление
крепления болтов или их обрыв Неплотное прилегание грузов к кривошипам или
грязные соприкасающиеся поверхности
|
Затянуть
болты или заменить новыми Удалить выступающие места на соприкасающихся
поверхностях и очистить их от грязи перед сборкой
|
|
Осевое
смещение верхнего пальца шатуна
|
Непопадание
стопорного болта в углубление пальца
|
Проверить
и правильно установить стопорный болт
|
|
Обрыв
верхних головок шатунов
|
Заедание
пальцев верхних головок шатунов в отверстиях траверсы и смещение осей
кривошипов
|
Снять
шатун с траверсой, выбить палец верхней головки шатуна, зачистить, смазать и
вновь собрать; совместить оси кривошипа при помощи ступенчатой шпонки
|
|
Смещение
опоры траверсы
|
Ослабление
болтовых соединений, зазор между корпусом подшипника и упорными планками
|
Вставить
прокладки необходимой толщины, приварить их и затянуть гайки или затянуть
болты и забить клинья между подшипниками и упорными планками
|
|
Перемещение
балансира по его квадратной оси
|
Зазор
между осью балансира и упорными планками Ослабление крепления оси балансира
|
Установить
прокладку для устранения зазора, затянуть гайки Закрепить гайки у скоб и поставить
контргайки
|
|
Проскальзывание
сальникового штока или каната в зажимах подвески
|
Несоответствие
размера каната и штока размерам плашек Износ зубьев плашек
|
Подобрать
и установить соответствующие плашки и канат Заменить плашки
|
|
Задевание
траверсы канатной подвески сальникового штока за головку балансира
|
Короткий
канат подвески
|
Установить
канат необходимой длины
|
|
Шум
или стук в корпусе подшипника
|
Поломка
или износ подшипника качения Отсутствие смазки
|
Заменить
подшипник. При преждевременном выходе из строя подшипника проверить, нет ли
перекосов, перетяжки и др. Подшипник смазать
|
|
Неравномерный
натяг ветвей канатной подвески
|
Защемление
каната между роликом и дугой головки балансира Прилегание ролика к его ободу
|
Установить
шайбу между роликом и дугой головки балансира Подложить шайбу под ограждение
ролика
|
|
Самоторможение
или недостаточное торможение
|
Загрязнённость
нефтью или маслом тормозного шкива Изношены тормозные ленты на колодках или
не отрегулирован ход тормозных колодок
|
Очистить
и насухо протереть поверхность тормозного шкива Сменить тормозные ленты на
колодках; отрегулировать винтом ход тормозных колодок
|
|
Буксирование
или неодинаковое провисание клиновых ремней
|
Клиновые
ремни применены неодинаковой длины Смещение электродвигателя из-за слабого
крепления к салазкам или из-за отсутствия упорных винтов
|
Подобрать
комплект ремней одинаковой длины Закрепить болты, установить упорные винты
|
|
Вибрация
электродвигателя
|
Недостаточная
жёсткость салазок Ослабление крепления электродвигателя к салазкам
|
Заменить
салазки на более жёсткие Затянуть болты
|
|
Шум
в зубчатых передачах редуктора
|
Неравномерная
нагрузка на редуктор при движении вверх и вниз Большой радиальный зазор в
одном или нескольких конических роликоподшипниках промежуточного или ведомого
вала
|
Уравновесить
СК Выбрать
радиальный зазор в роликоподшипниках при помощи регулировочного винта (на
промежу-точном валу) или регулировочной крышкой (на ведомом
валу);регулировочную крышку или винт необходимо зажать до тугого
проворачивания
|
|
Нагревание
корпуса редуктора
|
Избыток
масла Недостаток масла Перегрузка редуктора за
счёт неуравновешенности станка
|
Слить
избыток масла ниже контрольного уровня Добавить масло до верхнего
контрольного уровня Уравновесить СК
|
|
Нагрев
подшипников или посторонний шум
|
Износ
или поломка подшипников Недостаток масла Ослабление крепления крышек или
стаканов подшипников Неточность изготовления зубчатой передачи, перекос валов
|
Сменить
подшипники Добавить смазку Закрепить болты крышек подшипников Возвратить
редуктор на завод-изготовитель для устранения дефектов
|
|
Периодические
удары в передаче
|
Некачественное
изготовление зубчатой передачи Попадание постороннего предмета между зубьями
|
Заменить
вышедшую из строя зубчатую передачу Очистить картер редуктора от поломанных
зубьев и посторонних предметов
|
|
Пропуск
масла из плоскости разъема крышки и корпуса редуктора
|
Ослабление
болтов крепления крышки редуктора Некачественная сборка редуктора Избыток
масла в редукторе
|
Затянуть
болты Снять крышку с корпуса редуктора, очистить от лака плоскость разъёма и
выступы боковых крышек; перед сборкой покрыть тонким слоем спиртового(ВТУ,
МХП) или бакелитового лака марок А, Б и В Слить лишнее масло до верхнего
контрольного уровня
|
|
Пропуск
масла из сальниковых узлов
|
Закупорены
лабиринтовые канавки и отверстия для возврата масла в проходных крышках
Избыток масла в редукторе
|
Снять
проходные крышки, очистить лабиринтовые канавки и отверстия для возврата
масла в картер Слить излишек масла ниже верхнего контр. уровня
|
|
Осевое
перемещение ведущего вала
|
Значительный
износ зубьев быстроходной передачи Большой радиальный зазор в конических
роликоподшипниках промежуточного вала
|
Заменить
быстроходную передачу Устранить радиальный зазор в конических
роликоподшипниках промежуточного вала регулировочным винтом, установленном на
крышке промежуточного вала
|
|
Осевое
перемещение промежуточного вала; стук в передаче в момент изменения крутящего
момента
|
Значительный
износ зубьев промежуточного вала Большой радиальный зазор в конических
роликоподшипниках промежуточного вала
|
Заменить
промежуточный вал-шестерню Устранить радиальный зазор в роликоподшипниках
промежуточного вала регулировочным винтом, установленном на крышке
промежуточного вала
|
|
Осевое
перемещение ведомого вала, сопровождаемое стуком в момент изменения крутящего
момента
|
Износ
зубьев тихоходной передачи Большой радиальный зазор в конических
роликоподшипниках ведомого вала
|
Заменить
тихоходную передачу Выбрать радиальный зазор в роликоподшипниках ведомого
вала при помощи регулировочной крышки
|
|
Задиры
на ведомом валу на выходе из крышки
|
Износ
роликоподшипников или при регулировке не был устранён радиальный зазор в
подшипниках
|
Зачистить
задиры на валу и заменить проходную крышку
|
|
|
|
|
|
6.
Транспортировка и хранение штанговых насосов
Насосы и опоры могут транспортироваться любым видом
транспорта при соблюдении всех требований и правил, действующих на этих видах
транспорта. При погрузке, транспортировании и выгрузке насосов принимаются
меры, исключающие изгибы, повреждения от ударов и сотрясений. Категорически
запрещаются погрузка, перевозка и укладка насосов навалом.
Насосы и опоры, упакованные в пакеты, должны
транспортироваться и храниться в одном ряду и не менее чем с тремя опорными
точками.
Распакованные насосы и опоры должны храниться на
стеллажах в горизонтальном положении в закрытом помещении или под навесом,
защищенным от атмосферных осадков. На каждый стеллаж с тремя или четырьмя
опорными точками укладываются насосы только одного типоразмера, не более пяти
рядов. Между рядами, над опорными точками стеллажа устанавливаются специальные
деревянные прокладки. Не допускается свисание концов насоса более чем на 0,5 м.
Чтобы предотвратить насосы от засорения пылью,
песком и грязью, в концевые муфты следует устанавливать специальные резьбовые
пробки. У вставных насосов, кроме того, должен быть защищен уплотняющий конус.
Насосы, опоры и запасные части к ним в
консервированном виде, а также документация, уложенная в пакет из
полиэтиленовой пленки, должны быть упакованы:
во влагонепроницаемые пакетирующие картонные
пеналы, закрытые по концам пробками - при транспортировке по суше и в закрытых
трюмах судов;
в деревянные ящики, обитые внутри
влагонепроницаемыми материалами; ящики должны быть окантованы стальной лентой;
в специальные металлические возвратные
контейнеры;
в пакеты, стянутые металлическими хомутами, -
только при транспортировании опор.
Ящики и контейнеры должны обеспечивать защиту от
механических повреждений помещенных в них изделий при транспортировке.
Тара после упаковки в нее насосов должна быть
опломбирована. Предельная масса транспортного места (брутто): 500 кг - для
насосов и 500 кг - для опор.
К боковой стенке ящиков и контейнеров, а также к
пакетам должен прикрепляться карман из оцинкованной жести, в который
вкладывается упаковочный лист.
Сборочные единицы, поставляемые россыпью, а
также запасные части и эксплуатационные документы, уложенные в полиэтиленовый
пакет при поставке опор, стянутых металлическими хомутами, и насосов должны
быть упакованы в деревянные ящики.
Поступающие на промысел насосы должны иметь
паспорта с визой отдела технического контроля завода-изготовителя.
На скважину штанговые насосы доставляются на
промысловом самопогрузчике ПС-0,5, который снабжен поворотным краном
грузоподъемностью 0,5 т. Все оборудование самопогрузчика смонтировано на шасси
автомобиля высокой проходимости «Урал-375Е» с трехместной кабиной.
Штанговые насосы поднимаются со стеллажа с
использованием универсальных стропов и захватов и устанавливаются на платформе
в наклонном положении в продольных отсеках из стальных профилей, где укладываются
на деревянные ложементы и закрепляются специальными хомутами и винтовыми
зажимами. Перевозить насосы на полу платформы запрещается.
На скважине насос выгружается при помощи крана с
использованием названных приспособлений и укладывается на чистое горизонтальное
место на три-четыре деревянные прокладки или на мостки. Скатывать насос с
платформы на землю, укладывать его на трубы, штанги, устьевую арматуру и
устанавливать в наклонном положении категорически запрещается.
Поднятые из скважины насосы доставляются в
ремонтную мастерскую на ПС-0,5 с соблюдением описанных правил перевозки.
7.
Техника безопасности при эксплуатации скважин штанговыми насосами
Основные положения техники безопасности при
эксплуатации скважин штанговыми насосными установками - ограждение движущихся
частей станка-качалки и правильное выполнение требований при ремонте. С
внедрением однотрубной системы сбора и транспорта продукции нефтяных скважин
серьезные требования предъявляются к оборудованию устья скважины. При
сравнительно высоких устьевых давлениях (2,0 МПа и выше) оборудование должно
иметь достаточный запас прочности. Необходимо эксплуатировать только
стандартное оборудование устья скважин, опробованное и принятое к серийному
производству, в частности, устьевые сальники с самоустанавливающейся головкой
типа СУС 1-73-25, рассчитанные на рабочее давление 2,5 МПа, и СУС 2-73-40 - на
давление 4,0 МПа.
При монтаже и эксплуатации станков-качалок
предъявляются следующие основные требования техники безопасности:
Станок-качалку необходимо монтировать под
руководством опытного бригадира или мастера при помощи монтажных приспособлений
или крана.
Все движущиеся части станка должны быть
ограждены.
При нижнем положении головки балансира
расстояние между траверсой подвески сальникового штока и устьевым сальником
должно быть не менее 20 см.
Запрещается проворачивать шкив редуктора вручную
и тормозить его, подкладывая трубу, лом или другие предметы.
Запрещается снимать клиновидный ремень при
помощи рычагов: устанавливать и снимать ремень необходимо путем передвижения
электродвигателя.
При замене пальцев кривошипа шатун следует
надежно прикрепить к стойке станка.
Работы, связанные c осмотром или заменой
отдельных частей станка, необходимо выполнять при остановке станка.
Перед пуском станка-качалки следует убедиться,
что станок не на тормозе, ограждения установлены и закреплены, а в опасной зоне
нет посторонних лиц.
До начала ремонтных работ на установке привод
должен быть отключен, а на пусковом устройстве укреплен плакат «Не включать -
работают люди». На скважинах с автоматическим и дистанционным управлением у
пускового устройства должен быть укреплен щит с надписью «Внимание! Пуск
автоматический».
При обслуживании электропривода персонал должен
работать в диэлектрических перчатках. Штанговая насосная установка перед пуском
в эксплуатацию должна иметь заземление. В качестве заземлителя
электрооборудования необходимо использовать кондуктор скважины, который должен
быть связан с рамой станка двумя заземляющими проводниками (сечение каждого 50
мм2), приваренными в разных точках кондуктора и рамы, доступных для осмотра.
Заземляющим проводником может быть круглая, полосовая, угловая и другого
профиля сталь, кроме каната.
Список использованных источников
.
Абанов А.Э. ,Смолина А.К. Техника и технология бурения и добычи:Методические
указания к выполнению курсовых проектов. -Архангельск: Изд-во АГТУ ,2002. -24с
.
Бухаленко Е.И., Абдулаев Ю.Г. Монтаж, обслуживание и ремонтнефтепромыслового
оборудования. - М.: Недра, 1974. - 360 с.
.
Коршак А.А., Шаммазов А.М. Основы нефтегазового дела. Учебник для ВУЗов: - Уфа:
ООО «ДизайнПолиграфСервис», 2001 - 544с.: илл.
.
Мищенко И.Т. Расчеты в добыче нефти: Учебное пособие для техникумов. - М:
Недра, 1989.-245 с. скважинный
насосный станок качалка
.
Молчанов Г.В., Молчанов А.Г. Машины и оборудование для добычи нефти и газа:
Учебник для вузов. - М.: Недра, 1984. - 464 с.
.
Раабен А.А., Шевалдин П.Е., Максутов Н.Х. Ремонт и монтаж нефтепромыслового
оборудования: Учебник для техникумов,-3-е изд., перераб. и доп.-М.: Недра, 1989.-383
с.
.
Чичеров Л.Г. Нефтепромысловые машины и механизмы. - М.: Недра, 1983.
.
Чичеров Л.Г. и др. Расчет и конструирование нефтепромыслового оборудования. -
М.: Недра, 1987. - 482 с.
.
Юрчук A.M. Расчеты в добыче нефти. - М.: Недра, 1974